JP4174635B2 - Inkjet recording device - Google Patents

Inkjet recording device Download PDF

Info

Publication number
JP4174635B2
JP4174635B2 JP20625998A JP20625998A JP4174635B2 JP 4174635 B2 JP4174635 B2 JP 4174635B2 JP 20625998 A JP20625998 A JP 20625998A JP 20625998 A JP20625998 A JP 20625998A JP 4174635 B2 JP4174635 B2 JP 4174635B2
Authority
JP
Japan
Prior art keywords
recording head
carriage
recording
pressed
storage cap
Prior art date
Legal status (The legal status is an assumption and is not a legal conclusion. Google has not performed a legal analysis and makes no representation as to the accuracy of the status listed.)
Expired - Fee Related
Application number
JP20625998A
Other languages
Japanese (ja)
Other versions
JP2000037887A (en
Inventor
隆一郎 梅田
Current Assignee (The listed assignees may be inaccurate. Google has not performed a legal analysis and makes no representation or warranty as to the accuracy of the list.)
Brother Industries Ltd
Original Assignee
Brother Industries Ltd
Priority date (The priority date is an assumption and is not a legal conclusion. Google has not performed a legal analysis and makes no representation as to the accuracy of the date listed.)
Filing date
Publication date
Application filed by Brother Industries Ltd filed Critical Brother Industries Ltd
Priority to JP20625998A priority Critical patent/JP4174635B2/en
Publication of JP2000037887A publication Critical patent/JP2000037887A/en
Application granted granted Critical
Publication of JP4174635B2 publication Critical patent/JP4174635B2/en
Anticipated expiration legal-status Critical
Expired - Fee Related legal-status Critical Current

Links

Images

Landscapes

  • Ink Jet (AREA)

Description

【0001】
【発明の属する技術分野】
本発明は、ファクシミリ装置や複写機等における被記録媒体に画像形成するための記録装置に係り、より詳しくは、待機させているとき、インクジェット式の記録ヘッドのノズル部が乾燥するのを防止する保存手段の構造に関するものである。
【0002】
【従来の技術】
従来から、ファクシミリ装置や複写機等の画像形成装置において、被記録媒体としての用紙に画像を形成するための記録部として、インクを噴射する記録ヘッドを備えたものが周知である。
この種の記録ヘッドのノズル部が乾燥することによりインクの吐出不良が発生するの防止し、また記録ヘッドの状態を良好に保全するため、例えば、特開平9−141885号公報に開示されているように、被記録媒体の搬送方向と直交する方向に前記記録ヘッドを搭載したキャリッジを往復移動可能に構成する一方、前記被記録媒体への記録領域から外れた待機位置には、保存キャップを搭載した移動部材は、前記キャリッジの移動方向とほぼ平行状に移動可能で、且つ保存キャップが記録ヘッドのノズル部に対して接離するように回動可能に支持されており、さらに、前記移動部材は前記記録領域に近づく方向にバネ付勢されている。そして、前記待機位置に向かってキャリッジを移動させる動きに連れて、前記移動部材を前記バネの付勢力に抗して押し、このとき、移動部材は方向変換手段としてのカム部材により回動させられ、当該記録ヘッドのノズル部に向かって保存キャップが接近し、所定の待機位置で記録ヘッドが停止した時点で、前記ノズル部に保存キャップが完全に覆われるように同期させる構成が公知であった。
【0003】
【発明が解決しようとする課題】
しかしながら、前記構成では、待機位置で停止したキャリッジに対して、前記移動部材が付勢バネにより一方向に押圧されているだけであるから、その押圧方向と反対の方向に移動部材が移動可能であるので、この種のインクジェット記録装置を運搬するとき等、装置に外力が作用した場合や、前記キャリッジから移動部材が離れる方向に装置を傾ける等した場合に、保存キャップが前記ノズル部から外れてしまい、記録ヘッドのノズル部の乾燥防止や保全の作用を果たせなくなるという問題があった。
【0004】
本発明は、前記従来の問題を解決するためになされたものであり、装置への外力に拘らず、前記記録ヘッドのノズル部に保存キャップを被せた状態を保持できるようにしたインクジェット記録装置を提供することを目的とするものである。
【0005】
【課題を解決するための手段】
この目的を達成するため、請求項1に記載した発明のインクジェット記録装置は、インクを噴射する記録ヘッドを往復移動させて被記録媒体に記録を行うインクジェット記録装置において、前記記録ヘッドのノズル部のインクの乾燥を防止するための保存キャップと、前記記録ヘッドの移動によって、前記記録ヘッドを搭載したキャリッジに設けられた突起部に押圧されて前記記録ヘッドの移動方向と同一方向に移動する被押圧部と、その被押圧部の移動に伴って前記保存キャップを前記記録ヘッドのノズル部に対してキャッピィングする方向に移動させる方向変換手段と、前記方向変換手段を介して前記保存キャップが前記記録ヘッドのノズル部にキャッピィングしたとき、前記突起部に押される前記被押圧部が、前記突起部と前記キャリッジに設けられた規制片との間に嵌まって挟持されるように構成されているものである。
【0006】
また、請求項2に記載の発明は、請求項1に記載のインクジェット記録装置において、前記被押圧部が前記突起部と前記規制片との間に嵌まり込む方向は、前記記録ヘッドのノズル部に前記保存キャップがキャッピィングする方向と交差していることを特徴とするものである。
【0007】
【0008】
【0009】
【発明の実施の形態】
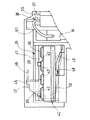
次に、本発明を具体化した実施形態を図面に基づいて説明する。図1は本発明を適用するインクジェット記録装置2を備えたファクシミリ装置1の斜視図、図2はファクシミリ装置1の概略側断面図、図3はキャリッジの移動手段及びメインテナンス部を示す概略平面図、図4はインクジェット記録装置の側面図、図5はメインテナンス部の平面図、図6は要部の拡大断面図である。
【0010】
ファクシミリ装置1の本体ケースは、図1及び図2に示すように、インクジェット記録装置2を収納し、且つ画像を形成するための用紙Pを供給するための給紙カセット3を後側の上方から装着することのできる合成樹脂製のメイン下ケース1aと、該メイン下ケース1aの上側を覆う合成樹脂製の上ケース1bとからなる。上ケース1bは、その前後方向の中途部から左右両外側に突出する筒軸部4(図2において片側のみ示す)を中心にして大きく上下回動できるように、メイン下ケース1aの側部のブラケットに枢着されている。
【0011】
そして、一方の金属製のブラケットに一端が係止され、コイル部が筒軸部4の外周に巻回され、他端が上ケース1bにおける金属製のシャーシ等の適宜箇所に係止された金属製の捩じりばね(図示せず)により、上ケース1bの上面が前方向に向かうように付勢され、通常は、図示しないフックにより、上ケース1bはその上面が上を向くように固定されている。
【0012】
さらに、上ケース1bの上面の前寄り部位には、原稿読取部としての原稿読取ユニット5が装着され、該原稿読取ユニット5の上側を、操作パネル部6にて覆う。表面に各種ファンクションキーやテンキー等の操作キー部6aと、前記操作キー部6aでの入力値や、各種の指令用の文字(キャラクタ)が表示できる液晶パネル等の表示部6bとを備えた操作パネル部6は、その後部寄り部位の左右両側の枢支軸7を中心にして前側が大きく上下回動できるように構成されている。また、上ケース1bの上面の後部寄りには、前記操作パネル部6の後端に隣接して、原稿載置部9が一体的に形成され、該原稿載置部9には、搬送される原稿の左右両側縁を案内するための左右一対の原稿ガイド体10,10が同期して左右移動可能に装着されている。
【0013】
なお、メイン下ケース1aの下面は金属板等からなる底カバー板11にて塞がれ、メイン下ケース1aの内部空間には、図示しないが、制御基板、電源基板、電話回線を介して他の電話装置やファクシミリ装置との間で会話やファクシミリデータの送受信を可能にするためのNCU(ネットワークコントロールユニット)基板等が位置されている。さらに、メイン下ケース1aの側部から外向きに突設した受け台12上に、他の電話装置との会話を行うための送受話器(ハンドセット)8が載置されている。発呼用のスピーカ(図示せず)は、メイン下ケース1a内の右側面の後部側等に固定されている。
【0014】
図2に示すように、原稿読取ユニット5のユニットケース5aには、原稿載置部9の近傍に配置される原稿分離送りローラ28aと、横長の密着型イメージセンサ(CIS)29と、その搬送上流側に配置される搬送ローラ対30と、搬送下流側に配置される搬送ローラ対31と、前記各ローラ28a,29,30を駆動するための駆動モータと歯車列とがフレーム内に収納された原稿搬送系駆動ユニットとが備えられている。そして、枢支軸7を中心にして前側が大きく上下回動できるように構成された操作パネル部6の下面側には、前記ユニットケース5aの上面を覆った状態のとき、前記原稿分離送りローラ28aの上面に当接する分離パッド28bと、前記密着型イメージセンサ29の上面に当接する下面が白色に塗布される等した押圧板32とが備えられており、操作パネル部6上面のキー操作等による原稿読取り指令に応じて、原稿載置部9上の原稿は、前記原稿分離送りローラ28a及び分離パッド28bを介して1枚ずつ分離して送られ、原稿が前記押圧板32とCIS29の上面との間を通過するとき、原稿の画像が読み取られるように構成されている。
【0015】
なお、前記給紙カセット3に積層された用紙Pは、メイン下ケース1aの後部内に配置された図示しないが従来から周知の構造の給紙機構としての間欠回転する回転する給紙ローラと分離パッドとによって1枚ずつ分離され、分離された用紙Pは、レジストローラ(図示せず)の箇所にて一旦用紙の先端の位置を整えて、搬送上流側ローラ33にて記録ヘッド14の下方に給送され、搬送下流側の上下対の搬送ローラ対34にて挟持搬送される途次、印字指令に応じてインク滴を用紙Pの上面に吐出して画像を記録し、その後、排紙トレイ27の箇所に排出されるように構成されている。
【0016】
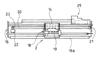
図2、図3、図4及び図5に示すように、インクジェット記録装置2におけるキャリッジ18はその下部が左右長手のシャーシフレーム16に装架された丸軸状のガイド軸17に軸支され、シャーシフレーム16の縦案内片16aに上部が摺接して左右移動可能に構成されている。そして、このキャリッジ18にカラーインクジェット式の記録ヘッド14がそのノズル部15を下向きにして装着されている。カラー記録を実行するための記録ヘッド14は、シアン、イエロー、マゼンタ、ブラックの各色のインクを吐出するための4つのノズル部を有し、この各記録ヘッド14に対して供給するインクが収納された各色毎のカートリッジ19がキャリッジ18にそれぞれ着脱可能に装着される。
【0017】
キャリッジ18の送り機構は、前記ガイド軸17と平行に延びる無端帯としてのタイミングベルト20が、シャーシフレーム16の一側寄りに配置された従動プーリ21と正逆回転可能なステッピングモータ等のキャリッジ駆動モータ22の出力軸に固定された駆動プーリ23とに巻掛けられ、タイミングベルト20の一箇所を前記キャリッジ18に連結することにより、当該キャリッジ18はガイド軸17と平行に往復移動可能となるように構成されている。
【0018】
次に、メインテナンス部29と、待機位置における保存手段35との構成の詳細について、図3、図5〜図8を参照しながら説明すると、例えば図3に示す実施例において、キャリッジ18が右方向へ移動することにより記録領域から外れるものとし、左右長手のシャーシフレーム16の右端部位に、メインテナンス部29と保存手段35とを集合させて配置するため、フレーム支持片16b,16cに対して図5の平面視図に示すような合成樹脂製の集合ケース36をビス44にて固定する。集合ケース36の左端側には、記録ヘッド14のノズル部の表面に付着したインク滴を払拭するためのノズル払拭装置(ワイパ装置)37が配置され、その右側に隣接して記録ヘッド14のインクの不吐出もしくは吐出不良を回復させるためのパージ装置(ノズル吸引装置)38が配置され、その右側〔パージ装置38からさらに記録領域の反対側の待機位置(ホームポジション)〕には、記録ヘッド14のノズル部15の数(実施例では4つ)と同じ数の保存キャップ39を備えた保存手段35が配置されている。
【0019】
即ち、前記各保存キャップ39を支持する保存キャップ移動手段としての合成樹脂製の枠状の移動部材40が、集合ケース36に一体的に形成され、キャリッジ18の移動方向と平行状に形成された丸軸41に沿って移動可能且つその軸線回りに回動可能に装着されている。前記軟質ゴム製の各保存キャップ39を支持する支持体42が移動部材40の枠内で上向き抜け不能且つ上下動可能に装着され、付勢バネ43を介して上向きに付勢されている(図6参照)。
【0020】
そして、枠状の移動部材40における回動基端部40aには、上向きに被押圧部45を一体的に突出形成する一方(図8、図11(a)〜図11(d)参照)、キャリッジ18の下面側には、図6及び図11(a)〜図11(d)に示すように、突起部46と規制片47とを横向きで、且つ段違い状にて被押圧部45に向かうように二股状に突設してあり、突起部46と規制片47との隙間間隔L1は被押圧部45の幅寸法と略等しく形成され、後述の待機位置では被押圧部45の前後縁を突起部46と規制片47とで挟持される構成となっている。
【0021】
キャリッジ18を待機位置(ホームポジション)方向(矢印A方向)移動させるとき、押圧部46にて被押圧部45を押すなど係合させて、移動部材40を丸軸41に沿って摺動移動させる。このとき、当該移動部材40における回動基端部40aの下面側に下向きに突設する摺動片48と対峙するように、集合ケース36の箇所には方向変換手段としてのカム板49を設ける。このカム板49の形状は、矢印A方向への移動部材40の移動に基づいて、前記保存キャップ39を前記キャリッジ18の移動方向と略直交する方向に移動させて、前記待機位置では、各保存キャップ39が前記各ノズル部15を下側から覆ってキャッピィングするように形成されている(図6の二点鎖線状態参照)。
【0022】
また、集合ケース36と移動部材40との間に付勢手段としての引張バネ50が装架されており、矢印A方向への移動部材40の移動量が増大するにつれて、反矢印A方向への復帰力が増大するように付勢されている。
キャリッジ18における突起部46にて被押圧部45を矢印A方向に押し始めるときには(図8の状態参照)、図11(a)及び図11(b)に示すごとく、規制片47は被押圧部45に干渉しない。
【0023】
図10に示すように、さらに、カム板49に沿って摺動片48上側に移動すると、移動部材40が上向き回動し、各保存キャップ39を前記キャリッジ18の移動方向と略直交する方向に移動させ、図6の二点鎖線で示すキャッピィング状態では、図11(c)及び図11(d)に示すごとく、規制手段としての規制片47と前押圧部46との間に被押圧部45が嵌まり込む。これにより、当該待機位置にてキャリッジ18が停止している限り、被押圧部45、ひいては移動部材40と、キャリッジ18ひいては各記録ヘッド14のノズル部15との相対的な移動が規制され、ずれ動くことが無くなる。従って、ファクシミリ装置1を運搬するとき等で傾いても、前記各ノズル部15から保存キャップ39が外れることが無くなるのである。
【0024】
なお、上記の説明から理解できるように、前記待機位置から反矢印A方向にリターンして、記録領域に戻るときには、前記各ノズル部15から保存キャップ39が外れるように、引張ばね50の付勢力にて移動部材40を回動しつつ元の姿勢に戻す。また、この引張ばね50は、摺動片48がカム板49を常時押圧する方向にも付勢されているので、前記丸軸41の軸線回りに移動部材40がふらつくこともないのである。
【0025】
次に、ノズル払拭装置(ワイパ装置)37及び吸引手段としてのパージ装置38の構成について説明する。記録ヘッド14は、その使用中にノズル部15内に気泡が発生したり、吐出面にインクの液滴が付着することにより、吐出不良を起すことがあるので、これを解消して良好な吐出状態に回復させるため、パージ装置38では、記録ヘッド14のノズル部15を吸引キャップ53にて覆い、その状態で、吸引ポンプ54が発生させる負圧により記録ヘッド14内の不良インクを吸引する。また、記録ヘッド14あるいはインクカートリッジ19を交換した際にも作動され、カートリッジ19内のインクが記録ヘッド14のノズル部15まで吸い出され円滑に供給されるように機能する。吸引された不良インクは、図示しない貯留部に送られる。
【0026】
パージ装置38の構成についてさらに詳述すると、図5〜図10に示すごとく、集合ケース36の一側部(記録領域外であって近い側)に、吸引キャップ53が収納された昇降部材55が昇降動可能に装着されている(図9参照)。吸引キャップ53と吸引ポンプ54とは吸引チューブ61にて接続されている。図示しないが、被記録媒体である用紙Pの搬送のためのラインフイードモータを駆動源とし、駆動力切換手段を介して回転されるギヤ57によりカム体56が駆動される。このカム体56の一側面に形成された吸引昇降カム溝58に前記昇降部材55の足下端の摺動部55aが嵌合する一方、同じくカム体56の他側面と対峙して配置された吸引ポンプ54の2つのピストンロッドの下端係合部62a,63aは、前記カム体56の他側面に形成された2つのポンプカム溝59,60にそれぞれ嵌合し、カム体56が一回転する間に、昇降部材55が上昇して吸引キャップ53が記録ヘッド14のノズル部15に密接して、吸引ポンプ54の負圧にてインクの吸引を実行した後、吸引キャップ53が離れるように昇降部材55が下降する。
【0027】
ノズル払拭装置37は、前記パージ装置38に隣接し、且つ記録領域外であって近い側の集合ケース36内に配置され、軟質ゴム、軟質合成樹脂材等の弾性体からなる薄板状のワイパー体64を支持するワイパー昇降部材65の下端係合部65aは、前記カム体56の片面のワイパーカム溝66に嵌合し、カム体56が一回転する間に前記吸引キャップ53による所定のメインテナンス動作に同期して記録ヘッド14のノズル部15をワイパー体64で払拭する動作と昇降動作とを実行するものである。なお、インク吸引作業とワイパー作業とは、記録ヘッド14の複数のノズル部15について、1箇所ずつ行われる。
【0028】
この場合、図7に示すように、集合ケース36に配置されたロックレバー68は、その回動中心部68aの回りに回動自在であり、ロックレバー68の凸部68bが前記カム体56の外周カム面67(図9参照)に摺動するように、バネ69にて付勢されており、前記キャリッジ18がノズル部15の配置間隔毎に停止するとき、前記カム体56の所定の回転位相で、当該キャリッジ18の下面に形成された凹溝状の係合部18a(図6、図7参照)にロックレバー68の先端部68cが嵌まり係合して、キャリッジ18が移動しないように規制されている。
【0029】
上記のように、前記記録領域外に設けられたノズル払拭装置37及び吸引手段としてのパージ装置38に隣接して、ノズル部保護手段としての前記保存キャップ39及び保存キャップ移動手段としての移動部材40が配置されていると、長期間インクジェット記録装置2を使用しなかったとき、各ノズル部15にインクが詰まる等してインク吐出不良が発生していても、記録作業の開始のためキャリッジ18を少しだけ移動させるだけで、前記待機位置に隣接する吸引箇所に記録ヘッドを記録領域方向に、各ノズル部15の間隔毎に間欠移動させて、各ノズル部15のインク吐出不良のメインテナンスを実行でき、迅速に記録作業に移行できるという効果を奏する。
【0030】
また、移動部材40が吸引手段の方向に近づき移動するとき、自動的に各保存キャップ39が各ノズル部15から離れるように構成されているので、キャリッジ18を記録領域方向に移動させるのに、ロック解除のための余分の部品も必要がなく構成が簡単になるという効果を奏するものである。
なお、本発明に係るファクシミリ装置1は、操作パネル部6における各種キー操作に応じて入力される使用者からの各種指令に応じて、各種処理動作の設定、原稿読取ユニット5による原稿画像の読み取り、原稿画像の送信データ化、送信データの符号化、電話回線等の通信回線を介して他のファクシミリ装置に送信するファクシミリデータの送受信、受信データの復号化、復号化したファクシミリデータの記録ユニットでの用紙Pへの記録を実行するという通常のファクシミリ機能の他、原稿読取ユニット5のCIS(密着型イメージセンサ)34による原稿読取りと記録部の各ユニットによる用紙Pへカラー画像形成するというコピー(複写)処理機能、図示しないパーソナルコンピュータ等の外部装置からプリンタケーブルまたは赤外線等の無線を介して伝送されたプリントデータを受けて、そのデータに応じて用紙Pにカラー画像を形成するプリンタ処理機能、前記原稿読取ユニット5を使って読み取った画像データを前記外部装置へ送信するというスキャナ処理機能をも備えている。
【0031】
本発明は、インクジェット式の記録ヘッドを備えたプリンタにも適用できることはいうまでもない。
【0032】
【発明の効果】
以上に説明したように、請求項1に記載した発明の構成によれば、前記記録ヘッドの移動によって、前記記録ヘッドを搭載したキャリッジに設けられた突起部に押圧されて前記記録ヘッドの移動方向と同一方向に移動する被押圧部と、その被押圧部の移動に伴って前記保存キャップを前記記録ヘッドのノズル部に対してキャッピィングする方向に移動させる方向変換手段とを有するので、記録ヘッドもしくは記録ヘッドを搭載したキャリッジの移動に伴って保存キャップを記録ヘッドのノズル部に対してキャッピィングする方向に移動させるので、キャリッジの移動と保存キャップの記録ヘッド方向への移動の開始とが確実に同期して行われ、キャリッジと保存キャップの動作のタイミングを正確にすることができる。そして、保存キャップによるノズル部へのキャッピィングのために別途の駆動源を必要としないので装置の構成を簡素化し、且つコスト低減に寄与できるという効果を奏する。さらに、前記方向変換手段を介して前記保存キャップが前記記録ヘッドのノズル部にキャッピィングしたとき、前記突起部に押される前記被押圧部が、前記突起部と前記キャリッジに設けられた規制片との間に嵌まって挟持されるように構成されているので、保存キャップが前記ノズル部にキャッピィングしたとき、前記保存キャップが前記記録ヘッドもしくはキャリッジに対して相対移動するのを規制するので、インクジェット記録装置を運搬する等して揺り動かしても、前記各ノズル部に対して保存キャップがずれ移動せず、ノズル部の乾燥防止、保護を確実に行えるという効果を奏する。そして、被押圧部が突起部と規制片との間に嵌まって、保存キャップがノズル部を覆っている状態を保持するので、キャッピィング効果を失うことがない。また、キャリッジ側に突起部と規制片とを設けるだけの構成であるから構造が至極簡単で製造コストも高くならないという効果を奏する。
【0033】
また、請求項2に記載の発明によれば、前記被押圧部が前記突起部と前記規制片との間に嵌まり込む方向は、前記記録ヘッドのノズル部に前記保存キャップがキャッピィングする方向と交差しているので、前記キャリッジに設けた突起部にて移動部材が押されて、移動部材とキャリッジとが略同一方向に移動すると共に、方向変換手段により前記保存キャップを前記キャリッジの移動方向と略直交する方向に移動させて、保存キャップがノズル部を覆うように移動することができ、キャリッジの移動と保存キャップのキャッピィング動作とのタイミングが正確にでき、迅速且つ確実なキャッピィングを実行することができるという効果を奏する。
【0034】
【0035】
【0036】
【図面の簡単な説明】
【図1】 ファクシミリ装置の斜視図である。
【図2】 ファクシミリ装置の概略側断面図である。
【図3】 インクジェット記録装置の概略平面図である。
【図4】 インクジェット記録装置の側断面図である。
【図5】 メインテナンス部及び保存手段の平面図である。
【図6】 図5のVI−VI線矢視一部切欠き側面図である。
【図7】 図5のVII −VII 線矢視一部切欠き側面図である。
【図8】 図5の VIII −VIII矢視図である。
【図9】 カム体とノズル払拭装置、吸引手段、吸引ポンプとの係合関係を示す要部断面図である。
【図10】 移動部材が移動規制された状態を示すための、図8と同じ方向から見た一部切欠き図である。
【図11】 (a)はキャリッジが待機位置に接近したときの、突起部と被押圧部と規制片との関係を示す作用説明図、(b)は図11(a)のXIb−XIb線矢視図、(c)は保存キャップによるキャッピィング完了位置での、突起部と被押圧部と規制片との関係を示す作用説明図、(d)は図11(c)のXId−XId線矢視図である。
【符号の説明】
2 インクジェット記録装置
18 キャリッジ
14 記録ヘッド
15 ノズル部
35 保存手段
36 集合ケース
39 保存キャップ
40 移動部材
40a 回動基端部
41 丸軸
42 支持体
45 被押圧部
46 突起部
47 規制片
48 摺動片
49 カム板
50 引張バネ
[0001]
BACKGROUND OF THE INVENTION
The present invention relates to a recording apparatus for forming an image on a recording medium in a facsimile machine or a copying machine, and more particularly, to prevent the nozzle portion of an ink jet recording head from drying when waiting. It relates to the structure of the storage means.
[0002]
[Prior art]
2. Description of the Related Art Conventionally, in an image forming apparatus such as a facsimile machine or a copying machine, a recording unit for ejecting ink is well known as a recording unit for forming an image on a sheet as a recording medium.
In order to prevent ink discharge failure from occurring due to drying of the nozzle portion of this type of recording head and to maintain the state of the recording head satisfactorily, for example, it is disclosed in Japanese Patent Laid-Open No. 9-14185. As described above, the carriage on which the recording head is mounted is configured to be able to reciprocate in a direction perpendicular to the conveyance direction of the recording medium, while a storage cap is mounted at a standby position outside the recording area on the recording medium. The moving member is supported so as to be able to move substantially parallel to the moving direction of the carriage, and to be rotatable so that the storage cap contacts and separates from the nozzle portion of the recording head. Is spring-biased in a direction approaching the recording area. Then, as the carriage moves toward the standby position, the moving member is pushed against the urging force of the spring, and at this time, the moving member is rotated by a cam member as direction changing means. In addition, when the storage cap approaches the nozzle portion of the recording head and the recording head stops at a predetermined standby position, a configuration is known in which the storage cap is synchronized so that the storage cap is completely covered. .
[0003]
[Problems to be solved by the invention]
However, in the above configuration, since the moving member is only pressed in one direction by the biasing spring with respect to the carriage stopped at the standby position, the moving member can move in a direction opposite to the pressing direction. Therefore, when an external force is applied to the apparatus, such as when transporting this type of ink jet recording apparatus, or when the apparatus is tilted in a direction in which the moving member is separated from the carriage, the storage cap is detached from the nozzle portion. As a result, there has been a problem that the nozzle portion of the recording head cannot be used to prevent drying and maintain.
[0004]
The present invention has been made in order to solve the above-described conventional problems, and provides an ink jet recording apparatus that can maintain a state in which a storage cap is put on the nozzle portion of the recording head regardless of external force applied to the apparatus. It is intended to provide.
[0005]
[Means for Solving the Problems]
In order to achieve this object, an ink jet recording apparatus according to a first aspect of the present invention is an ink jet recording apparatus that performs recording on a recording medium by reciprocating a recording head that ejects ink. A storage cap for preventing ink drying, and a pressed object that moves in the same direction as the movement direction of the recording head by being pressed by a protrusion provided on a carriage on which the recording head is mounted by the movement of the recording head And a direction changing means for moving the storage cap in the direction of capping with respect to the nozzle portion of the recording head as the pressed part moves, and the storage cap is moved to the recording head via the direction changing means. carry when Kyappyingu to the nozzle portion, the pressed portion to be pressed by the protrusion, and the protrusion the Those that are configured to be sandwiched fits between the regulating piece provided in the di.
[0006]
According to a second aspect of the present invention, in the ink jet recording apparatus according to the first aspect, the direction in which the pressed portion fits between the protrusion and the restricting piece is the nozzle portion of the recording head. Further, the storage cap intersects with the capping direction.
[0007]
[0008]
[0009]
DETAILED DESCRIPTION OF THE INVENTION
Next, an embodiment of the present invention will be described with reference to the drawings. 1 is a perspective view of a facsimile apparatus 1 having an inkjet recording apparatus 2 to which the present invention is applied, FIG. 2 is a schematic side sectional view of the facsimile apparatus 1, and FIG. 3 is a schematic plan view showing carriage moving means and a maintenance unit. 4 is a side view of the ink jet recording apparatus, FIG. 5 is a plan view of a maintenance portion, and FIG. 6 is an enlarged cross-sectional view of the main portion.
[0010]
As shown in FIGS. 1 and 2, the main body case of the facsimile apparatus 1 accommodates the ink jet recording apparatus 2 and has a paper feed cassette 3 for supplying paper P for forming an image from the upper rear side. It consists of a synthetic resin main lower case 1a that can be mounted, and a synthetic resin upper case 1b that covers the upper side of the main lower case 1a. The upper case 1b is arranged on the side of the main lower case 1a so that it can be pivoted up and down largely around a cylindrical shaft portion 4 (shown only on one side in FIG. 2) protruding from the middle in the front-rear direction. It is pivotally attached to the bracket.
[0011]
One end of the metal bracket is locked, the coil portion is wound around the outer periphery of the cylindrical shaft portion 4, and the other end is locked at an appropriate location such as a metal chassis in the upper case 1b. A torsion spring (not shown) is made to urge the upper surface of the upper case 1b toward the front, and the upper case 1b is usually fixed by a hook (not shown) so that the upper surface faces upward. Has been.
[0012]
Further, a document reading unit 5 as a document reading unit is mounted on a front portion of the upper surface of the upper case 1b, and the operation panel unit 6 covers the upper side of the document reading unit 5. Operation provided with an operation key section 6a such as various function keys and numeric keys on the surface, and a display section 6b such as a liquid crystal panel capable of displaying input values at the operation key section 6a and various command characters. The panel portion 6 is configured such that the front side can be largely turned up and down around the pivot shafts 7 on the left and right sides of the rear portion. A document placing portion 9 is integrally formed adjacent to the rear end of the operation panel portion 6 near the rear portion of the upper surface of the upper case 1b, and is conveyed to the document placing portion 9. A pair of left and right document guide bodies 10 for guiding the left and right edges of the document are mounted so as to be able to move left and right in synchronization.
[0013]
The lower surface of the main lower case 1a is covered with a bottom cover plate 11 made of a metal plate or the like, and the internal space of the main lower case 1a is not shown, but is connected via a control board, a power supply board, and a telephone line. An NCU (network control unit) board or the like for enabling conversation and transmission / reception of facsimile data between the telephone apparatus and the facsimile apparatus is located. Furthermore, a handset 8 for carrying out a conversation with another telephone device is placed on a cradle 12 projecting outward from the side of the main lower case 1a. A calling speaker (not shown) is fixed to the rear side of the right side surface of the main lower case 1a.
[0014]
As shown in FIG. 2, in the unit case 5a of the document reading unit 5, a document separation feed roller 28a disposed in the vicinity of the document placement unit 9, a horizontally long contact image sensor (CIS) 29, and its conveyance A pair of transport rollers 30 disposed on the upstream side, a pair of transport rollers 31 disposed on the downstream side of the transport, a drive motor and a gear train for driving the rollers 28a, 29, and 30 are housed in the frame. And a document transport system drive unit. The document separation feed roller is disposed on the lower surface side of the operation panel 6 that is configured so that the front side can be largely rotated up and down around the pivot shaft 7 when the upper surface of the unit case 5a is covered. A separation pad 28b that comes into contact with the upper surface of 28a, and a pressing plate 32 that has a lower surface that comes into contact with the upper surface of the contact image sensor 29 are coated in white. In response to the document reading command by the document, the document on the document placement unit 9 is separated and sent one by one via the document separation feed roller 28a and the separation pad 28b, and the document is fed to the upper surface of the pressing plate 32 and the CIS 29. The image of the original is read when passing between the two.
[0015]
The paper P stacked on the paper feed cassette 3 is separated from a rotating paper feed roller that rotates intermittently as a paper feed mechanism having a well-known structure (not shown) disposed in the rear portion of the main lower case 1a. The separated paper P is separated one by one by the pad, and the position of the leading edge of the paper P is once adjusted at the position of a registration roller (not shown), and is moved below the recording head 14 by the transport upstream roller 33. In the course of being fed and nipped and transported by a pair of upper and lower transport rollers 34 on the downstream side of transport, an image is recorded by ejecting ink droplets onto the upper surface of the paper P in accordance with a print command, and then a paper discharge tray It is comprised so that it may discharge | emit to 27 places.
[0016]
As shown in FIGS. 2, 3, 4, and 5, the carriage 18 in the ink jet recording apparatus 2 is pivotally supported by a round shaft-shaped guide shaft 17 that is mounted on a chassis frame 16 having a left and right longitudinal portion. The upper part is in sliding contact with the vertical guide piece 16a of the chassis frame 16 so as to be movable left and right. A color ink jet recording head 14 is mounted on the carriage 18 with the nozzle portion 15 facing downward. The recording head 14 for performing color recording has four nozzle portions for ejecting inks of cyan, yellow, magenta, and black, and ink to be supplied to each recording head 14 is stored. The cartridges 19 for the respective colors are detachably mounted on the carriage 18.
[0017]
The carriage 18 is driven by a carriage such as a stepping motor or the like in which a timing belt 20 as an endless belt extending in parallel with the guide shaft 17 can rotate forward and backward with a driven pulley 21 disposed on one side of the chassis frame 16. It is wound around a drive pulley 23 fixed to the output shaft of the motor 22, and one position of the timing belt 20 is connected to the carriage 18 so that the carriage 18 can reciprocate in parallel with the guide shaft 17. It is configured.
[0018]
Next, details of the configuration of the maintenance unit 29 and the storage unit 35 at the standby position will be described with reference to FIGS. 3 and 5 to 8. For example, in the embodiment shown in FIG. The maintenance section 29 and the storage means 35 are collectively arranged at the right end portion of the left and right longitudinal chassis frame 16 so that the frame support pieces 16b and 16c are arranged as shown in FIG. A synthetic resin collective case 36 as shown in the plan view of FIG. A nozzle wiping device (wiper device) 37 for wiping ink drops adhering to the surface of the nozzle portion of the recording head 14 is disposed on the left end side of the collecting case 36, and the ink of the recording head 14 is adjacent to the right side thereof. A purge device (nozzle suction device) 38 for recovering the non-discharge or defective discharge is disposed, and on the right side thereof (the standby position (home position) on the opposite side of the recording area from the purge device 38) is the recording head 14. Storage means 35 having the same number of storage caps 39 as the number of nozzle portions 15 (four in the embodiment) is arranged.
[0019]
That is, a synthetic resin frame-shaped moving member 40 as a storage cap moving means for supporting each storage cap 39 is formed integrally with the collecting case 36 and parallel to the moving direction of the carriage 18. It is mounted so as to be movable along the round shaft 41 and rotatable about the axis. A support 42 that supports each of the storage caps 39 made of soft rubber is mounted in the frame of the moving member 40 so as not to be able to come out upward and move up and down, and is biased upward via a biasing spring 43 (see FIG. 6).
[0020]
Then, one of the rotation base end portions 40a of the frame-shaped moving member 40 is integrally formed with a pressed portion 45 protruding upward (see FIGS. 8 and 11 (a) to 11 (d)). On the lower surface side of the carriage 18, as shown in FIG. 6 and FIGS. 11A to 11D, the protrusion 46 and the regulation piece 47 are directed laterally and stepped toward the pressed portion 45. The gap L1 between the protruding portion 46 and the restricting piece 47 is formed to be substantially equal to the width of the pressed portion 45, and the front and rear edges of the pressed portion 45 are set at the standby position described later. The protrusion 46 and the restricting piece 47 are sandwiched.
[0021]
When the carriage 18 is moved in the standby position (home position) direction (arrow A direction), the pressed portion 45 is engaged by, for example, pressing the pressed portion 45, and the moving member 40 is slid along the round shaft 41. . At this time, a cam plate 49 as direction changing means is provided at a location of the collective case 36 so as to face the sliding piece 48 projecting downward on the lower surface side of the rotation base end portion 40a of the moving member 40. . The shape of the cam plate 49 is such that, based on the movement of the moving member 40 in the direction of arrow A, the storage cap 39 is moved in a direction substantially perpendicular to the movement direction of the carriage 18, and each storage position is set at the standby position. A cap 39 is formed so as to cover and cover each nozzle portion 15 from below (see the two-dot chain line state in FIG. 6).
[0022]
Further, a tension spring 50 as an urging means is mounted between the collective case 36 and the moving member 40, and as the amount of movement of the moving member 40 in the direction of arrow A increases, It is urged to increase the return force.
When the pressed portion 45 is started to be pushed in the direction of arrow A by the protrusion 46 in the carriage 18 (see the state of FIG. 8), the restricting piece 47 is pressed against the pressed portion as shown in FIGS. 11 (a) and 11 (b). 45 does not interfere.
[0023]
As shown in FIG. 10, when moving further upward along the sliding piece 48 along the cam plate 49, the moving member 40 rotates upward, and each storage cap 39 is moved in a direction substantially perpendicular to the moving direction of the carriage 18. In the capping state indicated by the two-dot chain line in FIG. 6, as shown in FIGS. 11 (c) and 11 (d), the pressed portion 45 is placed between the regulating piece 47 as the regulating means and the front pressing portion 46. Fits in. As a result, as long as the carriage 18 is stopped at the standby position, the relative movement between the pressed portion 45 and thus the moving member 40 and the carriage 18 and thus the nozzle portion 15 of each recording head 14 is restricted and shifted. It will not move. Therefore, even when the facsimile apparatus 1 is transported, the storage cap 39 is not removed from each nozzle portion 15.
[0024]
As can be understood from the above description, when returning from the standby position in the direction opposite to the arrow A and returning to the recording area, the urging force of the tension spring 50 so that the storage cap 39 is removed from each nozzle portion 15. The moving member 40 is returned to the original posture while rotating. The tension spring 50 is also urged in the direction in which the sliding piece 48 always presses the cam plate 49, so that the moving member 40 does not fluctuate around the axis of the round shaft 41.
[0025]
Next, the configuration of a nozzle wiping device (wiper device) 37 and a purging device 38 as suction means will be described. The recording head 14 may cause defective ejection due to bubbles generated in the nozzle portion 15 during use or ink droplets adhering to the ejection surface. In order to recover the state, the purge device 38 covers the nozzle portion 15 of the recording head 14 with the suction cap 53, and in this state, the negative ink generated by the suction pump 54 sucks the defective ink in the recording head 14. It is also activated when the recording head 14 or the ink cartridge 19 is replaced, and functions so that ink in the cartridge 19 is sucked out and smoothly supplied to the nozzle portion 15 of the recording head 14. The sucked defective ink is sent to a storage unit (not shown).
[0026]
The configuration of the purging device 38 will be described in further detail. As shown in FIGS. It is mounted so as to be movable up and down (see FIG. 9). The suction cap 53 and the suction pump 54 are connected by a suction tube 61. Although not shown, the cam body 56 is driven by a gear 57 that is rotated via a driving force switching means using a line feed motor for conveying the paper P that is a recording medium as a driving source. While the sliding portion 55a at the lower end of the lifting member 55 is fitted in the suction lifting cam groove 58 formed on one side of the cam body 56, the suction is also arranged opposite to the other side of the cam body 56. The lower end engaging portions 62a and 63a of the two piston rods of the pump 54 are respectively fitted into two pump cam grooves 59 and 60 formed on the other side surface of the cam body 56, and the cam body 56 is rotated once. The elevating member 55 is lifted so that the suction cap 53 comes into close contact with the nozzle portion 15 of the recording head 14, and after the ink is sucked by the negative pressure of the suction pump 54, the elevating member 55 is moved away from the suction cap 53. Descends.
[0027]
The nozzle wiping device 37 is disposed in a collective case 36 adjacent to the purge device 38 and outside the recording area and close to it, and is a thin plate-like wiper body made of an elastic material such as soft rubber or soft synthetic resin material. The lower end engaging portion 65a of the wiper lifting / lowering member 65 that supports 64 is fitted into the wiper cam groove 66 on one side of the cam body 56, and a predetermined maintenance operation by the suction cap 53 is performed while the cam body 56 makes one rotation. The operation of wiping the nozzle portion 15 of the recording head 14 with the wiper body 64 and the raising / lowering operation are performed in synchronization with the above. The ink suction operation and the wiper operation are performed one by one for the plurality of nozzle portions 15 of the recording head 14.
[0028]
In this case, as shown in FIG. 7, the lock lever 68 disposed in the collective case 36 is rotatable around its rotation center portion 68 a, and the convex portion 68 b of the lock lever 68 is formed on the cam body 56. The cam body 56 is urged by a predetermined rotation when it is urged by a spring 69 so as to slide on the outer peripheral cam surface 67 (see FIG. 9) and the carriage 18 stops at every arrangement interval of the nozzle portion 15. Due to the phase, the leading end portion 68c of the lock lever 68 is fitted and engaged with a concave groove-shaped engaging portion 18a (see FIGS. 6 and 7) formed on the lower surface of the carriage 18 so that the carriage 18 does not move. Is regulated.
[0029]
As described above, adjacent to the nozzle wiping device 37 and the purge device 38 as the suction means provided outside the recording area, the storage cap 39 as the nozzle portion protection means and the moving member 40 as the storage cap moving means. If the ink jet recording apparatus 2 is not used for a long time, the carriage 18 can be moved to start the recording operation even if an ink ejection failure occurs due to ink clogging or the like in each nozzle portion 15. With a slight movement, the recording head can be intermittently moved in the direction of the recording area in the direction of the recording area to the suction location adjacent to the standby position, and maintenance of ink discharge failure of each nozzle portion 15 can be performed. There is an effect that the recording operation can be quickly performed.
[0030]
Further, since each storage cap 39 is configured to automatically move away from each nozzle portion 15 when the moving member 40 moves closer to the direction of the suction means, the carriage 18 is moved in the recording area direction. There is no need for extra parts for unlocking, and the structure is simplified.
The facsimile apparatus 1 according to the present invention sets various processing operations and reads a document image by the document reading unit 5 in response to various commands from the user input in response to various key operations on the operation panel unit 6. Document data transmission data, transmission data encoding, transmission / reception of facsimile data to be transmitted to other facsimile apparatuses via a communication line such as a telephone line, reception data decoding, decoded facsimile data recording unit In addition to the normal facsimile function of recording on a sheet P of paper, a copy of reading a document by a CIS (contact image sensor) 34 of the document reading unit 5 and forming a color image on the sheet P by each unit of the recording unit ( Copy) processing function, printer cable or infrared from an external device such as a personal computer (not shown) A printer processing function for receiving a print data transmitted via wireless, etc., and forming a color image on the paper P according to the data, and transmitting image data read using the document reading unit 5 to the external device It also has a scanner processing function.
[0031]
Needless to say, the present invention can also be applied to a printer having an ink jet recording head.
[0032]
【The invention's effect】
As described above, according to the configuration of the first aspect of the present invention, the movement of the recording head is caused by the movement of the recording head and is pressed by the protrusion provided on the carriage on which the recording head is mounted. And a direction changing means for moving the storage cap in the direction of capping with respect to the nozzle portion of the recording head as the pressed portion moves, so that the recording head or The storage cap is moved in the capping direction with respect to the nozzle portion of the recording head as the carriage mounting the recording head is moved, so that the movement of the carriage and the start of movement of the storage cap in the recording head direction are surely synchronized. Thus, the timing of the operation of the carriage and the storage cap can be made accurate. In addition, since a separate drive source is not required for capping the nozzle portion with the storage cap, the configuration of the apparatus can be simplified and the cost can be reduced. Further, when the storage cap is capped to the nozzle portion of the recording head via the direction changing means, the pressed portion to be pressed by the protruding portion is formed between the protruding portion and the restriction piece provided on the carriage . Since the storage cap is configured to be fitted and sandwiched between the nozzles, the storage cap restricts the relative movement of the storage cap with respect to the recording head or the carriage. Even if the apparatus is moved and swung, the storage cap does not move with respect to each nozzle part, and the nozzle part can be prevented from drying and protected. And since a to-be-pressed part fits between a projection part and a control piece and the state which the storage cap has covered the nozzle part is hold | maintained, a capping effect is not lost. In addition, since the configuration is such that only the protrusion and the regulating piece are provided on the carriage side, the structure is extremely simple and the manufacturing cost is not increased.
[0033]
According to the second aspect of the present invention, the direction in which the pressed portion fits between the protrusion and the restricting piece is a direction in which the storage cap caps the nozzle portion of the recording head. Since they intersect, the moving member is pushed by the projection provided on the carriage so that the moving member and the carriage move in substantially the same direction, and the storage cap is moved in the direction of movement of the carriage by the direction changing means. The storage cap can be moved so as to cover the nozzle portion by moving in a substantially orthogonal direction, the timing of the carriage movement and the storage cap capping operation can be accurately performed, and quick and reliable capping can be performed. There is an effect that can be.
[0034]
[0035]
[0036]
[Brief description of the drawings]
FIG. 1 is a perspective view of a facsimile apparatus.
FIG. 2 is a schematic sectional side view of a facsimile apparatus.
FIG. 3 is a schematic plan view of the ink jet recording apparatus.
FIG. 4 is a side sectional view of the ink jet recording apparatus.
FIG. 5 is a plan view of a maintenance unit and storage means.
6 is a partially cutaway side view taken along the line VI-VI in FIG. 5;
7 is a partially cutaway side view taken along the line VII-VII in FIG. 5;
8 is a view taken along arrow VIII-VIII in FIG. 5;
FIG. 9 is a cross-sectional view of an essential part showing an engagement relationship between a cam body, a nozzle wiping device, suction means, and a suction pump.
FIG. 10 is a partially cutaway view seen from the same direction as FIG. 8 for showing a state in which the movement member is restricted in movement.
11A is an operation explanatory diagram showing the relationship among the protruding portion, the pressed portion, and the regulating piece when the carriage approaches the standby position, and FIG. 11B is a line XIb-XIb in FIG. 11A. An arrow view, (c) is an action explanatory view showing a relation between a projection part, a pressed part, and a regulating piece at a capping completion position by a storage cap, and (d) is an Xid-XId line arrow of FIG. 11 (c). FIG.
[Explanation of symbols]
DESCRIPTION OF SYMBOLS 2 Inkjet recording device 18 Carriage 14 Recording head 15 Nozzle part 35 Storage means 36 Collecting case 39 Storage cap 40 Moving member 40a Turning base end part 41 Round shaft 42 Support body 45 Pressed part 46 Protrusion part 47 Restriction piece 48 Slide piece 49 Cam plate 50 Tension spring

Claims (2)

インクを噴射する記録ヘッドを往復移動させて被記録媒体に記録を行うインクジェット記録装置において、
前記記録ヘッドのノズル部のインクの乾燥を防止するための保存キャップと、
前記記録ヘッドの移動によって、前記記録ヘッドを搭載したキャリッジに設けられた突起部に押圧されて前記記録ヘッドの移動方向と同一方向に移動する被押圧部と、
その被押圧部の移動に伴って前記保存キャップを前記記録ヘッドのノズル部に対してキャッピィングする方向に移動させる方向変換手段と、
前記方向変換手段を介して前記保存キャップが前記記録ヘッドのノズル部にキャッピィングしたとき、前記突起部に押される前記被押圧部が、前記突起部と前記キャリッジに設けられた規制片との間に嵌まって挟持されるように構成されていることを特徴とするインクジェット記録装置。
In an inkjet recording apparatus that performs recording on a recording medium by reciprocating a recording head that ejects ink,
A storage cap for preventing drying of ink in the nozzle portion of the recording head;
A pressed portion that moves in the same direction as the moving direction of the recording head by being pressed by a protrusion provided on a carriage on which the recording head is mounted by the movement of the recording head;
Direction changing means for moving the storage cap with respect to the nozzle portion of the recording head in accordance with the movement of the pressed portion;
When the storage cap via the direction changing means has Kyappyingu the nozzle portion of the recording head, the pressed portion to be pressed by the protrusions, between the regulating piece provided in the said projecting portion carriage An inkjet recording apparatus configured to be fitted and sandwiched.
前記被押圧部が前記突起部と前記規制片との間に嵌まり込む方向は、前記記録ヘッドのノズル部に前記保存キャップがキャッピィングする方向と交差していることを特徴とする請求項1に記載のインクジェット記録装置。  The direction in which the pressed portion fits between the protrusion and the restricting piece intersects the direction in which the storage cap is capped to the nozzle portion of the recording head. The ink jet recording apparatus described.
JP20625998A 1998-07-22 1998-07-22 Inkjet recording device Expired - Fee Related JP4174635B2 (en)

Priority Applications (1)

Application Number Priority Date Filing Date Title
JP20625998A JP4174635B2 (en) 1998-07-22 1998-07-22 Inkjet recording device

Applications Claiming Priority (1)

Application Number Priority Date Filing Date Title
JP20625998A JP4174635B2 (en) 1998-07-22 1998-07-22 Inkjet recording device

Publications (2)

Publication Number Publication Date
JP2000037887A JP2000037887A (en) 2000-02-08
JP4174635B2 true JP4174635B2 (en) 2008-11-05

Family

ID=16520380

Family Applications (1)

Application Number Title Priority Date Filing Date
JP20625998A Expired - Fee Related JP4174635B2 (en) 1998-07-22 1998-07-22 Inkjet recording device

Country Status (1)

Country Link
JP (1) JP4174635B2 (en)

Families Citing this family (3)

* Cited by examiner, † Cited by third party
Publication number Priority date Publication date Assignee Title
JP4689199B2 (en) * 2004-06-23 2011-05-25 株式会社リコー Image forming apparatus
JP4920903B2 (en) * 2005-05-12 2012-04-18 キヤノン株式会社 Inkjet recording device
JP6020136B2 (en) * 2012-12-20 2016-11-02 セイコーエプソン株式会社 Liquid ejecting apparatus and liquid ejecting method

Also Published As

Publication number Publication date
JP2000037887A (en) 2000-02-08

Similar Documents

Publication Publication Date Title
US6690494B1 (en) Tension adjustable mechanism for reciprocatingly moving print/read head device
JP2006231560A (en) Image forming apparatus
JP3858998B2 (en) Image forming apparatus
US7807926B2 (en) Flexible cable harness and image forming apparatus
JP2004122439A (en) Carriage and image forming apparatus
JP3970097B2 (en) Recording device
JP3767568B2 (en) Image forming apparatus
JP4174635B2 (en) Inkjet recording device
JP3931981B2 (en) Image forming apparatus
JP2000062199A (en) Ink jet recording device
US7520587B2 (en) Image recording apparatus
JP2003053999A (en) Image forming device
JP2023095336A (en) Sheet feeding device and recording device
JP3674325B2 (en) Inkjet recording device
JP3420513B2 (en) Sheet conveying device and image reading / recording device provided with the device
JP4496871B2 (en) Inkjet printer
JP2003053947A (en) Image forming device
JP3514126B2 (en) Image forming device
JP2000062200A (en) Mounting device for maintenance unit
JP2007119233A (en) Image recording device
JP3901478B2 (en) Unit connecting device, recording device
JP4157992B2 (en) Inkjet recording device
JP4600465B2 (en) Carriage and image forming apparatus
JPH0918642A (en) Image information processing device
JP2000032193A (en) Image forming device

Legal Events

Date Code Title Description
A621 Written request for application examination

Free format text: JAPANESE INTERMEDIATE CODE: A621

Effective date: 20050722

A977 Report on retrieval

Free format text: JAPANESE INTERMEDIATE CODE: A971007

Effective date: 20071106

A131 Notification of reasons for refusal

Free format text: JAPANESE INTERMEDIATE CODE: A131

Effective date: 20071121

A521 Written amendment

Free format text: JAPANESE INTERMEDIATE CODE: A523

Effective date: 20071225

A131 Notification of reasons for refusal

Free format text: JAPANESE INTERMEDIATE CODE: A131

Effective date: 20080514

A521 Written amendment

Free format text: JAPANESE INTERMEDIATE CODE: A523

Effective date: 20080623

TRDD Decision of grant or rejection written
A01 Written decision to grant a patent or to grant a registration (utility model)

Free format text: JAPANESE INTERMEDIATE CODE: A01

Effective date: 20080723

A01 Written decision to grant a patent or to grant a registration (utility model)

Free format text: JAPANESE INTERMEDIATE CODE: A01

A61 First payment of annual fees (during grant procedure)

Free format text: JAPANESE INTERMEDIATE CODE: A61

Effective date: 20080805

FPAY Renewal fee payment (event date is renewal date of database)

Free format text: PAYMENT UNTIL: 20110829

Year of fee payment: 3

R150 Certificate of patent or registration of utility model

Free format text: JAPANESE INTERMEDIATE CODE: R150

FPAY Renewal fee payment (event date is renewal date of database)

Free format text: PAYMENT UNTIL: 20120829

Year of fee payment: 4

FPAY Renewal fee payment (event date is renewal date of database)

Free format text: PAYMENT UNTIL: 20120829

Year of fee payment: 4

FPAY Renewal fee payment (event date is renewal date of database)

Free format text: PAYMENT UNTIL: 20130829

Year of fee payment: 5

LAPS Cancellation because of no payment of annual fees