JP4119552B2 - 工具保持具 - Google Patents
工具保持具 Download PDFInfo
- Publication number
- JP4119552B2 JP4119552B2 JP36074698A JP36074698A JP4119552B2 JP 4119552 B2 JP4119552 B2 JP 4119552B2 JP 36074698 A JP36074698 A JP 36074698A JP 36074698 A JP36074698 A JP 36074698A JP 4119552 B2 JP4119552 B2 JP 4119552B2
- Authority
- JP
- Japan
- Prior art keywords
- tool holder
- hole
- leg member
- processing machine
- shank portion
- Prior art date
- Legal status (The legal status is an assumption and is not a legal conclusion. Google has not performed a legal analysis and makes no representation as to the accuracy of the status listed.)
- Expired - Fee Related
Links
- 230000002093 peripheral effect Effects 0.000 claims description 5
- 238000003754 machining Methods 0.000 description 2
- 239000002826 coolant Substances 0.000 description 1
- 238000001816 cooling Methods 0.000 description 1
- 238000010586 diagram Methods 0.000 description 1
- 230000000694 effects Effects 0.000 description 1
- 238000012423 maintenance Methods 0.000 description 1
- 238000004519 manufacturing process Methods 0.000 description 1
Images
Landscapes
- Jigs For Machine Tools (AREA)
- Gripping On Spindles (AREA)
Description
【発明の属する技術分野】
本発明は加工機に交換可能に装着される工具保持具に係り、特に、加工機の主軸先端面に対し軸心が傾むくことなく一体に保持できる工具保持具に関する。
【0002】
【従来の技術】
NC加工機等では、周知のようにドリル等の種々の工具を交換しながら加工を行うため、各工具を夫々の工具保持具に予め取り付けておき、該当する工具が取り付けられた工具保持具をロボット等が選択し加工機に取り付けている。
【0003】
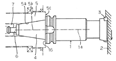
図4は、特開平7−96435号公報等によって周知の工具保持具を加工機に取り付けた例を示す図である。この例では、工具保持具1の先端に、被加工物2を切削する切削用チップ3が直接取り付けられている(又は間接的に取り付けられる場合もある)。工具保持具1の背部側にはテーパー状のシャンク部4が突設されており、このシャンク部4を、加工機側の主軸5に形成されているテーパー孔5aに嵌合させ、シャンク部4先端のプルスタッド6を、加工機側の引具7が引き込むことで、工具保持具1の軸心1aが主軸5の軸心5bに一致するように取り付けられる。
【0004】
ここで、被加工部2の加工中に、工具保持具1の軸心1aが、主軸5の軸心5bに対し傾くと、高精度の加工が不可能となる。そこで、工具保持具1を主軸5に取り付けたとき、主軸5の先端面5cに、シャンク部付根側の工具保持具本体鍔部端面1bが緊密に圧接されるようにすることで、両軸心1a,5b間のブレを無くすようにしている。
【0005】
図5は、特開平7−96435号公報に記載された、両軸心間のブレを無くすようにした従来の工具保持具の本体鍔部の構成図である。この従来技術では、シャンク部4の付根部に環状の当部12を外嵌してこれを鍔部とし、当部12を軸心1a方向に移動可能としている。そして、工具保持具1本体外周部に、当部12に油圧力を付加する環状油路13を形成しておき、この環状油路13の油圧力で当部12を主軸先端面5c側に圧接するようにしている。
【0006】
この従来技術に係る工具保持具では、シャンク部4をテーパー孔5aに嵌合させ、引具7でプルスタッド6を引き込んだとき当部12が主軸先端面5cに当接し、更に引具7を引き込んだときに当接面5cからの反力が環状油路13に伝わって環状の当部12の全周を油圧力で主軸端面5cに均等に圧接し、工具保持具1を主軸5に対して直角に取り付けるようになっている。
【0007】
【発明が解決しようとする課題】
上述した従来技術では、当部12に軸心1aと同方向に設けたネジ部材14の螺入位置を調整して環状油路13内へのピストン部材(ネジ部材14の先端部)の進入距離を調整し、当部12が工具保持具1本体からシャンク部4側に突出する長さを調整することで、工具保持具1を主軸5に装着したときの圧接力の大きさを制御するようになっている。
【0008】
しかし、加工機には製造メーカーの違い等による個体差があり、テーパーの形状を合わせて工具保持具を製造しても、シャンク部4をテーパー孔5aに当接した状態で生じる端面5c−1b間の距離はマチマチとなるのが普通である。上述した従来技術では、ネジ部材14の螺入位置を調整することでこの個体差を吸収することができる。しかしながら、ネジ部材14を調整するには、一々、工具保持具1を主軸5から外さなければならないという不便さがある。また、主軸先端面5cの一カ所に切り粉が付着していても環状の当部12全体が傾いてしまい、工具保持具1を正確にテーパー孔5aに取り付けることができないという問題もある。
【0009】
本発明の目的は、上述した個体差を容易に吸収することができ、しかも、主軸端面に切り粉等が付着していても主軸端面に直角に装着することができる工具保持具を提供することにある。
【0010】
【課題を解決するための手段】
上記目的は、先端側に工具が取り付けられ背部側にテーパー状のシャンク部が突設され、加工機主軸のテーパー孔に脱着自在に前記シャンク部を嵌合する工具保持具において、前記シャンク部の付根部分の径より大きく該シャンク部が前記テーパー孔に嵌合された状態で端面が加工機主軸先端面に間隙をもって対面する工具保持具本体と、前記端面に開口端を有し前記工具保持具本体の軸心を中心として円周方向に均等に配置された複数の脚部材保持孔と、各脚部材保持孔内に夫々嵌合され液密に摺動する複数の脚部材と、各脚部材保持孔の底部分を連通する油路と、前記工具保持具本体の外周部から穿設され前記油路に連通する油圧調整孔と、該油圧調整孔内に液密に摺動自在に配置されたピストンと、該ピストンの前記油圧調整孔内での進退位置を調整し該ピストンを該油圧調整孔内に進入させたとき発生する油圧により前記脚部材の背圧を高めて各脚部材を前記加工機主軸先端面に圧接する油圧調整手段とを備えることで達成される。
【0011】
脚部材の進退量を油圧調整手段で調整可能となるため、加工機の個体差をこの脚部材の進退量で吸収することが可能となり、加工機対応に工具保持具を製造する必要がなくなり、1つの工具保持具を共通に使用可能となる。また、複数の脚部材で工具保持具本体を支持するため、1つの脚部材の下に異物が挟み込まれても工具保持具を主軸先端面に直角に支持することが可能となる。
【0012】
【発明の実施の形態】
以下、本発明の一実施形態を図1乃至図3の図面を参照して説明する。
図1、2は、本発明の一実施形態に係る工具保持具の断面図である。図4、5に示される既設の加工機に対応する構成を備えており、主軸20には、その中心軸に沿う孔21が穿設されている。主軸20の先端面20aに開口する孔21の開口端側は所定角度で次第に拡径され、テーパー孔22となっている。このテーパー孔22に工具保持具30が装着される。
【0013】
図4に示される保持具1に対応する工具保持具30の本体背部に突設されたシャンク部31は、上記のテーパー孔22に整合するように円錐状に形成され、工具保持具30の本体30bは、シャンク部31の付根部より大径に形成され、図示しないロボット等が工具保持具30を掴持する環状凹部32がこの大径部30bに設けられている。
【0014】
工具保持具30にはその中心軸に沿う孔30aが穿設されており、この孔30aのシャンク部31先端側に設けられたネジ孔に螺着されたプルスタッド40を、加工機側の引具24が引っ張り込むことで、工具保持具30が主軸20に強固に一体に取り付けられる構成になっている。プルスタッド40にもその中心軸に沿う孔40aが穿設されており、主軸20の孔21,プルスタッド40の孔40a,工具保持具30の孔30aを通して、工具保持具30及び先端に周知の如く装着される刃物を冷却する冷却液を流すようになっている。
【0015】
工具保持具30の大径部の環状凹部32よりシャンク部31側が本実施形態における鍔部33となるが、本実施形態では、この鍔部33の端面33aは、シャンク部31がテーパー孔22が嵌合し引具24がプルスタッド40を引き込んだ状態では、通常、主軸先端面20aとの間に隙間dが形成され、両端面20a,33aは密着しないことが多い。しかし、相手の主軸の型式によっては両端面が密着することもある。
【0016】
工具保持具30の孔30aは、鍔部33より図示しない工具取付側において若干小径に縮径されており、径が小径に変化する段部にはネジ孔34が螺刻され、このネジ孔34に、円筒状の油路形成部材35が螺着されている。この油路形成部材35には、ネジ孔34側端部外周とその反対側端部外周に夫々Oリング36,37を取り付ける環状凹溝が刻設されていると共に、これらの間の外周壁の周囲にも浅い凹溝38が刻設されている。この環状の凹溝38は、孔30a内周面に弾接するOリング36,37により孔30aから遮断された環状油路として機能するようになっている。また凹溝38の油路の断面は、油が流通する範囲で小さく形成され、脚部材42の1又は2が衝撃的に後退しようとしても油路が小さくて抵抗があり、急激な後退が防止されるようにしてある。
【0017】
鍔部33には、端面33aに開口する脚部材保持孔としての有底孔41が穿設されており、この有底孔41の内部には、端面33aと対面する主軸先端面20a側に向けて液密に進退摺動する脚部材42が嵌合されている。有底孔41の底部分は、油路43を介して前記の環状油路38に連通しており、この油路43内の油圧が高まると、脚部材42が主軸先端面20a側に摺動するようになっている。
【0018】
これらの有底孔41,脚部材42,油路43は、図3に示すように、工具保持具30の軸心を中心に周方向に均等に6個づつ設けられている。この個数は6個に限られるものではないが、コストを考えれば、3個〜10個程度が適当である。尚、図1において、39は、油路形成部材35をネジ孔34に螺着するときに用いる六角孔であり、44は、油路43製造時にできた開口端を閉塞する止め栓である。また、図1に示す工具保持具30の断面図は、この図3のB−C線断面図である。
【0019】
鍔部33には、それの周面に開口し、かつ環状油路38まで連通する油圧調整孔45が半径方向に2箇所設けられている。各孔45の入口にはネジ穴が螺刻されており、各ネジ穴に、六角孔46aを備える油圧調整ネジ46が外周から直接操作可能に取り付けられている。油圧調整ネジ46の先端部にはピストン47が孔45に対して液密に摺動可能に連設されており、油圧調整ネジ46を回転することにより、ピストン47が孔45内を進退するようになっている。上記ピストン47が深部に設けられる場合、それの進退操作は、保持具本体30bの半径方向表面の任意の場所に操作部を設け、任意の連繋機構を介して操作するようにしてもよい。
【0020】
斯かる構成の工具保持具30を主軸20に取り付ける場合、ロボット等が工具保持具30を掴持してそのシャンク部31をテーパー孔22に挿入し、引具24がプルスタッド40を掴持して引き込むと、シャンク部31はテーパー孔22に嵌合して工具保持具30の軸心は主軸20の軸心と一致する。この状態で、工具保持具30の鍔部33端面33aは、主軸先端面20aから若干離間してある。このときの隙間dの間隔は、加工機の個体差によってまちまちとなる。
【0021】
次に、ロボットによる自動調整あるいは加工機保守員の手動調整により、油圧調整ネジ46を回すと、図2に示す様に、ピストン47が孔45内に進入される。これにより、油圧調整孔45内の油圧は増大して環状油路38から各油路43に伝達され、各有底孔41内の脚部材42の背圧が均等に増大する。これにより、各脚部材42は主軸先端面20a側に押し出されて該端面20aに圧接され、工具保持具30の中心軸は、各脚部材42の支持により、主軸20の中心軸に対して傾かないように固定される。
【0022】
この状態で加工機を作動させ工具保持具30に取り付けられた図示しない工具により加工を行った後は、引具24による引き込みを解除し工具保持具30をテーパー孔22から取り出す。再びこの工具保持具30を主軸20に装着するときは、既に油圧調整ネジ46の調整は済んでいるため、このネジ46の調整は不要であり、単に、工具保持具30のシャンク部21をテーパー孔22に挿入し引具24でこれを引き込むことで終了する。
【0023】
別の加工機の主軸にこの工具保持具30を装着するときは、油圧調整ネジ46を元の位置に戻してから前述と同様にして主軸に取り付け、ネジ46を調整する。これにより、個体差のある別の加工機にも同じ工具保持具を取り付け可能となる。
【0024】
このように、本実施形態に係る工具保持具では、進退自在の複数の脚部材42により工具保持具30を主軸先端面に対して傾かないように強固に支持させる構成としたため、個体差のある加工機に対しても同じ工具保持具を使用できることとなる。また、切り粉等が1つの脚部材の下に存在しても、その脚部材42の鍔部端面33aからの伸長位置が切り粉が押し潰された厚さだけ短くなるだけとなり、更に、この短くなった分だけ各脚部材の背圧は均等に増大し、これらの脚部材42により、工具保持具30はその軸心が主軸の軸心から傾かないよう強固に支持される。
【0025】
尚、上述した実施形態では、油圧調整孔45を対向する位置に2つ設けたが、1つでもよいことはいうまでもない。また、「油圧」といっているが、「油」を用いるものに限定するものではなく、他の液圧を利用するものを含むものとして使用している。
【0026】
【発明の効果】
本発明によれば、1つの工具保持具を複数の加工機に共通に使用することが可能となり、しかも、工具保持具を加工機主軸に対し強固に直角に取り付けることが可能となる。
【図面の簡単な説明】
【図1】本発明の一実施形態に係る工具保持具の断面図である。
【図2】図1に示す工具保持具の取り付け後の状態を示す図である。
【図3】図1のA−A線部分の断面図である。
【図4】従来の工具保持具の説明図である。
【図5】図4に示す工具保持具の要部断面図である。
【符号の説明】
20 主軸
20a 主軸先端面
22 テーパー孔
30 工具保持具
31 シャンク部
33 鍔部(工具保持具本体の一部)
33a 端面
38 環状油路
41 有底孔
42 脚部材
43 油路
45 油圧調整孔
46 油圧調整ネジ
47 ピストン
Claims (1)
- 先端側に工具が取り付けられ背部側にテーパー状のシャンク部が突設され、加工機主軸のテーパー孔に脱着自在に前記シャンク部を嵌合する工具保持具において、前記シャンク部の付根部分の径より大きく該シャンク部が前記テーパー孔に嵌合された状態で端面が加工機主軸先端面に間隙をもって対面する工具保持具本体と、前記端面に開口端を有し前記工具保持具本体の軸心を中心として円周方向に均等に配置された複数の脚部材保持孔と、各脚部材保持孔内に夫々嵌合され液密に摺動する複数の脚部材と、各脚部材保持孔の底部分を連通する油路と、前記工具保持具本体の外周部から穿設され前記油路に連通する油圧調整孔と、該油圧調整孔内に液密に摺動自在に配置されたピストンと、該ピストンの前記油圧調整孔内での進退位置を調整し該ピストンを該油圧調整孔内に進入させたとき発生する油圧により前記脚部材の背圧を高めて各脚部材を前記加工機主軸先端面に圧接する油圧調整手段とを備えることを特徴とする工具保持具。
Priority Applications (1)
| Application Number | Priority Date | Filing Date | Title |
|---|---|---|---|
| JP36074698A JP4119552B2 (ja) | 1998-12-18 | 1998-12-18 | 工具保持具 |
Applications Claiming Priority (1)
| Application Number | Priority Date | Filing Date | Title |
|---|---|---|---|
| JP36074698A JP4119552B2 (ja) | 1998-12-18 | 1998-12-18 | 工具保持具 |
Publications (2)
| Publication Number | Publication Date |
|---|---|
| JP2000176773A JP2000176773A (ja) | 2000-06-27 |
| JP4119552B2 true JP4119552B2 (ja) | 2008-07-16 |
Family
ID=18470744
Family Applications (1)
| Application Number | Title | Priority Date | Filing Date |
|---|---|---|---|
| JP36074698A Expired - Fee Related JP4119552B2 (ja) | 1998-12-18 | 1998-12-18 | 工具保持具 |
Country Status (1)
| Country | Link |
|---|---|
| JP (1) | JP4119552B2 (ja) |
Cited By (2)
| Publication number | Priority date | Publication date | Assignee | Title |
|---|---|---|---|---|
| CN105945317A (zh) * | 2016-05-29 | 2016-09-21 | 广东技术师范学院 | 一种车床用调整轴向长度型夹具装置 |
| CN106141756A (zh) * | 2016-07-29 | 2016-11-23 | 衡阳鸿菱石油管材有限责任公司 | 一种用于石油管道附件短节加工的顶头装置 |
-
1998
- 1998-12-18 JP JP36074698A patent/JP4119552B2/ja not_active Expired - Fee Related
Cited By (2)
| Publication number | Priority date | Publication date | Assignee | Title |
|---|---|---|---|---|
| CN105945317A (zh) * | 2016-05-29 | 2016-09-21 | 广东技术师范学院 | 一种车床用调整轴向长度型夹具装置 |
| CN106141756A (zh) * | 2016-07-29 | 2016-11-23 | 衡阳鸿菱石油管材有限责任公司 | 一种用于石油管道附件短节加工的顶头装置 |
Also Published As
| Publication number | Publication date |
|---|---|
| JP2000176773A (ja) | 2000-06-27 |
Similar Documents
| Publication | Publication Date | Title |
|---|---|---|
| CN100548544C (zh) | 用于把套爪固定到卡盘上的夹紧设备 | |
| US5286042A (en) | Tool holder with centering adjustment | |
| US4387906A (en) | Tool or workpiece chucking device | |
| JP3055019B1 (ja) | 切粉吸引式工作機械 | |
| US6179530B1 (en) | Expansion clamping chuck | |
| US4197771A (en) | Quick change device for mounting tool in support member | |
| US5397135A (en) | Expanding collet assembly | |
| JP5725111B2 (ja) | 切削工具 | |
| JP4119552B2 (ja) | 工具保持具 | |
| US3087737A (en) | Diaphragm type chuck | |
| US5683212A (en) | Clamping assembly for tapered hollow shank of tooling system | |
| JP2002137132A (ja) | 工具の刃先位置決め機構 | |
| JP4972362B2 (ja) | ダイヤフラムチャック | |
| US5551710A (en) | Universal modular sleeve-clamp systems | |
| JP2000158269A (ja) | 工具保持具 | |
| JPS62255042A (ja) | クランプ装置 | |
| JP7015149B2 (ja) | チャック装置 | |
| US3753622A (en) | Drill shank and chuck assembly for a drill press | |
| GB2175227A (en) | Device for clamping tools to a tool holder of a machine-tool | |
| JP5946570B1 (ja) | 工具ホルダ | |
| JP2006263828A (ja) | 切削工具 | |
| JP2003311602A (ja) | ホーニング工具 | |
| JPH06190613A (ja) | アーバおよび該アーバが装着可能なスピンドルを備えた工作機械 | |
| JP3745250B2 (ja) | 円テーブル用クランプ装置の加工物把持用治具ホルダー取付構造 | |
| JPH1158109A (ja) | 工作機械用コレットチャック |
Legal Events
| Date | Code | Title | Description |
|---|---|---|---|
| A621 | Written request for application examination |
Free format text: JAPANESE INTERMEDIATE CODE: A621 Effective date: 20050823 |
|
| RD03 | Notification of appointment of power of attorney |
Free format text: JAPANESE INTERMEDIATE CODE: A7423 Effective date: 20050823 |
|
| A521 | Written amendment |
Free format text: JAPANESE INTERMEDIATE CODE: A821 Effective date: 20050826 |
|
| A977 | Report on retrieval |
Free format text: JAPANESE INTERMEDIATE CODE: A971007 Effective date: 20080403 |
|
| TRDD | Decision of grant or rejection written | ||
| A01 | Written decision to grant a patent or to grant a registration (utility model) |
Free format text: JAPANESE INTERMEDIATE CODE: A01 Effective date: 20080415 |
|
| A61 | First payment of annual fees (during grant procedure) |
Free format text: JAPANESE INTERMEDIATE CODE: A61 Effective date: 20080425 |
|
| R150 | Certificate of patent or registration of utility model |
Free format text: JAPANESE INTERMEDIATE CODE: R150 |
|
| FPAY | Renewal fee payment (event date is renewal date of database) |
Free format text: PAYMENT UNTIL: 20110502 Year of fee payment: 3 |
|
| FPAY | Renewal fee payment (event date is renewal date of database) |
Free format text: PAYMENT UNTIL: 20110502 Year of fee payment: 3 |
|
| FPAY | Renewal fee payment (event date is renewal date of database) |
Free format text: PAYMENT UNTIL: 20120502 Year of fee payment: 4 |
|
| FPAY | Renewal fee payment (event date is renewal date of database) |
Free format text: PAYMENT UNTIL: 20120502 Year of fee payment: 4 |
|
| FPAY | Renewal fee payment (event date is renewal date of database) |
Free format text: PAYMENT UNTIL: 20130502 Year of fee payment: 5 |
|
| FPAY | Renewal fee payment (event date is renewal date of database) |
Free format text: PAYMENT UNTIL: 20130502 Year of fee payment: 5 |
|
| FPAY | Renewal fee payment (event date is renewal date of database) |
Free format text: PAYMENT UNTIL: 20140502 Year of fee payment: 6 |
|
| R250 | Receipt of annual fees |
Free format text: JAPANESE INTERMEDIATE CODE: R250 |
|
| R250 | Receipt of annual fees |
Free format text: JAPANESE INTERMEDIATE CODE: R250 |
|
| R250 | Receipt of annual fees |
Free format text: JAPANESE INTERMEDIATE CODE: R250 |
|
| LAPS | Cancellation because of no payment of annual fees |