JP2025005299A - 非常脱出用庫内押し棒装置 - Google Patents
非常脱出用庫内押し棒装置 Download PDFInfo
- Publication number
- JP2025005299A JP2025005299A JP2023105453A JP2023105453A JP2025005299A JP 2025005299 A JP2025005299 A JP 2025005299A JP 2023105453 A JP2023105453 A JP 2023105453A JP 2023105453 A JP2023105453 A JP 2023105453A JP 2025005299 A JP2025005299 A JP 2025005299A
- Authority
- JP
- Japan
- Prior art keywords
- push rod
- collar
- door
- base member
- steel plate
- Prior art date
- Legal status (The legal status is an assumption and is not a legal conclusion. Google has not performed a legal analysis and makes no representation as to the accuracy of the status listed.)
- Pending
Links
Images
Landscapes
- Refrigerator Housings (AREA)
- Devices That Are Associated With Refrigeration Equipment (AREA)
Abstract
【課題】凍結による押し棒の固着を防止することができる非常脱出用の庫内押し棒装置を提供する。
【解決手段】押し棒装置1のベース部材2は、扉101の貫通孔102にガイド孔21を対応させて内側鋼板103に固着され、押し棒3を、ガイド孔21、貫通孔102に挿通させて支持する。押し棒3は、ヘッド部31と環状段部32とを具備し、ばね5で原位置に付勢される。ベース部材2の本体22は、扉の内側鋼板103に固着される。ブッシュ23のフランジ部231は、本体22と内側鋼板103とに挟まれ、筒部232は貫通孔102に嵌合し、その先端がカラー4の内側端に当接する。カラー4は、外側端が外側鋼板104の内側面に当接する。押し棒3の段部32はカラー4の外側端に圧接され、庫外側に押し込まれたとき、カラー4内を密に摺動し、先端でロックハンドル装置111を解錠駆動する。
【選択図】図1
【解決手段】押し棒装置1のベース部材2は、扉101の貫通孔102にガイド孔21を対応させて内側鋼板103に固着され、押し棒3を、ガイド孔21、貫通孔102に挿通させて支持する。押し棒3は、ヘッド部31と環状段部32とを具備し、ばね5で原位置に付勢される。ベース部材2の本体22は、扉の内側鋼板103に固着される。ブッシュ23のフランジ部231は、本体22と内側鋼板103とに挟まれ、筒部232は貫通孔102に嵌合し、その先端がカラー4の内側端に当接する。カラー4は、外側端が外側鋼板104の内側面に当接する。押し棒3の段部32はカラー4の外側端に圧接され、庫外側に押し込まれたとき、カラー4内を密に摺動し、先端でロックハンドル装置111を解錠駆動する。
【選択図】図1
Description
本発明は、冷凍・冷蔵庫内に閉じ込められた者が、庫内側にある押し棒の操作によって自力で庫外へ脱出できるようにした非常脱出用庫内押し棒装置に関する。
従来、作業員が出入りする業務用冷凍・冷蔵庫では、作業員が庫内で作業中に扉が外部から誤って錠止されても、当該作業員が自力で扉を解錠開放して早期に脱出できるようにするため、扉用ロックハンドル装置のロック機構を庫内側から駆動操作するための庫内押棒装置が装備されている(特許文献1参照)。
上記従来の庫内押棒装置においては、押し棒と扉の貫通孔との間が凍結して非常時に押し棒の操作が困難になる危険性がある。扉は、内側鋼板と外側鋼板の間に断熱材を挟んだ構造であり、貫通孔の内径を押し棒の直径に精度良く一致させて形成することができないので、この問題が生じる。
従って、本発明は、扉の貫通孔の内径が必要以上に大きくても、凍結による押し棒の固着を防止することができる非常脱出用の庫内押し棒装置を提供することを課題とする。
従って、本発明は、扉の貫通孔の内径が必要以上に大きくても、凍結による押し棒の固着を防止することができる非常脱出用の庫内押し棒装置を提供することを課題とする。
以下の説明において添付図面の符号を参照するが、本発明はこれに限定されるものではない。
上記課題を解決するための、本発明の非常脱出用庫内押し棒装置1は、ベース部材2と、当該ベース部材2に支持される金属製の押し棒3と、当該押し棒3の外周に密に摺動自在に嵌め込まれる合成樹脂製のカラー4とを具備する。ベース部材2は、扉101を内外に通じる貫通孔102にガイド孔21を対応させて扉の内側鋼板103に固着される。ベース部材2は、押し棒3を、ガイド孔21を介して扉の貫通孔102に挿通させるように、押し棒3を軸線方向摺動自在に支持する。押し棒3は、庫内に位置する基端側のヘッド部31と、カラー4を抜け止めする先端側の環状段部32とを具備する。押し棒3は、ヘッド部31とベース部材2との間に介設されるばね5により、基端側が庫内に突出する原位置に付勢される。ベース部材2は、本体22とブッシュ23とを具備する。本体22は、扉の内側鋼板103に固着される。ブッシュ23は、本体22に密着するフランジ部23aと、このフランジ部23aから突出する筒部23bとを備える。フランジ部23aは、本体22と扉の内側鋼板103との間に挟まれる。筒部23bは、扉の貫通孔102に嵌合し、その先端がカラー4の内側端に当接する。カラー4は、外側端が扉の外側鋼板104の内側面における貫通孔102の外周縁に当接する。押し棒3は、原位置において、ばね5の与圧で段部32がカラー4の外側端に圧接され、庫外側に押し込まれたとき、カラー4内を密に摺動し、先端でロックハンドル装置111を解錠駆動する。
上記課題を解決するための、本発明の非常脱出用庫内押し棒装置1は、ベース部材2と、当該ベース部材2に支持される金属製の押し棒3と、当該押し棒3の外周に密に摺動自在に嵌め込まれる合成樹脂製のカラー4とを具備する。ベース部材2は、扉101を内外に通じる貫通孔102にガイド孔21を対応させて扉の内側鋼板103に固着される。ベース部材2は、押し棒3を、ガイド孔21を介して扉の貫通孔102に挿通させるように、押し棒3を軸線方向摺動自在に支持する。押し棒3は、庫内に位置する基端側のヘッド部31と、カラー4を抜け止めする先端側の環状段部32とを具備する。押し棒3は、ヘッド部31とベース部材2との間に介設されるばね5により、基端側が庫内に突出する原位置に付勢される。ベース部材2は、本体22とブッシュ23とを具備する。本体22は、扉の内側鋼板103に固着される。ブッシュ23は、本体22に密着するフランジ部23aと、このフランジ部23aから突出する筒部23bとを備える。フランジ部23aは、本体22と扉の内側鋼板103との間に挟まれる。筒部23bは、扉の貫通孔102に嵌合し、その先端がカラー4の内側端に当接する。カラー4は、外側端が扉の外側鋼板104の内側面における貫通孔102の外周縁に当接する。押し棒3は、原位置において、ばね5の与圧で段部32がカラー4の外側端に圧接され、庫外側に押し込まれたとき、カラー4内を密に摺動し、先端でロックハンドル装置111を解錠駆動する。
本発明によれば、カラー4が押し棒3と共にばね5でブッシュ23に圧接され、ブッシュ23がベース部材2の本体22に密着するので、扉101の開閉動作時に、カラー4と押し棒3との間の気密性が保持される上に、カラー4と押し棒3との密着性が高いので、押し棒3とカラー4との間の結露の凍結が阻止され、押し棒3の動作不良を防止できる。
図面を参照して本発明の実施の形態を説明する。
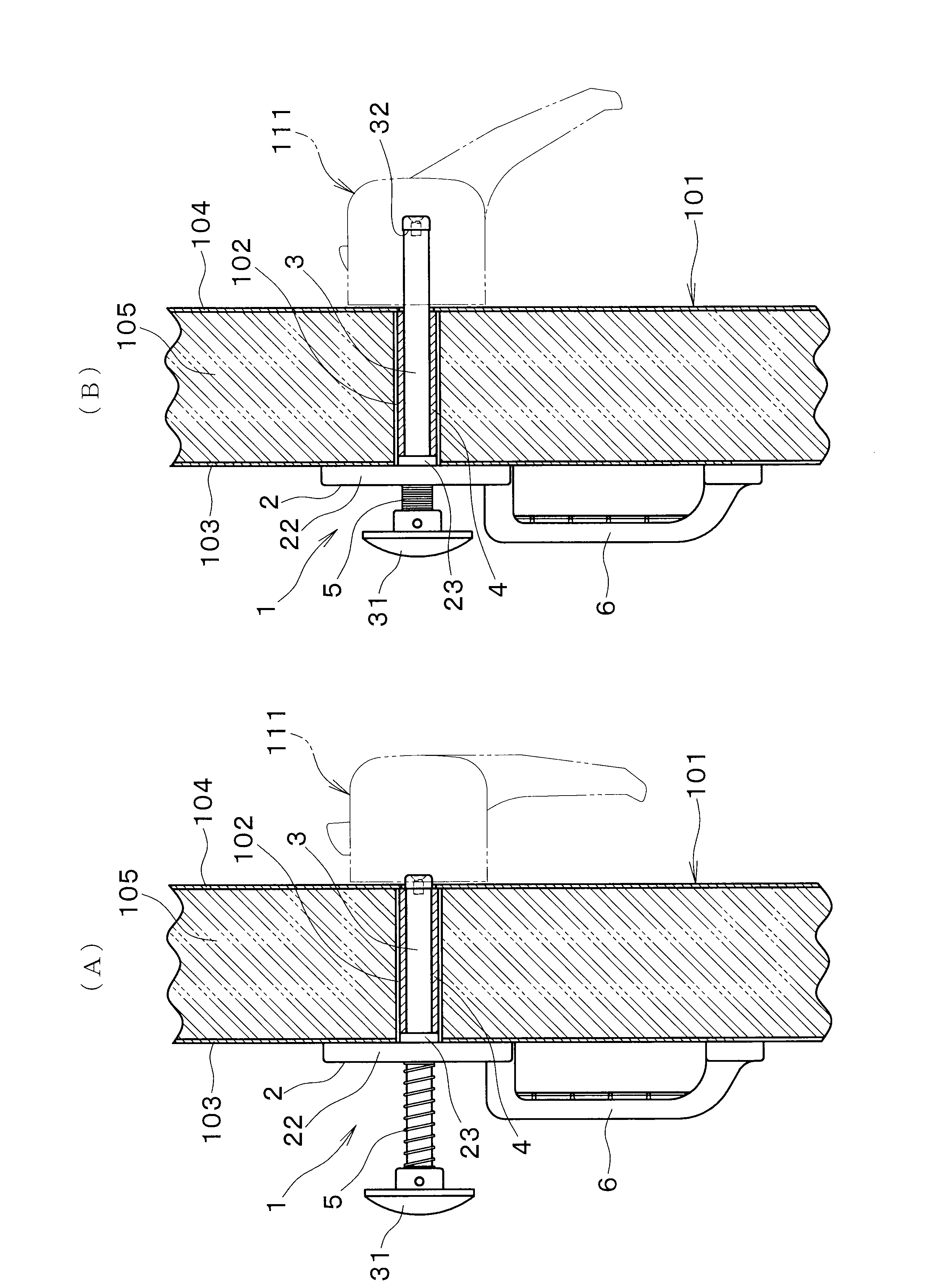
図1に示すように、非常脱出用庫内押し棒装置1は、冷蔵庫本体に対して扉101を錠止するロックハンドル装置111を、非常時に庫内側からの押圧操作によって解錠駆動する装置である。
図1に示すように、非常脱出用庫内押し棒装置1は、冷蔵庫本体に対して扉101を錠止するロックハンドル装置111を、非常時に庫内側からの押圧操作によって解錠駆動する装置である。
扉101は、内側鋼板103と外側鋼板104との間に合成樹脂製の断熱材106を挟んで構成され、ロックハンドル装置111に対応する位置に貫通孔102が形成される。
押し棒装置1は、扉101の内側(庫内側)に固着されるベース部材2と、当該ベース部材2に支持される金属製の押し棒3と、当該押し棒3の外周に密に摺動自在に嵌め込まれる合成樹脂製のカラー4とを具備する。
ベース部材2は、扉101を内外に通じる貫通孔102にガイド孔21を対応させて、扉101の内側鋼板103に固着される。ベース部材2は、押し棒3を、ガイド孔21を介して扉101の貫通孔102に挿通させるように、押し棒3を軸線方向摺動自在に支持する。
押し棒3は、庫内に位置する基端側のヘッド部31と、カラー4を抜け止めする先端側の環状段部32とを具備し、ヘッド部31とベース部材2との間に介設されるばね5により、基端側が庫内に突出する原位置(図1(A)、図2)に付勢される。
図2,3によく示すように、ベース部材2は、いずれも合成樹脂製の、本体22とブッシュ23とを具備する。本体22は、取っ手6と一体に、扉101の内側鋼板103に固着される。
ブッシュ23は、本体22に密着するフランジ部23aと、このフランジ部23aから突出する筒部23bとを備える。
フランジ部23aは、本体22と扉の内側鋼板103との間に挟まれ、筒部23bが扉の貫通孔102に嵌合する。筒部23bの先端は、カラー4の内側端に圧接される。
カラー4は、外側端が、扉101の外側鋼板104の内側面における貫通孔102の外周縁に当接すると共に、押し棒3の段部32にばね力で圧接された状態にある。
押し棒3が図2に実線で示す原位置にあるとき、段部32が、ばねの与圧でカラー4の外側端に圧接される。図2に仮想線示すように、押し棒3が庫外側に押し込まれると、押し棒3は、カラー内4を密に摺動し、図1(B)に示すように、先端でロックハンドル装置111を解錠駆動した後、ばね力で即時原位置に復帰する。
押し棒3の外周に嵌め込まれたOリング24は、ブッシュ23のフランジ部23aと本体22との間に介在し、両者間の気密性を保つ。
以上のように、カラー4が押し棒3と共にばね5でブッシュ23に圧接され、ブッシュ23がベース部材2の本体22に密着するので、扉101の開閉動作時に、カラー4と押し棒3との間の気密性が保持される。また、カラー4と押し棒3との密着性が高いので、押し棒3とカラー4との間の結露の発生や、結露の凍結が阻止され、押し棒3の動作不良を回避できる。
1 押し棒装置
2 ベース部材
21 ガイド孔
22 ベース部材の本体
23 ブッシュ
23a フランジ部
23b 筒部
24 Oリング
3 押し棒
31 ヘッド部
32 段部
4 カラー
5 ばね
101 扉
102 貫通孔
103 内側鋼板
104 外側鋼板
105 断熱材
111 ロックハンドル装置
2 ベース部材
21 ガイド孔
22 ベース部材の本体
23 ブッシュ
23a フランジ部
23b 筒部
24 Oリング
3 押し棒
31 ヘッド部
32 段部
4 カラー
5 ばね
101 扉
102 貫通孔
103 内側鋼板
104 外側鋼板
105 断熱材
111 ロックハンドル装置
Claims (2)
- 冷蔵庫本体に対して扉を錠止するロックハンドル装置を、非常時には庫内側からの押圧操作によって解錠駆動する非常脱出用庫内押し棒装置であって、
ベース部材と、当該ベース部材に支持される金属製の押し棒と、当該押し棒の外周に密に摺動自在に嵌め込まれる合成樹脂製のカラーとを具備し、
前記ベース部材は、前記扉を内外に通じる貫通孔にガイド孔を対応させて前記扉の内側鋼板に固着され、かつ前記押し棒を、前記ガイド孔を介して前記扉の貫通孔に挿通させるように軸線方向摺動自在に支持し、
前記押し棒は、庫内に位置する基端側のヘッド部と、前記カラーを抜け止めする先端側の環状段部とを具備し、前記ヘッド部と前記ベース部材との間に介設されるばねにより基端側が庫内に突出する原位置に付勢され、
前記ベース部材は、前記内側鋼板に固着される本体と、当該本体に密着するフランジ部と当該フランジ部から突出する筒部とを備えたブッシュとを具備し、
前記ブッシュは、前記フランジ部が前記本体と前記内側鋼板との間に挟まれ、前記筒部が前記扉の貫通孔に嵌合し、当該筒部の先端が前記カラーの内側端に当接するように設けられ、
前記カラーは、外側端が前記扉の外側鋼板の内側面における前記貫通孔の外周縁に当接するように設けられ、
前記押し棒は、原位置において、前記ばねの与圧で前記段部が前記カラーの外側端に圧接され、庫外側に押し込まれたとき、前記カラー内を密に摺動して先端で前記ロックハンドル装置を解錠駆動するように設けられることを特徴とする非常脱出用庫内押し棒装置。 - 前記ベース部材は、前記ブッシュのフランジ部と前記本体との間に介在するように、前記押し棒の外周に嵌め込まれるOリングをさらに具備することを特徴とする請求項1に記載の非常脱出用庫内押し棒装置。
Priority Applications (1)
| Application Number | Priority Date | Filing Date | Title |
|---|---|---|---|
| JP2023105453A JP2025005299A (ja) | 2023-06-27 | 2023-06-27 | 非常脱出用庫内押し棒装置 |
Applications Claiming Priority (1)
| Application Number | Priority Date | Filing Date | Title |
|---|---|---|---|
| JP2023105453A JP2025005299A (ja) | 2023-06-27 | 2023-06-27 | 非常脱出用庫内押し棒装置 |
Publications (1)
| Publication Number | Publication Date |
|---|---|
| JP2025005299A true JP2025005299A (ja) | 2025-01-16 |
Family
ID=94227035
Family Applications (1)
| Application Number | Title | Priority Date | Filing Date |
|---|---|---|---|
| JP2023105453A Pending JP2025005299A (ja) | 2023-06-27 | 2023-06-27 | 非常脱出用庫内押し棒装置 |
Country Status (1)
| Country | Link |
|---|---|
| JP (1) | JP2025005299A (ja) |
-
2023
- 2023-06-27 JP JP2023105453A patent/JP2025005299A/ja active Pending
Similar Documents
| Publication | Publication Date | Title |
|---|---|---|
| US5275029A (en) | Refrigerator door lock | |
| US9885201B2 (en) | Lock device for linear motion rod | |
| US20060255596A1 (en) | Flush handle latch mechanism | |
| US1198509A (en) | Fastening device. | |
| US8998277B2 (en) | Outside handle for sliding door | |
| JP2010038495A (ja) | 冷蔵庫 | |
| KR101422810B1 (ko) | 냉장 및 냉동고용 캣쳐 해제장치 | |
| JP2025005299A (ja) | 非常脱出用庫内押し棒装置 | |
| JP5416374B2 (ja) | 低温貯蔵庫の庫内圧調整装置 | |
| US4135746A (en) | Latch bolt assembly | |
| US2007854A (en) | Lock for doors | |
| US2730391A (en) | Latch mechanism | |
| US20200173577A1 (en) | One-touch lock valve and raw material container | |
| US2604346A (en) | Push-button unit | |
| US2043787A (en) | Door fastener | |
| US2807492A (en) | Push button door handle adapted for use on doors of automobiles, refrigerators and the like | |
| US10107006B2 (en) | Door knob assembly | |
| US754721A (en) | Latch. | |
| US5556142A (en) | Rotary hook tension-shear latch | |
| GB1582667A (en) | Selflocking door handle assembly | |
| JPS5922847Y2 (ja) | ハンドル装置に連設する安全押棒のガイドパイプ | |
| KR102067569B1 (ko) | 냉장 및 냉동고 도어용 도어록 장치 | |
| US2812205A (en) | Push button door handle | |
| US11951286B2 (en) | Automatic injection device for fluid | |
| US1043281A (en) | Locking means for valves. |
