JP2024029728A - 中継搬送装置、記録システム - Google Patents
中継搬送装置、記録システム Download PDFInfo
- Publication number
- JP2024029728A JP2024029728A JP2022174569A JP2022174569A JP2024029728A JP 2024029728 A JP2024029728 A JP 2024029728A JP 2022174569 A JP2022174569 A JP 2022174569A JP 2022174569 A JP2022174569 A JP 2022174569A JP 2024029728 A JP2024029728 A JP 2024029728A
- Authority
- JP
- Japan
- Prior art keywords
- medium
- conveyance
- regulating
- auxiliary guide
- feeding
- Prior art date
- Legal status (The legal status is an assumption and is not a legal conclusion. Google has not performed a legal analysis and makes no representation as to the accuracy of the status listed.)
- Pending
Links
Images
Classifications
-
- B—PERFORMING OPERATIONS; TRANSPORTING
- B65—CONVEYING; PACKING; STORING; HANDLING THIN OR FILAMENTARY MATERIAL
- B65H—HANDLING THIN OR FILAMENTARY MATERIAL, e.g. SHEETS, WEBS, CABLES
- B65H9/00—Registering, e.g. orientating, articles; Devices therefor
- B65H9/16—Inclined tape, roller, or like article-forwarding side registers
- B65H9/163—Tape
Landscapes
- Feeding Of Articles By Means Other Than Belts Or Rollers (AREA)
- Registering Or Overturning Sheets (AREA)
Abstract
【課題】外部給送装置から媒体が送り出される際に斜行していても、斜行が補正され適切な記録を行うことができる記録システムを提供する。
【解決手段】中継搬送装置は、記録装置と給送装置との間に位置し、給送装置から給送された媒体を中継して記録装置へ搬送する中継搬送装置であって、給送装置から給送された媒体の、搬送方向と交差する幅方向における一方の第1端辺を位置決めする第1規制面を有する第1規制部と、媒体を第1規制面に向けて、搬送方向及び幅方向と交差する交差方向に搬送する搬送部と、第1規制部に対して搬送方向の下流に配置され、媒体の第1端辺の位置を規制可能な第1補助ガイド面を有する第1補助ガイドと、第1補助ガイドに対し媒体を挟んで反対側に配置され、媒体の第1端辺に対し反対側の第2端辺の位置を規制可能な第2補助ガイド面を有する第2補助ガイドとを備える。
【選択図】図2
【解決手段】中継搬送装置は、記録装置と給送装置との間に位置し、給送装置から給送された媒体を中継して記録装置へ搬送する中継搬送装置であって、給送装置から給送された媒体の、搬送方向と交差する幅方向における一方の第1端辺を位置決めする第1規制面を有する第1規制部と、媒体を第1規制面に向けて、搬送方向及び幅方向と交差する交差方向に搬送する搬送部と、第1規制部に対して搬送方向の下流に配置され、媒体の第1端辺の位置を規制可能な第1補助ガイド面を有する第1補助ガイドと、第1補助ガイドに対し媒体を挟んで反対側に配置され、媒体の第1端辺に対し反対側の第2端辺の位置を規制可能な第2補助ガイド面を有する第2補助ガイドとを備える。
【選択図】図2
Description
本発明は、記録装置と給送装置との間に配置されて媒体を搬送する中継搬送装置に関する。また本発明は、前記中継搬送装置を備える記録システムに関する。
プリンターに代表される記録装置においては、媒体の一例である用紙の先端をローラー対に突き当てて用紙の斜行を補正することが行われている。特許文献1には、用紙の先端を整列ローラー対に突き当てて用紙の斜行を補正する記録装置が示されている。
記録装置に対して独立した外部給送装置を設置し、この外部給送装置から記録装置へと媒体を供給する記録システムが構成される場合がある。この様な記録システムにおいて、外部給送装置から媒体が送り出される際の斜行の程度が大きいと、記録装置側の斜行補正では斜行を十分に補正できない場合があり、ひいては適切な記録を実行できない場合がある。
上記課題を解決する為の、本発明の中継搬送装置は、媒体に記録を行う記録装置と、前記記録装置の外側に配置されて前記記録装置へ媒体を給送する給送装置と、の間に位置し、前記給送装置から給送された媒体を中継して前記記録装置へ搬送する中継搬送装置であって、前記給送装置から給送された媒体の、搬送方向と交差する幅方向における一方の端辺である第1端辺を位置決めする第1規制面を有する第1規制部と、媒体を前記第1規制面に向けて、前記搬送方向及び前記幅方向と交差する交差方向に搬送する搬送部と、前記第1規制部に対して前記搬送方向の下流に配置され、媒体の前記第1端辺の位置を規制可能な第1補助ガイド面を有する第1補助ガイドと、前記第1補助ガイドに対し媒体を挟んで反対側に配置され、媒体の前記第1端辺に対し反対側の第2端辺の位置を規制可能な第2補助ガイド面を有する第2補助ガイドとを備えることを特徴とする。
また本発明の記録システムは、媒体に記録を行う前記記録装置と、前記記録装置の外側に配置されて前記記録装置へ媒体を給送する前記給送装置と、前記記録装置と前記給送装置との間に位置し、前記給送装置から給送された媒体を中継して前記記録装置へ搬送する前記中継搬送装置とを備えたことを特徴とする。
以下、本発明を概略的に説明する。
第1の態様に係る中継搬送装置は、媒体に記録を行う記録装置と、前記記録装置の外側に配置されて前記記録装置へ媒体を給送する給送装置と、の間に位置し、前記給送装置から給送された媒体を中継して前記記録装置へ搬送する中継搬送装置であって、前記給送装置から給送された媒体の、搬送方向と交差する幅方向における一方の端辺である第1端辺を位置決めする第1規制面を有する第1規制部と、媒体を前記第1規制面に向けて、前記搬送方向及び前記幅方向と交差する交差方向に搬送する搬送部と、前記第1規制部に対して前記搬送方向の下流に配置され、媒体の前記第1端辺の位置を規制可能な第1補助ガイド面を有する第1補助ガイドと、前記第1補助ガイドに対し媒体を挟んで反対側に配置され、媒体の前記第1端辺に対し反対側の第2端辺の位置を規制可能な第2補助ガイド面を有する第2補助ガイドとを備えることを特徴とする。
第1の態様に係る中継搬送装置は、媒体に記録を行う記録装置と、前記記録装置の外側に配置されて前記記録装置へ媒体を給送する給送装置と、の間に位置し、前記給送装置から給送された媒体を中継して前記記録装置へ搬送する中継搬送装置であって、前記給送装置から給送された媒体の、搬送方向と交差する幅方向における一方の端辺である第1端辺を位置決めする第1規制面を有する第1規制部と、媒体を前記第1規制面に向けて、前記搬送方向及び前記幅方向と交差する交差方向に搬送する搬送部と、前記第1規制部に対して前記搬送方向の下流に配置され、媒体の前記第1端辺の位置を規制可能な第1補助ガイド面を有する第1補助ガイドと、前記第1補助ガイドに対し媒体を挟んで反対側に配置され、媒体の前記第1端辺に対し反対側の第2端辺の位置を規制可能な第2補助ガイド面を有する第2補助ガイドとを備えることを特徴とする。
本態様によれば、前記給送装置から送り出された媒体が斜行していても、前記中継搬送装置において媒体の前記第1端辺が前記第1規制面に当接することで斜行が補正される。また媒体先端をローラー対に当接させて斜行を補正する構成に比べて、前記幅方向での媒体の位置がばらつき難い。以上により、前記記録装置において適切な記録を行うことができる。
そして斜行が補正された媒体は、前記幅方向において前記第1補助ガイドと前記第2補助ガイドとで挟まれた状態で前記記録装置に供給されることから、媒体が前記中継搬送装置から前記記録装置に供給される際の斜行が抑制され、前記中継搬送装置での斜行補正効果が適切に維持された状態で媒体を前記記録装置に供給することができる。
そして斜行が補正された媒体は、前記幅方向において前記第1補助ガイドと前記第2補助ガイドとで挟まれた状態で前記記録装置に供給されることから、媒体が前記中継搬送装置から前記記録装置に供給される際の斜行が抑制され、前記中継搬送装置での斜行補正効果が適切に維持された状態で媒体を前記記録装置に供給することができる。
第2の態様は、第1の態様において、前記搬送方向において前記搬送部と、前記第1補助ガイド及び前記第2補助ガイドと、の間に配置され、媒体を前記記録装置に向けて排出する排出ローラー対を備えることを特徴とする。
本態様によれば、前記排出ローラー対を備える構成において、上述した第1の態様の作用効果が得られる。
本態様によれば、前記排出ローラー対を備える構成において、上述した第1の態様の作用効果が得られる。
第3の態様は、第1の態様において、前記第1補助ガイドは、前記搬送方向の上流端に、前記搬送方向の上流に向かって前記第1端辺から離れる方向に拡がる媒体受け入れ部を備えることを特徴とする。
本態様によれば、前記第1補助ガイドは、前記搬送方向の上流端に、前記搬送方向の上流に向かって前記第1端辺から離れる方向に拡がる媒体受け入れ部を備えることから、媒体が前記第1補助ガイドに引っ掛かることを抑制できる。
尚、本態様は上記第1の態様に限らず、上記第2の態様に適用しても良い。
尚、本態様は上記第1の態様に限らず、上記第2の態様に適用しても良い。
第4の態様は、第3の態様において、前記第2補助ガイドは、前記搬送方向の上流端に、前記搬送方向の上流に向かって前記第2端辺から離れる方向に拡がる媒体受け入れ部を備えることを特徴とする。
本態様によれば、前記第2補助ガイドは、前記搬送方向の上流端に、前記搬送方向の上流に向かって前記第2端辺から離れる方向に拡がる媒体受け入れ部を備えることから、媒体が前記第2補助ガイドに引っ掛かることを抑制できる。
第5の態様は、第1の態様において、前記第1規制部並びに前記第1補助ガイド及び前記第2補助ガイドは、前記幅方向に移動可能であることを特徴とする。
本態様によれば、前記第1規制部並びに前記第1補助ガイド及び前記第2補助ガイドは、前記幅方向に移動可能であることから、前記幅方向の媒体サイズに対応して適切に斜行を補正できる。
尚、本態様は上記第1の態様に限らず、上記第2から第4の態様のいずれかに適用しても良い。
本態様によれば、前記第1規制部並びに前記第1補助ガイド及び前記第2補助ガイドは、前記幅方向に移動可能であることから、前記幅方向の媒体サイズに対応して適切に斜行を補正できる。
尚、本態様は上記第1の態様に限らず、上記第2から第4の態様のいずれかに適用しても良い。
第6の態様は、第5の態様において、前記第1規制部と前記第1補助ガイドは、一体となって前記幅方向に移動可能であることを特徴とする。
本態様によれば、前記第1規制部と前記第1補助ガイドは、一体となって前記幅方向に移動可能であることから、前記第1規制部と前記第1補助ガイドとの前記幅方向における位置ずれを防止でき、媒体が前記第1規制部から前記第1補助ガイドに移動する際の前記第1補助ガイドへの引っ掛かりを抑制できる。
本態様によれば、前記第1規制部と前記第1補助ガイドは、一体となって前記幅方向に移動可能であることから、前記第1規制部と前記第1補助ガイドとの前記幅方向における位置ずれを防止でき、媒体が前記第1規制部から前記第1補助ガイドに移動する際の前記第1補助ガイドへの引っ掛かりを抑制できる。
第7の態様は、第1の態様において、前記第1規制部に対し媒体を挟んで反対側に配置され、媒体の前記第2端辺の位置を規制可能な第2規制面を有する第2規制部を備え、前記幅方向において前記第1補助ガイド面と前記第2補助ガイド面との間の距離は、前記第1規制面と前記第2規制面との間の距離より短いことを特徴とする。
媒体は前記搬送部によって前記第1規制部の側に寄せられるが、一例として前記第1端辺の下流端が前記第1規制面から離れる様に媒体が回転してしまうと、媒体を前記搬送部によって搬送可能な距離を搬送しても、斜行の補正を行いきれなくなる虞がある。尚これは一例であり、上記の様な回転を伴わずに媒体が前記第1規制面から離れる方向に移動してしまう場合もある。しかしながら本態様によれば、媒体の前記第1端辺に対し反対側の第2端辺の位置を規制可能な第2規制部を備えることから、上記の様な不具合の発生を抑制できる。
そして本態様によれば、前記幅方向において前記第1補助ガイド面と前記第2補助ガイド面との間の距離は、前記第1規制面と前記第2規制面との間の距離より短いことから、媒体が前記中継搬送装置から前記記録装置に供給される際の斜行を好適に抑制できる。
尚、本態様は上記第1の態様に限らず、上記第2から第6の態様のいずれかに適用しても良い。
そして本態様によれば、前記幅方向において前記第1補助ガイド面と前記第2補助ガイド面との間の距離は、前記第1規制面と前記第2規制面との間の距離より短いことから、媒体が前記中継搬送装置から前記記録装置に供給される際の斜行を好適に抑制できる。
尚、本態様は上記第1の態様に限らず、上記第2から第6の態様のいずれかに適用しても良い。
第8の態様は、第1の態様において、回転することで媒体を前記第1規制部に寄せるパドルを有することを特徴とする。
本態様によれば、回転することで媒体を前記第1規制部に寄せるパドルを有することから、媒体の斜行をより適切に補正できる。
本態様によれば、回転することで媒体を前記第1規制部に寄せるパドルを有することから、媒体の斜行をより適切に補正できる。
第9の態様に係る記録システムは、媒体に記録を行う前記記録装置と、前記記録装置の外側に配置されて前記記録装置へ媒体を給送する前記給送装置と、前記記録装置と前記給送装置との間に位置し、前記給送装置から給送された媒体を中継して前記記録装置へ搬送する第1から第8の態様のいずれかに係る前記中継搬送装置とを備えたことを特徴とする。
本態様によれば、記録システムにおいて、上述した第1から第8の態様のいずれかの作用効果が得られる。
本態様によれば、記録システムにおいて、上述した第1から第8の態様のいずれかの作用効果が得られる。
以下、本発明を具体的に説明する。
以下では本発明の一実施形態に係る記録システム1、媒体供給システム2、及び中継搬送装置4を説明する。
各図においてX軸方向は、各装置の奥行き方向であり、また記録用紙に代表される媒体の幅方向である。X軸方向のうち+X方向は装置背面から装置前面に向かう方向であり、-X方向は装置前面から装置背面に向かう方向である。
Y軸方向は、各装置の装置幅方向であり、Y軸方向のうち+Y方向は装置前面と向き合うユーザーから見て左方向となり、-Y方向は右方向となる。また+Y方向は中継搬送装置4における媒体の搬送方向となる。
Z軸方向は、各装置の装置高さ方向であり、鉛直方向であって、+Z方向は鉛直上方であり、-Z方向は鉛直下方である。以後の説明では、+Z方向を単に上方、-Z方向を単に下方と称する場合がある。
以下では本発明の一実施形態に係る記録システム1、媒体供給システム2、及び中継搬送装置4を説明する。
各図においてX軸方向は、各装置の奥行き方向であり、また記録用紙に代表される媒体の幅方向である。X軸方向のうち+X方向は装置背面から装置前面に向かう方向であり、-X方向は装置前面から装置背面に向かう方向である。
Y軸方向は、各装置の装置幅方向であり、Y軸方向のうち+Y方向は装置前面と向き合うユーザーから見て左方向となり、-Y方向は右方向となる。また+Y方向は中継搬送装置4における媒体の搬送方向となる。
Z軸方向は、各装置の装置高さ方向であり、鉛直方向であって、+Z方向は鉛直上方であり、-Z方向は鉛直下方である。以後の説明では、+Z方向を単に上方、-Z方向を単に下方と称する場合がある。
また以下では、媒体が送られていく方向を搬送方向或いは搬送方向の下流と称し、また搬送方向に対し反対方向を搬送方向の上流と称する場合がある。
図1においては、媒体の搬送経路を破線で示している。記録システム1において媒体は、破線で示す搬送経路を通って搬送される。
図1においては、媒体の搬送経路を破線で示している。記録システム1において媒体は、破線で示す搬送経路を通って搬送される。
<<記録システムと記録装置の構成>>
図1において記録システム1は、記録装置3、中継搬送装置4、及び給送装置5を備える。中継搬送装置4と給送装置5は、媒体供給システム2を構成する。従って記録システム1は、換言すれば記録装置3と媒体供給システム2とを備える。
記録装置3、中継搬送装置4、及び給送装置5はそれぞれ独立した装置であって、設置面G上においてY軸方向に沿って並んで配置される。
図1において記録システム1は、記録装置3、中継搬送装置4、及び給送装置5を備える。中継搬送装置4と給送装置5は、媒体供給システム2を構成する。従って記録システム1は、換言すれば記録装置3と媒体供給システム2とを備える。
記録装置3、中継搬送装置4、及び給送装置5はそれぞれ独立した装置であって、設置面G上においてY軸方向に沿って並んで配置される。
記録装置3は、媒体に対して液体の一例であるインクを吐出することで記録を行うインクジェットプリンターとして構成され、記録部の一例であるラインヘッド105を備えている。また記録装置3は、装置上部に画像読取装置102を備えた所謂複合機である。
但し記録装置3はインクジェットプリンターに限られず、例えばレーザープリンター、熱転写プリンター、ドットインパクトプリンターなどの他の方式より記録を行う装置であっても良い。
但し記録装置3はインクジェットプリンターに限られず、例えばレーザープリンター、熱転写プリンター、ドットインパクトプリンターなどの他の方式より記録を行う装置であっても良い。
記録装置3は、ラインヘッド105を備える装置本体100の下部に、給送する媒体を収容する媒体収容部101を備えている。媒体収容部101は、鉛直方向に沿って複数の媒体収容カセットを備えて成る。
装置本体100は、媒体を搬送する搬送ローラー対(不図示)を複数備え、ラインヘッド105によって記録の行われた媒体は胴内排出部103へと排出されて、排出トレイ104に積載される。
装置本体100は、媒体を搬送する搬送ローラー対(不図示)を複数備え、ラインヘッド105によって記録の行われた媒体は胴内排出部103へと排出されて、排出トレイ104に積載される。
装置本体100には、記録システム1全体の制御を行う制御部111が設けられている。制御部111は、不図示のCPUや不揮発性メモリ等を備え、記録システム1において実行される全ての制御は、不揮発性メモリに保持された制御プログラムを実行することで実現される。
尚、本実施形態において制御部111は記録装置3に設けられ、記録装置3に接続された中継搬送装置4や、更に中継搬送装置4に接続された給送装置5の制御を行うが、中継搬送装置4と給送装置5がそれぞれ各装置における制御を担う制御部を備え、記録装置3の制御部111、中継搬送装置4の制御部(不図示)、及び給送装置5の制御部(不図示)のこれらが連携して媒体の搬送を行う様に構成されていても良い。
尚、本実施形態において制御部111は記録装置3に設けられ、記録装置3に接続された中継搬送装置4や、更に中継搬送装置4に接続された給送装置5の制御を行うが、中継搬送装置4と給送装置5がそれぞれ各装置における制御を担う制御部を備え、記録装置3の制御部111、中継搬送装置4の制御部(不図示)、及び給送装置5の制御部(不図示)のこれらが連携して媒体の搬送を行う様に構成されていても良い。
記録装置3は、装置本体100の右側部に受け入れローラーとしての給送ローラー107と分離ローラー108とを備えており、装置本体100の右側部から媒体を受け入れ可能に構成されている。給送ローラー107は、設置面Gから所定高さに配置されている。後述する中継搬送装置4は、この給送ローラー107に媒体を供給する。
装置本体100の右側部から媒体を受け入れた場合、媒体は分離ローラー108による分離作用を受けながら給送ローラー107の回転によってレジストローラー対109へ送られる。このとき、媒体先端がレジストローラー対109に突き当てられ、レジストローラー対109と給送ローラー107との間で媒体に撓みが形成されることで媒体の先端がレジストローラー対109に倣い、斜行が補正される。
装置本体100の右側部から媒体を受け入れた場合、媒体は分離ローラー108による分離作用を受けながら給送ローラー107の回転によってレジストローラー対109へ送られる。このとき、媒体先端がレジストローラー対109に突き当てられ、レジストローラー対109と給送ローラー107との間で媒体に撓みが形成されることで媒体の先端がレジストローラー対109に倣い、斜行が補正される。
尚、装置本体100の右側面には不図示の給送トレイが回転可能に設けられており、後述する中継搬送装置4を設置しない場合、前記給送トレイに媒体を載置し、給送トレイに載置された媒体を給送ローラー107によって給送することができる。後述する中継搬送装置4を用いる場合、前記給送トレイを取り外し、中継搬送装置4を設置する。尚、前記給送トレイは回転することで装置本体100の右側面を形成する閉状態と、媒体を載置可能な開状態とを取り得る様に設けられており、前記開状態において中継搬送装置4と干渉しない位置にある為、後述する中継搬送装置4を設置する場合必ずしも前記給送トレイを取り外す必要はない。
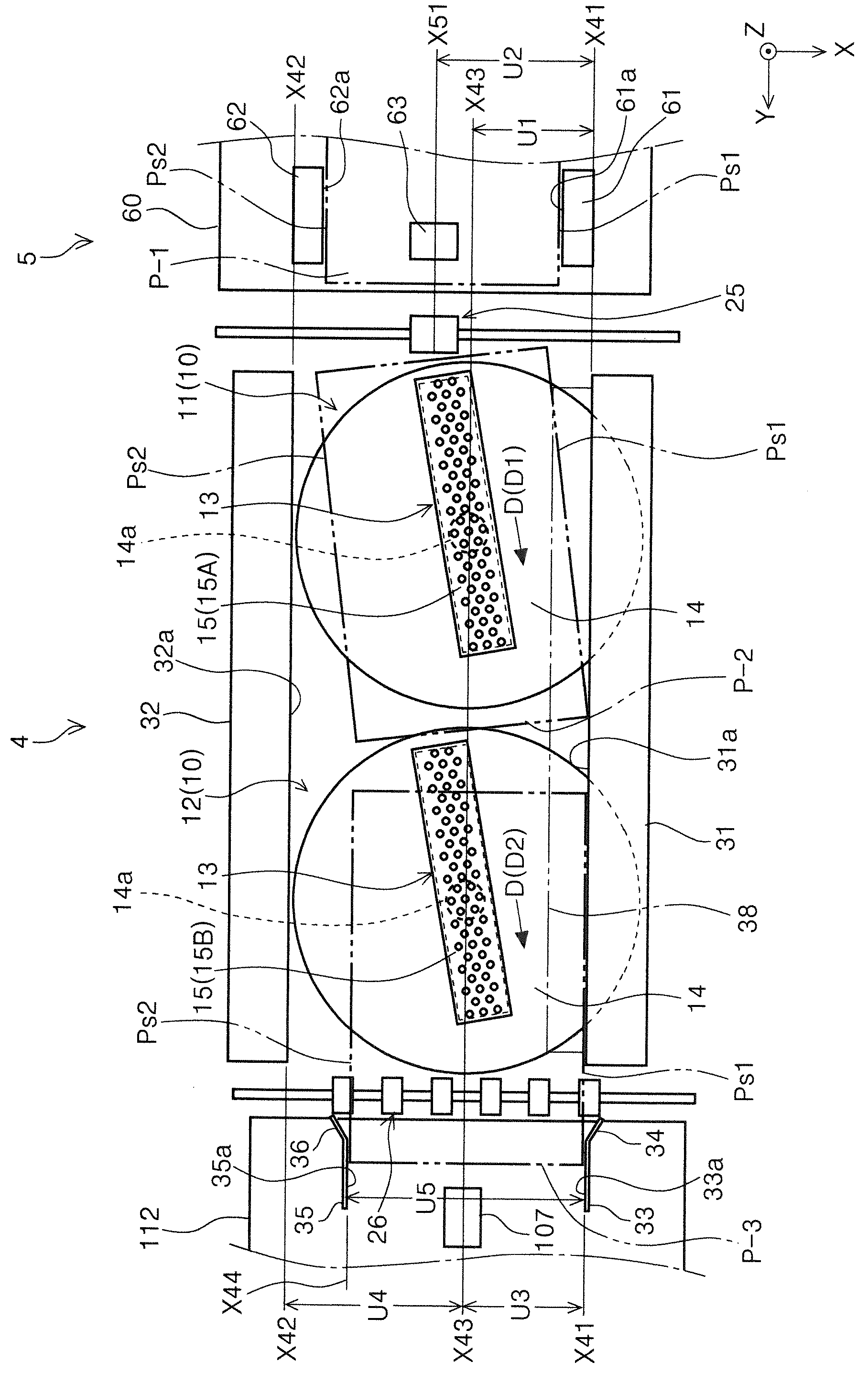
中継搬送装置4は、記録装置3と、記録装置3の外側に配置されて記録装置3へ媒体を給送する給送装置5と、の間に位置し、給送装置5から給送された媒体を中継して記録装置3の給送ローラー107へ搬送する装置である。
媒体は給送装置5から中継搬送装置4へと供給され、中継搬送装置4の搬送経路Tkを経て給送ローラー107へ搬送される。詳しくは後述するが、媒体は搬送経路Tkにおいて斜行が補正される。
媒体は給送装置5から中継搬送装置4へと供給され、中継搬送装置4の搬送経路Tkを経て給送ローラー107へ搬送される。詳しくは後述するが、媒体は搬送経路Tkにおいて斜行が補正される。
中継搬送装置4は、鉛直方向において媒体を記録装置3に供給する位置が給送ローラー107に適合する様に設置台6の上に載置されている。設置台6の下側には、記録装置3の右側面に設けられた開閉体110の開閉を許容する空間部6aが形成されている。これにより設置台6が開閉体110の開閉を阻害することを回避できる。
開閉体110は装置本体100の右側面の一部を形成し、符号110-1及び二点鎖線で示す様に開くことができ、開くことで媒体収容部101から装置本体100への媒体の搬送経路を開放できる。
開閉体110は装置本体100の右側面の一部を形成し、符号110-1及び二点鎖線で示す様に開くことができ、開くことで媒体収容部101から装置本体100への媒体の搬送経路を開放できる。
<<中継搬送装置の構成>>
続いて中継搬送装置4の基本構成について図2~図5を参照して説明する。
中継搬送装置4は、給送装置5から供給された媒体の幅方向における一方の端辺(+X方向の端辺)である第1端辺Ps1を位置決めする第1規制面31aを有する第1規制部31と、媒体を第1規制面31aに向けて、搬送方向である+Y方向及び幅方向であるX軸方向と交差する交差方向Dに搬送する搬送部10とを備えている。
図2において符号P-2と符号P-3は、搬送される媒体の一例を示しており、符号P-3で示す媒体は符号P-2で示す媒体の斜行が補正されたものである。
続いて中継搬送装置4の基本構成について図2~図5を参照して説明する。
中継搬送装置4は、給送装置5から供給された媒体の幅方向における一方の端辺(+X方向の端辺)である第1端辺Ps1を位置決めする第1規制面31aを有する第1規制部31と、媒体を第1規制面31aに向けて、搬送方向である+Y方向及び幅方向であるX軸方向と交差する交差方向Dに搬送する搬送部10とを備えている。
図2において符号P-2と符号P-3は、搬送される媒体の一例を示しており、符号P-3で示す媒体は符号P-2で示す媒体の斜行が補正されたものである。
第1規制面31aは媒体の第1端辺Ps1に当接可能であり、Y軸方向に平行であって、Y軸方向に沿って延びている。
第1規制部31は、不図示のガイド部によってガイドされながらX軸方向即ち媒体の幅方向に変位可能に設けられている。第1規制部31の幅方向への変位は、本実施形態ではユーザーの手動操作により行われる。但し第1規制部31の幅方向への変位は、モーターなどの動力によって行われても良いことは勿論である。
第1規制部31は、不図示のガイド部によってガイドされながらX軸方向即ち媒体の幅方向に変位可能に設けられている。第1規制部31の幅方向への変位は、本実施形態ではユーザーの手動操作により行われる。但し第1規制部31の幅方向への変位は、モーターなどの動力によって行われても良いことは勿論である。
本実施形態において搬送部10は、第1搬送部11と、第1搬送部11に対し下流に配置された第2搬送部12とを備えている。
尚、本実施形態において搬送部10は第1搬送部11と第2搬送部12とを備え、即ち複数の搬送部を備えるが、一つの搬送部で構成されても良い。
尚、第1搬送部11が第1規制部31に向けて媒体を搬送する方向を第1方向D1とし、第2搬送部12が第1規制部31に向けて媒体を搬送する方向を第2方向D2とする。第1方向D1と第2方向D2はいずれも交差方向Dの一例である。本実施形態では、第2方向D2は、第1方向D1に沿った方向になっている。
尚、本実施形態において搬送部10は第1搬送部11と第2搬送部12とを備え、即ち複数の搬送部を備えるが、一つの搬送部で構成されても良い。
尚、第1搬送部11が第1規制部31に向けて媒体を搬送する方向を第1方向D1とし、第2搬送部12が第1規制部31に向けて媒体を搬送する方向を第2方向D2とする。第1方向D1と第2方向D2はいずれも交差方向Dの一例である。本実施形態では、第2方向D2は、第1方向D1に沿った方向になっている。
本実施形態において第1搬送部11と第2搬送部12の基本構成は同じであり、各搬送部は回転テーブル14にベルトユニット13を備えている。ベルトユニット13は、搬送ベルト15を備える。但し以降においては第1搬送部11が備える搬送ベルト15を必要に応じて第1搬送ベルト15Aと称し、第2搬送部12が備える搬送ベルト15を必要に応じて第2搬送ベルト15Bと称する場合がある。
回転テーブル14は搬送される媒体を下方から支持する。回転テーブル14は回転軸14aを中心に図2の時計回り方向及び反時計回り方向に回転可能であり、即ち搬送ベルト15は平面視において(+Z方向から見て)回転可能である。そして回転テーブル14の回転によって搬送ベルト15が媒体に搬送力を付与する方向、即ち交差方向Dを変更することができる。
搬送ベルト15は、回転テーブル14の回転軸14aに対し、本実施形態では搬送方向において上流側に設けられている。搬送ベルト15が回転軸14aに対し搬送方向の上流側に設けられているとは、換言すれば、回転軸14aが搬送ベルト15の搬送方向中心より下流側に位置していることであり、回転軸14aが搬送ベルト15の搬送方向中心より下流側に位置しているとは、回転軸14aの軸中心位置が、搬送方向において搬送ベルト15の中心位置より下流側にあることを意味する。
回転テーブル14は搬送される媒体を下方から支持する。回転テーブル14は回転軸14aを中心に図2の時計回り方向及び反時計回り方向に回転可能であり、即ち搬送ベルト15は平面視において(+Z方向から見て)回転可能である。そして回転テーブル14の回転によって搬送ベルト15が媒体に搬送力を付与する方向、即ち交差方向Dを変更することができる。
搬送ベルト15は、回転テーブル14の回転軸14aに対し、本実施形態では搬送方向において上流側に設けられている。搬送ベルト15が回転軸14aに対し搬送方向の上流側に設けられているとは、換言すれば、回転軸14aが搬送ベルト15の搬送方向中心より下流側に位置していることであり、回転軸14aが搬送ベルト15の搬送方向中心より下流側に位置しているとは、回転軸14aの軸中心位置が、搬送方向において搬送ベルト15の中心位置より下流側にあることを意味する。
回転軸14aを中心とした回転テーブル14の回転は、本実施形態ではユーザー操作により行われるが、例えばモーター(不図示)などにより回転する構成であっても良い。回転テーブル14を回転させるモーターは、制御部111(図1参照)により制御することができる。この場合、第1搬送部11と第2搬送部12とのそれぞれに対し専用のモーターを設け、それぞれが独立して回転テーブル14を回転させる様に構成されていても良い。
ベルトユニット13は、搬送ベルト15を備え、媒体を搬送ベルト15に吸引して搬送する構成である。より詳しくは図4に示す様にベルトユニット13は駆動プーリー16a及び従動プーリー16b、16c、16dを備え、これらプーリーに搬送ベルト15が掛け回されている。駆動プーリー16aはベルト駆動モーター(不図示)によって図4の反時計回り方向に駆動され、これにより搬送ベルト15が図4の反時計回り方向に周回する。
尚、ベルト駆動モーター(不図示)は第1搬送部11と第2搬送部12のそれぞれに対して設けても良いし、或いは第1搬送部11と第2搬送部12とを一つのベルト駆動モーターで駆動しても良い。
尚、ベルト駆動モーター(不図示)は第1搬送部11と第2搬送部12のそれぞれに対して設けても良いし、或いは第1搬送部11と第2搬送部12とを一つのベルト駆動モーターで駆動しても良い。
従動プーリー16cはプーリー支持部材21によって支持されている。プーリー支持部材21は回転軸21aを中心に図4の時計回り方向及び反時計回り方向に回転可能に設けられているとともに、不図示の押圧手段、例えばばねによって図4の反時計回り方向に回転する様に押圧されている。これにより従動プーリー16cは搬送ベルト15にテンションを付与する。
搬送ベルト15の内側には吸引部の一例である吸引ブロワ18が設けられている。吸引ブロワ18は圧力室19に負圧を付与する。
圧力室19の上部には吸引プレート20が設けられている。吸引プレート20は従動プーリー16bと駆動プーリー16aとの間で搬送ベルト15を支持する。吸引プレート20には図5(B)に示す様に開口20aが複数形成されている。
また搬送ベルト15には図5(A)に示す様に貫通穴15aが複数形成されており、搬送ベルト15の周回動作に伴って搬送ベルト15の貫通穴15aが吸引プレート20の開口20aと重なることができる様に構成されている。これにより吸引ブロワ18によって圧力室19に負圧が形成されると、吸引プレート20の開口20aと搬送ベルト15の貫通穴15aとを介して媒体が吸引され、媒体が搬送ベルト15に密着して搬送される。
圧力室19の上部には吸引プレート20が設けられている。吸引プレート20は従動プーリー16bと駆動プーリー16aとの間で搬送ベルト15を支持する。吸引プレート20には図5(B)に示す様に開口20aが複数形成されている。
また搬送ベルト15には図5(A)に示す様に貫通穴15aが複数形成されており、搬送ベルト15の周回動作に伴って搬送ベルト15の貫通穴15aが吸引プレート20の開口20aと重なることができる様に構成されている。これにより吸引ブロワ18によって圧力室19に負圧が形成されると、吸引プレート20の開口20aと搬送ベルト15の貫通穴15aとを介して媒体が吸引され、媒体が搬送ベルト15に密着して搬送される。
尚、吸引部の一例である吸引ブロワ18は、本実施形態では第1搬送部11と第2搬送部12のそれぞれに設けられている。即ち第1搬送ベルト15Aと第2搬送ベルト15Bのそれぞれに対して別個の吸引部が設けられるので、第1搬送ベルト15Aと第2搬送ベルト15Bのそれぞれにおいて独立した吸引制御が可能となる。
但しこの様な構成に代えて、第1搬送部11と第2搬送部12とで一つの吸引ブロワ18を用いても良い。
但しこの様な構成に代えて、第1搬送部11と第2搬送部12とで一つの吸引ブロワ18を用いても良い。
中継搬送装置4は、図2に示す様に第1規制部31に対し-X方向に、媒体の第1端辺Ps1の浮き上がりを抑制する上方規制手段38を備えている。図2において上方規制手段38は簡略図示しており、以下では図6、図7を参照して上方規制手段38について説明する。
本実施形態において上方規制手段38は、搬送方向に沿って複数の上方規制部材39を備えている。一つの上方規制部材39に対して搬送方向の両側には支持部材41が設けられており、上方規制部材39は回転軸40を介して支持部材41に対し回転可能に設けられている。上方規制部材39は搬送方向から見て回転可能に設けられ、回転することで媒体に対して進退できる様に設けられている。上方規制部材39は不図示の押圧部材、例えばばねによって図7の反時計回り方向、即ち媒体に対して接触する方向に押圧されている。上方規制部材39の下面が、第1規制面31aと対向する第1端辺Ps1の上方への移動を規制する上方規制面39aとなる。この様に構成された上方規制手段38の作用効果は後に改めて説明する。
本実施形態において上方規制手段38は、搬送方向に沿って複数の上方規制部材39を備えている。一つの上方規制部材39に対して搬送方向の両側には支持部材41が設けられており、上方規制部材39は回転軸40を介して支持部材41に対し回転可能に設けられている。上方規制部材39は搬送方向から見て回転可能に設けられ、回転することで媒体に対して進退できる様に設けられている。上方規制部材39は不図示の押圧部材、例えばばねによって図7の反時計回り方向、即ち媒体に対して接触する方向に押圧されている。上方規制部材39の下面が、第1規制面31aと対向する第1端辺Ps1の上方への移動を規制する上方規制面39aとなる。この様に構成された上方規制手段38の作用効果は後に改めて説明する。
中継搬送装置4は、図3に示す様に搬送部10に対して上流に搬送ローラー対25を備えている。搬送ローラー対25は、駆動モーター(不図示)によって駆動される駆動ローラー25aと、従動回転可能な従動ローラー25bとを備えて成る。前記駆動モーターは、制御部111(図1参照)によって制御される。従動ローラー25bは、駆動ローラー25aに対して進退可能であるとともに、不図示の押圧手段、例えばばねによって駆動ローラー25aに向けて押圧されている。
本実施形態において搬送ローラー対25は、図2に示す様に幅方向において一組設けられる。搬送ローラー対25は、幅方向に沿って複数組設けても良いが、本実施形態の様に幅方向において搬送ローラー対25を一組備える構成では、媒体が回転し易くなり媒体へのダメージ付与抑制の観点で好適である。
即ち搬送ローラー対25は、媒体に対し搬送方向の搬送力を付与するが、その下流の搬送部10では媒体に対し搬送方向及び幅方向と交差する交差方向Dの搬送力を付与する為、媒体に対し搬送ローラー対25による搬送力と搬送部10による搬送力とが同時に掛かり、媒体に皺等のダメージが生じる虞がある。しかしながら本実施形態の様に幅方向において搬送ローラー対25を一組備える構成では、媒体が回転し易くなり媒体へのダメージ付与抑制の観点で好適である。
本実施形態において搬送ローラー対25は、図2に示す様に幅方向において一組設けられる。搬送ローラー対25は、幅方向に沿って複数組設けても良いが、本実施形態の様に幅方向において搬送ローラー対25を一組備える構成では、媒体が回転し易くなり媒体へのダメージ付与抑制の観点で好適である。
即ち搬送ローラー対25は、媒体に対し搬送方向の搬送力を付与するが、その下流の搬送部10では媒体に対し搬送方向及び幅方向と交差する交差方向Dの搬送力を付与する為、媒体に対し搬送ローラー対25による搬送力と搬送部10による搬送力とが同時に掛かり、媒体に皺等のダメージが生じる虞がある。しかしながら本実施形態の様に幅方向において搬送ローラー対25を一組備える構成では、媒体が回転し易くなり媒体へのダメージ付与抑制の観点で好適である。
また中継搬送装置4は、図3に示す様に搬送部10に対して下流に排出ローラー対26を備えている。排出ローラー対26は、駆動モーター(不図示)によって駆動される駆動ローラー26aと、従動回転可能な従動ローラー26bとを備えて成る。前記駆動モーターは、制御部111(図1参照)によって制御される。従動ローラー26bは、駆動ローラー26aに対して進退可能であるとともに、不図示の押圧手段、例えばばねによって駆動ローラー26aに向けて押圧されている。
本実施形態において排出ローラー対26は、図2に示す様に幅方向において複数組設けられる。これにより中継搬送装置4によって斜行が補正された媒体が再び斜行することを抑制しながら、媒体を記録装置3に確実に供給することができる。但しこれに限らず、排出ローラー対26を幅方向に一組設けても良い。
尚、駆動ローラー26aの駆動源である駆動モーターは、搬送ローラー対25の駆動ローラー25aと同一であっても良いし、別個であっても良い。
本実施形態において排出ローラー対26は、図2に示す様に幅方向において複数組設けられる。これにより中継搬送装置4によって斜行が補正された媒体が再び斜行することを抑制しながら、媒体を記録装置3に確実に供給することができる。但しこれに限らず、排出ローラー対26を幅方向に一組設けても良い。
尚、駆動ローラー26aの駆動源である駆動モーターは、搬送ローラー対25の駆動ローラー25aと同一であっても良いし、別個であっても良い。
尚、搬送ローラー対25と搬送部10との間で媒体の弛みが生じない様に、搬送部10による+Y方向の媒体搬送速度は、搬送ローラー対25による+Y方向の媒体搬送速度より高速であることが好ましい。同様に搬送部10と排出ローラー対26との間で媒体の弛みが生じない様に、排出ローラー対26による+Y方向の媒体搬送速度は、搬送部10による+Y方向の媒体搬送速度より高速であることが好ましい。
また同様に記録装置3の給送ローラー107と排出ローラー対26との間で媒体の弛みが生じない様に、給送ローラー107による+Y方向の媒体搬送速度は、排出ローラー対26による+Y方向の媒体搬送速度より高速であることが好ましい。
また同様に記録装置3の給送ローラー107と排出ローラー対26との間で媒体の弛みが生じない様に、給送ローラー107による+Y方向の媒体搬送速度は、排出ローラー対26による+Y方向の媒体搬送速度より高速であることが好ましい。
また本実施形態において中継搬送装置4は、図2に示す様に媒体の第1端辺Ps1に対し反対側の第2端辺Ps2の位置を規制可能な第2規制部32を備えている。第2規制部32は、媒体の第2端辺Ps2に当接して第2端辺Ps2の位置を規制可能な第2規制面32aを有している。第2規制面32aはY軸方向に平行であり、Y軸方向に沿って延びている。第2規制部32は、本実施形態では幅方向に移動しない固定構造であるが、幅方向に移動可能に構成されていても良い。
また本実施形態において中継搬送装置4は、第1規制部31に対して搬送方向の下流に配置され、媒体の第1端辺Ps1の位置を規制可能な第1補助ガイド33と、第1補助ガイド33に対し媒体を挟んで反対側に配置され、媒体の第2端辺Ps2の位置を規制可能な第2補助ガイド35とを備えている。
第1補助ガイド33は、媒体の第1端辺Ps1の位置を規制する第1補助ガイド面33aを備えている。また第2補助ガイド35は、媒体の第2端辺Ps2の位置を規制する第2補助ガイド面35aを備えている。第1補助ガイド面33aと第2補助ガイド面35aは、搬送方向に沿って延びている。
第1補助ガイド33は、媒体の第1端辺Ps1の位置を規制する第1補助ガイド面33aを備えている。また第2補助ガイド35は、媒体の第2端辺Ps2の位置を規制する第2補助ガイド面35aを備えている。第1補助ガイド面33aと第2補助ガイド面35aは、搬送方向に沿って延びている。
第1補助ガイド33と第2補助ガイド35は、記録装置3を構成する媒体支持部112に対し上方に位置しており、不図示のラックピニオン機構を介して幅方向に沿って互いに接近し、或いは互いに離間する方向に変位可能に設けられている。尚、媒体支持部112は、媒体搬送経路における給送ローラー107の位置で媒体を支持する。
本実施形態において第1補助ガイド33は、第1規制部31と不図示の連結部を介して連結されており、第1規制部31が幅方向に変位すると、第1補助ガイド33も一体となって幅方向に変位する。そしてこの第1補助ガイド33の変位と連動して、第2補助ガイド35も幅方向に変位する。
幅方向において第1補助ガイド面33aと第2補助ガイド面35aとの間の距離U5は、第1規制面31aと第2規制面32aとの間の距離(U3+U4)より短い。
本実施形態において第1補助ガイド33は、第1規制部31と不図示の連結部を介して連結されており、第1規制部31が幅方向に変位すると、第1補助ガイド33も一体となって幅方向に変位する。そしてこの第1補助ガイド33の変位と連動して、第2補助ガイド35も幅方向に変位する。
幅方向において第1補助ガイド面33aと第2補助ガイド面35aとの間の距離U5は、第1規制面31aと第2規制面32aとの間の距離(U3+U4)より短い。
第1補助ガイド33は、搬送方向の上流端に、搬送方向の上流に向かって媒体の第1端辺Ps1から離れる方向(+X方向)に拡がる媒体受け入れ部34を備えている。また第2補助ガイド35は、搬送方向の上流端に、搬送方向の上流に向かって媒体の第2端辺Ps2から離れる方向(-X方向)に拡がる媒体受け入れ部36を備えている。
<<給送装置の構成>>
次に給送装置5は、媒体を積載する積載部60と、積載部60から媒体を給送する給送部としての給送ローラー63とを備えている。符号P-1は、積載部60に積載される媒体の一例を示している。
本実施形態に係る給送装置5は、図2に示す様に媒体の第1端辺Ps1を位置決めする第1給送ガイド面61aを有する第1給送ガイド61と、媒体の第2端辺Ps2を位置決めする第2給送ガイド面62aを有する第2給送ガイド62とを備えている。
第1給送ガイド61と第2給送ガイド62は、不図示のラックピニオン機構を介して幅方向に沿って互いに接近し、或いは互いに離間する方向に変位可能に設けられている。積載部60に媒体をセットするユーザーは、例えば第1給送ガイド61を操作することで第1給送ガイド61と第2給送ガイド62を媒体サイズに合った位置に変位させることができる。
次に給送装置5は、媒体を積載する積載部60と、積載部60から媒体を給送する給送部としての給送ローラー63とを備えている。符号P-1は、積載部60に積載される媒体の一例を示している。
本実施形態に係る給送装置5は、図2に示す様に媒体の第1端辺Ps1を位置決めする第1給送ガイド面61aを有する第1給送ガイド61と、媒体の第2端辺Ps2を位置決めする第2給送ガイド面62aを有する第2給送ガイド62とを備えている。
第1給送ガイド61と第2給送ガイド62は、不図示のラックピニオン機構を介して幅方向に沿って互いに接近し、或いは互いに離間する方向に変位可能に設けられている。積載部60に媒体をセットするユーザーは、例えば第1給送ガイド61を操作することで第1給送ガイド61と第2給送ガイド62を媒体サイズに合った位置に変位させることができる。
給送ローラー63は、不図示のモーターによって図3の時計回り方向に駆動される。給送ローラー63を駆動するモーターは、制御部111(図1参照)によって制御される。尚、給送ローラー63は、積載部60に積載された媒体に対し接触する状態と、積載部60に積載された媒体から離間する状態とを切り換え可能に設けても良い。その様な給送ローラー63の状態切り換え動作は、不図示のモーターによって実現できる。またこのモーターは、制御部111(図1参照)によって制御できる。
給送ローラー63は、幅方向において後述する第2中心位置X51に配置されている。
給送ローラー63は、幅方向において後述する第2中心位置X51に配置されている。
図2において位置X43は、記録装置3における媒体幅方向の記録基準位置であり、媒体サイズに拘わらず媒体の幅方向中心となる位置であって、媒体の第1端辺Ps1が第1規制面31aに沿った状態での幅方向中心と一致する。以下、これを第1中心位置X43とする。また位置X51は、積載部60に積載された媒体(P-1)の幅方向における中心位置であり、これを第2中心位置X51とする。また位置X41は、第1規制部31の第1規制面31aの幅方向における位置である。
幅方向において第2中心位置X51と第1規制面31aとの間の距離U2は、第1中心位置X43と第1規制面31aとの間の距離U1より長い。
尚、位置X41は、媒体の幅方向サイズに応じて変化するが、媒体の幅方向サイズに依らず第1中心位置X43は、第2中心位置X51よりも+X方向に位置することとなる。
幅方向において第2中心位置X51と第1規制面31aとの間の距離U2は、第1中心位置X43と第1規制面31aとの間の距離U1より長い。
尚、位置X41は、媒体の幅方向サイズに応じて変化するが、媒体の幅方向サイズに依らず第1中心位置X43は、第2中心位置X51よりも+X方向に位置することとなる。
<<中継搬送装置の作用効果>>
中継搬送装置4は、給送装置5から給送された媒体の第1端辺Ps1を位置決めする為の第1規制面31aを有する第1規制部31と、媒体を第1規制面31aに向けて交差方向Dに搬送する搬送部10とを備えていることから、給送装置5から送り出された媒体が斜行していても、搬送部10によって第1端辺Ps1が第1規制面31aに当接することで斜行が補正される。給送装置5から中継搬送装置4に供給された際に斜行した媒体である媒体P-2は、搬送部10から交差方向Dの搬送力を受けて第1端辺Ps1が第1規制面31aに当接し、第1端辺Ps1が第1規制面31aに沿った状態となり、これにより符号P-3で示す様に媒体の斜行が補正される。またこの様な斜行の補正により、媒体先端をローラー対に当接させて斜行を補正する構成に比べて、幅方向での媒体の位置がばらつき難くなる。以上により、記録装置3において適切な記録を行うことができる。
また記録装置3は、中継搬送装置4から供給された媒体の先端を当接させて斜行補正を行う為のレジストローラー対109を備えており、記録装置3と中継搬送装置4とで異なる手段による斜行補正が行われ、媒体の斜行が適切に補正される。言い換えると、記録装置3に設けられたレジストローラー対109だけでは媒体の幅方向の位置を揃えることが難しい場合があり、中継搬送装置4での斜行補正と併せることで、媒体の斜行が適切に補正される。
中継搬送装置4は、給送装置5から給送された媒体の第1端辺Ps1を位置決めする為の第1規制面31aを有する第1規制部31と、媒体を第1規制面31aに向けて交差方向Dに搬送する搬送部10とを備えていることから、給送装置5から送り出された媒体が斜行していても、搬送部10によって第1端辺Ps1が第1規制面31aに当接することで斜行が補正される。給送装置5から中継搬送装置4に供給された際に斜行した媒体である媒体P-2は、搬送部10から交差方向Dの搬送力を受けて第1端辺Ps1が第1規制面31aに当接し、第1端辺Ps1が第1規制面31aに沿った状態となり、これにより符号P-3で示す様に媒体の斜行が補正される。またこの様な斜行の補正により、媒体先端をローラー対に当接させて斜行を補正する構成に比べて、幅方向での媒体の位置がばらつき難くなる。以上により、記録装置3において適切な記録を行うことができる。
また記録装置3は、中継搬送装置4から供給された媒体の先端を当接させて斜行補正を行う為のレジストローラー対109を備えており、記録装置3と中継搬送装置4とで異なる手段による斜行補正が行われ、媒体の斜行が適切に補正される。言い換えると、記録装置3に設けられたレジストローラー対109だけでは媒体の幅方向の位置を揃えることが難しい場合があり、中継搬送装置4での斜行補正と併せることで、媒体の斜行が適切に補正される。
また本実施形態では、搬送ベルト15が媒体を吸引して搬送し、媒体を第1規制部31に当てる構成である為、媒体をローラー対でニップして搬送する構成に比べて媒体が回転し易く、媒体の斜行を適切に補正できる。
尚、本実施形態では媒体を搬送ベルト15にエアー吸引する構成であるが、媒体を搬送ベルト15に静電吸着させる構成であっても良い。
尚、本実施形態では媒体を搬送ベルト15にエアー吸引する構成であるが、媒体を搬送ベルト15に静電吸着させる構成であっても良い。
また本実施形態では、第1搬送ベルト15Aと第2搬送ベルト15Bの少なくとも二つの搬送ベルトによって媒体の斜行を補正する為、媒体の斜行を補正する為の搬送距離を確保することができ、適切に媒体の斜行を補正することができる。
また仮に1本の搬送ベルトによって媒体の斜行を補正する為の搬送距離を確保しようとすると、搬送方向の上流側では幅方向において第1規制面31aと搬送ベルトとの間の距離が長くなってしまい、第1規制面31aに第1端辺Ps1を押し付ける力が弱くなってしまう。またこの様な不具合を抑制する為に搬送方向に対する搬送ベルトの傾斜角を小さくすると、斜行の補正効果が低下する為、前記搬送距離を長くしなければならず、装置の大型化を招く。しかしながら第1搬送ベルト15Aと第2搬送ベルト15Bの少なくとも二つの搬送ベルトによって媒体の斜行を補正することで、第1規制面31aに第1端辺Ps1を適切に押し付けることができ、ひいては装置の大型化を抑制できる。
尚、搬送方向に沿って搬送ベルトを三つ以上備えていても良いことは勿論である。
また仮に1本の搬送ベルトによって媒体の斜行を補正する為の搬送距離を確保しようとすると、搬送方向の上流側では幅方向において第1規制面31aと搬送ベルトとの間の距離が長くなってしまい、第1規制面31aに第1端辺Ps1を押し付ける力が弱くなってしまう。またこの様な不具合を抑制する為に搬送方向に対する搬送ベルトの傾斜角を小さくすると、斜行の補正効果が低下する為、前記搬送距離を長くしなければならず、装置の大型化を招く。しかしながら第1搬送ベルト15Aと第2搬送ベルト15Bの少なくとも二つの搬送ベルトによって媒体の斜行を補正することで、第1規制面31aに第1端辺Ps1を適切に押し付けることができ、ひいては装置の大型化を抑制できる。
尚、搬送方向に沿って搬送ベルトを三つ以上備えていても良いことは勿論である。
また本実施形態において第2搬送部12が第1規制部31に向けて媒体を搬送する方向である第2方向D2は、第1搬送部11が第1規制部31に向けて媒体を搬送する方向である第1方向D1に沿った方向であることから、媒体を安定して搬送できる。
また本実施形態において第1方向D1及び第2方向D2は変更可能であることから、適切な斜行補正を行うことができる。
また本実施形態において第1方向D1及び第2方向D2は変更可能であることから、適切な斜行補正を行うことができる。
また本実施形態において第1規制部31は幅方向に移動可能であることから、幅方向のサイズが異なる複数種類の媒体の斜行を補正できる。
また本実施形態では、回転テーブル14即ち搬送ベルト15が、回転軸14aの回転によって交差方向Dを変更可能であることから、媒体の斜行補正の良否に応じて交差方向を変更することで、より適切な斜行補正を行うことができる。
尚、回転軸14aを中心とした搬送ベルト15の回転が、制御部111(図1参照)のもとモーター(不図示)などの動力により行われる構成としても良い。またこの場合、交差方向Dの変更は媒体サイズや媒体種類に応じて制御される様にしても良い。例えば、媒体の剛性が低いほど第1端辺Ps1が第1規制部31に当接した際に撓みが生じて斜行が補正され難く、また媒体にダメージが生じ易い為、媒体の剛性が低いほど搬送方向(Y軸方向)と交差方向Dとの成す角度を小さくすることが好適である。
また上述した様に媒体に対し搬送ローラー対25による+Y方向の搬送力と搬送部10による交差方向Dの搬送力とが同時に掛かると、媒体に皺等のダメージが生じる虞がある為、搬送方向の媒体長さが長いほど、搬送方向(Y軸方向)と交差方向Dとの成す角度を小さくしても良い。
また交差方向Dは媒体の搬送途中で変更しても良く、例えば媒体の搬送が進むに従って搬送方向(Y軸方向)と交差方向Dとの成す角度を大きくしても良い。これにより上記のダメージを抑制しながら、斜行を適切に補正できる。
尚、回転軸14aを中心とした搬送ベルト15の回転が、制御部111(図1参照)のもとモーター(不図示)などの動力により行われる構成としても良い。またこの場合、交差方向Dの変更は媒体サイズや媒体種類に応じて制御される様にしても良い。例えば、媒体の剛性が低いほど第1端辺Ps1が第1規制部31に当接した際に撓みが生じて斜行が補正され難く、また媒体にダメージが生じ易い為、媒体の剛性が低いほど搬送方向(Y軸方向)と交差方向Dとの成す角度を小さくすることが好適である。
また上述した様に媒体に対し搬送ローラー対25による+Y方向の搬送力と搬送部10による交差方向Dの搬送力とが同時に掛かると、媒体に皺等のダメージが生じる虞がある為、搬送方向の媒体長さが長いほど、搬送方向(Y軸方向)と交差方向Dとの成す角度を小さくしても良い。
また交差方向Dは媒体の搬送途中で変更しても良く、例えば媒体の搬送が進むに従って搬送方向(Y軸方向)と交差方向Dとの成す角度を大きくしても良い。これにより上記のダメージを抑制しながら、斜行を適切に補正できる。
また本実施形態において搬送ベルト15の回転中心は、搬送方向において搬送ベルト15の下流側にある為、以下の様な作用効果が得られる。以下、この作用効果について図8を参照して説明する。尚、図8以降では、図2に示した構成のうち説明に必要な構成のみを示し、また適宜簡略化して示す場合がある。
図8(A)は、比較例として搬送ベルト15が回転する際の回転中心Raが搬送方向において搬送ベルト15の上流側にある場合を示している。搬送ベルト15は媒体を第1規制部31に向けて搬送する為、搬送ベルト15の下流端と第1規制部31との間の幅方向における距離da1は、搬送ベルト15の上流端と第1規制部31との間の距離da2よりも短い。この為、搬送ベルト15が交差方向Dを変更する為に平面視において回転する際、搬送ベルト15の下流端と第1規制部31とが干渉する虞があり、これによって搬送ベルト15の回転可能範囲が制限され、ひいては交差方向Dの調整範囲が狭くなってしまうこととなる。図8(A)、(B)において符号15-1及び二点鎖線で示す搬送ベルト15は、実線で示す搬送ベルト15より図の反時計回り方向に15°回転した状態を示している。図8(A)の場合、搬送ベルト15の下流端が第1規制部31と干渉してしまう。第1規制面31aに媒体の第1端辺Ps1を突き当てる為には、第1規制面31aの高さ方向(Z軸方向)において搬送ベルト15の上面は第1規制面31aの下端部より上(+Z方向)に位置する必要があり、平面視において図8(A)に示す様に搬送ベルト15の下流端が第1規制部31と干渉してしまう構成は採用できない。
しかしながら本実施形態では、搬送ベルト15の回転中心Raは、搬送方向において搬送ベルト15の下流側にある為、搬送ベルト15が回転する際の下流端の揺動範囲を上流端の揺動範囲よりも狭くすることができ、これによって図8(B)に示す様に搬送ベルト15の下流端が第1規制部31と干渉し難くなる。その為、搬送ベルト15の回転可能範囲を拡げることができ、ひいては交差方向Dの調整可能範囲を拡げることができる。
図8(A)は、比較例として搬送ベルト15が回転する際の回転中心Raが搬送方向において搬送ベルト15の上流側にある場合を示している。搬送ベルト15は媒体を第1規制部31に向けて搬送する為、搬送ベルト15の下流端と第1規制部31との間の幅方向における距離da1は、搬送ベルト15の上流端と第1規制部31との間の距離da2よりも短い。この為、搬送ベルト15が交差方向Dを変更する為に平面視において回転する際、搬送ベルト15の下流端と第1規制部31とが干渉する虞があり、これによって搬送ベルト15の回転可能範囲が制限され、ひいては交差方向Dの調整範囲が狭くなってしまうこととなる。図8(A)、(B)において符号15-1及び二点鎖線で示す搬送ベルト15は、実線で示す搬送ベルト15より図の反時計回り方向に15°回転した状態を示している。図8(A)の場合、搬送ベルト15の下流端が第1規制部31と干渉してしまう。第1規制面31aに媒体の第1端辺Ps1を突き当てる為には、第1規制面31aの高さ方向(Z軸方向)において搬送ベルト15の上面は第1規制面31aの下端部より上(+Z方向)に位置する必要があり、平面視において図8(A)に示す様に搬送ベルト15の下流端が第1規制部31と干渉してしまう構成は採用できない。
しかしながら本実施形態では、搬送ベルト15の回転中心Raは、搬送方向において搬送ベルト15の下流側にある為、搬送ベルト15が回転する際の下流端の揺動範囲を上流端の揺動範囲よりも狭くすることができ、これによって図8(B)に示す様に搬送ベルト15の下流端が第1規制部31と干渉し難くなる。その為、搬送ベルト15の回転可能範囲を拡げることができ、ひいては交差方向Dの調整可能範囲を拡げることができる。
また本実施形態では、媒体の第2端辺Ps2の位置を規制可能な第2規制面32aを有する第2規制部32を備える。これにより以下の作用効果が得られる。即ち媒体は搬送ベルト15によって第1規制面31aの側に寄せられるが、一例として第1端辺Ps1の下流端が第1規制面31aから離れる様に媒体が回転してしまうと、媒体を搬送ベルト15によって搬送可能な距離を搬送しても、斜行の補正を行いきれなくなる虞がある。尚これは一例であり、上記の様な回転を伴わずに媒体が第1規制面31aから離れる方向に移動してしまう場合もある。また媒体の第1規制面31aから離れる方向への動きは、媒体が第1規制面31aに当接した際に第1規制面31aから反力を受けることによっても生じ得る。しかしながら本実施形態では、媒体の第2端辺Ps2の位置を規制可能な第2規制部32を備えることから、上記の様な不具合の発生を抑制できる。
また本実施形態では、図2に示す様に幅方向における第1中心位置X43と第2規制面32aの位置X42との間の距離である第2距離U4が、第1中心位置X43と第1規制面31aの位置X41との間の距離である第1距離U3より長い。このことにより、給送装置5から斜行した媒体を適切に受け入れることができる。
尚、位置X41は、媒体の幅方向サイズに応じて変化するが、記録装置3において記録可能な最大幅の媒体を搬送する場合であっても第2距離U4が第1距離U3より長くなる様に、第2規制部32の幅方向における位置が設定されている。
尚、位置X41は、媒体の幅方向サイズに応じて変化するが、記録装置3において記録可能な最大幅の媒体を搬送する場合であっても第2距離U4が第1距離U3より長くなる様に、第2規制部32の幅方向における位置が設定されている。
また本実施形態では、媒体の上方への移動を規制する上方規制手段38として上方規制部材39(上方規制面39a)を備えることから、以下の作用効果が得られる。即ち媒体の第1端面Ps1が第1規制面31aに当たった際、媒体が変形すると媒体が回転せず、媒体の斜行を適切に補正することができない虞があり、またジャムが生じる虞もある。図7において符号Pj-3は、第1端辺Ps1が第1規制部31を乗り越える様に上方に変形或いはカールした媒体の一例である。また図7において符号Pj-2は、第1端辺Ps1を含む側端部位が下方に変形或いはカールした媒体の一例である。媒体Pj-2、Pj-3いずれの場合も、変形によって媒体が適切に回転できない虞がある。
しかしながら本実施形態では、媒体の上方への移動を規制する上方規制面39aを備えることから、符号Pj-1で示す媒体の様に第1端辺Ps1が第1規制面31aに適切に当たることができ、ひいては媒体が適切に回転して斜行を補正することができる。
しかしながら本実施形態では、媒体の上方への移動を規制する上方規制面39aを備えることから、符号Pj-1で示す媒体の様に第1端辺Ps1が第1規制面31aに適切に当たることができ、ひいては媒体が適切に回転して斜行を補正することができる。
また上方規制面39aを形成する上方規制部材39は、上方規制面39aが媒体に対して進退可能となる様に回転可能に設けられていることから、上方規制部材39が媒体から強い反力を受けた際に回転することで媒体にダメージが形成されることを抑制できる。
尚、上方規制部材39は、不図示の押圧部材、例えばばねによって上方規制面39aが媒体に進出する方向に押圧されている。これにより上方規制部材39が媒体から反力を受けた際に容易に回転してしまうことを抑制でき、ひいては媒体の斜行を適切に補正することができる。
また本実施形態において上方規制部材39は、搬送方向に沿って複数設けられていることから、搬送方向に沿ったより広い範囲で媒体の上方への移動を規制することができる。
また上方規制部材39が搬送方向に沿って複数設けられていることで、搬送方向の位置によって媒体の上方への移動の程度が異なる場合であってもそれに応じて上方規制面39aが変位することができ、ひいては媒体が上方規制面39aに強く接することによって媒体にダメージが形成されることを抑制できる。
尚、上方規制部材39は、不図示の押圧部材、例えばばねによって上方規制面39aが媒体に進出する方向に押圧されている。これにより上方規制部材39が媒体から反力を受けた際に容易に回転してしまうことを抑制でき、ひいては媒体の斜行を適切に補正することができる。
また本実施形態において上方規制部材39は、搬送方向に沿って複数設けられていることから、搬送方向に沿ったより広い範囲で媒体の上方への移動を規制することができる。
また上方規制部材39が搬送方向に沿って複数設けられていることで、搬送方向の位置によって媒体の上方への移動の程度が異なる場合であってもそれに応じて上方規制面39aが変位することができ、ひいては媒体が上方規制面39aに強く接することによって媒体にダメージが形成されることを抑制できる。
尚、上方規制部材39は、媒体の過剰な押圧を抑制する観点において媒体を下方から支持する回転テーブル14との間で所定の隙間を形成し、且つその状態を維持できることが好ましい。前記所定の隙間は、例えば一枚当たりの媒体の厚みの最大値に所定のマージンを加えた値とすることが好ましい。
また上方規制部材39は、媒体に対して進退しない固定構造であっても良い。また搬送方向に沿って複数の上方規制部材39を設ける場合、上記所定の隙間は複数の上方規制部材39の間で異なっていても良い。例えば、媒体の斜行が補正された下流側では、上流側に比べて上記所定の隙間を小さくしても良い。
また搬送方向に沿って適宜の間隔で複数の上方規制部材39を設ける構成に代えて、搬送方向に沿って延設された一つの上方規制部材を用いても良い。
また上方規制部材39は、媒体に対して進退しない固定構造であっても良い。また搬送方向に沿って複数の上方規制部材39を設ける場合、上記所定の隙間は複数の上方規制部材39の間で異なっていても良い。例えば、媒体の斜行が補正された下流側では、上流側に比べて上記所定の隙間を小さくしても良い。
また搬送方向に沿って適宜の間隔で複数の上方規制部材39を設ける構成に代えて、搬送方向に沿って延設された一つの上方規制部材を用いても良い。
また本実施形態では、図2に示す様に幅方向において第2中心位置X51と第1規制面31aとの間の距離U2が第1中心位置X43と第1規制面31aとの間の距離U1より長くなる様に構成されている。これにより給送装置5から中継搬送装置4へ媒体が供給される際に媒体が第1規制部31に引っ掛かることを抑制できる。
尚、本実施形態では第1給送ガイド61と第2給送ガイド62は媒体の幅方向サイズに応じてユーザーが変位させる部材であり、更に第1規制部31も媒体の幅方向サイズに応じてユーザーが変位させる部材である。従って本実施形態では、距離U2が距離U1より長くなる様に、第1給送ガイド61と第1規制部31とが不図示の連結部材によって連結され、第1給送ガイド61と第1規制部31とが一体に変位する様に構成されている。
但し第1給送ガイド61と第1規制部31とが不図示の連結部材によって連結されない場合であっても、一例として第1給送ガイド61の移動可能領域が第1規制部31の移動可能領域よりも-X方向に設定されていれば、距離U2を距離U1より長くすることができる。
但し第1給送ガイド61と第1規制部31とが不図示の連結部材によって連結されない場合であっても、一例として第1給送ガイド61の移動可能領域が第1規制部31の移動可能領域よりも-X方向に設定されていれば、距離U2を距離U1より長くすることができる。
尚、第1給送ガイド61と第1規制部31とが連結されていない構成では、第1規制部31の幅方向における位置を検出する検出手段と第1給送ガイド61の幅方向における位置を検出する検出手段とを設け、二つの検出手段の検出情報をもとに距離U2が距離U1以下である場合には、制御部111(図1参照)が、媒体給送動作を保留するとともに記録装置3が備える表示部(不図示)にその旨のアラートを表示することもできる。
また第1規制部31が制御部111(図1参照)の制御のもとモーター(不図示)の動力により変位する構成である場合、制御部111が把握する媒体サイズに応じ、距離U2が距離U1より長くなる様に第1規制部31の位置を制御しても良い。この場合、第1給送ガイド61が媒体サイズに応じた適切な位置にあることを検出する為に、第1給送ガイド61の幅方向における位置を検出する検出手段を設けることも好適である。そして制御部111は、前記検出手段の検出情報をもとに第1給送ガイド61が媒体サイズに応じた適切な位置にないと判断すると、媒体給送動作を保留するとともに記録装置3が備える表示部(不図示)にその旨のアラートを表示することもできる。
また第1規制部31が制御部111(図1参照)の制御のもとモーター(不図示)の動力により変位する構成である場合、制御部111が把握する媒体サイズに応じ、距離U2が距離U1より長くなる様に第1規制部31の位置を制御しても良い。この場合、第1給送ガイド61が媒体サイズに応じた適切な位置にあることを検出する為に、第1給送ガイド61の幅方向における位置を検出する検出手段を設けることも好適である。そして制御部111は、前記検出手段の検出情報をもとに第1給送ガイド61が媒体サイズに応じた適切な位置にないと判断すると、媒体給送動作を保留するとともに記録装置3が備える表示部(不図示)にその旨のアラートを表示することもできる。
また本実施形態において給送装置5の給送部である給送ローラー63は、幅方向における媒体の第2中心位置X51に接することで媒体を給送可能である。このことにより、給送装置5から送り出される媒体の斜行を抑制できる。
また本実施形態において給送装置5は、媒体の第1端辺Ps1を位置決めする第1給送ガイド61を備え、幅方向において第1給送ガイド61の第1給送ガイド面61aは、第1規制部31の第1規制面31aと第1中心位置X43との間に位置する。このことにより、給送装置5から送り出される媒体(P-1)の第1端辺Ps1の位置が第1規制部31寄りになることを抑制でき、給送装置5から中継搬送装置4へ媒体が供給される際に媒体が第1規制部31に引っ掛かることを抑制できる。
また、幅方向における第1規制面31aと第1給送ガイド面61aとの間の距離が必要以上に長くならず、媒体が給送装置5から中継搬送装置4に供給された後に第1規制部31に適切に当たることができ、ひいては適切に媒体の斜行を補正できる。
また、幅方向における第1規制面31aと第1給送ガイド面61aとの間の距離が必要以上に長くならず、媒体が給送装置5から中継搬送装置4に供給された後に第1規制部31に適切に当たることができ、ひいては適切に媒体の斜行を補正できる。
また本実施形態において給送装置5は、媒体の第2端辺Ps2の位置を規制可能な第2給送ガイド面62aを有する第2給送ガイド62を更に備えることから、給送装置5から送り出される媒体の斜行を抑制できる。また図2において、幅方向における第1給送ガイド61の第1給送ガイド面61aと第2給送ガイド62の第2給送ガイド面62aとの中間に、第2中心位置X51が位置することから、給送装置5から送り出される媒体の斜行をより良好に抑制できる。
尚、第1給送ガイド61と第2給送ガイド62を備えない構成であっても、積載部60と給送ローラー63とを備えていれば、媒体は積載部60から送り出すことができる。
尚、第1給送ガイド61と第2給送ガイド62を備えない構成であっても、積載部60と給送ローラー63とを備えていれば、媒体は積載部60から送り出すことができる。
また本実施形態において第1規制部31によって斜行が補正された媒体は、幅方向において第1補助ガイド33と第2補助ガイド35とで挟まれた状態で記録装置3に供給される。これにより媒体が中継搬送装置4から記録装置3に供給される際の斜行が抑制され、中継搬送装置4での斜行補正効果が適切に維持された状態で媒体を記録装置3に供給することができる。
また本実施形態において第1補助ガイド33は、搬送方向の上流端に媒体受け入れ部34を備えていることから、媒体が第1補助ガイド33に引っ掛かることを抑制できる。また第2補助ガイド35は、搬送方向の上流端に媒体受け入れ部36を備えていることから、媒体が第2補助ガイド35に引っ掛かることを抑制できる。
また本実施形態において第1規制部31並びに第1補助ガイド33及び第2補助ガイド35は、幅方向に移動可能である。これにより幅方向の媒体サイズに対応して適切に斜行を補正できる。
また第1規制部31と第1補助ガイド33は、一体となって幅方向に移動可能である。このことにより第1規制部31と第1補助ガイド33との幅方向における位置ずれを防止でき、媒体が第1規制部31から第1補助ガイド33に移動する際の第1補助ガイド33への引っ掛かりを抑制できる。
但し第1規制部31と第1補助ガイド33は一体に限らず、別体であっても良い。
また第1規制部31と第1補助ガイド33は、一体となって幅方向に移動可能である。このことにより第1規制部31と第1補助ガイド33との幅方向における位置ずれを防止でき、媒体が第1規制部31から第1補助ガイド33に移動する際の第1補助ガイド33への引っ掛かりを抑制できる。
但し第1規制部31と第1補助ガイド33は一体に限らず、別体であっても良い。
また本実施形態では、幅方向において第1補助ガイド面33aと第2補助ガイド面35aとの間の距離U5は、第1規制面31aと第2規制面32aとの間の距離(U3+U4)より短い。これにより、媒体が中継搬送装置4から記録装置3に供給される際の斜行を好適に抑制できる。
<<中継搬送装置の変形例>>
上述した中継搬送装置4は、以下の(変形例1)~(変形例13)の様に変形することができる。尚、以降説明する各変形例は、技術的に矛盾が生じない限りどの様に組み合わせても構わない。
(変形例1)
上記実施形態において第1規制部31の幅方向への変位はユーザーの手動操作により行われるが、例えばモーター(不図示)により駆動されるラックピニオン機構(不図示)を用いて第1規制部31が幅方向に変位する構成であっても良い。第1規制部31を変位させるモーターは、制御部111(図1参照)により制御することができる。また制御部111は、印刷データに基づいて媒体サイズを把握できる為、媒体サイズに応じて第1規制部31を適切な位置に変位させることができる。
上述した中継搬送装置4は、以下の(変形例1)~(変形例13)の様に変形することができる。尚、以降説明する各変形例は、技術的に矛盾が生じない限りどの様に組み合わせても構わない。
(変形例1)
上記実施形態において第1規制部31の幅方向への変位はユーザーの手動操作により行われるが、例えばモーター(不図示)により駆動されるラックピニオン機構(不図示)を用いて第1規制部31が幅方向に変位する構成であっても良い。第1規制部31を変位させるモーターは、制御部111(図1参照)により制御することができる。また制御部111は、印刷データに基づいて媒体サイズを把握できる為、媒体サイズに応じて第1規制部31を適切な位置に変位させることができる。
(変形例2)
搬送ベルト15を、第1規制部31の移動に連動して幅方向に移動可能に構成しても良い。例えば、上記実施形態において搬送部10と第1規制部31とを一体に構成することで、搬送ベルト15を、第1規制部31の移動に連動して幅方向に移動させることができる。
これにより、以下の作用効果が得られる。即ち幅方向において搬送ベルト15と第1規制面31aとの間の距離が長くなると、搬送ベルト15によって媒体の第1端辺Ps1を第1規制面31aに適切に当てることができなくなる虞がある。また逆に幅方向において搬送ベルト15と第1規制面31aとの間の距離が短くなると、幅方向のサイズが大きい媒体の場合には搬送ベルト15から-X方向に外れる領域が増え、その結果媒体を適切に搬送することができなくなる虞がある。従って媒体の斜行を適切に補正しつつ媒体を適切に搬送する為には幅方向における搬送ベルト15と第1規制面31aとの間の距離が重要となるが、搬送ベルト15を、第1規制部31の移動に連動して幅方向に移動可能とすることで、幅方向における搬送ベルト15と第1規制面31aとの間の距離を適切に維持することができ、ひいては媒体の斜行を適切に補正しまた適切に搬送することができる。
搬送ベルト15を、第1規制部31の移動に連動して幅方向に移動可能に構成しても良い。例えば、上記実施形態において搬送部10と第1規制部31とを一体に構成することで、搬送ベルト15を、第1規制部31の移動に連動して幅方向に移動させることができる。
これにより、以下の作用効果が得られる。即ち幅方向において搬送ベルト15と第1規制面31aとの間の距離が長くなると、搬送ベルト15によって媒体の第1端辺Ps1を第1規制面31aに適切に当てることができなくなる虞がある。また逆に幅方向において搬送ベルト15と第1規制面31aとの間の距離が短くなると、幅方向のサイズが大きい媒体の場合には搬送ベルト15から-X方向に外れる領域が増え、その結果媒体を適切に搬送することができなくなる虞がある。従って媒体の斜行を適切に補正しつつ媒体を適切に搬送する為には幅方向における搬送ベルト15と第1規制面31aとの間の距離が重要となるが、搬送ベルト15を、第1規制部31の移動に連動して幅方向に移動可能とすることで、幅方向における搬送ベルト15と第1規制面31aとの間の距離を適切に維持することができ、ひいては媒体の斜行を適切に補正しまた適切に搬送することができる。
(変形例3)
搬送ベルト15を、幅方向に複数設けても良い。図9はその一例であり、上流の第1搬送部11は第1搬送ベルト15A-1と第1搬送ベルト15A-2を有し、下流の第2搬送部12は第2搬送ベルト15B-1と第2搬送ベルト15B-2を有している。この様に搬送ベルト15を幅方向に複数設けることで、幅方向のサイズの大きい媒体を適切に搬送することができる。尚、搬送ベルト15を幅方向に複数設ける場合、図9に示す様に搬送方向に二つに限らず、搬送方向に三つ以上設けても良いことは勿論である。
尚、搬送ベルト15を幅方向に複数設ける場合、一つの搬送ベルト15によって媒体を吸引する吸引力を弱くしても良い。
搬送ベルト15を、幅方向に複数設けても良い。図9はその一例であり、上流の第1搬送部11は第1搬送ベルト15A-1と第1搬送ベルト15A-2を有し、下流の第2搬送部12は第2搬送ベルト15B-1と第2搬送ベルト15B-2を有している。この様に搬送ベルト15を幅方向に複数設けることで、幅方向のサイズの大きい媒体を適切に搬送することができる。尚、搬送ベルト15を幅方向に複数設ける場合、図9に示す様に搬送方向に二つに限らず、搬送方向に三つ以上設けても良いことは勿論である。
尚、搬送ベルト15を幅方向に複数設ける場合、一つの搬送ベルト15によって媒体を吸引する吸引力を弱くしても良い。
(変形例4)
図3において、第2規制部32を幅方向に沿って移動可能に設けることで、第1距離U3と第2距離U4との差を変更可能としても良い。これにより給送装置5から受け入れる媒体の斜行の程度に応じて第1距離U3と第2距離U4との差を調整することができ、より適切な斜行補正を行うことができる。尚、第1距離U3と第2距離U4との差が大きいほど、斜行の程度が大きい媒体を受け入れることができ、また第1距離U3と第2距離U4との差が小さいほど、媒体が第1規制部31と第2規制部32との間で規制され易く、幅方向の位置が定まり易くなるとともに斜行を抑制できる。
より具体的には、搬送ベルト15によって媒体を搬送可能な搬送方向距離には限りがある為、適切に媒体の斜行を補正する為には、第2距離U4は極力短いほうが好ましい。しかしながら第2距離U4を短くしてしまうと、給送装置5から受け入れる媒体の斜行の程度が大きいと適切に媒体を受け入れることができない。従って給送装置5から受け入れる媒体の斜行に応じ、第1距離U3と第2距離U4との差を調整することで、より適切な斜行補正を行うことができる。
尚、第2規制部32の移動即ち第2距離U4の変更は、ユーザーが手動で行っても良いし、自動で行う様に構成しても良い。第2距離U4の変更を自動で行う場合、例えばモーター(不図示)によって動作するラックピニオン機構(不図示)によって第2規制部32が幅方向に変位する様に構成するとともに、制御部111(図1参照)が媒体サイズに応じて前記モーターを制御する構成を採用できる。例えば、搬送方向の媒体サイズが小さいほど給送装置5から受け入れる媒体の斜行の程度が大きくなり易い為、制御部111(図1参照)が、幅方向の媒体サイズが小さくなるに従って第1距離U3と第2距離U4との差を小さくすることが好適である。
図3において、第2規制部32を幅方向に沿って移動可能に設けることで、第1距離U3と第2距離U4との差を変更可能としても良い。これにより給送装置5から受け入れる媒体の斜行の程度に応じて第1距離U3と第2距離U4との差を調整することができ、より適切な斜行補正を行うことができる。尚、第1距離U3と第2距離U4との差が大きいほど、斜行の程度が大きい媒体を受け入れることができ、また第1距離U3と第2距離U4との差が小さいほど、媒体が第1規制部31と第2規制部32との間で規制され易く、幅方向の位置が定まり易くなるとともに斜行を抑制できる。
より具体的には、搬送ベルト15によって媒体を搬送可能な搬送方向距離には限りがある為、適切に媒体の斜行を補正する為には、第2距離U4は極力短いほうが好ましい。しかしながら第2距離U4を短くしてしまうと、給送装置5から受け入れる媒体の斜行の程度が大きいと適切に媒体を受け入れることができない。従って給送装置5から受け入れる媒体の斜行に応じ、第1距離U3と第2距離U4との差を調整することで、より適切な斜行補正を行うことができる。
尚、第2規制部32の移動即ち第2距離U4の変更は、ユーザーが手動で行っても良いし、自動で行う様に構成しても良い。第2距離U4の変更を自動で行う場合、例えばモーター(不図示)によって動作するラックピニオン機構(不図示)によって第2規制部32が幅方向に変位する様に構成するとともに、制御部111(図1参照)が媒体サイズに応じて前記モーターを制御する構成を採用できる。例えば、搬送方向の媒体サイズが小さいほど給送装置5から受け入れる媒体の斜行の程度が大きくなり易い為、制御部111(図1参照)が、幅方向の媒体サイズが小さくなるに従って第1距離U3と第2距離U4との差を小さくすることが好適である。
(変形例5)
搬送ベルト15による媒体の吸引力は、第1領域における吸引力を、搬送方向において第1領域よりも下流の第2領域の吸引力より弱くしても良い。
例えば図10に示す吸引プレート20Aは、上述した吸引プレート20の変形例であり、符号Ar1は第1領域であり、符号Ar2は第1領域Ar1に対して下流の第2領域である。第1領域Ar1では、第2領域Ar2よりも開口20aの数が少なく、即ち搬送ベルト15の貫通穴15aと重なる開口20aの数が少ない。これにより第1領域Ar1では、第2領域Ar2よりも吸引力が弱くなる。これにより、斜行補正の必要性が高い第1領域Ar1では媒体が第2領域Ar2よりも回転し易く、適切に斜行補正ができる。そして記録装置に対して媒体を確実に供給したい第2領域Ar2では媒体を確実に吸引でき、適切に媒体を記録装置3に供給することができる。
尚、吸引力の変更は上記の様な手段に限らず、搬送ベルト15における単位面積あたりの吸引力を第1領域Ar1と第2領域Ar2とで異ならせるものであればどの様なものでも良い。例えば、第1領域Ar1と第2領域Ar2とに対しそれぞれ吸引ブロワ18を設け、吸引ブロワ18の回転数を調整することで吸引力を異ならせるようにしても良い。
また吸引プレート20の開口20a(図5参照)の大きさを調整して吸引力を異ならせる様にしても良い。
搬送ベルト15による媒体の吸引力は、第1領域における吸引力を、搬送方向において第1領域よりも下流の第2領域の吸引力より弱くしても良い。
例えば図10に示す吸引プレート20Aは、上述した吸引プレート20の変形例であり、符号Ar1は第1領域であり、符号Ar2は第1領域Ar1に対して下流の第2領域である。第1領域Ar1では、第2領域Ar2よりも開口20aの数が少なく、即ち搬送ベルト15の貫通穴15aと重なる開口20aの数が少ない。これにより第1領域Ar1では、第2領域Ar2よりも吸引力が弱くなる。これにより、斜行補正の必要性が高い第1領域Ar1では媒体が第2領域Ar2よりも回転し易く、適切に斜行補正ができる。そして記録装置に対して媒体を確実に供給したい第2領域Ar2では媒体を確実に吸引でき、適切に媒体を記録装置3に供給することができる。
尚、吸引力の変更は上記の様な手段に限らず、搬送ベルト15における単位面積あたりの吸引力を第1領域Ar1と第2領域Ar2とで異ならせるものであればどの様なものでも良い。例えば、第1領域Ar1と第2領域Ar2とに対しそれぞれ吸引ブロワ18を設け、吸引ブロワ18の回転数を調整することで吸引力を異ならせるようにしても良い。
また吸引プレート20の開口20a(図5参照)の大きさを調整して吸引力を異ならせる様にしても良い。
(変形例6)
本実施形態の様に第1搬送ベルト15Aに対し搬送方向の上流に、媒体を第1搬送ベルト15Aへ搬送する搬送ローラー対25を備える構成において、第1搬送ベルト15Aによる媒体の吸引力、或いは第1搬送ベルト15Aによる媒体の吸引力と第2搬送ベルト15Bによる媒体の吸引力とを変更可能としても良い。
即ち第1搬送ベルト15Aに対し搬送方向の上流に搬送ローラー対25を備える場合、媒体が搬送ローラー対25によってニップされている間は媒体が回転し難く、媒体に対し搬送ローラー対25による拘束作用と第1搬送ベルト15Aによる回転作用とが同時に掛かることで媒体に皺等のダメージが生じる虞がある。また媒体の搬送方向長さによっては、更に第2搬送ベルト15Bによる回転作用も同時に掛かることで上記ダメージが生じる虞がある。
従って第1搬送ベルト15Aによる媒体の吸引力、或いは第1搬送ベルト15Aによる媒体の吸引力と第2搬送ベルト15Bによる媒体の吸引力とを変更可能とすることで、上記の様なダメージが生じる虞がある場合に第1搬送ベルト15Aによる媒体の吸引力、或いは第1搬送ベルト15Aによる媒体の吸引力と第2搬送ベルト15Bによる媒体の吸引力とを弱くすることができ、ひいては上記のダメージを抑制できる。
本実施形態の様に第1搬送ベルト15Aに対し搬送方向の上流に、媒体を第1搬送ベルト15Aへ搬送する搬送ローラー対25を備える構成において、第1搬送ベルト15Aによる媒体の吸引力、或いは第1搬送ベルト15Aによる媒体の吸引力と第2搬送ベルト15Bによる媒体の吸引力とを変更可能としても良い。
即ち第1搬送ベルト15Aに対し搬送方向の上流に搬送ローラー対25を備える場合、媒体が搬送ローラー対25によってニップされている間は媒体が回転し難く、媒体に対し搬送ローラー対25による拘束作用と第1搬送ベルト15Aによる回転作用とが同時に掛かることで媒体に皺等のダメージが生じる虞がある。また媒体の搬送方向長さによっては、更に第2搬送ベルト15Bによる回転作用も同時に掛かることで上記ダメージが生じる虞がある。
従って第1搬送ベルト15Aによる媒体の吸引力、或いは第1搬送ベルト15Aによる媒体の吸引力と第2搬送ベルト15Bによる媒体の吸引力とを変更可能とすることで、上記の様なダメージが生じる虞がある場合に第1搬送ベルト15Aによる媒体の吸引力、或いは第1搬送ベルト15Aによる媒体の吸引力と第2搬送ベルト15Bによる媒体の吸引力とを弱くすることができ、ひいては上記のダメージを抑制できる。
尚、吸引力の調整は、吸引ブロワ18の回転数を調整することで変更することができる。吸引力の調整は、ユーザーが不図示の操作パネルを介して行う構成でも良いし、制御部111(図1参照)の制御のもと媒体種類や媒体サイズ等の条件に応じて自動で行う様に構成されても良い。
例えば上記の様なダメージは、媒体の搬送方向長さが長いほど生じ易い為、媒体の搬送方向長さに応じて、即ち媒体長さが長くなるほど吸引力を弱くすることが好適である。例えば、第1の媒体と、当該第1の媒体より搬送方向長さが長い第2の媒体がある場合、第1の媒体を搬送する場合には第1の吸引力とし、第2の媒体を搬送する場合には第1の吸引力より弱い第2の吸引力とする。また上記の様なダメージは、媒体の剛性が低いほど生じ易い為、第1の媒体と、当該第1の媒体より剛性の低い第2の媒体がある場合、第1の媒体を搬送する場合には第1の吸引力とし、第2の媒体を搬送する場合には第1の吸引力より弱い第2の吸引力とする。
その際、第1搬送ベルト15Aと第2搬送ベルト15Bの双方を第2の吸引力としても良いし、或いは第1搬送ベルト15Aのみ第2の吸引力としても良い。更に第1搬送ベルト15Aの中の上流部位のみ第2の吸引力としても良い。
また、第2の媒体の搬送方向後端が搬送ローラー対25から抜けるまで吸引力を第2の吸引力とし、第2の媒体の搬送方向後端が搬送ローラー対25から抜けたら吸引力を第1の吸引力としても良い。
例えば上記の様なダメージは、媒体の搬送方向長さが長いほど生じ易い為、媒体の搬送方向長さに応じて、即ち媒体長さが長くなるほど吸引力を弱くすることが好適である。例えば、第1の媒体と、当該第1の媒体より搬送方向長さが長い第2の媒体がある場合、第1の媒体を搬送する場合には第1の吸引力とし、第2の媒体を搬送する場合には第1の吸引力より弱い第2の吸引力とする。また上記の様なダメージは、媒体の剛性が低いほど生じ易い為、第1の媒体と、当該第1の媒体より剛性の低い第2の媒体がある場合、第1の媒体を搬送する場合には第1の吸引力とし、第2の媒体を搬送する場合には第1の吸引力より弱い第2の吸引力とする。
その際、第1搬送ベルト15Aと第2搬送ベルト15Bの双方を第2の吸引力としても良いし、或いは第1搬送ベルト15Aのみ第2の吸引力としても良い。更に第1搬送ベルト15Aの中の上流部位のみ第2の吸引力としても良い。
また、第2の媒体の搬送方向後端が搬送ローラー対25から抜けるまで吸引力を第2の吸引力とし、第2の媒体の搬送方向後端が搬送ローラー対25から抜けたら吸引力を第1の吸引力としても良い。
(変形例7)
また媒体長さに拘わらず、第1搬送ベルト15Aによる媒体の吸引力を、第2搬送ベルト15Bによる媒体の吸引力より弱くすることも好適である。これにより斜行補正の必要性が高い第1搬送ベルト15Aの領域では媒体が第2搬送ベルト15Bの領域よりも回転し易く、適切に斜行補正ができる。そして排出ローラー対26に媒体を確実に受け渡したい第2搬送ベルト15Bの領域では媒体が第1搬送ベルト15Aの領域よりも回転し難いが搬送力が大きく、適切に媒体を排出ローラー対26に受け渡すことができる。
また媒体長さに拘わらず、第1搬送ベルト15Aによる媒体の吸引力を、第2搬送ベルト15Bによる媒体の吸引力より弱くすることも好適である。これにより斜行補正の必要性が高い第1搬送ベルト15Aの領域では媒体が第2搬送ベルト15Bの領域よりも回転し易く、適切に斜行補正ができる。そして排出ローラー対26に媒体を確実に受け渡したい第2搬送ベルト15Bの領域では媒体が第1搬送ベルト15Aの領域よりも回転し難いが搬送力が大きく、適切に媒体を排出ローラー対26に受け渡すことができる。
(変形例8)
本実施形態の様に第1搬送ベルト15Aに対し搬送方向の上流に、媒体を第1搬送ベルト15Aへ搬送する搬送ローラー対25を備える構成において、搬送ローラー対25を、媒体をニップするニップ状態とニップを解除するニップ解除状態とを切り換え可能に構成した上で、ニップ状態をとる搬送ローラー対25によって搬送される媒体の一部が第1搬送ベルト15Aに吸引された後、搬送ローラー対25がニップ解除状態に切り換わる様に構成しても良い。
図12(A)は搬送ローラー対25のニップ状態を示し、図12(B)は搬送ローラー対25のニップ解除状態を示している。
図12(A)に示す様にニップ状態をとる搬送ローラー対25によって搬送される媒体の一部が、図12(B)に示す様に第1搬送ベルト15Aに吸引された後、搬送ローラー対25がニップ解除状態に切り換わる。図12において符号Pは媒体を示している。これにより以下の作用効果が得られる。
即ち媒体が搬送ローラー対25によってニップされている間は媒体が回転し難く、媒体に対し搬送ローラー対25による拘束作用と第1搬送ベルト15Aによる回転作用とが同時に掛かることで媒体に皺等のダメージが生じる虞がある。
しかしながらニップ状態をとる搬送ローラー対25によって搬送される媒体の一部が第1搬送ベルト15Aに吸引された後、搬送ローラー対25がニップ解除状態に切り換わることで、媒体に対し搬送ローラー対25による拘束作用と第1搬送ベルト15Aによる回転作用とが同時に掛かる期間を短くでき、上記のダメージを抑制することができる。
本実施形態の様に第1搬送ベルト15Aに対し搬送方向の上流に、媒体を第1搬送ベルト15Aへ搬送する搬送ローラー対25を備える構成において、搬送ローラー対25を、媒体をニップするニップ状態とニップを解除するニップ解除状態とを切り換え可能に構成した上で、ニップ状態をとる搬送ローラー対25によって搬送される媒体の一部が第1搬送ベルト15Aに吸引された後、搬送ローラー対25がニップ解除状態に切り換わる様に構成しても良い。
図12(A)は搬送ローラー対25のニップ状態を示し、図12(B)は搬送ローラー対25のニップ解除状態を示している。
図12(A)に示す様にニップ状態をとる搬送ローラー対25によって搬送される媒体の一部が、図12(B)に示す様に第1搬送ベルト15Aに吸引された後、搬送ローラー対25がニップ解除状態に切り換わる。図12において符号Pは媒体を示している。これにより以下の作用効果が得られる。
即ち媒体が搬送ローラー対25によってニップされている間は媒体が回転し難く、媒体に対し搬送ローラー対25による拘束作用と第1搬送ベルト15Aによる回転作用とが同時に掛かることで媒体に皺等のダメージが生じる虞がある。
しかしながらニップ状態をとる搬送ローラー対25によって搬送される媒体の一部が第1搬送ベルト15Aに吸引された後、搬送ローラー対25がニップ解除状態に切り換わることで、媒体に対し搬送ローラー対25による拘束作用と第1搬送ベルト15Aによる回転作用とが同時に掛かる期間を短くでき、上記のダメージを抑制することができる。
尚、従動ローラー25bは、図11に示す様に一例としてソレノイド46によって上下に変位可能に設けられ、従動ローラー25bが上下に変位することで搬送ローラー対25がニップ状態とニップ解除状態とを切り換える様に構成することができる。より詳しくは11において従動ローラー25bは、回転軸45aを中心に回転可能な支持部材45によって支持されており、支持部材45の回転によって従動ローラー25bが駆動ローラー25aに対して進退する。支持部材45は不図示の押圧手段、例えばばねによって図11の時計回り方向、即ち従動ローラー25bが駆動ローラー25aに進出する方向に押圧されている。
ソレノイド46は、支持部材45と係合可能であり、図11(A)に示す搬送ローラー対25のニップ状態において支持部材45の-Y方向端部を下方向に押すことで、図11(A)から図11(B)への変化で示す様に支持部材45を回転させ、搬送ローラー対25をニップ解除状態に切り換える。
ソレノイド46は、制御部111(図1参照)によって制御される。媒体搬送経路において搬送ローラー対25と第1搬送ベルト15Aとの間には、図12に示す様に媒体検出部47が設けられており、制御部111は媒体検出部47の検出情報をもとに、搬送ローラー対25をニップ状態からニップ解除状態に切り換える。
ソレノイド46は、支持部材45と係合可能であり、図11(A)に示す搬送ローラー対25のニップ状態において支持部材45の-Y方向端部を下方向に押すことで、図11(A)から図11(B)への変化で示す様に支持部材45を回転させ、搬送ローラー対25をニップ解除状態に切り換える。
ソレノイド46は、制御部111(図1参照)によって制御される。媒体搬送経路において搬送ローラー対25と第1搬送ベルト15Aとの間には、図12に示す様に媒体検出部47が設けられており、制御部111は媒体検出部47の検出情報をもとに、搬送ローラー対25をニップ状態からニップ解除状態に切り換える。
尚、搬送ローラー対25をニップ状態からニップ解除状態へ切り換えるタイミングは、媒体の種類に応じて変更しても良い。例えば媒体の剛性が高い場合は相対的に剛性が低い場合に比べて上記のダメージが生じ難い為、剛性が高い媒体の場合は搬送ローラー対25をニップ状態からニップ解除状態へ切り換えるタイミングを遅くしても良い。これにより、搬送ローラー対25によって媒体を確実に下流に搬送することができる。
尚、ニップ状態をとる搬送ローラー対25によって搬送される媒体の一部が第1搬送ベルト15Aに吸引された後、搬送ローラー対25をニップ解除状態に切り換える場合において、給送装置5の給送ローラー63による媒体の拘束が解除されていることが好ましい。給送装置5の給送ローラー63によって媒体が拘束されていると、媒体が回転し難く、上述した皺等のダメージが生じる虞がある為である。
ここで給送ローラー63による媒体の拘束が解除された状態とは、給送ローラー63が媒体と接していない状態など、第1搬送ベルト15Aの作用によって媒体が回転しようとする際に給送ローラー63から受ける力によって媒体に上記のダメージが生じ難い状態を意味する。従って給送ローラー63が、積載部60に積載された媒体に対し接触する状態と、積載部60に積載された媒体から離間する状態とを切り換え可能である場合には、媒体の先端が搬送ローラー対25にニップされたら、給送ローラー63を媒体から離間させることが好適である。
ここで給送ローラー63による媒体の拘束が解除された状態とは、給送ローラー63が媒体と接していない状態など、第1搬送ベルト15Aの作用によって媒体が回転しようとする際に給送ローラー63から受ける力によって媒体に上記のダメージが生じ難い状態を意味する。従って給送ローラー63が、積載部60に積載された媒体に対し接触する状態と、積載部60に積載された媒体から離間する状態とを切り換え可能である場合には、媒体の先端が搬送ローラー対25にニップされたら、給送ローラー63を媒体から離間させることが好適である。
(変形例9)
第1搬送ベルト15Aによる第1搬送方向D1と第2搬送ベルト15Bによる第2搬送方向D2とに関し、図13に示す様に、+Y方向即ち搬送方向と第2方向D2とが成す角度を、搬送方向と第1方向D1とが成す角度より小さくしても良い。
これにより斜行補正の必要性が高い第1搬送ベルト15Aの領域では第2搬送ベルト15Bの領域よりも斜行補正の効果が高く、適切に斜行補正ができる。そして排出ローラー対26に媒体を確実に受け渡したい第2搬送ベルト15Bの領域では第1搬送ベルト15Aの領域よりも媒体が搬送方向に近い角度で搬送され、適切に媒体を排出ローラー対26に受け渡すことができる。
尚、第1方向D1と第2方向D2とが異なる場合、第1搬送ベルト15Aによる+Y方向の搬送速度と第2搬送ベルト15Bによる+Y方向の搬送速度とが同じとなる様に、第1搬送ベルト15Aの周回速度と第2搬送ベルト15Bの周回速度とを調整することが好ましい。
第1搬送ベルト15Aによる第1搬送方向D1と第2搬送ベルト15Bによる第2搬送方向D2とに関し、図13に示す様に、+Y方向即ち搬送方向と第2方向D2とが成す角度を、搬送方向と第1方向D1とが成す角度より小さくしても良い。
これにより斜行補正の必要性が高い第1搬送ベルト15Aの領域では第2搬送ベルト15Bの領域よりも斜行補正の効果が高く、適切に斜行補正ができる。そして排出ローラー対26に媒体を確実に受け渡したい第2搬送ベルト15Bの領域では第1搬送ベルト15Aの領域よりも媒体が搬送方向に近い角度で搬送され、適切に媒体を排出ローラー対26に受け渡すことができる。
尚、第1方向D1と第2方向D2とが異なる場合、第1搬送ベルト15Aによる+Y方向の搬送速度と第2搬送ベルト15Bによる+Y方向の搬送速度とが同じとなる様に、第1搬送ベルト15Aの周回速度と第2搬送ベルト15Bの周回速度とを調整することが好ましい。
(変形例10)
本実施形態の様に第1搬送ベルト15Aに対し搬送方向の上流に、媒体を第1搬送ベルト15Aへ搬送する搬送ローラー対25を備える構成において、図14に示す様に搬送方向と第1方向D1とが成す角度を、搬送方向と第2方向D2とが成す角度より小さくしても良い。
既に説明した様に第1搬送ベルト15Aに対し搬送方向の上流に搬送ローラー対25を備える場合、媒体が搬送ローラー対25によってニップされている間は媒体が回転し難く、媒体に対し搬送ローラー対25による拘束作用と第1搬送ベルト15Aによる回転作用とが同時に掛かることで媒体に皺等のダメージが生じる虞がある。
しかしながら図14に示す様に搬送方向と第1方向D1とが成す角度を、搬送方向と第2方向D2とが成す角度より小さくすることで、第1搬送ベルト15Aによって媒体に掛かる回転作用が抑制され、上記ダメージの発生を抑制できる。
尚、この様な構成において媒体の搬送方向における長さに応じて搬送方向と第1方向D1とが成す角度及び搬送方向と第2方向D2とが成す角度を調整しても良い。例えば、媒体の搬送方向長さが長いほど、搬送ローラー対25による拘束作用と第1搬送ベルト15Aによる回転作用とが同時に掛かる時間が長くなり、上記のダメージが生じる虞が高い為、媒体の搬送方向長さが長いほど搬送方向と第1方向D1とが成す角度を小さくしても良い。
尚、第1方向D1と第2方向D2とが異なる場合、第1搬送ベルト15Aによる+Y方向の搬送速度と第2搬送ベルト15Bによる+Y方向の搬送速度とが同じとなる様に、第1搬送ベルト15Aの周回速度と第2搬送ベルト15Bの周回速度とを調整することが好ましい。
本実施形態の様に第1搬送ベルト15Aに対し搬送方向の上流に、媒体を第1搬送ベルト15Aへ搬送する搬送ローラー対25を備える構成において、図14に示す様に搬送方向と第1方向D1とが成す角度を、搬送方向と第2方向D2とが成す角度より小さくしても良い。
既に説明した様に第1搬送ベルト15Aに対し搬送方向の上流に搬送ローラー対25を備える場合、媒体が搬送ローラー対25によってニップされている間は媒体が回転し難く、媒体に対し搬送ローラー対25による拘束作用と第1搬送ベルト15Aによる回転作用とが同時に掛かることで媒体に皺等のダメージが生じる虞がある。
しかしながら図14に示す様に搬送方向と第1方向D1とが成す角度を、搬送方向と第2方向D2とが成す角度より小さくすることで、第1搬送ベルト15Aによって媒体に掛かる回転作用が抑制され、上記ダメージの発生を抑制できる。
尚、この様な構成において媒体の搬送方向における長さに応じて搬送方向と第1方向D1とが成す角度及び搬送方向と第2方向D2とが成す角度を調整しても良い。例えば、媒体の搬送方向長さが長いほど、搬送ローラー対25による拘束作用と第1搬送ベルト15Aによる回転作用とが同時に掛かる時間が長くなり、上記のダメージが生じる虞が高い為、媒体の搬送方向長さが長いほど搬送方向と第1方向D1とが成す角度を小さくしても良い。
尚、第1方向D1と第2方向D2とが異なる場合、第1搬送ベルト15Aによる+Y方向の搬送速度と第2搬送ベルト15Bによる+Y方向の搬送速度とが同じとなる様に、第1搬送ベルト15Aの周回速度と第2搬送ベルト15Bの周回速度とを調整することが好ましい。
(変形例11)
第2規制部32を、図15に示す様に第1搬送ベルト15Aに対し設けられる上流第2規制部32Aと、第2搬送ベルト15Bに対し設けられる下流第2規制部32Bとで構成しても良い。そして上流第2規制部32Aと下流第2規制部32Bとを幅方向においてそれぞれ独立して変位可能に構成しても良い。この様に構成することで、第1方向D1と第2方向D2とに応じて適切に媒体の第2端辺Ps2を規制できる。
またこの場合、下流第2規制部32Bは、図15に示す様に上流第2規制部32Aよりも第1規制部31に近づけても良い。これにより斜行が補正された媒体の幅方向位置を適切に規制できる。またこの場合、下流第2規制部32Bの上流に、媒体の引っ掛かりを抑制する為の傾斜ガイド面32bを形成することも好適である。
第2規制部32を、図15に示す様に第1搬送ベルト15Aに対し設けられる上流第2規制部32Aと、第2搬送ベルト15Bに対し設けられる下流第2規制部32Bとで構成しても良い。そして上流第2規制部32Aと下流第2規制部32Bとを幅方向においてそれぞれ独立して変位可能に構成しても良い。この様に構成することで、第1方向D1と第2方向D2とに応じて適切に媒体の第2端辺Ps2を規制できる。
またこの場合、下流第2規制部32Bは、図15に示す様に上流第2規制部32Aよりも第1規制部31に近づけても良い。これにより斜行が補正された媒体の幅方向位置を適切に規制できる。またこの場合、下流第2規制部32Bの上流に、媒体の引っ掛かりを抑制する為の傾斜ガイド面32bを形成することも好適である。
(変形例12)
第2規制部32を、図16に示す様に搬送方向の下流に向かって第1規制部31に近づく様に設けても良い。これにより斜行が補正された媒体の幅方向位置を適切に規制できる。
またこの様な構成において、第2規制部32を、図15に示した様に搬送方向に沿った複数の規制部で構成しても良い。
第2規制部32を、図16に示す様に搬送方向の下流に向かって第1規制部31に近づく様に設けても良い。これにより斜行が補正された媒体の幅方向位置を適切に規制できる。
またこの様な構成において、第2規制部32を、図15に示した様に搬送方向に沿った複数の規制部で構成しても良い。
(変形例13)
媒体の第1規制部31に向けた移動を、搬送方向に対する搬送ベルトの傾斜に加え、図17に示す様に回転することで媒体を第1規制部31に寄せるパドル43で行っても良い。図17においてパドル43は回転軸43aを中心に回転可能に設けられている。回転軸43aは、制御部111(図1参照)によって制御されるモーター(不図示)の動力によって矢印Rm方向に回転する。パドル43は、図7に示した上方規制部材39と同様に搬送方向に沿って複数設けられている。パドル43は、弾性変形可能な材料(例えば、ゴム)によって形成された羽根部43bを回転軸43aの周方向に沿って複数有している。羽根部43bは、中継搬送装置4への媒体の受け入れ前は実線で示す様に回転テーブル14から最も遠い位置にあり、中継搬送装置4に媒体が供給されると矢印Rm方向に回転して媒体を第1規制部31に寄せる。
この様なパドル43によって媒体が符号Pj-1で示す様に第1規制部31に寄せられる為、媒体の斜行を適切に補正できる。
尚、図17に示したパドル43は、回転軸43aがY軸方向に延び、+X方向に媒体を寄せるように配置されているが、交差方向Dに媒体を寄せるように配置しても良い。
また媒体の第1端辺Ps1が第1規制部31の第1規制面31aに当接した際にパドル43の作用によって符号Pj-3で示す様に第1端辺Ps1を含む側端部位が上方に変形或いはカールし易い場合には、図7を参照して説明した上方規制手段38をパドル43と併せて用いることも好適である。
媒体の第1規制部31に向けた移動を、搬送方向に対する搬送ベルトの傾斜に加え、図17に示す様に回転することで媒体を第1規制部31に寄せるパドル43で行っても良い。図17においてパドル43は回転軸43aを中心に回転可能に設けられている。回転軸43aは、制御部111(図1参照)によって制御されるモーター(不図示)の動力によって矢印Rm方向に回転する。パドル43は、図7に示した上方規制部材39と同様に搬送方向に沿って複数設けられている。パドル43は、弾性変形可能な材料(例えば、ゴム)によって形成された羽根部43bを回転軸43aの周方向に沿って複数有している。羽根部43bは、中継搬送装置4への媒体の受け入れ前は実線で示す様に回転テーブル14から最も遠い位置にあり、中継搬送装置4に媒体が供給されると矢印Rm方向に回転して媒体を第1規制部31に寄せる。
この様なパドル43によって媒体が符号Pj-1で示す様に第1規制部31に寄せられる為、媒体の斜行を適切に補正できる。
尚、図17に示したパドル43は、回転軸43aがY軸方向に延び、+X方向に媒体を寄せるように配置されているが、交差方向Dに媒体を寄せるように配置しても良い。
また媒体の第1端辺Ps1が第1規制部31の第1規制面31aに当接した際にパドル43の作用によって符号Pj-3で示す様に第1端辺Ps1を含む側端部位が上方に変形或いはカールし易い場合には、図7を参照して説明した上方規制手段38をパドル43と併せて用いることも好適である。
本発明は上記において説明した実施形態に限定されることなく、特許請求の範囲に記載した発明の範囲内で、種々の変形が可能であり、それらも本発明の範囲内に含まれるものであることは言うまでもない。
1…記録システム、2…媒体供給システム、3…記録装置、4…中継搬送装置、5…給送装置、6…設置台、6a…空間部、
10…搬送部、11…第1搬送部、12…第2搬送部、13…ベルトユニット、14…回転テーブル、14a…回転軸、15…搬送ベルト、15A…第1搬送ベルト、15B…第2搬送ベルト、15a…貫通穴、16a…駆動プーリー、16b、16c、16d…従動プーリー、18…吸引ブロワ、19…圧力室、20…吸引プレート、20a…開口、21…プーリー支持部材、21a…回転軸、25…搬送ローラー対、25a…駆動ローラー、25b…従動ローラー、26…排出ローラー対、26a…駆動ローラー、26b…従動ローラー、31…第1規制部、31a…第1規制面、32…第2規制部、32a…第2規制面、32b…傾斜ガイド面、33…第1補助ガイド、33a…第1補助ガイド面、34…媒体受け入れ部、35…第2補助ガイド、35a…第2補助ガイド面、36…媒体受け入れ部、38…上方規制手段、39…上方規制部材、39a…上方規制面、40…回転軸、41…支持部材、43…パドル、43a…回転軸、45…支持部材、45a…回転軸、46…ソレノイド、47…媒体検出部、
60…積載部、61…第1給送ガイド、61a…第1給送ガイド面、62…第2給送ガイド、62a…第2給送ガイド面、63…給送ローラー、
100…装置本体、101…媒体収容部、102…画像読取装置、103…胴内排出部、104…排出トレイ、105…ラインヘッド、107…給送ローラー、108…分離ローラー、109…レジストローラー対、110…開閉体、111…制御部、112…媒体支持部
10…搬送部、11…第1搬送部、12…第2搬送部、13…ベルトユニット、14…回転テーブル、14a…回転軸、15…搬送ベルト、15A…第1搬送ベルト、15B…第2搬送ベルト、15a…貫通穴、16a…駆動プーリー、16b、16c、16d…従動プーリー、18…吸引ブロワ、19…圧力室、20…吸引プレート、20a…開口、21…プーリー支持部材、21a…回転軸、25…搬送ローラー対、25a…駆動ローラー、25b…従動ローラー、26…排出ローラー対、26a…駆動ローラー、26b…従動ローラー、31…第1規制部、31a…第1規制面、32…第2規制部、32a…第2規制面、32b…傾斜ガイド面、33…第1補助ガイド、33a…第1補助ガイド面、34…媒体受け入れ部、35…第2補助ガイド、35a…第2補助ガイド面、36…媒体受け入れ部、38…上方規制手段、39…上方規制部材、39a…上方規制面、40…回転軸、41…支持部材、43…パドル、43a…回転軸、45…支持部材、45a…回転軸、46…ソレノイド、47…媒体検出部、
60…積載部、61…第1給送ガイド、61a…第1給送ガイド面、62…第2給送ガイド、62a…第2給送ガイド面、63…給送ローラー、
100…装置本体、101…媒体収容部、102…画像読取装置、103…胴内排出部、104…排出トレイ、105…ラインヘッド、107…給送ローラー、108…分離ローラー、109…レジストローラー対、110…開閉体、111…制御部、112…媒体支持部
Claims (9)
- 媒体に記録を行う記録装置と、前記記録装置の外側に配置されて前記記録装置へ媒体を給送する給送装置と、の間に位置し、前記給送装置から給送された媒体を中継して前記記録装置へ搬送する中継搬送装置であって、
前記給送装置から給送された媒体の、搬送方向と交差する幅方向における一方の端辺である第1端辺を位置決めする第1規制面を有する第1規制部と、
媒体を前記第1規制面に向けて、前記搬送方向及び前記幅方向と交差する交差方向に搬送する搬送部と、
前記第1規制部に対して前記搬送方向の下流に配置され、媒体の前記第1端辺の位置を規制可能な第1補助ガイド面を有する第1補助ガイドと、
前記第1補助ガイドに対し媒体を挟んで反対側に配置され、媒体の前記第1端辺に対し反対側の第2端辺の位置を規制可能な第2補助ガイド面を有する第2補助ガイドと、
を備えることを特徴とする中継搬送装置。 - 請求項1に記載の中継搬送装置において、前記搬送方向において前記搬送部と、前記第1補助ガイド及び前記第2補助ガイドと、の間に配置され、媒体を前記記録装置に向けて排出する排出ローラー対を備える、
ことを特徴とする中継搬送装置。 - 請求項1に記載の中継搬送装置において、前記第1補助ガイドは、前記搬送方向の上流端に、前記搬送方向の上流に向かって前記第1端辺から離れる方向に拡がる媒体受け入れ部を備える、
ことを特徴とする中継搬送装置。 - 請求項3に記載の中継搬送装置において、前記第2補助ガイドは、前記搬送方向の上流端に、前記搬送方向の上流に向かって前記第2端辺から離れる方向に拡がる媒体受け入れ部を備える、
ことを特徴とする中継搬送装置。 - 請求項1に記載の中継搬送装置において、前記第1規制部並びに前記第1補助ガイド及び前記第2補助ガイドは、前記幅方向に移動可能である、
ことを特徴とする中継搬送装置。 - 請求項5に記載の中継搬送装置において、前記第1規制部と前記第1補助ガイドは、一体となって前記幅方向に移動可能である、
ことを特徴とする中継搬送装置。 - 請求項1に記載の中継搬送装置において、前記第1規制部に対し媒体を挟んで反対側に配置され、媒体の前記第2端辺の位置を規制可能な第2規制面を有する第2規制部を備え、
前記幅方向において前記第1補助ガイド面と前記第2補助ガイド面との間の距離は、前記第1規制面と前記第2規制面との間の距離より短い、
ことを特徴とする中継搬送装置。 - 請求項1に記載の中継搬送装置において、回転することで媒体を前記第1規制部に寄せるパドルを有する、
ことを特徴とする中継搬送装置。 - 媒体に記録を行う前記記録装置と、
前記記録装置の外側に配置されて前記記録装置へ媒体を給送する前記給送装置と、
前記記録装置と前記給送装置との間に位置し、前記給送装置から給送された媒体を中継して前記記録装置へ搬送する請求項1から請求項8のいずれか一項に記載の前記中継搬送装置と、
を備えた記録システム。
Priority Applications (1)
| Application Number | Priority Date | Filing Date | Title |
|---|---|---|---|
| US18/452,723 US12472755B2 (en) | 2022-08-22 | 2023-08-21 | Relay transport device, recording system, and feeding system |
Applications Claiming Priority (2)
| Application Number | Priority Date | Filing Date | Title |
|---|---|---|---|
| JP2022131764 | 2022-08-22 | ||
| JP2022131764 | 2022-08-22 |
Publications (1)
| Publication Number | Publication Date |
|---|---|
| JP2024029728A true JP2024029728A (ja) | 2024-03-06 |
Family
ID=90104978
Family Applications (1)
| Application Number | Title | Priority Date | Filing Date |
|---|---|---|---|
| JP2022174569A Pending JP2024029728A (ja) | 2022-08-22 | 2022-10-31 | 中継搬送装置、記録システム |
Country Status (1)
| Country | Link |
|---|---|
| JP (1) | JP2024029728A (ja) |
-
2022
- 2022-10-31 JP JP2022174569A patent/JP2024029728A/ja active Pending
Similar Documents
| Publication | Publication Date | Title |
|---|---|---|
| JP5111155B2 (ja) | 排紙装置 | |
| JP5197162B2 (ja) | シート搬送装置及び画像形成装置 | |
| CN113387223B (zh) | 介质排出装置、介质处理装置以及记录系统 | |
| JP2021143074A (ja) | 記録装置 | |
| CN117601571A (zh) | 中继输送装置、记录系统以及进给系统 | |
| US20240059512A1 (en) | Relay transport device, recording system, and feeding system | |
| JP6201375B2 (ja) | 画像形成装置 | |
| JP2024029728A (ja) | 中継搬送装置、記録システム | |
| US12377669B2 (en) | Relay transport device, feeding system, recording system, and position adjustment method | |
| JP2024029731A (ja) | 媒体供給システム、記録システム | |
| JP2024029727A (ja) | 中継搬送装置、記録システム | |
| CN117601572A (zh) | 中继输送装置、记录系统以及进给系统 | |
| JP2024029729A (ja) | 中継搬送装置、記録システム | |
| JP2024029730A (ja) | 中継搬送装置、記録システム | |
| US20240059513A1 (en) | Relay transport device, recording system, and feeding system | |
| US12472755B2 (en) | Relay transport device, recording system, and feeding system | |
| JPWO2019116791A1 (ja) | メディア搬送装置及びインクジェット印刷装置 | |
| JP7167487B2 (ja) | 記録装置 | |
| JP7140876B1 (ja) | 記録装置 | |
| JP2018052652A (ja) | デカール装置及びそれを備えた画像形成装置 | |
| JP2020069648A (ja) | インクジェット記録装置 | |
| JP7109183B2 (ja) | 搬送装置 | |
| JP2024024195A (ja) | 媒体搬送装置及び媒体搬送方法 | |
| JPH11180568A (ja) | シート給送装置及び画像形成装置 | |
| JP2002020015A (ja) | 画像形成装置 |
