JP2022064355A - panel - Google Patents

panel Download PDF

Info

Publication number
JP2022064355A
JP2022064355A JP2020172931A JP2020172931A JP2022064355A JP 2022064355 A JP2022064355 A JP 2022064355A JP 2020172931 A JP2020172931 A JP 2020172931A JP 2020172931 A JP2020172931 A JP 2020172931A JP 2022064355 A JP2022064355 A JP 2022064355A
Authority
JP
Japan
Prior art keywords
top plate
groove
panel
view
grooves
Prior art date
Legal status (The legal status is an assumption and is not a legal conclusion. Google has not performed a legal analysis and makes no representation as to the accuracy of the status listed.)
Granted
Application number
JP2020172931A
Other languages
Japanese (ja)
Other versions
JP7683186B2 (en
Inventor
眞由 西口
Mayu Nishiguchi
広漢 小倉
Kokan Ogura
Current Assignee (The listed assignees may be inaccurate. Google has not performed a legal analysis and makes no representation or warranty as to the accuracy of the list.)
Kokuyo Co Ltd
Original Assignee
Kokuyo Co Ltd
Priority date (The priority date is an assumption and is not a legal conclusion. Google has not performed a legal analysis and makes no representation as to the accuracy of the date listed.)
Filing date
Publication date
Application filed by Kokuyo Co Ltd filed Critical Kokuyo Co Ltd
Priority to JP2020172931A priority Critical patent/JP7683186B2/en
Publication of JP2022064355A publication Critical patent/JP2022064355A/en
Application granted granted Critical
Publication of JP7683186B2 publication Critical patent/JP7683186B2/en
Active legal-status Critical Current
Anticipated expiration legal-status Critical

Links

Images

Landscapes

  • Tables And Desks Characterized By Structural Shape (AREA)

Abstract

To provide a various posture panel since being wholly deformable, without providing a special hinge element or the like, in other words, without complicating a structure or increasing the number of components, concerning a panel used on a top board of a furniture.SOLUTION: A felt panel 4 which is a panel used on a top board 1 of a table S2T is made of a single raw material (felt raw material), and has a constitution including partially an easily deformable area 41 which is deformable more easily than other areas.SELECTED DRAWING: Figure 36

Description

本発明は、家具の天板上で使用されるパネルに関する。 The present invention relates to a panel used on a top plate of furniture.

従来から、デスクやテーブル等の天板上には、デスクトップパネルやサイドパネルが配置されることが少なくない(例えば、特許文献1を参照)。 Conventionally, desktop panels and side panels are often arranged on top plates such as desks and tables (see, for example, Patent Document 1).

ところが、従来のパネルは、一定の形状をなすものが主流であり、多様な使い方ができない。 However, most of the conventional panels have a certain shape and cannot be used in various ways.

なお、中間部分に蝶番や蛇腹等のヒンジ要素を設けて全体を変形させることができるパネルも開発されているが、従来のものはパネル本体とヒンジ要素とは別々の部品から構成されており、構造が複雑になるという課題がある。 In addition, a panel that can be deformed as a whole by providing hinge elements such as hinges and bellows in the middle part has also been developed, but the conventional one is composed of separate parts for the panel body and the hinge element. There is a problem that the structure becomes complicated.

特開2018-186861号公報Japanese Unexamined Patent Publication No. 2018-186861

本発明は、前述した課題を無理なく解消することを目的としている。 An object of the present invention is to solve the above-mentioned problems reasonably.

請求項1記載の発明に係るパネルは、天板上で使用されるパネルであって。単一素材で作られ、他の領域よりも変形し易い変形容易領域を部分的に備えているものである。 The panel according to the invention according to claim 1 is a panel used on a top plate. It is made of a single material and partially has a deformable area that is more easily deformed than other areas.

請求項2記載の発明に係るパネルは、請求項1記載のものであって、前記変形容易領域を含め全体が一定の厚み寸法を有し、前記変形容易領域には、複数本の切込線が同じ方向を向けて互いに干渉しないように設けられているものである。 The panel according to the invention according to claim 2 is the one according to claim 1, and has a constant thickness dimension as a whole including the easily deformable region, and a plurality of cut lines are provided in the easily deformable region. Are provided so that they face the same direction and do not interfere with each other.

請求項3記載の発明に係るパネルは、請求項1又は2記載のものであって、前記切込線が、一方のパネル面から他方のパネル面に貫通するように形成されたものである。 The panel according to the invention according to claim 3 is the one according to claim 1 or 2, wherein the cut line is formed so as to penetrate from one panel surface to the other panel surface.

請求項4記載の発明に係るパネルは、請求項1、2又は3記載のものであって、一定厚さを有するフェルト素材により作られているものである。 The panel according to the invention according to claim 4 is the one according to claim 1, 2 or 3, and is made of a felt material having a certain thickness.

請求項5記載の発明に係るパネルは、請求項2、3又は4記載のものであって、左右方向に隣接する複数の区域を有し、前記変形容易領域が、略鉛直な切込線を有した上下に延びる帯状の領域であり、前記変形容易領域を、前記区域の隣接境界部分に配しているものである。 The panel according to the invention according to claim 5 is the one according to claim 2, 3 or 4, which has a plurality of areas adjacent to each other in the left-right direction, and the easily deformable region has a substantially vertical cut line. It is a strip-shaped region extending vertically, and the easily deformable region is arranged at an adjacent boundary portion of the region.

請求項6記載の発明に係るパネルは、請求項2、3又は4記載のものであって、下縁部に、素材を分断する分断線を左右方向に間隔をあけて複数本設けてこれら分断線間に下縁が開放された暖簾部を形成し、前記変形容易領域が、前記暖簾部の全体又は上部に略水平な切込線を有した変形容易領域を配しているものである。 The panel according to the invention according to claim 6 is the one according to claim 2, 3 or 4, wherein a plurality of dividing lines for dividing the material are provided at intervals in the left-right direction at the lower edge portion. A noren portion with an open lower edge is formed between the disconnections, and the easily deformable region arranges an easily deformable region having a substantially horizontal cut line on the entire or upper portion of the noren portion.

請求項7記載の発明に係るパネルは、請求項1、2、3、4、5又は6記載のものであって、溝を有する天板面上で使用され、一部を前記溝に係合させて天板面上に起立させるように構成されているものである。 The panel according to the invention according to claim 7 is the one according to claim 1, 2, 3, 4, 5 or 6, which is used on a top plate surface having a groove, and a part thereof is engaged with the groove. It is configured to stand up on the surface of the top plate.

この明細書でいう「溝」とは、底を有する狭義の溝に限らず、一方向に連続的に伸びる貫通した孔をも含むものである。しかして、「有底溝」とは、文字通り底を有する狭義の溝を意味し、「貫通溝」とは、一方向に伸びる底を有しない上下に貫通した孔を意味している。 The term "groove" as used herein is not limited to a groove in a narrow sense having a bottom, but also includes a through hole extending continuously in one direction. Thus, the "bottomed groove" literally means a groove in a narrow sense having a bottom, and the "through groove" means a hole penetrating up and down without a bottom extending in one direction.

本発明によれば、単一素材により構成されているにも拘わらず変形容易領域を変形させて全体の形状を変えることができ、前述した課題を無理なく解消することができるパネルを提供することができる。 According to the present invention, it is possible to provide a panel capable of deforming an easily deformable region to change the overall shape even though it is made of a single material, and can reasonably solve the above-mentioned problems. Can be done.

本発明の一実施形態に係るテーブルの一つを示す全体斜視図。The whole perspective view which shows one of the tables which concerns on one Embodiment of this invention. 同テーブルを示す平面図。A plan view showing the table. 同テーブルを示す正面図。Front view showing the table. 同テーブルを示す底面図。Bottom view showing the table. 図2における要部を拡大して示す図。FIG. 2 is an enlarged view showing a main part in FIG. 図2におけるA-A線、B-B線、C-C線に沿った天板の断面図。FIG. 2 is a cross-sectional view of the top plate along the lines AA, BB, and CC in FIG. 同テーブルの開口部に対する蓋体の装着状態を示す斜視図。The perspective view which shows the attachment state of the lid body with respect to the opening of the table. 同テーブルの蓋体を開成姿勢とした天板を示す要部拡大斜視図。An enlarged perspective view of a main part showing a top plate with the lid of the table in an open position. 図2におけるD-D線に沿った拡大断面図。FIG. 2 is an enlarged cross-sectional view taken along the line DD in FIG. 同テーブルの蓋体を開成姿勢とした状態を示す要部拡大断面図。An enlarged cross-sectional view of a main part showing a state in which the lid of the table is in the open posture. 同テーブルの蓋体の開閉の態様を示す説明図。Explanatory drawing which shows the mode of opening and closing of the lid body of the table. 同テーブルの蓋体を閉止姿勢とした状態を示す要部拡大断面図。An enlarged cross-sectional view of a main part showing a state in which the lid of the table is in the closed posture. 同テーブルへのクランプの取付態様を示す説明図。Explanatory drawing which shows the mounting mode of a clamp to the table. 同テーブルへのクランプの取付態様を示す説明図。Explanatory drawing which shows the mounting mode of a clamp to the table. 同テーブルの蓋体の使用態様を示す説明図。Explanatory drawing which shows the usage mode of the lid body of the table. 同テーブルの溝の使用態様を示す説明図。Explanatory drawing which shows the usage mode of the groove of the table. 同テーブルを示す分解斜視図。An exploded perspective view showing the table. 同テーブルを示す分解斜視図。An exploded perspective view showing the table. 同テーブルの脚の天板への取付態様を示す説明図。Explanatory drawing which shows the mounting mode of the leg of the table to the top plate. 同テーブルの天板支持体の要部を示す分解斜視図。An exploded perspective view showing a main part of the top plate support of the table. 同テーブルのブラケットの脚への取付態様を示す分解斜視図。An exploded perspective view showing how the table bracket is attached to the legs. 同テーブルのブラケットを脚に取り付けた状態を示す平面図。Top view showing the state where the bracket of the table is attached to the leg. 同テーブルのブラケットを脚に取り付けた状態を示す正面図。Front view showing the state where the bracket of the table is attached to the legs. 同テーブルのブラケットを脚に取り付けた状態を示す中央縦断面図。A central vertical sectional view showing a state in which the bracket of the table is attached to the legs. 同実施形態に係るテーブルの他の一つを示す全体斜視図。The whole perspective view which shows the other one of the tables which concerns on the same embodiment. 同テーブルを示す平面図。A plan view showing the table. 同テーブルを示す底面図。Bottom view showing the table. 図26におけるE-E線、F-F線に沿った天板の断面図。FIG. 26 is a cross-sectional view of a top plate along the lines EE and FF in FIG. 26. 同テーブルの溝形成部材及びエンドキャップの取付態様を示す分解斜視図。An exploded perspective view showing a mounting mode of the groove forming member and the end cap of the table. 同テーブルの有底溝の端部近傍を示す平面図。A plan view showing the vicinity of the end of the bottom groove of the table. 図30における有底溝の巾方向中央で切断した断面図。FIG. 30 is a cross-sectional view cut at the center of the bottomed groove in the width direction. 同テーブルの溝形成部材及びエンドキャップを示す斜視図。The perspective view which shows the groove forming member and the end cap of the table. 図1~図24に示すテーブルの天板を抜き出して示す平面図。The plan view which shows by pulling out the top plate of the table shown in FIGS. 1 to 24. 図25~図32に示すテーブルの天板を抜き出して示す平面図。The plan view which shows by pulling out the top plate of the table shown in FIGS. 25 to 32. 同実施形態に係るテーブルへのフェルトパネルの装着状態を示す斜視図。The perspective view which shows the mounting state of the felt panel on the table which concerns on the same embodiment. 同テーブルにフェルトパネルを変形させて装着した状態を示す斜視図。The perspective view which shows the state which deformed and attached the felt panel to the table. 同実施形態に係るフェルトパネルを示す正面図。The front view which shows the felt panel which concerns on the same embodiment. 同実施形態に係るフェルトパネルを拡大して示す側面図。The side view which shows the enlarged felt panel which concerns on the same embodiment. 図37における要部を拡大して示す図。FIG. 37 is an enlarged view showing a main part in FIG. 37. 同実施形態に係るフェルトパネルの変形容易領域近傍を拡大した斜視図。An enlarged perspective view of the vicinity of the easily deformable region of the felt panel according to the same embodiment. 同実施形態に係るテーブルへのフェルトパネルの装着状態を示す斜視図。The perspective view which shows the mounting state of the felt panel on the table which concerns on the same embodiment. 図41のフェルトパネルを変形させた状態を示す斜視図。FIG. 6 is a perspective view showing a state in which the felt panel of FIG. 41 is deformed. 同実施形態に係るフェルトパネルを示す正面図。The front view which shows the felt panel which concerns on the same embodiment. 同実施形態に係るフェルトパネルの下部を拡大して示す側面図。The side view which shows the lower part of the felt panel which concerns on the same embodiment in an enlarged manner. 同実施形態に係るテーブルへのアクリルパネルの装着状態を示す斜視図。The perspective view which shows the mounting state of the acrylic panel on the table which concerns on the same embodiment. 同実施形態に係るアクリルパネルを示す正面図。The front view which shows the acrylic panel which concerns on the same embodiment. 同実施形態に係るアクリルパネルの下部を拡大して示す側面図。The side view which shows the lower part of the acrylic panel which concerns on the same embodiment in an enlarged manner. 同実施形態に係るアクリルパネルを示す分解斜視図。The exploded perspective view which shows the acrylic panel which concerns on the same embodiment. 同実施形態に係るテーブルへの書見台の装着状態を示す斜視図。The perspective view which shows the mounting state of the lectern on the table which concerns on the same embodiment. 同実施形態に係る書見台を示す正面図。The front view which shows the lectern which concerns on the same embodiment. 同実施形態に係る書見台を示す側面図。A side view showing a lectern according to the embodiment. 同実施形態に係る書見台を示す底面図。The bottom view which shows the lectern which concerns on the same embodiment. 同実施形態に係るテーブルへの植栽ボックスの装着状態を示す斜視図。The perspective view which shows the mounting state of the planting box to the table which concerns on the same embodiment. 同実施形態に係る植栽ボックスを示す正面図。The front view which shows the planting box which concerns on the same embodiment. 同実施形態に係る植栽ボックスを示す側面図。The side view which shows the planting box which concerns on the same embodiment. 同実施形態に係るテーブルへのシェルフの装着状態を示す斜視図。The perspective view which shows the mounting state of the shelf to the table which concerns on the same embodiment. 同実施形態に係るシェルフを示す正面図。The front view which shows the shelf which concerns on the same embodiment. 同実施形態に係るシェルフを示す側面図。The side view which shows the shelf which concerns on the same embodiment.

以下、本発明の実施形態を図面を参照して説明する。 Hereinafter, embodiments of the present invention will be described with reference to the drawings.

この実施形態は、集成材製の天板を2枚用いたテーブル(以下、「集成材天板2枚タイプのテーブル」と称することがある)と、メラミン化粧板を備えた天板を2枚用いたテーブル(以下、「メラミン天板2枚タイプのテーブル」と称することがある)とに関連して使用される6種類のオプション部材について説明したものであり、本発明は、それらオプション部材の内の(1)フェルトパネルZ型と、(2)フェルトパネル暖簾型にそれぞれ適用されている。 In this embodiment, a table using two laminated wood top plates (hereinafter, may be referred to as "glulam top plate two-sheet type table") and two top plates provided with melamine decorative plates are used. Six types of optional members used in connection with the table used (hereinafter, may be referred to as "table with two melamine top plates") have been described, and the present invention describes the optional members. It is applied to (1) felt panel Z type and (2) felt panel warming type, respectively.

<集成材天板2枚タイプのテーブル>(図1~図24)
集成材天板2枚タイプのテーブルS2Tは、図1~図6、図17及び図18に示すように、奥行寸法が略同じ対をなす天板1を反使用端1b同士を対面させて配置したものであって、両天板1の反使用端1b間に上下に貫通する貫通溝10(溝m)が形成されているとともに、各天板1の上面1cに貫通溝10と平行な有底溝11、12(溝m)が形成されている。貫通溝10は、天板1の上面1c(天板面f)側と下面1d側とを連通させるもので、配線類の挿通や細い支柱の貫通等を許容し得る形態をなしている。
<Table with two laminated lumber top plates> (Figs. 1 to 24)
As shown in FIGS. 1 to 6, 17 and 18, in the table S2T having two laminated lumber top plates, the top plates 1 having substantially the same depth dimension are arranged so that the anti-use ends 1b face each other. A through groove 10 (groove m) penetrating vertically is formed between the anti-use ends 1b of both top plates 1, and the upper surface 1c of each top plate 1 has a through groove 10 parallel to the through groove 10. Bottom grooves 11 and 12 (grooves m) are formed. The through groove 10 communicates the upper surface 1c (top plate surface f) side and the lower surface 1d side of the top plate 1 in a form that allows the insertion of wirings and the penetration of thin columns.

天板1は、一定の奥行寸法を有した平面視四角形状のもので、集成材製の厚板により構成されている。これら天板1の反使用端1b間に形成される貫通溝10は、図1、図2、図4~図6、図17及び図18に示すように、天板1の左右方向一端から他端まで連続して形成されたもので、全体が一定の標準溝幅nを有している。 The top plate 1 has a rectangular shape in a plan view having a certain depth dimension, and is made of a thick plate made of laminated lumber. The through groove 10 formed between the anti-use ends 1b of the top plate 1 is formed from one end in the left-right direction of the top plate 1 as shown in FIGS. 1, 2, 4 to 6, 17 and 18. It is formed continuously to the end and has a constant standard groove width n as a whole.

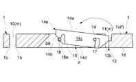
有底溝11、12は、貫通溝10の標準溝幅nと略同じ幅寸法を有するものである。この実施形態の場合、図1、図2、図4~図6、図17及び図18に示すように、各天板1に貫通溝10寄りの第1の有底溝11と、天板1の使用端1a寄りの第2の有底溝12がそれぞれ設けられている。この実施形態の場合、奥行方向中央に位置する貫通溝10と、各天板1にそれぞれ設けられた第1、第2の有底溝11、12とは、一定のピッチで平行に配されている。これら貫通溝10及び有底溝11、12は、天板1の使用端1aと平行をなしており、第1の有底溝11の途中には、図5に示すように、部分貫通溝13が設けられている。部分貫通溝13は、有底溝11と略同じ標準溝幅nを有する標準溝幅部13aと、この標準溝幅部13aよりも幅の広い拡大溝幅部13bとを有するもので、その部分貫通溝13の標準溝幅部13aが有底溝11に連続させてある。詳述すれば、部分貫通溝13は、図5に示すように、嵩高いコンセントやコネクタ等を通過させることができる開口部pを形成するための拡大溝幅部13bを有し、その拡大溝幅部13bの左右両端に、有底溝11に連続する標準溝幅部13aを連続させて設けたものである。部分貫通溝13は、例えば、図13及び図14に示すように、コンセントC等のオプション類を天板1上に取り付けるためのクランプkを挿通させる役割を担い得るものであり、拡大溝幅部13bから挿入させたクランプkを横移動させて標準溝幅部13aに係合させることによって、オプション類を天板1上に固定することができるようになっている。なお、この実施形態では、部分貫通溝13の標準溝幅部13aは、上半部分が標準溝幅nを有するとともに、下半部分が標準溝幅nよりも狭い縮小溝幅n0を有している。この縮小溝幅n0は、クランプkの部材厚み寸法に対応させたものである。 The bottomed grooves 11 and 12 have substantially the same width dimension as the standard groove width n of the through groove 10. In the case of this embodiment, as shown in FIGS. 1, 2, 4 to 6, 17 and 18, each top plate 1 has a first bottomed groove 11 closer to the through groove 10 and a top plate 1. A second bottomed groove 12 near the used end 1a is provided. In the case of this embodiment, the through groove 10 located at the center in the depth direction and the first and second bottomed grooves 11 and 12 provided on each top plate 1 are arranged in parallel at a constant pitch. There is. These through grooves 10 and bottomed grooves 11 and 12 are parallel to the used end 1a of the top plate 1, and in the middle of the first bottomed groove 11, as shown in FIG. 5, a partial through groove 13 Is provided. The partial through groove 13 has a standard groove width portion 13a having substantially the same standard groove width n as the bottomed groove 11, and an enlarged groove width portion 13b wider than the standard groove width portion 13a. The standard groove width portion 13a of the through groove 13 is continuous with the bottomed groove 11. More specifically, as shown in FIG. 5, the partial through groove 13 has an enlarged groove width portion 13b for forming an opening p through which a bulky outlet, a connector, or the like can pass, and the expanded groove thereof. A standard groove width portion 13a continuous with the bottomed groove 11 is continuously provided at both left and right ends of the width portion 13b. As shown in FIGS. 13 and 14, for example, the partial through groove 13 can play a role of inserting a clamp k for mounting an option such as an outlet C on the top plate 1, and has an enlarged groove width portion. By laterally moving the clamp k inserted from 13b and engaging it with the standard groove width portion 13a, the options can be fixed on the top plate 1. In this embodiment, the standard groove width portion 13a of the partial through groove 13 has a standard groove width n in the upper half portion and a reduced groove width n0 in the lower half portion narrower than the standard groove width n. There is. The reduced groove width n0 corresponds to the member thickness dimension of the clamp k.

また、部分貫通溝13の拡大溝幅部13bは、図5、図6および図8~図13に示すように、天板1の上面1c側と下面1d側とを連通させる開口部pを形成するものであり、この拡大溝幅部13bに蓋体14が開閉可能に配されている。蓋体14は、閉止位置(CL)で当該拡大溝幅部13bの実質的な開口幅を標準溝幅nに対応する溝幅にまで縮小させるとともに、開成位置(OP)で当該拡大溝幅部13bを開放し得るように構成されたものである。 Further, the enlarged groove width portion 13b of the partial through groove 13 forms an opening p for communicating the upper surface 1c side and the lower surface 1d side of the top plate 1 as shown in FIGS. 5, 6 and 8 to 13. The lid 14 is arranged so as to be openable and closable in the enlarged groove width portion 13b. The lid 14 reduces the substantial opening width of the expanded groove width portion 13b to the groove width corresponding to the standard groove width n at the closed position (CL), and the expanded groove width portion at the open position (OP). It is configured so that 13b can be opened.

詳述すれば、このテーブルS2Tは、天板1に上下に貫通する開口部p(部分貫通溝13の拡大溝幅部13a)を設け、この開口部pに蓋体14を開閉可能に設けたものである。なお、蓋体14は、図10及び図15に示すように、閉止姿勢(CL)で上面14aが天板面fに面一となる平面視長方形状のもので、開成姿勢(OP)で天板1の上面1c(天板面f)よりも高い位置で上を向く物品支持面14bを備えている。すなわち、蓋体14は、開閉時の回動端部となる部位の底面側に物品支持面14bを備えており、開成姿勢(OP)においてその物品支持面14bが上を向くように構成されている。この物品支持面14bは、例えば、図15に示すように、パーソナルコンピュータPC等の機器類を使用者側に前傾させて天板面f上に載置する場合等に好適に使われる。 More specifically, the table S2T is provided with an opening p (enlarged groove width portion 13a of the partial through groove 13) penetrating vertically in the top plate 1, and the lid 14 is provided in the opening p so as to be openable and closable. It is a thing. As shown in FIGS. 10 and 15, the lid 14 has a rectangular shape in a plan view in which the upper surface 14a is flush with the top plate surface f in the closed posture (CL), and the lid 14 is in the open posture (OP). It is provided with an article support surface 14b that faces upward at a position higher than the upper surface 1c (top plate surface f) of the plate 1. That is, the lid 14 is provided with an article support surface 14b on the bottom surface side of a portion that becomes a rotation end portion at the time of opening and closing, and is configured such that the article support surface 14b faces upward in the open posture (OP). There is. As shown in FIG. 15, the article support surface 14b is suitably used when a device such as a personal computer PC is tilted forward toward the user and placed on the top plate surface f.

蓋体14の開口部pに対する取付構造は、次の通りである。まず、この取付構造を上位概念で表現すれば、開口部の内側面及びこの内側面に対向する蓋体の外側面のいずれか一方に、第1の支軸と第2の支軸を天板奥行方向に間隔をあけて突設するとともに、他方に、前記閉止姿勢で前記第1の支軸に係合する第1の係合溝と、前記第2の支軸に係合する第2の係合溝とをそれぞれ設けており、蓋体を第2の支軸から第2の係合溝を離脱させて第1の支軸周りに回動させる一方向回動態様と、前記蓋体を前記第1の支軸から前記第1の係合溝を離脱させて第2の支軸周りに回動させる他方向回動態様とを選択的に採り得るように構成されている。 The attachment structure of the lid 14 to the opening p is as follows. First, if this mounting structure is expressed by a superordinate concept, a first support shaft and a second support shaft are placed on either the inner surface of the opening or the outer surface of the lid facing the inner side surface. In addition to projecting at intervals in the depth direction, on the other hand, a first engaging groove that engages with the first support shaft in the closed posture and a second engaging groove that engages with the second support shaft. Each of the engaging grooves is provided, and the one-way rotation mode in which the lid body is separated from the second supporting shaft by the second engaging groove and rotated around the first supporting shaft, and the lid body are provided. It is configured so that the other-direction rotation mode in which the first engaging groove is separated from the first support shaft and rotated around the second support shaft can be selectively adopted.

符号を付して具体的に説明すれば、この実施形態における蓋体14の取付構造は、図7~図12に示すように、開口部pの内側面paに、第1の支軸17と第2の支軸18を天板奥行方向に間隔をあけて突設するとともに、蓋体14の外側面14cに、閉止姿勢(CL)で第1の支軸17に係合する第1の係合溝15と、第2の支軸18に係合する第2の係合溝16とをそれぞれ設けたものであって、蓋体14を第2の支軸18から第2の係合溝16を離脱させて第1の支軸17周りに回動させる一方向回動態様を採った場合に物品支持面14bが上を向くように構成されている。 More specifically, the mounting structure of the lid 14 in this embodiment is provided with a first support shaft 17 on the inner side surface pa of the opening p, as shown in FIGS. 7 to 12. The second support shaft 18 is projected at a distance in the depth direction of the top plate, and the first engagement with the outer surface 14c of the lid 14 is engaged with the first support shaft 17 in the closed posture (CL). A joint groove 15 and a second engaging groove 16 that engages with the second support shaft 18 are provided respectively, and the lid 14 is provided from the second support shaft 18 to the second engaging groove 16. The article support surface 14b is configured to face upward when the unidirectional rotation mode is adopted in which the article is disengaged and rotated around the first support shaft 17.

第1、第2の係合溝15、16は、それぞれ蓋体14の外側面14c及び底面14dに開放された凹陥形状をなすものであり、図10に示すように、第1の係合溝15の奥端に、一方向回動態様により蓋体14を開成させた場合に第1の支軸17が係合して当該蓋体14の落下を防止する屈曲溝部15aを設けている。 The first and second engaging grooves 15 and 16 have a concave shape open to the outer surface 14c and the bottom surface 14d of the lid 14, respectively, and as shown in FIG. 10, the first engaging grooves 15 and 16 have a concave shape. A bent groove portion 15a is provided at the inner end of the lid 15 to prevent the lid body 14 from falling by engaging with the first support shaft 17 when the lid body 14 is opened in a unidirectional rotation mode.

第2の係合溝16は、図11に示すように、蓋体14を閉止姿勢に戻す途上で第2の支軸18に摺接する案内カム部16aを有したものであり、案内カム部16aは、蓋体14を閉止姿勢(CL)に戻す力を利用して当該蓋体14を第1の支軸17が屈曲溝部15aから外れる方向に引き込むように形状設定されたものである。図9は蓋体14を取り外した状態を示しており、図12は蓋体14を閉止姿勢(CL)に保持させた状態を示している。 As shown in FIG. 11, the second engaging groove 16 has a guide cam portion 16a that is in sliding contact with the second support shaft 18 on the way to return the lid body 14 to the closed posture, and the guide cam portion 16a is provided. Is shaped so that the first support shaft 17 is pulled in a direction away from the bent groove portion 15a by utilizing the force for returning the lid body 14 to the closed posture (CL). FIG. 9 shows a state in which the lid body 14 is removed, and FIG. 12 shows a state in which the lid body 14 is held in the closed posture (CL).

なお、蓋体14は、回動端部14eを天板1の使用端1a及び反使用端1bと平行に配したものであり、前述した一方向回動態様で開成させた場合に回動端部14eが天板1の使用端1aに近づく方向に平行移動するように構成されている。一方、蓋体14を閉止姿勢(CL)に戻した状態では、図12に示すように、当該蓋体14の上面14aが天板面fと面一となり、部分貫通溝13の拡大溝幅部13bも標準溝幅nの開口を残して閉止されるようになっている。 The lid 14 has a rotating end 14e arranged in parallel with the used end 1a and the non-used end 1b of the top plate 1, and is a rotating end when opened in the above-mentioned one-way rotation mode. The portion 14e is configured to move in parallel in a direction approaching the used end 1a of the top plate 1. On the other hand, when the lid 14 is returned to the closed posture (CL), as shown in FIG. 12, the upper surface 14a of the lid 14 is flush with the top plate surface f, and the enlarged groove width portion of the partial through groove 13 is formed. 13b is also closed with an opening having a standard groove width n.

以上説明したように、このテーブルS2Tの2枚の天板1により形成される天板面fには、図1、図2、図5及び図6に示すように、2枚の天板1間に形成された1本の貫通溝10と、各天板1に2本ずつ形成された有底溝11、12とが、同じ標準溝幅nをなして平行に配されることになる。そして、この実施形態では、有底溝11、12の左右両端が、天板1の左右両端まで達して開放されているため、有底溝11、12と貫通溝10とが対等な存在感をなして整然と配列されることになる。すなわち、天板面f上には、5本の平行な溝mが等ピッチで配列された外観を呈することになる。なお、図16に示すように、有底溝11、12にはスマートホンSPやタブレット端末等を立てかけて使用することができる。 As described above, the top plate surface f formed by the two top plates 1 of the table S2T has a space between the two top plates 1 as shown in FIGS. 1, 2, 5, and 6. The one through groove 10 formed in the above plate 1 and the two bottomed grooves 11 and 12 formed in each top plate 1 are arranged in parallel with the same standard groove width n. In this embodiment, since the left and right ends of the bottomed grooves 11 and 12 reach the left and right ends of the top plate 1 and are opened, the bottomed grooves 11 and 12 and the through groove 10 have an equal presence. It will be arranged in an orderly manner. That is, on the top plate surface f, five parallel grooves m are arranged at equal pitches. As shown in FIG. 16, a smart phone SP, a tablet terminal, or the like can be leaned against the bottomed grooves 11 and 12 for use.

対をなす2枚の天板1は、図1、図3、図4、図17及び図18に示すように、天板支持体3に着脱可能に取付けられ支持されている。天板支持体3は、複数本の脚31と、これら脚31の上端部をそれぞれ天板1の下面1dに取り付ける複数のブラケット32と、これらブラケット32同士を連結し天板1の下面1dに添接する天板支持フレーム38、39とを具備してなる。 As shown in FIGS. 1, 3, 4, 17, and 18, the two paired top plates 1 are detachably attached to and supported by the top plate support 3. The top plate support 3 includes a plurality of legs 31, a plurality of brackets 32 for attaching the upper ends of the legs 31 to the lower surface 1d of the top plate 1, and these brackets 32 connected to the lower surface 1d of the top plate 1. It is provided with top plate support frames 38 and 39 to be attached.

すなわち、このテーブルS2Tは、図18及び図19に示すように、天板1の下面1dに設けられたブラケット取付部qに脚31の上端部をブラケット32を介して取り付けたものであって、脚31は、その上端部をブラケット32に止着するための止着要素34、35を備えている。 That is, as shown in FIGS. 18 and 19, in this table S2T, the upper end portion of the leg 31 is attached to the bracket mounting portion q provided on the lower surface 1d of the top plate 1 via the bracket 32. The leg 31 includes fastening elements 34 and 35 for fastening the upper end thereof to the bracket 32.

ブラケット32は、図17~図24に示すように、天板1の下面1dに添接する上向添接面33a及び脚31の上端面31zが当接する下向取付面33bを備えたブラケット本体33と、このブラケット本体33に設けられ脚31が止着された状態で止着要素34、35を隠蔽する隠蔽部36とを備えたものである。この実施形態のブラケット32は、例えば、アルミダイキャスト製のものであり、ブラケット本体33と隠蔽部36とは一体に成型されている。 As shown in FIGS. 17 to 24, the bracket 32 has a bracket main body 33 having an upward attachment surface 33a attached to the lower surface 1d of the top plate 1 and a downward mounting surface 33b to which the upper end surface 31z of the leg 31 abuts. And a concealing portion 36 provided on the bracket main body 33 and concealing the fastening elements 34 and 35 in a state where the legs 31 are fastened. The bracket 32 of this embodiment is made of, for example, aluminum die-cast, and the bracket main body 33 and the concealing portion 36 are integrally molded.

ブラケット32は、図19~図22に示すように、隠蔽部36により隠されない部位に、ブラケット本体33を天板1にねじ止めするための天板取付用のボルト挿通孔33cを備えており、脚31をブラケット32に止着したままで、天板1をブラケット32に着脱可能に接続することができるように構成されている。具体的には、ブラケット32の外縁部4カ所にボルト挿通孔33cが設けてあり、図19に示すように、これらボルト挿通孔33cに下側から挿通させた取付ボルトB0を天板1のブラケット取付部qに埋設した埋設ナットNにそれぞれ螺着することによって、当該ブラケット32を天板1の下面1dに取着することができるようになっている。 As shown in FIGS. 19 to 22, the bracket 32 is provided with a bolt insertion hole 33c for mounting the top plate for screwing the bracket main body 33 to the top plate 1 in a portion not hidden by the concealing portion 36. It is configured so that the top plate 1 can be detachably connected to the bracket 32 while the legs 31 are fixed to the bracket 32. Specifically, bolt insertion holes 33c are provided at four locations on the outer edge of the bracket 32, and as shown in FIG. 19, mounting bolts B0 inserted through these bolt insertion holes 33c from below are mounted on the bracket of the top plate 1. The bracket 32 can be attached to the lower surface 1d of the top plate 1 by screwing each of the embedded nuts N embedded in the attachment portion q.

脚31は、図21に示すように、上端面31zに開口するボルト挿通孔31a、31bと、側面31xに開口しボルト挿通孔31a、31bに直交する止着要素装着孔31c、31dと、止着要素装着孔31c、31dに装着されボルト挿通孔31a、31bに対応する部位に雌ねじ孔34a、35aを有する止着要素(ピン状ナット)34、35とを備えている。そして、ブラケット32を上から下に貫通させたボルトB1、B2をそのボルト挿通孔31eに挿入して前述の止着要素34の雌ねじ孔34a、34bに螺着することによって、当該脚31をブラケット32に止着している。 As shown in FIG. 21, the legs 31 have bolt insertion holes 31a and 31b that open in the upper end surface 31z and fastening element mounting holes 31c and 31d that open in the side surface 31x and are orthogonal to the bolt insertion holes 31a and 31b. It is provided with fastening elements (pin-shaped nuts) 34, 35 which are mounted in the fastening element mounting holes 31c, 31d and have female screw holes 34a, 35a at the portions corresponding to the bolt insertion holes 31a, 31b. Then, the legs 31 are bracketed by inserting the bolts B1 and B2 through which the bracket 32 is penetrated from the top to the bottom into the bolt insertion holes 31e and screwing them into the female screw holes 34a and 34b of the fastening element 34 described above. It has stopped at 32.

また、脚31は、例えば木製のもので、図21に示すように、少なくとも上端部が、下肢空間に臨む内向端面31yと、この内向端面31yに連続する両側面31xとを有する柱状をなしており、前述したブラケット32の隠蔽部36は、内向端面31yと両側面31xとを部分的に覆う壁状をなしている。すなわち、脚31は、上端面31zに連続する内向端面31y及び両側面31xの上端部分に段状凹陥部分31ya、31xaを形成したものであり、前述した隠蔽部36を内向端面31y及び両側面31xの段状凹陥部分31ya、31xaに外嵌させている。止着要素装着孔31c、31dは、脚31の両側面31xにおける段状凹陥部分31xaに開口させてあり、止着要素装着孔31c、31dに装着された止着要素34、35は、脚31をブラケット32に取り付けた段階で隠蔽部36により完全に隠されることになる。 Further, the leg 31 is made of wood, for example, and as shown in FIG. 21, at least the upper end thereof has a columnar shape having an inward end surface 31y facing the lower limb space and both side surfaces 31x continuous with the inward end surface 31y. The concealed portion 36 of the bracket 32 described above has a wall shape that partially covers the inward end surface 31y and the both side surfaces 31x. That is, the leg 31 has stepped recessed portions 31ya and 31xa formed on the upper end portions of the inward end surface 31y and both side surfaces 31x continuous with the upper end surface 31z, and the above-mentioned concealing portion 36 is formed on the inward end surface 31y and both side surfaces 31x. It is externally fitted to the stepped recessed portions 31ya and 31xa. The fastening element mounting holes 31c and 31d are opened in the stepped recessed portion 31xa on both side surfaces 31x of the leg 31, and the fastening elements 34 and 35 mounted in the fastening element mounting holes 31c and 31d are the legs 31. Will be completely hidden by the concealing portion 36 when the bracket 32 is attached to the bracket 32.

脚31とブラケット32の止着構造をより具体的に説明すれば、図21に示すように、脚31の上端面31zには、1本の第1ボルト挿通孔31aと、2本の第2ボルト挿通孔31bと、2個の埋設ナット31eの雌ねじ孔31eaとが開口させてあるとともに、脚31の側面31xには、第1ボルト挿通孔31aに直交する第1止着要素装着孔31cと、第2ボルト挿通孔31bにそれぞれ直交する第2止着要素装着孔31dとが開口させてある。また、第1止着要素装着孔31cには、第1ボルト挿通孔31aに対応した位置に雌ねじ孔34aを有するピン状の第1止着要素34が装着してあるとともに、第2止着要素装着孔31dには、第2ボルト挿通孔31bに対応する位置に雌ねじ孔35bを有するピン状の第2止着要素35が装着してある。そして、ブラケット32の上面側から当該ブラケット32を貫通させて脚31の第1ボルト挿通孔31aに挿入した第1止着ボルトB1を第1止着要素34の雌ねじ孔34aに螺着するとともに、第2ボルト挿通孔31bに挿入した2本の第2止着ボルトB2を第2止着要素35の2つの雌ねじ孔35aにそれぞれ螺着し、さらに、ブラケット32の上面側から当該ブラケット32を貫通させた第3の止着ボルトB3を脚31の埋設ナット31eの雌ねじ孔31eaにそれぞれ螺着することによって、脚31をブラケット32に強固に止着している。この止着状態でブラケット32が天板1の下面1dに取着されるようになっている。止着状態では、第1止着要素装着孔31cに装着されている第1止着要素34、及び第2止着要素装着孔31dに装着されている第2止着要素35は全てブラケット32の隠蔽部36に覆われており、外部から視認することはできなくなる。また、ブラケット32の上面32aは天板1の下面に添接するため、前述した各止着ボルトB1、B2、B3の頭部も外部から視認不能になる。 More specifically, the fastening structure of the leg 31 and the bracket 32 will be described more specifically. As shown in FIG. 21, one first bolt insertion hole 31a and two second bolt insertion holes 31a are formed in the upper end surface 31z of the leg 31. The bolt insertion hole 31b and the female screw hole 31ea of the two embedded nuts 31e are opened, and the side surface 31x of the leg 31 has a first fastening element mounting hole 31c orthogonal to the first bolt insertion hole 31a. , A second fastening element mounting hole 31d orthogonal to the second bolt insertion hole 31b is opened. Further, a pin-shaped first fastening element 34 having a female screw hole 34a at a position corresponding to the first bolt insertion hole 31a is mounted in the first fastening element mounting hole 31c, and the second fastening element is mounted. A pin-shaped second fastening element 35 having a female screw hole 35b at a position corresponding to the second bolt insertion hole 31b is mounted in the mounting hole 31d. Then, the first fastening bolt B1 inserted into the first bolt insertion hole 31a of the leg 31 through the bracket 32 from the upper surface side of the bracket 32 is screwed into the female screw hole 34a of the first fastening element 34. The two second fastening bolts B2 inserted into the second bolt insertion hole 31b are screwed into the two female screw holes 35a of the second fastening element 35, respectively, and further penetrate the bracket 32 from the upper surface side of the bracket 32. The leg 31 is firmly fastened to the bracket 32 by screwing the third fastening bolt B3 to the female screw hole 31ea of the embedded nut 31e of the leg 31, respectively. In this fixed state, the bracket 32 is attached to the lower surface 1d of the top plate 1. In the fastened state, the first fastening element 34 mounted in the first fastening element mounting hole 31c and the second fastening element 35 mounted in the second fastening element mounting hole 31d are all brackets 32. It is covered with a concealing portion 36 and cannot be visually recognized from the outside. Further, since the upper surface 32a of the bracket 32 is in contact with the lower surface of the top plate 1, the heads of the above-mentioned fastening bolts B1, B2, and B3 are also invisible from the outside.

なお、各ブラケット32には、図19~図24に示すように、天板1の奥行方向に延びる縦の天板支持フレーム38、及び天板1の横幅方向に延びる横の天板支持フレーム39を取着するための一対のフレーム取付部37がそれぞれ設けられている。縦、横の天板支持フレーム38、39は、図19及び図20に示すように、角柱パイプ材製のもので、端部近傍部における両側壁間に角柱のボルト受座Zを架設している。ボルト受座Zは、軸心jを斜め下方に向けたボルト挿通孔Zaを有するもので、天板支持フレーム38、39の底壁38a、39aにおける軸心jが通過する部位にボルト挿入用の窓38b、39bが設けられている。ブラケット32のフレーム取付部37は、天板支持フレーム38、39の端面38c、39cが当接する先端壁37aを有した角柱ブロック状のもので、その先端壁37aにボルト受座Zのボルト挿通孔Zaを通して挿入された斜めボルトBzを挿通させるボルト挿通孔37bが開設されているとともに、内部にその斜めボルトBzが螺着される図示しないナットが保持されている。先端壁37aには天板支持フレーム38、39の底壁38a、39aの内面に当接する受圧突起37cが一体に設けられている。この受圧突起37cは、天板支持フレーム38、39をブラケット32に斜めボルトBzにより強連結するためのものである。すなわち、軸心jを傾斜させた斜めボルトBzをボルト受座Zを通してナットに螺合させ緊締すると、天板支持フレーム38、39が上昇しつつ先端壁37aに接近する方向に付勢され、その底壁38a,39aが受圧突起37cの下面に押し付けられるとともに、その押付力を強めつつ端面38c、39cが先端壁37aに圧接されることになるため、天板支持フレーム38、39を位置決めしつつブラケット32に強固に連結することができる。各ブラケット32には、向きを90°異ならせて一対のフレーム取付部37が設けられているため、各ブラケット32に縦の天板支持フレーム38と横の天板支持フレーム39とをそれぞれ連結することができる。各天板支持フレーム38、39は、中間固定箇所sを天板1にねじ止めすることにより、天板1の固定をより確実なものにしている。 As shown in FIGS. 19 to 24, each bracket 32 has a vertical top plate support frame 38 extending in the depth direction of the top plate 1 and a horizontal top plate support frame 39 extending in the horizontal width direction of the top plate 1. A pair of frame mounting portions 37 for mounting are provided respectively. As shown in FIGS. 19 and 20, the vertical and horizontal top plate support frames 38 and 39 are made of a prismatic pipe material, and a prismatic bolt receiving seat Z is erected between both side walls in the vicinity of the end portion. There is. The bolt receiving seat Z has a bolt insertion hole Za with the axis j diagonally downward, and is for inserting a bolt into a portion of the bottom walls 38a, 39a of the top plate support frames 38, 39 through which the axis j passes. Windows 38b and 39b are provided. The frame mounting portion 37 of the bracket 32 is a prism block having a tip wall 37a to which the end faces 38c and 39c of the top plate support frames 38 and 39 abut, and the bolt insertion hole of the bolt seat Z is formed in the tip wall 37a. A bolt insertion hole 37b for inserting the diagonal bolt Bz inserted through Za is opened, and a nut (not shown) into which the diagonal bolt Bz is screwed is held inside. The tip wall 37a is integrally provided with a pressure receiving protrusion 37c that abuts on the inner surfaces of the bottom walls 38a and 39a of the top plate support frames 38 and 39. The pressure receiving protrusions 37c are for strongly connecting the top plate support frames 38 and 39 to the bracket 32 by diagonal bolts Bz. That is, when the diagonal bolt Bz whose axis j is inclined is screwed into the nut through the bolt seat Z and tightened, the top plate support frames 38 and 39 are urged in a direction approaching the tip wall 37a while rising. Since the bottom walls 38a and 39a are pressed against the lower surface of the pressure receiving protrusion 37c and the end faces 38c and 39c are pressed against the tip wall 37a while increasing the pressing force, the top plate support frames 38 and 39 are positioned. It can be firmly connected to the bracket 32. Since each bracket 32 is provided with a pair of frame mounting portions 37 having different orientations by 90 °, the vertical top plate support frame 38 and the horizontal top plate support frame 39 are connected to each bracket 32, respectively. be able to. Each of the top plate support frames 38 and 39 secures the top plate 1 more securely by screwing the intermediate fixing points s to the top plate 1.

ここで、図1は上述した集成材天板2枚タイプのテーブルS2Tを示す全体斜視図であり、図2は同平面図、図3は同正面図、図4は同底面図である。図5は、天板1の要部を拡大して示す平面図である。図6の(a)、(b)及び(c)は、それぞれ天板1の図2におけるA-A線、B-B線、C-C線に沿った断面図である。図7は、開口部pに対する蓋体14の装着状態を示す斜視図である。図8は、蓋体14を開成姿勢(OP)とした状態の天板1の要部を拡大して示す斜視図である。図9は、天板1の図2におけるD-D線に沿った断面を示す図であり、蓋体14を浮かせた状態で示している。図10は、蓋体14を開成姿勢(OP)とした状態を示す図である。図11は、蓋体14を開成姿勢(OP)から閉止姿勢(CL)に戻す途中の状態を示す図である。図12は、、蓋体14を閉止姿勢(CL)とした状態を示す図である。図13は、蓋体14を他方向回動態様で開放し開口部p内部にクランプkを挿入する態様を示す図である。なお、図10~図13では、天板1を図9と同様の位置で切断して示している。図14は、クランプkを部分貫通溝13の標準溝幅部13a内に配した状態を示す要部断面図である。図15は、蓋体14を開成姿勢(OP)とし物品支持面14bにパーソナルコンピュータPCを支持させた状態を示す図である。図16は、溝m内にスマートホンSPを立てかけた状態を示す図である。図17は、天板1と天板支持体3とを分離し上方から見た分解斜視図であり、図18は同下方から見た分解斜視図である。図19は天板1の下面1dへの脚31及びブラケット32の取付け態様を示す図である。図20は脚31へのブラケット32及び天板支持フレーム38、39の取付け態様を示す下方から見た分解斜視図である。図21は脚31へのブラケット32の取付け態様を示す上方から見た分解斜視図である。図22は脚31にブラケット32を取り付けた状態を示す平面図である。図23は同正面図、図24は同中央縦断面図である。 Here, FIG. 1 is an overall perspective view showing the above-mentioned two-plate laminated lumber type table S2T, FIG. 2 is a plan view, FIG. 3 is a front view, and FIG. 4 is a bottom view. FIG. 5 is an enlarged plan view showing a main part of the top plate 1. 6 (a), (b) and (c) are cross-sectional views taken along the line AA, line BB and line CC in FIG. 2 of the top plate 1, respectively. FIG. 7 is a perspective view showing a state in which the lid 14 is attached to the opening p. FIG. 8 is an enlarged perspective view showing a main part of the top plate 1 in a state where the lid 14 is in the open posture (OP). FIG. 9 is a view showing a cross section of the top plate 1 along the DD line in FIG. 2, showing the lid 14 in a floating state. FIG. 10 is a diagram showing a state in which the lid body 14 is in the open posture (OP). FIG. 11 is a diagram showing a state in which the lid body 14 is being returned from the open posture (OP) to the closed posture (CL). FIG. 12 is a diagram showing a state in which the lid body 14 is in the closed posture (CL). FIG. 13 is a diagram showing a mode in which the lid 14 is opened in a mode of rotation in the other direction and the clamp k is inserted inside the opening p. In addition, in FIGS. 10 to 13, the top plate 1 is cut and shown at the same position as in FIG. FIG. 14 is a cross-sectional view of a main part showing a state in which the clamp k is arranged in the standard groove width portion 13a of the partial through groove 13. FIG. 15 is a diagram showing a state in which the lid 14 is in the open posture (OP) and the personal computer PC is supported on the article support surface 14b. FIG. 16 is a diagram showing a state in which the smart phone SP is leaned against the groove m. FIG. 17 is an exploded perspective view of the top plate 1 and the top plate support 3 separated from each other and viewed from above, and FIG. 18 is an exploded perspective view viewed from below. FIG. 19 is a diagram showing how the legs 31 and the bracket 32 are attached to the lower surface 1d of the top plate 1. FIG. 20 is an exploded perspective view showing how the bracket 32 and the top plate support frames 38 and 39 are attached to the legs 31 as viewed from below. FIG. 21 is an exploded perspective view showing how the bracket 32 is attached to the leg 31 as viewed from above. FIG. 22 is a plan view showing a state in which the bracket 32 is attached to the leg 31. 23 is a front view of the same, and FIG. 24 is a vertical sectional view of the center.

なお、図33は、天板1のみを模式的に示す平面図であり、蓋体14を除去した状態で貫通した部分(貫通溝10、部分貫通溝13)を黒塗りで示している。 Note that FIG. 33 is a plan view schematically showing only the top plate 1, and the portions (through grooves 10 and partial through grooves 13) that have penetrated with the lid 14 removed are shown in black.

<メラミン天板2枚タイプのテーブル>(図25~図32)
メラミン天板2枚タイプのテーブルM2Tは、奥行寸法が略同じ対をなす天板101を反使用端101b同士を対面させて配置したものであって、両天板101の反使用端101b間に上下に貫通する貫通溝110が形成されているとともに、各天板101の上面101cに貫通溝110と平行な有底溝111、112が形成されている。この点では前述した集成材天板2枚タイプのテーブルS2Tと共通しているが、天板101の具体的構成が異なっているため、天板101に関連した部分については、テーブルS2Tと異なった符号を付している。天板101に関連した部分以外については、集成材天板2枚タイプのテーブルS2Tと同一又は対応する部分に同一の符号を付して説明を省略する。
<Table with two melamine top plates> (Figs. 25 to 32)
In the table M2T of the two melamine top plates type, the top plates 101 having substantially the same depth dimension are arranged so that the anti-use ends 101b face each other, and between the anti-use ends 101b of both top plates 101. Through grooves 110 penetrating vertically are formed, and bottomed grooves 111 and 112 parallel to the through grooves 110 are formed on the upper surface 101c of each top plate 101. In this respect, it is common with the table S2T of the two laminated lumber top plate type described above, but since the specific configuration of the top plate 101 is different, the part related to the top plate 101 is different from the table S2T. It is signed. Except for the portion related to the top plate 101, the same reference numerals as those of the table S2T of the two laminated lumber top plate type or the corresponding portions are designated by the same reference numerals, and the description thereof will be omitted.

このテーブルM2Tが、前述したテーブルS2Tと異なっている点は、次の通りである。 The difference between this table M2T and the above-mentioned table S2T is as follows.

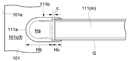
このテーブルM2Tは、天板101の材質や形態が集成材天板2枚タイプのテーブルS2Tとは異なっている。すなわち、このテーブルM2Tの天板101は、コア材の表面にメラミン化粧板を添設してなるものであり、各天板101に形成された有底溝111、112は、左右両端111a、112aが、天板101の左右両端101eの近傍において閉塞されている。有底溝111、112の両端部111b、112bは、その深さ寸法が漸次小さくなって最端位置(両端111a、112a)で略零となるように構成されている。具体的には、有底溝111、112は、各部において一定の深さ寸法を有する溝形成部材Gと、溝形成部材Gの両端に嵌着され有底溝111、112の端部111b、112bを形成するエンドキャップHとを天板101の上面101cに凹設された取付溝101fに埋設することにより形成されたものである。溝形成部材GとエンドキャップHとは、それぞれ合成樹脂により作られたもので、長手方向に若干の相対移動を許容された状態で嵌着されている。すなわち、溝形成部材Gは、各部同一の断面形状を有するチャンネル状のものであり、開口幅が前述した標準溝幅nに設定されている。エンドキャップHは、底壁Haが外方端に向かって漸次上昇するように形成されたキャップ本体Hbと、このキャップ本体Hbの内方端に一体に形成され溝形成部材Gの端部外面に嵌合する嵌合部Hcとを備えている。なお、溝形成部材GとエンドキャップHとは、長手方向に若干の相対移動を許容された状態で嵌着されている。具体的には、溝形成部材Gと前記エンドキャップHとは、当該溝形成部材Gの端面とキャップ本体Hbとの間に若干の隙間cを残した状態で天板面fに刻設された取付溝101fに嵌着されており、寸法誤差や温度による部材の伸縮に対応し得るようになっている。 The table M2T is different from the laminated lumber top plate type table S2T in the material and form of the top plate 101. That is, the top plate 101 of the table M2T is formed by attaching a melamine decorative plate to the surface of the core material, and the bottomed grooves 111 and 112 formed in each top plate 101 are left and right ends 111a and 112a. Is closed in the vicinity of the left and right ends 101e of the top plate 101. Both end portions 111b and 112b of the bottomed grooves 111 and 112 are configured such that the depth dimension thereof gradually decreases and becomes substantially zero at the end end positions (both ends 111a and 112a). Specifically, the bottomed grooves 111 and 112 are fitted to both ends of the groove forming member G having a certain depth dimension in each portion and both ends of the groove forming member G, and the end portions 111b and 112b of the bottomed grooves 111 and 112. Is formed by embedding the end cap H forming the above plate 101 in the mounting groove 101f recessed in the upper surface 101c of the top plate 101. The groove forming member G and the end cap H are each made of synthetic resin, and are fitted in a state where some relative movement in the longitudinal direction is allowed. That is, the groove forming member G has a channel shape having the same cross-sectional shape in each portion, and the opening width is set to the standard groove width n described above. The end cap H is formed integrally with the cap main body Hb formed so that the bottom wall Ha gradually rises toward the outer end, and the inner end of the cap main body Hb, and is formed on the outer surface of the end portion of the groove forming member G. It is provided with a fitting portion Hc to be fitted. The groove forming member G and the end cap H are fitted in a state where some relative movement in the longitudinal direction is allowed. Specifically, the groove forming member G and the end cap H are engraved on the top plate surface f with a slight gap c left between the end surface of the groove forming member G and the cap body Hb. It is fitted in the mounting groove 101f so that it can cope with expansion and contraction of the member due to dimensional error and temperature.

また、このテーブルM2Tは、貫通溝110の全体ではなく一部が標準溝幅nを有するものである。換言すれば、天板101の反使用端101b間に形成される貫通溝110は、一定の標準溝幅nを有する標準溝幅部110aと、この標準溝幅部110aよりも幅の広い拡大溝幅部110bとを有するものである。この実施形態の場合、拡大溝幅部110bにより形成される開口部pは、開放されたままであり、格別な蓋体は設けられていない。標準溝幅部110aは、標準溝幅nに設定されている。 Further, in this table M2T, a part of the through groove 110, not the whole, has a standard groove width n. In other words, the through groove 110 formed between the anti-use ends 101b of the top plate 101 has a standard groove width portion 110a having a constant standard groove width n and an enlarged groove wider than the standard groove width portion 110a. It has a width portion 110b. In the case of this embodiment, the opening p formed by the enlarged groove width portion 110b remains open, and no special lid is provided. The standard groove width portion 110a is set to the standard groove width n.

このテーブルM2Tでは、各天板101に2本ずつ有底溝111、112が形成されている。各有底溝111、112はそれぞれ全体が標準溝幅nを有するものであり、貫通溝110の標準溝幅部110aと同じ幅寸法を有している。 In this table M2T, two bottomed grooves 111 and 112 are formed on each top plate 101. Each of the bottomed grooves 111 and 112 has a standard groove width n as a whole, and has the same width dimension as the standard groove width portion 110a of the through groove 110.

ここで、図25は上述したメラミン天板2枚タイプのテーブルM2Tを示す全体斜視図であり、図26は同平面図、図27は同底面図である。図28の(a)及び(b)は、それぞれ天板101の図26におけるE-E線及びF-F線に沿った断面図である。図29は、天板101への溝形成部材G及びエンドキャップHの取付態様を示す分解斜視図である。図30は、有底溝111の端部111b近傍を示す平面図である。図31は、図30における有底溝111の巾方向中央で切断した断面図である。図32は、溝形成部材G及びエンドキャップHを示す斜視図である。 Here, FIG. 25 is an overall perspective view showing the above-mentioned two-plate melamine top plate type table M2T, FIG. 26 is a plan view, and FIG. 27 is a bottom view. 28 (a) and 28 (b) are cross-sectional views taken along the lines EE and FF of FIG. 26 of the top plate 101, respectively. FIG. 29 is an exploded perspective view showing how the groove forming member G and the end cap H are attached to the top plate 101. FIG. 30 is a plan view showing the vicinity of the end portion 111b of the bottomed groove 111. FIG. 31 is a cross-sectional view of the bottomed groove 111 in FIG. 30 cut at the center in the width direction. FIG. 32 is a perspective view showing the groove forming member G and the end cap H.

なお、図34は、天板101のみを模式的に示す平面図であり、貫通した部分(貫通溝110)を黒塗りで示している。 Note that FIG. 34 is a plan view schematically showing only the top plate 101, and the penetrating portion (through groove 110) is shown in black.

<テーブル上で使用されるオプション部材>(図35~図58)
以上説明したテーブルS2T、M2Tは、いずれも天板面fに複数本の平行な溝m(貫通溝10、110と有底溝11、12、111、112)を備えており、それらの溝mを利用して次の(1)~(6)で説明する種々のオプション部材を装備することができる。
<Optional parts used on the table> (FIGS. 35 to 58)
The tables S2T and M2T described above each have a plurality of parallel grooves m (through grooves 10, 110 and bottomed grooves 11, 12, 111, 112) on the top plate surface f, and the grooves m thereof. Can be used to equip various optional members described in the following (1) to (6).

(1)フェルトパネルZ型(図35~図40)
オプション部材であるフェルトパネル4は、前述したテーブルS2T、M2Tの天板1、101上で使用されるパネルであって単一素材で作られ、他の領域よりも変形し易い変形容易領域41を部分的に備えている。このフェルトパネル4は、変形容易領域41を含め全体が一定の厚み寸法を有するものであって、変形容易領域41には、複数本の切込線42が同じ方向を向けて互いに干渉しないように設けられている。具体的には、このフェルトパネル4は、一定厚さを有するフェルト素材により作られており、変形させない初期姿勢(図35、図37及び図38参照)では、略長方形状をなしている。そして、変形容易領域41に設けられている切込線42は、一方のパネル面4aから他方のパネル面4bに貫通するように形成された直線状のものである。変形容易領域41には、図39に示すように、複数の切込線42を長手方向(鉛直方向)に間欠的に設けた切込線列43が複数本平行に形成されており、隣接する切込線列43の切込線42同士は横に並ばないように長手方向に位置を異ならせてある。
(1) Felt panel Z type (FIGS. 35 to 40)
The felt panel 4, which is an optional member, is a panel used on the top plates 1 and 101 of the tables S2T and M2T described above, and is made of a single material, and has a deformable region 41 that is more easily deformed than other regions. Partially prepared. The felt panel 4 has a constant thickness dimension as a whole including the easily deformable region 41, so that a plurality of cut lines 42 face the same direction and do not interfere with each other in the easily deformable region 41. It is provided. Specifically, the felt panel 4 is made of a felt material having a certain thickness, and has a substantially rectangular shape in the initial posture (see FIGS. 35, 37 and 38) which is not deformed. The cut line 42 provided in the easily deformable region 41 is a straight line formed so as to penetrate from one panel surface 4a to the other panel surface 4b. As shown in FIG. 39, a plurality of cut line rows 43 in which a plurality of cut lines 42 are intermittently provided in the longitudinal direction (vertical direction) are formed in parallel in the easily deformable region 41 and are adjacent to each other. The cut lines 42 of the cut line row 43 are positioned differently in the longitudinal direction so as not to be lined up side by side.

詳述すれば、このフェルトパネル4は、左右方向に隣接する複数の区域44、45を有したパネルであって、変形容易領域41が、略鉛直な切込線42を有した上下に延びる帯状の領域であり、変形容易領域41を、区域44、45の隣接境界部分に配している。具体的には、このフェルトパネル4は、上下に延びる平行な2本の変形容易領域41によって中間区域44と、中間区域44の両側に位置する端部区域45とに区画されており、変形容易領域41を変形させることによって平面視略Z形となる屈曲姿勢(図36参照)に全体形状を変えることができるようになっている。端部区域45の下端近傍部には、円柱状のフェルト素材を貫設することによって、係止凸部46が形成されており、端部区域45の下端部45a(係止凸部46の下向面s4より下方に位置する突部t4)をテーブルS2T、M2Tのいずれかの溝mに嵌入させ、係止凸部46の下向面s4を天板面fに係止させることによって、当該フェルトパネル4を天板面f上に起立状態で設置することができる。 More specifically, the felt panel 4 is a panel having a plurality of areas 44 and 45 adjacent to each other in the left-right direction, and the easily deformable region 41 has a strip shape extending vertically having a substantially vertical cut line 42. The easily deformable region 41 is arranged at the adjacent boundary portion of the regions 44 and 45. Specifically, the felt panel 4 is divided into an intermediate area 44 and end areas 45 located on both sides of the intermediate area 44 by two parallel easily deformable areas 41 extending vertically, and is easily deformable. By deforming the region 41, the overall shape can be changed to a bent posture (see FIG. 36) having a substantially Z shape in a plan view. A locking convex portion 46 is formed by penetrating a columnar felt material in the vicinity of the lower end portion of the end region 45, and the lower end portion 45a (below the locking convex portion 46) of the end region 45 is formed. The protrusion t4) located below the facing surface s4 is fitted into the groove m of either the table S2T or M2T, and the downward surface s4 of the locking convex portion 46 is locked to the top plate surface f. The felt panel 4 can be installed on the top plate surface f in an upright state.

なお、フェルトパネル4の厚み寸法4cは、テーブルS2T、M2Tの溝mの標準溝幅nと同じか若干大きく設定してあるため、係止凸部46の下向面s4よりも下方に突出する突部t4を構成する端部区域45の下端部45aは、所望の溝m(有底溝11、12、111、112、貫通溝10、110)に嵌合又は圧入することができ、補助器具を一切用いることなく天板面f上にがたつきなく設置することができる。この実施形態の突部t4は、溝mの幅寸法に対応する幅寸法w4を有した板状のものである。 Since the thickness dimension 4c of the felt panel 4 is set to be the same as or slightly larger than the standard groove width n of the grooves m of the tables S2T and M2T, it protrudes downward from the downward surface s4 of the locking convex portion 46. The lower end portion 45a of the end region 45 constituting the protrusion t4 can be fitted or press-fitted into a desired groove m (bottomed grooves 11, 12, 111, 112, through grooves 10, 110), and is an auxiliary device. Can be installed without rattling on the top plate surface f without using any of the above. The protrusion t4 of this embodiment has a plate shape having a width dimension w4 corresponding to the width dimension of the groove m.

図35は、初期姿勢のフェルトパネル4を貫通溝10を利用してテーブルS2Tの中央に立設してデスクトップパネルとして使用する例を示している。この使用態様では、貫通溝10に沿って自由に設置位置を変更することが可能である。また、係止凸部46の下向面s4よりも下方に突出する突部t4の突出寸法を有底溝11、12の深さ寸法以内に設定しておけば、有底溝11、12を利用して当該フェルトパネル4を立設することもできる。 FIG. 35 shows an example in which the felt panel 4 in the initial posture is erected in the center of the table S2T using the through groove 10 and used as a desktop panel. In this usage mode, the installation position can be freely changed along the through groove 10. Further, if the protruding dimension of the protrusion t4 protruding below the downward surface s4 of the locking convex portion 46 is set within the depth dimension of the bottomed grooves 11 and 12, the bottomed grooves 11 and 12 can be formed. The felt panel 4 can also be erected by using it.

図36は、屈曲姿勢のフェルトパネル4を2本の有底溝12を利用してテーブルS2Tの天板面f上に立設して、サイドパネル的に使用する例を示している。この場合も、両有底溝12に対する嵌合位置を変更することによって、フェルトパネル4の設置位置を左右方向に変えることができる。また、端部領域45の突部t4を嵌合させる溝mを適宜選択することによって、中間領域44の向きを変更することもでき、多様な間仕切として便利に使用することができる。 FIG. 36 shows an example in which a felt panel 4 in a bent posture is erected on a top plate surface f of a table S2T using two bottomed grooves 12 and used as a side panel. Also in this case, the installation position of the felt panel 4 can be changed in the left-right direction by changing the fitting position with respect to both bottomed grooves 12. Further, the direction of the intermediate region 44 can be changed by appropriately selecting the groove m into which the protrusion t4 of the end region 45 is fitted, and the intermediate region 44 can be conveniently used as various partitions.

ここで、図37は、このフェルトパネル4を初期姿勢とした状態の正面図であり、図38は、同フェルトパネル4の拡大した側面図である。図39は、同フェルトパネル4の変形容易領域41の一部を示す拡大正面図である。そして、図40は、同フェルトパネル4の変形容易領域41を変形させた状態における当該変形容易領域41及びその近傍の拡大斜視図である。 Here, FIG. 37 is a front view of the felt panel 4 in the initial posture, and FIG. 38 is an enlarged side view of the felt panel 4. FIG. 39 is an enlarged front view showing a part of the easily deformable region 41 of the felt panel 4. FIG. 40 is an enlarged perspective view of the easily deformable region 41 and its vicinity in a deformed state of the easily deformable region 41 of the felt panel 4.

このフェルトパネル4は、テーブルM2Tの貫通溝110や有底溝111、112を利用して当該テーブルM2Tの天板面f上に同様にして設置することもできる。 The felt panel 4 can be similarly installed on the top plate surface f of the table M2T by using the through grooves 110 and the bottomed grooves 111 and 112 of the table M2T.

(2)フェルトパネル暖簾型(図41~図44)
オプション部材であるフェルトパネル5は、前述したテーブルS2T、M2Tの天板1、101上で使用されるパネルであって単一素材で作られ、他の領域よりも変形し易い変形容易領域51を部分的に備えている。このフェルトパネル5は、変形容易領域51を含め全体が一定の厚み寸法を有するものであって、変形容易領域51には、複数本の切込線52が同じ方向を向けて互いに干渉しないように設けられている。具体的には、このフェルトパネル5は、一定厚さを有するフェルト素材により作られており、変形させない初期姿勢(図41、図43及び図44の実線)では、略長方形状をなしている。そして、変形容易領域51に設けられている切込線52は、一方のパネル面5aから他方のパネル面5bに貫通するように形成されたものであり、各切込線52は水平方向に延びている。
(2) Felt panel curtain type (FIGS. 41 to 44)
The felt panel 5, which is an optional member, is a panel used on the top plates 1 and 101 of the tables S2T and M2T described above, and is made of a single material, and has a deformable region 51 that is more easily deformed than other regions. Partially prepared. The felt panel 5 has a constant thickness dimension as a whole including the easily deformable region 51, so that a plurality of cut lines 52 face the same direction and do not interfere with each other in the easily deformable region 51. It is provided. Specifically, the felt panel 5 is made of a felt material having a certain thickness, and has a substantially rectangular shape in the initial posture without deformation (solid lines in FIGS. 41, 43 and 44). The cut line 52 provided in the easily deformable region 51 is formed so as to penetrate from one panel surface 5a to the other panel surface 5b, and each cut line 52 extends in the horizontal direction. ing.

詳述すれば、このフェルトパネル5は、下縁部5eに、素材を分断する分断線54を左右方向に間隔をあけて複数本(2本)設けてこれら分断線54間に下縁55aが開放された暖簾部55を形成したものであって、変形容易領域51が、暖簾部55を厚み方向に変形させうるように設けられている。図示例では暖簾部55の全体に変形容易領域51を設けているが、暖簾部55の上部にだけ変形容易領域を設けてもよい。 More specifically, in the felt panel 5, a plurality (two) of dividing lines 54 for dividing the material are provided on the lower edge portion 5e at intervals in the left-right direction, and the lower edge 55a is provided between these dividing lines 54. The open curtain portion 55 is formed, and the easily deformable region 51 is provided so that the curtain portion 55 can be deformed in the thickness direction. In the illustrated example, the easily deformable region 51 is provided on the entire Noren portion 55, but the easily deformable region may be provided only on the upper part of the Noren portion 55.

このフェルトパネル5は、暖簾部55の両側に位置する端部区域56の下端近傍部に、円柱状のフェルト素材を貫設することによって、係止凸部57が形成されており、端部区域56の下端部56a(係止凸部57の下向面s5より下方に位置する突部t5)をテーブルS2Tのいずれかの溝mに嵌入させ係止凸部57の下向面s5を天板面fに係止させることによって、当該フェルトパネル5を天板面f上に起立状態で設置することができる。 In this felt panel 5, a locking convex portion 57 is formed by penetrating a columnar felt material in the vicinity of the lower end of the end area 56 located on both sides of the curtain portion 55, and the end area is formed. The lower end portion 56a of the 56 (the protrusion t5 located below the downward surface s5 of the locking convex portion 57) is fitted into any groove m of the table S2T, and the downward surface s5 of the locking convex portion 57 is placed on the top plate. By locking the felt panel 5 on the surface f, the felt panel 5 can be installed on the top plate surface f in an upright state.

フェルトパネル5の厚み寸法5cは、テーブルS2Tの溝mの標準溝幅nと同じか若干大きく設定してあるため、係止凸部57の下向面s5よりも下方に突出する突部t5を構成する端部区域56の下端部56aは、所望の溝m(有底溝11、12、111、112、貫通溝10、110)に嵌合又は圧入することができ、補助器具を一切用いることなく天板面f上にがたつきなく設置することができる。 Since the thickness dimension 5c of the felt panel 5 is set to be the same as or slightly larger than the standard groove width n of the groove m of the table S2T, the protrusion t5 protruding downward from the downward surface s5 of the locking convex portion 57 is provided. The lower end portion 56a of the constituent end area 56 can be fitted or press-fitted into a desired groove m (bottomed grooves 11, 12, 111, 112, through grooves 10, 110), and no auxiliary equipment is used. It can be installed without rattling on the top plate surface f.

しかして、この実施形態の突部t5も、溝mの幅寸法(標準溝幅n)に対応する幅寸法w5を有した板状のものである。 The protrusion t5 of this embodiment is also a plate having a width dimension w5 corresponding to the width dimension of the groove m (standard groove width n).

なお、この実施形態の場合は、暖簾部55の下端も端部領域56の下端と同じ高さ位置に設定してあるため、端部領域56の下端部56aだけでなく暖簾部55の下端部をも溝mに係合させて使用することもできる。 In the case of this embodiment, since the lower end of the curtain portion 55 is also set at the same height as the lower end of the end region 56, not only the lower end portion 56a of the end region 56 but also the lower end portion of the curtain portion 55 is set. Can also be used by engaging with the groove m.

図41は、このフェルトパネル5を、集成材天板2枚タイプのテーブルS2Tに装着して使用する例を示している。この場合、暖簾部55が開口部p(部分貫通溝13の拡大溝幅部13b)に対応するようにして端部区域56の下端部56a(突部t5)を溝m(部分貫通溝13の標準溝幅部13aと有底溝11)に係合させている。この使用態様によれば、図42に示すように暖簾部55を厚み方向に変形させることができるため、蓋体14を開成させて開口部pを開放した状態で床下からの配線類等を円滑に天板面f上に導くことが可能となる。 FIG. 41 shows an example in which the felt panel 5 is attached to a table S2T having two laminated lumber top plates and used. In this case, the lower end portion 56a (protrusion portion t5) of the end region 56 is formed in the groove m (partial through groove 13) so that the curtain portion 55 corresponds to the opening portion p (enlarged groove width portion 13b of the partial through groove 13). It is engaged with the standard groove width portion 13a and the bottomed groove 11). According to this usage mode, since the curtain portion 55 can be deformed in the thickness direction as shown in FIG. 42, wiring and the like from under the floor can be smoothly performed with the lid 14 opened and the opening p opened. It is possible to guide it on the top plate surface f.

このフェルトパネル5をテーブルM2Tの天板面f上で使用する場合には、暖簾部55を貫通孔110の拡大溝幅部110bに対応させて設置するのが望ましい。 When the felt panel 5 is used on the top plate surface f of the table M2T, it is desirable to install the curtain portion 55 so as to correspond to the enlarged groove width portion 110b of the through hole 110.

ここで、図43は、このフェルトパネル5の正面図であり、図44は、同フェルトパネル5の拡大した部分側面図である。この図44には、暖簾部55を厚み方向に変形させた状態を想像線で示している。 Here, FIG. 43 is a front view of the felt panel 5, and FIG. 44 is an enlarged partial side view of the felt panel 5. In FIG. 44, a state in which the curtain portion 55 is deformed in the thickness direction is shown by an imaginary line.

(3)アクリルパネル(図45~図48)
オプション部材であるアクリルパネル6は、上面1c、101cに溝m(貫通溝10、110、有底溝11、12、111、112)を有する天板1、101上で使用されるものであって、天板1,101の上面1c、101c、すなわち天板面fに当接する下向面s6を有するとともに、その下向面s6よりも下方に突出する突部t6を備えてなり、突部t6を溝mに係合し得るように構成されている。突部t6は、弾性変形可能な厚板状又はブロック状のものであり、突部t6を溝mに弾性係合させ得るように構成されている。
(3) Acrylic panel (Figs. 45-48)
The acrylic panel 6, which is an optional member, is used on the top plates 1, 101 having grooves m (through grooves 10, 110, bottomed grooves 11, 12, 111, 112) on the upper surfaces 1c and 101c. , The upper surfaces 1c and 101c of the top plates 1, 101, that is, the downward surface s6 that abuts on the top plate surface f, and also has a protrusion t6 that protrudes downward from the downward surface s6. Is configured to be able to engage the groove m. The protrusion t6 has a plate-like or block-like shape that can be elastically deformed, and is configured so that the protrusion t6 can be elastically engaged with the groove m.

溝mは、前述した貫通溝10、110であっても有底溝11、12、111、112でもよく、突部t6は貫通溝10、110及び有底溝11、12、111、112の標準溝幅nよりも若干大きな幅寸法w6を備えている。突部t6の幅寸法w6は、溝mの標準溝幅nと同じでもよいが、若干大きく設定することによって当該突部t6を対応する溝mにがたつきなく弾性係合させることができる。 The groove m may be the above-mentioned through grooves 10, 110 or the bottomed grooves 11, 12, 111, 112, and the protrusion t6 is a standard of the through grooves 10, 110 and the bottomed grooves 11, 12, 111, 112. It has a width dimension w6 slightly larger than the groove width n. The width dimension w6 of the protrusion t6 may be the same as the standard groove width n of the groove m, but by setting it slightly larger, the protrusion t6 can be elastically engaged with the corresponding groove m without rattling.

詳述すれば、このアクリルパネル6は、アクリル製のパネル本体61と、このパネル本体61の両側端近傍における下端部に嵌着したフェルト製の脚62とを備えたもので、両脚62の下面側に、天板面fに当接する下向面s6と、この下向面s6よりも下方に突出する前述の突部t6とを備えている。パネル本体61は、透明であっても半透明であってもよい。具体的には、図48に示すように、パネル本体61の下端側に脚62の厚みに対応する幅寸法の取付スリット61aを下方に開口させて形成するともに、脚62にパネル本体61の厚みに対応する幅寸法の取付スリット62aを形成しておき、これらの取付スリット61a、62aを噛合わせることによって各脚62がパネル本体61にそれぞれ取り付けられている。 More specifically, the acrylic panel 6 includes an acrylic panel body 61 and felt legs 62 fitted to the lower ends in the vicinity of both side ends of the panel body 61, and is the lower surface of both legs 62. On the side, a downward surface s6 that abuts on the top plate surface f and the above-mentioned protrusion t6 that protrudes downward from the downward surface s6 are provided. The panel body 61 may be transparent or translucent. Specifically, as shown in FIG. 48, a mounting slit 61a having a width dimension corresponding to the thickness of the leg 62 is formed by opening downward on the lower end side of the panel body 61, and the thickness of the panel body 61 is formed on the leg 62. A mounting slit 62a having a width dimension corresponding to the above is formed, and each leg 62 is attached to the panel main body 61 by engaging the mounting slits 61a and 62a.

図45は、このアクリルパネル6を、テーブルS2Tの奥行方向中央に位置する貫通溝10に装着してデスクトップパネル的に使用した例であるが、このアクリルパネル6は、他の溝mを利用して天板面fの適宜な位置に立設することができる。 FIG. 45 shows an example in which the acrylic panel 6 is attached to a through groove 10 located in the center of the table S2T in the depth direction and used as a desktop panel. The acrylic panel 6 uses another groove m. It can be erected at an appropriate position on the top plate surface f.

ここで、図46は、このアクリルパネル6の正面図であり、図47は、同アクリルパネル6の拡大した部分側面図である。図48は、このアクリルパネル6の分解斜視図である。 Here, FIG. 46 is a front view of the acrylic panel 6, and FIG. 47 is an enlarged partial side view of the acrylic panel 6. FIG. 48 is an exploded perspective view of the acrylic panel 6.

(4)書見台(図49~図52)
オプション部材である書見台7は、複数の溝m(貫通溝10、110、有底溝11、12、111、112)を有する天板1、101の天板面f上で使用されるものであって、天板1、101の上面1c、101c、すなわち天板面fに当接する下向面s7を有するとともに、その下向面s7よりも下方に突出する突部t7を備えてなり、突部t7を溝mに係合し得るように構成されている。
(4) Lectern (Figs. 49-52)
The lectern 7 which is an optional member is used on the top plate surface f of the top plates 1 and 101 having a plurality of grooves m (through grooves 10, 110, bottomed grooves 11, 12, 111, 112). It has a downward surface s7 that abuts on the upper surfaces 1c and 101c of the top plates 1 and 101, that is, the top plate surface f, and also has a protrusion t7 that protrudes downward from the downward surface s7. The protrusion t7 is configured to be able to engage with the groove m.

詳述すれば、書見台7は、天板面f上に載置される基板71と、この基板71の前縁から後傾姿勢で起立する起立板72とを備えたものであり、基板71の下面側に天板面fに当接する下向面s7が形成されているとともに、基板71の後縁に下向面s7よりも下方に突出する突部t7が垂設されている。突部t7を含む基板71及び起立板72は、板金素材に折曲加工を施すことにより一体に作られたものである。起立板72の下端中央部には、基板71から切り起こした転倒抑制板73が一体に設けられている。 More specifically, the lectern 7 includes a substrate 71 mounted on the top plate surface f and an upright plate 72 standing upright from the leading edge of the substrate 71 in a backward tilted posture. A downward surface s7 that abuts on the top plate surface f is formed on the lower surface side of the 71, and a protrusion t7 that protrudes below the downward surface s7 is vertically provided on the trailing edge of the substrate 71. The substrate 71 and the upright plate 72 including the protrusion t7 are integrally made by bending a sheet metal material. A fall suppressing plate 73 cut up from the substrate 71 is integrally provided at the center of the lower end of the upright plate 72.

図49は、この書見台7(x)を、テーブルS2Tの有底溝12を利用して天板面f上に位置決め状態で載置した状態を示している。すなわち、書見台7(x)の突部t7は有底溝12に挿入されており、書見台7(x)は前後方向に位置決めされた状態となっているが、有底溝12に沿って左右方向に移動させることが自在である。この書見台7(x)は板金製のものであるため、磁石等を用いて起立板72の前面に書類等を自在に保持させることができる。 FIG. 49 shows a state in which the lectern 7 (x) is placed on the top plate surface f in a positioned state by using the bottomed groove 12 of the table S2T. That is, the protrusion t7 of the lectern 7 (x) is inserted into the bottomed groove 12, and the lectern 7 (x) is positioned in the front-rear direction, but the lectern 7 (x) is positioned in the bottomed groove 12. It can be freely moved in the left-right direction along it. Since the lectern 7 (x) is made of sheet metal, documents and the like can be freely held on the front surface of the standing plate 72 by using a magnet or the like.

図49は、この書見台7(y)を初期の目的とは異なり、パーソナルコンピュータ等の機器類を載置するチルト台として使用する場合をも示している。チルト台として使用する目的で設置した書見台7(y)は、基板71の突部t7の突出幅寸法g7が、有底溝12の標準溝幅n以下に設定されており、起立板72の自由端72a側を天板1の使用端1a側に位置させてその突部t7を基板71とともに有底溝12に挿入することができる。その結果、起立板72を寝かせた状態で天板面f上に載置することができ、起立板72が使用者に対して前傾姿勢となる。そのため、この起立板72上にパーソナルコンピュータ等を前傾姿勢で支持させることが可能となる。このようにして書見台7を、パーソナルコンピュータ等のためのチルト台として使用することもできる。 FIG. 49 also shows a case where the lectern 7 (y) is used as a tilt table on which devices such as a personal computer are placed, unlike the initial purpose. In the lectern 7 (y) installed for the purpose of using as a tilt table, the protrusion width dimension g7 of the protrusion t7 of the substrate 71 is set to be equal to or less than the standard groove width n of the bottom groove 12, and the standing plate 72 The free end 72a side of the top plate 1 can be positioned on the used end 1a side of the top plate 1, and the protrusion t7 can be inserted into the bottom groove 12 together with the substrate 71. As a result, the upright plate 72 can be placed on the top plate surface f in a laid state, and the upright plate 72 is in a forward leaning posture with respect to the user. Therefore, it is possible to support the personal computer or the like on the upright plate 72 in a forward leaning posture. In this way, the lectern 7 can be used as a tilt table for a personal computer or the like.

ここで、図50は、この書見台7の正面図であり、図51は同側面図であり、図52は同底面図である。 Here, FIG. 50 is a front view of the lectern 7, FIG. 51 is a side view, and FIG. 52 is a bottom view.

(5)植栽ボックス(図53~55)
オプション部材である植栽ボックス8は、複数本の溝m(貫通溝10、110、有底溝11、12、111、112)を有する天板面f上で使用されるものであって、天板1、101の上面1c、101cすなわち天板面fに当接する下向面s8を有するとともに、その下向面s8よりも下方に突出する複数の突部t8を備えてなる。そして、突部t8同士の相対位置が、各突部t8を1本の溝mにそれぞれ係合させる第1設置態様(L1)と、各突部を異なった溝に係合させる第2設置態様(L2)とを選択的にとり得るように設定されている。
(5) Planting box (Figs. 53-55)
The planting box 8 which is an optional member is used on the top plate surface f having a plurality of grooves m (through grooves 10, 110, bottomed grooves 11, 12, 111, 112), and is used on the top plate surface f. It has a downward surface s8 that abuts on the upper surfaces 1c and 101c of the plates 1 and 101, that is, the top plate surface f, and is provided with a plurality of protrusions t8 that project downward from the downward surface s8. Then, the relative positions of the protrusions t8 are the first installation mode (L1) in which each protrusion t8 is engaged with one groove m, and the second installation mode in which each protrusion is engaged with a different groove. It is set so that (L2) and (L2) can be selectively taken.

詳述すれば、この植栽ボックス8は、開口窓81aを有する頂板81と、この頂板81の両端から下面側に延出させた端板82と、これら端板82間に架設されこれら端板82及び頂板81と協働して箱形構造物を形成するチャンネル部材83とを備えたものである。頂板81と両端板82とは、板金素材に折曲加工を施すことによって一体に構成されており、板金製のチャンネル部材83はこれら頂板81及び端板82に溶接等により止着されている。 More specifically, the planting box 8 is erected between a top plate 81 having an opening window 81a, an end plate 82 extending from both ends of the top plate 81 to the lower surface side, and these end plates 82. It is provided with a channel member 83 for forming a box-shaped structure in cooperation with the 82 and the top plate 81. The top plate 81 and both end plates 82 are integrally formed by bending the sheet metal material, and the channel member 83 made of sheet metal is fastened to the top plate 81 and the end plate 82 by welding or the like.

両端板82の下端部には、内方に屈曲する屈曲部82aと、屈曲せずに下方に垂下する突部t8とが形成されており、屈曲部82aが天板面fに当接する下向面s8を備えている。突部t8は、この下向面s8よりも下方に突出している。各突部t8の幅寸法w8はテーブルS2T、M2Tの溝mの幅(貫通溝及び有底溝の標準溝幅n)と同じ又はそれ未満に設定されており、前述の第1設置態様(L1)を採り得るようにしている。また、両突部t2の離間距離は、テーブルS2T、M2Tの特定の溝m同士の離間距離に対応させて設定することによって、前述の第2設置態様(L2)をもとり得るようにしている。この実施形態では、テーブルS2T、M2Tの中央の溝m(貫通溝10、110)と使用端1a、101aとの離間距離d1と、第2の有底溝12、112同士の離間距離d2とを等しく設定している。この植栽ボックス8は、自然の植物や人工の植物を飾るための受け皿として用いることができるだけでなく、共有物等を収納しておくための収納容器としても利用することができる。 A bent portion 82a that bends inward and a protruding portion t8 that hangs downward without bending are formed at the lower end portions of the both end plates 82, and the bent portion 82a abuts on the top plate surface f downward. It has a surface s8. The protrusion t8 projects downward from the downward surface s8. The width dimension w8 of each protrusion t8 is set to be the same as or less than the width of the groove m of the tables S2T and M2T (standard groove width n of the through groove and the bottomed groove), and the above-mentioned first installation mode (L1). ) Is available. Further, the separation distance between the two protrusions t2 is set corresponding to the separation distance between the specific grooves m of the tables S2T and M2T, so that the above-mentioned second installation mode (L2) can be adopted. In this embodiment, the separation distance d1 between the central grooves m (through grooves 10, 110) of the tables S2T and M2T and the used ends 1a and 101a and the separation distance d2 between the second bottomed grooves 12 and 112 are provided. It is set equally. The planting box 8 can be used not only as a saucer for decorating natural plants and artificial plants, but also as a storage container for storing common items and the like.

図53は、植栽ボックス8(x)を第1設置態様(L1)でテーブルS2T、M2Tの天板面f上に載置した状態の一例を示している。この状態では、1本の溝m(貫通溝又は有底溝)に両突部t8を挿入して位置決めした状態で、下向面s8を天板面fに当接支持させている。 FIG. 53 shows an example of a state in which the planting box 8 (x) is placed on the top plate surface f of the tables S2T and M2T in the first installation mode (L1). In this state, the downward surface s8 is brought into contact with and supported by the top plate surface f in a state where both protrusions t8 are inserted into one groove m (through groove or bottomed groove) and positioned.

図53には、植栽ボックス8(y)を第2設置態様(L2)でテーブルS2T、M2Tの天板面f上に載置した状態の一例をも示している。この態様では、植栽ボックス8(y)の一方の突部t8をテーブルS2T、M2Tの溝m(貫通溝10,110)に係合させるとともに、他方の突部t8をテーブルS2T、M2Tの使用端1a、101aに係合させて位置決めを行っている。 FIG. 53 also shows an example of a state in which the planting box 8 (y) is placed on the top plate surface f of the tables S2T and M2T in the second installation mode (L2). In this embodiment, one protrusion t8 of the planting box 8 (y) is engaged with the grooves m (through grooves 10, 110) of the tables S2T and M2T, and the other protrusion t8 is used by the tables S2T and M2T. Positioning is performed by engaging with the ends 1a and 101a.

図53には、植栽ボックス8(z)を第2設置態様(L2)でテーブルS2T、M2Tの天板面f上に載置した状態の他の例をも示している。この態様では、植栽ボックス8(z)の一方の突部t8をテーブルS2T、M2Tの一方の天板の溝m(有底溝12)に係合させるとともに、他方の突部t8をテーブルの他方の天板の溝m(有底溝12)に係合させて位置決めを行っている。 FIG. 53 also shows another example in which the planting box 8 (z) is placed on the top plate surface f of the tables S2T and M2T in the second installation mode (L2). In this embodiment, one protrusion t8 of the planting box 8 (z) is engaged with the groove m (bottomed groove 12) of one of the top plates of the tables S2T and M2T, and the other protrusion t8 is of the table. Positioning is performed by engaging with the groove m (bottomed groove 12) of the other top plate.

ここで、図54はこの植栽ボックス8の正面図であり、図55は同拡大側面図である。 Here, FIG. 54 is a front view of the planting box 8, and FIG. 55 is an enlarged side view of the planting box 8.

(6)シェルフ(図56~図58)
オプション部材であるシェルフ9は、複数本の溝m(貫通溝10、110、有底溝11、12、111、112)を有する天板1、101の天板面f上で使用されるものであって、天板1、101の上面1c、101cに当接する下向面s9を有するとともに、その下向面s9よりも下方に突出する複数の突部t9を備えてなる。そして、突部t9同士の相対位置が、各突部t9を1本の溝mにそれぞれ係合させる第1設置態様(L1)と、各突部t9を異なった溝mに係合させる図示しない第2設置態様とを選択的にとり得るように設定されている。
(6) Shelf (FIGS. 56 to 58)
The shelf 9 which is an optional member is used on the top plate surface f of the top plates 1 and 101 having a plurality of grooves m (through grooves 10, 110, bottomed grooves 11, 12, 111, 112). It has a downward surface s9 that abuts on the upper surfaces 1c and 101c of the top plates 1 and 101, and also has a plurality of protrusions t9 that project downward from the downward surface s9. The relative positions of the protrusions t9 are not shown in the first installation mode (L1) in which the protrusions t9 are engaged with one groove m, and the protrusions t9 are engaged with different grooves m. It is set so that the second installation mode can be selectively taken.

詳述すれば、このシェルフ9は、頂板91と、この頂板91の両端から下面側に延出させた端板92と、これら端板92間に架設された補強用のチャンネル部材93とを備えたものである。頂板91と両端板92とは、板金素材に折曲加工を施すことによって一体に構成されており、板金製のチャンネル部材93はこれら頂板91及び端板92に溶接等により止着されている。 More specifically, the shelf 9 includes a top plate 91, an end plate 92 extending from both ends of the top plate 91 to the lower surface side, and a reinforcing channel member 93 erected between the end plates 92. It is a thing. The top plate 91 and both end plates 92 are integrally formed by bending the sheet metal material, and the sheet metal channel member 93 is fastened to the top plate 91 and the end plate 92 by welding or the like.

両端板92の下端部には、内方に屈曲する屈曲部92aと、屈曲せずに下方に垂下する突部t9とが形成されており、屈曲部92aが天板面fに当接する下向面s9を備えている。突部t9は、この下向面s9よりも下方に突出している。 A bent portion 92a that bends inward and a protruding portion t9 that hangs downward without bending are formed at the lower ends of the both end plates 92, and the bent portion 92a abuts on the top plate surface f downward. It has a surface s9. The protrusion t9 projects downward from the downward surface s9.

かかるシェルフ9は、デスクS2T、M2Tの天板面fをより効率的に使用するためのものであり、前述した植栽ボックス8と同様な態様で天板面f上に配置することができる。さらに、このシェルフ9は、図56に示すように、開口部pの上に配置することもできる。 The shelf 9 is for using the top plate surface f of the desks S2T and M2T more efficiently, and can be arranged on the top plate surface f in the same manner as the planting box 8 described above. Further, the shelf 9 can also be placed on the opening p, as shown in FIG.

ここで、図57はこのシェルフ9の正面図であり、図58は同拡大側面図である。 Here, FIG. 57 is a front view of the shelf 9, and FIG. 58 is an enlarged side view of the shelf 9.

<本実施形態に係るテーブル及びオプション部材の作用効果>
このような構成のテーブルS2T、M2Tであれば、天板面fに複数本の溝m(貫通溝10、110と有底溝11、12、111、112)が平行に表出することになり、それらの溝mを適宜使用して前述したオプション部材4~9等を何らの器具を用いることなく位置決めしたり保持したりすることができる。そのため、シンプルな構成であるにも拘わらず、多様なオプション配置を行うことができ、使い勝手が良好なものとなる。
<Action and effect of table and optional members according to this embodiment>
With the tables S2T and M2T having such a configuration, a plurality of grooves m (through grooves 10, 110 and bottomed grooves 11, 12, 111, 112) are exposed in parallel on the top plate surface f. The optional members 4 to 9 and the like described above can be positioned and held without using any equipment by appropriately using those grooves m. Therefore, despite the simple configuration, various options can be arranged and the usability is good.

また、天板1、101間に形成される貫通溝10、110は、天板1、101の下面1d、101d側と上面1c、101c側と連通させる配線挿通口としての役割を果たすだけでなく、床面に立設したデスクトップパネル支持用の支柱等を通過させる隙間として利用することもできる。特に、貫通溝10、110は、天板1、101の左右方向一端から他端まで連続して形成されたものであるため、利用する箇所を自在に選ぶことができ、使い勝手が良い。 Further, the through grooves 10 and 110 formed between the top plates 1 and 101 not only serve as a wiring insertion port for communicating the lower surface 1d and 101d sides of the top plates 1 and 101 with the upper surface 1c and 101c sides. It can also be used as a gap for passing a support column for supporting a desktop panel erected on the floor. In particular, since the through grooves 10 and 110 are continuously formed from one end to the other end in the left-right direction of the top plates 1 and 101, the place to be used can be freely selected, which is convenient.

さらに、有底溝11、12、111、112は、前述したようなオプション部材4~9の保持や位置決めに限らず、例えば、スマートホンSPや図示しないタブレット端末等を立てかけるために使用することもできる。特に、この実施形態では、各天板1、101に複数本の有底溝11、12、111、112が平行に設けてあるため、使用箇所を左右方向のみならず奥行方向にも変更することができ、多様な使い方ができる。 Further, the bottomed grooves 11, 12, 111, 112 are not limited to holding and positioning the optional members 4 to 9 as described above, but can also be used, for example, to lean a smartphone SP, a tablet terminal (not shown), or the like. can. In particular, in this embodiment, since a plurality of bottomed grooves 11, 12, 111, and 112 are provided in parallel on each of the top plates 1, 101, the place of use is changed not only in the left-right direction but also in the depth direction. Can be used in various ways.

貫通溝10、110は、集成材天板2枚タイプのテーブルS2Tのように全体が一定の標準溝幅nを有したものであってもよいが、メラミン天板2枚タイプのテーブルM2Tのように一部が標準溝幅nを有したものであってもよい。しかして、メラミン天板2枚タイプのテーブルM2Tにおける貫通溝110は、標準溝幅nを有する標準溝幅部110aと、この標準溝幅部110aよりも幅の広い拡大溝幅部110bとを有するものであり、拡大溝幅部110bの存在により天板101の上下面を連通させる開口部pが形成されている。そのため、開口部pを利用して配線のみならず、比較的嵩高いコンセントやコネクタ、あるいは床面に立設した支柱等を挿通させることも可能となる。 The through grooves 10 and 110 may have a constant standard groove width n as a whole like the laminated lumber top plate type table S2T, but like the melamine top plate two-sheet type table M2T. May be partially provided with a standard groove width n. The through groove 110 in the table M2T having two melamine top plates has a standard groove width portion 110a having a standard groove width n and an enlarged groove width portion 110b wider than the standard groove width portion 110a. The presence of the enlarged groove width portion 110b forms an opening p that allows the upper and lower surfaces of the top plate 101 to communicate with each other. Therefore, it is possible to insert not only wiring but also a relatively bulky outlet or connector, or a support column erected on the floor surface by using the opening p.

また、貫通溝10、110の標準溝幅nと有底溝11、12、111、112の標準溝幅nを統一しているので、見栄えが良好なものになるだけでなく、種々のオプション類4~9を保持させたり位置決めする場合に、貫通溝10、110と有底溝11、12、111、112とを区別することなく自在に利用できる確率が高くなり、利便性が向上する。 Further, since the standard groove width n of the through grooves 10 and 110 and the standard groove width n of the bottomed grooves 11, 12, 111 and 112 are unified, not only the appearance is good but also various options are available. When holding or positioning 4 to 9, there is a high probability that the through grooves 10, 110 and the bottomed grooves 11, 12, 111, 112 can be freely used without distinction, and the convenience is improved.

さらに、集成材天板2枚タイプのテーブルS2Tのように、有底溝11の途中に、当該有底溝11と略同じ標準溝幅nを有する標準溝幅部13aと、この標準溝幅部13aよりも幅の広い拡大溝幅部13bとを有する部分貫通溝13を設けておけば、有底溝11部分においても、天板1の上下面を連通させる開口部pを形成することができる。しかも、部分貫通溝13の標準溝幅部13aを有底溝11に連続させておけば、有底溝11と部分貫通溝13との境界が見栄えの良いものになるだけでなく、この部分貫通溝13を利用して天板1を上下から挟持するクランプkを無理なく装着することが可能となる。このクランプkは、図13に示すように、部分貫通溝13の拡大溝幅部13bにより形成される開口部pから挿入され、左右方向にスライド移動させて、図14に示すように部分貫通溝13の標準溝幅部13aに装着されるものであり、図示しないディスプレイやコンセントC等の支持に用いられる。 Further, like the table S2T with two laminated lumber top plates, a standard groove width portion 13a having substantially the same standard groove width n as the bottomed groove 11 and a standard groove width portion thereof are provided in the middle of the bottomed groove 11. If a partial through groove 13 having an enlarged groove width portion 13b wider than 13a is provided, an opening p for communicating the upper and lower surfaces of the top plate 1 can be formed even in the bottomed groove 11 portion. .. Moreover, if the standard groove width portion 13a of the partial through groove 13 is made continuous with the bottomed groove 11, the boundary between the bottomed groove 11 and the partial through groove 13 not only looks good, but also the partial penetration. It is possible to comfortably mount the clamp k that holds the top plate 1 from above and below by using the groove 13. As shown in FIG. 13, this clamp k is inserted from the opening p formed by the enlarged groove width portion 13b of the partial through groove 13, and is slid in the left-right direction to be slid to the left and right, and the partial through groove is shown in FIG. It is attached to the standard groove width portion 13a of 13, and is used for supporting a display, an outlet C, or the like (not shown).

また、集成材天板2枚タイプのテーブルS2Tのように、部分貫通溝13の拡大溝幅部13bに、蓋体14を開閉可能に配しておけば、拡大溝幅部13bにより形成される開口部pを必要な時だけ開放することができる。そして、蓋体14を閉じると、拡大溝幅13b部の実質的な開口幅を標準溝幅nにまで縮小させることができるので、天板面fが整然としたものとなり、消毒等の清掃作業も円滑に行うことができる。 Further, if the lid 14 is arranged to be openable and closable in the expanded groove width portion 13b of the partial through groove 13 as in the table S2T of the laminated lumber top plate type, it is formed by the expanded groove width portion 13b. The opening p can be opened only when necessary. Then, when the lid 14 is closed, the substantial opening width of the enlarged groove width 13b can be reduced to the standard groove width n, so that the top plate surface f becomes orderly and cleaning work such as disinfection can be performed. It can be done smoothly.

そして、集成材天板2枚タイプのテーブルS2Tでは、有底溝11、12の左右両端が、天板1の左右両端まで達して開放されているため、有底溝11、12内に溜まった埃も容易に側方に掃き出すことができる。一方、メラミン天板2枚タイプのテーブルM2Tでは、有底溝111、112の左右両端が天板101の左右両端近傍において閉塞されているが、閉塞された有底溝111、112の両端部は、その深さ寸法が漸次小さくなって最端位置で略零になるようにしてあるため、かかる有底溝111、112内の異物も容易に排出することができる。 In the table S2T with two laminated lumber top plates, the left and right ends of the bottomed grooves 11 and 12 reach the left and right ends of the top plate 1 and are opened, so that they are accumulated in the bottomed grooves 11 and 12. Dust can also be easily swept to the side. On the other hand, in the table M2T having two melamine top plates, the left and right ends of the bottomed grooves 111 and 112 are closed in the vicinity of the left and right ends of the top plate 101, but both ends of the closed bottomed grooves 111 and 112 are closed. Since the depth dimension is gradually reduced to substantially zero at the end position, foreign matter in the bottomed grooves 111 and 112 can be easily discharged.

加えて、オプション部材であるフェルトパネル4、5は、単一素材であるフェルトにより作られ、他の領域よりも変形し易い変形容易領域41、51を部分的に備えているので、格別なヒンジ要素等を設けることなく全体の形状を前述したように変化させることができる。そのため、構造の複雑化や部品点数の増加を招くことなしに、テーブルS2T、M2Tの天板面fに形成された溝mを利用して多様な姿勢で天板面f上に立設して使用することができる。 In addition, the optional felt panels 4 and 5 are made of felt, which is a single material, and are partially provided with easily deformable regions 41 and 51 that are more easily deformed than other regions, so that the hinges are exceptional. The overall shape can be changed as described above without providing elements or the like. Therefore, the tables S2T and M2T can be erected on the top plate surface f in various postures by utilizing the grooves m formed on the top plate surface f of the tables S2T and M2T without complicating the structure or increasing the number of parts. Can be used.

なお、オプション部材の取付け対象となる天板は、前述したようなテーブルの天板に限られないのは勿論であり、個人用のテーブルその他であってもよい。 The top plate to which the optional member is attached is not limited to the table top plate as described above, and may be a personal table or the like.

また、素材はフェルトに限られず他のものであってもよいが、フェルトであれば厚み方向にも適度に弾性変形させることができるので、溝に嵌合或いは圧入して使用するのに好適なものとなる。 Further, the material is not limited to felt and may be other materials, but if felt is used, it can be appropriately elastically deformed in the thickness direction, so that it is suitable for fitting or press-fitting into a groove. It becomes a thing.

さらに、変形容易領域の構成も図示例に限られないが、前述のように多数の切込線を相互に干渉しないように配置したものにすれば、製造も容易である上に、見栄えも良好であり、変形させていない場合には、当該変形容易領域が目立たないものとなる。 Further, the configuration of the easily deformable region is not limited to the illustrated example, but if a large number of cut lines are arranged so as not to interfere with each other as described above, the manufacturing is easy and the appearance is good. When it is not deformed, the easily deformable region becomes inconspicuous.

その他、本発明の趣旨を損ねない範囲で種々に変形してよい。 In addition, various modifications may be made as long as the gist of the present invention is not impaired.

1、101…天板
4…パネル(フェルトパネル)
41…変形容易領域
42…切込線
44…区域(中間区域)
45…区域(端部区域)
4a…一方のパネル面
4b…他方のパネル面
4c…厚み寸法
5…パネル(フェルトパネル)
51…変形容易領域
52…切込線
54…分断線
55…暖簾部
5a…一方のパネル面
5b…他方のパネル面
5c…厚み寸法
5e…下縁部
f…天板面
m…溝
1, 101 ... Top plate 4 ... Panel (felt panel)
41 ... Easy-to-deform area 42 ... Cut line 44 ... Area (intermediate area)
45 ... Area (end area)
4a ... One panel surface 4b ... The other panel surface 4c ... Thickness dimension 5 ... Panel (felt panel)
51 ... Easy-to-deform area 52 ... Cut line 54 ... Divided line 55 ... Noren part 5a ... One panel surface 5b ... The other panel surface 5c ... Thickness dimension 5e ... Lower edge part f ... Top plate surface m ... Groove

Claims (7)

天板上で使用されるパネルであって。
単一素材で作られ、他の領域よりも変形し易い変形容易領域を部分的に備えているパネル。
It is a panel used on the top plate.
A panel made of a single material and partially equipped with a deformable area that is more easily deformed than other areas.
前記変形容易領域を含め全体が一定の厚み寸法を有するものであって、
前記変形容易領域には、複数本の切込線が同じ方向を向けて互いに干渉しないように設けられている請求項1記載のパネル。
The whole including the easily deformable region has a certain thickness dimension, and has a certain thickness dimension.
The panel according to claim 1, wherein a plurality of cut lines are provided in the easily deformable region so as to face the same direction and do not interfere with each other.
前記切込線が、一方のパネル面から他方のパネル面に貫通するように形成されたものである請求項1又は2記載のパネル。 The panel according to claim 1 or 2, wherein the cut line is formed so as to penetrate from one panel surface to the other panel surface. 一定厚さを有するフェルト素材により作られている請求項1、2又は3記載のパネル。 The panel according to claim 1, 2 or 3, which is made of a felt material having a certain thickness. 左右方向に隣接する複数の区域を有したパネルであって、
前記変形容易領域が、略鉛直な切込線を有した上下に延びる帯状の領域であり、
前記変形容易領域を、前記区域の隣接境界部分に配している請求項2、3又は4記載のパネル。
A panel with multiple areas adjacent to each other in the left-right direction.
The easily deformable region is a strip-shaped region having a substantially vertical cut line and extending vertically.
The panel according to claim 2, 3 or 4, wherein the deformable area is arranged at an adjacent boundary portion of the area.
下縁部に、素材を分断する分断線を左右方向に間隔をあけて複数本設けてこれら分断線間に下縁が開放された暖簾部を形成したパネルであって、
前記変形容易領域が、前記暖簾部の全体又は上部に略水平な切込線を有した変形容易領域を配している請求項2、3又は4記載のパネル。
It is a panel in which a plurality of dividing lines for dividing a material are provided on the lower edge portion at intervals in the left-right direction to form a curtain portion in which the lower edge is opened between these dividing lines.
The panel according to claim 2, 3 or 4, wherein the easily deformable region arranges a easily deformable region having a substantially horizontal cut line in the whole or the upper part of the curtain portion.
溝を有する天板面上で使用されるものであって、
一部を前記溝に係合させて天板面上に起立させるように構成されている請求項1、2、3、4、5又は6記載のパネル。
It is used on the surface of the top plate with a groove,
The panel according to claim 1, 2, 3, 4, 5 or 6, wherein a part of the panel is engaged with the groove and is configured to stand up on the surface of the top plate.
JP2020172931A 2020-10-14 2020-10-14 panel Active JP7683186B2 (en)

Priority Applications (1)

Application Number Priority Date Filing Date Title
JP2020172931A JP7683186B2 (en) 2020-10-14 2020-10-14 panel

Applications Claiming Priority (1)

Application Number Priority Date Filing Date Title
JP2020172931A JP7683186B2 (en) 2020-10-14 2020-10-14 panel

Publications (2)

Publication Number Publication Date
JP2022064355A true JP2022064355A (en) 2022-04-26
JP7683186B2 JP7683186B2 (en) 2025-05-27

Family

ID=81386005

Family Applications (1)

Application Number Title Priority Date Filing Date
JP2020172931A Active JP7683186B2 (en) 2020-10-14 2020-10-14 panel

Country Status (1)

Country Link
JP (1) JP7683186B2 (en)

Citations (8)

* Cited by examiner, † Cited by third party
Publication number Priority date Publication date Assignee Title
JPH11334270A (en) * 1998-05-22 1999-12-07 Toru Matsumoto Document housing body
US20060260231A1 (en) * 2005-03-18 2006-11-23 Macallen Todd P Flexible wall system
KR20130005677U (en) * 2012-03-20 2013-09-30 조숙희 Desk assembly for child coupling educational module
US20140318423A1 (en) * 2013-04-30 2014-10-30 Inscape Corporation Table privacy panel
JP2016158659A (en) * 2015-02-26 2016-09-05 株式会社岡村製作所 Mounting structure and furniture
US20180344028A1 (en) * 2017-06-01 2018-12-06 Kaleb Stener Vold Storage Space Dividing Assembly And Method
JP3228025U (en) * 2020-06-26 2020-10-01 光洋産業株式会社 Foldable windowless partition board
JP3228429U (en) * 2020-07-08 2020-10-29 株式会社スリービー Partition

Patent Citations (8)

* Cited by examiner, † Cited by third party
Publication number Priority date Publication date Assignee Title
JPH11334270A (en) * 1998-05-22 1999-12-07 Toru Matsumoto Document housing body
US20060260231A1 (en) * 2005-03-18 2006-11-23 Macallen Todd P Flexible wall system
KR20130005677U (en) * 2012-03-20 2013-09-30 조숙희 Desk assembly for child coupling educational module
US20140318423A1 (en) * 2013-04-30 2014-10-30 Inscape Corporation Table privacy panel
JP2016158659A (en) * 2015-02-26 2016-09-05 株式会社岡村製作所 Mounting structure and furniture
US20180344028A1 (en) * 2017-06-01 2018-12-06 Kaleb Stener Vold Storage Space Dividing Assembly And Method
JP3228025U (en) * 2020-06-26 2020-10-01 光洋産業株式会社 Foldable windowless partition board
JP3228429U (en) * 2020-07-08 2020-10-29 株式会社スリービー Partition

Non-Patent Citations (2)

* Cited by examiner, † Cited by third party
Title
"「フェルトパーティション(デスクパネル・デスクパーテーション・クランプ取付・サイズ・色)100-DPT005」", YOUTUBE [ONLINE] [VIDEO], JPN6024035269, 2 June 2020 (2020-06-02), ISSN: 0005495927 *
"Sofia Bordskarm, STOLESHOPPEN.DK", [ONLINE], JPN6024052284, 4 August 2020 (2020-08-04), ISSN: 0005495926 *

Also Published As

Publication number Publication date
JP7683186B2 (en) 2025-05-27

Similar Documents

Publication Publication Date Title
US11944194B2 (en) Frame type workstation configurations
US7516516B2 (en) Three-dimension adjustable hidden furniture door hinge
US4171150A (en) Mountable storage furniture
CN104042044B (en) Medicine-chest
TW202017456A (en) Storage component for configurable storage system
US20060243177A1 (en) Bookcase with sloping shelves
JP2022064354A (en) table
JPH0439847B2 (en)
JP2022064355A (en) panel
JP2022064350A (en) table
JP2022064356A (en) Optional member
JP2022064353A (en) table
JP2022064352A (en) table
JP2003325258A (en) Appliance with upper screens, and connecting tool used therefor
JP7178875B2 (en) articulated desk
JP2022064351A (en) table
JP2003013525A (en) Partition
JP4358772B2 (en) Extension panel mounting structure
JP6800643B2 (en) Support for shelf board
KR200343486Y1 (en) The structure of assembling table
JP4308987B2 (en) Corner desk
JP7360832B2 (en) Fixtures with top plate
CN211794931U (en) Angle-adjustable foot rest and bar counter
JP6892959B1 (en) Top plate with partition plate
JP7360831B2 (en) Fixtures with top plate

Legal Events

Date Code Title Description
A621 Written request for application examination

Free format text: JAPANESE INTERMEDIATE CODE: A621

Effective date: 20230914

A131 Notification of reasons for refusal

Free format text: JAPANESE INTERMEDIATE CODE: A131

Effective date: 20240903

A521 Request for written amendment filed

Free format text: JAPANESE INTERMEDIATE CODE: A523

Effective date: 20240913

A131 Notification of reasons for refusal

Free format text: JAPANESE INTERMEDIATE CODE: A131

Effective date: 20250107

A521 Request for written amendment filed

Free format text: JAPANESE INTERMEDIATE CODE: A523

Effective date: 20250210

TRDD Decision of grant or rejection written
A01 Written decision to grant a patent or to grant a registration (utility model)

Free format text: JAPANESE INTERMEDIATE CODE: A01

Effective date: 20250415

A61 First payment of annual fees (during grant procedure)

Free format text: JAPANESE INTERMEDIATE CODE: A61

Effective date: 20250428

R150 Certificate of patent or registration of utility model

Ref document number: 7683186

Country of ref document: JP

Free format text: JAPANESE INTERMEDIATE CODE: R150