JP2022030731A - 遊技機 - Google Patents
遊技機 Download PDFInfo
- Publication number
- JP2022030731A JP2022030731A JP2020134929A JP2020134929A JP2022030731A JP 2022030731 A JP2022030731 A JP 2022030731A JP 2020134929 A JP2020134929 A JP 2020134929A JP 2020134929 A JP2020134929 A JP 2020134929A JP 2022030731 A JP2022030731 A JP 2022030731A
- Authority
- JP
- Japan
- Prior art keywords
- game
- data
- shows
- unit
- board
- Prior art date
- Legal status (The legal status is an assumption and is not a legal conclusion. Google has not performed a legal analysis and makes no representation as to the accuracy of the status listed.)
- Pending
Links
- 230000008901 benefit Effects 0.000 claims abstract description 6
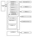
- 238000010586 diagram Methods 0.000 abstract description 88
- 230000007423 decrease Effects 0.000 abstract description 24
- 238000011161 development Methods 0.000 abstract description 3
- 238000000034 method Methods 0.000 description 1120
- 230000008569 process Effects 0.000 description 1023
- 238000004364 calculation method Methods 0.000 description 849
- 230000002093 peripheral effect Effects 0.000 description 449
- 238000012545 processing Methods 0.000 description 390
- 230000008859 change Effects 0.000 description 340
- 238000003860 storage Methods 0.000 description 301
- 230000005856 abnormality Effects 0.000 description 290
- 239000000872 buffer Substances 0.000 description 255
- 230000000694 effects Effects 0.000 description 247
- 230000006870 function Effects 0.000 description 193
- 238000001514 detection method Methods 0.000 description 171
- 239000004973 liquid crystal related substance Substances 0.000 description 161
- 230000002159 abnormal effect Effects 0.000 description 113
- 230000005540 biological transmission Effects 0.000 description 101
- 230000001186 cumulative effect Effects 0.000 description 83
- 230000006854 communication Effects 0.000 description 70
- 238000004891 communication Methods 0.000 description 70
- 238000012790 confirmation Methods 0.000 description 67
- 238000007689 inspection Methods 0.000 description 67
- 230000015654 memory Effects 0.000 description 57
- 238000012986 modification Methods 0.000 description 53
- 230000004048 modification Effects 0.000 description 53
- 230000000875 corresponding effect Effects 0.000 description 48
- 230000002829 reductive effect Effects 0.000 description 46
- 238000012360 testing method Methods 0.000 description 38
- 230000004397 blinking Effects 0.000 description 37
- FFBHFFJDDLITSX-UHFFFAOYSA-N benzyl N-[2-hydroxy-4-(3-oxomorpholin-4-yl)phenyl]carbamate Chemical compound OC1=C(NC(=O)OCC2=CC=CC=C2)C=CC(=C1)N1CCOCC1=O FFBHFFJDDLITSX-UHFFFAOYSA-N 0.000 description 33
- 238000004519 manufacturing process Methods 0.000 description 31
- 230000009467 reduction Effects 0.000 description 30
- 238000006722 reduction reaction Methods 0.000 description 30
- 238000010304 firing Methods 0.000 description 29
- 230000007704 transition Effects 0.000 description 24
- 230000001276 controlling effect Effects 0.000 description 21
- 238000009826 distribution Methods 0.000 description 20
- 230000000630 rising effect Effects 0.000 description 20
- 239000010410 layer Substances 0.000 description 18
- 238000012546 transfer Methods 0.000 description 18
- 238000012544 monitoring process Methods 0.000 description 17
- 238000013461 design Methods 0.000 description 16
- 238000012423 maintenance Methods 0.000 description 15
- 238000007726 management method Methods 0.000 description 13
- 230000001976 improved effect Effects 0.000 description 10
- 239000003990 capacitor Substances 0.000 description 9
- 210000003128 head Anatomy 0.000 description 9
- 239000000758 substrate Substances 0.000 description 9
- 230000001360 synchronised effect Effects 0.000 description 9
- 241000722921 Tulipa gesneriana Species 0.000 description 8
- 238000004458 analytical method Methods 0.000 description 8
- 230000006872 improvement Effects 0.000 description 8
- 230000007246 mechanism Effects 0.000 description 8
- 238000001994 activation Methods 0.000 description 7
- 230000003247 decreasing effect Effects 0.000 description 7
- 239000000284 extract Substances 0.000 description 7
- 238000006243 chemical reaction Methods 0.000 description 6
- 238000005034 decoration Methods 0.000 description 6
- 238000007599 discharging Methods 0.000 description 6
- 230000005389 magnetism Effects 0.000 description 6
- 239000000203 mixture Substances 0.000 description 6
- 230000004913 activation Effects 0.000 description 5
- 238000003780 insertion Methods 0.000 description 5
- 230000037431 insertion Effects 0.000 description 5
- 230000007774 longterm Effects 0.000 description 5
- 238000005259 measurement Methods 0.000 description 5
- 229920005989 resin Polymers 0.000 description 5
- 239000011347 resin Substances 0.000 description 5
- 230000000717 retained effect Effects 0.000 description 5
- 230000001960 triggered effect Effects 0.000 description 5
- 208000001613 Gambling Diseases 0.000 description 4
- 238000012937 correction Methods 0.000 description 4
- 238000013480 data collection Methods 0.000 description 4
- 230000003111 delayed effect Effects 0.000 description 4
- 230000007257 malfunction Effects 0.000 description 4
- 230000000149 penetrating effect Effects 0.000 description 4
- 238000003825 pressing Methods 0.000 description 4
- 230000002265 prevention Effects 0.000 description 4
- 238000005096 rolling process Methods 0.000 description 4
- 230000003213 activating effect Effects 0.000 description 3
- 238000009795 derivation Methods 0.000 description 3
- 210000003811 finger Anatomy 0.000 description 3
- 230000007935 neutral effect Effects 0.000 description 3
- 238000002360 preparation method Methods 0.000 description 3
- 238000011084 recovery Methods 0.000 description 3
- 230000004044 response Effects 0.000 description 3
- 238000007789 sealing Methods 0.000 description 3
- 230000009466 transformation Effects 0.000 description 3
- 101100113576 Arabidopsis thaliana CINV2 gene Proteins 0.000 description 2
- 101100452681 Arabidopsis thaliana INVD gene Proteins 0.000 description 2
- 206010012374 Depressed mood Diseases 0.000 description 2
- 238000007792 addition Methods 0.000 description 2
- 239000003086 colorant Substances 0.000 description 2
- 238000007906 compression Methods 0.000 description 2
- 230000006835 compression Effects 0.000 description 2
- 239000000470 constituent Substances 0.000 description 2
- 230000007547 defect Effects 0.000 description 2
- 230000018109 developmental process Effects 0.000 description 2
- 239000011521 glass Substances 0.000 description 2
- 238000009434 installation Methods 0.000 description 2
- 230000010355 oscillation Effects 0.000 description 2
- 239000000047 product Substances 0.000 description 2
- 239000004576 sand Substances 0.000 description 2
- 230000001629 suppression Effects 0.000 description 2
- 238000011144 upstream manufacturing Methods 0.000 description 2
- BDEDPKFUFGCVCJ-UHFFFAOYSA-N 3,6-dihydroxy-8,8-dimethyl-1-oxo-3,4,7,9-tetrahydrocyclopenta[h]isochromene-5-carbaldehyde Chemical compound O=C1OC(O)CC(C(C=O)=C2O)=C1C1=C2CC(C)(C)C1 BDEDPKFUFGCVCJ-UHFFFAOYSA-N 0.000 description 1
- ZHVOBYWXERUHMN-KVJKMEBSSA-N 3-[(3s,5r,8r,9s,10s,13s,14s,17s)-10,13-dimethyl-3-[(2r,3r,4s,5s,6r)-3,4,5-trihydroxy-6-(hydroxymethyl)oxan-2-yl]oxy-2,3,4,5,6,7,8,9,11,12,14,15,16,17-tetradecahydro-1h-cyclopenta[a]phenanthren-17-yl]-2h-furan-5-one Chemical compound O([C@@H]1C[C@H]2CC[C@@H]3[C@@H]([C@]2(CC1)C)CC[C@]1([C@H]3CC[C@@H]1C=1COC(=O)C=1)C)[C@@H]1O[C@H](CO)[C@@H](O)[C@H](O)[C@H]1O ZHVOBYWXERUHMN-KVJKMEBSSA-N 0.000 description 1
- 238000012935 Averaging Methods 0.000 description 1
- 238000006711 Chan reduction reaction Methods 0.000 description 1
- 101000823106 Equus caballus Alpha-1-antiproteinase 2 Proteins 0.000 description 1
- 101000746134 Homo sapiens DNA endonuclease RBBP8 Proteins 0.000 description 1
- 101000998711 Homo sapiens Inversin Proteins 0.000 description 1
- 101000969031 Homo sapiens Nuclear protein 1 Proteins 0.000 description 1
- 102100033257 Inversin Human genes 0.000 description 1
- HBBGRARXTFLTSG-UHFFFAOYSA-N Lithium ion Chemical compound [Li+] HBBGRARXTFLTSG-UHFFFAOYSA-N 0.000 description 1
- 208000035450 Malformed Nails Diseases 0.000 description 1
- 208000002693 Multiple Abnormalities Diseases 0.000 description 1
- 101100205847 Mus musculus Srst gene Proteins 0.000 description 1
- 102100021133 Nuclear protein 1 Human genes 0.000 description 1
- 229910004444 SUB1 Inorganic materials 0.000 description 1
- 102100026785 Unconventional myosin-Ic Human genes 0.000 description 1
- 230000002730 additional effect Effects 0.000 description 1
- 238000013459 approach Methods 0.000 description 1
- 230000006399 behavior Effects 0.000 description 1
- 244000145845 chattering Species 0.000 description 1
- 235000019504 cigarettes Nutrition 0.000 description 1
- 238000013523 data management Methods 0.000 description 1
- 230000007123 defense Effects 0.000 description 1
- 230000002950 deficient Effects 0.000 description 1
- 238000012217 deletion Methods 0.000 description 1
- 230000037430 deletion Effects 0.000 description 1
- 238000005265 energy consumption Methods 0.000 description 1
- 230000001747 exhibiting effect Effects 0.000 description 1
- 238000000605 extraction Methods 0.000 description 1
- 238000007667 floating Methods 0.000 description 1
- 230000012447 hatching Effects 0.000 description 1
- 238000011065 in-situ storage Methods 0.000 description 1
- 238000011423 initialization method Methods 0.000 description 1
- 230000002452 interceptive effect Effects 0.000 description 1
- 238000010030 laminating Methods 0.000 description 1
- 238000007562 laser obscuration time method Methods 0.000 description 1
- 229910001416 lithium ion Inorganic materials 0.000 description 1
- 230000013011 mating Effects 0.000 description 1
- 238000002156 mixing Methods 0.000 description 1
- 239000002245 particle Substances 0.000 description 1
- 230000000737 periodic effect Effects 0.000 description 1
- 238000007639 printing Methods 0.000 description 1
- 230000003014 reinforcing effect Effects 0.000 description 1
- 230000008439 repair process Effects 0.000 description 1
- 230000002441 reversible effect Effects 0.000 description 1
- 238000007493 shaping process Methods 0.000 description 1
- 238000004904 shortening Methods 0.000 description 1
- 230000008054 signal transmission Effects 0.000 description 1
- 238000000638 solvent extraction Methods 0.000 description 1
- 239000000126 substance Substances 0.000 description 1
- 239000002344 surface layer Substances 0.000 description 1
- 239000000725 suspension Substances 0.000 description 1
- 229920003002 synthetic resin Polymers 0.000 description 1
- 239000000057 synthetic resin Substances 0.000 description 1
- 210000003813 thumb Anatomy 0.000 description 1
Images
Landscapes
- Pinball Game Machines (AREA)
Priority Applications (2)
| Application Number | Priority Date | Filing Date | Title |
|---|---|---|---|
| JP2020134929A JP2022030731A (ja) | 2020-08-07 | 2020-08-07 | 遊技機 |
| JP2023188873A JP7569538B2 (ja) | 2020-08-07 | 2023-11-02 | 遊技機 |
Applications Claiming Priority (1)
| Application Number | Priority Date | Filing Date | Title |
|---|---|---|---|
| JP2020134929A JP2022030731A (ja) | 2020-08-07 | 2020-08-07 | 遊技機 |
Related Child Applications (1)
| Application Number | Title | Priority Date | Filing Date |
|---|---|---|---|
| JP2023188873A Division JP7569538B2 (ja) | 2020-08-07 | 2023-11-02 | 遊技機 |
Publications (1)
| Publication Number | Publication Date |
|---|---|
| JP2022030731A true JP2022030731A (ja) | 2022-02-18 |
Family
ID=80324219
Family Applications (2)
| Application Number | Title | Priority Date | Filing Date |
|---|---|---|---|
| JP2020134929A Pending JP2022030731A (ja) | 2020-08-07 | 2020-08-07 | 遊技機 |
| JP2023188873A Active JP7569538B2 (ja) | 2020-08-07 | 2023-11-02 | 遊技機 |
Family Applications After (1)
| Application Number | Title | Priority Date | Filing Date |
|---|---|---|---|
| JP2023188873A Active JP7569538B2 (ja) | 2020-08-07 | 2023-11-02 | 遊技機 |
Country Status (1)
| Country | Link |
|---|---|
| JP (2) | JP2022030731A (enExample) |
Citations (4)
| Publication number | Priority date | Publication date | Assignee | Title |
|---|---|---|---|---|
| JP2004202097A (ja) * | 2002-12-26 | 2004-07-22 | Sun Corp | 遊技情報管理装置 |
| JP2018011841A (ja) * | 2016-07-22 | 2018-01-25 | 株式会社三共 | 遊技機及び遊技用機器 |
| JP2018118166A (ja) * | 2018-05-14 | 2018-08-02 | 株式会社大一商会 | 遊技機 |
| JP2021186363A (ja) * | 2020-06-02 | 2021-12-13 | 株式会社藤商事 | 遊技機 |
Family Cites Families (3)
| Publication number | Priority date | Publication date | Assignee | Title |
|---|---|---|---|---|
| JP2015202288A (ja) * | 2014-04-15 | 2015-11-16 | 株式会社大一商会 | 遊技機 |
| JP5893115B1 (ja) * | 2014-10-30 | 2016-03-23 | 京楽産業.株式会社 | 遊技機 |
| JP7076904B2 (ja) * | 2018-03-22 | 2022-05-30 | 株式会社大一商会 | 遊技機 |
-
2020
- 2020-08-07 JP JP2020134929A patent/JP2022030731A/ja active Pending
-
2023
- 2023-11-02 JP JP2023188873A patent/JP7569538B2/ja active Active
Patent Citations (4)
| Publication number | Priority date | Publication date | Assignee | Title |
|---|---|---|---|---|
| JP2004202097A (ja) * | 2002-12-26 | 2004-07-22 | Sun Corp | 遊技情報管理装置 |
| JP2018011841A (ja) * | 2016-07-22 | 2018-01-25 | 株式会社三共 | 遊技機及び遊技用機器 |
| JP2018118166A (ja) * | 2018-05-14 | 2018-08-02 | 株式会社大一商会 | 遊技機 |
| JP2021186363A (ja) * | 2020-06-02 | 2021-12-13 | 株式会社藤商事 | 遊技機 |
Also Published As
| Publication number | Publication date |
|---|---|
| JP7569538B2 (ja) | 2024-10-18 |
| JP2023181512A (ja) | 2023-12-21 |
Similar Documents
| Publication | Publication Date | Title |
|---|---|---|
| JP2021159440A (ja) | 遊技機 | |
| JP2022030730A (ja) | 遊技機 | |
| JP2021159668A (ja) | 遊技機 | |
| JP2022085003A (ja) | 遊技機 | |
| JP2021159669A (ja) | 遊技機 | |
| JP2021058288A (ja) | 遊技機 | |
| JP2021159439A (ja) | 遊技機 | |
| JP2021159655A (ja) | 遊技機 | |
| JP2021087640A (ja) | 遊技機 | |
| JP2021058286A (ja) | 遊技機 | |
| JP2021159651A (ja) | 遊技機 | |
| JP2021159662A (ja) | 遊技機 | |
| JP2021159660A (ja) | 遊技機 | |
| JP2021159663A (ja) | 遊技機 | |
| JP2021159661A (ja) | 遊技機 | |
| JP2022085010A (ja) | 遊技機 | |
| JP2022085005A (ja) | 遊技機 | |
| JP2022085006A (ja) | 遊技機 | |
| JP2022085004A (ja) | 遊技機 | |
| JP2022085009A (ja) | 遊技機 | |
| JP7058921B2 (ja) | 遊技機 | |
| JP2021159654A (ja) | 遊技機 | |
| JP2021159659A (ja) | 遊技機 | |
| JP2021159653A (ja) | 遊技機 | |
| JP2021159652A (ja) | 遊技機 |
Legal Events
| Date | Code | Title | Description |
|---|---|---|---|
| A621 | Written request for application examination |
Free format text: JAPANESE INTERMEDIATE CODE: A621 Effective date: 20220412 |
|
| A131 | Notification of reasons for refusal |
Free format text: JAPANESE INTERMEDIATE CODE: A131 Effective date: 20230207 |
|
| A02 | Decision of refusal |
Free format text: JAPANESE INTERMEDIATE CODE: A02 Effective date: 20230808 |