JP2021069461A - 遊技機 - Google Patents

遊技機 Download PDF

Info

Publication number
JP2021069461A
JP2021069461A JP2019196177A JP2019196177A JP2021069461A JP 2021069461 A JP2021069461 A JP 2021069461A JP 2019196177 A JP2019196177 A JP 2019196177A JP 2019196177 A JP2019196177 A JP 2019196177A JP 2021069461 A JP2021069461 A JP 2021069461A
Authority
JP
Japan
Prior art keywords
game
data
display
error
setting
Prior art date
Legal status (The legal status is an assumption and is not a legal conclusion. Google has not performed a legal analysis and makes no representation as to the accuracy of the status listed.)
Granted
Application number
JP2019196177A
Other languages
English (en)
Other versions
JP6802507B1 (ja
Inventor
彬雄 伊達
Akio Date
彬雄 伊達
Current Assignee (The listed assignees may be inaccurate. Google has not performed a legal analysis and makes no representation or warranty as to the accuracy of the list.)
Sammy Corp
Original Assignee
Sammy Corp
Priority date (The priority date is an assumption and is not a legal conclusion. Google has not performed a legal analysis and makes no representation as to the accuracy of the date listed.)
Filing date
Publication date
Application filed by Sammy Corp filed Critical Sammy Corp
Priority to JP2019196177A priority Critical patent/JP6802507B1/ja
Application granted granted Critical
Publication of JP6802507B1 publication Critical patent/JP6802507B1/ja
Publication of JP2021069461A publication Critical patent/JP2021069461A/ja
Active legal-status Critical Current
Anticipated expiration legal-status Critical

Links

Images

Landscapes

  • Slot Machines And Peripheral Devices (AREA)

Abstract

【課題】より最適化された機能を有する遊技機を提供する。【解決手段】第1回胴51L〜第3回胴51Rと、スタートレバー25と、第1停止ボタン24L〜第3停止ボタン24Rと、設定キーシリンダと、設定表示LEDと、設定/リセットボタンと、を備え、設定キーシリンダを操作しながら電源ONすると設定変更装置作動の状況となり、設定変更装置作動中の設定/リセットボタンの操作により設定値が変更され、設定変更装置作動中のスタートレバー25の操作により設定値が確定され、電源OFFしたときの設定値が「1」であり電源OFF中にスタートレバー25が操作されている状況下で設定変更装置が起動されても、設定値が「1」で確定されない。【選択図】図1

Description

本発明は、遊技媒体を投入し、リールを回転させた後に停止させ、そのときに表示されているリールに描かれた図柄の組合せによって遊技結果を定めるスロットマシンやぱちんこ遊技機等の遊技機に関する。
従来から、遊技機の1つとしてスロットマシン(回胴式遊技機)が知られている。このスロットマシンにおいては、遊技者が遊技メダル等の遊技媒体を投入し、スタートレバーの操作により、図柄が描かれた複数の回胴(リール)を回転させる。その後、遊技者が停止ボタンを操作して各回胴を停止させ、停止した図柄の組合せ(表示結果)によっては、所定数の遊技メダル等の払出しを受けることが可能となっている。また、スロットマシンにおいては、このような基本的な遊技に加えて各種の演出を行うことにより、全体としての趣向性の向上が図られている。
特開2017−018540号公報 特開2011−254851号公報
ところで、この種のスロットマシンにおいては、遊技媒体(遊技メダル等)の投入受付、回胴(リール)の回転、演出制御、回胴の停止、遊技メダル等の払出し、といった個々の基本動作が一連の動作として繰り返される。そして、いかなる場合もこれらの動作が適正に行われることが望ましいが、様々な状況が複合して発生した場合には想定外の動作を行ってしまうことも考えられる。したがって、可能な限り多くの複合的な状況を想定し、そのときにどのような動作を行うこととするのかを予め決めておくことが有効である。また、スロットマシンンが設置される遊技場では、設置時における施錠装置(特許文献2のシリンダ錠7など)の交換や、営業のための設定変更などといった各種の準備作業が行われるが、各種の準備作業の負担を減らすことで、遊技場店員の労力を他の準備作業や、適正な遊技運営などに振り向けることができる。したがって、各種の準備作業を可能な限り容易なものとすることが望ましい。
本発明はこうした課題に鑑みてなされたものであり、その目的とするところは、より最適化された機能を有する遊技機を提供することにある。
上記課題を解決するために本発明は、複数のリールと、
スタートレバーと、
複数のストップボタンと、
設定モード起動スイッチ(設定キーシリンダなど)と、
設定値の表示が可能な設定値表示手段(設定表示LEDなど)と、
設定値の変更を可能とする設定変更スイッチ(設定/リセットボタンなど)と、を備え、
前記設定モード起動スイッチを操作しながら電源ONすると設定変更モードが起動し(設定変更装置作動の状況となることなど)、
前記設定変更モード中の前記設定変更スイッチの操作により設定値が変更され、
前記設定変更モード中の前記スタートレバーの操作により設定値が確定され、
電源OFFしたときの設定値が所定値(「1」など)であり電源OFF中に前記スタートレバーと前記設定変更スイッチが操作されている状況下で前記設定変更モードが起動されると、設定値が表示される前に前記スタートレバーの操作があったことをモニタ部(主制御基板上のモニタ部など)に示し、設定値が前記所定値で表示されても前記所定値で確定されないことを特徴とする遊技機である。
本発明によれば、より最適化された機能を有する遊技機を提供できる。
本発明の一実施例に係るスロットマシンの斜視図である。 前面ドア部を開放した状態のスロットマシンの斜視図である。 前面ドア部の背面図である。 筐体部の内部を示す正面図である。 (a)は各制御基板の電気的構成を概略的に示すブロック図、(b)は主制御基板における部品構成の概要を示す説明図である。 遊技メダルセレクターを示す斜視図である。 遊技メダルセレクターを開放して示す斜視図である。 (a)は遊技メダルが正常投入された場合における投入センサ1及び2の検出態様を示す図表、(b)はエラーとされない投入センサ1及び2の他の検出態様を示す図表、(c)はC0エラーの検出態様を示すタイミングチャートである。 (a)はC1エラーの検出態様を示すタイミングチャート、(b)はCHエラーの検出態様を示すタイミングチャートである。 CEエラーの検出態様を示すタイミングチャートである。 メインCPUに係るメモリマップを示す説明図である。 主制御基板における電源投入時の処理を示すフローチャートである。 主制御基板における設定変更装置処理を示すフローチャートである。 主制御基板における遊技進行メイン処理を示すフローチャートである。 内部抽せん開始の処理を示すフローチャートである。 条件装置コマンドセットの処理を示すフローチャートである。 表示判定処理を示すフローチャートである。 主制御基板におけるタイマ割込み処理を示すフローチャートである。 主制御基板における電源断処理を示すフローチャートである。 エラー管理の処理を示すフローチャートである。 電源復帰処理を示すフローチャートである。 遊技メダル受付開始処理を示すフローチャートである。 (a)はブロッカON処理を示すフローチャート、(b)はブロッカOFF処理を示すフローチャートである。 エラー表示処理を示すフローチャートである。 入力エラーセット処理を示すフローチャートである。 遊技メダル管理処理を示すフローチャートである。 貯留投入処理を示すフローチャートである。 遊技メダル清算処理を示すフローチャートである。 復帰不可能エラー処理を示すフローチャートである。 第2制御におけるRWM初期化2の処理を示すフローチャートである。 第2制御におけるRWM初期化3の処理を示すフローチャートである。 第2制御におけるシリアル通信設定の処理を示すフローチャートである。 第2制御における図柄停止信号出力の処理を示すフローチャートである。 第2制御における図柄停止信号セットの処理を示すフローチャートである。 第2制御における試験信号出力の処理を示すフローチャートである。 第2制御における投入・払出センサ異常セットの処理を示すフローチャートである。 第2制御における投入・払出センサ異常クリアの処理を示すフローチャートである。 第2制御におけるエラーチェックの処理を示すフローチャートである。 第2制御における設定値エラーチェックの処理を示すフローチャートである。 第2制御における内蔵乱数チェックの処理を示すフローチャートである。 第2制御におけるタイマ計測2の処理を示すフローチャートである。 第2制御における遊技メダル投入チェックの処理を示すフローチャートである。 図42に続く遊技メダル投入チェックの処理を示すフローチャートである。 第2制御における遊技メダル通過状態更新の処理を示すフローチャートである。 第2制御における投入・払出センサ異常チェックの処理を示すフローチャートである。 図45に続く投入・払出センサ異常チェックの処理を示すフローチャートである。 第2制御におけるエラー表示要求データクリアの処理を示すフローチャートである。 第2制御における8ビット乱数検査の処理を示すフローチャートである。 第2制御における復帰不可能エラー処理2を示すフローチャートである。 第1制御における投入・払出センサ異常表示処理を示すフローチャートである。 本発明の一実施例に係るスロットマシンの施錠装置を示す斜視図である。 (a)は筐体部の背面側を概略的に示す斜視図、(b)は同じく筐体部の背面側を概略的に示す説明図である。 手幅の寸法データを公表したWebページを示す説明図。 (a)はスタートレバーと各方向のセンサとを概略的に示す説明図、(b)はスタートレバーの可動範囲と検出点との関係を模式的に示す説明図である。 (a)は前面ドア部閉鎖中のリセットスイッチと各種メイン系ボタンとの関係を示す図表、(b)は前面ドア部開放中の同じくリセットスイッチと各種メイン系ボタンとの関係を示す図表である。 設定変更ボタンと各種メイン系ボタンとの関係を示す図表である。 (a)はMAXベットボタンと各種メイン系ボタンとの関係を示す図表、(b)はスタートボタンと各種メイン系ボタンとの関係を示す図表、(c)は停止ボタンと各種メイン系ボタンとの関係を示す図表である。 (a)〜(h)は会話演出の各種の態様を示す説明図である。 (a)〜(h)はテロップ演出の各種の態様を示す説明図である。 (a)はユーザーインタフェースと会話演出との関係を示す説明図、(b)〜(d)は同じくユーザーインタフェースとテロップ演出との関係を示す説明図である。 (a)は回胴式遊技機(スロットマシン)における各種の会話演出と各種のテロップ演出の出現契機を示す図表、(b)は他の実施例に係るぱちんこ遊技機における各種の会話演出と各種のテロップ演出の出現契機を示す図表である。 (a)は会話演出とテロップ演出とを比較して示す図表、(b)は文字の輪郭部と内側部の一例を概略的に示す説明図、(c)はテロップ演出の背景枠の一例を示す説明図である。 本発明の他の実施例に係るぱちんこ遊技機の正面図である。 ぱちんこ遊技機の背面図である。 ぱちんこ遊技機の機能を示すブロック図である。 ぱちんこ遊技機の主要な基板構成を示すブロック図である。 (a)はメイン基板を収容した状態の基板ケースを示す正面図、(b)は(a)中のA−A線に沿った部分を概略的に示す部分断面図である。 メイン基板、サブメイン基板、及び、サブサブ基板の基本的な機能手段を示すブロック図である。 主制御表示装置のメイン図柄表示基板を示す説明図である。 (a)は演出表示装置における演出図柄の変動中の表示例を示す説明図、(b)は同じく演出図柄の停止中の表示例を示す説明図である。 操作ボタンや十字キー及びこれらの周辺を前方上方から見た状態を示す斜視図である。
<本実施例に係るスロットマシンの概要>
以下、図面を参照しながら、本発明の実施例に係るスロットマシンについて説明する。図1は、本実施例に係るスロットマシン10の外観を正面から示している。スロットマシン10は、図1〜図3に示す前面ドア部11と、図4に示す筐体部12とを、前面ドア部11を前にして前後に組み合わせて構成されている。そして、前面ドア部11は、ヒンジ装置を介して筐体部12により支持され、筐体部12に対して閉じた状態で施錠が可能となっている。
前面ドア部11の表側(正面側)には、図1中に示すように、上下方向の中段に操作部14が配置され、この操作部14の上部に回胴表示部15が配置されている。さらに、前面ドア部11の下部には、矩形に開口した遊技メダル払出口16、及び、遊技メダル払出口16から放出された遊技メダルを受け入れる受け皿17が配置されており、更に回胴表示部15の上方には演出部18が配置されている。また、操作部14の下方には、機種に固有の名称やデザイン画などが描かれた透光性の下部パネル19が設けられている。
これらのうち操作部14には、遊技メダル投入口21、遊技メダル返却ボタン22、錠前部23(施錠部ともいう)、停止ボタン部(ストップボタン部)24、スタートレバー25などが設けられている。さらに、操作部14の上部には、メイン入力部26とサブ入力部27が設けられており、メイン入力部26には、清算ボタン74、1枚投入ボタン(所謂1BETボタン)75、3枚投入ボタン(所謂MAXBET(マックスベット)ボタン)76が設けられている。さらに、サブ入力部27には、十字キー77や、サブ入力スイッチ78などが設けられている。
遊技メダル投入口21は、遊技媒体としての遊技メダルを、ガイドを介して投入するためのものであり、遊技メダル返却ボタン22は、遊技メダルセレクター(後述する)に滞留した遊技メダルを返却させるときに使用されるものである。また、錠前部23は、前面ドア部11の開錠の際に所定の鍵を挿し込んで使用されるものであり、停止ボタン部24は、後述する3つの回胴(第1回胴51L、第2回胴51C、第3回胴51R)の回転を停止させるときに使用されるものである。
停止ボタン部24には、3つの停止ボタン(3つのストップボタンである第1停止ボタン24L、第2停止ボタン24C、第3停止ボタン24R)が設けられている。これらの停止ボタン24L、24C、24Rは、各回胴51L、51C、51Rに対応付けられており、停止ボタン24L、24C、24Rを個々に押圧操作することで、対応する回胴51L、51C、51Rが停止するようになっている。なお、本実施例では、第1回胴51L〜第3回胴51Rの並びは、スロットマシン10の正面から見て左から第1回胴51L、第2回胴51C、第3回胴51Rの順となっており、停止ボタン24L、24C、24Rの並びも左から第1停止ボタン24L、第2停止ボタン24C、第3停止ボタン24Rの順になっている。また、スタートレバー25は、回胴の回転及び設定値の確定(後述する)を行うときにも使用される。
メイン入力部26における清算ボタン74は、投入された遊技メダルの払戻し及び貯留装置(後述する)に貯留されている遊技メダルを清算するときに使用される。1枚投入ボタン75は、貯留されている遊技メダルを1枚ずつ投入するときに使用され、3枚投入ボタン76は、貯留されている遊技メダルの枚数及び投入に係る規定数(後述する)を超えない範囲で、貯留されている遊技メダルを最大3枚投入するときに使用される。サブ入力部27におけるサブ入力スイッチ78は、演出に係る操作を行うためのものであり、演出部18に設けられた液晶画面などの表示内容の切り替えや、演出に係る入力のために使用される。
さらに、操作部14には、図示は省略するが、LEDの発光の有無や、7セグメント(7セグ)表示器の表示態様などによって遊技内容を示す各種の表示部が設けられている。この遊技の状況を示す各種の表示部としては、獲得枚数表示部、貯留枚数表示部、再遊技表示部、投入表示部、打止表示部、遊技開始表示部、投入枚数表示部などがある。これらの各種の表示部の近傍には、各表示部がどのような情報の表示機能を担ったものかが判るよう、文字の印刷などが行われている。さらに、これらの表示部のうち、獲得枚数表示部及び貯留枚数表示部は、7セグ表示器を用いて数字や文字等を表示する機能を有するものであり、その他の表示部はLEDの点灯の有無や点灯の態様により所定の情報を表示するものである。そして、各表示部に光源として用いられているLEDについて、以下では、獲得枚数表示LED、貯留枚数表示LED、再遊技表示LED、投入表示LED、打止表示LED、遊技開始表示LED、投入枚数表示LEDと称する場合がある。
また、各種の表示部のうち、獲得枚数表示部は、状況に応じて、獲得枚数に応じた遊技メダルの枚数の表示、設定の切り替え時の表示、及びエラーコードの表示の何れかの用途に用いられる。貯留枚数表示部は、貯留装置に貯留されている遊技メダルの枚数を表示するものであり、再遊技表示部は、再遊技の作動の有無を表示するものである。さらに、投入表示部は、遊技メダルの投入受付けが可能である旨の表示を行い、打止表示部は、貯留されている遊技メダルの清算時である旨の表示を行う。遊技開始表示部は、遊技の開始が可能な状態において、スタートレバー25の操作受付が可能である旨の表示を行う。さらに、投入枚数表示部は、投入された遊技メダルの枚数の表示を行い、再遊技作動時には、前回遊技と同数の遊技メダル枚数を表示する。
前述の停止ボタン部24には、第1停止ボタン24L、第2停止ボタン24C、第3停止ボタン24Rの3つの停止ボタンが設けられている。また、回胴表示部15には、矩形に開口した表示窓を透明パネルで塞いだ回胴表示パネル28が備えられており、この回胴表示パネル28を透して、図2及び図4中に示すように、筐体部12に収納された第1回胴51L〜第3回胴51Rの3つの回胴(リール)を視認できるようになっている。また、演出部18には、液晶表示装置などが設けられており、遊技に伴う演出などの表示が演出部18で行われる。ここで、本実施例では、回胴表示パネル28も表示装置の機能を備えたものとなっており、演出部18と同様に各種の動画表示を行うことが可能である。なお、これに限らず、例えば、演出部18と回胴表示パネル28とを連続した画面を有する一つの演出表示装置として形成することも可能である。
また、前面ドア部11には、演出に用いられる各種の光源(LED)が設けられている。これらの演出用の光源としては、図示は省略するが、3枚投入表示LED、停止ボタンLED、サブ入力表示LEDなどを挙げることができる。これらのうち、3枚投入表示LEDは、前述のメイン入力部26に配置された3枚投入ボタン76を内側から照らすものであり、3枚投入ボタン76を用いた演出内容の表示に利用される。また、停止ボタンLEDは、停止ボタン24L、24C、24Rを内側から照らすものであり、停止ボタン24L、24C、24Rを用いた演出内容の表示に利用される。さらに、サブ入力表示LEDは、前述のサブ入力部27に配置されたサブ入力スイッチ78を内側から照らすものであり、サブ入力スイッチ78を用いた演出内容の表示に利用される。
これら以外にも、演出用の光源としては、図示略は省略するが、回胴上部LED、回胴下部LED、サイドLED、チャンスLED、左ウイングLED、左下サークルLED、右ウイングLED、右下サークルLED、左上サークルLED、上部LED、右上サークルLED、ARランプLED、下部パネル照明LED、左ミニLED、右ミニLED、V字LEDなどがある。何れの光源も、その配置や機能に応じて、演出内容の表示に用いられるものである。
図3は、前面ドア部11の背面側を示している。前面ドア部11の背面側には、各種基板、遊技メダルを取扱う機器、各種センサ等が配置されている。これらのうち、各種基板としては、サブ制御基板31、画像制御基板32、画像表示接続基板33、音声基板34、演出ロム(ROM)基板35、スイッチセンサ基板36、表示基板37、ドア中継端子板38、回胴照明基板39、及び下パネル照明基板40などが設けられている。
これらのうち、サブ制御基板31は、演出用の画像、各種ソレノイド、各種LED及び効果音を制御するための基板である。そして、サブ制御基板31は、専用基板ケースに収納され、当該基板ケースを前面ドア部11にねじ止めすることにより、前面ドア部11に装着されている。
画像制御基板32は、後述する音声基板34及び演出ロム基板35を搭載し、サブ制御基板31と画像表示接続基板33との間を中継し、演出用の画像及び効果音を制御するための基板である。そして、画像制御基板32は、専用基板ケースに収納され、当該基板ケースを前面ドア部11にねじ止めすることにより、前面ドア部11に装着されている。
画像表示接続基板33は、画像制御基板32と演出部18の液晶表示器との間を中継している基板であり、前面ドア部11に設けられたねじ穴にねじ止めして固定されている。音声基板34は、演出用の音声データが保存されたロムを取り付けた基板であり、画像制御基板32に設けられたねじ穴にねじ止めして固定されている。演出ロム基板35は、演出用の画像データが保存されたロムを取り付けた基板であり、画像制御基板32に設けられたねじ穴にねじ止めして固定されている。尚、各種ロムは、搭載される基板に設けられたソケットにロムに設けられたピンを指し込むことで固定するようにしても良い。さらに、各種基板はねじ止め固定されるだけでなく、各種基板に設けられたコネクタを、相手方のドア、ケース、基板等に設けられたコネクタに嵌め合わせることで固定するようにしても良い。このような基板の固定手法は、以下に説明する各種の基板についても同様に採用が可能なものである。また、画像制御接続基板は必ずしも設ける必要はなく、画像制御基板32を演出部18に直接接続して搭載しても良い。
スイッチセンサ基板36は、サブ制御基板31と、後述する2つのソレノイド(第1ソレノイド、第2ソレノイド)との間を中継し、LEDによる演出内容を表示、又は液晶画面の切り替え及び入力をするための基板である。そして、スイッチセンサ基板36は、専用基板ケースに設けたねじ穴にねじ止めして固定されている。
表示基板37は、前述の獲得枚数表示LED、貯留枚数表示LED、再遊技表示LED、投入表示LED、打止表示LED、遊技開始表示LED及び投入枚数表示LEDを取り付けた基板であり、前面ドア部11に設けられたフックにはめ込んで固定されている。ドア中継端子板38は、主制御基板(後述する)と、前面ドア部11の各所に配置された各種センサ、ブロッカ47(後述する)及び表示基板37との間を中継している基板である。そして、ドア中継端子板38は、専用基板ケースに収納し、当該基板ケースを前面ドア部11にねじ止めすることにより、前面ドア部11に装着されている
回胴照明基板39は、第1回胴51L〜第3回胴51Rを照らすためのLEDを取り付けた基板であり、前面ドア部11に設けられたフックにはめ込んで固定されている。下パネル照明基板40は、下部パネル19を照らすためのLEDを取り付けた上下2分割構造の基板であり、前面ドア部11に設けられたフックにはめ込んで固定されている。下パネル照明基板40は、下部パネルを照らすためにLEDを取り付けた基板であり、前面ドア部11に設けられたフックにはめ込んで固定されている。
続いて、前面ドア部11に設けられた各種センサ等の機器としては、スタートレバーセンサ41、3枚投入ボタンセンサ42、1枚投入/清算ボタンスイッチ43、遊技メダルセレクター44、投入センサ45、セレクタ通路センサ46、ブロッカ47、遊技メダル返却通路48、停止ボタンセンサ49、スピーカ50などがある。このうちスタートレバーセンサ41は、スタートレバー25の操作を検知するためのものであり、3枚投入ボタンセンサ42は、3枚投入ボタン76の操作を検知するためのものである。
また、1枚投入/清算ボタンスイッチ43は、1枚投入ボタン及び清算ボタンスイッチを搭載した装置である。遊技メダルセレクター44は、後述する投入センサ45、セレクタ通路センサ46及びブロッカ47を取り付けた装置であり、また、投入された遊技メダルが受付可能範囲のものか否かの選別を行う装置でもある。上述の投入センサ45は、遊技メダルの投入を検知するためのセンサであり、セレクタ通路センサ46は遊技メダルの通過を検知するためのセンサである。さらに、ブロッカ47は、遊技状態に応じ遊技メダルを返却するための装置であり、遊技メダル返却通路48は、遊技メダルが返却されるときの通路となるものである。そして、停止ボタンセンサ49は、停止ボタン24L〜24Rの操作を検知するためのセンサであり、スピーカ50は効果音を出力ために複数設けられているものである。
また、図示は省略するが、前面ドア部11には、ソレノイド1及びソレノイド2、十字キー基板が設けられている。このうち、ソレノイド1及びソレノイド2は、サブ入力スイッチ78を振動させるための装置である。また、十字キー基板は、液晶画面の切り替え及び入力をするための基板であり、専用基板ケースに基板を収納し、当該専用ケースをねじ止めして固定されている。
図4は、筐体部12の正面側を示している。筐体部12には、主制御基板61、設定ユニット62、遊技メダル払出装置(ホッパ)63、電源ユニット64等が配置されている。これらのうち、主制御基板61は、スロットマシン10に対する入出力を総括して遊技を司る制御を行うとともに、符号は省略するが、後述する打止スイッチ、設定表示LED及びモニタLED等を取り付けた基板である。この主制御基板61は、専用基板ケースである主基板ケース65に基板を収納し、当該主基板ケース65を専用止め具で固定して、筐体部12に装着している。設定表示LED66は、理論上の当り易さ(遊技者の有利度合い)を規定する設定値を表示するものである。打止スイッチは、上側又は下側の何れかに設定して打ち止め機能及び自動清算機能のいずれかを選択するものであるが、本実施例では打ち止め機能及び自動清算機能を搭載していないため、この打止スイッチは使用されていない。したがって、打止スイッチが遊技の結果に影響を与えることはない。なお、主基板ケース65にはICタグ封印シール(図示略)が貼付されており、このICタグ封印シールは、内部にICタグが埋め込まれた封印紙である。
また、筐体部12には、ドアスイッチ60が設けられており、このドアスイッチ60は、前面ドア部11の開閉を検知するためのスイッチである。また、前述の設定ユニット62は、後述する設定ドアスイッチ67、設定キースイッチ68及び設定/リセットボタン69(「/」は「又は」の意味)を収納した箱である。これらのうち、設定ドアスイッチ67は、設定ユニット62の筐体の一部を構成し設定ユニット62を閉じる設定ドアについて、その開閉を検知するためのスイッチである。設定キースイッチ68は、スロットマシンにおける設定の切り替え及び設定の確認を行うためのスイッチであり、設定/リセットボタン69は、前述の設定値の選択又はエラーの解除を行うためのボタンである。尚、設定ドアスイッチ67は必ずしも設ける必要はない。また、本実施例では設定ボタンとリセットボタンを兼用した設定/リセットボタン69を用いているが、それぞれ別で設けても良い。さらにまた、前述の錠前部23に設定及びリセットの機能をもたせ、例えば、錠前部23に挿し込んだ鍵を右方向に回転させた場合に施錠を解除し、左方向に回転させた場合には設定/リセットスイッチとして機能するようにしても良い。また、図4中に示す設定キースイッチ68及び設定/リセットボタン69のうちのいずれか一方を、設定ユニット62から分離して設けても良い。このようなものとしては、例えば、設定キースイッチ68を備えた設定キーシリンダ(図示略)を電源ユニット64に設け、設定/リセットボタン69を設定ユニット62に設けたものなどを例示できる。
さらに、筐体部12には、外部集中端子板70が設けられており、この外部集中端子板70は、メダル投入信号出力、メダル払出信号出力、外部信号出力1〜外部信号出力5を外部に出力するとともに、モニタLED(7個)が取り付けられた基板である。そして、この外部集中端子板70は、筐体部12に設けたフックにはめ込んで、筐体部12に固定されている。
前述の遊技メダル払出装置63には、払出センサ(図示略。「払出センサ」と称する場合もある。)が備えられており、この払出センサは、払い出された遊技メダルを検知するためのセンサである。
さらに、筐体部12には、遊技メダル補助収納庫71が設けられており、この遊技メダル補助収納庫71は、遊技メダル払出装置63の貯留容量を超えた遊技メダルを収納するための収納庫である。遊技メダル補助収納庫71には、満杯検知電極(図示略)が備えられており、この満杯検知電極は、遊技メダル補助収納庫の満杯状態を検知するための電極である。
前述の電源ユニット64は、電源スイッチ72を収納した箱であり、電源スイッチ72は、主電源のON・OFFを行うためのスイッチである。そして、この電源スイッチ72をOFFからONすることにより、電源ユニット64を介して、制御基板等を含む各種機器に所定の電力が供給される。
また、筐体部12には、前述の第1回胴51L〜第3回胴51Rが設けられている。この回胴51L〜51Rは、外周面に描かれた図柄を回転させるための装置である。各回胴51L〜51Rの内側には、回胴センサ(図示略)が設けられており、この回胴センサは回転中の回胴の基準位置を、回胴に設けられインデックスとなる部分(以下ではこの部分を「インデックス」と称する場合がある)に基づいて検知するためのセンサである。
さらに、筐体部12には、図示は省略するが、BL(バックライト)中継基板、回胴装置基板、バックライトLED、LEDバックライト基板等が設けられている。これらのうち、BL中継基板は、サブ制御基板31と後述するLEDバックライト基板や回胴センサ等との間を中継している基板である。このBL中継基板は、専用基板ケースに基板を収納し、当該基板ケースを専用止め具で固定することで、筐体部12に装着されている。
また、回胴装置基板は、各回胴51L〜51Rを回転又は停止させるために、主制御基板61と回胴ステッピングモータ(後述する)及び回胴センサとの間を中継している基板であるとともに、また、主制御基板61と前述の満杯検知電極、ドアスイッチ60、遊技メダル払出装置63、外部集中端子板70及び電源ユニット64との間を中継している基板でもある。この回胴装置基板は、専用基板ケースに基板を収納し、当該基板ケースを専用止め具で固定することで、筐体部12に装着されている。バックライトLEDは、各回胴51L〜51Rの内側に配置され、回胴51L〜51R上の図柄を背面から照らすためのLEDである。LEDバックライト基板は、上述バックライトLEDを搭載した基板である。
<各種制御基板の電気的基本構成>
次に、前述した主制御基板61、サブ制御基板31、画像制御基板32の電気的な基本構成について説明する。図5(a)に示すように、主制御基板61には、遊技の進行に係る制御を行うメインCPU81、メインCPU81の遊技制御に用いられるプログラム(遊技制御プログラム)や各種のデータが記憶されたメインROM82、遊技の進行に係る制御のためのデータ等を一時的に記憶する読み書き可能なRWM83、及び、インタフェース部(図示略)等といった種々の電子部品が備えられている。なお、本実施例では、遊技制御プログラムとして、大きく分けて、第1制御プログラムと第2制御プログラムの2つの制御プラグラムが備えられている。そして、第1制御プログラムに基づき実行される制御を第1制御と称し、第2制御プログラムに基づき実行される制御を第2制御と称することができる。また、第1制御を「遊技の用に供する制御」と称し、第2制御を「遊技の用に供さない制御」などと称することも可能であるが、これらの詳細については後述する。
また、サブ制御基板31には、主制御基板61からのコマンドに基づき演出用の制御を行うサブメインCPU86、サブメインCPU86の演出制御に用いられるプログラム(演出制御プログラム)や各種のデータが記憶されたサブメインROM87、演出制御のためのデータ等を一時的に記憶する読み書き可能なRWM88、及び、インタフェース部(図示略)等といった種々の電子部品が備えられている。そして、サブ制御基板31は、主制御基板61から送信されるコマンド(メインコマンド)を受信し、このメインコマンドに基づく制御を行う。そして、サブ制御基板31は、画像表示や音声(サウンド)出力のためコマンド(サブメインコマンド)を、画像制御基板32に送信する。
画像制御基板32には、サブ制御基板31からのサブメインコマンドに基づき画像制御を行うサブサブCPU91、サブサブCPU91の画像制御に用いられるプログラム(画像制御プログラム)や各種のデータが記憶された演出ROM92、サブサブCPU91からのコマンドに基づき、キャラクタROM93に記憶された画像データを用いて画像表示を制御するVDP94、音声ROM95に記憶された音声データを用いて音声出力を制御する音声チップ96、画像表示や音声出力のためのデータ等を一時的に記憶する読み書き可能なRWM97、及び、インタフェース部(図示略)等といった種々の電子部品が備えられている。ここで、演出ROM92は前述の演出ロム基板35に搭載されており、音声ROM95は前述の音声基板34に搭載されている。但しこの態様に限られるものではなく、サブ制御基板31で画像制御基板32の一部の機能、及び、全ての機能を補っても良い。例えば、サブ制御基板31に音声ROM95を備え、画像制御基板32を介することなく音声データの選択や出力制御を行っても良いし、サブ制御基板31がキャラクタROM93、VDP94を備えていても良い。なお、主制御基板61、サブ制御基板31、及び、画像制御基板32のより具体的な動作については後述する。
<<主制御基板に係る部品構成>>
続いて、前述の主制御基板61の部品構成の概要について説明する。主制御基板61は、プリント配線を有する矩形板状の配線基板であり、本実施例では、複数層(ここでは2層)構造のものが用いられている。さらに、主制御基板61の所定の部位には、リードタイプの電子部品を実装するためのスルーホールが設けられており、このスルーホールにリードを差し込んだ状態でフロー式等のはんだ付けを行うことで、リードタイプの電子備品が、主制御基板61に実装される。また、主制御基板61には、リードタイプの電子部品のみでなく、表面実装タイプの電子部品等も実装が可能となっている。
図5(b)は、主制御基板61の表面側である実装面を概略的に示している。主制御基板61には、リードタイプのパッケージ化デバイスであるメインCPU81が装着されている。このメインCPU81の装着は、主制御基板61にはんだ付けされたリードタイプのソケットに、メインCPU81のリードを差し込んで嵌合させることにより行われている。さらに、主制御基板61上には、一部を図示するように、各種の電子部品181や各種コネクタ182がはんだ付けされている。
このうち、各種コネクタ182は、主制御基板61の周縁部(外縁部)に沿って配置されており、前述の主基板ケース65から、接続口を外部に露出させている。そして、各種コネクタ182には、例えば、前述のサブ制御基板31、回胴装置基板、各種LED基板等といった外部機器に係る基板からのハーネスに設けられたコネクタが嵌着され、主制御基板61と、各種外部機器との電気的な接続に用いられる。
また、図5(b)中に符号183で示すのは、コネクタが設けられていない非搭載領域である。この非搭載領域183は、製品開発の段階において試験機接続用である非常設コネクタの実装のために確保されていた領域であり、本実施例に係るスロットマシン10の、開発段階から製品化への移行にあたり、非常設コネクタが除去された領域である。そして、非搭載領域183においては、主制御基板61の板面が露出しており、非常設コネクタのリードを挿入するための複数のスルーホール184を目視することが可能となっている。また、非常設コネクタの搭載位置は、前述のように主制御基板61の周縁部であるため、この非搭載領域183も、メインCPU81よりも基板外側にあたる基板周縁部に位置している。なお、図5(b)では、図面が煩雑になるのを避けるため、非常設コネクタの一部のスルーホールのみを示している。
非常設コネクタは、主制御基板61に、開発段階の、特に公的な認可を受ける段階で用いられる性能試験機(図示略)を接続するために用いられるものである。より具体的には、非常設コネクタに、試験用中継基板(図示略)が接続され、この試験用中継基板に、性能試験機が接続される。そして、性能試験機には、試験用中継基板を経由して取り出された試験用データ信号が入力され、性能試験機は、入力された試験用データ信号に基づいて、スロットマシン10の性能データを取得する。
試験用中継基板は、製品化の段階では利用されないものであり、製品化されたスロットマシン10には備えられていない。また、試験用データ信号の出力にあたり、試験用駆動回路(試験用ドライバ)が用いられるが、この試験用ドライバは試験用中継基板に搭載されており、製品化されたスロットマシン10においては、試験用ドライバを搭載する領域は、主制御基板61には設けられていない。さらに、非常設コネクタの形状、各部寸法、ピン数、及び、色といった構成要素は、他の各種のコネクタ182の何れとも異なっており、他のコネクタに接続される相手側コネクタとの構造上の接続が不可能となっている。
これに対し、製品化段階においては、性能試験機が接続されることがないため、主制御基板61の製造時には、非常設コネクタは搭載されない。しかし、非常設コネクタを搭載しないことに合わせて、主制御基板61のプリント配線や、遊技機制御プログラムに変更を加えたのでは、製品化されたスロットマシン10と、試験時のスロットマシンとの条件を一致させることができない。また、条件を変更しないように、製品化されたスロットマシン10に非常設コネクタをも残したのでは、不正のための機器に非常設コネクタと嵌合可能なコネクタが使用されて、不正が容易になってしまうことも考えられる。
このため、非常設コネクタを削除して不正対策を施すとともに、条件の変化を最小限に抑えるために、非常設コネクタのためのプリント配線は、非常設コネクタ搭載時と同じ形態で残されている。また、非常設コネクタのためのスルーホール184には、はんだが供給されており、はんだによって、非常設コネクタのためのスルーホール184は、全長に亘り塞がれている。スルーホール184をはんだにより塞ぐことにより、スルーホール184を利用するような不正行為を防止することができる。また、はんだにより、非常設コネクタ用の配線を、他の配線(例えば接地用配線など)と導通させることが可能である。
さらに、はんだ付けの際、溶融はんだの表面張力により、凝固後のはんだが、基板面からある程度(例えば0.1mm程度)隆起して突出することも考えられる。しかし、前述のように、製品化の際には非常設コネクタは搭載されないため、隆起したはんだが、非常設コネクタや他の電子部品と接触するということはない。なお、スルーホール184を、はんだ以外の素材(例えばソルダレジストなど)で塞ぐことも可能であるが、この場合は、スルーホール184を塞ぐためのはんだが不要である。また、スルーホール184を塞がずに、開放したままとすることも可能である。この場合は、スルーホール184を塞ぐための素材が不要となる。
また、図示は省略するが、前述の主基板ケース65は、透明樹脂製で略直方体形状のボックスベースと、同じく透明樹脂製で、上述のボックスベースの開口部を覆うボックスカバーとを組み合わせて構成されている。そして、ボックスカバーのうち、製品化後も使用される各種の常設コネクタ182の搭載領域と対応する位置には、常設コネクタ182を露出させる孔部が設けられているが、非常設コネクタの非搭載領域183と対応する位置には、非常設コネクタを露出させる孔部は残されておらず、非搭載領域183は封入された状態となっている。
<回胴の回転に係る機構>
次に、前述した第1回胴51L〜第3回胴51Rを回転させるための機構について説明する。各回胴51L〜51Rの外周面にはリールテープが装着されており、リールテープには所定数の図柄が描かれている。本実施例では、図柄の数は各々21個である。全ての回胴の大きさは同一に設定されており、回転軸は同一直線状に位置している。さらに、各回胴51L〜51Rは、図4中に示す回胴回転装置54に連結されて回胴回転装置54と一体化されており、この回胴回転装置54により、回転軸をスロットマシン10の左右方向に向けた状態で回転駆動される。ここで、第1回胴51L〜第3回胴51Rにおける図柄の配列や、図柄表示に係る制御態様については後述する。尚、図柄の数は、21個に限られるものではなく、例えば20個や14個などであってもよい。
回胴回転装置54は、第1回胴51L〜第3回胴51Rを回転させるための装置であり、スタートレバー25を操作することにより作動し、第1回胴51L〜第3回胴51Rを回転させる機能を有している。
回胴回転装置54は、図示は省略するが、回胴ステッピングモータ、リールブッシュ、回胴センサ及び回胴装置基板等により構成され、後述するように、第1制御プログラムと第2制御プログラムを含むコンピュータプログラム(遊技制御プログラム)により制御される。第1回胴51L〜第3回胴51Rの各回胴は、円筒状のリールブッシュを介して、回胴ステッピングモータのステンレス製の軸に凹凸組込みされ、ねじ及び樹脂ワッシャーを介して回胴ステッピングモータの軸に固定されている。そして、回胴ステッピングモータの軸を第1回胴51L〜第3回胴51Rの軸として使用し、回胴ステッピングモータを金属製などのモータフレームにねじにより固定し、また、回胴回転装置54の骨格となる金属製などのリールフレームに、上記モータフレームを挿入してラッチ(ここではプランジャやグロメットを備えた所謂スナップラッチ)により固定しているため、回胴回転装置54が作動しても、第1回胴51L〜第3回胴51Rが動揺しない(回転方向や軸方向などに揺れ動くことがない)ようになっている。
第1回胴51L〜第3回胴51Rを停止させる際には、回胴回転装置54が回転停止装置として機能する。すなわち、回転停止装置は、回胴を停止させる機能と図柄の組合せを表示する機能とを有している。このうち回胴を停止させる機能は、前述の停止ボタン24L、24C、24Rの個々の押圧操作があると、押圧操作された停止ボタンに対応する回胴を停止させる機能である。また、図柄の組合せを表示する機能は、上述の回胴を停止させる機能により3個の第1回胴51L〜第3回胴51Rをすべて停止させ、第1回胴51L〜第3回胴51Rによる図柄の組合せを表示する機能である。
さらに、回転停止装置は、停止ボタン24L、24C、24R、停止ボタンセンサ、ドア中継端子板、回胴ステッピングモータ、回胴センサ及び回胴装置基板で構成され、前述の遊技制御プログラムの制御により、遊技者が停止ボタンを操作すると作動し、それ以外では作動しない構成となっている。ここで、各回胴51L〜51Rには、回転角度の指標となるインデックスが形成されており、このインデックスと、各回胴51L〜51Rに描かれた各図柄のとの位置関係に基づいて、回胴回転停止時の図柄の位置が制御される。
<回胴の回転に係る機構の制御>
各回胴51L〜51Rは、以下に説明する各種のデータ、即ち、回胴駆動状態番号、回胴駆動パルス出力カウンタ、加速時の回胴駆動パルス切り替え回数、1図柄のステップ番号、図柄番号(通過位置用)、図柄番号(停止位置用)、回胴回転不良検出カウンタ、回胴駆動パルスデータ検索用カウンタ、回胴回転開始待機カウンタ、などを用いて管理されている。各回胴の駆動状態は、割込み(2.235ms)ごとに回胴駆動管理モジュールでチェックを行い、条件に応じて励磁データを出力する。
上述の各種のデータのうち、回胴駆動状態番号は、0〜5の値を持っており、0は停止中又は揺れ変動中、1は回転開始待機、2は減速中、3は減速開始、4は定速中、5は加速中をそれぞれ表している。また、回胴駆動パルス出力カウンタは、励磁を切り替える割込み回数を表しており、加速時の回胴駆動パルス切り替え回数は、回胴の立ち上がりパターン(割込み回数)テーブルのオフセットを表しており、1図柄のステップ番号は、1図柄のステップ数を表している。
さらに、図柄番号(通過位置用)は、中段を通過している図柄番号(0〜20)を表しており、その値がFFH(Hは16進数表記であることを表す)である場合は、回胴センサ未通過であることを表している。図柄番号(停止位置用)は、中段に表示させる図柄番号(0〜20)を表しており、その値がFFHである場合は、図柄番未設定であることを表している。回胴回転不良検出カウンタは、回胴の回転不良を検出するカウンタであり、センサ通過後のステップ数/2の値を出力する。また、各回胴51L〜51Rが、回胴センサを通過すると、回胴駆動状態番号は「定速中」の「4」となる。
<遊技メダルセレクター>
<<遊技メダルセレクターの構成>>
次に、前述の遊技メダルセレクター44について説明する。遊技メダルセレクター44は、図2中及び図3中に示すように、前面ドア部11の背面において、前面ドア部11の開放端側(図2中及び図3中の左端側)で、且つ、上下方向の略中段の部位に装着されている。さらに、遊技メダルセレクター44は、回胴表示部15の直ぐ下の部位に位置しており、前面ドア部11の前面の遊技メダル投入口21(図1参照)に投入された遊技メダルを、前面ドア部11の背後で受け入れるようになっている。
遊技メダルセレクター44は、図6に示すように矩形な箱状の外形を有しており、本体部101、開閉部102、ヒンジ機構部103を備えている。このうち本体部101は、前面ドア部11に固定されており、この本体部101には、図7に示すように開閉部102が、ヒンジ機構部103を介して開閉可能に装着されている。さらに、ヒンジ機構部103の配置は、前面ドア部11の背面側から見て右側の部位であり、開閉部102は、上下方向に延びるヒンジ機構部103の軸を中心として、ヒンジ機構部103に設けられたコイルばね104等の弾性復元力に抗しながら、水平方向に開放可能となっている。
開閉部102が閉じられた際には、本体部101との間に、1枚の遊技メダルの厚さよりも幾分大きい程度の幅のメダル通路105が形成される。すなわち、このメダル通路105は、上向きにスリット状に開口するとともに、途中の部位で屈曲及び分岐し、遊技メダルセレクター44の側方(前面ドア部11の背面から見て右側)や、下方に向かって伸びている。メダル通路105の上端は遊技メダルの入口(遊技メダル入口)106となり、この遊技メダル入口106となる開口部は、前述の遊技メダル投入口21に連通している。また、遊技メダルセレクター44の側方の出口(以下「第1出口」と称する)107は、前述の遊技メダル払出装置63に向けて遊技メダルを排出できるようになっており、下方の出口(以下「第2出口」と称する)108は、前述の遊技メダル払出口16に向けて遊技メダルを排出できるようになっている。
さらに、メダル通路105の途中の部位に位置する屈曲部110には、図7中に示すように、異形板状の減速部111が設けられている。この減速部111は、上端側を基端として前後方向(前面ドア部11の前後方向)に回動可能となっており、遊技メダルの通過がない場合は、メダル通路105内に弾性的に突出している。そして、遊技メダル投入口21に遊技メダルが投入され、投入された遊技メダルが屈曲部110を通りながら減速部111に接触すると、減速部111は、遊技メダルにより押されて本体部101内に没入する。さらに、減速部111は、遊技メダルが通過し、遊技メダルの押圧力から開放されると、再びメダル通路105内に突出する。そして、屈曲部110を通過する遊技メダルは、この減速部111との接触により減速されながら進路を変えて、屈曲部110の下流側へ向かう。
屈曲部110の下流側には、前述のセレクタ通路センサ46が設けられている。このセレクタ通路センサ46は、矩形板状の第1可動部112を備えており、この第1可動部112は、メダル通路105の分岐部113に、長手方向を、メダル通路105の幅方向(通過する遊技メダルの径方向)に向けた状態で配置されている。第1可動部112は、メダル通路105の上流側の一辺を基端として前後方向(前面ドア部11の前後方向)に回動可能となっており、遊技メダルの通過がない場合は、メダル通路105内に突出している。しかし、前述の減速部111を通過した遊技メダルが第1可動部112に接触すると、第1可動部112は、遊技メダルにより押されて本体部101内に没入する。そして、第1可動部112は、遊技メダルが通過して押圧力から開放されると、再びメダル通路105内に突出する。
また、本体部101には、セレクタ通路センサ46用のマイクロセンサ(図示略)が内蔵されており、第1可動部112の没入動作の有無が、マイクロセンサにより検出されるようになっている。つまり、メダル通路105に進入して流下する遊技メダルにより、第1可動部112が押されて没入動作を行うと、この第1可動部112の動作が検出されて、マイクロセンサの出力信号が変化する。そして、前述の主制御基板61においては、このセレクタ通路センサ用のマイクロセンサからの出力を利用して、後述するような、遊技メダルの投入に係る制御(図22〜図29など)が実行される。ここで、セレクタ通路センサ46用のマイクロセンサとしては、接触式や非接触式等の種々のマイクロセンサを適用できる。また、第1可動部112は逆流した異物等が引っ掛かる(第1可動部112の下流から上流に異物が移動できない)ように構成されている。これにより、ゴト機(所謂ゴト行為に用いられる機械器具)が挿入された場合にゴト機が容易に抜けないようにすることもできる。
また、第1可動部112の上流側の上部には第2可動部114が設けられており、この第2可動部114も、通常はメダル通路105に弾性的に突出し、遊技メダルに押された場合には、本体部101に没入するようになっている。そして、本実施例では、第1可動部112や第2可動部114等の可動部と、セレクタ通路センサ46用のマイクロセンサ等の検出部とにより、セレクタ通路センサ46が構成されている。尚、本実施形態では、セレクタ通路センサ46を第1可動部112、及び、第2可動部114により形成しているが、これに限られるものではなく、例えば、何れか一方のみ備えていても良いし、上記のような形状でなくても良い。
メダル通路105における、セレクタ通路センサ46から前述の第1出口107に向かう途中の部位には、前述の投入センサ45が設けられている。投入センサ45は、符号115で示す投入センサ1と、符号116で示す投入センサ2の2つのセンサにより構成されており、各投入センサは、本体部101に内蔵されている。なお、以下では、投入センサ1や投入センサ2に図中の符号を付して説明を行う場合には、投入センサ1(115)、投入センサ2(116)のように記載する。
投入センサ1(115)及び投入センサ2(116)は、何れも本体部101に内蔵された非接触式のマイクロセンサ(図示略)を用いたものである。さらに、投入センサ1(115)及び投入センサ2(116)は、遊技メダルの流下方向に関して、遊技メダルの直径(ここでは25mm)よりも小さい所定距離(例えば5〜10mm程度)を置いて配置されており、これらのうち投入センサ1(115)は、投入センサ2(116)よりもメダル通路105の上流側に位置している。
また、投入センサ1(115)及び投入センサ2(116)に用いられるマイクロセンサとしては、受光式のものが用いられており、黒色の矩形な窓部117の斜め上方に配置された投光部118から照射された光(検出光)を、受光できるようになっている。つまり、投光部118の内部にはLED等を用いた発光器(図示略)が内蔵されており、この投光器と、投入センサ1(115)及び投入センサ2(116)との位置関係は、発光器から出力された検出光が、窓部117を透過して投入センサ1(115)及び投入センサ2(116)に入射するよう設定されている。
そして、メダル通路105を流下してきた遊技メダルが検出光を遮ると、投入センサ1(115)及び投入センサ2(116)に検出光が入射しなくなり、遊技メダルが検出されて、投入センサ1(115)及び投入センサ2(116)に用いられているマイクロセンサの出力信号が変化する。そして、前述の主制御基板61においては、この投入センサ1(115)及び投入センサ2(116)からの出力を利用して、後述するような、遊技メダルの投入に係る制御(図22〜図29など)が実行される。
また、本実施では、投入センサ1(115)及び投入センサ2(116)は、メダル通路105の上方寄りの部位に配置されており、例えば、複数枚の遊技メダルが連続して通過しても、遊技メダル同士の上部の間隙が、投入センサ1(115)及び投入センサ2(116)を通過するようになっている。そして、このことによって遊技メダルが1枚毎に確実に検出できるようになっている。
また、図7中に示すように、開閉部102には前述のブロッカ47が設けられている。このブロッカ47は、断面L字状に成形された板状の可動ブロック部119やソレノイド(図示略)等により構成されており、可動ブロック部119には水平方向に突出した遮蔽板部120が設けられている。さらに、ブロッカ47の配置は、開閉部102が閉鎖状態となった場合に、可動ブロック部119の大部分が、セレクタ通路センサ46における第1可動部112の真下よりも、第1出口107に向かう遊技メダルを基準として、下流側に位置するよう設定されている。そして、ブロッカ47は、ソレノイド(図示略)のON/OFF駆動に伴い、可動ブロック部119を前後方向(前面ドア部11の前後方向)に進退させる。
本実施例においては、ソレノイドのOFF時は、ブロッカOFF時であり、このブロッカOFF時には、可動ブロック部119が開閉部102の内部に後退し、遮蔽板部120が開閉部102の内に引き込まれた状態にある。そして、このブロッカOFF時には、下方の第2出口108が開放されており、遊技メダルが、第1出口107に向かえずに、第2出口108の側に落下して第2出口108に導かれ、受け皿17に返却される。
一方、ソレノイドのON時は、ブロッカON時であり、このブロッカON時には、可動ブロック部119が、図7中に示すように、本体部101の側に前進して、遮蔽板部120がメダル通路105中に突出した状態にある。そして、このブロッカON時には、下方の第2出口108が遮蔽板部120により閉塞されており、遮蔽板部120を伝って、側方の第1出口107の側に導かれる。そして、遊技メダルが、セレクタ通路センサ46や投入センサ45を通って第1出口107に向かい、第1出口107から遊技メダル払出口16に向けて排出される。
ここで、図7中に符号121で示すのは、本体部101に設けられてリジェクト機構を構成するリジェクトスイッチであり、符号122で示すのは、開閉部102の閉鎖時にリジェクトスイッチ121に対向するよう配置されたリジェクト用受け部である。そして、リジェクトスイッチ121の機能については後述する。
<<遊技メダルセレクターの機能>>
続いて、遊技メダルセレクター44の機能について説明する。遊技メダルセレクター44には、遊技メダル選別機能、遊技メダル受付不可機能、遊技メダル検出機能がある。このうち、遊技メダル選別機能は、投入された遊技メダルが受付可能な寸法の範囲内か否かを選別する機能である。また、遊技メダル受付不可機能は、遊技状態に応じて前述のブロッカ47により、遊技メダルを受け付けずに返却する機能であり、遊技メダル検出機能は、前述の投入センサ45を通過した遊技メダルを検出する機能である。
上述の遊技メダル受付不可機能について、遊技メダルを受け付けずに返却する遊技状態としては、貯留装置(後述する)に遊技メダルが50枚貯留されていて、且つ、規定数(後述する)の遊技メダルが投入されているとき、規定数の遊技メダル投入後のスタートレバー25の操作受付からそのときの遊技である当該遊技が終了するまでの間、投入された遊技メダル及び貯留されている遊技メダルの払い戻しのとき、エラー発生の場合、設定の切り替え時及び設定の確認時、を挙げることができる。
受付可能な遊技メダル寸法の範囲内の遊技メダルが遊技メダル投入口21より投入されると、遊技メダルセレクター44の遊技メダル入口106からメダル通路105を通過して、遊技メダル出口(第1出口107)から遊技メダル払出装置63へ落下する。なお、遊技メダルがセレクタ通路センサ46、投入センサ45を通過すると、各センサ45、46から主制御基板61に検出信号を送る。セレクタ通路センサ46の検出信号は、遊技メダルがセレクタ通路センサ46を通過した遊技メダルの枚数を前述の遊技制御プログラムで確認するために利用される。
投入センサ45の検出信号は、遊技メダルがセレクタ通路センサ46を通過した時間及び順序を前述の遊技制御プログラムで判断するのに利用される。このセレクタ通路センサ46、投入センサ45の検出信号が規定時間内、かつ、規定順序及び規定枚数の場合は、正常に遊技メダル検出が行われたこととなる。規定時間以上又は規定順序以外及び規定枚数以外の場合はエラーとなり、投入された遊技メダルは無効になる。ただし、検出信号が投入センサ1の出力信号(投入センサ1信号)のみで投入センサ2の検出信号(投入センサ2信号)による検出がない場合は、エラーにならない。
ここで、投入センサ1信号のみが検出され、投入センサ2信号が検出されない場合としては、遊技メダルが投入センサ1から逆方向に戻った場合等を挙げることができる。また、このような遊技メダル検出の具体的態様については後述する。
変形した遊技メダルが遊技メダル投入口21から投入されると、遊技メダル入口106で滞留する。滞留した遊技メダルは、遊技メダル返却ボタン22(図1参照)を操作することにより、前述のリジェクトスイッチ121が押され、遊技メダルセレクター44の開閉部102が僅かに開き、遊技メダル払出口16から受け皿17へ返却される。受付可能な遊技メダル寸法より小さい遊技メダルが遊技メダル投入口21より投入されると、遊技メダル入口106を通過したした後、遊技メダル払出口16から受け皿17へ返却される。
また、前述の遊技メダル受付不可機能により、遊技状態に応じて前述のブロッカ47がOFFになり、可動ブロック部119がメダル通路105から退避する。そのときに受付可能な範囲内の遊技メダルが遊技メダル投入口21より投入されると、前述のように、遊技メダル入口106を通過してメダル通路105の屈曲部110に達し、更に自由落下により、第2出口108を通過して、遊技メダル払出口16から受け皿17へ返却される。
<設定変更の手順>
本実施例のスロットマシン10において、前述の設定ユニット62(図4参照)に対する設定変更のための正規な操作は、以下のように行われる。先ず、例えば遊技場店員等が、電源OFFの状態にあるスロットマシン10の前面ドア部11を開放する(図1及び図2参照)。この前面ドア部11の開放にあたっては、閉鎖状態で施錠された前面ドア部11の錠前部23(図1参照)に、前述のように、所定の鍵を挿し込んで、この鍵を開錠方向(例えば反時計回り)に回転させる。
さらに、図4中に示す設定ユニット62に設けられた設定ドアを開放し、図示は省略するが、設定キーが差し込まれる設定キーシリンダへのアクセスが可能な状態とする。また、設定キーシリンダに設定キーを差し込み、設定キーをON方向(例えば時計回り方向)に回転操作(ON操作)する。そして、前述の電源スイッチ72をONして、スロットマシン10に電力供給する。このように、設定キーをON操作したまま電源スイッチ72をONすることで、後述する設定変更装置処理(図13参照)が行われる「設定変更装置作動」の状況(設定変更モードに移行した状況)となる。
スロットマシン10に電力供給がされると、前述の主制御基板61(図4参照)に搭載された前述の設定表示LED66に設定値が表示される。設定表示LED66には、所謂7セグ表示器が使用されている。さらに、本実施例では、設定表示LED66には、所定範囲の整数値である設定値(ここでは「1」から「6」の6つ)のうちのいずれかが表示され、この表示された設定値が透明な主基板ケース65を通して視認可能となる。
このように設定変更装置が作動した状況において、前述の設定/リセットボタン69(図4参照)を押圧操作すると、設定値の表示が変化する。本実施例では、設定/リセットボタン69を押すごとに、設定値の表示が1段階ずつインクリメントされる。例えば、設定1(設定値が1の状態)でスロットマシン10の電源が立ち上がり、設定/リセットボタン69を1回操作すると設定2となる。その後、設定/リセットボタン69を押すごとに、設定値の表示が「2」、「3」、…と昇順に変化する。
さらに、本実施例では、遊技者にとって最も有利度合が高いのは、最高設定値である設定値6であり、設定値の値が小さくなるほど有利度合は低くなる。そして、上述の最高設定値である設定値6で設定/リセットボタン69を1回操作すると、最低設定値である設定1となる。さらに、設定表示LED66に表示された値が、選択目的としている設定値になっている状況で、遊技店員等が前述のスタートレバー25(図1参照)を操作してスタートスイッチ(スタートレバー25やスタートレバーセンサ41を有する機器、図示略)をONすることにより、設定値が確定する。
なお、前述のように設定/リセットボタン69を押した際における、設定値の表示に係る変化の態様は、設定値の表示が1段階ずつインクリメントされるものに限らず、例えば、設定値の表示が1段階ずつデクリメントされて、降順に変化するものであってもよい。さらに、後述する設定変更装置処理(図13参照)により変更可能な設定値の範囲は、「1」〜「6」の6段階に限らず、例えば、「1」〜「4」の4段階などであってもよい。
続いて、設定キーをOFF方向(例えば反時計回り方向)に回転操作(OFF操作)し、設定ユニット62に設けられた設定ドアを閉じて、正規な設定変更の操作が完了し、遊技が可能な状態(通常状態)となる。
ここで、前述の「設定変更装置作動」の状況となった後、設定/リセットボタン69の操作が有効になった後の状況を「設定値変更可能中」の状況であると称することができる。この「設定値変更可能中」は、設定/リセットボタン69の操作による設定値の変更(選択)が可能な状況である。
また、「設定値変更可能中」の後、スタートレバー25の操作(レバー操作)により設定値を確定させた状態を「設定値確定」の状況と称することができる。そして、設定値の変更がされる場合には、「設定値変更可能中」で、前述のように設定/リセットボタン69が操作され、目的の設定値に達した状態でスタートレバー25が操作されて「設定値確定」の状況になる。そして、「設定値確定」の状況では、設定/リセットボタン69を操作しても、設定値の表示は変化しない。
また、上述の「設定値確定」の後、設定キーがOFFされるのを待っている状態を、「設定値決定待ち」の状況と称することができる。この「設定値決定待ち」の状況においても、設定/リセットボタン69の操作により設定値を変化させることは不可能である。さらに、本実施例では、設定変更作業における状態を第1状態と第2状態とに分けることが可能である。そして、設定キーがONされた状況で電源投入がされると、設定変更に係る第1状態に移行し、その後にスタートレバー25が操作されると、第1状態から第2状態へ移行する。さらに、この設定変更に係る第2状態において設定キーがOFFされると、第2状態が終了する。
<遊技を行う手順及び遊技メダル投入時の処理>
次に、遊技を行う手順及び遊技メダル投入時の処理について説明する。遊技メダル投入時の処理においては、遊技メダルセレクター44(図6参照)が遊技メダル受付状態(遊技メダル通過可能状態)になっている場合は、遊技メダル投入口21(図1参照)より遊技メダルを投入することができる。ここで、「遊技メダルの投入」とは、「賭数の設定」と同義であり、「賭数の設定」は、「ベットする」と同義である。遊技メダルを投入すると、投入枚数に応じて前述の投入枚数表示LEDが点灯し、規定数の遊技メダルを投入することによりスタートレバー25が有効に操作可能となる。そして、スタートレバー25が有効に操作可能となることにより、スタートレバー25の操作に基づく役抽せん、フリーズ抽選(後述するフリーズ演出のための抽選)、回胴駆動状態の更新等の処理が実行できるようになる。なお、遊技メダルは遊技媒体として用いられているものであり、遊技媒体としては、遊技メダルに限らず、遊技球や電子データなどを用いることも可能である。
なお、遊技状態ごとの最大規定数を超えて投入すると、以降の遊技メダルは貯留装置に貯留される。貯留装置は、スロットマシン10の制御上、遊技メダルを所定枚数(ここでは50枚)まで貯留可能とする機能を果たすものである。ただし、貯留されている遊技メダルの枚数が最大枚数である50枚を超える場合は、遊技メダルセレクター44が遊技メダル返却状態になり、遊技メダル投入口21より投入された遊技メダルは、遊技メダル払出口16(図1参照)から受け皿17へ返却される。貯留装置は「クレジット」とも呼ばれ、具体的には遊技メダルを電気的に記憶(RWMに記憶)するものを指す。
回胴回転については、規定数の遊技メダルを投入後、スタートレバー25を操作し、回胴回転装置54を作動させることにより回胴を回転させることができる。ただし、清算ボタン74、停止ボタン24L〜24R、1枚投入ボタン75又は3枚投入ボタン76のいずれかを操作している状態では、スタートレバー25を操作しても回胴51L〜51Rを回転させることはできない。
スタートレバー25を操作すると、回胴51L〜51Rが加速回転を始め、所定の回転数に(ここでは79.90回転/分)に達すると定速状態となる。スタートレバー25が操作されると、遊技メダルセレクター44は遊技メダル返却状態となる。前回の遊技で回胴51L〜51Rが回転し始めてから最小遊技時間(最短遊技時間)である所定時間(ここでは4.1秒)が経過していない場合に、スタートレバー25を操作しても、回胴51L〜51Rは回転しない。前回の遊技で回胴が回転し始めてから4.1秒経過に回胴51L〜51Rが回転を始める。ただし、後述するような遊技演出(フリーズ演出など)による遊技待機中の場合は、遊技待機終了後に回胴が回転を始めるように制御することも可能である。
回胴51L〜51Rが回転を始め、回胴51L〜51Rのすべてが正常回転(ここでは定速かつ脱調していない状態の回転)していることを検知すると、停止ボタン24L〜24Rの操作が受付可能な状態になる。ただし、回胴51L〜51Rのすべてが正常回転していることが検出されない場合は、正常回転するまで停止ボタン24L〜24Rの操作が受付可能な状態にならない。スタートレバー25を操作した後から、回胴51L〜51Rがすべて停止するまでの間に遊技メダル投入口21より投入された遊技メダルは、遊技メダル払出口16から受け皿17へ返却される。
回胴回転の停止においては、回転している回胴51L〜51Rを任意に選択し、それに対応した停止ボタン24L〜24Rを操作することにより、回胴51L〜51Rを停止させることができる。ただし、清算ボタン74、スタートレバー25、すでに停止している回胴に対応する停止ボタン、1枚投入ボタン75又は3枚投入ボタン76のいずれかを操作している状態では、停止ボタンを操作しても回転中の回胴を停止させることはできない。なお、これらの主制御基板61で管理されるボタン(メイン系ボタン)に関し、組合せによっては一部のボタンが操作可能(操作が有効)となるようにすることも可能である。そして、操作できる(操作が有効になる)ボタンやスイッチと、操作できない(操作が無効になる)ボタンやスイッチとの組合せは任意に決めることができる。例えば、いずれか1つの停止ボタンの操作中は他の停止ボタンの操作ができないが、スタートレバー25の操作中(操作後)であればいずれも停止ボタンを操作できる、などといった組合せ態様を例示することができる。
停止ボタン24L〜24Rが操作されると、それに対応した回胴が所定時間(ここでは190ms)以内に停止する。残りの回転しているいずれかの回胴も同様に、任意に選択した回胴に対応した停止ボタンを操作して停止させる。停止ボタンを操作し続けた場合は、残りの停止ボタンを操作しても、それに対応した回胴は停止しない。スタートレバー25を操作した後、停止ボタン24L〜24Rを操作しない限り回転中の回胴51L〜51Rは停止しない。但し、フリーズ演出中の場合には、停止ボタン24L〜24Rの操作を介さずに回転中の回胴を停止させるように構成することも可能である。
図柄の組合せの表示判定においては、回胴51L〜51Rがすべて停止したとき、投入に係る規定数に応じた有効ライン上で入賞又は役物作動に係る図柄の組合せの表示判定を行う。ただし、3番目の停止である第3停止時にスタートレバー25又はいずれかの停止ボタン24L〜24Rを操作し続けた場合は、操作解除後に、規定数に応じた有効ライン上で入賞又は作動に係る図柄の組合せの表示判定を行う。なお、「図柄組合せの表示判定」や「表示判定」は、メインCPU81が、停止した図柄を検出して停止図柄が何であるかを直接的に判定するといったようなこと(所謂出目をみること)ではなく、例えば、回胴51L〜51Rの制御に異常が生じなかったか否かを判定し、異常がなければ図柄表示が適正に行われている旨の判定を行い、正常に図柄停止が行われたものとして以降の処理を進める、といったようなことを意味している。ここで、図示は省略するが、本実施例のスロットマシン10において投入可能な規定数は、役物作動時の遊技においては2枚、それ以外の遊技においては3枚であり、有効ラインは、回胴表示部15(図1参照)の上段、中段、及び、下段の3ラインである。なお、これに限らず、有効ラインを、中段のみの1ラインとしたり、斜め右上がり、及び、斜め左上りを加えた5ラインとしたものなどの採用も可能である。そして、規定数に応じた有効ライン上に、入賞に係る図柄の組合せが表示された場合は、該当する場合の制御を実行し、役物作動又は役物連続作動装置に係る図柄の組合せが表示された場合は、役物作動又は役物連続作動装置に係る図柄の組合せが表示された場合の制御が実行される。
入賞に係る図柄の組合せが表示された場合、規定数ごとの当該入賞に係る図柄の組合せに対応した枚数分の遊技メダルが払い出され、遊技者によって獲得される。なお、獲得される遊技メダルは、前述の貯留装置に貯留される。ただし、貯留されている遊技メダルの枚数が50枚を超える場合は、超える獲得枚数分を遊技メダル払出口16から受け皿17へ払い出す。遊技メダルの獲得中に遊技メダル投入口21より投入された遊技メダルは、遊技メダル払出口16から受け皿17へ返却される。規定数ごとの当該入賞に係る図柄の組合せに対応した枚数分の遊技メダルがすべて獲得されると、遊技メダルセレクター44は、所定の条件を満たした場合には遊技メダル受付状態になる。そして、前述の遊技メダル投入時の処理が実行される。本実施例においては、1回の入賞により獲得することができる遊技メダルの枚数の上限は15枚を超えることはないようになっている。
役物の作動に係る図柄の組合せが表示された場合においては、該当する役物に応じた処理が実行される。本実施例では、役物として(抽せんされる役として)、所謂、普通役物、第一種特別電動役物、第二種特別電動役物、第一種特別電動役物に係る役物連続作動装置、の各々が作動することとなる図柄の組合せに該当するものは設けられていないが、再遊技が作動することとなる図柄の組合せ、及び、第一種特別役物に係る役物連続作動装置が作動することとなる図柄の組合せは設けられている。そして、これらに該当する図柄の組合せが表示された場合は、該当する処理を実行する。
一方、入賞及び作動に係る図柄が表示されなかった場合においては、遊技メダルセレクター44は遊技メダル受付状態になる。そして、前述の遊技メダル投入時の処理が実行される。
続いて、規定数ごとの入賞に係る図柄の組合せ及び当該図柄の組合せが表示された場合に獲得することができる遊技メダルの枚数について説明する。入賞に係る図柄の組合せ、及び、対応して獲得することができる遊技メダルの枚数は、規定数ごとにあらかじめ定められている。入賞に係る図柄の組合せを表示することなく、遊技メダルを獲得することはできないようになっている。また、入賞に係る条件装置が作動することなく、入賞に係る図柄の組合せが表示されることはないようになっている。
そして、役物及び役物連続作動装置未作動時における入賞に係る図柄の組合せ及び遊技メダル獲得枚数は、規定数3枚時についてのみが定められており、入賞に係る図柄の組合せ(1図柄又は2図柄のみ規定されたものを含む)の数としては、獲得枚数毎に所定数が規定されている。さらに、第一種特別役物作動時における入賞に係る図柄の組合せ及び遊技メダル獲得枚数は、規定数2枚時についてのみが定められており、入賞に係る図柄の組合せ(1図柄又は2図柄のみ規定されたものを含む)の数としては、獲得枚数毎に所定数が規定されている。なお、これらの入賞に係る図柄の組合せや、獲得枚数との具体的な関係については後述する。
続いて、規定数ごとの作動に係る図柄の組合せについて説明する。再遊技、役物及び役物連続作動装置の作動に係る図柄の組合せは、規定数ごとにあらかじめ定められている。再遊技、役物及び役物連続作動装置等の作動に係る条件装置が作動せず(未作動時)に、再遊技、役物及び役物連続作動装置の作動に係る図柄の組合せが表示されることはないようになっている。
そして、役物及び役物連続作動装置未作動時における作動に係る図柄の組合せ及び作動名称は、規定数3枚時についてのみが定められており、作動に係る図柄の組合せ(1図柄のみ又は2図柄のみ規定されたものを含む)の数としては、本実施例では8種類が設けられている。なお、これらの作動名称と図柄の組合せとの具体的な関係については後述する。そして、作動に係る図柄の組合せが表示された場合には、その後に作動名称に応じた遊技制御が実行されることになる。
続いて、再遊技を行うことができることとなる図柄の組合せ、当該図柄の組合せが表示されたときの効果及び当該図柄の組合せが表示された場合の処理について説明する。回胴51L〜51Rがすべて停止したときに、有効ライン上に表示した図柄の組合せが再遊技に係る図柄の組合せであれば、再遊技が作動する。また、本実施例のスロットマシン10には、再遊技に係る条件装置が作動する確率が変動する遊技が設けられている。
再遊技に係る条件装置の作動する確率の変動契機は、第一種特別役物に係る役物連続作動装置の作動に係る条件装置が作動したとき、第一種特別役物に係る役物連続作動装置が作動することとなる図柄の組合せが有効ライン上に表示されたとき、及び、第一種特別役物に係る役物連続作動装置の作動が終了したとき、である。再遊技を行うことができることとなる図柄の組合せが表示された場合の処理としては、自動的に前回の遊技と同数の遊技メダルが投入された状態となり、スタートレバー25が操作可能になる。再遊技に係る図柄の組合せが表示されてから遊技メダル投入口21より投入された遊技メダルは、所定の条件を満たした場合には貯留装置に貯留される。そして、その後は、前述した通常時(ここでは再遊技以外の場合)と同様に、回胴回転についての制御、回胴回転の停止についての制御、及び、回胴の組合せの表示判定についての制御が実行される。
続いて、第一種特別役物について説明する。第一種特別役物に係る役物連続作動装置が作動すると、同時に第一種特別役物に係る役物連続作動装置作動時の第一種特別役物が作動する。また、第一種特別役物に係る役物連続作動装置の作動時において、第一種特別役物の作動が終了すると、ただちに第一種特別役物に係る役物連続作動装置作動時の第一種特別役物が再度動作する。以上のように第一種特別役物が作動すると、前述した通常時(ここでは第一種特別役物に係る遊技以外の場合)と同様に、遊技メダル投入時の処理、及び、回胴回転についての制御による遊技を行う。
さらに、回胴回転の停止の制御に際しては、遊技者が、回転している回胴を任意に選択し、それに対応した停止ボタンを操作することにより、回胴を停止させることができる。ただし、清算ボタン74、スタートレバー、すでに停止している回胴に対応する停止ボタン、1枚投入75ボタン又は3枚投入ボタン76のいずれかを操作している状態では、停止ボタンを操作しても回転中の回胴を停止させることはできない。第1回胴51L〜第3回胴51Rに対応した停止ボタン24L、24C、24Rを操作した場合、対応する回胴の回転は、前述の場合と同様に、所定時間(ここでは190ms)以内に停止する。
いずれかの停止ボタンを操作し続けた場合は、残りの停止ボタンを操作してもそれに対応した回胴は停止しないようになっている。スタートレバー25を操作した後は、停止ボタンを操作しない限り回転中の回胴は停止しない。そして、図柄の組合せの表示判定については、前述した通常時と同様に、回胴の組合せの表示判定についての制御が実行される。尚、本実施形態では、停止ボタンの操作を有効的に受け付けた後に、次の停止ボタンが有効的に受け付けられるまでに約200msの待機時間(回胴停止受付待機時間ともいう。)を設けている。つまり、全リール(51L〜51R)が回転している場合に、例えば左停止ボタン(第1停止ボタン24L)が操作された後は200ms後に中又は右の停止ボタン(第2停止ボタン24C又は第3停止ボタン24R)が受付可能となる。
第一種特別役物の作動終了については、第一種特別役物は、規定の回数の遊技が終了したこと、又は、入賞回数が規定数に達したことを作動終了条件としており、これらの作動終了条件のうちの少なくとも一方が成立すると、その作動を終了するようになっている。
続いて、第一種特別役物に係る役物連続作動装置について説明する。第一種特別役物に係る役物連続作動装置未作動時の遊技において、回胴がすべて停止したときに、有効ライン上に表示した図柄の組合せが第一種特別役物に係る役物連続作動装置の作動に係る図柄の組合せであれば、前述の第一種特別役物に係る遊技を実行する。第一種特別役物に係る役物連続作動装置の作動終了の契機は、遊技メダル獲得枚数が所定枚数(例えば465枚)を超えた場合である。そして、その後は、前述した通常時と同様に、遊技メダル投入時の処理に移る場合がある。
<遊技演出>
前述の遊技演出としては、代表的にはフリーズ演出がある。このフリーズ演出は、遊技の進行を所定期間一時停止状態にして遅延させるものであり、この意味で遅延演出ということもできる。さらに、フリーズ演出に関しては以下のように分類して捉えることができる。すなわち、フリーズ演出は、遊技者がフリーズ演出の実行を容易に認識できるものと、認識できない(又は認識し難い)ものとに分けることができる。このうち、フリーズ演出の実行を容易に認識できるものには、スタートレバー25の操作に回胴を応答させないものや、応答はさせるが通常の遊技時の回胴の動作態様とは異なる態様で回胴を作動させるリール演出(回胴演出)を行うもの、などがある。スタートレバー25の操作に回胴を応答させないものとしては、スタートレバー25を操作しても回胴が作動開始しないものや、作動開始までに所定期間(例えば10秒間)を要するもの、などがある。
<主制御基板における主要動作>
次に、本実施例に係るスロットマシン10の主制御手段として機能する主制御基板61について、主要動作を図11以降の図面に基づき説明する。先ず、主制御基板61は、前述のメインCPU81が、例えばメインCPU81の内蔵ROMや、主制御基板61上に実装された外付けのROM(メインROM82)に記憶された前述の第1制御プログラムや第2制御プログラム(後述する)に基づき、メインCPU81の内蔵RWMや、主制御基板61上に実装された外付けのRWM(メインRWM83)等を用いて、乱数抽せんや、各種機器の制御などを実行するものである。
さらに、主制御基板61は、画像等を用いた演出に係る制御を行うサブ制御基板31に対し、遊技状態や抽せん結果に応じたコマンド(「メインコマンド」、「サブ制御コマンド」、「サブメインコマンド」などともいう)を送信する機能を有している。そして、主制御基板61に対しては、前述の電源ユニット64から電力が供給される。なお、ここでは図示の便宜上、外付けのROMやRWMに符号82、83を付して説明を行ったが、以下では、特に記載がない場合は、ROM82やRWM83は、メインCPU81の内蔵のものと外付けのものの総称として用いる。
ここで、前述の乱数抽せんとしては、先述した再遊技、役物、役物連続作動装置等の役抽せんや、フリーズ抽選等の演出抽選、AT(アシストタイム)等の実行に関するAT抽選などを例示できる。また、主制御手段は、主制御基板61のほか、メインCPU81や、メインCPU81と協働して主制御基板61の各種機能を実現するメインROM82やRWM83等の周辺機器等を包含する概念のものである。さらに、場合に応じて「抽せん」と「抽選」の用語を使い分けているが、これらは同じ意味を有する用語である。
<第1制御と第2制御との関係>
次に、前述した第1制御と第1制御プログラム、及び、第2制御と第2制御プログラムについて説明する。図11は、メインCPU81のメモリマップの一例を示している。図11中のメモリマップは、「0000H」から「FFFFH」までのアドレス空間を示している。このうち、内蔵ROMには「0000H」から「2FFFH」までの空間が割り当てられており、内蔵RWMには「F000H」から「F3FFH」までの空間が割り当てられている。
さらに、「FE00H」から「FEBFH」までの空間には、メインCPU81内の各回路に内蔵されているレジスタのための、レジスタ領域(内蔵レジスタエリア)が割り当てられている。そして、メインCPU81に、これらの番地に対してアクセスする命令を実行させることにより、対応するハードウェアに対するアクセスを実行させることが可能となっている。
前述の内蔵ROM(0000H〜2FFFH)の構成は、第1ROM領域と第2ROM領域に分けることができる。これらのうち、第1ROM領域は、主として遊技の進行を制御する領域となっている。また、第2ROM領域は、主としてエラー関連等の、遊技の正常な進行とは異なる状況に係る処理を制御する領域となっている。
第1ROM領域は、図中の右側に示す第1制御領域(「0000H」から「11FAH」まで)と第1データ領域(「1200H」から「1D9EH」まで)を有するものとなっている。また、第2ROM領域は、同じく図中の右側に示す第2制御領域(「2000H」から「22E4H」まで)と第2データ領域(「22E5H」から「2346H」まで)を有するものとなっている。
さらに、第2制御領域は、前述した第1データ領域との間に未使用領域(1D9FH〜1FFFH)を介在させている。また、第2制御領域の最終アドレス(22E4H)と第2データ領域の先頭アドレス(22E5H)は連続しており、第2データ領域の最終アドレス(2346H)の後には、未使用領域(2347H〜2FBFH)と、管理エリア(2FC0H〜2FFFH)が設けられている。
本実施例においては、第1ROM領域は、第2ROM領域よりも容量が大きくなるように構成されている。例えば、第1ROM領域に関して、未使用領域を含めず、第1制御領域と第1データ領域のみからなるものとし、第2ROM領域に関しても、同様に未使用領域を含めず、第2制御領域と第2データ領域のみからなるものとした場合にも、この関係が成立するようになっている。なお、図11中に示すメモリマップは一例であり、各領域のバイト数や未使用領域の有無については、種々に変更が可能である。
前述の内蔵RWM(F000H〜F3FFH)の構成は、第1RWM領域と第2RWM領域に分けることができる。これらのうち、第1RWM領域は、主に遊技の進行に基づく情報(遊技データ)を必要に応じて書き込んで格納したり、書き込んだ情報を更に更新したりする領域(使用領域と称することがある)となっている。また、第2RWM領域は、主にエラー関連等の遊技の正常な進行とは異なる処理に基づく情報を格納する領域(使用領域外と称することがある)となっている。なお、第1RWM領域は、第1制御において用いられるRWM領域であり、第2RWM領域は第2制御において用いられるRWM領域であるということもいえる。
第1RWM領域は、図中の右側に示す第1作業領域(「F000H」から「F14AH」まで)と第1スタックエリア(「F1D7H」から「F1FFH」まで)を有するものとなっている。また、第2RWM領域は、同じく図中の右側に示す第2作業領域(「F210H」から「F21EH」まで)と第2スタックエリア(「F3F3H」から「F3FFH」まで)を有するものとなっている。ここで、第2RWM領域を、F200Hから始まるように定めることも可能である。
また、第1スタックエリアは、第1制御に係るプログラムが内部的にデータを保存しておく必要がある場合に使用される領域となっており、第2スタックエリアは、第2制御に係るプログラムが内部的にデータを保存しておく必要がある場合に使用される領域となっている。そして、第1スタックエリアや第2スタックエリアは、例えば、サブルーチンへの移行時に記憶される戻り番地の情報(戻り番地データ)が、遊技の状況に応じて随時書き込まれるようになっている。なお、図11中に示すメモリマップは一例であり、各領域のバイト数等については、種々に変更が可能である。
第1スタックエリアと第2作業領域の間には、所定の大きさの未使用領域(F200H〜F20FHの16バイト)が設けられている。この未使用領域は必須のものとすることが考えられる。さらに、第1作業領域と第1スタックエリアの間、及び、第2作業領域と第2スタックエリアの間にも、所定の大きさの未使用領域(F14BH〜F1D6H、F21FH〜F3F2H)が設けられている。これらの未使用領域については、必須のものとはしないことが考えられる。
第1RWM領域は、第2RWM領域よりも容量が大きいものとなっている。また、本実施例では、第1作業領域と第1スタックエリアの組を第1RWM領域としており、第2作業領域と第2スタックエリアの組を第2RWM領域としている。しかし、これに限定されず、第1スタックエリアが第1RWM領域に含まれず、第2スタックエリアが第2RWM領域に含まれないといったような構成を採用することも可能である。この場合は、例えば、「F000H」から「F14AH」までの空間には第1RWM領域が割り当てられ、「F210H」から「F21EH」までの空間には第2RWM領域が割り当てられたものとすることが可能である。
ここで、主制御基板が搭載するROMに関しては、不正行為によって改造されたプログラム等を書き込まれることを防止するため、未使用の領域(充填されていない領域)を設けないよう構成することが好適である。このようにするために、例えば、未使用領域を全て0によって充填し、使用している領域を若い(数値の小さい)番地に詰めて書き込む、等のことが考えられる。本実施例における、未使用領域は、すべてのビットが「0」となっており、当該未使用領域以外の領域は、いずれかのビットが「1」となっている(「0」ではなくなっている)。
<RWMの初期化の契機と範囲>
次に、第1RWM領域及び第2RWM領域の初期化の契機と範囲について説明する。まず、第1RWM領域の初期化の契機と範囲については、本実施例では電断復帰の状況に応じて、以下の(1)〜(3)のように定められている。
(1)設定変更装置作動時において、電源断復帰が正常に実行できない場合
第1RWM領域(「F000H」〜「F1FFH」)にデータ0をセットする。
(2)設定変更装置作動時において、電源断復帰が正常に実行できない場合以外の場合
第1RWM領域(「F000H」〜「F1FFH」)のうち、設定値データ、割込みカウンタ、内蔵乱数加工用乱数、ソフト乱数初期値及びRT状態番号、を除く範囲(「F008H」〜「F1FFH」)にデータ0をセットする。
(3)電源断復帰時である場合
第1RWM領域(「F000H」〜「F1FFH」)の作業領域(第1作業領域)及び第1スタックエリアの最大使用量を除く領域(「F14BH」〜「F1D6H」)にデータ0をセットする。
続いて、第2RWM領域の初期化の契機と範囲について説明する。
(1)設定変更装置作動時である場合
設定変更装置作動時のスタック使用量を除く第2RWM領域(例えば「F200H」〜「F3F5H」)にデータ0をセットする。
(2)電源断復帰時である場合
第2RWM領域(例えば「F200H」〜「F3FFH」)の作業領域(第2作業領域)及び第2スタックエリアの最大使用量を除く領域(例えば「F200H」〜「F20FH」及び「F21FH」〜「F3F2H」)にデータ0をセットする。
なお、第1作業領域を、例えば、「使用領域の作業領域」と称することが可能である。さらに、第1RWM領域には、第1作業領域が含まれていればよく、例えば、第1作業領域の先頭アドレスから第1スタックエリアの最終アドレスまで(図11の例ではF14BH〜F1D6Hの未使用領域を含む)を第1RWM領域としてもよい。さらに、第2RWM領域についても同様であり、例えば、第2作業領域の先頭アドレスから第2スタックエリアの最終アドレスまで(図11の例ではF21FH〜E3F2Hの未使用領域を含む)を第2RWM領域としてもよい。
ここで、ROMデータについての使用領域である第1制御領域、第1データ領域、第2制御領域、及び、第2データ領域については、その用途に基づき、例えば「遊技中に書き込みが行われない領域」などと称することができる。また、第1作業領域、第1スタック領域、第2作業領域、及び、第2スタック領域については、その用途に基づき、例えば「遊技中に書き込みが行われ得る領域」などと称することができる。
そして、前述のように内蔵ROMの領域と内蔵RWMの領域を、未使用領域(3000H〜EFFFH)を介して配置することにより、用途の異なる「遊技中に書き込みが行われない領域」と「遊技中に書き込みが行われ得る領域」とを、RWMにおいて、構造上(及びアドレス上)明確に区分けすることができる。
また、本実施例では、第1制御領域1よりも後に第1データ領域が配置され、その後に、未使用領域(1D9FH〜1FFFH)を挟んで、第2制御領域2と第2データ領域が続けて配置されている。また、第1作業領域、第1スタックエリア、第2作業領域、及び、第2スタックエリアが、それぞれ間に未使用領域を挟んで配置されている。したがって、「遊技中に書き込みが行われない領域」、及び、「遊技中に書き込みが行われ得る領域」のいずれについても、第1制御と第2制御の区別に応じて、混合することなく区分けした状態で配置することができる。
なお、第1制御と第2制御の区別について、例えば、「制御区別」、「制御区分」、「制御種別」、或いは、「制御分類」などと称することが可能である。また、第1制御領域と不第2制御領域、第1データ領域と第2データ領域、第1作業領域と第2作業領域2、或いは、第1スタックエリアと第2スタックエリアの組を、それぞれ、異なる制御区分間における同一種別の情報(データ)として捉え、これらの各組について、データ種別が同一であると称することが可能である。
そして、本実施例では、上述のような異なる制御区分間の同一のデータ種別(第1制御領域と第2制御領域、或いは、第1作業領域と第2作業領域など)については、互いに隣接することなく領域配置が行われている、ということができる。
また、本実施例においては、「遊技中に書き込みが行われ得る領域」である内蔵RWMの領域において、未使用領域が、第1スタックエリアと第2作業領域の間に設けられている。そして、内蔵RWMの領域において、異なる制御区分(第1制御と第2制御)の領域が、未使用領域を介して、互いに隣り合うことなく、且つ、混合されることなく配置されている。
さらに、本実施例では、例えば、第1制御プログラムに従って制御が行われている場合には、第2RWM領域への書込み(更新など)は行われないようになっており、第2制御プログラムに従って制御が行われている場合には、第1RWM領域への書込み(更新など)は行われないようになっている。しかし、例えば、第1制御プログラムに従って制御が行われている場合に、第2RWM領域のデータを参照すること(確認することなど)は行われる場合があり、第2制御プログラムに従って制御が行われている場合に、第1RWM領域のデータを参照すること(確認することなど)は行われる場合がある。
また、後述するように、第1制御から第2制御へ移行した後に第1制御に戻る場合や、第2制御から第1制御へ移行した後に第2制御に戻る場合には、移行の際と戻った際とで、レジスタの内容を同一に保つようにしている。
以上説明したようなRWMの領域配置や取扱いによれば、例えば、第1制御に係る第1作業領域と、第2制御に係る第2作業領域のように、異なる制御区分間の同一データ種別に該当するデータが、隣り合った領域やアドレスに記憶されている、といったような状況が生じるのを防ぐことができる。このため、例えば、不正を行う第三者が、遊技中に発生した所定のデータを探そうと、RWMのアドレスを昇順や降順に辿って記憶されているデータを確認したとしても、必要なデータを効率よく探知することができない。
つまり、遊技における各種の役抽せん結果やエラー情報などが記憶されるのは、第1作業領域や第2作業領域である。このため第三者が、例えば、アドレスを昇順或いは降順に辿り、第1作業領域や第2作業領域を探し当てようとしても、前後に未使用領域や、戻り番地を記憶する各スタックエリアが存在するため、第1作業領域や第2作業領域に直ぐには到達することができない。
また、第1作業領域から第2作業領域(或いは第2作業領域から第1作業領域)へ探知先を移行しようとしても、未使用領域や第1スタックエリアの存在により、直ぐには目的の作業領域へ到達することができない。そして、これらの結果、不正行為に必要な情報へのアクセスを遅らせることが可能になり、不正の防止や抑止を図ることが可能となる。
さらに、本実施例においては、第1制御領域内に存在しメインCPU81からアクセスされるプログラムコードと、第2制御領域内に存在しメインCPU81からアクセスされるプログラムコードとを、メモリマップ上において離隔して(アドレスが連続しない配置で)配置することができる。さらに、第1制御領域と第2制御領域の間に、未使用領域(1D9FH〜1FFFH)を挟んでいるため、プログラムソースコード上又はダンプリスト上において、双方のプログラムコードの配置を、視覚上明確に切り分けることが可能である。そして、このような切り分けによっても、不正の防止を図ることが可能である。
また、本実施例では、RWMへのデータの書き込みは、実行中の制御区分について定められたRWM領域のみのとなっている。つまり、第1制御と第2制御との間では、所定の場合に、制御区分の移行が行われ、第1制御が行われている状況では、第2作業領域と第2スタックエリアについてのデータ書き込みやデータ更新は行われず、第2制御が行われている状況では、第1作業領域と第1スタックエリアについてのデータ書き込みやデータ更新は行われないようになっている。
そして、各々の制御区分におけるデータの書込みは、他の制御区分への移行を行わずに、当該制御区分内で、当該制御区分に対応した作業領域やスタックエリアのみに対して行われる。したがって、第1制御と第2制御を、メインCPU81の処理上も明確に分けることができ、このことによって不正の抑止や早期発見が可能となる。
また、内蔵ROMの領域(0000H〜2FFFH)は、第1制御に係る領域(0000H〜1D9EH)と、第2制御に係る領域(2000H〜22E4H)とに分かれている。そして、第1制御プログラムと第2制御プログラムの間を移行して制御処理を行うことにより、第1制御と第2制御を明確に分離しつつ、遊技制御を行うことが可能となる。
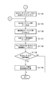
<主制御基板における電源投入時の処理>
次に、主制御基板における電源投入時の処理について説明する。電源ユニット64を介して主制御基板61のメインCPU81に電源投入があると、前述した内蔵ROM(図11参照)の「0000H」となるアドレス(第1制御領域)に配置されているプログラムコードから順番に実行されていく。メインCPU81は、第1制御に係るROM領域及びRWM領域内のデータに基づき、Qレジスタを「F000H」に設定する。
次に、メインCPU81は、第1制御に係るROM領域及びRWM領域内のデータに基づき、主制御の機能設定を実行する。さらに、メインCPU81は、第1制御に係るROM領域及びRWM領域内のデータに基づき、チェックサムを算出し、第1RWM及び第2RWMをチェックし(例えば、当該算出したチェックサムとチェックサム領域に保持されているチェックサムデータとに基づき、電源断・電源断復帰により内蔵RWMに格納されているデータが正しく保持されているか否かをチェックし)、電源断復帰データを生成する。
図12に基づき説明すると、主制御基板61のメインCPU81への電源投入により、図12に示す電源投入時の処理(「プログラム開始処理」、「電源ON時処理」、又は、「電源オン時処理」などともいう。)が実行される。この電源投入時の処理においては、所定のレジスタに対する初期値の設定が行われ(S1)、このレジスタ初期化の処理においては、メインCPU81に内蔵されているレジスタに初期値を設定する。設定の内容としては、メインCPU81に備えられているシリアル通信回路の通信速度の設定、割込み種類(モード)の設定、及び、送信するコマンドに付与するパリティの設定、等がある。さらに、本実施例では、割込み種類として、使用可能な各種割込み種類のうち、マスカブル割込みを1種類のみ使用している。また、パリティの設定においては、偶数パリティを使用している。
続いて、マスカブル割込みがセットされ(S2)、RWMへのアクセスが許可される(S3)。さらに、内蔵乱数の設定が行われ(S4)、RWMチェックが行われる。このRWMチェックにおいては、チェックサムの算出(S5)と、電源断処理が済んでいることを示す電源断処理済フラグとによって、前回の電源断時のバックアップが正常か否かを判断するための電源断復帰データの生成が行われる。上述のチェックサムの算出(S5)においては、電源断処理(後述する)におけるRWMチェックサムと同じ記憶領域範囲(ここでは図11中の内蔵RWMの「F000H」から「F3FFH」)について、チェックサムを実行する。
また、チェックサムの算出(S5)においては、算出の処理の後に、対象となる全範囲について算出が終了したか否かを判定し(S6)、全範囲についての算出が終了していなければ(S6:NO)、算出の処理(S5)に戻る。そして、対象となる全範囲についての算出が終了するまで、チェックサムの算出が繰り返される。ここで、対象となる全範囲についての算出が終了したか否かの判定は、1番地毎の演算の後に行ってもよく、また、所定範囲毎の演算の後に行ってもよい。
対象となる全範囲についてのチェックサムの算出が終了した後(S6:YES)、電源断復帰データをレジスタに記憶する(S7)。ここでは、電源断実行処理フラグ、RWMチェックサムの何れかが異常であった場合と、両方がともに正常であった場合とで、電源断復帰データが異なるようになっている。さらに、入力ポート1のデータをレジスタに記憶する(S8)。ここでは、次のステップ(S9)の指定スイッチ信号が入力されるポート(入力ポート1)のデータを取得する。
続いて、指定スイッチがONとなっているか否かの判定を行う(S9)。指定スイッチは、ドアスイッチ、設定ドアスイッチ、設定キースイッチの3つのスイッチを指す。そして、ドアスイッチ信号、設定ドアスイッチ信号及び設定キースイッチ信号の状態をチェックし(S9)、すべてのスイッチ信号がONの場合は(S9:YES)、後述する設定変更装置処理(図13参照)を行う。ここで、本実施形態においては、すべてのスイッチ信号がONの場合とは、前述の扉(前面ドア部11)が開放、設定ユニット62(図4参照)の設定ドアが開放、設定キースイッチ68がON方向に回転となっている場合であり、これらの3つの条件を満たした場合にS9の判定結果が「YES」となる。なお、指定スイッチから設定ドアスイッチを除外し、ドアスイッチと設定キースイッチの2つのスイッチがON状態であれば設定変更装置が作動状態となるようにしてもよい。
例えば、扉(前面ドア部11)が閉じているときに(ドアスイッチが閉鎖状態にあるときに)、設定ユニット62(図4参照)の設定ドアが開放状態にあり、設定キースイッチ68がON方向に回転となっていても、S9の判定は「YES」とはならない。このような場合には、不正が行われている可能性もあるため、判定結果を「YES」としないことにより、後述する設定変更装置処理(「設定変更処理」ともいう)へ移行しないようになっている。尚、設定ドアスイッチ67(図4参照)を備えていない場合には、すべてのスイッチ信号がONの場合とは、S9の判定処理において、ドアスイッチ信号、設定キースイッチ信号の状態をチェックした結果がONとなっていることを指す。
上述の指定スイッチがONとなっているか否かの判定(S9)で条件が満たされて「YES」となった場合には、電源断復帰データが異常であるか否かの判定を行う(S10)。この電源断復帰データに係る判定(S10)において肯定判断がされ、「YES」となった場合(電源断復帰データが異常であった場合)には、後述する設定変更装置処理(図13参照)へ移行する。また、否定判断がされて「NO」となった場合(電源断復帰データが異常でなかった場合)には、設定変更不可フラグがONか否かの判定が行われ(S11)、否定判断がされて「NO」となった場合(設定変更不可フラグがONでなかった場合)にも、設定変更装置処理(図13参照)へ移行する。
さらに、設定変更不可フラグに係る判定(S11)において、肯定判断がされて「YES」となった場合(設定変更不可フラグがONであった場合)には、後述する電源断復帰データの確認の処理(S12)に移行する。設定変更不可フラグは、RWMに記憶されるデータの1つであって、後述する遊技進行メイン処理(図14参照)において、役抽せん処理(S60)から遊技終了時のチェック(S68)までの間は、設定変更ができないことを示すデータである。
前述の指定スイッチがONとなっているか否かの判定(S9)で、少なくとも何れかのスイッチ信号がONではなかった場合(S9:NO)、又は、前述の設定変更不可フラグがONであった場合は(S11:YES)、電源断復帰データの確認の処理(S12)に移行する。この電源断復帰データの確認の処理(S12)においては、前回の電源断の際に電源断処理(後述する)が行われており、かつ、前回の電源断の際に所定のRWMエリアについて演算されたチェックサムの値が、正常であれば、正常と判定し、その他の場合は異常と判定する。
この電源断復帰データの確認の処理(S12)において、電源断復帰データが異常と判定した場合は(S12:NO)、エラー表示を実行し(S13)、獲得枚数表示LEDに対応するエラーコード(E1)を表示し、遊技機の動作を停止する。この時のエラーであるE1エラーは、設定変更装置処理(図13参照)が実行されないと解除されないエラーであり、後述するような、復帰が不可能なエラー(復帰不可能エラー)の1つでもある。上述の電源断復帰データの確認の処理(S12)において、電源断復帰データが正常と判定した場合は(S12:YES)、電源復帰処理(図21参照)へ移行する。電源復帰処理(図21参照)については後述する。
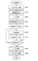
<設定変更装置処理>
図13は、前述の設定変更装置処理を示すものである。この設定変更装置処理においては、スタックポインタをセットし、設定変更装置の作動を開始する。そして、図中に示すように、RWM初期化の所定範囲をレジスタに記憶する(S21)が、ここではRWM初期化に係る「所定範囲」として、電源断処理が正常に実行されたと判断した場合の、前述の記憶領域範囲(ここでは図11中のF000H番地からF3FFH番地)をセットする。さらに、ここでは、前述の設定値に係る設定値データ、リプレイタイム(RT)に係るRT状態番号、前述の条件装置に係る条件装置フラグについては、初期化の対象としての記憶は行わない。ここで、RT(リプレイタイム)は、再遊技の当せん確率が通常よりも向上する遊技状態であり、RT状態番号は、再遊技の当せん傾向が異なる複数のRT状態を区別するための番号である。また、設定値は、前述のように理論上の当り易さ(遊技者の有利度合い)を規定するものと説明することができるが、より具体的には、設定値とは、例えば、その違いによって、役の当選確率が異なるものである、と説明することができる。また、これ以外にも、設定値は、役の当選確率は同じだが、役の当選に基づく他の抽選(AT抽選など)の当せん確率が異なるものである、といった態様で用いられることもある。
続いて、電源断復帰データが正常であるか否かの判定を行い(S22)、電源断処理(後述する)が正常に行われたか否かを判断する。この電源断復帰データは、前述の電源投入時の処理において、チェックサムの算出が終了した後に所定のレジスタに記憶されたものである。そして、電源断が正常に行われなかったと判定した場合には(S22:NO)、前述の設定値データ、RT状態番号、条件装置フラグを含めて、初期化の対象となる「特定範囲」とし、これらを含めた記憶領域範囲を、所定のレジスタに記憶する(S23)。ここで、「特定範囲」は、設定値データ、RT状態番号、条件装置フラグを含めた範囲である点で、上述の「所定範囲」と区別されるものである。
一方、上述の電源断復帰データが正常であるか否かの判定(S22)において、電源断が正常に行われたと判定した場合には(S22:YES)、所定のレジスタ(ここではAFレジスタ)の退避(S24)を行い、レジスタの内容(戻り番地)が前述の第1スタック領域に記憶される。そして、第1制御から第2制御への移行を行い、前述した第2制御に係る制御モジュールであるRWM初期化3(S25)を実行する。このRWM初期化3(S25)は、前述の第2制御領域に展開された第2制御プログラムの一部である。そして、RWM初期化3(S25)においては、第2制御に係るRWM領域(ここではF200H〜F3FFH)のうち、設定変更装置作動時のスタック使用量(設定変更装置作動時に必要なスタック領域)を除くRWMエリア(F200H〜F3F5H)がクリアされる。このRWM初期化3の詳細については後述する。
このRWM初期化3(S25)の後には、AFレジスタの復帰(S26)があり、第2制御から第1制御への移行(復帰)を行う。そして、割込みの起動設定の処理(S27)により、タイマ割込みを起動する。この割込みの起動設定の処理(S27)においては、割込みの種類や、タイマ割込みの周期を設定する。この処理の後、タイマ割込み処理であるタイマ割込み処理(図18参照)が実行可能となる。本実施例では、前述のように、タイマ割込みの周期は、2.235msとなっている。
続いて、「設定変更開始」を示すデータをレジスタに記憶する(S28)。この「設定変更開始」を示すデータは、設定変更装置処理が開始され、実行されていることを前述のサブ制御基板31に知らせるためのコマンドとなるものである。さらに、制御コマンドセット1の処理(S29)が行われるが、本実施例において制御コマンドセット1の処理(S29)は、制御コマンドセット2の処理を行うものとなっている。制御コマンドセット2の処理は、前述のサブ制御コマンドを、送信前に一旦記憶するリングバッファ(送信バッファ)に保存するための処理を行うものとなっている。ここでは、制御コマンドセット1の処理(S29)により、「設定変更開始」を示すサブ制御コマンドがリングバッファにセットされることとなる。なお、制御コマンドセット2の処理の詳細については後述する。
続いて、設定値が所定の範囲内であるかのチェックが行われ(S30)、設定値が正常な範囲(ここでは「1」から「6」の6つのうちの何れか)にない場合(S30:NO)は、設定値に1をセットし(S31)、設定変更装置作動中表示の処理(S31)に移行する。一方、設定値が正常な範囲にある場合(S30:YES)は、設定値(=1)のセット(S31)を行わずに、設定変更装置作動中表示の処理(S32)へ移行する。ここで、本実施例では、設定値の正常な範囲を「1」から「6」としており、「0」を正常範囲の値に使用していない。これは、何らかの事情で制御に異常が生じた場合に、値が偶然に「0」となってしまうことも考えられ、このような場合を的確に異常と判定できるようにするためである。
上述の設定変更装置作動中表示の処理(S32)においては、設定変更装置処理中のランプ(LED)点灯と、設定値の表示とを行う。ここで行う「点灯」や「表示」は、「点灯」や「表示」のためのデータ(フラグ)をセットする処理であり、具体的には、ここでセットされたデータが、この後のタイマ割込み処理(図18参照)中の所定の処理(ここでは図18中のLED表示の処理(S549))により、設定表示LED(66)や、得枚数表示LEDの駆動のために出力される。そして、本実施例では、設定表示LED(66)に設定値を表示し、得枚数表示LEDに設定変更装置作動中であることを示す「−−」を表示することとなる。
さらに、設定/リセットボタン信号(設定/リセットスイッチ信号)に係る判定の処理(S33)を行い、ドアスイッチ信号及び設定ドアスイッチ信号がONの状態で、設定/リセットボタン信号がOFFからONになった場合は(S33:YES)、設定値の更新の処理(S34)に移行し、その他の場合はスタートレバー25に係る判定の処理(S35)へ移行する。ここで、上述の設定/リセットボタン信号に係る設定/リセットボタン(69)は、前述のように、設定ボタン(設定スイッチ)とリセットボタン(リセットスイッチ)として、1つのボタン装置を兼用しているものである。さらに、設定/リセットボタン信号の立ち上がりデータに基づき、設定/リセットボタン信号に係る判定(S33)が行われている。
設定値の更新の処理(S34)においては、設定値を1加算する。ただし、加算した結果、値が最大設定値(ここでは6)を超えた場合は、設定値は1に戻る。スタートレバー25に係る判定の処理(S35)においては、スタートレバーセンサ信号(スタートセンサ信号)がOFFからONになった場合は(S35:YES)、設定キースイッチ68に係る判定の処理(S36)へ移行し、その他の場合は(S35:NO)、設定/リセットボタン信号に係る判定の処理(S33)へ移行する。
設定キースイッチ68に係る判定の処理(S36)においては、ドアスイッチ信号及び設定ドアスイッチ信号がONの状態で、設定キースイッチ信号がONからOFFになった場合は(S36:YES)、設定変更装置作動中表示クリアの処理(S37)へ移行し、その他の場合(S36:NO)はS36の処理を繰り返す。設定変更装置作動中表示クリアの処理(S37)においては、設定変更装処理中のランプ消灯と、設定値の表示終了とを行う。より具体的には、設定表示LEDを消灯し、獲得枚数表示LEDに「00」を表示する。ここで行う「消灯」や「表示終了」は、前述したのと同様に、「消灯」や「表示終了」のためのデータ(フラグ)をセットする処理であり、具体的には、ここでセットされたデータが、この後のタイマ割込み処理(図18参照)中の所定の処理(ここでは図18中のLEDの処理(S549))により、設定表示LEDや、得枚数表示LEDの駆動のために用いられる。
続いて、「設定変更終了」を示すデータをレジスタにセットする(S38)。この「設定変更終了」を示すデータは、設定変更装置処理が終了したことを前述のサブ制御基板31に知らせるためのコマンドとなるものである。さらに、制御コマンドセット1の処理(S39)が行われるが、この制御コマンドセット1(S39)は、前述の制御コマンドセット1(S29)と同じ制御モジュールを用いたものである。そして、制御コマンドセット1の処理(S39)により、「設定変更終了」を示すサブ制御コマンドがリングバッファにセットされることとなる。そして、この後、後述する遊技進行メイン処理(図14参照)へ移行する。
なお、設定変更装置を作動状態とする際には複数のスイッチがON状態となることを必要としていたが(図12のS9)、設定変更装置を非作動状態とする際には設定キースイッチのみが確認されるようになっている(図13のS36)。つまり、設定変更装置の作動終了の条件は、開始の条件に比べて緩和されているということができる。
<<制御コマンドセット2>>
次に、前述した制御コマンドセット1(S29、S39)において行われる制御コマンドセット2の処理について説明する。この制御コマンドセット2においては、制御コマンドバッファアドレスのセットを行い、制御コマンド書込ポインタのデータを取得する。さらに、指定アドレスをセットし、指定アドレスデータを取得し、制御コマンドが「64」よりも小さいか否かの判定を行う。
そして、制御コマンドが「64」よりも小さい場合には、制御コマンドをセットし、制御コマンド書込ポインタの更新を行って、処理を終える。上記制御コマンドが「64」よりも小さいか否かの判定処理で、制御コマンドが「64」よりも小さくなかった場合には、制御コマンドのセットや、制御コマンド書込ポインタの更新を行わずに処理を終える。
<遊技進行メイン処理>
次に、遊技進行メイン処理について、図14に基づき説明する。なお、ここでは遊技進行メイン処理の概要を説明し、遊技進行メイン処理で用いられる各種の制御モジュールのうち、本実施例において主要なものについては後述する。遊技進行メイン処理においては、スタックポインタをセットし(S51)、遊技開始セットの処理(S52)において、以下の処理を行う。すなわち、この遊技開始セットの処理(S52)においては、遊技状態をセットする。
つまり、遊技開始セットの処理(S52)においては、遊技開始時のセットを行う。さらに、図示は省略するが、遊技待機表示開始時間をセットし、引込み図柄データをクリアし、作動状態セットに移行する。
より具体的には、前回の遊技で停止表示された図柄組合せに基づいて、今回の遊技が、再遊技であるのか、前述の第一種特別役物に係る役物連続作動装置が作動する遊技(1種BB遊技)であるのかを示すデータをセットする。さらに、サブボーナス後のウエイト待機を行う。ここで、サブボーナスは、前述のサブ制御基板31の側で管理しているボーナスであり、例えば、特定の再遊技(特定リプレイ)に当せんした場合に、その後の所定数のゲームに亘り継続される、といったような遊技状態を意味している。
具体的な例としては、演出上「7」の図柄が入賞ライン上に揃って表示され、特定リプレイの入賞状態となり、更に、この特定リプレイの入賞から30ゲーム間に亘り、AT(アシストタイム)状態とすることで利益を付与する、といったような遊技状態を挙げることができる。そして、サブボーナス後のウエイト待機とは、AT状態が終了する際に、主制御基板61で管理するボーナス(メインボーナス)と同じように、ボーナス終了デモを行うための待機時間を意味している。そして、待機時間の開始契機は、主制御基板61側で特定リプレイに入賞してから30ゲーム経過時のように設定することが可能である。
続いて、この遊技開始セットの処理(S52)においては、図示は省略するが、各種遊技情報を示すコマンドを、それぞれコマンドバッファに書き込む。さらに、満杯検知信号をチェックし、遊技メダル補助収納庫71が満杯の場合は獲得枚数表示LEDにその旨を表すエラーコード(FE)を表示し、遊技を停止する。
遊技メダル補助収納庫71が満杯でない場合又はエラーが解除された場合は、遊技メダル投入の受け付けを行う。この遊技メダル投入の受け付けにおいては、再遊技未作動時の場合は、ブロッカ信号をON(通過可能状態)にして遊技メダル投入の受付を開始する。再遊技作動時の場合は、貯留装置へ遊技メダルの投入が可能であれば(クレジット数が最大数である50に達していなければ)ブロッカ信号をON(メダル流路形成)にし、貯留装置へ遊技メダルの投入が可能でない場合はブロッカ信号のONは行わず、前回の遊技における賭数の遊技メダルの自動投入動作を行う。再遊技作動時のブロッカ処理については後述する。
遊技進行メイン処理においては、続いて、図14中に示すように、遊技メダルの読み込みの処理(S53)を実行する。この遊技メダルの読み込みの処理(S53)においては、遊技メダル枚数データを読み込み、遊技メダル枚数の有無をチェックする。遊技メダルの読み込みの処理(S53)の後、遊技メダルの有無をチェックし(S54)、遊技メダルがない場合には(S54:NO)、遊技メダル投入待ち時の表示(メダルが投入可能なことの報知)の処理(S55)に移行し、遊技メダルがある場合は(S54:YES)、遊技メダル管理の処理(S56)へ移行する。ここで、遊技メダルがあるとは、遊技を行うための規定数を満たすために、遊技メダルが賭け設定(ベット)されている状態を示す。
遊技メダル投入待ち時の表示の処理(S55)においては、設定キースイッチ信号がOFFからONになった場合に、ブロッカOFFを行い、設置値表示開始時の制御コマンドをセットする。さらに、設定キースイッチ信号がONからOFFになるまで、設定表示LEDに設定値を表示する。そして、設定値表示終了時の制御コマンドをセットし、ブロッカONを行う。そして、遊技待機表示開始時間が経過している場合は、獲得枚数表示クリアの処理に移行し、その他の場合は処理を終了する。
遊技メダル管理(S56)においては、ブロッカの状態確認の処理を行い、このブロッカの状態確認の処理においては、投入された遊技メダルに基づいた投入処理、清算ボタン74やMAXベットボタン(3枚投入ボタン76)の操作に基づいた処理を行う。この遊技メダル管理(S56)については後述する(図26参照)。さらに、遊技メダル管理の処理(S56)の後に、ソフト乱数更新のための処理であるソフト乱数更新1(S57)が行われる。このソフト乱数更新1(S57)においては、ソフト乱数更新2を行うが、ソフト乱数更新2は、内蔵乱数加工用乱数の更新を行うものとなっている。
続いて、スタートレバーチェックの処理(S58)においては、スタートレバーの受付チェックを行う。つまり、図示は省略するが、投入・払出センサ異常表示を行い、投入枚数が規定数と一致していない場合は、処理を終了する。さらに、ブロッカON時の監視時間(ブロッカON時監視時間)が経過していない場合は、遊技開始表示LED信号をOFFにし、処理を終了する。続いて、遊技開始表示LED信号をONにする。そして、スタートレバーセンサ信号がOFFからONになった場合はスタートレバー受付に移行し、その他の場合は処理を終了する。
より具体的には、スタートレバー25の受付チェックとして、以下の処理を順に行う。すなわち、セレクタ通路に遊技メダルが滞留しているか否かを表すセレクタ通路センサ滞留フラグをチェックし、遊技メダルが滞留している場合は、獲得枚数表示LEDに対応するエラーコード(CH)を表示し遊技を停止する。その他の場合又はエラーが解除された場合は、投入センサ異常検出データをチェックし、異常入力を検出している場合は、獲得枚数表示LEDに対応するエラーコード(C0)を表示し、遊技を停止する。これらについての具体的な処理は、後述する。
さらに、その他の場合(異常入力を検出してない場合)又はエラーが解除された場合は、払出センサ異常検出データをチェックし、異常入力を検出している場合は、獲得枚数表示LEDにH0を表示し遊技を停止する。さらに、その他の場合(異常入力を検出していない場合)又はエラーが解除された場合は、オーバーフロー検出データをチェックし、遊技メダル補助収納庫が満杯の場合は、獲得枚数表示LEDにFEを表示し遊技を停止する。その他の場合(遊技メダル補助収納庫が満杯でない場合)又はエラーが解除された場合は、更に以下の処理に移行する。
すなわち、投入された遊技メダル枚数と規定数を比較し、規定数と一致した場合には次の処理(スタートレバー受付とするか否かを決める処理(S59))へ移行し、その他の場合はスタートレバー受付不可として、遊技メダル読み込みの処理(53)へ戻る。さらに、上述のスタートレバー受付とするか否かを決める処理(S59)では、停止ボタン24L〜24R、清算ボタン74及び各投入ボタンの操作がない状態で、かつスタートレバーセンサ信号がOFFからONに変化した場合は、スタートレバー受付となり、その他の場合はスタートレバー非受付となる。そして、遊技メダルセレクター44のブロッカ47をOFF(ソレノイドOFF)し、遊技メダルセレクター44を、遊技メダルの通過が不可能な返却状態とする。
スタートレバー受付に係る判定の処理(S59)において、スタートレバー受付でないと判定した場合は(S59:NO)、遊技メダル読込みの処理(S53)へ戻り、スタートレバー受付の場合は(S59:YES)、内蔵乱数(ハードウェア乱数)の取り込みを行い、役抽せん処理である内部抽せん開始の処理(S60)へ移行する。ここで、スタートレバー受付でないと判定した場合(S59:NO)におけるループ処理(S53〜S59)は、スタックポインタのセット(S51)の後に配置されており、このため、スタックポインタのセット(S51)は、常にループ処理(S53〜S59)の前に実行されるようになっている。
内部抽せん開始の処理(S60)においては、条件装置(再遊技、入賞役、役物、役物連続作動装置)に係る役抽せんや、図柄制御番号等の決定のための内部抽せん処理を行う。内部抽せん処理においては、遊技状態に応じて異なる役抽せんテーブルが用いられており、各種の遊技状態やRT状態に応じて当せん番号(当せん役)の種類や当選確率が異なっている。また、内部抽せんのための乱数として、上述の内蔵乱数に、加工用乱数(ここではソフトウェア乱数)を加算して得られたものを使用している。さらに、各種の役に係る抽せんについては、役の種類に基づき抽せんの順番が決められている。なお、内部抽せん開始の処理(S60)の詳細については後述する(図15参照)。
回胴回転開始処理(S61)を含む回胴管理の処理(S61〜S65)においては、回胴の加速から停止の管理が行われる。また、回胴管理の処理(S61〜S65)は、図示は省略するが、前述の擬似遊技を行うための処理である擬似遊技開始処理内でも実行されるものである。そして、回胴管理の処理(S61〜S65)においては、回胴の回転に係る機構の制御が行われるが、これについては後述する。
回胴回転開始の処理(S61)においては、回胴の回転を開始するためのデータセット及び回転不良の検査を行う。より具体的には、データセット要求がある回胴(データセット要求回胴)の有無を判定し、データセット要求回胴がある場合は、要求のある回胴にデータをセットする。さらに、定速中の回胴において回転不良を検出した場合は、当該回胴に対して加速状態セットの要求データをセットして、上述したデータセット要求回胴の有無の判定に戻る。そして、データセット要求回胴がない場合には、前述した制御モジュールであるソフト乱数更新処理1に移行する。
回胴回転開始処理(S61)に続いては、ずらしコマ数(引込みポイント)の作成を行う(S62)。このずらしコマ数作成の処理(S52)においては、停止済みでないすべての回胴について、ずらしコマ数を示すデータを作成する。より具体的には、図示は省略するが、ずらしコマ数作成要求がない場合は、処理を終了する。さらに、第3回胴(51R)、第2回胴(51C)、第1回胴(51L)の順にずらしコマ数作成要求があるすべての回胴に対して、以下の処理を行う。
先ず、ずらしコマ数作成に用いるテーブル検索番号を保存するRWMアドレスを保存すする。続いて、制御回胴番号をRWMに保存し、図柄配列コマ数分の引込みポイント初期化の処理を行う。さらに、コントロール制御実行の処理を行い、テーブルセット制御の処理を行う。さらに、制御図柄番号の初期化の処理を行い、各制御図柄番号に対して以下の処理を行う。
先ず、停止可能位置作成の処理を行う。続いて、ずらしコマ数を、制御回胴及び制御図柄番号に応じたRWMに保存する。さらに、ずらしコマ数作成要求をクリアし、割込み待ちの処理に移行する。
このようなずらしコマ数作成の処理(S62)の後には、回転停止受付チェックの処理(S63)へ移行する。この回転停止受付チェックの処理(S63)においては、停止操作に係るチェックのため、先ず、全回胴のセンサのチェックを行い、停止受付不可の場合は処理を終了する。さらに、回転中の回胴に対応する停止ボタンセンサの出力信号(停止ボタンセンサ信号)のいずれかがONになった場合は、停止ボタン受付の処理に移行する。さらに、全回胴の回転又は停止状態に合わせて、停止受付情報データをセットし、停止位置を決定して、全回胴停止チェックの処理(S64)へ移行する。
全回胴停止チェックの処理(S64)においては、すべての回胴が停止中の状態であり、かつ停止ボタン(24L、24C、24R)及びスタートレバー25の操作が終了しているかチェックする。この全回胴停止チェックの処理(S64)では、すべての回胴51L〜51Rが停止し、かつ、スタートレバー25及び停止ボタン24L〜24Rの操作が、例えば、前述のように第3停止時にスタートレバー25又はいずれかの停止ボタン24L〜24Rを操作し続けた状態等になく、適正に終了しているかのチェックが行われる。
続く全回胴停止の判定の処理(S65)において、肯定の判定がされた場合は(S65:YES)、表示判定の処理(S66)へ移行し、その他の場合はずらしコマ数作成の処理(S62)に戻る。
表示判定処理(S66)においては、以下の処理を順に行う。すなわち、表示判定を行った結果、図柄の組合せ表示が異常の場合は、獲得枚数表示LEDに対応するエラーコード(E5)を表示し、遊技の動作を停止する。
続いて、入賞による遊技メダル払出しの処理(S67)に移行する。入賞による遊技メダル払出しの処理(S67)においては、入賞による遊技メダル払出がある場合は、遊技メダルを払出す。また、図示は省略するが、この遊技メダルの払出しの際には、払出された遊技メダルの枚数を表示するための表示処理を行う。この遊技メダル枚数の表示処理においては、遊技メダルが1枚払出される毎に、表示装置(ここでは貯留枚数表示部)に表示する値を更新する。
より具体的には、入賞による遊技メダルの払い出し及びBB作動時の払出し枚数の管理のため、先ず、遊技メダル払出開始時の制御コマンドをセットする。続いて、メダル払出信号出力回数をセットし、遊技メダル払出し枚数がない場合は、処理を終了する。さらに、BB作動時の獲得可能枚数を更新し、払出し枚数分、後述する処理を行って、遊技メダル払出終了時の制御コマンドをセットする。
上述の払出し枚数分に係る処理としては、先ず、遊技メダルの払い出し先に応じて以下の処理を行う。すなわち、貯留装置への払い出しが可能な場合には、加算時間待機後に、貯留枚数1枚加算を行い、貯留装置への払い出しが不可能な場合には、遊技メダル1枚払出しを行う。続いて、払出し枚数分に応じた処理として、獲得枚数データを1加算する。
次に、遊技終了時の処理(S68)を行う。この遊技終了時の処理(S68)においては、先ず、再遊技表示LEDを消灯する。続いて、再遊技作動状態フラグ並びに入賞及び再遊技条件装置番号をクリアする。さらに、BB作動時の場合には、BB作動管理の処理を行い、RB作動時の場合には、RB作動管理の処理を行う。また、ボーナス作動中でない場合には、RT状態管理の処理に移行する。
この後、遊技終了時の出力要求をセットし(S69)、前述した制御コマンドセット1を行って(S70)、遊技進行メインの処理を再度実行する。なお、役物や連続作動装置に入賞が発生していても、対応する図柄の組合せが揃っていない場合は、これらの入賞に係るフラグは持ち越す。また、再遊技や小役の条件装置に係るフラグはクリアする。すなわち、上述の遊技状態に応じた終了処理としては、持越し役以外の条件装置番号のRWMクリア処理、RT番号の生成処理、及び、フリーズ状態の移行処理、外部信号データの生成処理、等が行われる。
続いて、遊技進行メイン処理(S51〜S70)における各種の処理のうち、内部抽せん開始処理(S60)について、更に詳細に説明する。前述のように、内部抽せん開始処理(S60)は、遊技を開始できる状況において、スタートレバー操作の受付が検出されると移行する処理である。図15に示すように、内部抽せん開始処理(S60)においては、条件装置番号セット(S81)、図柄制御番号セット(S82)、引込み図柄データセット(S83)、制御図柄セット(S84)、出玉抽せん管理(S85)、条件装置コマンドセット(S86)、回胴回転開始待機(S87)、回胴回転開始準備(S88)の各処理が順に実行される。
これらのうち、条件装置番号セット(S81)においては、先ず、ボーナス条件装置作動時であるか否かの判定を行う。そして、ボーナス条件装置作動時でなければ、ボーナス条件装置番号を示すデータの保存を行い(S502)、入賞及び再遊技条件装置番号を示すデータの保存を行う。
前述の出玉抽せん管理の処理(図15のS85)においては、演出グループ番号に係るデータをセットし、指定番号をセットし、メイン遊技状態管理の処理を行って条件装置コマンドセットの処理(図15のS86)へ移行する。
条件装置コマンドセットの処理(図15のS86)においては、図16に示すように、割込みを禁止し(S511)、AFレジスタの退避(S512)を行って、第2制御に移行して、図柄停止信号出力の処理(S513)を実行する。第2制御として行われる図柄停止信号出力の処理(S513)は、試射試験用の図柄停止信号データを出力するための処理であるが、その詳細については後述する(図33参照)。
図柄停止信号出力の処理(S513)が終わると、第1制御に係る条件装置コマンドセットの処理(図16)に戻り、AFレジスタの復帰を行う(S514)。さらに、割込みを許可し(S515)、スタートレバー受付時コマンドテーブルをセットし(S516)、呼び出し元へ復帰する。
回胴回転開始待機の処理(図15のS87)においては、前述の最小遊技時間が経過したか否かを判定し、最小遊技時間が経過すると、最小遊技時間のデータを保存する。続いて、条件装置出力時間の保存を行い、コマンド送信待ちの処理を行う。
回胴回転開始準備の処理(図15のS88)においては、回胴停止順番データ及び押し順データを初期化し、回胴停止フラグ及びずらしコマ数の作成要求に係るデータを初期化する。さらに、初期化図柄群数のデータをセットし、図柄制御データテーブル1のセットを行う。また、初期化開始RWMアドレスのセットを行い、停止図柄データの初期化を行う。
続いて、全回胴回転開始時の出力要求に係るデータをセットし、前述したのと同じ制御コマンドセット1を実行する。そして、全回胴回転開始ビット及び回転開始準備状態に係るデータをセットし、回転開始回胴ありを示すデータをセットする。
次に、前述の遊技進行メイン処理(図14参照)における表示判定処理(S66)について説明する。図17は、表示判定(S66)の処理の内容を示している。この表示判定処理においては、獲得枚数表示クリア処理(S401)が実行され、その後に各種データのセット処理(S402、S403)や、E5エラーのセット処理(S404)が実行される。
上述の獲得枚数表示クリア処理(S401)は、獲得枚数表示のデータをクリアするためのものであり、前述した貯留投入処理(図27参照)における獲得枚数表示クリアの処理(S339)と同様な処理である。さらに、上述の各種データのセット処理(S402、S403)は、所定の停止図柄データに係るRWMアドレスのセット(S402)、及び、制御図柄群数や蹴飛ばし図柄データに係るRWMアドレスのセット(S404)である。
ここで、蹴飛ばし図柄データは、役抽せんの結果に対応しない図柄組合せを構成する図柄データである。そして、この蹴飛ばし図柄データには、例えば、前述のBB(ビッグボーナス)に当せんしていない場合における、BBの図柄組合せを構成する一部の図柄に係る図柄データなどが該当する。
さらに、蹴飛ばし図柄に係る集合演算を行い(S405)、蹴飛ばし図柄データと、このときの遊技で表示された図柄の相関を演算する。そして、表示された図柄が蹴飛ばし図柄に該当するか否かの判定を行い(S406)、蹴飛ばし図柄が表示されている場合には(S406:YES)、復帰不可能エラー処理(図29参照)へ移行する。この復帰不可能エラー処理については後述する。
一方、蹴飛ばし図柄が表示されていない場合には(S406:NO)、次の停止図柄データアドレスのセット(S407)、次の蹴飛ばし図柄データアドレスのセット(S408)を行う。そして、制御図柄群数に応じた分の判定が終了したか否かを判定し(S409)、終了している場合には(S409:YES)、1ライン表示判定処理(S421)へ移行する。また、制御図柄群数に応じた分の判定が終了していない場合には(S409:NO)、蹴飛ばし図柄に係る演算処理(S405)の直前に戻る。
上記S409で、制御図柄群数に応じた分の判定が終了している場合には(S409:YES)、S421へ移行し、1ライン表示判定処理を実行する。この1ライン表示判定処理(S421)では、有効ライン1ラインの表示判定及び表示時のデータセットを行う。具体的には、有効ライン上に停止するよう決められた図柄組合せに応じて、作動種別、図柄組合せ表示フラグ、遊技メダル払出枚数データ、払出し枚数バッファ及び入賞図柄グループを保存する。
続いて、全回胴回転停止時の演出表示の処理(S422)により、全回胴停止時の演出表示のための処理を行う。この全回胴回転停止時の演出表示処理(S422)では、3番目の停止操作に係る第3停止時待機時間が通過するまで待機し、メイン遊技状態管理の処理を行い、全回胴回転停止時における制御コマンドをセットし、全回胴回転停止時におけるRWM初期化を行う。
さらに、投入・払出センサ異常表示の処理(S423)に進み、詳細は後述するが、投入・払出センサ異常セットの処理を行う。そして、エラー表示要求の有無をチェックし、エラー表示要求がある場合は、該当するエラーのエラー表示を行い、その他の場合は処理を終了する。また、エラーが解除された場合は、投入・払出センサ異常クリアを行う。
図50は、上述の投入・払出センサ異常表示処理(図17のS423)をより具体的に示している。この投入・払出センサ異常表示処理では、図50に示すように、割込みを禁止し(S431)、AFレジスタの退避を行って(S432)、第2制御に係る投入・払出センサ異常セットの処理を行う(S433)。この投入・払出センサ異常セット処理(S433)の詳細については後述する(図36参照)。
投入・払出センサ異常セット処理(S433)の後、AFレジスタの復帰を行い(S434)、割込み許可を行い(S435)、エラー表示要求データ取得の処理を行う(S436)。このエラー表示要求データ取得処理(S436)においては、エラー表示要求データを取得する。そして、エラー表示要求データがあるか否かの判定を行い(S437)、エラー表示要求データがない場合には(S437:NO)、処理を終了する。上記S437で、エラー表示要求データがある場合には(S437:YES)、エラー表示の処理(S438)を行う。このエラー表示処理(S438)の詳細については後述する(図24参照)。
この後、割込みを禁止し(S439)、AFレジスタの退避を行って(S440)、第2制御に係る投入・払出センサ異常クリアの処理(S441)を行う。この投入・払出センサ異常クリア処理の詳細については後述する(図37参照)。投入・払出センサ異常クリア処理(S441)の後、AFレジスタの復帰を行い(S442)、割込みを許可し(S443)、先頭の割込み禁止の処理(S431)へ戻る。
<主制御基板におけるタイマ割込み処理>
次に、タイマ割込み処理について、図18に基づき説明する。なお、ここではタイマ割込み処理の概要を説明し、タイマ割込み処理で用いられる各種の制御モジュールのうち、本実施例において主要なものについては後述する。タイマ割込み処理は、図12に示す電源投入時の処理や、図13に示す設定変更装置処理(S27参照)での起動に基づき、所定周期(ここでは2.235ms)ごとに繰り返し実行されるものである。
このタイマ割込み処理においては、割込み開始時の初期化処理として、レジスタの値を退避し(S541)、重複割込の禁止のための割込みフラグのクリアを行う(S542)。そして、この初期化処理におけるレジスタの退避の処理(S541)は、前述の遊技進行メイン処理(図14参照)で使用されているレジスタを、このタイマ割込み処理で使用できるようにするためのものである。
続いて、電源断処理(S543)を実行する。この電源断処理(S543)においては、電源断検知信号の有無の判定の後に各種の処理を行うが、その詳細について後述する。さらに、割込みカウンタを更新し(S544)、入力ポートデータ生成(S545)、回胴駆動管理(S546)、ポート出力(S547)、制御コマンド送信(S548)、LED表示(S549)、サブ報知データ出力(S550)、タイマ計測(S551)の各処理を順次実行する。
そして、これらを実行した後に、図中に示すように、エラー管理の処理(S552、図20参照)へ移行する。続いて、外部信号出力データ管理の処理(S759)、外部信号出力の処理(S760)を順に行う。これらの各処理(S759、S760)については後述する。
さらに、AFレジスタの退避を行い(S761)、第2制御に移行して、試験信号出力の処理(762)を行う。この試験信号出力の処理(S762)については後述する(図35参照)。試験信号出力の処理(S762)が終わると、第1制御に戻り、AFレジスタの復帰を行う(S763)。そして、ソフト乱数管理の処理(S764)を行い、レジスタ復帰(S765)の後に割込み許可を行い、処理を終える。
なお、以下では、タイマ割込み処理における各処理(S543、S545〜551等)について説明するが、ここでは先ず、上述した各処理のうちの電源断処理(S543)について説明する。
<<電源断処理>>
電源断処理(S543)においては、図19に示すように、前回電源断検知信号がONであるか否かの判定を行い(S561)、ONである場合には(S561:YES)、今回の入力ポート0データの入力を行う(S562)。さらに、電源断検知信号がONであるか否かの判定を行い(S563)、ONである場合には(S563:YES)、クリア出力ポートアドレス及び出力ポート数のデータをセットする(S564)。
続いて、出力ポート(0〜6)をOFFし(S565)、次の出力ポートアドレスのデータをセットする(S566)。さらに、出力が終了したか否かの判定を行い(S567)、終了していれば(S567:YES)、スタックポインタの保存を行う(S568)。上記S567で、出力が終了していなければ(S567:NO)、上記S565の、出力ポート(0〜6)をOFFする処理(S565)へ戻る。
上記S568の後、電源断処理済みフラグのセットを行い(S569)、RWMチェックサムデータのクリアを行い(S570)、RWMチェックサム算出用の初期データをクリアする(S571)。また、RWMチェックサムの算出を行い(S572)、全バイトについての算出が終了したか否かの判定を行う(S573)。さらに、全バイトについての算出が終了していれば(S573:YES)、RWMチェックサムデータのセットを行う(S574)。そして、RWMのアクセスを禁止し(S575)、処理をループさせてリセット待ちの状態となる(S576)。
なお、上記S561で、前回電源断検知信号がONでなかった場合(S561:NO)や、上記S563で、電源断検知信号がONでなかった場合(S563:NO)には、処理を終了する。
電源断処理の実行の契機としては、メインCPU81のNMI端子(図示略)に電圧低下を示す電源断信号が入力されたことに基づきノンマスカブル割込み(NMI)を発生させるハードウェア的なものと、割込み処理で、電圧低下が検知された際に立てた電源断フラグを確認して行うソフトウェア的なものなどがある。また、NMI端子に入力される電源断信号に基づき、電源断フラグを設定し、電源断処理の実行契機としても良い。
<<入力ポートデータ生成>>
続いて、入力ポートデータ生成処理においては、入力ポート0〜2の読み込みの処理を行う。
<<回胴駆動管理>>
上述の回胴駆動管理(S546)の処理においては、各回胴の駆動制御を行う。より具体的には、回胴数をセットし、回胴データアドレスセットの処理を行う。さらに、回胴駆動制御を行い、全回胴について終了すれば、ポート出力の処理(図18のS547)へ移行する。上記処理で、回胴駆動制御が全回胴について終了していない場合には、回胴データアドレスセットの処理へ戻る。
<<<回胴駆動制御>>>
続いて、上述の回胴駆動制御の処理について説明する。回胴駆動制御の処理においては、回胴の停止中であるか否かの判定を行い、停止中でなければ、回転開始準備の状況であるか否かの判定を行う。さらに、回転開始準備の状況であれば、回胴駆動パルスデータ検索用カウンタの補正を行い、加速状態のデータのセットを行って、更新用アドレスに回胴駆動状態のデータをセットする。
ここで、上記回胴の停止中であるか否かの判定処理で、回胴停止中の状況でなければ、処理を終了する。また、上記回転開始準備の状況であるか否かの判定処理で、回転開始準備の状況でなければ、間の処理を行わずに、前述の更新用アドレスに回胴駆動状態のデータをセットする処理を行う。
上記更新用アドレスに回胴駆動状態のデータをセットする処理の後に、回胴駆動パルス出力カウンタを−1し、出力カウンタが0であるか否かの判定を行う。さらに、出力カウンタが0である場合には、駆動パルスクリアデータ及び停止状態のデータをセットし、モータ(回胴ステッピングモータ)の4相をOFFする。ここで、上記出力カウンタが0であるか否かの判定処理で、出力カウンタが0でない場合には、処理を終了する。
続いて、減速中であるか否かの判定を行い、減速中でなければ、回胴駆動パルス出力カウンタを+1する。さらに、回胴が定速中の状況にあるか否かの判定を行い、定速中であれば、回胴駆動パルスデータ検索用カウンタが偶数であるか否かの判定を行う。
そして、上記回胴駆動パルスデータ検索用カウンタが偶数であるか否かの判定処理で、回胴駆動パルスデータ検索用カウンタが偶数であれば、回胴回転不良検出カウンタを+1し、回胴駆動パルス更新の処理を行う。また、上記回胴が定速中の状況にあるか否かの判定処理で、定速中でない場合や、上記回胴駆動パルスデータ検索用カウンタが偶数であるか否かの判定処理で、回胴駆動パルスデータ検索用カウンタが偶数でない場合には、間の処理を行わず、回胴駆動パルス更新の処理を行う。
続いて、定速状態セットの処理を行い、加速中であるか否かの判定を行う。さらに、加速中であれば、パルス切り替え回数を−1し、切り替え回数が0であるか否かの判定を行う。そして、切り替え回数が0でない場合には、更新用アドレスに回胴駆動パルス出力カウンタのデータをセットする。
さらに、パルス切り替え回数のデータを取得し、回胴立ち上がりパターンテーブルをセットする。そして、指定アドレスデータセットの処理を行い、更新用アドレスの回胴制御データセットを更新して、処理を終了する。上記切り替え回数が0であるか否かの判定処理で、切り替え回数が0であった場合には、間の処理を行わず、処理を終了する。
上記加速中であるか否かの判定処理で、回胴が加速中の状況でなかった場合には、1図柄のステップ番号RWMアドレスのセットを行い、定速中か否かの判定を行う。さらに、低速中であった場合には、回胴センサ信号を取得し、取得した回胴センサ信号が制御対象となっている回胴の回胴センサのものであるか否かの判定を行う。
上記取得した回胴センサ信号が制御対象となっている回胴の回胴センサのものであるか否かの判定処理で、制御回胴の回胴センサのものであると判定した場合には、回胴センサ信号の立ち上がりを検出したか否かの判定を行う。さらに、回胴センサの立ち上がりであった場合には、回胴センサ通過時基準図柄番号を保存し、回胴回転不良検出カウンタを初期化する。
続いて、基準ステップ数補正値をセットし、回胴センサ通過時基準ステップ数を生成し、回胴センサ通過時基準ステップ数を保存し、処理を終了する。上記取得した回胴センサ信号が制御対象となっている回胴の回胴センサのものであるか否かの判定処理で、取得した回胴センサ信号が制御対象回胴のものでなかった場合には、前述の、回胴センサ信号取得の処理へ移行する。また、上記回胴センサ信号の立ち上がりを検出したか否かの判定処理で、回胴センサ信号の立ち上がりであった場合には、回胴センサ通過済みであるか否かの判定を行う。また、上記定速中か否かの判定処理で、低速中でなかった場合にも、回胴センサ通過済みであるか否かの判定を行う。
上記回胴センサ通過済みであるか否かの判定処理で、回胴センサ通過済みであった場合には、1図柄のステップ数を−1し、1図柄分動いたか否かの判定を行う。上記回胴センサ通過済みであるか否かの判定処理で、回胴センサ通過済みでなかった場合には、処理を終える。さらに、1図柄分動いた場合には、1図柄のステップ数である16を保存し、図柄番号の更新を行う。
さらに、1図柄のステップ番号RWMアドレスをセットし、図柄番号を+3し、所定の除算((図柄番号+3)÷5)を行う。また、図柄番号+3の値が5の倍数であるか否かの判定を行い、判定結果が5の倍数でなかった場合には、図柄ステップ数を補正し、減速開始図柄位置に達したか否かの判定を行う。
上記図柄番号+3の値が5の倍数であるか否かの判定処理で、判定結果が5の倍数であった場合には、前述の、図柄ステップ数の補正を行わずに、上記減速開始図柄位置に達したか否かの判定の処理を行う。上記1図柄分動いたか否かの判定処理で、回胴が1図柄分動いていなかった場合には、間の処理を行わずに、前述の、減速開始図柄位置に達したか否かの判定の処理を行う。
上記減速開始図柄位置に達したか否かの判定処理で、減速開始図柄位置に達した場合には、減速パルスカウンタのセットを行い、減速開始図柄位置に達していない場合には、処理を終える。さらに、上記減速パルスカウンタのセットの後、減速状態のセットを行い、減速パルスデータのセットを行い、モータの4相をONして、回胴状態のセットを行う。ここで、前述の、減速中であるか否かの判定処理で、減速中でなかった場合には、間の処理を行わずに、上記回胴状態のセットの処理を行う。
上記回胴状態のセットの処理の後、回胴状態が減速開始から減速中に変化したか否かの判定を行い、回胴状態が減速中に変化した場合には、回胴回転停止時の出力要求のセットを行う。そして、前述の制御コマンドセット2の処理(参照)を行い(S649)、処理を終える。上記回胴状態が減速開始から減速中に変化したか否かの判定処理で、回胴状態の変化がなかった場合には、間の処理を行わず、処理を終える。
<<ポート出力>>
前述のポート出力の処理(図18のS547)においては、出力ポート0及び1の出力を行う。より具体的には、出力ポート0のデータを生成し、出力ポート0のデータを出力する。さらに、出力ポート1のデータを生成し(S663)、出力ポート1のデータを出力して、制御コマンド送信の処理(図18のS548)に移行する。
<<制御コマンド送信>>
上述の制御コマンド送信の処理(図18のS548)においては、周辺基板に送信する制御コマンドを出力する。より具体的には、制御コマンドバッファアドレスをセットし、制御コマンド読み込みポインタのデータを取得する。さらに、指定アドレスをセットし、送信対象制御コマンドアドレスのセットを行う。そして、制御コマンドの有無を判定し、未送信の制御コマンドがある場合は、制御コマンド出力の処理を行い、出力ポート7及び8に制御コマンドを出力する。
続いて、サブ制御データストローブ信号をONにした状態で、出力ポート2に出力データを出力し、送信済みの制御コマンド保存バッファをクリアし、制御コマンド読込ポインタを更新する。さらに、サブ制御データストローブ信号をOFFにした状態で、出力ポート2に出力データを出力する。そして、出力ポート7及び8にクリアデータ(制御コマンドクリアデータ)を出力して、LED表示の処理(図18のS549)に移行する。上記で、未送信の制御コマンドがなかった場合は(S675:NO)、間の処理を行わず、上記の、サブ制御データストローブ信号をOFFにした状態での、出力ポート2に出力データを出力する処理を行う。
<<LED表示>>
上述のLED表示の処理(図18のS549)においては、LED表示カウンタを更新し、カウンタ値をもとに、出力するLEDデジット1〜5信号を決定し、出力するLEDデジット1〜5信号に対応したLEDの表示要求があれば、出力するデータに対応したLEDセグメントA〜G信号をセットする。表示要求がない場合には、LEDセグメントA〜G信号をすべてOFFにする。そして、出力するLEDデジット1〜5信号及びLEDセグメントP信号により表示されるLEDの表示要求がある場合は、LEDセグメントP信号をONにし、LEDデジット及びLEDセグメントの出力を行って、LEDデジット及びLEDセグメントの出力を更新する。
より具体的には、LEDデジット・セグメントに対応した出力ポート3及び4をOFFし、LED表示カウンタを更新する。さらに、LED表示カウンタが0であるか否かの判定を行い、LED表示カウンタが0であれば、LED表示カウンタを初期化して、LED表示カウンタのデータ及びLED表示要求フラグを取得する。
上記LED表示カウンタが0であるか否かの判定処理で、LED表示カウンタが0でなければ、LED表示カウンタの初期化を行わずに、LED表示カウンタのデータ及びLED表示要求フラグを取得する。さらに、今回表示するデジットのセグメント表示要求の確認に係るデータをセットし、表示要求があるか否かの判定を行う。そして、表示要求がある場合には、エラー表示データの取得を行い、エラー表示データのセットを行う。
続いて、7セグLEDセグメントテーブル2をセットし、設定データを取得する。さらに、設定値表示データの生成を行い、設定値表示要求があるか否かの判定を行う。そして、設定値表示要求がない場合には、貯留枚数データを取得し、上位桁用オフセットのデータを取得する。
さらに、貯留枚数(上位桁)表示要求があるか否かの判定を行い、貯留枚数(上位桁)表示要求がない場合には、貯留枚数(下位桁)表示要求があるか否かの判定を行う。このS707で貯留枚数(下位桁)表示要求がなかった場合には、設定変更装置作動中表示データ、獲得枚数データ、及び、表示データの取得を行い、エラー表示時であるか否かの判定を行う。
続いて、上記エラー表示時であるか否かの判定処理でエラー表示時であった場合には、7セグLEDセグメントテーブル1をセットし、上位桁用オフセットのデータを取得する。さらに、獲得枚数(上位桁)表示要求があるか否かの判定を行い、ない場合には、下位桁用オフセットのデータを取得する。また、セグメント出力データの取得を行い、所定のセグメントPに係る表示要求があるか否かの判定を行う。
そして、セグメントP表示要求があった場合(S715:YES)には、セグメントP出力データをセットし(S716)、LEDデジット・セグメントに対応した出力ポート3及び4への出力を行う。
前述した表示要求があるか否かの判定処理で表示要求がなかった場合には、間の処理を行わずに、前述のセグメントPに係る表示要求を確認する処理へ移行する。また、前述の設定値表示要求があるか否かの判定処理で設定値表示要求があった場合には、セグメント出力データ取得の処理へ移行する。
さらに、前述した貯留枚数(上位桁)表示要求があるか否かの判定処理で、貯留枚数(上位桁)表示要求があった場合には、前述の、下位桁用オフセットのデータを取得する処理を移行し、前述の、貯留枚数(下位桁)表示要求があるか否かの判定処理で、貯留枚数(下位桁)表示要求があった場合には、前述の、セグメント出力データの取得の処理へ移行する。また、前述したエラー表示時であるか否かの判定処理において、エラー表示時でなかった場合には、7セグLEDセグメントテーブル1のセットを行わずに、上位桁用オフセットのデータを取得する。
さらに、前述した獲得枚数(上位桁)表示要求があるか否かの判定処理で、獲得枚数(上位桁)表示要求があった場合には、前述の、セグメント出力データの取得の処理へ移行する。また、前述したセグメントP表示要求がなかった場合には、前述の、LEDデジット・セグメントに対応した出力ポート3及び4への出力の処理へ移行する。
<<サブ報知データ出力>>
前述のサブ報知データ出力の処理(図18のS550)においては、周辺基板に送信する報知データを出力するため、停止受付情報データにより、停止ボタン1〜3報知データをセットする。さらに、遊技メダル限界(貯留限界枚数ともいい、ここでは50枚。)に達したか否か等に係る所定条件をすべて満たした場合は、3枚投入ボタン報知データをセットする。そして、入力ポート0レベルデータにより、設定/リセットボタン報知データ、設定キースイッチ報知データ、ドアスイッチ報知データ及び設定ドアスイッチ報知データをセットする。また、出力ポート6にセットした報知データを出力する。
より具体的には、停止受付情報データをセットし、遊技メダル限界チェックの処理を行う。さらに、遊技メダル限界に達しているか否かの判定を行い、達していなければ、ブロッカ信号がOFFか否かの判定を行う。
また、ブロッカOFFでなければ、貯留枚数の確認のための判定を行い、貯留枚数があれば、遊技メダルの通過があったか否かを判定する。そして、上記遊技メダルの通過があったか否かの判定処理で、遊技メダルの通過がなければ、3枚投入ボタン報知データをセットする。そして、設定/リセットボタン報知データ、設定キースイッチ報知データ、ドアスイッチ報知データ及び設定ドアスイッチ報知データをセットする。続いて、出力ポート6にセットした報知データを出力する。
上記遊技メダル限界に達しているか否かの判定処理で遊技メダル限界に達していた場合、上記ブロッカ信号がOFFか否かの判定処理でブロッカ信号がOFFだった場合、上記貯留枚数の確認のための判定処理で貯留枚数がなかった場合、或いは、上記遊技メダルの通過があったか否かの判定処理で遊技メダル通過が検出されていた場合には、3枚投入ボタン報知データをセットする処理を行わず、設定/リセットボタン報知データ等のセットを行う。
<<タイマ計測>>
前述のタイマ計測の処理(図18のS551)においては、タイマの更新処理を行い、すべてのタイマ用RWMについて1減算をする(0未満の場合は0をセットする)。より具体的には、計測開始タイマアドレスをセットし、1バイトタイマ数をセットする。さらに、カウントダウンの処理を行い、次のタイマアドレスをセットする。続いて、1バイトタイマ計測が終了したか否かの判定を行い、終了していれば、2バイトタイマ数をセットする。上記1バイトタイマ計測が終了したか否かの判定処理で、1バイトタイマ計測が終了していない場合には、カウントダウンの処理へ戻る。
上記2バイトタイマ数をセットする処理で2バイトタイマ数をセットした後には、2バイトタイマ値の更新を行い、次のタイマアドレスをセットする。そして、2バイトタイマ計測が終了したか否かの判定を行い、2バイトタイマ計測が終了していなければ、上述の2バイトタイマ値を更新する処理に戻る。
<<エラー管理>>
前述したエラー管理(図18及び図20参照)においては、図20に示すように、セレクタ通路センサの出力信号(セレクタ通路センサ信号)の立ち上がりが検出されているか否かの判定を行う(S751)。そして、セレクタ通路センサ信号の立ち上がりが検出されている場合には(S751:YES)、ブロッカOFF時監視時間(本実施例では約100.57ms)及びブロッカON時監視時間をセットする(S752)。さらに、AFレジスタの退避を行い(S753)、第2制御に移行して、エラーチェックの処理(S754)を行う。このエラーチェックの処理(S754)については後述する(図38参照)。
エラーチェックの処理(S754)が終わると、第1制御に戻り、AFレジスタの復帰を行う(S755)。さらに、エラー検出時であるか否かの判定(S756)を行い、エラー検出時であれば(S756:YES)、エラー検出時の出力要求をセットする(S757)。上記S751で、セレクタ通路センサ信号の立ち上がりが検出されていなかった場合には(S751:NO)、間の処理を行わず、上記S753の、AFレジスタ退避の処理を行う。
上記S757でエラー検出時の出力要求をセットした後には、前述した制御コマンドセット2の処理を行い(S758)、処理を終了する。
<<外部信号出力データ管理>>
前述の外部信号出力データ管理の処理(S759)においては、外部信号1〜5の出力データ生成処理を行うため、外部信号フラグ及び外部信号1管理時間の値に応じて、外部信号1〜3の出力データをセットする。さらに、ドアスイッチ信号又は設定ドアスイッチ信号がONの場合は、外部信号5の出力データをセットする。また、設定キースイッチ信号がONで、且つ、電源断復帰時外部信号4出力時間未経過又はエラー検出フラグの出力がある場合は、外部信号4の出力データをセットする。
より具体的には、外部信号フラグを取得し、外部信号1管理時間が経過したか否かの判定を行う。外部信号1管理時間が経過していなければ、外部信号1出力データをセットし、ドアスイッチ信号又は設定ドアスイッチ信号がONとなったか否かの判定を行う。そして、ONとなっていれば、外部信号5の出力データをセットし、設定キースイッチ信号がONとなったか否かの判定を行う。
設定キースイッチ信号がONとなっていなければ、エラー検出フラグ及び電源断復帰時外部信号4出力時間のデータチェックを行い、全データが無くなったか否かの判定を行う。そして、全データが無くなっていなければ、外部信号4出力データセットを行い、外部信号出力の処理(図18のS760)へ移行する。
前述の外部信号1管理時間が経過したか否かの判定処理において、外部信号1管理時間が経過していれば、外部信号1出力データセットを行わずに、ドアスイッチ信号又は設定ドアスイッチ信号がONとなったか否かの判定を行う。また、ドアスイッチ信号又は設定ドアスイッチ信号がONとなっていなければ、外部信号5の出力データセットを行わずに、設定キースイッチ信号がONとなったか否かの判定を行う。
さらに、設定キースイッチ信号がONとなっていれば、間の処理を行わずに、外部信号4出力データセットを行う。また、上記S778で、全データが無くなっていれば、前述の外部信号4出力データセットを行わずに、外部信号出力の処理(図18のS760)へ移行する。
<<外部信号出力>>
前述の外部信号出力の処理(図18のS760)においては、外部信号1〜5、メダル投入信号及びメダル払出信号の出力データを出力する。
<<ソフト乱数管理>>
前述のソフト乱数管理の処理(図18のS764参照)においては、ソフト乱数更新2の処理を行う。
<電源復帰処理>
続いて、前述の電源投入時処理(図12参照)において説明した電源復帰処理について、図21に基づき説明する。この電源復帰処理は、主制御基板61における前述の電源投入時の処理(図12参照)において、電源断復帰データが正常と判定した場合(S12:YES)に移行する処理である。
図21に示す電源復帰処理においては、スタックポインタ内の値を電源断時の状態に復帰させ(S311)、電源断復帰時初期化開始アドレス及び初期化バイト数のデータをセットする(S312)。さらに、RWM初期化の対象として定められた範囲を初期化し(RWM初期化1(S313))、AFレジスタの退避を行う(S314)。そして、第2制御に移行し、後述するRWM初期化2(図30参照)を行った後、第1制御に戻って、AFレジスタの復帰を行う(S316)。
また、その後の入力ポート読込処理(S317)において、所定の入力ポート(0〜2)を読み込み、入力データを、電源断前のものから最新のものに更新する。さらに、タイマ割込みを起動し(S318)、電源断処理済みフラグ(電源断実行処理フラグ)を示すデータをRWMからクリアした後(S319)、電源断時に発生したタイマ割込みの処理へ復帰する。上述の割込みの起動設定の処理(S318)においては、割込みの種類や、タイマ割込みの周期を設定する。この処理の後、タイマ割込み処理が実行可能となる。本実施例では、タイマ割込みの周期は、2.235msとなっている。
ここで、入力ポート読込処理(S317)において入力ポートを読み込んだ後にタイマ割込みを起動するのは(S318)、上述のように入力ポート読込処理(S317)で入力データを最新のデータに書き換えることを考慮したものである。例えば、電源断時に設定キースイッチ68がONであり、電源復帰前に設定キースイッチ68がOFFとなっていた場合、入力ポート読込処理(S317)の処理がなかった場合には、タイマ割込み処理の入力ポートデータ生成処理(図18中のS545参照)により設定キースイッチ68の立下りデータが生成されてしまう。具体的には、前述の「遊技メダル投入待ち時の表示」(図14中のS55参照)のときに、電源断が行なわれて上記のような設定キースイッチ68の変更があったら、電源断復帰時に、立下りデータをもとに設定値確認状態から通常状態に移行するという意図しない処理が実行される。したがって、上述のように入力ポートの読み込み(S317)の後に、タイマ割込みの起動(S318)が実行されるようになっている。
<エラーの種類>
次に、本実施例のスロットマシン10における各種のエラーのうち、遊技メダルの取扱いに係るエラーについて説明する。この遊技メダルの取扱いに係るエラーとしては、エラーの解除後に復帰が可能なエラーと、復帰が不可能なエラーとがある。これらのうち、復帰が可能なエラーには、遊技メダルの払出しに係るエラーである、HEエラー、HPエラー、HQエラー、及び、FEエラーと、遊技メダルの投入に係るエラーである、CPエラー、C0エラー、C1エラー、CHエラー、及び、CEエラーがある。
上述の各種のエラーのうち、HEエラーは、遊技メダル払出装置63内の遊技メダルが空と判断した場合のエラーであり、HPエラーは、遊技メダル払出装置63内の遊技メダル出口に遊技メダルが詰まったと判断した場合のエラー(ホッパエラー)である。さらに、HQエラーは、払出センサ(図示略)に異常入力があったと判断した場合のエラーであり、FEエラーは、前述のように遊技メダル補助収納庫71が満杯と判断した場合のエラーである。
また、CPエラーは、投入された遊技メダルが不正通過したと判断した場合のエラーであり、C0エラーは、前述のように投入センサ(ここでは投入センサ2)に異常入力があったと判断した場合のエラーである。さらに、C1エラーは、メダル通路105における投入センサ45及びセレクタ通路センサ46が設けられた部位に異常があったと判断した場合のエラーであり、CHエラーは、前述のようにセレクタ通路センサ46に遊技メダルが滞留したと判断した場合のエラーである。また、CEエラーは、投入センサ1(115)又は投入センサ2(116)が設けられた部位に遊技メダルが滞留したと判断した場合のエラーである。
これらのエラーに係るエラー解除条件は、要因を除去した状態で設定/リセットボタン69の信号(設定/リセットボタン信号)をOFFからONに変化させる解除操作が行われることである。さらに、ドアスイッチ60に係るドアスイッチ信号、及び、設定ドアスイッチ67に係る設定ドアスイッチ信号がONの場合に、上述の解除操作が有効となる。
一方、復帰が不可能なエラーとしては、E1エラー、E5エラー、E6エラー、E7エラーがある。これらのうち、E1エラーは、電源断復帰が正常に行えない場合のエラーであり、E5エラーは、全回胴停止時の図柄の組合せ表示が異常の場合のエラーである。さらに、E6エラーは、設定値が範囲外の場合のエラーであり、E7エラーは、メインCPU81における乱数更新用のRCK端子(図示略)に入力されたクロックの周波数異常、又は内蔵乱数(16ビット乱数)の更新状態異常を検知した場合のエラーである。
<<CPエラー(遊技メダル不正通過)>>
続いて、遊技メダルの投入に係るエラーである、CPエラー、C0エラー、C1エラー、CHエラー、及び、CEエラーの検出態様について説明する。先ず、CPエラーについては、前述の遊技メダル投入時の処理(より具体的には、後述する遊技メダル投入チェックの処理)において、図8(a)のような投入センサのON/OFF順序を正常通過と判断し、遊技メダル1枚受付の状態となる。すなわち、図8(a)においては、左端に投入センサON/OFF順序が5段階で示されている。さらに、その右側には、各順序1〜5の段階における、投入センサ1信号及び投入センサ2信号のON/OFFの状態が示されている。そして、投入センサ1信号及び投入センサ2信号は、通常時はOFFの状態にあり、遊技メダルを検出した場合にONとなる。
遊技メダルの検出がない場合には、順序1に示すように、投入センサ1信号及び投入センサ2信号がともにOFFとなっている。そして、正規の遊技メダルが遊技メダルセレクター44の遊技メダル入口106に進入し、メダル通路105を流下すると、順序2に示すように、メダル通路105の上流側に位置する投入センサ1信号が先にONとなり、続いて、投入センサ1信号がON状態にあるうちに、順序3に示すように、投入センサ2信号もONとなる。さらに、遊技メダルの流下に伴って、順序4に示すように、投入センサ1信号が先にOFFとなり、その後に、順序5に示すように、投入センサ1信号及び投入センサ2信号がともにOFFとなる。そして、このような順序で投入センサ1信号及び投入センサ2信号のON/OFFが検出された場合には、メインCPU81(図5参照)は、1枚の遊技メダルが正常に通過したと判断する。なお、より具体的には、後述するセレクタ通路センサ配置部位滞留のエラー(CHエラー)の判定結果も併せて参照し、双方のエラーが検出されていない場合に、メインCPU81は、1枚の遊技メダルが正常に通過したと判断する。
また、その他の場合は遊技メダル不正通過と判断し、エラーとなる。ただし、図8(b)中の順序1〜3に示すように、投入センサ1信号のみがONとなって検出され、投入センサ2信号が検出されない場合には、遊技メダルが上流側に戻ったものとしての取扱いがされ、エラーとならず、投入センサ1信号の入力を無効とする。このように図8(b)のような場合にエラーとしない理由としては、ブロッカOFF時においても遊技メダルが投入センサ1のみは検出する場合があるからである。そして、このような場合においてもエラーの報知や遊技の停止処理がなされると遊技者の遊技のリズムを崩すこととなるため、エラーと判定しないように制御している。
<<C0エラー(投入センサ異常入力)>>
次に、C0エラーにおいては、図8(c)に示すように、ブロッカ(47)を制御するためのデータであるブロッカ信号を、ON(遊技メダルの通過状態)からOFF(遊技メダルの返却状態)に変化させた後、所定時間(ここでは約500.60ms)が経過してから、ブロッカがOFF(返却状態)の間に、投入センサ2信号に入力があったか否かが判定される。この所定時間は、後述する投入センサ異常入力検出開始時間であり、投入センサに係る異常入力の検出を開始するまでの時間となっている。
そして、所定時間(投入センサ異常入力検出開始時間)の経過後に、ブロッカ信号がOFF(遊技メダルの返却状態)のままであるにも関わらず投入センサ2信号に入力があった場合(ONとなった場合)には、投入センサ(45)に異常入力があったと判断し、図中の中段に示すように、エラー監視が有効(ON)となる。そして、このようにエラーを検出すると、投入センサ2信号が、エラー要因が除去されるまでONとなり、C0エラーに対応したエラー表示の出力要求が行われ、その後の所定タイミングでC0エラーの表示が実行される。エラー表示が行われるタイミングとしては、遊技メダル投入待ちの間、スターレバー受付待ちの間、又は、全回胴回転停止後がある。
ただし、本実施例では、CEエラー、CPエラー、CHエラー、C0エラー、又は、C1エラーが既に起こっている間には、図8(c)に示すようなC0エラーの検出要因を改めて満たしても、異常入力とは判断しない。
<<C1エラー(メダル通路異常)>>
次に、C1エラーにおいては、図9(a)の中段に示すように、セレクタ通路センサ46がOFFからONになると、図中の上部に示すように、投入監視カウンタを1加算する。さらに、図中の下段に示すように、遊技メダルが投入センサ45を正常に通過した場合の投入センサ2信号がONからOFFになったときに投入監視カウンタを1減算する。そして、正常投入があった場合の投入センサ2信号がONからOFFに切り替わる度に、投入監視カウンタを1減算し、投入監視カウンタが所定範囲(例えば0〜3の範囲)外となった場合にはエラーになる。
つまり、投入監視カウンタが所定範囲内の値である場合には正常と判断し、所定範囲から外れると異常と判断する。この投入監視カウンタに係る所定範囲の最大値(ここでは3)は、セレクタ通路センサ46から投入センサ2(105)までの距離と、遊技メダルのサイズとの関係により定めることが可能である。例えば、セレクタ通路センサ46から投入センサ2(116)までの距離が、遊技メダルの直径を超え、遊技メダルを2枚並べた寸法(ここでは50(=25×2)mm)以下である場合には、セレクタ通路センサ46から投入センサ2(116)までの間に、1枚の遊技メダルの全体と、2枚の遊技メダルの1部ずつとで、最大3枚の遊技メダルが並ぶ場合が想定される。このため、投入監視カウンタに係る所定範囲の最大値を3とすることができる。
また、このような考え方に限らず、例えば、エラー検出に一層の確実性を持たせるために、投入監視カウンタに係る所定範囲の最大値を「2」としたり、エラー検出精度を敢えて緩和して、上記最大値を「4」としたりすることも可能である。さらに、セレクタ通路センサ46から投入センサ2(116)までの距離に応じて、上記最大値を「3」や「4」以外の値とすることも可能である。さらに、セレクタ通路センサ46から投入センサ2(116)までの距離としては、セレクタ通路センサ46の最上流部位から投入センサ2(116)のマイクロセンサの中央部位(光軸部位)としたり、セレクタ通路センサ46の中央部位から投入センサ2(116)の最上流部位とするなど、種々に設定することが可能である。なお、投入監視カウンタは、後述するように、ブロッカ信号をOFFからONにするときに0にクリアされる。
<<CHエラー(セレクタ通路センサ配置部位滞留)>>
次に、CHエラーにおいては、図9(b)に示すように、セレクタ通路センサ46がONになったまま所定時間(ここではセレクタ通路センサ滞留時間である446.97ms)経過すると、遊技メダルが滞留したと判断し、エラーとなる。この所定時間は、セレクタ通路センサに係る滞留判定通過時間である。そして、エラーを検出すると、CHエラーに対応したエラー表示の出力要求を行い、その後の所定タイミングでCHエラーの表示が実行される。エラー表示が行われるタイミングとしては、遊技メダル投入待ちの間、スターレバー受付待ちの間、又は、全回胴回転停止後がある。ただし、本実施例では、CEエラー、CPエラー、CHエラー、C0エラー、又は、C1エラーが既に起こっている場合には、図9(b)に示すようなCHエラーの検出要因を改めて満たしても、異常入力とは判断しない。
<<CEエラー(投入センサ配置部位滞留)>>
次に、CEエラーにおいては、図10に示すように、遊技メダル投入時に、投入センサに係る滞留判定通過時間が図10中のA〜Cの範囲外の場合は、遊技メダルが滞留したと判断し、エラーとなる。ここで、図中の時間Aは、投入センサ1のONからOFFまでの滞留判定通過時間であり、時間Bは、投入センサ2のONから投入センサ1のOFFまでの滞留判定通過時間である。さらに、時間Cは、投入センサ2のONからOFFまでの滞留判定通過時間である。そして、本実施例では、各滞留判定通過時間A〜Cは、4.47ms≦A<143.03ms、2.23ms≦B<98.33ms、4.47ms≦C<143.03msとなっている。
なお、エラー表示時の処理として、エラーの表示開始時、又は、エラー検出時には、検出したエラー表示出力要求を行う。また、各エラーに対応したエラーコードを前述の獲得枚数表示LEDに表示し、遊技を停止する。ここで、遊技の停止については後述する。さらに、エラー解除時の処理として、獲得枚数表示LEDをエラー前の状態に復帰させ、エラー表示終了時の出力要求を行い、その後、遊技を再開する。
<遊技メダルの投入に係る制御処理>
次に、前述の遊技メダルの投入に係る制御処理について、図22〜図29などに基づき、より具体的に説明する。ここで説明する処理は、前述の遊技進行メイン処理(図14参照)やタイマ割込み処理(図18参照)における各処理で、状況に応じて実行される制御モジュール(プログラムモジュール)の一部である。つまり、ここで説明するのは、遊技メダルの投入に係る制御処理のうち、第1制御に係るものであり、第2制御に係るものについては後述する。
遊技メダルの投入に係る制御処理のうち、第1制御に係るものとしては、遊技メダル受付開始の処理(図22参照)、ブロッカONの処理(図23(a)参照)、ブロッカOFFの処理(図23(b)参照)、エラー表示の処理(図24参照)、及び、入力エラーセットの処理(図25参照)がある。
これらの制御モジュールのうち、図22〜図24に示す、遊技メダル受付開始の処理、ブロッカONの処理、ブロッカOFFの処理、及び、エラー表示の処理は、遊技進行メイン処理(図14参照)における各種の処理で、必要に応じて実行されるものである。より具体的には、遊技メダル受付開始の処理は、図14中の遊技開始セットの処理(S52)において実行されものであり、遊技メダル投入待ち時の表示の処理は、同じく図14中の遊技メダル投入待ち時の表示の処理(S55)において実行されるものである。そして、遊技メダル受付開始の処理を経てブロッカONの処理(後述する)が行われ、前述のブロッカ47がON状態(通過可能状態)となって、遊技メダルの投入が可能な状態となる。
さらに、ブロッカONの処理、ブロッカOFFの処理、及び、エラー表示の処理は、汎用性のある処理であり、これらのうちブロッカONの処理は、例えば、上述の遊技メダル受付開始の処理(図22参照)、遊技メダル投入待ち時の表示の処理(図14のS55参照)、遊技メダル清算の処理(図28参照)などにおいて、状況に応じて実行される場合がある。
また、ブロッカOFFの処理は、遊技メダル投入待ち時の表示の処理(図14のS55参照)、上記遊技メダル清算の処理(具体的には、遊技メダルが清算される前にブロッカOFFの処理が実行される)、スタートレバーチェックの処理(図14のS58)、スタートレバー受付の処理(図14のS59)などにおいて、状況に応じて実行される場合がある。
さらに、エラー表示の処理は、上記遊技メダル清算の処理、スタートレバーチェックの処理(図14のS58)、入賞による遊技メダル払出しの処理(図14のS67)などにおいて、状況に応じて実行される場合がある。
なお、タイマ割込み処理で実行される制御モジュールについては、その時の周期のタイマ割込み処理の発生以前に、遊技進行メイン処理(図14参照)でセットされたデータ(例えば異常検出を示すフラグなど)が取扱われることとなる。以下に、遊技メダルの投入に係る制御処理として挙げた個々の処理について説明し、その後に、これらの処理同士の相互関係について説明する。
<遊技メダル受付開始>
前述の遊技メダル受付開始の処理(図22参照)は、遊技メダル受付開始時の処理を行うものであり、遊技メダルセレクター44(図2、図6、図7参照)が遊技メダルの返却状態(通過不可能状態)となっている状態から、所定の条件を満たしている場合に遊技メダル受付状態(通過可能状態)に制御し、遊技メダル投入口21(図1参照)から遊技メダルを投入できるようにするための処理を行っている。遊技メダル受付開始の処理は、図22に示すように、最初に遊技メダル枚数データをクリアし(S101)、続いて投入枚数表示LEDを消灯する(S102)。さらに、遊技メダル管理フラグを初期化し(S103)、動作フラグチェックの処理(S104)を実行する。この動作フラグチェックの処理(S104)は、役物、役物連続作動装置、及び、再遊技等の作動の有無を確認するための処理である。
そして、再遊技作動時であるか否かの判定を行い(S105)、再遊技作動時でなければ(S105:NO)、前述のブロッカ47(図7参照)を遊技メダルが通過可能な状態とする後述するブロッカONの処理(図23(a)参照)へ移行し、再遊技作動時であれば(S105:YES)、自動投入待機時間1(237割込み:約529.65ms)をセットする(S106)。さらに、表示種類データが0であるか否かの判定を行い(S107)、表示種類データが0であった場合には(S107:YES)、2バイト時間待ちの処理(S111)へ移行する。この2バイト時間待ちの処理(S111)は、指定された待ち時間(自動投入待機時間1)が0になるまで待機する処理である。ここで、表示種類データとは、停止表示された再遊技役の種別を示すデータである。具体的には、有効ライン上、又は、無効ライン上に「リプレイ−リプレイ−リプレイ」が停止表示される所定の再遊技役が停止表示された場合には、表示種類データ0となる。一方、有効ライン上、又は、無効ライン上に「リプレイ−リプレイ−リプレイ」が停止表示されない特定の再遊技役(例:「ベル−ベル−ベル」、「赤7−赤7−赤7」)が停止表示された場合には、表示種類データ1となる。この表示種類データは、入賞判定時にRWM83に記憶され、停止表示された図柄組合せに基づいて自動投入処理が開始されるまでの時間を変化させることを目的としている。例えば、表示種類データ1に相当する図柄組合せが停止したときを例とすると、自動投入待機時間2(後述する)をセットし、セットした2バイト時間待ち時に、小役やボーナス役に対応する効果音を出力したりして、遊技者に、成立した役を小役やボーナス役として認識させることができるようにしている。
また、表示種類データの判定(S107)において、表示種類データが0でなかった場合には(S107:NO)、自動投入待機時間2(500割込み:約1119.50ms)をセットし(S108)、前述の2バイト時間待ちの処理(S111)へ移行する。
2バイト時間待ちの処理(S111)の後には、貯留枚数読み込みの処理を実行する(S112)。この貯留枚数読み込みの処理(S112)は、貯留枚数データを読み込み、貯留の有無や、貯留枚数のチェックを行うものである。この後、貯留枚数が貯留限界枚数(ここでは50枚)に達しているか否かの判定が行われ(S113)、貯留枚数が貯留限界枚数に達していなければ(S113:NO)、ブロッカONの処理(S114)が実行される。このブロッカONの処理(S114)については後述する。一方、貯留枚数が貯留限界枚数に達していれば(S113:YES)、ブロッカONの処理(S114)を行わずに、表示種類データの取得の処理(S116)へ移行する。
このような構成により、再遊技が作動していない場合(S105:NO)には貯留枚数に関わらずブロッカONの処理を実行することができ、再遊技が作動している場合(S105:YES)には貯留枚数に応じてブロッカONの処理を行うことができる。よって、(1)停止表示された図柄組合せが再遊技とは一見分からない図柄組合せであっても、一律メダルが投入できること、(2)少ないプログラム処理でブロッカON処理が実現できること、(3)メダルを検知してからブロッカON処理を行う場合と比較してメダルの飲み込み(取り込み)を低減できること、(4)再遊技の確率が高い遊技であっても一定のリズムで遊技者はメダルの投入ができること、等の効果を奏する。
上述の貯留枚数に係る判定処理(S113)、又は、ブロッカONの処理(S114)の後、表示種類データを取得し(S116)、表示種類データが1であるか否かを判定する(S117)。表示種類データが1であった場合には(S117:YES)、3枚投入表示LED−R(赤色)を点灯し(S118)、自動投入待機時間3(8949割込み:約19999.49ms)をセットし(S119)、入力検知待機時間を保存する(S120)。さらに、セレクタ通路センサ信号、1枚投入スイッチ信号、3枚投入センサ信号、及び、清算スイッチ信号の入力をチェックし(S121)、これらの入力があったか否かを判定する(S122)。ここで、3枚投入表示LED−R(赤色)の点灯(S118)は、遊技者にBET(ベット)ボタンを操作させることを促す報知として機能する。そして、何れか1つでも入力があった場合には(S122:YES)、入力検知待機時間をクリアし(S123)、入力情報コマンドをセットする(S124)。ここで、入力情報コマンドとは、「セレクタ通路センサ信号、1枚投入スイッチ信号、3枚投入センサ信号、3枚投入スイッチ信号」の状態を示すコマンドを指す。上述のS122において、何れの入力もなかった場合には(S122:NO)、入力検知待機時間のクリア(S123)を行わずに、入力情報コマンドをセットする(S124)。換言すると、自動投入待機時間3は時間の経過又は上記の入力情報(セレクタ通路センサ信号、1枚投入スイッチ信号、3枚投入センサ信号、3枚投入スイッチ信号の何れかの信号)に基づいて解除されるものであり、このような制御態様の採用により、表示種類データ1に属する再遊技役が表示された場合に、小役やボーナス役に見せかけることができるという効果を奏する。
続いて、入力検知待機時間が経過したか否かの判定を行い(S125)、経過していない場合には(S125:NO)、S121に戻り、各種信号の入力チェックを行う。また、S125で入力検知待機時間が経過している場合には(S125:YES)、3枚投入表示LEDを消灯し(S126)、入力情報の出力要求をセットする(S127)。前述のS117で、表示種類データが1ではなかった場合には(S117:NO)、S118〜S126の処理を行わずに、入力情報の出力要求をセットする(S127)。そして、制御コマンドセット1の処理が実行されるが(S128)、本実施例において制御コマンドセット1の処理(S128)は、制御コマンドセット2の処理を行うものとなっている。制御コマンドセット2の処理は、前述のサブ制御コマンドを、送信前に一旦記憶するリングバッファ(送信バッファ)に保存するための処理を行うものとなっている。なお、以降のステップにおいても「出力要求をセットする」との処理ステップがあるが、これはサブ制御手段(ここではサブ制御基板31)に送信するための情報(コマンド)をレジスタに記憶する処理を指す。
この後、再遊技表示LEDを点灯し(S129)、自動投入時の出力要求をセットし(S130)、上述のS128と同じである制御コマンドセット1の処理(S131)を実行する。そして、遊技メダル1枚加算の処理(S132)を実行し、遊技メダル1枚加算の処理(S132)においては、遊技メダル枚数の1枚加算、投入枚数表示LEDの表示処理を行う。より具体的には、遊技メダル1枚加算の処理(S132)は、図示は省略するが、遊技メダル枚数データを1加算し、獲得枚数表示データをクリアする。さらに、遊技メダル枚数データに対応した投入枚数表示LED信号データを保存し、遊技メダル限界セットの処理を行い、遊技メダル読み込みの処理を行う。そして、遊技メダル枚数データが遊技メダル限界枚数(前述の規定数)と一致する場合は、遊技メダル限界フラグをセットする。
この遊技メダル1枚加算の処理(S132)の後、上述の遊技メダル限界フラグを確認し(S133)、遊技メダル枚数が遊技メダル限界に達していなければ(S133:NO)、遊技メダル1枚加算の処理(S132)に戻る。そして、S133において、遊技メダル枚数が遊技メダル限界に達していれば(S133:YES)、リターンし、サブルーチンである遊技メダル受付開始の処理の開始前に実行されていた処理に戻る。
<ブロッカON>
次に、ブロッカONの処理について、図23(a)に基づき説明する。図23(a)に示すように、このブロッカONの処理は、ブロッカOFF時監視時間(本実施例では約100.57ms)が経過したか否かを判定し(S211)、経過していなければ(S211:NO)、経過するまでS211を繰り返す。また、ブロッカOFF時監視時間が経過していれば(S211:YES)、割込みを禁止し(S212)、ブロッカ信号をONし(S213)、投入監視カウンタをクリアする(S214)。さらに、ブロッカ信号状態をONし(S215)、割込みを許可して(S216)、ブロッカONの処理の開始前の処理に戻る。ここで、S213の「ブロッカ信号_ON」とは、本実施形態ではブロッカ47をONにするためのRWM領域に「1」を記憶する処理を指す。なお、図中では「_」の記載を省略している(以下同様)。このS213の処理によって、当該処理以降に実行されるタイマ割込み処理(図18参照)内のポート出力処理(S547)によりブロッカ47がONになる。尚、S213の処理を、直接ブロッカ信号を出力するための出力ポートに「1」を記憶する処理とすることが可能である。
また、S214の「投入監視カウンタ_クリア」とは、本実施形態では、セレクタ通路センサ46の入力があったときに更新される投入監視カウンタのRWM83におけるデータを0にする処理を指す。この処理により、例えばセレクタ通路センサ46を通過したと判定した2値データが「10B」であった後に、後述する遊技メダル投入チェック(図42、図43参照)が実行されたときにエラーと判定されるのを防止することができる。さらに、S215の「ブロッカ信号状態_ON」とは、本実施形態では、メダルが投入可能であることを示す情報をRWM83に記憶することを指す。このS215の処理によって、当該処理以降に実行される割込み処理のLED表示の処理(S75)により、遊技メダルが投入可能であることを示すランプ(遊技開始表示LED)を点灯させることができる。尚、S213〜S215の処理順序はこれに限られるものではない。
上述のブロッカ信号ONの処理は(S213)、ブロッカOFF時監視時間が経過(S211:YES)してから行われる。このようにしているのは、遊技メダルが通過中である可能性がある場合には、ブロッカ47をONしないことによって、メダルの挟み込みを防止するためである。つまり、本実施例のように、ブロッカOFF時監視時間が経過したか否かの判定(S211)を行ってからブロッカ信号のONを行うことにより(S213)、ブロッカ47のON動作を所定期間留保でき、主制御基板61からのブロッカ信号の出力や、ブロッカ47が機械的動作を行うまでの間に、遊技メダルの通過を待つ時間を確保することが可能となる。
また、上述の割込み禁止(S212)は、ブロッカOFF時監視時間の経過を待ってから(S211)実行される。本実施例では、投入センサやセレクタ通路センサに係るC1エラー(図9(a)参照)について前述したように、セレクタ通路センサ信号と投入センサ2信号の検出に基づき、投入監視カウンタの値が増減され、投入監視カウンタの値が所定範囲(例えば0〜3の範囲)を超えた場合に、ブロッカ47をOFFするようになっている。そして、ブロッカONの処理(図23(a)参照)において、ブロッカ信号に係る処理(S213、S215)と、投入監視カウンタに係る処理(S214)とが一連の処理として実行し、ブロッカ47の動作と、セレクタ通路センサ信号と投入センサ2信号の検出結果との整合を図っている。
また、ブロッカ信号ONの処理(S213)からブロッカ信号状態ONの処理(S215)の間に、タイマ割込み処理(図18参照)が発生したような場合には、このときのタイマ割込み処理(当該割込み)における所定の処理(ここでは入力データ作成を行うS545やポート出力を行うS547など)を介して、前述のように、ブロッカ47がON状態(通過可能状態)となり得る。しかし、遊技進行メイン処理(図14参照)においては、ブロッカ信号ONの処理(S213)に続くブロッカ信号状態ONの処理(S215)が行われていないことから、当該割込みの所定の処理(ここではLED表示の処理であるS549)において、遊技メダルが投入可能であることを示すランプ(遊技開始表示LED)を点灯させることができない。つまり、ブロッカ47がONとなっているにも関わらず遊技開始表示LEDの表示が行われない、といった事態が生じ得る。
しかし、本実施例のように、割込み禁止(S212)を行い、ブロッカ信号に係る処理(S213、S215)と、投入監視カウンタに係る処理(S214)とを、タイマ割込み処理(図18参照)を介在させない一連の処理として実行することにより、ブロッカ47の動作と、LED表示との整合を図ることができ、遊技メダルの投入に係る適切な制御が可能となる。
<<ブロッカOFF>>
次に、ブロッカOFFの処理について、図23(b)に基づき説明する。図23(b)に示すように、このブロッカOFFの処理は、ブロッカ信号がOFFであるか否かを判定し(S221)、ブロッカ信号がOFFでなければ(S221:NO)、割込みを禁止し(S222)、ブロッカ信号をOFFし(S223)、ブロッカ信号状態をOFFする(S224)。さらに、C0エラーについて前述した投入センサ異常入力検出開始時間(本実施例では約500.60ms)をセットし(S225)、割込みを許可して(S226)、ブロッカOFFの処理の開始前の処理に戻る。ここで、S223の「ブロッカ信号_OFF」とは、本実施形態ではブロッカ47をONにするためのRWM領域に「0」を記憶する処理を指す。この処理によって、当該処理以降に実行されるタイマ割込み処理(図18参照)内のポート出力処理(S547)によりブロッカ47がOFFになる。尚、S223の処理を、直接ブロッカ信号を出力するための出力ポートに「1」を記憶する処理とすることが可能である。
さらに、S224の「ブロッカ信号状態_OFF」とは、本実施形態では、メダルが投入できないことを示す情報をRWM83に記憶することを指す。この処理によって、遊技メダルが投入可能であることを示すランプ(遊技開始表示LED)の消灯が維持される。さらに、S225の投入センサ異常入力検出開始時間セットでは、C0エラーに係る所定時間(本実施例では約500.60ms)をセットする。
また、ブロッカOFFの処理(図23(b)参照)においても、投入センサ異常入力検出開始時間のセット(S225)は、割込みを禁止したうえで(S222)、ブロッカ信号OFF(S223)、ブロッカ信号状態OFF(S224)の各処理に続き行われている。つまり、ブロッカOFFの処理においては、ブロッカ信号に係る処理(S223、S224)と、入力エラーチェックに係る処理である投入センサ異常入力検出開始時間セット(S225)とが一連の処理として実行される。
また、ブロッカ信号OFF(S223)と、ブロッカ信号状態OFF(S224)との間にタイマ割込み(図18参照)が発生したような場合には、このときのタイマ割込み処理(当該割込み)における所定の処理(ここでは入力データ作成を行うS79やポート出力を行うS82など)を介して、前述のように、ブロッカ47がOFF状態(返却状態)となり得る。しかし、遊技進行メイン処理(図14参照)においては、ブロッカ信号OFFの処理(S223)に続くブロッカ信号状態OFFの処理(S224)が行われていないことから、当該割込みの所定の処理(ここではLED表示の処理であるS75)において、遊技メダルが投入可能であることを示すランプ(遊技開始表示LED)を確実に消灯させておくことができない。つまり、ブロッカ47がOFFとなっているにも関わらず遊技開始表示LEDが点灯している、といった事態が生じ得る。
しかし、本実施例のように、割込み禁止(S222)を行い、ブロッカ信号OFF(S223)と、ブロッカ信号状態OFF(S224)とを、タイマ割込み処理(図18参照)を介在させない一連の処理として実行することにより、ブロッカ47の動作と、LED表示との整合を図ることができ、遊技メダルの投入に係る適切な制御が可能となる。
<<エラー表示>>
次に、エラー表示の処理について、図24に基づき説明する。図24に示すように、このエラー表示の処理は、エラー番号を保存し(S231)、エラー前ブロッカ信号及びホッパモータ駆動信号に係る状態情報の退避を行う(S232)。この状態情報の退避の際には、RWM83における状態情報記憶領域(ブロッカ信号データ記憶領域、ホッパモータ駆動信号データ記憶領域)から所定の記憶領域(状態情報退避領域となるCレジスタ)へのデータ退避が実行される。さらに、状態情報記憶領域のうちホッパモータ駆動信号データ記憶領域の情報をクリアし(S233)、ブロッカOFFの処理(S234)を実行する。このブロッカOFFの処理(S234)は、前述のブロッカOFFの処理(図23(b)参照)を行うものである。そして、スタートレバー受付許可フラグをクリアし(S235)、獲得枚数表示の情報を退避させ(S236)、エラー表示のセットを行う(S237)。この獲得枚数表示情報の退避の際には、RWM83における獲得枚数表示情報記憶領域から所定の記憶領域(獲得枚数表示情報退避領域となるBレジスタ)へのデータ退避が実行される。
さらに、エラー表示開始時の出力要求をセットし(S238)、制御コマンドセット1の処理を実行し(S239)、設定/リセットボタン信号(設定ボタンの信号又はリセットボタンの信号)の立ち上がりが検出されたか否かを判定する(S240)。上述のS240において、設定/リセットボタン信号の立ち上がりが検出されなかった場合には(S240:NO)、検出されるまでS240を繰り返すが、設定/リセットボタン信号の立ち上がりが検出された場合には(S240:YES)、設定/リセットボタン信号立ち上がりデータをクリアする(S241)。
続いて、満杯検知信号検査データをセットし(S242)、遊技メダルの払出しに係る前述のFEエラー時であるか否かを判定する(S243)。このS243において、FEエラー時でないと判定した場合には(S243:NO)、払出し検査データをセットし(S244)、払出関連エラー時であるか否かを判定する(S245)。そして、払出関連エラー時でないと判定した場合には(S245:NO)、投入センサ及びセレクタ通路センサの検査データをセットし(S246)、検査データによる各エラー毎の入力状態をチェックする(S247)。具体的には、投入センサ45(投入センサ1及び2)のレベルデータ、セレクタ通路センサ46のレベルデータ、払出センサ(図示略)のレベルデータを確認する処理に相当する。前述のS243でFEエラー時であると判定した場合(S243:YES)、及び、S245で払出関連エラー時であると判定した場合には(S245:YES)、間の処理を行わずに、上述のS247に移行する。
上述のS247の後、エラー要因が除去されたか否かを判定し(S248)、エラー要因が除去されていない場合には(S248:NO)、前述のS240に戻り、設定/リセットボタン信号の立ち上がりが検出されたか否かを判定する。本実施形態における「エラー要因の除去」は、上述した各種センサのレベルデータが「0」であることを指す。エラー要因が除去されている場合には(S248:YES)、エラー番号をクリアし(S249)、獲得枚数表示を復帰させ(S250)、エラー表示終了時の出力要求をセットする(S250)。さらに、制御コマンドセット1の処理を実行し(S252)、エラー前のブロッカ信号及びホッパモータ駆動信号の状態情報を復帰させ(S253)、ホッパモータ駆動信号を復帰させる(S254)。そして、エラー前のブロッカ信号がONであったか否かを判定し(S255)、ONであった場合には(S255:YES)、ブロッカONの処理(S256)を実行し、エラー表示の処理の開始前の処理にリターンする。一方、エラー前のブロッカ信号がONでなかった場合には(S255:NO)、ブロッカONの処理(S256)を実行せずにリターンする。
<<入力エラーセット>>
次に、入力エラーセットの処理について、図25に基づき説明する。図25に示すように、この入力エラーセットの処理は、異常入力フラグ(「異常発生フラグ」、「エラーフラグ」などとも称する)を更新する(S301)。このS301においては、図示は省略するが、Aレジスタに記憶されているデータをDレジスタに退避する。さらに、Aレジスタに記憶されているデータと、Eレジスタに記憶されているデータの論理演算(OR)を実行し、演算結果をAレジスタに記憶する。そして、Aレジスタの値を、RWM83の所定番地に設けられた異常入力データ記憶領域に記憶(更新)する。
つまり、S301は、RWM83の異常入力データ記憶領域に記憶されている異常入力フラグのデータを、Aレジスタに記憶する処理を実行する。ここで本実施形態における異常入力フラグは1バイトデータで構成され、D0〜D3ビットは未使用、D4ビットはセレクタ通路センサ滞留、D5ビットは投入センサ2異常入力、D6ビットは払出センサ異常入力を表しており、D7ビットは未使用となっている。例えば、セレクタ通路センサ滞留のみを検出した場合には、異常入力フラグは「00010000B」となる。また、セレクタ通路センサ滞留を検出した後に払出センサの異常を検出した場合には、異常入力フラグは「01010000B」となる。
また、上述のS301においては、前述の異常入力フラグのデータを用いて、送信するか否かのデータ(出力要求を行うか否かを判定するためのデータ)の作成と、送信する場合のコマンド(制御コマンド)の作成とを行うようになっている。すなわち、送信するか否かのデータ作成においては、Dレジスタの値をAレジスタに記憶する。そして、AレジスタとEレジスタの論理演算(AND)を実行し、演算結果をAレジスタに記憶する。例えば、Aレジスタの値が「01000000B」であり、Eレジスタの値が「00010000B」であった場合は、論理演算(AND)後のAレジスタの値は「00000000」となる(例1)。また、例えば、Aレジスタの値が「01010000B」であり、Eレジスタの値が「00010000B」であった場合は、論理演算(AND)後のAレジスタの値は「00010000B」となる(例2)。
一方、送信する場合のコマンドの作成においては、AレジスタとEレジスタの論理演算(XOR)を実行し、演算結果をAレジスタに記憶する。例えば、Aレジスタの値が上述の例1のように「00000000B」となり、Eレジスタの値が「01000000B」であった場合は、論理演算(XOR)後のAレジスタの値は「01000000B」となる。また、例えば、Aレジスタの値が上述の例2のように「00010000B」であり、Eレジスタの値が「00010000B」であった場合は、論理演算(XOR)後のAレジスタの値は「00000000B」となる。
続いて、異常入力エラー検出時であるか否かを判定する(S302)。このS302で行う判定は、S301で更新された異常入力フラグが、新たなものであるか否か(重複したものでないか否か)を検査するものである。このような検査は、RWM83の対象となる記憶領域(異常入力フラグ記憶領域)に記憶されたデータが、更新前後で同じものであるか否かを判定することにより行われている。より具体的には、Aレジスタの値が「0」、即ち前述のZ(ゼロフラグ)が「=1」のときNOと判定し、Aレジスタの値が「0」以外、即ち前述のZ(ゼロフラグ)が「≠1」のときYESと判定する。
そして、新たな異常入力エラーが検出されたのであれば(S302:YES)、エラー表示開始時の出力要求をセットする(S303)。このS303においては、Dレジスタに所定値(=01H)を記憶する。そして、制御コマンドセット1の処理へ移行するが、この入力エラーチェックの移行先となっている制御コマンドセット1は、前述のように、制御コマンドセット2の処理を行うものとなっている。ここで、制御コマンドセット2の処理は、前述のサブ制御コマンドを送信バッファに保存するための処理を行うものとなっている。この制御コマンドセット1(制御コマンドセット2)により、エラーの種類等の情報をサブ制御基板31に伝えることが可能となる。また、上述のS302において、異常入力エラーが既に検出済みのものであれば(S302:NO)、リターンし、元の処理に戻る。
<ブロッカの動作制御と他の処理との関係>
<<再遊技との関係>>
次に、前述のブロッカ47を動作させるための処理と、他の処理との関係について説明する。先ず、ここでは、前述のブロッカONの処理(図23(a)参照)と再遊技との関係について説明する。先ず、ブロッカ47(図7参照)は、前述のように、ON時には遊技メダルの通過可能状態となり、OFF時には遊技メダルの返却状態となるものであり、ブロッカ47をONするための制御は、遊技進行メイン処理(図14参照)においては、図23(a)に示すブロッカONの処理を用いて実行される。
また、上述のブロッカONの処理の処理を経てブロッカ47に駆動信号が入力され、ブロッカ47が機械的動作を行うまでには、前述のタイマ割込み処理(図18参照)におけるポート出力の処理(S547)や、制御コマンド送信の処理(S548)が必要である。そして、タイマ割込み処理は所定周期(ここでは2.235ms)毎に発生するものである。このため、ブロッカONの処理(図23(a)参照)でブロッカ信号のONデータをセットしても(S213)、それ以降にタイマ割込みが発生して、実際にブロッカ47が遊技メダルを通過可能とするまでには、制御上や機械的動作上の遅延を伴うこととなる。そして、ブロッカ信号のONデータをセットしてから、ブロッカ47が実際に第2出口108(図7参照)を閉じるまでは、遊技進行メイン処理においてはブロッカON状態であるが、ブロッカ47はOFF状態となっている状況であるといえる。
さらに、セレクタ通路センサ46(図7参照)は、前述のように、遊技メダルの通過を検出可能なものであり、投入センサ45やブロッカ47よりも前段(メダル通路105の上流側)に配置されている。そして、セレクタ通路センサ46を用いた遊技メダルの通過の有無に係る判断は、遊技メダルが、投入センサ45やブロッカ47に到達するよりも先に行えるようになっている。さらに、セレクタ通路センサ46の第1可動部112及び第2可動部114は、メダル通路105内に突出することにより、遊技メダルの逆流を防止する機能をも有している。
そして、前述のスタートレバー25の操作があると、ブロッカ47がOFFされてメダル返却状態となるが、この際には、図23(b)に示すブロッカOFFの処理が実行され、RWM83における所定の領域(ブロッカ信号データ記憶領域)に、ブロッカ信号をOFFとするためのデータが格納される。ここで、スタートレバー25の操作の有無は、遊技進行メイン処理(図14参照)のS59で行われているが、図14や遊技進行メイン処理の主要動作の説明においては、ブロッカ47の制御に係る処理の(図示略)や説明を省略している。
本実施例では、図22の遊技メダル受付開始の処理中に示すように、S105で再遊技作動時であるか否かの判定が行われる。さらに、再遊技作動時であれば(S105:YES)、貯留枚数読込みの処理(S112)や、貯留枚数が貯留限界枚数に達しているか否かの判定(S113)等が行われる。そして、貯留枚数が貯留限界枚数である特定値(ここでは50)に達していれば、ブロッカONの処理(S114)が実行される。
ブロッカONの処理(S114)においては、図23(a)に示すように、ブロッカOFF時監視時間が経過したか否かの判定(S211)を行うが、このブロッカOFF時監視時間は、前述のように本実施例では約100.57msに設定されており、RWM83のブロッカOFF時監視時間記憶領域に記憶されたタイマデータに基づき計時される。そして、このブロッカOFF時監視時間は、前述のタイマ割込みの周期(ここでは2.235ms)を所定回数(ここでは50回)実行するのに要する時間にほぼ一致している。
そして、ブロッカOFF時監視時間が経過していれば(S211:YES)、割込みの禁止(S212)を経て、RWM83のブロッカ信号データ記憶領域に、ブロッカ信号をONとするためのデータを格納する(S213)。さらに、前述の投入監視カウンタのクリア(S214)、ブロッカ信号ONフラグのセット(S215)を経て、割込みを許可し(S216)、ブロッカONの処理の開始前の処理に戻る。そして、この割込み許可(S216)以降のタイミングで発生したタイマ割込み(図18参照)において、ポート出力(S82)等の処理を経てブロッカ47が機械的に駆動され、遊技メダルの投入の受付けが可能となる。
一方、再遊技作動時でなければ(図22のS105:NO)、前述の貯留枚数に係る判定(S113)等を経ずに、図23(a)に示すブロッカONの処理が実行され、ブロッカOFF時監視時間の監視(S211)から割込み許可(S216)までの一連の処理が実行される。このように、再遊技時にS113等の処理を行うことにより、再遊技時にも、貯留枚数の状況に応じて、遊技メダルの投入の受付けが可能となっている。
また、本実施例では、タイマ割込み処理(図18参照)において、セレクタ通路センサ46に係る入力検知処理や、ブロッカON信号データやブロッカOFF信号データに基づきブロッカ47を動作させるための動作情報出力処理が行われている。つまり、セレクタ通路センサ信号に基づく入力検知処理は、タイマ割込み処理の入力ポートデータ生成の処理(S545)や、後述する第2制御のエラーチェック処理(図38参照)により行われており、ブロッカ47を動作させるための駆動データ出力処理は、タイマ割込み処理の制御コマンド送信処理(S548)等において行われている。そして、これらの入力検知処理や動作情報出力処理は、遊技進行メイン処理においてセットされたデータに基づき、タイマ割込み処理内のそのときの制御状況に応じたタイミングで実行される。
なお、ブロッカ47をOFF状態(返却状態)とするためのブロッカOFFの処理(図23(b)参照)においては、前述のように投入センサ異常入力検出開始時間のセット(S225)を行うが、この投入センサ異常入力検出開始時間は、本実施例では、約500.60msに設定されている。この投入センサ異常入力検出開始時間は、前述のタイマ割込みの周期(ここでは2.235ms)を所定回数(ここでは224回)実行するのに要する時間(224割込みに要する時間)にほぼ一致している。そして、投入センサ異常入力検出開始時間の経過を待ってから投入センサに係る異常入力が検出されるようになっている。
以上説明したような再遊技に係る制御態様によれば、遊技メダルが通過中である可能性がある場合には、ブロッカ47をONしないことによって、メダルの挟み込みを防止することが可能となる。つまり、メダル通路105における、セレクタ通路センサ46やブロッカ47の近辺の部位においては、屈曲部110(図7参照)の存在や、隣り合った遊技メダル間の偏心、及び、ブロッカ47がON動作を行うタイミング等の影響により、遊技メダル同士が噛合って、遊技メダルの挟み込みが生じる可能性がある。
特に、例えば遊技者が、1回の遊技の終了から次の遊技の開始にかけて、遊技メダル投入口21(図1参照)に遊技メダルを絶え間なく続けて投入したような場合には、メダル通路105の遊技メダル間に隙間が確保され難く、ブロッカ47がON動作を行った場合に、複数の遊技メダルの位置関係や、ブロッカ47から遊技メダルに加わる力などの要素のバランスによって、遊技メダルの噛合いが生じることが考えられる。
しかし、本実施例のように、ブロッカOFF時監視時間が経過したか否かの判定(S211)を行ってからブロッカ信号のONを行うことにより(S213)、ブロッカ47のON動作を所定期間留保でき、主制御基板61からのブロッカ信号の出力や、ブロッカ47が機械的動作を行うまでの間に、遊技メダルの通過を待つ時間を確保することが可能になる。そして、遊技メダルの挟み込みが生じるのを防止できる。
また、スタートレバー25を操作した場合のように、ブロッカ47をOFF状態(返却状態)とする際には、前述のように投入センサ異常入力検出開始時間(500.60ms)の経過を待ってから投入センサに係る異常入力が検出される。したがって、遊技メダルが投入センサ45等により正常に検出されるのとほぼ同時にブロッカ47がOFF動作を行ってしまい、正常にカウントされた遊技メダルが遊技メダル払出口16から返却される、といった事態が生じるのを防止できる。
また、ブロッカ47をOFF状態(返却状態)とする際には、前述のように、ブロッカ信号OFFのデータをRWM83にセットし、出力要求を行うことにより、そのとき以降に発生するタイマ割込み処理(図18参照)によって、ブロッカ47は、返却状態となるための機械的動作を行う。しかし、ブロッカ信号OFFのデータがセットされてから直ぐに、投入センサ2による異常入力検査を開始すると、ブロッカ47が未だON状態(通過可能状態)を保っているうちに、投入センサ2の直前に到達していた遊技メダルを、その後に投入センサ2が検出する場合も生じ得る。そして、このような遊技メダルの通過は正常なものであるにも関わらず、投入センサ2に係る異常発生の判断が行われてしまう。
このような事情に対し、本実施例のように、ブロッカOFFのデータセットのタイミングから約500msの投入センサ異常入力検出開始時間が有効となってから投入センサ45に係る異常入力の判定を行うことにより、正常な遊技メダルの通過が異常と判断されてしまうことを防止でき、エラー発生の判断を、より正確に行うことが可能となる。
<<ブロッカON/OFFの処理における割込み禁止の処理>>
上述のように、ブロッカONの処理(図23(a)参照)においては、ブロッカOFF時監視時間の経過を待ってから(S211)、割込みを禁止する(S212)。本実施例では、投入センサやセレクタ通路センサに係るC1エラー(図9(a)参照)について前述したように、セレクタ通路センサ信号と投入センサ2信号の検出に基づき、投入監視カウンタの値が増減され、投入監視カウンタの値が所定範囲(例えば0〜3の範囲)を超えた場合に、ブロッカ47をOFFするようになっている。そして、ブロッカONの処理(図23(a)参照)において、ブロッカ信号に係る処理(S213、S215)と、投入監視カウンタに係る処理(S214)とが一連の処理として実行され、このことによって、ブロッカ47の動作と、セレクタ通路センサ信号と投入センサ2信号の検出結果との整合を図るようにしている。
また、ブロッカOFFの処理(図23(b)参照)においても、投入センサ異常入力検出開始時間のセット(S225)は、割込みを禁止したうえで(S222)、ブロッカ信号OFF(S223)、ブロッカ信号状態OFF(S224)の各処理に続き行われている。つまり、ブロッカOFFの処理においては、ブロッカ信号に係る処理(S223、S224)と、入力エラーチェックに係る処理である投入センサ異常入力検出開始時間セット(S225)とが一連の処理として実行され、このことによって、返却状態となるブロッカ47の動作と、エラーチェックとの一体性を確保している。
また、本実施例では、タイマ割込み処理(図18参照)において、セレクタ通路センサ46に係る入力検知処理や、投入監視カウンタの計数値の加算処理、及び、ブロッカON信号データやブロッカOFF信号データに基づきブロッカ47を動作させるための動作情報出力処理が行われている。つまり、セレクタ通路センサ信号に基づく入力検知処理は、タイマ割込み処理の入力ポートデータ生成の処理(S545)や、後述する第2制御のエラーチェック処理(図38参照)により行われており、投入監視カウンタの計数値を加算する処理は、タイマ割込み処理におけるエラー管理(図20参照)の、エラーチェックの処理(図38参照)で行われており、更に、ブロッカ47を動作させるための駆動データ出力処理は、タイマ割込み処理の制御コマンド送信処理(S548)において行われている。そして、これらの入力検知処理や、投入監視カウンタ更新処理、及び、動作情報出力処理は、遊技進行メイン処理においてセットされたデータに基づき、タイマ割込み処理内のそのときの制御状況に応じたタイミングで実行される。
ここで、遊技進行メイン処理における投入監視カウンタの計数値の更新処理と、タイマ割込み処理における投入監視カウンタの計数値の更新処理との関係は、上述の加算及び減算の対応関係に限定されるものではない。例えば、遊技進行メイン処理において投入監視カウンタの計数値の加算を行い、タイマ割込み処理において投入監視カウンタの計数値の減算を行うようにしてもよい。この場合は、例えば、投入監視カウンタの計数値の初期値を「3」以上に設定し、この初期値に対してタイマ割込み処理により減算を行い、遊技進行メイン処理において、投入監視カウンタの計数値に対する加算を行って、上記計数値が正常範囲内にあるか否かの判定処理を実行する、といった制御態様が考えられる。
<<設定キースイッチ操作との関係>>
次に、ブロッカ47を動作させるための処理と設定キースイッチ操作との関係について説明する。先ず、前述の遊技メダル投入待ち時の処理において、設定キースイッチ信号がONの場合、即ち、RWM83の所定領域(設定キースイッチ信号データ記憶領域)の設定キースイッチ信号のデータがONを示しているものである場合に、図23(b)に示すブロッカOFFの処理が実行される。そして、RWM83における所定の領域(ブロッカ信号データ記憶領域)に、ブロッカ信号をOFFとするためのデータが格納される。
続いて、設定値を表示する設定表示LED66(図4参照)を有効とする。この際、遊技メダル投入待ち時の処理(図14のS55)において、設定値表示開始時出力要求のセットから設定表示LEDの点灯の各処理が実行される。さらに、RWM83の設定キースイッチ信号データ記憶領域に記憶されているデータがOFFを示している場合、ブロッカONの処理が実行される。なお、設定キースイッチ信号データ記憶領域に記憶されているデータがOFFの場合とは、ここでは、設定キースイッチ信号の立が下りデータが記憶されている場合を意味している。
そして、前述のように、ブロッカOFF時監視時間が経過している場合に(S211:YES)、その後の一連の処理(S212〜S216)を行い、S213において、ブロッカ信号をONにするためのデータをセットする。なお、設定キースイッチに係る入カデータや、立下りデータの生成処理は、タイマ割込み(図18参照)の入力ポートデータ生成の処理(S545)にて行われている。したがって、この場合にも、遊技メダルが通過中である可能性があるうちは、ブロッカ信号のONデータをセットしないことによって、メダルの挟み込みを防止することが可能となる。
また、本実施例では、タイマ割込み処理(図18参照)において、セレクタ通路センサ46に係る入力検知処理や、スタートレバー25に係る入力検知処理、及び、ブロッカON信号データやブロッカOFF信号データに基づきブロッカ47を動作させるための動作情報出力処理が行われている。つまり、セレクタ通路センサ信号に基づく入力検知処理や、スタートレバーセンサ信号に基づく入力検知処理は、タイマ割込み処理の入力ポートデータ生成の処理(S545)や入力エラーチェック処理(S83)により行われており、ブロッカ47を動作させるための駆動データ出力処理は、タイマ割込み処理の制御コマンド送信処理(S548)において行われている。そして、これらの入力検知処理や動作情報出力処理は、遊技進行メイン処理においてセットされたデータに基づき、タイマ割込み処理内のそのときの制御状況に応じたタイミングで実行される。
以上説明したような制御態様によれば、設定キースイッチ操作とブロッカ動作とに係る連携を正確に行うことができ、設定キースイッチ操作時におけるブロッカ動作制御を適正に行うことが可能となる。
<<エラー処理との関係>>
次に、ブロッカ47を動作させるための処理とエラー処理との関係について説明する。ここで説明するのは、前述のCEエラー(図10参照)が発生した場合の処理例であり、CEエラーは、投入センサ1(115)又は投入センサ2(116)が設けられた部位(図7参照)に遊技メダルが滞留したと判断した場合のエラーである。
先ず、遊技進行メイン処理(図14参照)において、投入センサ1信号又は投入センサ2(116)が所定時間以上継続して検知された場合に、遊技メダル滞留(CEエラー)と判定する。ここで、遊技メダル滞留の判定に係る所定時間は、前述の滞留判定通過時間A及びCの上限値である約143.03msである。そして、図24に示すエラー表示の処理に移行し、エラー番号の保存(S231)、エラー前ブロッカ信号及びホッパモータ駆動信号に係る状態情報の退避を行う(S232)。さらに、ホッパモータ駆動信号をOFFにした後(S233)、ブロッカOFFの処理(S234)が実行され、図23(b)に示すように、S223においてブロッカ信号をOFFにするためのデータがセットされる。
続いて、エラー要因が除去された場合(S248:YES)には、エラー番号のクリアや(S249)、各種情報の復帰(S250、S253、S254)等の処理を経て、エラー前のブロッカ信号がONであったか否かを判定する(S255)。そして、エラー前のブロッカ信号がONであった場合には(S255:YES)、ブロッカONの処理(S256)を実行し、ブロッカOFF時監視時間の経過を待ってから(S211)、ブロッカ信号をONとするためのデータを格納する(S213)。したがって、この場合にも、遊技メダルが通過中である可能性があるうちは、ブロッカ信号のONデータをセットしないことによって、メダルの挟み込みを防止することが可能となる。
また、本実施例では、タイマ割込み処理(図18参照)において、セレクタ通路センサ46に係る入力検知処理や、ブロッカON信号データやブロッカOFF信号データに基づきブロッカ47を動作させるための動作情報出力処理は、タイマ割込み処理(図18参照)により行われている。つまり、セレクタ通路センサ信号に基づく入力検知処理は、タイマ割込み処理の入力ポートデータ生成の処理(S545)や、後述する第2制御のエラーチェック処理(図38参照)により行われており、ブロッカ47を動作させるための駆動データ出力処理は、タイマ割込み処理の制御コマンド送信処理(S548)において行われている。そして、これらの入力検知処理や動作情報出力処理は、遊技進行メイン処理においてセットされたデータに基づき、タイマ割込み処理内のそのときの制御状況に応じたタイミングで実行される。
以上説明したような制御態様によれば、エラー処理とブロッカ動作とに係る連携を正確に行うことができ、エラー発生時におけるブロッカ動作制御を適正に行うことが可能となる。
<<遊技メダル管理処理>>
続いて、前述の遊技メダル管理の処理(図14のS56参照)について、図26に基づき説明する。この遊技メダル管理処理は、前述の遊技進行メイン処理(図14参照)において、遊技メダルの有無のチェック(S54)により、遊技メダルがある場合(S54:YES)に移行する処理である。
図26に示す遊技メダル管理処理においては、遊技メダルの投入及び清算処理の管理を行う。より具体的には、前述のブロッカ47をONの状態(遊技メダル通過可能状態)にするためのデータセットがされているか否かの判定を行う(S321)。ここでは、手動投入した遊技メダルの受付又は排出を行う遊技メダルセレクター44の流路切替部であるブロッカ47が、受付状態(メダル流路形成状態)となっているか否かの確認を行う。
そして、ブロッカ47をONにするためのデータセットがされていれば(S321:YES)、投入センサ信号がONとなっているか否かを確認し(S322)、遊技メダルの投入の有無を判定する。この遊技メダルの投入が検知されたか否かの判定は、前述の投入センサ115、116により実物の遊技メダルが検出されたか否かの判定を行うものであり、賭け設定(ベット)の有無を判定する前述のS54(図14の遊技進行メイン処理参照)とは異なる処理である。
ここでは、投入センサ1(115)と投入センサ2(116)のうち、メダル通路105の下流側に位置する投入センサ2(116)のみが遊技メダルを検出しているのみの場合でも、遊技メダルの投入があった(S322:YES)と判定される。そして、遊技メダルの投入が検知されれば(S322:YES)、遊技メダルの投入が適正であるか否かの判定等の投入処理を行う第2制御の遊技メダル投入チェックの処理(図42、図43参照)を実行する。つまり、ブロッカ信号及び投入センサ信号がともにONの場合に(S321:YES、S322:YES)、遊技メダル投入チェック(図42、図43)に移行する。
一方、ブロッカの状態確認の処理(S321)でブロッカONのデータがセットされていないことが判定された場合(S321:NO)や、遊技メダルの投入が検知されない場合(S322:NO)は、遊技メダル投入チェックの処理(図42、図43参照)を行わずに、メイン入力部26(図1参照)におけるベットボタンや清算ボタン74の操作を受付け可能であるか否かを判定する(S323)。このボタン操作が受付可能であるか否かの判定(S323)は、各種ベットボタン、又は、清算ボタン74が受付可能状態にあるか否かを判定するものである。そして、受付可能でないと判定するのは、スタートレバー25が操作されている場合、又は、別のボタンである何れかの停止ボタン(24L〜24R)が操作されている場合である。
上述の各種ベットボタン、又は、清算ボタン74が受付け可能でなければ(S323:NO)、遊技メダル管理を抜けて、元の処理へ戻る。また、操作を受付け可能であれば(S323:YES)、操作を受付けたか否かの判定(S324)を実行する。このボタン操作を受付けたか否かの判定(S324)は、ボタン操作に応じて投入を行う場合の処理である。具体的には、既に賭数が上限に達していないか否かを判定し、操作された投入ボタンが前述の1BETボタン(1枚投入ボタン75)であるか否かを判定する。そして、1BETボタン(1枚投入ボタン75)であれば、1枚のデータをセットし、1BETボタン(1枚投入ボタン75)でなければ、前述のMAXBETと判定し、次遊技の規定数を賭数設定予定枚数にセットする。そして、賭数設定予定枚数は貯留された枚数を示す貯留枚数(貯留メダル数)よりも多いか否かを判定し、貯留枚数の方が少なければ、賭数設定予定枚数を貯留枚数にセットする。さらに、投入ボタンが押された旨の制御コマンドをセットし、賭数1枚設定、貯留数1枚減算を、賭数設定予定枚数に相当する回数に亘り繰り返す。
上述のボタン操作を受付けたか否かの判定の処理(S324)において、操作を受付けていない場合には(S324:NO)、遊技メダル管理を抜けて、元の処理へ戻る。一方、操作を受付けていれば(S324:YES)、清算ボタン74がONか否かの判定を実行し(S325)、清算ボタン74がONでなければ(S325:NO)、後述する貯留投入処理(図27参照)へ移行する。また、清算ボタン74がONであれば(S325:YES)、ボタンの操作に応じて清算を行う遊技メダル清算処理(S326)を実行し、元の処理へ戻る。
より具体的には、清算ボタン74の信号(清算スイッチ信号)がOFFからONになった場合には、前述した遊技開始表示LEDへの信号(遊技開始表示LED信号)をOFFにし、遊技メダル清算処理(S326)に移行する。また、前述の1枚投入スイッチ信号又は3枚投入センサ信号がOFFからONになった場合には、遊技開始表示LED信号をOFFにし、貯留投入に移行する。なお、S321及びS322のうちの少なくともいずれかで否定判断(NO)となり、且つ、S323又はS324でも否定判断(NO)となった場合には、遊技メダル管理処理を終了する。
図28は、上述の遊技メダル清算処理(S326)の内容をより具体的に示している。この遊技メダル清算処理においては、作動フラグのチェックを行い(S371)、再遊技作動中か否かを判定し(S372)、作動中であれば(S372:YES)、賭数設定されている遊技メダルの有無を確認し(S373)、賭数設定されている遊技メダルがあれば(S373:YES)、ブロッカOFFのデータをセットし(S374)、遊技メダルセレクター44のメダル通路105(図6参照)を、投入不可状態とする。そして、制御コマンドとして、清算開始コマンドをセットする(S375)。
さらに、賭数設定されている遊技メダル枚数を読み込み(S376)、賭数設定されている枚数分まで、1枚ずつ清算処理を行う。ここでは、遊技メダルを1枚払出す毎に、賭数(賭け枚数)を1減算し(S377)、更に賭数設定されている遊技メダル枚数を読み込み(S378)、賭枚数分の清算が終了したか否かの判定を行う(S379)。そして、賭枚数分の清算が終了していれば(S379:YES)、遊技メダル限界フラグをクリアし(S380)する。この遊技メダル限界フラグは、投入ボタン受付を禁止するために用いられるフラグである。
続いて、制御コマンドとして、清算終了コマンドをセットし(S381)、ブロッカONのデータをセットし(S382)、遊技メダルセレクター44のメダル通路105(図6参照)を、投入可能状態に戻す。そして、遊技メダル清算処理を終了し、元の処理へ戻る。上述の賭枚数分の清算が終了したか否かの判定(S379)において、賭枚数分の清算が終了していなければ(S379:NO)、賭枚数の読み込み(S376)に戻り、ベット分の清算が終了するまで、S376〜S379の処理を繰り返す。
一方、前述の再遊技作動中か否かの判定(S372)において、再遊技が作動中でないと判定した場合(S372:NO)、又は、賭数設定されている遊技メダルの有無の確認(S373)において、賭数設定されている遊技メダルがない場合(S373:NO)には、貯留枚数を読み出す処理(S383)が実行される。そして、貯留枚数の有無を判定し(S384)、貯留枚数がなければ(S384:NO)、遊技メダル清算処理を終了して、元の処理へ戻る。
上述の貯留されている遊技メダルの有無の確認(S384)において、貯留されている遊技メダルがある場合(S384:YES)には、ブロッカOFFのデータをセットし(S385)、遊技メダルセレクター44のメダル通路105(図6参照)を、投入不可状態とする。そして、制御コマンドとして、清算開始コマンドをセットする(S386)。これらのブロッカOFFデータのセット(S385)、清算開始コマンドのセット(S386)は、前述のS374、S375と同じ処理とすることができる。
さらに、貯留されている遊技メダル枚数を読み込み(S387)、貯留されている枚数分まで、1枚ずつ清算処理を行う。ここでは、遊技メダルを1枚払出す毎に、貯留枚数を1減算し(S388)、更に残っている貯留枚数を読み込み(S389)、貯留数分の清算が終了したか否かの判定を行う(S390)。そして、貯留枚数分の清算が終了していれば(S390:YES)、前述の清算終了コマンドのセットし(S381)、ブロッカONのデータセット(S382)を行い、遊技メダル清算処理を終了し、元の処理へ戻る。
上述の貯留数分の清算が終了したか否かの判定(S390)において、貯留数分の清算が終了していなければ(S390:NO)、貯留枚数の読み込み(S387)に戻り、貯留分の清算が終了するまで、S387〜S390の処理を繰り返す。
<<貯留投入処理>>
続いて、前述の貯留投入処理について、図27に基づき説明する。この貯留投入処理は、前述の遊技メダル管理の処理(図26参照)にて、清算ボタン74がONか否かの判定(S325)により、清算ボタン74がONでない場合(S325:NO)に移行する処理である。
図27に示す貯留投入処理においては、遊技メダル限界フラグがセットされているか否かの判定(S331)を行い、遊技メダル限界フラグがセットされている場合には(S331:YES)、貯留投入処理を終えて、遊技進行メイン処理における元の処理へ戻る。遊技メダル限界フラグがセットされていない場合には(S331:NO)、投入要求枚数セットの処理(S332)を実行する。この投入要求枚数セット(S332)においては、投入要求枚数として「1」をセットし、MAXBETスイッチ信号の立ち上がりを検出している場合は、賭数の上限と、現在設定されている賭数との差分を、投入要求枚数としてセットする。
続いて、貯留枚数読込みの処理(S333)を行い、遊技メダルの貯留枚数があるか否かの判定を行う(S334)。そして、貯留枚数がある場合には(S334:YES)、貯留投入処理を終えて、遊技進行メイン処理における元の処理へ戻る。また、貯留枚数がない場合には(S334:NO)、投入スイッチ信号の立ち上がりデータをクリアし(S335)、遊技メダル貯留枚数と投入要求枚数との関係の判定(S336)を実行する。そして、遊技メダル貯留枚数が投入要求枚数以上でなければ(S336:NO)、投入要求枚数に遊技メダル貯留枚数の値をセットし(S337)、遊技メダル1枚加算の処理(S338)へ移行する。上述のS336において、遊技メダル貯留枚数が投入要求枚数以上であれば(S336:YES)、遊技メダル貯留枚数の値のセット(S337)を行わずに、遊技メダル1枚加算の処理(S338)へ移行する。
遊技メダル1枚加算の処理(S338)においては、賭数に「1」を加算する。その後、獲得枚数表示クリアの処理(S339)を実行し、賭数の表示処理(S340)を実行し、規定数と遊技メダル枚数の読み込み(S341)を実行する。さらに、遊技メダル枚数限界に係る判定の処理(S342)を実行し、賭数が上限に達しているか否かを判定する。そして、賭数が上限に達していれば(S342:YES)、遊技メダル限界フラグをセットし(S343)、貯留枚数読込みの処理(S345)へ移行する。賭数が上限に達していなければ(S342:NO)、遊技メダル限界フラグセットの処理(S343)を行わずに、貯留枚数読込みの処理(S345)へ移行する。
貯留枚数読込みの処理(S345)の後には、貯留枚数1枚減算の処理(S345)を実行し、投入要求枚数に係る一連の処理が、投入要求枚数分について実行されたか否かの判定(S346)が実行される。そして、投入要求枚数分の処理が終わっていれば(S346:YES)、貯留投入処理を終えて、遊技進行メイン処理における元の処理へ戻る。投入要求枚数分の処理が終わっていなければ(S346:NO)、遊技メダル1枚加算の処理(S338)以降の処理を再度実行する。
<第2制御に係る各種の処理>
次に、前述した第2制御における各種の処理について説明する。
<RWM初期化2>
図30は、前述した電源復帰処理(図21参照)等で用いられるRWM初期化2の処理を示している。このRWM初期化2の処理においては、所定のRWMエリア(F200H〜F3FFH)に設けられた第2作業領域、及び、第2スタックエリアの最大使用量(F210H〜F21EH、F3F3H〜F3FFH)を除く未使用領域をクリアする。
より具体的には、スタックポインタの退避を行い(S871)、スタックポインタの使用領域外の領域のセットを行い(S872)、所定のレジスタの退避を行う(S873)。さらに、RWM初期化開始アドレスのセットを行い(S874)、RWM初期化バイト数のセットを行い(S875)、RWMの初期化を行う(S876)。そして、次のRWMアドレスのセットを行い(S877)、RWMの初期化が終了したか否かの判定を行う(S878)。
上記S878で、RWMの初期化が終了していれば(S878:YES)、RWM初期化開始アドレスのセットを行い(S879)、終了していなければ(S878:NO)、上記S876の、RWMの初期化の処理へ戻る。上記S879の後、RWM初期化バイト数のセットを行い(S880)、RWMの初期化を行う(S881)。
さらに、次のRWMアドレスのセットを行い(S882)、RWMの初期化が終了したか否かの判定を行う(S883)。上記S883で、RWMの初期化が終了していれば(S883:YES)、レジスタの復帰を行い(S884)、終了していなければ(S883:NO)、上記S881の、RWMの初期化の処理へ戻る。上記S884の後、スタックポインタの復帰(S885)を行い、処理を終了する。
<RWM初期化3>
次に、前述した設定変更装置処理(図13参照)等で用いられるRWM初期化3の処理について説明する。図31に示すように、RWM初期化3の処理においては、スタックポインタの退避を行い(S891)、スタックポインタの使用領域外の領域のセットを行い(S892)、所定のレジスタの退避を行う(S893)。さらに、RWM初期化開始アドレスのセットを行い(S894)、RWM初期化バイト数のセットを行い(S895)、RWMの初期化を行う(S896)。
続いて、次のRWMアドレスのセットを行い(S897)、RWMの初期化が終了したか否かの判定を行う(S898)。上記S898で、RWMの初期化が終了していれば(S898:YES)、レジスタの復帰を行い(S899)、終了していなければ(S898:NO)、上記S896の、RWMの初期化の処理へ戻る。上記S899の後、スタックポインタの復帰(S900)を行い、処理を終了する。
なお、RWM初期化に係る制御モジュールとして、前述のRWM初期化2やRWM初期化3以外にも、例えば、第1制御に係るRWM初期化1が設けられている。このRWM初期化1は、第1制御に係る電源投入時処理(図12参照)の遊技開始セットの処理(S52)で使用される制御モジュールから移行するようになっているが、RWM初期化1の処理についての説明は省略している。
<シリアル通信設定>
次に、シリアル通信のために用いられるシリアル通信設定の処理について説明する。このシリアル通信設定においては、試射試験用出力で使用するSCU1の送信機能設定を行う。より具体的には、図32に示すように、スタックポインタの退避を行い(S911)、スタックポインタの使用領域外の領域のセットを行い(S912)、所定のレジスタの退避を行う(S913)。
さらに、SCU1ボーレートレジスタアドレス(下位)のセットを行い(S914)、SCU1ボーレートレジスタのセットを行う(S915)。続いて、SCUチャンネル1送機能使用、FIFOモード、データ長9ビット、パリティ使用及び偶数パリティのセットを行い(S916)、レジスタの復帰を行い(S917)、スタックポインタの復帰を行って(S918)、処理を終了する。
<図柄停止信号出力>
次に、前述した条件装置コマンドセットの処理(図16参照)等で用いられる図柄停止信号出力の処理について説明する。この条件装置コマンドセットの処理においては、試射試験用の図柄停止信号データを出力する。より具体的には、図33に示すように、スタックポインタの退避を行い(S921)、スタックポインタの使用領域外の領域のセットを行い(S922)、所定のレジスタの退避を行う(S923)。
さらに、SCU1データレジスタのセットを行い(S924)、第1コマンド(回胴情報指定)のライトを行う(S925)。続いて、第2コマンド(回胴情報指定)のライトを行い(S926)、図柄停止信号セットの処理を行う(S927)。この図柄停止信号セットの処理(S927)については後述する。
また、送信回数及び第1コマンド(押し順指定)データのセットを行い(S928)、第1コマンドのライトを行う(S929)。さらに、停止受付指定テーブルから第2コマンドデータの取得を行い(S930)、第2コマンドのライトを行う(S931)。また、次の第1コマンドデータのセットを行い(S932)、次のテーブルアドレスのセットを行う(S933)。
続いて、送信終了か否かの判定を行い(S934)、送信終了であれば(S934:YES)、レジスタの復帰を行い(S935)、スタックポインタの復帰を行って(S936)、処理を終了する。上記S934で、送信が終了していなければ(S934:NO)、上記S929の、第1コマンドライトの処理へ戻る。
<図柄停止信号セット>
次に、前述した図柄停止信号出力の処理(図33参照)で用いられる図柄停止信号セットの処理(S927)について説明する。この条件装置コマンドセットの処理においては、指示番号、作動状態フラグ及びボーナス条件装置番号に応じて、試射試験用の図柄停止信号データテーブルをセットする。
より具体的には、図34に示すように、停止受付指定テーブル2のセットを行い(S941)、オフセットのセットを行う(S942)。さらに、指示番号が0であるか否かの判定を行い(S943)、指示番号が0である場合には(S943:YES)、停止受付指定テーブル1のセットを行う(S944)。また、ボーナス作動時であるか否かの判定を行い(S945)、ボーナス作動時でなければ(S945:NO)、停止受付指定テーブル2のセットを行う(S946)。
続いて、オフセットのセットを行い(S947)、ボーナス条件装置の未作動時であるか否かの判定を行う(S948)。ボーナス条件装置の未作動時でなければ(S948:NO)、オフセットの生成を行い(S949)、オフセットに応じた停止受付指定テーブルのセットを行って(S950)、処理を終了する。
上記S943で、指示番号が0でない場合には(S943:NO)、間の処理を行わずに、オフセットに応じた停止受付指定テーブルセットの処理(S850)を行う。上記S945で、ボーナス作動時である場合(S945:YES)や、上記S948で、ボーナス条件装置の未作動時であった場合(S948:YES)には、以降の処理を行わず、処理を終了する。
<試験信号出力>
次に、前述したエラー管理の処理(図20参照)等で用いられる試験信号出力の処理について説明する。この試験信号出力の処理においては、シミュレーション試験用の試験信号、条件装置情報及び再遊技状態識別情報を出力する。そして、ボーナス作動情報及び再遊技作動情報を出力ポート10に出力し、条件装置出力時間及び再遊技状態識別情報フラグに応じて出力データをポート9に出力する。そして、役物条件差動装置情報出力時には役物条件装置情報を出力し、入賞及び再遊技条件装置情報出力時には入賞及び再遊技条件装置情報を出力し、再遊技状態識別情報フラグON時には再遊技状態識別情報を出力し、これら以外の場合にはクリアデータを出力する。
より具体的には、図35に示すように、スタックポインタの退避を行い(S961)、スタックポインタ(使用領域外)のセットを行う(S962)。続いて、レジスタの退避を行い(S963)、試験信号出力データの生成を行う(S964)。さらに、試験信号の出力を行い(S965)、RT状態番号の取得を行う(S966)。
続いて、ボーナス作動時であるか否かの判定を行い(S967)、ボーナス作動時であれば(S967:YES)、所定のボーナス(ここでは1種BB−A)の作動時を除く再遊技状態識別信号をセットする(S968)。さらに、上述の所定のボーナス(1種BB−A)の作動時であるか否かの判定を行い(S969)、作動時であれば(S969:YES)、上記所定のボーナス(1種BB−A)時に係る再遊技状態識別信号のセットを行う(S970)。
続いて、再遊技状態識別信号の生成を行い(S971)、再遊技状態識別情報フラグがONであるか否かの判定を行う(S972)。ここで、再遊技状態識別情報は、RT状態番号及び作動種別により生成される情報である。上記S967で、ボーナス作動時でなかった場合には(S967:NO)、間の処理を行わず、上記S972の、再遊技状態識別情報フラグがONであるか否かの判定を行う。また、上記S969で、上述の所定のボーナス(1種BB−A)の作動時でなかった場合には(S969:NO)、上記S970を行わず、上記S972の、再遊技状態識別情報フラグがONであるか否かの判定を行う。
上記S972で、再遊技状態識別情報フラグがONでなかった場合には(S972:NO)、条件装置情報クリアデータのセットを行い(S973)、条件装置情報の出力時であるか否かの判定を行う(S974)。条件装置情報の出力時であった場合には、(S974:YES)、役物条件装置情報出力時データのセットを行い(S975)、ボーナス条件装置番号RWMアドレスのセットを行う(S976)。
さらに、役物条件装置情報の出力時であるか否かの判定を行い(S977)、役物条件装置情報の出力時でなかった場合には(S977:NO)、入賞及び再遊技条件装置情報データのセット(S978)、入賞及び再遊技条件装置番号RWMアドレスのセット(S979)を行って、条件装置番号の取得を行う(S980)。上記S977で、役物条件装置情報の出力時であった場合には(S977:YES)、間の処理を行わず、上記S980の、条件装置番号の取得を行う(S980)。
続いて、条件装置下位情報(下位桁の情報)のセットを行い(S981)、条件装置下位情報の出力時であるか否かの判定を行う(S982)。さらに、条件装置下位情報の出力時でなければ(S982:NO)、条件装置上位情報(上位桁の情報)のセットを行い(S983)、条件装置情報の生成を行う(S984)。そして、条件装置情報の出力を行い(S985)、レジスタの復帰を行い(S986)、スタックポインタの復帰を行って(S987)、処理を終了する。
上記S972で、再遊技状態識別情報フラグがONであった場合(S972:YES)、及び、上記S974で、条件装置情報の出力時でなかった場合(S974:NO)には、間の処理を行わず、上記S985の、条件装置情報の出力を行う(S985)。また、上記S982で、条件装置下位情報の出力時であった場合には(S982:YES)、上記983を行わず、上記S984の、条件装置情報生成の処理を行う(S984)。
<投入・払出センサ異常セット>
次に、遊技メダルの投入や払出しのエラー検出等に係る前述した投入・払出センサ異常セットの処理について説明する。この投入・払出センサ異常セットの処理においては、エラー検出フラグに応じて、該当するエラーの表示要求を行う。
より具体的には、図36に示すように、スタックポインタの退避を行い(S991)、スタックポインタ(使用領域外)のセットを行う(S992)。さらに、レジスタの退避を行い(S993)、CHエラーの表示要求をセットする(S994)。また、CHエラーが検出されたか否かの判定を行い(S995)、検出されていない場合には(S995:NO)、エラー表示要求のクリアを行う(S996)。
続いて、エラー表示要求データの保存を行い(S997)、レジスタの復帰(S998)、スタックポインタの復帰(S999)を行って処理を終了する。また、上記S995で、CHエラーが検出された場合には(S995:YES)、上記S996の、エラー表示要求クリアの処理を行わず、上記S997の、エラー表示要求データの保存を行う。
<投入・払出センサ異常クリア>
次に、遊技メダルの投入・払出のエラー表示時の処理に係る投入・払出センサ異常クリアの処理について説明する。この投入・払出センサ異常クリアの処理においては、エラー表示要求があった場合、該当するエラーの検出フラグ及び関連データをクリアする。より具体的には、図37に示すように、スタックポインタの退避を行い(S1011)、スタックポインタ(使用領域外)のセットを行う(S1012)。
さらに、レジスタの退避を行い(S1013)、エラー検出フラグのセットを行う(S1014)。また、CHエラー表示の要求があるか否かの判定を行い(S1015)、表示要求がある場合には(S1015:YES)、CHエラー検出フラグのクリアを行う(S1016)。そして、レジスタの復帰(S1017)、スタックポインタの復帰(S1018)を行って処理を終了する。上記S1015で、表示要求がなかった場合には(S1015:NO)、上記S1016を行わず、上記S1017の、レジスタ復帰の処理を行う。
<エラーチェック>
次に、前述のエラー管理の処理(図20参照)等で用いられるエラーチェックの処理について説明する。このエラーチェックの処理においては、各種のエラーチェック処理を行う。より具体的には、図38に示すように、スタックポインタの退避を行い(S1021)、スタックポインタの使用領域外の領域のセットを行い(S1022)、所定のレジスタの退避を行う(S1023)。
さらに、エラーチェックの処理においては、設定値エラーチェックの処理(S1024)、内蔵乱数チェックの処理(S1025)、タイマ計測2の処理(S1026)、遊技メダル投入チェックの処理(S1027)、遊技メダル通過状態更新の処理(S1028)投入・払出センサ異常チェックの処理(S1029)エラー表示要求データクリアの処理(S1030)を順に行うが、これらの処理については後述する。そして、エラー表示要求データクリアの処理(S1030)の後、レジスタの復帰を行い(S1031)、スタックポインタの復帰を行って(S1032)、処理を終える。
<設定値エラーチェック>
次に、上述のエラーチェックの処理(図38参照)で用いられる設定値エラーチェックの処理(S1024)について説明する。この設定値エラーチェックの処理においては、設定の段階が正常範囲であるかチェックし、正常範囲でない場合は、復帰不可能エラー処理2に移行する。
より具体的には、図39に示すように、復帰不可能エラーの1つであるE6エラーのセットを行い(S1036)、設定値が最大値(ここでは6)未満であるか否かの判定を行う(S1037)。さらに、上記S1037において、設定値が最大値未満であれば(S1037:YES)、処理を終え、設定値が最大値未満でなければ(S1037:NO)、復帰不可能エラー処理2に移行する。この復帰不可能エラー処理2については後述する(図49参照)。
<内蔵乱数チェック>
次に、前述のエラーチェックの処理(図38参照)で用いられる内蔵乱数チェックの処理(S1025)について説明する。この内蔵乱数チェックの処理においては、内蔵乱数更新関連異常発生を検出した場合は、復帰不可能エラー処理2に移行し、検出しなかった場合には、8ビット乱数の検査を行う。
より具体的には、図40に示すように、復帰不可能エラーの1つであるE7エラーのセットを行い(S1041)、内蔵情報レジスタデータを取得する(S1042)。さらに、内蔵乱数更新関連異常が発生したか否かの判定を行い(S1043)、発生していない場合には(S1043:NO)、8ビット乱数最大値検査テーブルをセットする(S1044)。そして、RS0ソフトラッチ乱数値レジスタアドレスをセットし(S1045)、8ビット乱数検査の処理を4回行って(S1046〜S1049)、処理を終える。
また、上記S1043の、内蔵乱数更新関連異常が発生したか否かの判定の処理において、異常が発生していた場合には(S1043:YES)、復帰不可能エラー処理2に移行する。この復帰不可能エラー処理2については後述する(図63参照)。ここで、上記S1046〜S1049において8ビット乱数検査の処理を4回行うのは、対応するレジスタが4つあり、この4つのレジスタのチェックを順に行うためである。
<タイマ計測2>
次に、前述のエラーチェックの処理(図38参照)で用いられるタイマ計測2の処理(S1026)について説明する。このタイマ計測2の処理においては、エラーチェックで使用するタイマ用RWM1の減算をする(0未満の場合は0をセットする)。
より具体的には、図41に示すように、計測開始タイマアドレスのセットを行い(S1051)、1バイトタイマ数2のセットを行う(S1052)。さらに、1バイトタイマ値の更新を行い(S1053)、次のタイマアドレスのセットを行う(S1054)。また、1バイトタイマの計測が終了したか否かの判定を行い(S1055)、終了していれば(S1055:YES)、処理を終える。上記S1055で、1バイトタイマの計測が終了していない場合には(S1055:NO)、上記S1053の1バイトタイマ値更新の処理に戻る。
<遊技メダル投入チェック>
次に、前述のエラーチェックの処理(図38参照)で用いられる遊技メダル投入チェック(S1027)について説明する。この遊技メダル投入チェックの処理においては、メダル投入検査フラグON、又はブロッカ信号ON時に、投入センサ1及び2信号の検査を行い、通過異常を検出した場合は、各エラーの表示要求を行う。そして、投入センサ1通過チェック時間又は投入センサ2通過チェック時間が超過した場合、CEエラーの表示要求を行い、遊技メダルが不正通過した場合、CPエラーの表示要求を行う。さらに、投入監視カウンタが正常範囲内でなければ、C1エラーの表示要求を行う。
より具体的には、図42に示すように、前回ブロッカ信号データをセットし(S1061)、ブロッカ信号データの生成を行う(S1062)。さらに、今回ブロッカ信号データの生成を行い(S1063)、ブロッカ信号データの生成を行う(S1064)。また、ブロッカ信号の立ち上がりが検出されたか否かの判定を行い(S1065)、検出された場合には(S1065:YES)、投入監視カウンタのクリアを行う(S1066)。
また、メダル投入検査フラグがONか否かの判定を行い(S1067)、ONでなかった場合には(S1067:NO)、ブロッカ信号がONか否かの判定を行う(S1068)。さらに、ブロッカ信号がONであった場合には(S1068:YES)、前回遊技メダル通過状態のデータを取得する(S1069)。そして、投入センサ信号がONか否かの判定を行い(S1070)、ONであった場合には(S1070:YES)、メダル投入検査フラグのセットを行う(S1071)。
上記S1065で、ブロッカ信号の立ち上がりが検出されなければ(S1065:NO)、S1066を行わず、メダル投入検査フラグがONか否かの判定を行う(S1067)。また、上記S1067で、メダル投入検査フラグがONであった場合には(S1067:YES)、間の処理を行わず、S1070の、投入センサ信号がONか否かの判定を行う。上記S1068で、ブロッカ信号がONでなかった場合には(S1068:NO)、処理を終了する。
上記S1071の後、投入センサ1信号がONであるか否かの判定を行い(S1072)、ONであった場合には(S1072:YES)、CPエラーのセットを行う(S1073)。さらに、前回遊技メダル通過状態1又は3の状況であったか否かを判定し(S1074)、否定判断がされた場合には(S1074:NO)、前回遊技メダル通過状態0の状況であったか否かの判定を行う(S1075)。
上記S1075で肯定判断がされた場合には(S1075:YES)、投入センサ1通過チェック時間のセットを行い(S1076)、CEエラーのセットを行う(1077)。そして、投入センサ1の通過時間を超過したか否かの判定が行われ(S1078)、超過していない場合には(S1078:NO)、処理を終了する。上記S1075で否定判断がされた場合には(S1075:NO)、上記S1076を行わず、上記S1077の、CEエラーのセットを行う(1077)。
上記S1072で、投入センサ1信号がONでなかった場合には(S1072:NO)、図42中にS1079で示すように、投入センサ1及び2の信号がONであるか否かの判定を行う。さらに、投入センサ1及び2信号がONであった場合には(S1079:YES)、CPエラーのセットを行い(S1080)、前回遊技メダル通過状態0又は1の状況であったか否かの判定を行う(S1081)。
そして、前回遊技メダル通過状態0又は1の状況でなかった場合には、前回遊技メダル通過状態2の状況であるか否かの判定を行い(S1082)、肯定判断の場合には(S1082:YES)、投入センサ2通過チェック時間のセットを行う(S1083)。また、CEエラーのセットを行い(S1084)、投入センサ2通過時間が超過したか否かの判定を行う(S1085)。
上記S1085で、投入センサ2通過時間が超過していなかった場合には(S1085:NO)、投入センサ1通過時間が超過したか否かの判定を行い(S1085)、超過していなかった場合には(S1086:NO)、処理を終了する。上記S1082で、前回遊技メダル通過状態2の状況でなかった場合には(S1082:NO)、S1083を行わず、上記S1084の、CEエラーのセットを行う(S1084)。
上記S1079で、投入センサ1及び2信号がONでなかった場合には(S1079:NO)、図43に示すように、S1087の、CPエラーのセットを行う。さらに、前回遊技メダル通過状態が0又は2であったか否かの判定を行い(S1088)、否定判断の場合には(S1088:NO)、CEエラーのセットを行い(S1089)、投入センサ2の通過時間が超過したか否かの判定を行う(S1090)。そして、投入センサ2の通過時間が超過した場合には(S1090:NO)、処理を終える。
図42に示す上記1070で、投入センサ信号がONでなかった場合(S1070:NO)には、図43に示すS1091に移行し、メダル投入検査フラグのクリアを行う。さらに、投入センサ1通過チェック時間及び投入センサ2通過チェック時間のデータのクリアを行い(S1092)、前回遊技メダル通過状態0の状況であるか否かの判定を行う(S1093)。
そして、前回遊技メダル通過状態0の状況でなければ(S1093:NO)、前回遊技メダル通過状態2の状況であるか否かの判定を行い(S1094)、否定判断が行われれば(S1094:NO)、CPエラーのセットを行う(S1095)。上記S1093で、前回遊技メダル通過状態0の状況であった場合(S1093:YES)や、上記S1094で、前回遊技メダル通過状態2の状況であった場合(S1094:YES)には、処理を終了する。
上記S1095の後、前回遊技メダル通過状態1の状況であるか否かの判定を行い(S1096)、肯定判断がされれば(S1096:YES)、投入監視カウンタを−1し(S1097)、投入監視カウンタの値が正常範囲にあるか否かの判定を行う(S1098)。さらに、投入監視カウンタが正常範囲になければ(S1098:NO)、エラー表示要求データの保存を行い(S1099)、処理を終了する。
上記S1096で、前回遊技メダル通過状態1の状況でない場合(S1096:NO)や、図42に示す上記S1074、S1078、S1081、S1086、図43に示す上記S1088、S1090の各処理で、肯定判断(YESの判断)がされた場合には、上記S1099に移行し、エラー表示要求データの保存を行う(S1099)。また、上記S1098で、投入監視カウンタが正常範囲にあれば(S1098:YES)、処理を終了する。
<遊技メダル通過状態更新>
次に、前述のエラーチェックの処理(図38参照)で用いられる遊技メダル通過状態更新の処理(S1028)について説明する。この遊技メダル投入チェックの処理においては、図44に示すように、投入センサ信号に応じて遊技メダル通過状態を更新する。より具体的には、図44に示すように、投入センサ信号情報を取得し(S1106)、遊技メダル通過状態の更新を行って(S1107)、処理を終える。
<投入・払出センサ異常チェック>
次に、前述のエラーチェックの処理(図38参照)で用いられる投入・払出センサ異常チェックの処理(S1029)について説明する。この遊技メダル投入チェックの処理においては、投入センサの入力異常、払出しセンサの入力異常、及び、セレクタ通路センサの通過異常を監視する。
より具体的には、図45に示すように、前回のエラー検出フラグを更新し(S1111)、ブロッカ信号の立ち下がりが検出されたか否か(ここではOFFになったか否か)の判定を行う(S1112)。さらに、ブロッカ信号の立ち下がりが検出された場合には(S1112:YES)、投入センサ異常入力検出開始時間をセットし(S1113)、投入関連エラー時であるか否かの判定を行う(S1114)。
上記S1112で、ブロッカ信号の立ち下がりが検出されなかった場合には(S1112:NO)、投入センサ異常入力検出開始時間のセット(S1113)を行わずに、投入関連エラー時であるか否かの判定を行う(S1114)。また、上記S1114で、投入関連エラー時でないと判定された場合には(S1114:NO)、ブロッカ信号ONの検査を行い(S1115)、投入センサ異常入力検出開始時間の有効検査を行う(S1116)。
さらに、投入センサ異常検出検査があったか否かの判定を行い(S1117)、結果が肯定判定であった場合には(S1117:YES)、投入センサ2の異常検出があったか否かを判定する(S1118)。そして、投入センサ2の異常検出があった場合には(S1118:YES)、C0エラー検出フラグのセットを行い(S1119)、セレクタ通路センサ信号の立ち上がりが検出されたか否かの判定を行う(S1120)。
上記S1117で、投入センサ異常検出検査がなかったと判定された場合(S1117:NO)や、上記S1118で、投入センサ2に係る異常検出がなかったと判定された場合(S1118:NO)には、C0エラー検出フラグのセット(S1119)を行わずに、セレクタ通路センサ信号の立ち上がりが検出されたか否か(ここではONになったか否か)の判定を行う(S1120)。
上記S1120で、セレクタ通路センサ信号の立ち上がりが検出されると(S1120:YES)、投入監視カウンタを+1し(S1121)、セレクタ通路センサ滞留時間をセットする(S1122)。そして、セレクタ通路センサがONか否か(滞貨があるか否か)の判定を行い(S1123)、ONである場合(滞貨がある場合)には(S1123:YES)、セレクタ通路滞留時間が経過したか否かの判定を行う(S1124)。
上記S1124で、セレクタ通路滞留時間が経過していれば(S1124:YES)、CHエラー検出フラグをセットし(S1125)、HPエラー時であるか否かの判定を行う(S1126)。さらに、上記S1124で、セレクタ通路滞留時間が経過していなければ(S1124:NO)、CHエラー検出フラグのセット(S1125)を行わずに、HPエラー時であるか否かの判定を行う(S1126)。
上記S1126で、HPエラー時でない場合は(S1126:NO)、払出センサ異常検出1データのRWMアドレスをセットし(S1127)、払出センサ異常検出2データのRWMアドレスをセットする(S1128)。上記S1126で、HPエラー時であった場合には(S1126:YES)、処理を終える。
上記S1128に続いて、払出センサ1及び2マスクデータ並びに払出センサ2ビットのデータをセットする(S1129)。さらに、ホッパモータ駆動信号がONか否かの判定を行い(S1130)、ONでない場合には(S1130:NO)、払出センサチェック用データの生成を行う(S1131)。また、払出センサ2のみONであるか否かの判定を行い(S1132)、払出センサ2のみONであった場合には(S1132:YES)、払出センサ異常検出1データ及び払出センサ異常検出2データをクリアし(S1133)、処理を終える。
上記S1114で、投入関連エラーであることが判定された場合(S1114:YES)、S1120で、セレクタ通路センサ信号の立ち上がりが検出されなかった場合(S1120:NO)、S1123でセレクタ通路センサがONでなかった場合(S1123:NO)には、それぞれ間の処理を行わずに前述のS1126へ移行し、HPエラー時であるか否かの判定を行う。
上記S1132で、払出センサ2のみのONが検出されなかった場合には(S1132:NO)、図46に示すように、払出センサ1マスクデータ及び払出センサ1ビットをセットする(S1134)。さらに、払出センサチェック用データの生成を行い(S1135)、異常検出データクリア用データのセットを行う(S1136)。
上記S1130(図45参照)で、ホッパモータ駆動信号がONであった場合には(S1130:YES)、間の処理を行わずに、図46に示す払出センサチェック用データの生成処理(S1135)を行う。
続いて、払出センサ異常検出3データのクリアを行い(S1137)、チェックを行わない払出センサ異常検出データのクリアを行う(S1138)。さらに、払出センサ1又は2の異常を検出したか否かの判定を行い(S1139)、異常を検出した場合には(S1139:YES)、払出センサ異常検出時間の計測を行い(S1140)、処理を終了する。上記S1139で、払出センサ1又は2の異常を検出しなかった場合には(S1139:NO)、払出センサ異常検出時間の計測(S1140)を行わずに、処理を終了する。
<エラー表示要求データクリア>
次に、前述のエラーチェックの処理(図38参照)で用いられるエラー表示要求データクリアの処理(S1030)について説明する。このエラー表示要求データクリアの処理においては、エラー表示時にエラー表示要求データをクリアする。
より具体的には、図47に示すように、エラー表示時であるか否かの判定を行い(S1146)、エラー表示時である場合には(S1146:YES)、エラー表示要求データをクリアして(S1147)、処理を終了する。上記S1146でエラー表示時でなければ(S1146:NO)、エラー表示要求データのクリア(S1147)を行わずに、処理を終了する。
<<8ビット乱数検査>>
次に、前述の内蔵乱数チェックの処理(図40参照)で用いられる8ビット乱数検査の処理(S1046〜S1049)について説明する。この8ビット乱数検査の処理においては、8ビット乱数の検査を行い、8ビット乱数値が乱数最大検査データ以上かつ乱数最大値設定ありの場合や、取得した最大3個の8ビット乱数値がすべて一致した場合には、復帰不可能エラー処理2に移行する。
より具体的には、図48に示すように、8ビット乱数値の取得を行い(S1151)、乱数値が乱数最大検査データよりも小さいか否かの判定を行う(S1152)。さらに、乱数値が乱数最大検査データよりも小さくない場合には(S1152:NO)、乱数最大値の設定があるか否かの判定を行い(S1153)、乱数最大値の設定がない場合には(S1153:NO)、8ビット乱数値の再取得を行う(S1154)。
上記S1152で、乱数値が乱数最大検査データよりも小さい場合には(S1152:YES)、乱数最大値設定に係る判定の処理(S1153)を行わずに、8ビット乱数値の再取得を行う(S1154)。上記S1153で、乱数最大値の設定がある場合には(S1153:YES)、後述する復帰不可能エラー処理2(図49参照)へ移行する。
上記S1154の後、乱数値が一致するか否かの判定を行い(S1155)、一致する場合には(S1155:YES)、8ビット乱数値の再取得を行う(S1156)。さらに、取得した3個の乱数値が全て一致するか否かの判定を行い(S1157)、一致しない場合には(S1157:NO)、8ビット乱数最大値検査テーブルの更新を行う(S1158)。そして、8ビット乱数ソフトラッチ乱数値レジスタアドレスの更新を行い(S1159)、処理を終了する。
上記S1155で、乱数値が一致しない場合には(S1155:N)、間の処理を行わずに、上記S1158の、8ビット乱数最大値検査テーブルの更新を行う。また、上記S1157で、取得した3個の乱数値が全て一致した場合には(S1157:YES)、後述する復帰不可能エラー処理2(図49参照)へ移行する。
<<復帰不可能エラー処理2>>
次に、前述の設定値エラーチェックの処理(図39参照)、内蔵乱数チェックの処理(図40参照)、8ビット乱数検査の処理(図48参照)等で用いられる復帰不可能エラー処理2について説明する。この復帰不可能エラー処理2においては、復帰不可能エラー検出時の処理を行う。
より具体的には、図49に示すように、下位桁のエラー表示データをセットし(S1171)、上位桁のエラー表示データをセットする(S1172)。さらに、クリア出力ポートアドレス及びポート数のセットを行い(S1173)、出力ポート(0〜6)をOFFにする(S1174)。
また、次の出力ポートアドレスをセットし(S1175)、出力が終了したか否かの判定を行い(S1176)、出力が終了していれば(S1176:YES)、出力ポート3及び4に対するエラー表示出力を行う(S1177)。そして、上位桁と下位桁の切り替えを行い(S1178)、上記S1173の、クリア出力ポートアドレス及びポート数セットの処理に戻る。また、上記S1176で、出力が終了していなければ(S1176:NO)、上記S1174の、出力ポート(0〜6)OFFの処理に戻る。
<メダル投入に係る発明の作用効果>
以上説明したように、本実施例のスロットマシン10によれば、遊技メダルセレクター44に、投入センサ45とセレクタ通路センサ46が設けられているので、投入センサ45とセレクタ通路センサ46の両方の検出結果を用い、遊技メダルの状態を判断することができる。したがって、例えば投入センサ45のみを用いた場合に比べて、より強固に不正対策を行うことが可能である。さらに、投入センサ45とセレクタ通路センサ46を用いて、遊技メダルの投入に係る動作状態を監視できることから、前述したような各種の制御態様に基づき、エラー監視やブロッカ47の動作制御を適正に実行することが可能となる。そして、セレクタ通路センサ46に、不正の有無の検出以外の種々の機能を与えることができ、セレクタ通路センサ46を有効に活用することが可能となる。また、異常の検出を経て実行される遊技の停止に関しても、他の処理との関係において適正なタイミングで実行することが可能となる。
また、本実施例によれば、タイマ割込み処理(図18参照)に係るエラー管理の処理(図18、図20参照)において、試験信号出力処理(S762)が実行され、タイマ割込み処理毎に試験信号の出力処理を実行する。そして、試験信号出力処理(S762)により、役決定結果(役抽せん結果)に対応した試験信号がセットされ、役決定結果を試験信号として出力が可能となる。さらに、演算処理手段であるメインCPU81を有する主制御基板61には、製品開発段階において試験装置との接続に用いられる非常設コネクタは設けられていないが、非常設コネクタを配設するための非搭載領域183は残されたままとなっている。このため、試験時と同じ条件での製品の提供が可能であるとともに、試験信号から内部情報を不正に取得されるリスクを低減することが可能となっている。
さらに、電源投入時の処理(図12参照)において、電源が投入されたことに基づき、初めに、初期設定処理を実行する。そして、この初期設定処理として、レジスタを初期化(S1)した後、図示は省略しているが、レジスタに初期値を設定し、割込みの種類の設定など行う。さらに、このような初期設定処理が終わると、RWMのチェックサムの算出を行い(S3)、指定スイッチ(ここではドアスイッチ、設定ドアスイッチ、設定キースイッチ)が操作されているか否かを判定し(S9)、操作されていない場合には(S9:NO)、電断復帰処理(図21参照)を実行する。
したがって、電源投入したときに、早い段階でレジスタに初期値を設定でき、前回の電源断時にレジスタに残っていたデータに影響されることなく、常に同じ状態で、電源投入時の処理(図12参照)の大部分の処理(S2〜S13)を実行することが可能となる。
また、電源投入時の処理において、レジスタに初期値設定を行った後に、設定変更装置処理へ移行し(図13参照)、設定変更装置処理において、設定値が所定範囲(ここでは「1」から「6」)にあるか否かのチェックを行い(図13のS30)、設定値が所定範囲にない場合には(S30:NO)、設定値の補正を行ったうえで(S31)、設定値を遊技情報表示手段に表示するための設定値表示処理を行う(S32)。さらに、表示処理では、設定変更中を示す情報と記憶されている設定値を、表示装置(ここでは設定表示LED66(図4参照))に出力し(S32)、設定スイッチの操作に応じて設定値を更新する(S33〜S34)。
したがって、電源投入から設定値の表示のための処理を適正に規定でき、設定値の表示を的確に行うことが可能である。そして、電源投入から設定値表示のための処理までの一連の処理を適正に行うことが可能となる。また、設定値を表示するための表示装置である設定表示LED66(図4参照)に異常な表示がされてしまうことを防ぐことができる。
なお、設定変更装置処理(図13)への移行条件としては、例えば、内蔵RWM(図11参照)の状態に基づく条件を採用することが考えられる。より具体的には、内蔵RWMの対象と成る範囲の全領域についてチェックサムを行い、チェックサムの値(チェックサムデータ)が正常であることを、設定変更装置処理への移行条件とすることを例示できる。また、チェックサムを行うが、チェックサムの結果は何らの判定条件に用いず、チェックサム値に異常があっても、そのことによる特段の処理を行わない、といった制御態様も採用が可能である。
さらに、複数の条件の成立を設定変更装置処理への移行条件としてもよく、その場合には、電源断実行処理フラグが正常であること、及び、チェックサムの結果が正常であること、の両方を、設定変更装置処理への移行条件とすることが考えられる。
また、本実施例によれば、設定変更スイッチ(図4中の設定キースイッチ68)が操作された際に、スイッチ信号(設定/リセットボタン信号)の変化を、信号の立ち上がりによって検出する(図13のS33)。さらに、本実施例によれば、遊技進行メイン処理(図14参照)において、遊技開始にあたり遊技メダルの有無が判定され(S54)、遊技メダルがない場合(賭数がない場合)には(S54:NO)、前述のように、現在設定されている設定値を表示装置(設定表示LED66)に可視可能に表示する設定値確認可能状態となる。また、遊技メダルがある場合(賭数がある場合)には(S54:YES)、現在設定されている設定値が表示装置(設定表示LED66)に表示されない設定値確認不可能状態となる。
そして、設定値確認可能状態となる場合に実行される遊技メダル投入待ち時の表示の処理(S55)においては、設定変更スイッチ(設定キースイッチ68)を操作することで、設定値の確認が可能となる。さらに、この設定値確認可能状態では、遊技メダルが投入できないようにブロッカOFFデータをセットし、記憶されている設定値の表示処理を行い、スイッチ信号の変化を検出(立下りの検出)すると、設定値の表示処理を終了し、ブロッカONデータをセットするための処理を実行する。
また、この設定値確認可能状態においては、遊技メダル管理(図14中のS56)から遊技終了チェック(図14中のS68)までのような、遊技を進行させる処理は行われない。さらに、図示は省略するが、設定値確認可能状態においては、乱数に関するエラーは検出するが他のエラー監視は行わない。また、設定値確認可能状態へは、スイッチ信号の変化を検出することで移行する一方で、賭数が設定されている場合に(S54:YES)、賭数に係るスイッチ信号の変化を検出しても設定確認状態へ移行しないが、遊技の進行は可能となっている(S56以降参照)。
このように設定値確認不可能状態とするための処理を実行し、設定値の確認に制限を設けることで、予め定められた手順を経なければ設定値の確認ができないようにすることが可能となる。そして、適正な手法以外で設定値を確認しようとする不正行為を予防できるようになる。
さらに、本実施例によれば、遊技進行メイン処理(図14参照)の表示判定(S66)に基づいて遊技メダルが払出される場合、払出された遊技メダルの枚数に係る表示処理を行い、遊技メダルが1枚払出されるごとに表示装置(ここでは獲得枚数表示部)に表示する値を更新する。そして、最終的に払出された枚数に対応する値が、次回の遊技メダル投入時、又は、前述の遊技待機表示開始時(遊技終了から一定時間経過しても遊技メダルが投入されない場合)まで表示される。また、払出された遊技メダルの枚数に係る情報の表示中であっても、エラー発生時は、表示されている枚数に対応する値に変えて、発生したエラーに対応する表示を行う。
そして、以上説明したような本実施例によれば、上述の獲得枚数の表示を消灯する条件を定めることで、遊技メダル枚数に係る表示を適正なタイミングで他の表示態様に変更でき、表示の切り替えが行われない場合や、切り替えのタイミングが遅過ぎたり、早過ぎたりした場合に比べて、遊技の結果を誤認してしまうこと防止できる。
また、本実施例によれば、遊技進行メイン処理(図14参照)において、スタックポインタに所定値(開始アドレス)を設定する(S51)。そして、遊技メダルの管理処理(S56)、スタートスイッチの入力確認処理(S58)を行う。さらに、スタートスイッチが有効に受け付けられるまで遊技メダルの管理処理(S56)、スタートスイッチの入力確認処理を繰り返す(S58)。したがって、スタックポインタを、遊技進行メイン処理(図14参照)において、開始初期の段階で毎回クリアすることができ、何らかの異常が発生した場合に、異常状態のまま処理がループすることを予防できる。
さらに、本実施例によれば、遊技進行メイン処理(図14参照)において、表示判定(S66)を行い、遊技メダルの払出しがある場合は遊技メダルの払出しのための処理(S67)を行う。そして、遊技メダルの払出しが終了した場合や、遊技メダルの払出しがない場合は、遊技終了チェック(S68等)により、遊技状態に応じた処理を行う。
そして、遊技終了チェックの処理(S68等)においては、持越し役以外の条件装置番号のRWMクリア処理(非持ち越し役の条件装置のクリア)、再遊技表示LEDの消灯、再遊技作動フラグのクリア、ボーナス(ここではBB)やRTなどの遊技状態の設定を行う。さらに、遊技終了チェック(S68等)を終えると、遊技進行メイン処理(図14参照)の先頭にて、スタックポインタに所定値(開始アドレス)を設定する(S51)。したがって、遊技終了チェック(S68等)の後に、スタックポインタを毎回クリアすることができ、何らかの異常が発生した場合に、異常状態のまま処理がループすることを予防できる。
また、本実施例によれば、電源断時に、電源断処理(図19参照)において、スタックポインタの値を、図11に示す内蔵RWM領域(F000H〜F14AH)内に設定された第1所定記憶領域に保存し(S568)、この作業領域を含むRWMの記憶領域範囲(F000H〜F3FFH)についてチェックサムデータを演算し、演算して得られたチェックサム値を、同じ作業領域内の第1所定記憶領域とは第2所定記憶領域に記憶する(S574)。さらに、上述の第1所定記憶領域と第2所定記憶領域とは、作業領域の最初と最後以外の領域に設定されている。したがって、スタックポインタの値や、チェックサムデータの値を、位置を特定し易い作業領域の先頭や最後尾を避けて保存でき、これらの値の保存場所を第三者が特定し難くなり、このことによって不正を防止することが可能となる。
なお、本発明は上述した各実施形態に限定されず、以下に説明するような種々の制御態様を採用することが可能である。
<エラー報知に係る制御態様>
先ず、エラー報知に係る制御態様について説明する。エラー報知に係る制御態様としては、タイマ割込み処理(図18参照)に続くエラー管理処理(図20参照)において、第2制御に係るエラーチェック(S754)等によりセレクタ通路センサ46や投入センサ45の監視を行い(図38参照)、エラーが発生した場合に、サブ制御基板31へメインコマンドを送信し、このメインコマンドに基づいて、サブ制御基板31により、例えば演出部18(図1参照)を用いてエラー報知を行うことが考えられる。換言すると、遊技の進行を停止する前(各状況におけるエラー表示処理の前)にエラー報知を行うことができる。
また、スタートレバー25の操作後、即ちブロッカ47がOFFの状態(返却可能状態)において、例えば演出部18(図1参照)での演出が実行されている状況でエラーが発生した場合に、当該演出をキャンセル(中止)して、演出部18等によりエラーである旨の報知を実行することが考えられる。さらに、他の態様として、同様にブロッカ47がOFFの状態(返却可能状態)において、例えば演出部18(図1参照)での演出が実行されている場合に、当該演出を継続しながら、例えばエラー報知が可能な表示装置(例えば獲得枚数表示LEDなど)にエラー表示を行うことや、スピーカ50を用いた音声によるエラー報知を実行することが考えられる。また、他の態様として、同様にブロッカ47がOFFの状態(返却可能状態)において、例えば演出部18(図1参照)で、何らかの役に当せんしている期待度が高いことを示す高期待度演出、複数回の遊技を跨いで継続性をもって行われる連続演出等といった特定の演出を実行しているときにエラーが発生した場合に、全回胴の停止後に、エラーである旨の報知を実行することが考えられる。例えば、サブ制御手段(ここではサブ制御基板31)は、入力エラーセット処理(図25参照)に基づいたメインコマンドを受信した場合に、所定の報知態様A(液晶、第1のランプ、及び、アンプ(スピーカ)を用いた報知態様)でエラーを報知し、エラー表示処理(図24参照)に基づいたメインコマンドを受信した場合に、他の報知態様B(液晶、第1のランプ、第2のランプ、及び、アンプ(スピーカ)を用いた報知態様)で報知しても良い。このとき、第2のランプはAT遊技(報知遊技)中に操作順序をナビ(ナビゲーション)することが可能なランプであって、エラーが発生した場合にも当該遊技では遊技者に不利益が出ないように第2のランプを制御する、といったことが可能である。
<遊技停止に係る制御態様>
また、遊技停止に係る制御態様として、例えば、タイマ割込み処理において、エラー管理(図20参照)等によりセレクタ通路センサ46や投入センサ45の監視を行い(図38参照)、エラーが検出された場合に、エラー表示の処理(図24)に進んでから、図24中のS240やS248によるループ処理を行って遊技を停止するのではなく、エラーチェック(図38)内で直ぐに遊技を停止する(例えばブロッカOFFの処理を行う)ことが考えられる。さらに、遊技停止のタイミングに同期して、サブ制御基板31の制御による、演出部18やスピーカ50等を用いたエラー報知を実行することが考えられる。
<エラー検知に係る他の制御態様>
また、ブロッカ47がON状態(通過可能状態)にあり、タイマ割込み処理(図18参照)からのエラー管理処理(図20)で、エラーチェック(図38)により、投入センサ45に基づくエラーが検知された場合には、エラー表示の処理(図24)へ進むのを待たずに、例えばエラーチェック(図38)内で即座に遊技を停止する処理(例えばブロッカOFFの処理)に移行することが考えられる。
さらに、遊技進行メイン処理(図14参照)における各種の処理により投入センサ45等に基づくエラーが検知された場合には、タイマ割込み処理による、セレクタ通路センサ46の監視や、投入センサ45の監視のための処理は実行しないことが可能である。さらに、上述のように、タイマ割込み処理による、セレクタ通路センサ46の監視や、投入センサ45の監視のための処理は実行しない一方で、遊技メダル払出装置63(図2参照)に備えられた払出センサ(図示略)の監視は、タイマ割込みの周期に基づいて行い、払出センサによって遊技メダルの滞留や逆流などの異常検出をした場合には、当該異常に伴うエラーコマンドをサブに送信するコマンドセットのための処理を実行することが考えられる。
また、前述の扉(前面ドア部11)が開いているとき(ドアスイッチが開放状態にあるとき)には、扉開放に係るエラー報知が、LEDやスピーカ50を用いて行われる。しかし、主制御基板61では、この扉開放に係るエラー発生は認識しているものの、遊技を停止するのに該当するエラーとしては認識せず、このエラー発生に係るコマンドをサブ制御基板31に送信する。そして、扉開放のエラー報知は、サブ制御基板31が実行する。このため、前面ドア部11を開放しても、リール制御を伴う遊技を行うことは可能である。さらに、扉開放のエラー報知が行われている状況で、前面ドア部11を閉じると、サブ制御基板31が、扉開放のエラー解除条件が満たされたと判断し、LEDやスピーカ50による扉開放のエラー報知を終了させる。なお、サブ制御基板31が、前面ドア部11を閉じてから所定時間(例えば数秒程度)の経過を待って、扉開放のエラー報知を終了させるようにしてもよい。
<スロットマシンにおける演出状態>
次に、スロットマシン10で行われる演出状態について、概略的に説明する。スロットマシン10における演出状態は、演出部18や回胴表示パネル28等の画像表示手段に表示される動画や静止画、スピーカ50からの音出力、各種LED等からの光などを単独、或いは、組み合わせにより用いて創り出される状態である。そして、このような演出状態は、基本となる通常状態時の演出状態(通常演出状態)と、通常とは異なる特別状態時の演出状態(特別演出状態)とに分けることが可能である。
これらのうち、通常演出状態は、例えば、いずれの役にも当せんしておらず、また、当せんした期待を煽るような内容の演出(示唆演出)も行われない演出状態とすることが可能である。そして、この通常演出状態は、1回の遊技のスタート前の状況から、賭け設定(ベット)、スタート、回胴回転(図柄変動)、図柄組合せの停止表示、次ゲームの賭け設定(ベット)、といった一連の遊技状態の間に継続され得るものである。そして、演出部18や回胴表示パネル28等の画像表示手段に表示される動画(特別状態表示)などを例示することができる。
これに対し特別演出状態は、通常状態とは異なる特別状態となった場合や、特別状態となることへの期待を煽り得るよう実行される演出であるということができる。そして、特別状態としては、前述したBBやRBなどのボーナス(メインボーナス)、RT(リプレイタイム)、AT(アシストタイム)、及び、リプレイやベルが通常よりも高確率で成立するART(アシストリプレイタイム)の状態などを例示できる。
これらの特別状態のうち、BBやRBなどのボーナスやRTは、主制御基板61で管理されている。これ以外の特別状態であるATやARTについては、サブ制御基板31で管理されるもの(サブボーナス)であってもよく、或いは、主制御基板61で管理されるものであってもよい。また、ATやARTなどの遊技状態においては、回胴表示パネル28(或いは演出部18)において、例えば「3」、「1」、「2」や、「2」、「1」、「3」、或いは「1」、「3」、「2」などといったように、停止ボタン(24L〜24R)の操作順序をナビ(ナビゲーション)する所謂押し順ナビの表示を行うことが可能である。
また、特別状態として、遊技者にとって有利な遊技状態を行うことが可能となる有利区間(有利遊技状態)なども例示できる。この有利区間としては、主制御基板61の管理によりATやART等の遊技を行うことが可能となる遊技状態を例示できる。この有利区間においては、AT等の遊技を行っても行わなくてもよく、例えば、所定の抽せんに当せんした場合や、更に所定の図柄組合せを表示するための制御が行われた場合に、AT等の遊技のための制御が行われるようにすることができる。また、有利区間は、所定の期間(1500ゲームの期間など)で終了するようにすることが可能である。また、この有利区間の期間は、複数種類あってもよい。
さらに、特別状態として、所謂上乗せ特化ゾーンの遊技状態を例示することもできる。この上乗せ特化ゾーンは、先に決まったATやART等のゲームについてゲーム数の上乗せが行われ易くなる(上乗せの確率が高まる)遊技状態の期間となっている。そして、この上乗せ特化ゾーンの期間は、1種類であっても、複数種類であってもよい。
このような特別状態に係る特別状態表示としては、一連の表示を、時系列に並ぶ複数の区分に分けて考えることができる。そして、特別状態表示の表示区分としては、特別状態の開始の表示(特別状態開始表示)、特別状態中の表示(特別状態中表示)、特別状態に係る終了の表示(特別状態終了表示)を例示することができる。これらの表示としては、いずれも、複数の表示データを時系列に使用して一連の表示内容を構成するものを例示することができる。さらに、これらのうちの特別状態開始表示としては、映像表示や演出音出力を、例えば数秒〜数十秒程度の導入演出として行うものを例示できる。映像表示は、動画表示、静止画表示、或いはこれらの組合せを含むものとすることができる。例えば、所定の動画の表示の後に所定の静止画や他の所定の動画の表示を行って、後述する特別状態中表示へ移行する、といった表示態様を特別状態開始表示として採用することも可能である。
また、特別状態開始表示時の演出としては、これ以外にも、例えば、主制御基板61の管理により回胴51L〜51Rを用いて前述のように種々の態様で行い得るフリーズ(開始フリーズ)演出と、サブ制御基板31の管理(サブメインCPU86の管理)による映像表示や演出音の出力とを併せて実行するものを例示することができる。
ここで、主制御基板61の管理による演出であるフリーズ演出と、サブ制御基板31の管理による映像表示等の演出(フリーズ演出に関連する表示演出)との関係は、種々に決定することが可能である。例えば、フリーズ演出と映像表示等の演出とを同じタイミングで開始したり、映像表示等の演出をフリーズ演出よりも先に開始したり、或いは、映像表示等の演出をフリーズ演出よりも後に開始したりすることが可能である。
より具体的には、主制御基板61の管理によりフリーズ演出が開始される際に、サブ制御基板31が主制御基板61からのコマンドに基づき、フリーズ演出に係わる演出を開始することが可能である。また、フリーズ演出の開始前に、主制御基板61からサブ制御基板31へフリーズ演出に関するコマンドを送信してサブ制御基板31の管理による演出を開始し、その後にフリーズ演出を開始することが可能である。さらに、フリーズ演出の開始後に、主制御基板61からサブ制御基板31へフリーズ演出に関するコマンドを送信してサブ制御基板31の管理による演出を開始することも可能である。
さらに、上述の特別状態中表示としては、例えば、特別状態中において順次増加するゲーム数(経過ゲーム数)や遊技メダルの獲得枚数などの進行状況を、主制御基板61からのコマンドに基づくサブ制御基板31の管理により演出と共に表示するようなものを例示できる。この特別状態中表示については、例えば、「特別状態における通常表示」や、「特別状態における通常画面」であるということもできる。
また、前述の特別状態終了表示としては、サブ制御基板31の管理により、例えば、演出の登場人物(主人公キャラクタや味方キャラクタなど)が、バトル演出において敵キャラクタに勝利する様子や敗北する内容のものなどを、特別状態中の演出に続けて実行するものを例示できる。さらに、この特別状態終了表示としては、特別状態中に実行されたゲーム数や、獲得された遊技メダルの枚数、及び、継続セット数などの遊技結果のうちのいずれか一部、或いは全てを、主制御基板61からのコマンドに基づき表示する、所謂エンディング演出を例示できる。上述の「継続セット数」は、特別状態の積み重ねの程度を、複数のゲーム数(40ゲーム、70ゲーム、100ゲームなど)を1セットとするセット数で表すものである。
エンディング演出における、ゲーム数、獲得枚数、継続セット数などの、特別状態中での遊技結果の表示は、例えば、ゲーム数、獲得枚数、継続セット数を順に1つずつ追加表示したり、1つずつ入れ替え表示したりすることが可能である。さらに、エンディング演出を、ゲーム数、獲得枚数、継続セット数などの複数種類の遊技結果を全て表示(一括結果表示)する態様で行うことも可能である。
さらに、エンディング演出の際に、主制御基板61の管理による前述のようなフリーズ演出を、終了フリーズ演出として併せて実行することも可能である。また、主人公キャラクタや味方キャラクタなどが、敵キャラクタに敗北するストーリーの演出を実行してから、上述のようなエンディング演出を実行する演出態様も例示できる。
さらに、例えばARTからボーナスに移行する場合のように特別状態が連続する場合には、主制御基板61からのコマンドに基づくサブ制御基板31の管理により、先の特別状態に係る特別状態終了表示に続けて、後の特別状態に係る特別状態開始表示が実行される、といったこともある。
また、各種の演出の態様は、内部抽せんの結果や、演出の進行状況などに応じて決定される。さらに、演出部18等の表示装置において行われる演出の態様としては、演出ステージごとに異なる背景画像や登場人物による演出、競争や戦闘などの場面と遊技の結果とを関連付けて行われる前述のバトル演出、与えられた任務や、使命、課題などの場面と遊技の結果とを関連付けて行われるミッション演出等のように、種々の演出を行うことが可能である。
そして、演出の選択にあたっては、例えば、サブ制御基板31において、主制御基板61から送信されるコマンド(メインコマンド)を受信する。そして、サブ制御基板31が、メインコマンドに基づき、複数の選択対象からいずれかの演出態様を選択し、画像制御基板32へ、画像表示(音声(サウンド)出力も含む)のためコマンド(サブメインコマンド)を送信し、画像制御基板32の制御の下で、各種の演出が実行される。
また、サブ制御基板31における演出態様の決定が、乱数抽せんにより行われる場合、各種の演出の選択割合は、所定の乱数範囲(乱数個数)予め決められた置数によって決まる。例えば、0〜999の乱数範囲(乱数個数が1000個)のうち、所定の演出Aに対応した置数が0〜799であり、他の所定の演出Bに対応した置数が800〜949であり、更に他の所定の演出Cに対応した置数が950〜999である場合、演出Aの選択割合は80%、演出Bの選択割合は15%、演出Bの選択割合は5%となる。
この場合、演出Aが演出B及びCよりも実行され易くなり(出現しやすくなり)、演出Bが演出Cよりも実行され易くなる。また、演出Cが演出A及びBよりも実行され難くなり(出現し難くなり)、演出Bが演出Aよりも実行され難くなる。
さらに、所定の役に当せんしている場合に、例えば、前述の演出A〜Cについて、演出Aは、或る役に当せんしている場合に80%の割合で選択され(当選していない場合に20%の割合で選択され)、演出Bは、当該役に当せんしている場合に15%の割合で選択され(当選していない場合に85%の割合で選択され)、演出Cは、当該役に当せんしている場合に5%の割合で選択され(当選していない場合に95%の割合で選択され)るものとする。
この場合、当該役に当せんしている期待度は、演出Aが80%、演出Bが15%、演出Cが5%であるといえる。そして、当該役の当せんに係る期待度は、演出Aが最も高く、演出Bが演出Aの次に期待度が高く、演出Cの期待度が最も低いということができる。
<遊技機の更なる適正化のための各種の対策>
次に、上述のようなスロットマシン10を、より最適化するための各種の対策について説明する。より具体的には、スロットマシン10を、一層取り扱い易くするための対策や、制御を適正化するための対策、及び、演出を多様化するための対策などについて順に説明する。
さらに、これらの対策のうち、スロットマシン10の取り扱いを容易にするための対策として、主には、キーシリンダ交換時におけるトラブルへの対策と、スタートレバー25の操作性向上策について後述する。
また、前述した制御を適正化するための対策としては、エラー発生時における各種の操作(ベット、スタート、回胴停止など)に対する処理について後述する。さらに、前述した演出を多様化するための対策としては、文字表示を伴う演出(文字表示演出)について2種類の分類を形成し、これらの分類を前提とした文字表示演出の多様化、更には文字表示演出の最適化について説明する。
<スロットマシンの取り扱いを容易にするための対策>
<<キーシリンダ交換時におけるトラブルへの対策>>
先ず、キーシリンダ交換時におけるトラブルへの対策について説明する。一般に、スロットマシン10等の遊技機が遊技機製造業者(遊技機メーカ)の工場から出荷される場合、前述した錠前部23には、汎用の鍵による操作が可能なキーシリンダ(ドア部用キーシリンダ)が装着されている。そして、ぱちんこホール等の遊技場で遊技機の入れ替えを行う場合や、遊技機を新たに設置する場合には、キーシリンダ(ドア部用キーシリンダ)を、汎用の鍵(共通キー)による操作が可能なもの(安全性が相対的に低いもの)から、当該遊技場について専用の鍵(専用キー)でしか操作できないもの(安全性が高いもの)に交換することが行われている。
図51には、本実施例のスロットマシン10の施錠装置600を示している。この施錠装置600としては、前述した特許文献2(特開2011−254851号公報)に開示された施錠装置と同様なものを適用できる。
本実施例の施錠装置600は、板金製で帯状の基枠体601を有している。基枠体601は、折曲加工により形成された取付板602や支持板603を有している。基枠体601には、シリンダ錠(ドア部用キーシリンダ)607が取り付けられている。シリンダ錠607は、円筒の基部にフランジ607bを有しており、取付板602に略垂直に差込まれている。そして、シリンダ錠607は、取付板602に、フランジ607bを当てた状態でビス止めされている。ここで、本実施例では、シリンダ錠607として、軸方向に比較的長尺なものを示しているが、これよりも短尺なものを使用してもよい。
シリンダ錠607には、カム部材608が取り付けられている。さらに、カム部材608には、第1係合凸部608aや第2係合凸部608bが設けられている。これらのうち第1係合凸部608aは、回動係止部材609の係合部(符号省略)に係合可能な部分となっている。そして、図中の奥側からキー操作が行われた場合には、カム部材608が回転し、第1係合凸部608aが回動係止部材609を(上方向に)変位させる。
また、支持板603の外側には中間支持板630が設けられている。さらに、支持板603には、連結杆604が摺動可能に組み合わされている。また、支持板603には、上側のラッチ部材605と、下側のラッチ部材606が回動変位できるように装着されている。図51中の符号605aは上側のラッチ部材5の枢軸を示しており、符号606aは、下側のラッチ部材606の枢軸を示している。また、図中の符号605c、606cは、各ラッチ部材605、606に形成された切欠状のロック凹部を示している。
このような施錠装置600は、前面ドア部11の内側の自由端側(開放端側)に、取付板602を介して縦に固定される。筐体部12内の対向位置には、2つの受け具621(図4)が上下に取り付けられている。そして、前面ドア部11を閉じた際には、上下のラッチ部材605、606が受け具621と係合し、開錠操作を行わなければ前面ドア部11を開放できない状態となる。
そして、前述したようなシリンダ錠607の交換にあたっては、フランジ607bを止めている上下のビス(符号省略)が取り外され、シリンダ錠607が基枠体601から取り外される。また、ここでは、説明を省略するが、施錠装置には多種のものがあり、図51で例示したタイプのもの以外の施錠装置を備えた遊技機においても同様に、1台ごとに、キーシリンダ(ドア部用キーシリンダ)の交換が行われる。
ところで、シリンダ錠607の交換作業の際には、シリンダ錠607を取り外した状況において、前面ドア部11がヒンジ装置(符号省略)を介して揺動し、自由端側が筐体部12に近づいて、筐体部12と整合してしまうことがある。そして、上下のラッチ部材605、606が筐体部12の受け具621に係止し、前面ドア部11が閉鎖してしまうことがある。
このような前面ドア部11の予期しない閉鎖は、例えば、交換作業者の不注意や、交換作業者以外の者の接触、或いは、遊技機が置かれた環境(載置面の傾斜角度など)等の諸々の要因や、これらの要因の組合せによって生じ得るものである。
そして、このように前面ドア部11が予期せず閉鎖した場合、シリンダ錠607が既に取り外されていることから、シリンダ錠607に鍵を差し込んで開放操作することができない。さらに、カム部材608の第1係合凸部608aや第2係合凸部608bを介して回動係止部材609や連結杆604を変位させることができない。
このため、本実施例のスロットマシン10においては、作業者が、筐体部12の背後から内部へ手指や腕を差込み、上述の回動係止部材609等の凸部(又は凹部)を有する可動部分を手指で触れて直接動かし、前面ドア部11を開放できるようにしている。
具体的には、図52(a)、(b)に概略的に示すように、スロットマシン10の背面には、矩形板状の背面カバー部611が取り付けられている。背面カバー部611は、所定の形状を有する板状体により構成されており、筐体部12の背面を覆い隠すよう、筐体部12に着脱可能に設けられている。この背面カバー部611の材質としては、例えば、合成樹脂やベニヤ板(或いは板金でもよい)などを採用することが可能である。
背面カバー部611には、複数の開口部が設けられている。例えば、背面カバー部611の板面の中央よりも幾分下の部位には、矩形状の第1開口部612が1つ設けられている。この第1開口部612は、背面カバー部611を貫通し、筐体部12の外部と内部とを空間的に繋げている。ここで、図52(b)の一点鎖線K1は、筐体部12における高さ方向の中央の位置を示している。
上述の第1開口部612に対し、作業者が手指や腕を差込み、図52(b)に一点鎖線の円K2で示すように、施錠装置600におけるシリンダ錠(キーシリンダ)607が設置される辺りの部位(以下では「開錠部(K2)」と称する)に、手指で直接触れることができるようになっている。この開錠部(K2)は、筐体部12の高さ方向の中央部(一点鎖線K1で示す)よりも幾分低く位置している。
そして、作業者が第1開口部612に手指や腕を差込み、基準面(例えば遊技場の床面)に対して略水平に手や腕を移動させて、開錠部(K2)に位置する回動係止部材609等の可動部分に、手指で直接触れることができるようになっている。ここで、図52(b)の例では開錠部(K2)の全体を、筐体部12の高さ方向の中央部(一点鎖線K1で示す)よりも低く配置しているが、開錠部(K2)を上記中央部(K1)よりも低くし、開錠部(K2)の上部が上記中央部(K1)よりも高くなるようにしてもよい。
また、背面カバー部611には、第1開口部612に加え、他の開口部として、相対的に大型な長孔状の第2開口部613、相対的に小型な長孔状の第3開口部614、相対的に大型な真円形状の第4開口部615、相対的に小型な真円形状の第5開口部616、正方形状の第6開口部617が、複数個ずつ設けられている。ここで、第2開口部613〜第6開口部617の形状、配置、個数等としては、ここで例示した以外に、種々の態様を採用することが可能である。
これらの複数種類の開口部のうち、最も大きく開口した第1開口部612は、前述のように矩形状に開口しているが、第1開口部612の大きさは、対角長さL1が所定の大きさとなるように決められている。そして、本実施例では、第1開口部612の大きさ(対角長さL1)は、所定の値(ここでは83mm)となっている。そして、この対角長さLは、人の手の平均的な幅(平均的な手幅)や、前面ドア部11の開放に係る作業性などの要素を考慮して決定されている。
具体的には、人の手幅は個人毎に異なっていて一律ではなく、国籍や性別、成人か否かなどによっても異なるが、実際に日本人の手幅を測定した統計データが公表されている。このような統計データとしては、「河内まき子、2012:AIST日本人の手の寸法データ」における「手幅」のデータを挙げることができる。そして、この統計データは、以下のURLのWebページにおいて確認することができる。
https://www.airc.aist.go.jp/dhrt/hand/index.html
上記のWebページにおいて、「目次」の「(2)寸法項目一覧」にリンクされたWebページを更に開き、「2.幅 Breadth measurements」の項に記載された「B03」の「手幅」をクリックすると、手幅のデータを公表したページに進むことができる。当該ページには、日本人の手幅のデータとして、図53に転載するような寸法データが示されている。この寸法データによれば、中央値を意味するパーセンタイル50の項に、M(男性)が83.1、F(女性)が74.1と掲載されている。ここで、数値の単位は、人の常識的な手の大きさを考慮すれば、ミリメートル(mm)であると理解できる。
そして、本実施例では、女性よりも相対的に大きい男性の平均的な手幅(平均手幅)である83.1mmを考慮し、対角長さL1を、平均手幅(83.1mm)よりも僅かに大きい84mmとしている。このように対角長さLを定めることで、第1開口部612の大きさは、日本人の平均的な男性が、手の平を斜めに傾けて、ようやく手指や腕の部分を差し込むことができる程度のものとなる。
このように、第1開口部612の対角長さL1を、平均手幅よりも幾分大きい値とすることで、第1開口部612に手指を差し込むことが可能であるとともに、第1開口部612に手指を差し込んで開錠操作を行うことが可能となる。
ここで、第1開口部612の対角長さL1は、前述のように男性(M)のパーセンタイル50を想定した大きさとすることに限らず、例えば上記統計データにおける男性(M)のパーセンタイル25の手幅(81.2mm)を想定し、これよりも幾分大きい対角長さ(例えば82mmなど)とすることも可能である。また、例えば男性(M)のパーセンタイル98の手幅(91.4mm)を想定し、例えば92mmなどとすることも可能である。さらに、第1開口部612の対角長さL1を、75〜95mm、好ましくは79〜91mm、更に好ましくは82mm〜88mmの範囲内の値とすることなども可能である。
さらに、第1開口部612の対角長さL1に関しては、大きすぎると、必要以上に、不正を行う者が手指や腕を差し込み易くなることも考えられる。このため、第1開口部612の対角長さL1が必要以上に大きくならないよう、例えば83.1±5mmの範囲内とすることなども可能である。このようにすることで、第1開口部612の存在により不正を行われ易くなるのを可能な限り防ぐことができる。
また、第1開口部612の位置は、前述したように、背面カバー部611の中央よりも幾分下の部位となっている。そして、第1開口部612の位置は、図52(b)に概略的に示すように、遊技メダル払出装置(ホッパ)63の上向きに開口したメダル受入口部63aよりも幾分上の部位となっている。より具体的には、第1開口部612の上縁部612a、及び、下縁部612bの両方が、遊技メダル払出装置(ホッパ)63のメダル受入口部63aよりも上に位置している。
このため、例えばメダル自動補給機のノズルを第1開口部612に差込んで遊技メダルを遊技メダル払出装置(ホッパ)63に自動補給するような場合には、第1開口部612を、前述したような施錠に係るトラブル対策のための部位と、自動メダル補給のための部位として兼用することが可能である。したがって、第1開口部612を、施錠に係るトラブル対策のような万が一の場合に備えた手段として使用するだけでなく、自動メダル補給のような比較的高頻度で使用され得る手段としても活用することが可能である。
さらに、本実施例では、第1開口部612は、電源ユニット64よりも上方に位置している。つまり、電源ユニット64は、筐体部12の内底部12aの上に載せられて筐体部12に固定されているが、第1開口部612の下縁部612bは、矩形箱状に形成された電源ユニット64の上面64aよりも上方に位置している。
このため、第1開口部612の下縁部612bに水平な位置よりも下に、電源ユニット64が配置され、第1開口部612を床面に対して水平な方向に覗き込んだだけでは、電源ユニット64の位置の確認が困難である。したがって、不正を行う者が電源ユニット64へ容易にアクセスできてしまうのを防止することが可能となる。
また、前述したように、作業者が、第1開口部612から開錠部(K2)に手指を到達させて開錠作業を行う場合、第1開口部612の大部分が作業者の腕により塞がれる。このため、作業中に、第1開口部612を介して筐体部12の中を覗くことは、作業者自身であっても、傍らに居る他者であったとしても容易ではない。そして、作業者が筐体部12の内部を目視せずに開錠作業を行うことは、不可能ではないが、困難である。そこで、本実施例では、開錠部(K2)と同程度の高さの部位に、括弧付きの符号615aで示すように、複数の第4開口部615のうちの1つが配置されている。このため、作業者は、当該第4開口部(615a)を介して、開錠部(K2)を目視しながら、開錠作業を行うことが可能である。
また、上述の目視にあたり作業者が、自ら所有するスマートフォンや携帯電話等の携帯機器に備えられたライトなどの照明機器で、第4開口部(615a)から開錠部(K2)を照らしながら目視して、開放作業を行うことも可能である。
上述したような第1開口部612などを有するスロットマシン10に関し、キーシリンダ交換時におけるトラブルへの対策の代表的な特徴を整理すると、先ず、開錠に係る発明1として、スロットマシン10は、前述のシリンダ錠607や、カム部材608が取り外された状況で、前面ドア部11が施錠可能となっている。この施錠可能となる構成としては、前述した特許文献2(特開2011−254851号公報)と同様な構造を採用可能である。
そして、背面カバー部611に設けられた第1開口部612の対角長さL1は、男性の平均手幅分以上の大きさ(例えば83.1mm以上)を有している。このため、作業者が第1開口部612から手指や腕を差込み、シリンダ錠607が在った部位の辺りを探って、施錠装置の可動部分(本実施例では回動係止部材609)を、例えば指先で動かすことにより、前面ドア部11の開放が可能となっている。
また、開錠に係る発明2として、第1開口部612は、背面カバー部611の中央に近い部位に配置されている。また、施錠装置600において、第1開口部612からの作業の対象となる開錠部(K2)は、第1開口部612の上縁部612aよりも下に位置するよう配置されている。このため、作業者は、第1開口部612からの作業を、略水平方向、もしくは水平方向よりも幾分下方向に対して行うことができる。そして、作業者が、例えば自分の肩に比べて高い位置で作業を行うよりも、第1開口部612を介した手作業での前面ドア部11の開放が容易である。
さらに、背面カバー部611には、第1開口部612以外の開口部(ここでは第2開口部613〜第6開口部617)が設けられており、これらの第2開口部613〜第6開口部617の一部(ここでは第4開口部(615a))は、開錠部(K2)を視認可能な位置に配置されている。このため、目視しながらの手指による開錠作業が可能である。
また、開錠に係る発明3として、上述の目視にあたり作業者が、自ら所有するスマートフォンや携帯電話等の携帯機器に備えられたライトなどの照明機器を使用し、当該照明機器の光を第4開口部(615a)から開錠部(K2)の辺りに向けて照射し、開錠部(K2)を目視しながら開放作業を行うことが可能である。このような形態での開放作業により、筐体部12内に専用の照明機器を備え付けることなく、開放作業を行い易くすることが可能である。
また、開錠に係る発明4として、遊技メダル払出装置(ホッパ)63に関して、筐体部12の内底部12aから遊技メダル払出装置(ホッパ)63の上部(メダル受入れ部)までの高さH1は、筐体部12の内底部12aから第1開口部612の下縁部612bまでの高さH2よりも低くなっている。そして、遊技メダル払出装置(ホッパ)63(の前面部)と、開錠部(K2)は互いに干渉しないようになっている。
これらのことから、第1開口部612から開錠部(K2)までの間で遊技メダル払出装置(ホッパ)63が障害になるということがなく、第1開口部612から開錠部(K2)へのアクセスが容易である。
さらに、本実施例では、筐体部12内に、遊技メダル払出装置(ホッパ)63の貯留容量を超えた遊技メダルを収納する遊技メダル補助収納庫71が設けられているが、この遊技メダル補助収納庫71に関しても、高さH3は、第1開口部612の下縁部612bまでの高さH2よりも低くなっている。そして、遊技メダル補助収納庫71(の前面部)と、開錠部(K2)は干渉しないようになっている。これらのことから、第1開口部612から開錠部(K2)までの間で遊技メダル補助収納庫71が障害になるということもない。
また、開錠に係る発明5として、シリンダ錠(キーシリンダ)607は、前述したビスなどのような係止部品により、筐体部12の背後側からの作業により着脱可能に固定されている。このため、前面ドア部11が閉鎖した状況においては、筐体部12の前面側から背後側へ手指や腕を回り込ませることができず、キーシリンダの取り付け作業を行うことが不可能となっている。
そして、キーシリンダの取り付けができないことから、前面ドア部11が閉鎖した状況においては、当然に、キーシリンダにキーを差し込んで開錠することはできない。しかし、前述のように第1開口部612を利用した背後側からの作業を行えるようにすることで、前面ドア部11が閉鎖した状況でも、手動で開錠することが可能となる。
また、開錠に係る発明6として、前述したように、電源ユニット64は筐体部12の上下方向中心から下方に配置されており、第1開口部612から操作可能である。このため、作業者による電源ユニット64へのアクセスが容易となる、このため、電源ユニット64に着脱できるよう取り付けられた電源コード(図示略)などの機器を引き抜くのが容易となる。また、第1開口部612を介して手指や腕を差込み、電源ユニット64に設けられた操作可能な部位である電源スイッチ72などを、筐体部12の背後側から前面側へ腕を回して操作できるようになる。
さらに、開錠に係るその他の発明として、第1開口部612は、背面カバー部611に開けられた最も大面積な穴となっているが、縦横の長さよりも大きな対角長さL1と、主基板ケース65(図4)や、サブ制御基板31(図3)の専用基板ケースの外形寸法との大小関係は、第1開口部612の対角長さL1のほうが、各種の基板ケースの外形寸法(例えば幅、高さ、奥行のうち少なくとも1つの部位の寸法)よりも小さくなっている。これにより、第1開口部612を介して、各種の基板ケースが筐体部12の外へ取り出されてしまうのを防止できる。
また、第1開口部612の対角長さL1は、遊技メダル払出装置(ホッパ)63の外形寸法(例えば幅、高さ、奥行のうち少なくとも1つの部位の寸法)よりも小さくなっている。このため、第1開口部612を介して、遊技メダル払出装置(ホッパ)63が筐体部12の外へ取り出されてしまうのも防止できる。
また、本実施例では、第1開口部612のほかに、多くの開口部(ここでは第2開口部613〜第6開口部617)を設けているが、第2開口部613〜第6開口部617の寸法は、前述の平均手幅よりも十分に小さく(例えば2/3〜1/2以下に)決められている。このため、平均的な作業者の手を差し込むことができるのは、第1開口部612のみとすることができる。このため、開錠部(K2)へのアクセスを可能としながら、セキュリティ性を最大限に確保することが可能である。
さらに、第1開口部612のほかに、多くの開口部(ここでは第2開口部613〜第6開口部617)を設けていることから、筐体部12の背後側から効率よく内部の熱の放出(放熱)を行うことができる。また、必要に応じて、各開口部(ここでは第2開口部613〜第6開口部617)に、電気機器のハーネスを通すこともできる。
さらに、背面カバー部611に、セキュリティ性を最大限に確保しつつも穴を多く設けていることから、筐体部12の軽量化を図ることができる。この第1開口部612〜第6開口部617による軽量化の効果は、背面カバー部611に、金属等のような相対的に比重の大きい素材を用いた場合により顕著となる。
なお、このようなスロットマシン10については、例えば、背面側に複数(或いは多数)の開口部を有するが、限られた開口部(ここでは1つの第1開口部612)のみからしか、筐体部12の中に手指を差し込めないようにしたものであるということができる。
また、第1開口部612の形状についても、例えば最大の開口幅が、平均手幅を基準にして許容範囲内のサイズに収まっていれば矩形に限定されるものではなく、種々に変形することが可能である。
<スタートレバーの操作性向上策>
次に、スタートレバー25の操作性を向上するための方策について説明する。スタートレバー25は、遊技者が回胴の回転を開始させる際や、遊技場店員が設定値の確定を行う際などに使用できるようになっている。スタートレバー25は、前述したスタートレバーセンサ41に機械的且つ電気的(及び光学的)に繋がっており、スタートレバーセンサ41により、スタートレバー25の操作があったことの検出や、操作方向の検知が行われる。
スタートレバー25やスタートレバーセンサ41に係る機械的構成や電気的構成としては、例えば、図54(a)に概略的に示すようなものを採用することができる。図54(a)には、1つのスタートレバー25と、スタートレバー25の動作方向を検出可能なスタートレバーセンサ41、スタートレバー25を弾性的に支持するばね部材701(図54(b)に一部のみ図示)、及び、スタートレバー25の基端部やスタートレバーセンサ41等を収納したスタートレバーケーシング702が示されている。
これらのうちスタートレバーセンサ41は、上方向センサ41a、下方向センサ41b、左方向センサ41c、右方向センサ41d、及び、前後方向センサ41eを有している。各センサ41a〜41eとしては、発光素子と受光素子を備えた光学式のものが採用されている。なお、これに限らず、電磁誘導式のもの、或いは機械式のものなど、一般的な種々のタイプのものを採用することが可能である。
また、図54(a)では、各方向のセンサ41a〜41eを個々に分離して示しているが、各方向のセンサ41a〜41eを、例えば1つのケーシング(センサケーシング、図示略)内に収めて構成することも可能である。さらに、センサの個数は、種々に変更が可能である。例えば、前後方向センサ41eを、前方向センサと後方向センサに分けて備えることも可能である。
また、ばね部材701に関しては、図54(b)中に概略的に示すように、上方向ばね部材701a、下方向ばね部材701b、左方向ばね部材701c、右方向ばね部材701d、及び、前後方向ばね部材(図示略)を有している。各ばね部材701a〜701d等は、一端がスタートレバーケーシング702の側に固定され、多端がスタートレバー25の側に固定されている。そして、各ばね部材701a〜701eは、相互の付勢力のバランスにより、スタートレバー25をスタートレバーケーシング702内の中立位置に、弾性的に支持している。
ここで、上方向ばね部材701a、下方向ばね部材701b、左方向ばね部材701c、右方向ばね部材701d、及び、前後方向ばね部材(図示略)としては、一般的な種々のタイプのばね部材(弾性手段)を採用することが可能である。また、図54(b)では、後述する取手部704に各ばね部材701a〜701d等が接続されているように示しているが、これは模式的に表したものであり、取手部704の背後の軸部(符号省略)に各ばね部材701a〜701d等を接続することが可能である。
また、ここでは説明を簡略化するために、ばね部材701を各方向毎に分離したばね部材701a〜701d等として示しているが、スタートレバー25に関して、スタートレバーケーシング702内での支持や、各方向への変位が可能であれば、ばね部材の数を5個未満としてもよい。
スタートレバー25は、スタートレバーケーシング702に基端側を進入させており、遊技者等に操作される先端側(後述する取手部704が配置された側)を、スタートレバーケーシング702の外(遊技者に向かって前方)に突出させている。
そして、スタートレバー25、スタートレバーセンサ41(41a〜41e)、ばね部材701(701a〜701d等)、スタートレバーケーシング702等の機器により、前述のスタートスイッチ(ここでは符号「703」を付す)が構成されている。なお、このスタートスイッチ703は、全体として、例えば「スタートレバー装置」などと称することが可能なものである。
スタートレバー25は、図54(a)に矢印Zで示す上方向及び下方向、矢印Xで示す左方向及び右方向、矢印Yで示す押し方向(後方向)及び引き方向(前方向)のいずれにも限界位置までは変位できるよう、スタートレバーケーシング702に組み付けられている。また、スタートレバー25は、XYZ方向に対して斜めとなる各方向のいずれにも、限界位置までは変位できるようになっている。そして、スタートレバー25(ここでは取手部704の側)は、上下、左右、前後、斜めのいずれの方向に操作されて変位した場合でも、後述するように、対応する方向のセンサ41a〜41eによって操作されたことが検出されるようになっている。
このようなスタートレバー25の動作は、図示は省略するが、例えば、スタートレバー25とスタートレバーケーシング702との間に適切な隙間を確保し、スタートレバー25を各方向の隙間の端点まで変位させてスタートレバーケーシング702の凸部(凹部でもよい)に係止させると、スタートレバー25が可動範囲の限界点に到達し、スタートレバー25が停止する、といった構造により実現することが可能である。
さらに、スタートレバー25の変位と、各センサ41a〜41eのON/OFFの関係としては、スタートレバー25が所定量以上変位したことの検出が可能であれば、種々の関係を採用することが可能である。例えば、スタートレバー25の被検出部位(奥に位置する基端側の部位)と、各センサ41a〜41eとの距離が縮小したこと(スタートレバー25の被検出部位が少なくともいずれか1つのセンサに近付いたこと)をもって操作の検出を行うことが可能である。或いは、スタートレバー25の被検出部位と、各センサ41a〜41eとの距離が拡大したこと(スタートレバー25の被検出部位が一部のセンサから遠ざかったこと)をもって操作の検出を行うことが可能である。
より具体的には、スタートレバー25(ここでは取手部704を基準にして説明する)が、遊技者から見て上方向に持ち上げるよう操作された際には、スタートレバー25(ここでは基端側の部位)の変位は、スタートレバー25の下側に配置された上方向センサ41aにより検出されるようにすることが可能である。さらに、このようにした場合は、スタートレバー25が、遊技者から見て下方向に下げるよう操作された際には、スタートレバー25の変位(基端側の部位)は、スタートレバー25の上側に配置された下方向センサ41bにより検出されるようにする。
また、スタートレバー25が、遊技者から見て左方向に操作された際には、スタートレバー25の変位は、スタートレバー25の右側に配置された左方向センサ41cにより検出されるようにする。さらに、スタートレバー25が、下方向に下げるよう操作された際には、スタートレバー25の変位は、スタートレバー25の上側に配置された下方向センサ41bにより検出されるようにする。
そして、スタートレバー25が、スロットマシン10の後方(遊技者が居る側と反対側)に向けて押し込まれた際や、スロットマシン10の前方(遊技者が居る側)に引っ張られた際には、スタートレバー25の変位は、スタートレバー25の奥側に配置された前後方向センサ(図示略)により検出されるようにする。
ここで、スタートレバー25の変位の支点を、先端側(取手部704の側)の部位と基端側の部位との間に在るものとしているが、これに限らず、例えば、スタートレバー25の基端側の部位(基端部)が変位の支点を構成するような支持構造を採用することも可能である。また、スタートレバー25が操作されていない状況(非操作の状況)で、全てのセンサ41a〜41eがONとなっているように、回路設計を行うことが可能である。そして、全てのセンサ41a〜41eがONとなっている状況で、スタートレバー25がいずれかの方向へ操作されると、対応する方向のセンサがOFFとなり、いずれかのセンサがOFFとなったことに基づいて、メインCPU81が、スタート操作があった旨の判定(図13におけるS35のYESや、図14におけるS59のYESなど)を行うようにすることが可能である。
また、操作された際のスタートレバー25は、各ばね部材701a〜701d等の相互の付勢力のバランスに応じて、細かく進退する動作(所謂オーバーシュート)を行う。そして、スタートレバー25の検出は、最初に検出点P1〜P4に到達した際に確定されるようにすることが可能である。また、これに限らず、検出点P1〜P4における検出が、所定時間以上継続した場合に(所定回数のタイマ割込みが計数された場合に)、スタートレバー25の検出が確定するようにすることも可能である。
図54(b)は、スタートレバー25をスロットマシン10の前方から見た場合における、スタートレバー25の可動範囲と検出点との関係を示している。図54(b)中に符号α1はスタートレバー25の可動範囲に係る輪郭線を示しており、符号α2はスタートレバー25の上下左右に係る検出点(P1〜P4)を結ぶ4つの円弧を繋げて得られる図形の輪郭線を示している。
上述の「可動範囲」は、スタートレバー25の変位可能な範囲を意味している。より具体的には、本実施例では、スタートレバー25の先端部には球状の取手部704が装着されている。そして、この取手部704の中心点を「P」で表した場合に、中心点Pが上下左右に変位できる範囲が、上下左右方向に係る可動範囲となる。
そして、スタートレバー25は、操作力が加わっていない中立な(ニュートラルな)状態を基準として、上方向、下方向、左方向、及び、右方向のいずれについても、同様に所定量R(ここでは直線変位量としての7mm、図示略)まで変位できるようになっている。このため、スタートレバー25の可動範囲は、中立な状態における中心点P0の位置を原点とした半径R(ここでは7mm)の円(真円)α1で囲われた範囲となる。
これに対し、前述の検出点(P1〜P4)は、上方向センサ41a、下方向センサ41b、左方向センサ41c、及び、右方向センサ41dにより検出される点を意味している。別な言い方をすれば、検出点(P1〜P4)は、スタートレバー25を操作した場合に、上下左右の各方向センサ41a〜41dが反応する位置を意味している。
本実施例では、前述の原点P0から各検出点P1〜P4までの距離は、それぞれ異なる値に定められている。そして、本実施例においては、図54(b)に示すように遊技者から見て下方向の検出点P1については、上述の原点P0から3.0mmの距離(直線距離)となっており、上方向の検出点P2については、原点P0から5.5mmの距離となっている。また、右方向の検出点P3については、原点P0から3.5mmの距離となっており、左方向の検出点P4については、原点P0から4.5mmの距離となっている。
さらに、各検出点の間であるP1−P2間、P2−P3間、P3−P4間、P4−P1間は、互いに大きさの異なる円弧で結ぶことができる。そして、前述の輪郭線α2は、これらの4つの円弧を繋げて得られる図形(異形な楕円形状である異形楕円形状)の輪郭線となっている。
これらの検出点(P1〜P4)の関係について説明すると、原点P0から下方向の検出点P1までの距離(ここでは3.0mm)は、上方向の検出点P2までの距離(ここでは5.5mm)よりも短くなっている。このため、スタートレバー25を、例えば、同じ力加減(或いは同じ変位速度)の条件で下方向と上方向へ操作した場合には、上方向のほうが検出のタイミングが遅くなる。
つまり、スタートレバー25を、例えば、同じ条件で下方向と上方向へ操作した場合には、上方向のほうが操作検出に係る反応が悪く、検出され難くなっている。このようにすることで、スタートレバー25を、操作方向の違いによって反応の違いが生じるものとすることが可能となる。
そして、スタートレバー25に対して、例えば上下方向に同じ条件(力加減や変位速度などの条件)で操作が行われた場合には、下方向の操作の検出を、上方向の操作の検出よりも迅速に行うことができる。このため、下方向への操作のほうが上方向への操作よりも、遊技者にとって容易なもの(負担の少ないもの)とすることが可能となる。また、上方向の操作を、下方向の操作よりも検出され難いものとすることができる。
発明者の知見では、通常、スタートレバー25の操作に関して、上から下へ向けて変位させる遊技者が最も多い。このため、下方向の操作の検出を、上方向の操作の検出よりも迅速に行えるようにすることで、より多くの遊技者に対し、スタートレバー25の応答性が良いスロットマシン10を提供することが可能となる。
また、下方向への操作のほうが上方向への操作よりも、遊技者にとって負担の少ないものとすることで、より多くの遊技者にスタートレバー25の操作に関して負担の少ないスロットマシン10を提供することが可能となる。そして、これらのことから、より操作性に優れたスロットマシン10を提供できるようになる。
また、操作方向の違いによってスタートレバー25に反応の違いが生じるようにすることで、更に以下のような発明の作用効果を奏することが可能となる。例えば、毎回の遊技において、回胴(51R、51C、51L)の回転を開始(スタート)させる際には、スタートレバー25を下方向に下げる遊技者が、誤って遊技メダルを床に落としたものとする。そして、遊技者が、落とした遊技メダルを拾い上げる際に、下方向から上方向へ頭部をスタートレバー25に干渉させたとする。
この際、下方向への通常のスタート操作と比べて、スタートレバー25の変位速度に所定程度以上に大きな違いがなければ、スタート操作に係る検出の反応を遅らせることができる。このため、遊技者の意図しない操作や行動などによって、遊技者が望まない状況で回胴が回転開始(スタート)してしまうことを、可能な限り防止することが可能となる。そして、スロットマシン10を、遊技者の意図に反した動作を可及的に防止可能なものとすることができる。
続いて、スタートレバー25の弾性的な支持の態様について説明する。スタートレバー25を弾性的に支持する前述のばね部材701は、スタートレバー25を各方向へ動かした際に、中立位置(原点P0)へ戻す弾性復元力を発生させるようになっている。そして、ばね部材701に係るばね定数等の機械的な特性は、弾性復元時の移動量を考慮して定められている。
例えば、スタートレバー25を、上方向の可動範囲における限界位置まで手指で持ち上げ、更にこの限界位置において下方向、上方向、左方向、右方向、及び斜め方向のいずれにも勢いを付加せずに手指を離した場合、スタートレバー25(取手部704の側)は、ばね部材701の付勢力のもとで、原点P0を通過して、原点P0よりも下方に変位する。
しかし、このときのスタートレバー25の下方向への変位は、上方向ばね部材701aや下方向ばね部材701b(及びその他のばね部材701c〜701d等)の相互の関係により、下方向センサ41bの検出点(P1)に到達しない位置(検出点手前位置)までとなっている。そして、スタートレバー25を上方向に移動させてから、いずれの方向にも勢いを付けずに手指を離して解放しても、スタートレバー25の戻り動作が制限され、スタートレバー25が下方向センサ41bにより検出されてしまうことがないようになっている。
このようにスタートレバー25の戻り動作を制限することにより、例えば、遊技者が、上方向へのリール回転開始操作を行ってから、スタートレバー25に触れている手を離しても、スタートレバーセンサ41(ここでは下方向センサ41b)がONとなることがない。
このため、例えば、スタートレバーセンサ41が、短時間に2回連続して(断続的に)ONした場合、1回目のONと2回目のONとの間に他のスイッチ操作(例えば停止ボタン24L、24C、24Rなど)の操作が無効な状況から有効な状況に切り替わるようなった際でも、適正な制御を実行することが可能となる。
例えば、スタートレバー25の最初のON時に、停止ボタン(24L、24C、24R)の操作が無効な状態に制御されている状況を考える。このような状況としては、スタートレバー25の最初のON時に、前述した最小遊技時間(最短遊技時間)が未だ経過していない状況や、少なくとも1部の回胴が定速状態に達していない状況(停止ボタンが有効となる前の状況)などを例示できる。その他の例示として、最初のON後において、遊技者の手指から解放されたスタートレバー25が、ばね部材701の弾性力により復帰動作し前述の中立な位置(中心点P0)を通過するまで、停止ボタン(24L、24C、24R)が有効にならないような制御が採用されている状況なども例示できる。また、その他の例示として、最初のON後において、遊技者の手指から解放されたスタートレバー25が、ばね部材701の弾性力により復帰動作し最初のONを検知しなくなるまで、停止ボタン(24L、24C、24R)が有効にならないような制御が採用されている状況なども例示できる。
これらのような各種の状況においては、スタートレバー25の最初のONが検出された後、最初の停止操作(1番目の停止操作である第1停止操作)があっても、当該第1停止操作は無効となる。しかし、その後、2番目の停止操作である第2停止操作が行われた場合には、停止ボタンが有効になっている場合があり得る。さらに、このような場合には、当該第2停止操作により、対応する回胴が停止することとなる。
そして、先に行われた第1停止操作の際には、停止ボタン(24L、24C、24R)が無効であり、対応する回胴を含めたすべての回胴が停止しないことから、第2停止操作による回胴停止は、遊技者の意図したものとならない。このため、遊技者が好みの順番やテンポで回胴を停止させることができず、心地よく遊技を楽むことができなくなる。また、前述した押し順ナビが実行されている状況では、指示された順番で停止させることができない。そして、これらのことから、停止操作に係る遊技の趣向性が損なわれてしまうことが考えられる。
しかし、前述のように、スタートレバー25の戻り動作を制限し、スタートレバー25が戻り動作によりONすることがないようにすることにより、第2停止操作によって最初の回胴停止が行われるようなことを防止できる。そして、停止操作に係る遊技の趣向性が損なわれるのを防止することが可能となる。
以上説明したようなスタートレバー25の検出構造や制御態様を採用することで、スタートレバー25に係る各種の操作性を向上することができる。なお、スタートレバー25の支持構造や検出手法としては、上述の実施例に限定されず、種々のものを採用することが可能である。
また、中立位置(P0)から右方向の検出点P3までの距離と、中立位置(P0)から左方向の検出点P4までの距離とを同じにしてもよい。また、中立位置(P0)から上方向の検出点P2までの距離が、左右のいずれの検出点P4、P3までの距離よりも大きくなるようにしてもよい。さらに、中立位置(P0)から左右の検出点P4、P3までの距離が、上下のいずれの検出点P2、P1までの距離よりも小さくなるようにすることも可能である。
<制御を適正化するための対策>
次に、スロットマシン10における制御を適正化するための対策の1つとして、リセット操作や設定操作と、主制御基板61によって管理される各種のボタンの操作とが、何らかの事情により同時期に行われた状況においてどのような処理を行うか、といった事項につき、発明者が検討した結果を説明する。このような検討は、各種の状況とボタン操作とが同時に発生した場合について、どのような態様での組合せであっても、スロットマシン10が予期しない動作を行うことを未然に防げるようにするものである。
<<リセット操作と各種のメイン系ボタン操作との連携処理>>
<<<前面ドア部閉鎖中におけるリセットスイッチON時の連携>>>
先ず、ここでは、エラー解除等の際に操作されるリセットスイッチのONと、その他の種々の操作との関係について説明する。ここで、リセットスイッチに該当するのは、本実施例では、設定/リセットボタン69の操作によりON/OFFされる前述の設定/リセットスイッチである。
図55(a)は、リセットスイッチ(設定/リセットスイッチ)のONと、他の操作との組合せに係る一覧表を示している。図55(a)においては、組合せのパターンがパターン1〜12に分けられ、各パターン1〜12における内訳が表されている。そして、内訳に含まれているのは、図中の左から順に示すように「MAXベット」、「1枚ベット」、「メダル手入れ」、「自動ベット」、「スタート」、「左停止」、「中停止」、「右停止」、及び、「清算」の各操作である。
上述の「MAXベット」は、図1に示す前述の3枚投入ボタン(MAXBET(マックスベット)ボタン)76の操作を表しており、「1枚ベット」は、前述の1枚投入ボタン(1BETボタン)75の操作を表している。また、「メダル手入れ」は、遊技メダルを遊技メダル投入口21へ遊技者が手指により投入する操作を表している。
さらに、「自動ベット」は、再遊技に当選した場合に、遊技者が、3枚投入ボタン76や1枚投入ボタン75の操作、或いは「メダル手入れ」を行わず、制御上自動的に賭け設定(ベット)が行われる操作(制御上の操作)を表している。また、「スタート」は、各種の賭け設定が適正に行われた状況でのスタートレバー25の操作を表している。
さらに、「左停止」、「中停止」、及び、「右停止」は、第1停止ボタン24L、第2停止ボタン24C、及び、第3停止ボタン24Rの操作を表している。また、「清算」は、清算ボタン74の操作を表している。
図55(a)に示しているリセットスイッチの操作態様は、前面ドア部11が閉鎖されている状況でONしている状況である。つまり、通常、リセットスイッチは、遊技店員が前面ドア部11を空けて操作するものであるので、ここで検討しているのは、通常ではない状況(イレギュラーな状況)であるということができる。
このように通常ではない状況としては、前面ドア部11が閉鎖したまま何らかの不正が行われリセットスイッチの操作が継続されている状況や、通常のリセットスイッチの操作が行われてはいるが、リセットボタンが機械的な故障により位置復帰せず戻らなくなった状況、前述のドアスイッチ60が故障し前面ドア部11が開放中であるにも関わらず閉鎖中の信号を出力している状況、などといった種々の状況を考えることができる。そして、本実施例では、これらの状況であっても前述したような遊技の制御(図14など)が行えるようになっている。
図55(a)に示すパターン1では、「MAXベット」(3枚投入ボタン76)と「1枚ベット」(1枚投入ボタン75)は無効となるよう制御されている。そして、前面ドア部11が閉じ、リセットスイッチがONとなっている状況で、「MAXベット」(3枚投入ボタン76)や「1枚ベット」(1枚投入ボタン75)が操作されても、それぞれのメダル枚数の賭け設定は行われないようになっている。
また、「メダル手入れ」は有効であり、前面ドア部11が閉じ、リセットスイッチがONとなっている状況で、遊技メダルが遊技メダル投入口21へ投入された場合には、この投入が有効なものとして制御が行われる。また、「自動ベット」も有効となっており、再遊技に当選した場合に自動の賭け設定が実行される。
さらに、「スタート」も有効であり、「手入れ」や「自動ベット」が行われた状況でスタートレバー25が操作されれば、回胴(51R、51C、51L)が所定の順番で(同時であっても良い)で回転を開始する。また、第1停止ボタン24L、第2停止ボタン24C、及び、第3停止ボタン24Rによる「左停止」、「中停止」、「右停止」は有効であり、操作された停止ボタンに対応する回胴(51R、51C、51L)が、停止制御を経て回転停止する。
さらに、「清算」は無効となっている。そして、前面ドア部11が閉じ、リセットスイッチがONとなっている状況で清算ボタン74が操作されても、貯留(クレジット)された遊技メダルの払出しは行われない。ここで、このようなパターン1については、ベット(「MAXベット」と「1枚ベット」)が無効のため遊技ができない状況であり、ベットできないことに合わせて「清算」も無効となっているものであるということが可能である。
続いて、図55(a)に示すパターン2では、「MAXベット」及び「1枚ベット」については、いずれも上述のパターン1と同様に無効である。また、「メダル手入れ」、「自動ベット」、「スタート」、「左停止」、「中停止」、「右停止」については、いずれも上述のパターン1と同様に有効である。さらに、「清算」については、パターン1と異なり、有効となっている。このため、前面ドア部11が閉じ、リセットスイッチがONとなっている状況で清算ボタン74が操作されると、貯留(クレジット)された遊技メダルの払出しが行われる。
続いて、図55(a)に示すパターン3では、「MAXベット」及び「1枚ベット」については、いずれも上述のパターン1やパターン2と異なり、有効である。また、「メダル手入れ」、「自動ベット」、「スタート」、「左停止」、「中停止」、「右停止」については、いずれも前述のパターン1と同様に有効であり、「清算」については、前述のパターン1と同様に、無効である。
ここで、「MAXベット」や「1枚ベット」が有効で、「スタート」も有効である組合せについては、例えば、ベットがされている状況でリセットボタンがONとなっても、スタートレバー25の操作により、回胴(51R、51C、51L)の回転が開始されるものであるということができる。
続いて、図55(a)に示すパターン4では、「MAXベット」、「1枚ベット」、「メダル手入れ」、「自動ベット」、「スタート」、「左停止」、「中停止」、「右停止」については、いずれも前述のパターン3と同様に有効である。また、「清算」については、前述のパターン3と異なり、有効である。
続いて、図55(a)に示すパターン5では、「MAXベット」及び「1枚ベット」については無効であり、「メダル手入れ」については有効である。また、「自動ベット」、「スタート」、「左停止」、「中停止」、「右停止」については無効であり、「清算」についても無効である。
続いて、図55(a)に示すパターン6では、「MAXベット」〜「右停止」については、上述のパターン5と同様である。そして、「MAXベット」及び「1枚ベット」については無効であり、「メダル手入れ」については有効である。また、「自動ベット」、「スタート」、「左停止」、「中停止」、「右停止」については無効である。そして、「清算」については、パターン5と異なり有効である。
また、このパターン6(及び後述するパターン10)のように、「MAXベット」、「1枚ベット」「スタート」、「左停止」、「中停止」、「右停止」を無効とし、「清算」を有効とする組合せは、例えば何らかの故障が生じた場合でも遊技者に不利にならないようにしたものであるということができる。
続いて、図55(a)に示すパターン7、及び、パターン8では、「MAXベット」、「1枚ベット」、「メダル手入れ」については有効である。また、「自動ベット」、「スタート」、「左停止」、「中停止」、「右停止」については無効である。そして、パターン7では「清算」が無効であり、パターン8では「清算」が有効である。
続いて、図55(a)に示すパターン9、及び、パターン10では、「MAXベット」及び「1枚ベット」については無効である。また、「メダル手入れ」及び「自動ベット」については有効である。さらに、「スタート」、「左停止」、「中停止」、「右停止」については無効である。そして、パターン9では「清算」が無効であり、パターン10では「清算」が有効である。
続いて、図55(a)に示すパターン11、及び、パターン12では、「MAXベット」、「1枚ベット」、「メダル手入れ」、「自動ベット」については有効である。また、「スタート」、「左停止」、「中停止」、「右停止」については無効である。そして、パターン11では「清算」が無効であり、パターン12では「清算」が有効である。
以上説明したように、リセットスイッチと各種メイン系ボタンとの関係を定めておくことにより、前面ドア部閉鎖中にリセットスイッチが操作されるといった特殊な状況が生じた場合でも、スロットマシン10が不測の動作を行うことを防止できる。
例えば、ベット操作(ここでは「MAXベット」、「1枚ベット」)を無効とした組合せパターン(ここではパターン1、2、5、6、9、10)では、リセットスイッチが不正に操作されている可能性がある状況で、遊技の進行を停止することができる。
また、ベット操作は無効であるが、手入れは有効とした組合せパターン(ここではパターン1、2、5、6、9、10)では、例えば、前述の連続演出に係る遊技が、もう1回の遊技に進めば連続演出の結果(結末)が確認できる、といった状況で、遊技者が遊技メダルの手入れを行うことで、状況を進展させて、連続演出の結果を確認できるようにすることが可能である。この場合は、手入れにより次の遊技へ移行し、演出の内容が結果を表すものに進展することが条件となる。
さらに、ベット操作は無効であり、手入れは有効であるが、「スタート」は無効とした組合せパターン(ここではパターン5、6、9、10)では、例えば、上述のように連続演出の結果を遊技者に示すために残り1回分の遊技に移行する必要がある状況で、遊技メダルの手入れにより、連続演出の結果を遊技者に示すことはできるが、更にその先の遊技は停止して進行を防ぐ、といったことが可能となる。リセットスイッチが不正に操作されている可能性がある状況を前提としているため、遊技の進行を停止させることで、スロットマシン10の安全性を向上することができる。
さらに、図55(a)の各組合せパターンに関し、回胴(51R、51C、51L)を回転開始させるための「スタート」の操作が継続されている状況でいずれかの停止ボタンの操作があった場合には、停止ボタンを無効とする。しかし、既に回胴(51R、51C、51L)が回転している状況でいずれかの停止ボタンの操作があった場合には、各停止ボタンの操作を有効にする、といった制御態様も例示することができる。
このようにすることで、不正防止効果を維持しつつ遊技の進行を阻害しないスロットマシン10を提供することができる。具体的には、不正に遊技が開始されたと考えられるとき(ここでは前面ドア部11の開放中に回胴回転開始のための「スタート」があったとき)は遊技が進行し難い(進行しない)ようにする。しかし、その一方で、遊技が開始された後の「スタート」の検出は、故障や操作ミスなどが原因である可能性が高いと考えて遊技の進行を可能にする、といった制御を行うことが可能である。
また、「スタート」、各停止、及び、ベット(ここでは「MAXベット」、「一枚ベット」)がいずれも有効である組合せパターン(ここではパターン3、4)によれば、例えば、リセットスイッチが、何らかの原因により故障してONとなっていても、遊技の進行に影響を与えないようにすることができる。
また、図55(a)の各組合せパターンに関し、例えば、小役の当せん時において、当せんした小役の図柄組合せ表示に係る回胴の滑り中に、リセットスイッチがONとなった場合の制御を、リセットスイッチのON状態が継続している状況では、「清算」を有効として払出しを行うが、その後の「スタート」は無効にする、といったことが考えられる。このようにすることで、回胴の滑り中であれば、リセットスイッチのONが検出され始めても、回胴停止後に、そのときの遊技の結果に対して特典を付与するが、次遊技へは進行できないようにし、不正であった場合に被害を抑制することが可能となる。
なお、図55(a)にパターン1〜12として示した組合せは、あくまでも例示であり、個々の「有効」(又は「無効」)の機能を必要に応じて、「無効」(又は「有効」)に変更することが可能である。
また、ボタン操作を伴う「MAXベット」及び「1枚ベット」のうち、「1枚ベット」については、図55(a)に示す連携の関係から除外し、連携関係の規定中に含めないようにしてもよい。さらに、「1枚ベット」のボタン(スロットマシン10の1枚投入ボタン75)を備えないタイプのスロットマシンに、その他の「MAXベット」、「メダル手入れ」、「自動ベット」、「スタート」、「左停止」、「中停止」、「右停止」、「清算」の連携関係を適用することも可能である。
さらに、「1枚ベット」のボタン(1枚投入ボタン75)と「清算」のボタン(清算ボタン74)とで1つのボタンを兼用してもよい。
また、「MAXベット」等のベットが無効となるパターンにおいて、「メダル手入れ」を有効とし、その後に操作される「スタート」を無効にするといった連携のパターンを考えることが可能である。そして、このようなパターンは、図55(a)の例では、パターン5、パターン6、パターン9、パターン10が該当する。
さらに、「MAXベット」等のベットが無効となるパターンにおいて、「自動ベット」を有効とし、その後に操作される「スタート」を無効にするといった連携のパターンを考えることが可能である。そして、このようなパターンは、図55(a)の例では、パターン9、パターン10が該当する。
また、リセットスイッチによるエラー解除の制御態様に関して、以下のような制御例を考えることができる。例えば、リセットスイッチを押してON操作すると、リセットスイッチの出力信号(リセットスイッチの操作によって変化する信号)が立ち上がり、リセットスイッチから手指を離してOFF操作すると、リセットスイッチの出力信号が立ち下がる信号形態を例とする。
そして、リセットスイッチの出力信号における立ち上がりエッジ(立ち上がり信号)が発生すると、メインCPU81において、前述のように立ち上がりエッジを検出し、この立ち上がりエッジに基づいてエラー解除が行われる。このようにすることで、例えば、リセットスイッチが故障し、手指を離した後も継続してONとなっているような状況であっても、ON操作時の立ち上がりエッジに基づきエラー解除の処理を行うことが可能である。
また、上述の制御例と異なり、例えば、リセットスイッチの出力信号における立ち下がりエッジ(立ち下がり信号)が発生すると、メインCPU81において立ち下がりエッジを検出し、この立ち下がりエッジに基づいてエラー解除が行われるようにすることも可能である。このようにすることで、リセットスイッチのON操作を継続している間はエラー解除の処理が行われなくなる。そして、例えば、リセットスイッチのON操作を継続するような不正があった場合に、エラー解除され難くなる。
また、リセットスイッチによるエラー解除の制御態様に関して、以下のような制御例も考えることができる。先ず、ここでは、引込率が100%(PB=1)となる小役の当せん時に、3つの回胴(51R、51C、51L)のうち、最後に停止する回胴が、停止操作後、ずらしコマ数(滑りコマ数)の範囲内で滑っている状況を考える。さらに、このような状況において、リセットスイッチがON状態となっており(或いは当該状況中にON状態となり)、リセットスイッチのON状態が継続している間に、最後に停止する回胴が滑り終わって停止した状況を考える。
そして、このように最後に停止する回胴が滑り終わって停止した状況では、図柄の組合せが表示された小役に対する払出しは有効として実施(実行)するが、ベット操作は無効とすることが可能である。このようにすることで、リセットスイッチ等に係る不正があった場合に、ベット操作以降の遊技の進行を停止することができる。なお、ここでのベット操作には、「MAXベット」、「1枚ベット」、「メダル手入れ」、及び、「自動ベット」のうちの「メダル手入れ」を含まないものとし、「メダル手入れ」は有効とすることが可能である。
また、上述のように最後に停止する回胴が滑り終わって停止した状況で、ベット操作だけでなく、払出しも無効にすることが可能である。このようにすることで、リセットスイッチ等に係る不正があった場合に、払出しによる利益の付与と、ベット操作以降の遊技の進行の両方を停止することができる。
また、上述のように最後に停止する回胴が滑り終わって停止した状況で、自動ベットを有効とし、スタートは無効とすることが可能である。このようにすることで、リセットスイッチ等に係る不正があった場合に、スタート以降の遊技の進行を停止することができる。
また、上述のように最後に停止する回胴が滑り終わって停止した状況で、自動ベットも無効とすることが可能である。このようにすることで、リセットスイッチ等に係る不正があった場合に、払出しによる利益の付与と、自動ベット以降の遊技の進行の両方を停止することができる。
<<<前面ドア部開放中におけるリセットスイッチON時の連携>>>
続いて、リセットスイッチのONと、他の操作との組合せに関して、その他の状況における組合せについて説明する。図55(b)においては、組合せのパターンがパターン1〜4に分けられ、各パターン1〜4における内訳が表されている。そして、内訳に含まれているのは、図中の左から順に示すように「MAXベット」、「1枚ベット」、「メダル手入れ」、「自動ベット」、「スタート」、「左停止」、「中停止」、「右停止」、及び、「清算」の各操作である。これらの用語の意味は、図55(a)に示した例と同様であるので、ここでは各々の用語の説明は省略する。
図55(b)に示しているリセットスイッチの操作態様は、前述した図55(a)の例とは異なり、前面ドア部11が開放されている状況でONしている状況である。つまり、通常、リセットスイッチは、遊技店員が前面ドア部11を空けて操作するものであるので、ここで検討しているのは、通常の状況(レギュラーな状況)であるということができる。また、ここで検討しているのは、各種の操作との組合せが成立する程度に、リセットスイッチ操作(エラー解除操作)が継続されている(ボタンの長押しがされている)状況であるといえる。
先ず、図55(b)に示すパターン1では、「MAXベット」、「1枚ベット」、「メダル手入れ」、「自動ベット」、「スタート」、「左停止」、「中停止」、「右停止」、及び、「清算」の全てが有効となっている。
続いて、図55(b)に示すパターン2では、「MAXベット」及び「1枚ベット」については、いずれも無効である。また、「メダル手入れ」については有効であり、「自動ベット」、「スタート」、「左停止」、「中停止」、「右停止」、及び、「清算」については無効である。
続いて、図55(b)に示すパターン3では、「MAXベット」、「1枚ベット」、「スタート」、「左停止」、「中停止」、「右停止」、及び、「清算」については、いずれも1回のみ有効となっている。ここでいう「1回のみ有効」は、「1回のみ有効」と定められた操作のうち、最初となるいずれか1つの操作のみ有効といった意味である。また、このパターン3では、「メダル手入れ」及び「自動ベット」については、いずれも有効となっている。
続いて、図55(b)に示すパターン4では、パターン3と同様に、「MAXベット」、「1枚ベット」、「スタート」、「左停止」、「中停止」、「右停止」、及び、「清算」については、いずれも1回のみ有効となっている。また、このパターン3では、「メダル手入れ」も、パターン3と同様に有効となっている。しかし、「自動ベット」については、パターン3と異なり無効となっている。
ここで、図55(b)のパターン1〜4に定めたような状況は、リセットボタンのONを解除する(リセットボタンをOFFする)ことにより終了する。また、有効や無効の組合せは、制御の適正化にあたって種々に変更できるものである。
なお、図55(b)には、エラー発生中に前面ドア部11を開放してエラー解除を行うような状況についての検討結果を示しているが、エラー報知に関しては、以下のようにすることが可能である。例えば、いずれかの回胴(51R、51C、51L)の回転中は、エラー報知を行わないようにすることが可能である。また、いずれかの回胴(51R、51C、51L)の回転中は、エラー報知は行うが、エラー解除(リセットスイッチ操作によるエラー解除)は行えないようにする、といったことも可能である。
さらに、各種の停止ボタン(24L、24C、24R)の操作中(ON中)は、エラー報知を行わないようにすることが可能である。また、各種の停止ボタン(24L、24C、24R)の操作中(ON中)は、エラー報知は行うが、エラー解除(リセットスイッチ操作によるエラー解除)は行えないようにする、といったことも可能である。
さらに、前述したようにリセットスイッチの出力信号における立ち下がりエッジ(立ち下がり信号)が発生すると、メインCPU81において立ち下がりエッジを検出し、この立ち下がりエッジに基づいてエラー解除が行われるようにした場合に、リセットスイッチに係るON操作の開始時(リセットスイッチの出力信号における立ち上がりエッジの検出時)にはエラー解除の処理が行われないようにすることが可能である。
続いて、メイン系ボタン(主制御基板61で管理されるボタン)のON操作に関しては、遊技機の状況に応じて複数の態様に分けて考えることが可能である。例えば、スロットマシン10の遊技進行上において適切なタイミング(遊技の進行に沿った本来のタイミング)でのONと、適切でないタイミングでのONとを考えることができる。
これらのうち、適切なタイミングについては、例えば「有効ON」、「本来タイミングでのON」、「適正タイミングでのON」、「適正ON」、或いは、「適切ON」などと称することが可能である。これに対して、適切でないタイミングについては、例えば「無効ON」、「本来タイミングではないタイミングでのON」、「不適正タイミングでのON」、「不適正ON」、或いは、「不適切ON」などと称することが可能である。
そして、適切なタイミングでのONである有効ONと、適切でないタイミングでのONである無効ONに関して、有効ONが行われた場合と、無効ONが行われた場合とで、その後のメイン系ボタンに係る挙動が異なるようにすることが可能である。このようにすることで、有効ONや無効ONでの状況の違いに応じ、適正な遊技機制御を行うことが可能となる。
より具体的には、有効ONの操作が行われた状況は、遊技が正常に進行している状況であるが、このような状況で、引き続き当該有効ONが継続して終わらなければ、当該操作については、正常に遊技を進行させたうえでの不正な操作の可能性があると考えられる。このため、このような有効ONの状況では、その他のメイン系ボタン(有効ONの操作以降に遊技進行のために操作され得るメイン系ボタン)を無効にする。
しかし、遊技が進行に沿っていないON操作は、無効ONの操作であり、遊技の進行に影響を与えないものであるから、当該ONが不正によるボタン操作である可能性は低いと考えられる。このため、直ちにメイン系ボタンを無効にするようなことはせず、メイン系ボタンを有効とする。このように、遊技の進行を妨げない制御を行うことで、遊技者がスロットマシン10に不信感を抱くようなことを防止できる。
また、有効ONと無効ONの関係について、規定数のベット(賭け設定)が行われ、停止中の回胴(51R、51C、51L)を回転させる「スタート」のON(「スタートON」などと称することが可能である)の操作が行われ、当該スタートONの操作が維持されている状況において、「左停止」、「中停止」、及び、「右停止」は無効とする。これに対し、回胴の回転開始後に一旦OFFとなり、回胴の回転中に再度ONとなった「スタート」のON状態(スタートON)が維持されている状況においては、「左停止」、「中停止」、「右停止」は有効とする。
ここで、回胴の回転中にONとなった「スタート」のON状態を検出するには、回胴の回転中に、メインCPU81が、例えばタイマ割込み処理において「スタート」に係る入力ポートの状態を確認することが可能である。
また、有効ONと無効ONの関係について、回転中の回胴(51R、51C、51L)を停止させる「左停止」、「中停止」、又は、「右停止」のON(「停止ON」などと称することが可能である)が維持されている状況において、停止ON中となっている停止ボタン以外の停止ボタンは無効とする。これに対し、例えば1つの回胴(第1回胴51L)の停止後に、当該停止中の回胴(第1回胴51L)に対応する停止ボタンが再度ON(2回目以降のON)となり、この2回目のON状態が維持されている状況においては、停止ON中となっている停止ボタン(ここでは第1停止ボタン24L)以外の停止ボタン(ここでは第2停止ボタン24C、第3停止ボタン24R)は有効とする。
ここで、回胴の停止中にONとなった「左停止」、「中停止」、又は、「右停止」のON状態を検出するには、回胴の停止中に、メインCPU81が、各停止ボタンに係る入力ポートの状態を確認することが可能である。
また、有効ONと無効ONの関係について、ベット(ここでは「MAXベット」又は「1枚ベット」)するためのベットボタンのON状態が維持されている状況において「スタート」が操作されてもその操作は無効とする。しかし、ベット(「MAXベット」又は「1枚ベット」)がされた後にベットボタン(「MAXベット」又は「1枚ベット」)がON(2回目以降のベット)となり、このON状態が維持されている状況では、「スタート」は有効とする。
また、有効ONと無効ONの関係について、エラーが発生し、エラー原因を解消した後、エラー解除のためのリセットスイッチのON状態が維持されている状況において、ベット(ここでは「MAXベット」又は「1枚ベット」)の操作は無効とする。しかし、エラー解除の必要がない非エラーの際(非エラー時)に、リセットスイッチのON状態が維持されている状況(前面ドア部11を開放してリセットスイッチONが継続している状況など)では、ベット(「MAXベット」又は「1枚ベット」)の操作は有効とする。ここで、リセットスイッチのON状態が維持されている状況では設定変更(例えば設定キースイッチ68の操作以降の作業など)を無効とすることが考えられる。
また、図55(a)、(b)に例示した各パターン同士の組合せについても考えることができ、図55(a)、(b)に例示した各パターン同士は、組合せによる支障が生じない限り、自由に組み合わせることが可能である。例えば、図55(a)におけるパターン1と、図55(b)におけるパターン1同士を組み合わせることで、リセットスイッチが有効ON(図55(b))のときには「MAXベット」が有効で、無効ON(図55(a))のときには「MAXベット」が無効となる、といった制御を行うことが考えられる。そして、リセットスイッチが有効ONのときは、通常の動作(通常の操作や遊技)が行われているときであるので遊技を進行可能にし、この逆に無効ONのときは異常な動作が行われているときであるので遊技を進行不可能にする、といった制御を行うことも可能である。
<<設定変更操作と各種のメイン系ボタン操作との連携処理>>
続いて、設定変更に関し、設定値の変更と、各種のメイン系のボタン操作との連携について説明する。図56は、設定値の変更と、各種のメイン系のボタン操作との組合せに係る一覧表を示している。図56においては、組合せのパターンがパターン1〜6に分けられ、各パターン1〜6における内訳が表されている。
そして、内訳に含まれているのは、図中の左から順に示すように「設定変更ボタンONで設定変更モード移行の設定値」、「レバーONで設定変更モード移行時における設定値の確定」、「設定変更ボタンとレバーONで設定変更モード移行時における挙動」、「MAXベットON時の設定変更ボタン」、「停止ボタンON時の設定変更ボタン」、「MAXベットON時のレバー」、「停止ボタンON時のレバー」、「レバーON中の設定キーOFFでの設定変更モード滞在」の各組合せである。
これらの組合せは、前述した設定変更の手順に従った操作を行った場合における各種の制御状態を定めたものである。ここでは、前述の設定変更の手順を概略的に改めて説明し、その後に、所定の設定変更操作と、各種のメイン系のボタン操作との組合せについて説明する。
前述したように、設定変更を行う際には、先ず、例えば遊技場店員等が、電源OFFの状態にあるスロットマシン10の前面ドア部11を開放し、更に図4中に示す設定ユニット62に設けられた設定ドアを開放する。さらに、遊技場店員等が、設定キーシリンダに設定キーを差し込み、設定キーをON方向(例えば時計回り方向)に回転操作(ON操作)する。そして、設定キーをON操作したまま電源スイッチ72をONし、スロットマシン10を前述した「設定変更装置作動」の状況とする。
スロットマシン10に電力供給がされると、前述の主制御基板61(図4参照)に搭載された前述の設定表示LED66に設定値が表示される。設定表示LED66には、設定値(ここでは「1」から「6」の6つ)のうちのいずれかが表示される。このように設定変更装置が作動した状況において、「設定変更ボタン」に該当する設定/リセットボタン69(図4参照)を押圧操作すると、設定値の表示が変化する。
例えば、設定1(設定値が1の状態)でスロットマシン10の電源が立ち上がり、設定/リセットボタン69を1回操作すると設定2となる。その後、設定/リセットボタン69を押すごとに、設定値の表示が「2」、「3」、…と昇順に変化する。そして、これらの状況は、前述した「設定値変更可能中」の状態に該当する。
さらに、最高設定値である設定値6で設定/リセットボタン69を1回操作すると、最低設定値である設定1となる。また、設定表示LED66に表示された値が、選択目的としている設定値になっている状況で、遊技店員等が前述のスタートレバー25(図1参照)を操作してONにすると、設定値が確定する。そして、この状態は、前述した「設定値確定」の状況に該当する。さらに、この「設定値確定」の後、設定キーがOFFされるのを待っている状態は、前述の「設定値決定待ち」の状況に該当する。
続いて、図56に基づき、所定の設定変更操作と、各種のメイン系のボタン操作との組合せについて説明する。図56に示した前述の「設定ボタンONで設定変更モード移行の設定値」は、設定変更ボタン(本実施例では設定/リセットボタン69)をONした状況で電源投入がされ、設定変更モードに移行した場合に、自動的に選択されて表示されている設定値を意味している。
つまり、設定変更ボタン(設定/リセットボタン69)が「設定値変更可能中」に操作されると、設定値が変化する。しかし、設定変更ボタン(設定/リセットボタン69)が、常に「設定値変更可能中」に操作されるとは限らず、予期せぬ状況で操作されることも考え得る。
しかし、何ら対策を施さなければ、制御状況の組合せによっては、スロットマシン10が予期しない挙動を示す可能性を排除できず、スロットマシン10をより最適化するには、正規な操作以外の操作が行われた状況についても、どのように制御するか定めておくことが望ましい。
このような背景の下、本実施例では、設定変更ボタン(設定/リセットボタン69)を含む各種のメイン系ボタンの操作の組合せについて制御態様が定められ、更にこれらの組合せがパターン化(ここではパターン1〜パターン6)されている。
ここで、前述の「設定変更モード」は、先に説明した「設定変更装置作動」の状況となってから、その後の「設定値変更可能中」、「設定値確定」、「設定値決定待ち」の状況を総称するものとすることが可能である。言い方を変えれば、「設定変更モード」は、「設定変更装置作動」の状況となってから「通常状態」となる直前までの状態を意味するものとすることができる。さらに、設定変更に係る前述の第1状態の開始から第2状態の終了までの状態を「設定変更モード」とすることが可能である。
また、図56中において、上述の「設定変更ボタンONで設定変更モード移行の設定値」の欄は、「元の設定値」の列と「移行時の設定値」の列とに分けられている。これらのうち、「元の設定値」は、通電状態から電断(人的操作による電源OFF時や予期せぬ電圧降下時を含む)が発生した際における設定値(電断発生時の設定値)を意味している。
ここで、図56に示すパターン1〜6では、いずれも「元の設定値」を「1」としているが、これに限定されるものではなく、「元の設定値」は他の値(例えば「5」や「6」など)であってもよい。
これに対し、「移行時の設定値」は、前述の電断の後、設定スイッチをONした状況で電源投入(予期せぬ電圧降下の解消時を含む)がされ、設定変更モードに移行した場合に、自動的に選択されて表示されている設定値を意味している。そして、パターン1では、「元の設定値」と「移行時の設定値」は、いずれも「1」となっている。しかし、パターン2〜6では、「移行時の設定値」は、いずれも「2」に変化している。
つまり、パターン1は、設定変更モードが開始されても、前回の電源断時における設定値が維持されるものとなっている。これに対して、パターン2〜6は、設定スイッチをONした状況で電源投入があり、設定変更モードが開始されると、前回の電源断時における設定値が維持されず、自動的にインクリメントされた設定値がセットされて表示されるものとなっている。
続いて、図56に示す「レバーONで設定変更モード移行時における設定値の確定」は、設定変更モードへの移行時にスタートレバー25を操作した状況で、設定値の確定を行うか否かについて定めた項目となっている。ここでいう「設定変更モードへの移行時」は、電源投入から前述の「設定変更装置作動」の状況までの期間とすることが可能である。
そして、パターン1では、このような状況では、「設定値確定」とならず、設定/リセットボタン69(図4参照)の押圧操作によって設定値の変更が可能な「設定値変更可能中」となる。つまり、パターン1では、前述のように「移行時の設定値」は「1」であり、この設定値は、「レバーONで設定変更モード移行時における設定値の確定」の欄に示すように、変更可能である。
また、パターン2では、電源投入時の設定変更ボタンONに関連して、前述のように「移行時の設定値」は「2」となり、この設定値は「レバーONで設定変更モード移行時における設定値の確定」の欄に示すように、パターン1と同様、変更可能である。
ここで、「移行時の設定値」を「2」とするタイミングを、設定/リセットボタン69がONとなっている旨の判定の後とすることが考えられる。さらに、設定/リセットボタン69がONとなっている旨の判定のタイミングは、設定変更モードへの移行前としてもよく、或いは、設定変更モードへの移行後としてもよい。例えば、図13の設定変更装置処理では、S33で設定/リセットボタン信号(設定/リセットスイッチ信号)に係る判定の処理が行われ、S34で設定値更新が行われている。そして、S33で設定変更ボタンONの判定(S33:YES)が行われた場合に、S34で設定値を「2」とした場合には、設定変更モードへの移行後に「移行時の設定値」を「2」としたことになる。
また、パターン3では、前述のように「移行時の設定値」は「2」であり、「レバーONで設定変更モード移行時における設定値の確定」に関しては、パターン1やパターン2と異なり、確定される(「設定値確定」の状況となる)。
また、パターン4〜パターン6も、パターン3と同様に、「移行時の設定値」は「2」であり、「レバーONで設定変更モード移行時における設定値の確定」に関しては確定される。
続いて、図56に示す「設定変更ボタンとレバーONで設定変更モード移行時における挙動」は、電断時に設定変更ボタン(設定/リセットボタン69)とスタートレバー25の両方を操作しており、その後電源投入があり、設定変更モードへの移行時に、設定変更ボタン(設定/リセットボタン69)と、スタートレバー25の両方を操作していない状況での、設定値の状態について定めた項目となっている。
そして、パターン1においては、当該状況では設定値が「1」で「設定値変更可能中」の状況となるようにしている。また、パターン2においては、設定値が「2」で「設定値変更可能中」の状況となるようにしている。さらに、パターン3においては、設定値が「1」で「設定値確定」の状況となるようにしている。
また、パターン4においては、設定値が「1」で「設定値変更可能中」の状況となるようにしている。さらに、パターン5においては、設定値が「2」で「設定値変更可能中」の状況となるようにしている。また、パターン6においては、設定値が「2」で「設定値変更可能中」の状況となるようにしている。
続いて、図56に示す「MAXベットON時の設定変更ボタン」は、「設定値変更可能中」に、MAXベットボタン(3枚投入ボタン76)が操作継続中となっている状況で、設定変更ボタン(設定/リセットボタン69)を有効とするか否かを定めた項目となっている。そして、パターン1〜6のいずれにおいても、当該状況では、設定変更ボタン(設定/リセットボタン69)は有効となっている。
続いて、図56に示す「停止ボタンON時の設定変更ボタン」は、「設定値変更可能中」に、いずれかの停止ボタン(24L、24C、又は、24R)が操作継続中となっている状況で、設定変更ボタン(設定/リセットボタン69)を有効とするか否かを定めた項目となっている。そして、パターン1〜6のいずれにおいても、当該状況では、設定変更ボタン(設定/リセットボタン69)は有効となっている。
続いて、図56に示す「MAXベットON時のレバー」は、「設定値変更可能中」に、MAXベットボタン(3枚投入ボタン76)が操作継続中となっている状況で、スタートレバー25をONした際に、「設定値確定」の状況に移行させるか否かを定めた項目となっている。そして、パターン1〜6のいずれにおいても、当該状況では、スタートレバー25が有効となっており、「設定値確定」の状況への移行が行われる。
続いて、図56に示す「停止ボタンON時のレバー」は、「設定値変更可能中」に、いずれかの停止ボタン(24L、24C、又は、24R)が操作継続中となっている状況で、スタートレバー25をONした際に、「設定値確定」の状況に移行させるか否かを定めた項目となっている。そして、パターン1〜6のいずれにおいても、当該状況では、スタートレバー25が有効となっており、「設定値確定」の状況への移行が行われる。
ここで、図56に示す「MAXベットON時の設定変更ボタン」、「停止ボタンON時の設定変更ボタン」、「MAXベットON時のレバー」、及び、「停止ボタンON時のレバー」の各項目については、パターン1〜6の全てについて制御態様を「有効」と定めているが、これに限られず、少なくともいずれかの状況におけるボタン操作を「無効」とすることが可能である。
続いて、図56に示す「レバーON中の設定キーOFFでの設定変更モード滞在」は、前述の「設定値決定待ち」中に、スタートレバー25のON状態が継続している状況で、設定キーの回転操作(OFF操作)があった際に、制御上、設定変更モードを終了するか否か(設定変更モードから抜けるか否か)を定めた項目となっている。そして、パターン1〜6のいずれにおいても、当該状況では、制御上、設定変更モードを終了させて「通常状態」となる。
以上説明したように、設定変更ボタン(設定/リセットボタン69)と各種メイン系ボタンとの関係を定めておくことにより、例えば、以下のような制御態様を実現することが可能である。先ず、設定値が「1」のときに電源断が発生し、その後、設定変更ボタン(設定/リセットボタン69)が操作されている状況で電源投入がされ、設定変更モードが起動した場合、設定値表示が「2」になっている組合せパターン(ここではパターン2)によれば、設定値の変更操作を簡略化できる。
一般に遊技場には数百台のスロットマシンが設置されていることが多く、これらのスロットマシンに対して、どの設定値に対しても毎日のように設定変更の作業を行っていたのでは、作業者の負担が大となる。しかし、上述のように所定の設定値(ここでは最低値の「1」よりも1大きい値である「2」)で自動的に変更されるようにすることで、「2」の設定が予定されているスロットマシンに関しては、設定変更の作業を簡略化することができる。また、設定変更ボタン(設定/リセットボタン69)をONしながら電源を立ち上げるのみで設定値が自動的に設定されるため、操作も容易である。さらに、予め決められた値に自動的に変更されるため、作業者が設定値を目視して確認する手間を省くことが可能である。
また、設定値が「1」のときに電源断が発生し、その後、設定変更ボタン(設定/リセットボタン69)が操作されて、同時にスタートレバー25がONとなっている状況で電源投入がされて設定変更モードが起動した場合、設定値が「1」で確定している組合せパターン(ここではパターン3)によれば、設定値の変化(例えば「2」への変化)がないため、電源断の前と同一の設定値に再設定する作業(所謂打ち換え)を簡略化することができる。この「打ち換え」の作業によって、通常知られているように、結果として設置値は変えずに、スロットマシン10の遊技制御状態を初期化し、例えば、ゲーム数に基づき管理されるATや所謂天井などや、演出ステージなどのように、継続性をもった遊技状態を初期状態に戻すように制御することが可能である。
また、設定値を確定させる際に操作されるスタートレバー25に関してしては、スタートレバー25がONになったことを表すモニタ部を筐体部12内に設けることで、設定変更の作業者は、筐体部12の外側(前面ドア部11の正面側)に視線を移したり、移動したりすることなく、スタートレバー25がONされたことを把握できる。
つまり、設定変更の際には、前述したように作業者が、前面ドア部11を開放したり、設定キーを操作したり、電源スイッチ72をONしたり、設定値の表示を確認したりといったように、筐体部12の内部を視認しながら作業が行われる。ただ、スタートレバー25は、前面ドア部11の表側に配置されているため、設定値の確定の際には、作業者は、前面ドア部11の表側に視線を移したり、身体を回り込ませたり、腕を回したりすることになる。このため、設定値確定のためのスタートレバー25の操作は、面倒であったり、目視せずに行う作業となったりしがちである。
そこで、筐体部12の内部にスタートレバー25がONしたことを表すモニタ部を設けることで、設定変更の作業者は、面倒な作業や、目視確認しないままでの作業を行うことなく、自らのスタートレバー25の操作が適正であったことを認識できる。
ここで、モニタ部としては、図は省略するが、例えば、主制御基板61上にスタートレバー25に対応した発光部(LEDなど)を搭載し、スタートレバー25がONするごとに、発光部を光らせる、といったものを例示できる。
また、モニタ部は、スタートレバー25を操作した状態で設定変更モードが起動された場合には、設定値の表示の前に点灯するものとすることが可能である。このようにすることで、モニタ部におけるLEDの点灯が短い時間(例えば0.5秒など)であったとしても、作業者の注意を、設定値表示よりも先にモニタ部に向けることができ、より確実に、スタートレバー25の状況を作業者に報知することが可能となる。
また、このようなスタートレバー25の操作を伴う設定変更モードの起動時に、設定値を所定値(例えば「1」又は「2」)で確定させるようにすることが可能である。ただし、これに限らず、設定値の表示を所定値(例えば「1」又は「2」)で表示したまま、設定値の確定は行わないようにする(設定変更可能とする)ことも可能である。
なお、筐体部12内の操作や確認を行う作業者と、前面ドア部11の表側の操作や確認を行う作業者の複数人(例えば2人)で、設定変更作業を行うことも可能であるが、このようにした場合であっても、上述のモニタ部を備えることで、筐体部12内の操作や確認を行う作業者が、より確実にスタートレバー25の状況を把握して作業を進めることが可能となる。
また、設定値が「1」のときに電源断が発生し、その後、スタートレバー25と設定変更ボタン(設定/リセットボタン69)が操作されている状況で電源投入がされた場合(設定変更モードが起動した場合)、設定値表示が「2」であり、設定値は確定していない組合せパターン(ここではパターン2)によれば、設定値の変更操作を簡略化できる。また、意図しない設定値で自動的に確定されてしまうことを防止できる。さらに、電源投入時に誤ってスタートレバー25が操作されてしまったとしても、意図しない設定値が確定されてしまうことを防止できる。
また、図56の各パターンに関し、前述したように、スタートレバー25の操作方向が下方向以外の方向(上方向など)であっても、スタートレバー25の操作を有効(検出可能)とし、設定値を確定させる。また、同じく前述したように、スタートレバー25の中立点P0から下方向の検出点P1までの距離(例えば3.0mm)は、上方向の検出点P2までの距離(例えば5.5mm)よりも短くすることが可能である。
このようにすることで、遊技者が、最も楽で一般的と考えられる態様(上方向から下方向)への操作を行わず、例えば、表示された設定値の視認に集中し、視線や意識がスタートレバー25に向かなかったような状況でも、設定値を確定させることが可能である。さらに、設定値の確定の操作の際には、作業者は、設定値の表示に注目しており、手元を見ない可能性が高いと考えることが可能である。このため、上述のように、操作方向が上方向でも操作が有効となるようにすることで、作業者が手元に気を取られずに、筐体部12の内部に注意を払いながら、確定操作を行えるようになる。
また、図56の各パターンに関し、設定変更中はMAXベットボタン(3枚投入ボタン76)がONとなっている際にスタートレバー25が有効であり(パターン1〜6)、遊技中はMAXベットボタン(3枚投入ボタン76)がONとなっている際にスタートレバー25が無効となるようにする(図示略)ことが可能である。
この場合も、作業者は、設定値の表示に注目しており、手元を見ない可能性が高いと考えることが可能である。このため、上述のように、設定変更中にスタートレバー25を有効とすることで、作業者が手元に気を取られずに、筐体部12の内部に注意を払いながら、確定操作を行えるようになる。
さらに、各メイン系ボタンにおける前述の有効ONや無効ONの関係については、以下のような組合せの態様(パターン)を考えることができる。例えば、有効ON、無効ONのいずれであって場合でも、スタートレバー25を無効とする。或いは、有効ONの場合のみスタートレバー25を無効とし、無効ONの場合はスタートレバー25を有効とする。また、無効ONの場合のみスタートレバー25を無効とし、有効ONの場合はスタートレバー25を有効とする。
また、前述したように、設定変更作業中にはスタートレバー25を目視しないため、設定変更時に、スタートレバー25の周辺に配置されたボタン(例えばMAXベットボタンや停止ボタンなど)に接触し、これらのボタンを意図せず操作してしまうことも考えられる。しかし、図56の「MAXベットON時のレバー」や「停止ボタンON時のレバー」の列に示すように、MAXベットや停止ボタンが押されていても、スタートレバー25は有効となっている。このため、作業者が、スタートレバー25の操作時に他のボタン(例えばMAXベットボタンや停止ボタンなど)を同時に操作してしまったとしても、スタートレバー25により設定値を確定できる。そして、作業者は、大まかにスタートレバー25の位置関係を把握するのみでも設定値の確定を行うことができ、このことによっても設定変更作業が容易なものとすることができる。
なお、図56に示したような有効や無効の組合せは、制御の適正化にあたって種々に変更できるものである。
<<MAXベットボタンと各種のメイン系ボタン操作との連携処理>>
続いて、MAXベットボタンの操作と各種のメイン系のボタン操作との連携について説明する。図57(a)は、MAXベットボタンの操作と各種のメイン系のボタン操作との組合せ( MAXベットボタンが操作されている状況で各種のメイン系ボタンが操作されたときの制御状態の組合せ)に係る一覧表を示している。図57(a)においては、組合せのパターンがパターン1〜8に分けられ、各パターン1〜8における内訳が表されている。
そして、内訳に含まれているのは、図中の左から順に示すように「スタート」、「左停止」、「中停止」、「右停止」、「清算」、及び、「エラー解除」の各操作である。これらの用語のうち、「スタート」、「左停止」、「中停止」、「右停止」、及び、「清算」の意味は、図57(a)、(b)に示した例と同様であるので、ここでは各々の用語の説明は省略する。また、「エラー解除」の用語は、エラー解除のため、リセットスイッチが、前面ドア部11が開放されている状況でONしている状況である。
先ず、図57(a)に示すパターン1では、「スタート」、「左停止」、「中停止」、「右停止」、「清算」、及び、「エラー解除」の全てが有効となっている。続いて、図57(a)に示すパターン2では、「スタート」、「左停止」、「中停止」、「右停止」、及び、「エラー解除」については有効であるが、「清算」については無効となっている。
また、図57(a)に示すパターン3では、「スタート」は無効となっており、それ以外の「左停止」、「中停止」、「右停止」、「清算」、及び、「エラー解除」は有効となっている。さらに、図57(a)に示すパターン4では、「スタート」と「清算」は無効となっており、それ以外の「左停止」、「中停止」、「右停止」、及び、「エラー解除」については有効となっている。
また、図57(a)に示すパターン5では、「スタート」、「清算」、「エラー解除」は有効となっており、それ以外の「左停止」、「中停止」、及び、「右停止」は無効となっている。さらに、図57(a)に示すパターン6では、「スタート」と「エラー解除」は有効となっており、それ以外の「左停止」、「中停止」、「右停止」、及び、「清算」については有効となっている。
また、図57(a)に示すパターン7では、「スタート」、「左停止」、「中停止」、及び、「右停止」は無効となっており、「清算」、及び、「エラー解除」は有効となっている。さらに、図57(a)に示すパターン8では、「スタート」、「左停止」、「中停止」、「右停止」、及び、「清算」は無効となっておりと「エラー解除」は有効となっている。
<<スタートレバーと各種のメイン系ボタン操作との連携処理>>
続いて、スタートレバー25の操作と各種のメイン系のボタン操作との連携について説明する。図57(b)は、スタートレバー25の操作と各種のメイン系のボタン操作との組合せに係る一覧表を示している。図57(b)においては、組合せのパターンがパターン1〜8に分けられ、各パターン1〜8における内訳が表されている。
そして、内訳に含まれているのは、図中の左から順に示すように「MAXベット」、「左停止」、「中停止」、「右停止」、「清算」、及び、「エラー解除」の各操作である。これらの用語の意味は、図55(a)、(b)や図57(a)に示した例と同様であるので、ここでは各々の用語の説明は省略する。
先ず、図57(b)に示すパターン1では、「MAXベット」、「左停止」、「中停止」、「右停止」、「清算」、及び、「エラー解除」の全てが有効となっている。続いて、図57(b)に示すパターン2では、「MAXベット」、「左停止」、「中停止」、「右停止」、及び、「エラー解除」については有効であるが、「清算」については無効となっている。
また、図57(b)に示すパターン3では、「MAXベット」は無効となっており、それ以外の「左停止」、「中停止」、「右停止」、「清算」、及び、「エラー解除」は有効となっている。さらに、図57(b)に示すパターン4では、「MAXベット」と「清算」は無効となっており、それ以外の「左停止」、「中停止」、「右停止」、及び、「エラー解除」については有効となっている。
また、図57(b)に示すパターン5では、「MAXベット」、「清算」、「エラー解除」は有効となっており、それ以外の「左停止」、「中停止」、及び、「右停止」は無効となっている。さらに、図57(b)に示すパターン6では、「MAXベット」と「エラー解除」は有効となっており、それ以外の「左停止」、「中停止」、「右停止」、及び、「清算」については有効となっている。
また、図57(b)に示すパターン7では、「MAXベット」、「左停止」、「中停止」、及び、「右停止」は無効となっており、「清算」、及び、「エラー解除」は有効となっている。さらに、図57(b)に示すパターン8では、「MAXベット」、「左停止」、「中停止」、「右停止」、及び、「清算」は無効となっており、「エラー解除」は有効となっている。
<<停止ボタンと各種のメイン系ボタン操作との連携処理>>
続いて、停止ボタン(24L、24C、又は、24R)の操作と各種のメイン系のボタン操作との連携について説明する。図57(c)は、停止ボタン(24L、24C、又は、24R)の操作と各種のメイン系のボタン操作との組合せに係る一覧表を示している。図57(c)においては、組合せのパターンがパターン1〜8に分けられ、各パターン1〜8における内訳が表されている。
そして、内訳に含まれているのは、図中の左から順に示すように「スタート」、「MAXベット」、「左停止」、「中停止」、「右停止」、「清算」、及び、「エラー解除」の各操作である。これらの用語の意味は、図55(a)、(b)や図57(a)に示した例と同様であるので、ここでは各々の用語の説明は省略する。また、停止ボタン(24L、24C、又は、24R)の操作の順番は、一律ではないため、図57(c)では左又は中又は右(左or中or右)のいずれかの停止ボタンが操作された状況での、各種ボタンの状態を示している。
先ず、図57(c)に示すパターン1では、「スタート」、「MAXベット」、「左停止」、「中停止」、「右停止」、「清算」、及び、「エラー解除」の全てが有効となっている。つまり、左又は中又は右(左or中or右)のいずれかの停止ボタンが操作された状況では、操作されたいずれかの停止ボタンも、操作されていない他の停止ボタンも有効であるということを表している。
続いて、図57(c)に示すパターン2では、「スタート」、「MAXベット」、「左停止」、「中停止」、「右停止」、及び、「エラー解除」については有効であるが、「清算」については無効となっている。
また、図57(c)に示すパターン3では、「スタート」、「MAXベット」は無効となっており、それ以外の「左停止」、「中停止」、「右停止」、「清算」、及び、「エラー解除」は有効となっている。さらに、図57(c)に示すパターン4では、「スタート」、「MAXベット」と「清算」は無効となっており、それ以外の「左停止」、「中停止」、「右停止」、及び、「エラー解除」については有効となっている。
また、図57(c)に示すパターン5では、「スタート」、「MAXベット」、「清算」、「エラー解除」は有効となっており、それ以外の「左停止」、「中停止」、及び、「右停止」は無効となっている。つまり、左又は中又は右(左or中or右)のいずれかの停止ボタンが操作された状況では、操作されたいずれかの停止ボタンも、操作されていない他の停止ボタンも無効であるということを表している。
さらに、図57(c)に示すパターン6では、「スタート」、「MAXベット」、及び、「エラー解除」は有効となっており、それ以外の「左停止」、「中停止」、「右停止」、及び、「清算」については有効となっている。
また、図57(c)に示すパターン7では、「スタート」、「MAXベット」、「左停止」、「中停止」、及び、「右停止」は無効となっており、「清算」、及び、「エラー解除」は有効となっている。さらに、図57(c)に示すパターン8では、「スタート」、「MAXベット」、「左停止」、「中停止」、「右停止」、及び、「清算」は無効となっており、「エラー解除」は有効となっている。
<演出を多様化するための対策>
<<文字表示を伴う演出(会話演出やテロップ演出による文字表示演出)>>
次に、演出を多様化するための対策について説明する。昨今のスロットマシン10などのような遊技機においては、演出として、映像による演出、可動役物(可動体)による演出、音による演出、光装飾による演出、及び、これらの組合せによる演出などのように、種々のものが行われる。そして、各種の遊技機における演出をより一層多様化するためには、発明者は、例えば、同じ属性を有しながらも、その意味が相違し得るような演出を数多く創作することが、多様化、低コスト化、或いは開発期間短縮などといった種々の面で効率的であるとの考えに至った。
さらに、発明者は、同一の属性を有しながら意味を相違させることが可能な演出として、画像を用いたものを想定した。そして、発明者は、画像を用いた演出であれば、可動役物(可動体)による演出などのように画像以外の要素に頼った演出に比べて、複数種類の演出間で相違を形成し易く、且つ、演出の選択肢を多く確保し易いと考えた。さらに、発明者は、画像を用いた演出として、文字(文字画像)を用いた演出を想定し、文字による演出を、会話演出とテロップ演出に分けて、演出の多様化を検討した。
先ず、会話演出とテロップ演出は、表示装置において文字や文字列を用いて行われる演出であるという共通の属性を持ったものである。さらに、「会話演出」は、例えば「登場者が話す様子をモチーフにし、文字や文字列(音声を伴っていても良い)の表示により話の内容を示した演出」のような意味で捉えることが可能なものである。
これに対して「テロップ演出」は、例えば「文字により表現可能な内容(音声を伴っていても良い)を映し出して遊技機に係る何らかの情報を示す演出」のような意味で捉えることが可能なものである。さらに、「テロップ演出」については、より狭義に、「会話形式でなく、文字や文字列(音声を伴っていても良い)を用いて行われる演出」のような意味で捉えることも可能である。
これらの会話演出とテロップ演出は、遊技における演出として、それぞれが所定の遊技状況で出現し得るものとなっている。さらに、会話演出とテロップ演出は、1回の遊技中に一度も出現しない場合、会話演出とテロップ演出のうち一方のみが1回の遊技中に1回(又は複数回)出現する場合、会話演出とテロップ演出のうち両方が1回の遊技中に1回(又は複数回)出現する場合などがあり得るものである。
会話演出とテロップ演出のうち、会話演出としては、図58(a)、(b)に示すようなものを例示できる。図58(a)では、演出部18の左上部の領域に、所定のキャラクタAが表示されている。さらに、キャラクタAは、キャラクタ表示領域801Aに表示されている。また、キャラクタAの近傍には、キャラクタ名称表示領域802Aが設けられており、このキャラクタ名称表示領域802Aには、キャラクタAの名称(ここでは「キャラクタA」とする)が、文字によって示されている。
また、キャラクタ表示領域801Aに繋げて、吹き出し状のセリフ(台詞)表示領域803Aが設けられている。このセリフ表示領域803Aには、吹き出しの画像が表示されており、吹き出しの中には、各キャラクタAのセリフが文字(文字列)によって示されている。そして、図58(a)の例では、キャラクタAのセリフは「今日は晴れて良かった!」となっている。このような演出を以下では、「会話演出1」と称することとする。
続いて、図58(b)には、キャラクタAのセリフに続くタイミングで、演出部18の右側の領域に、所定のキャラクタBが登場した様子を示している。このキャラクタBは、キャラクタ表示領域801Bに、キャラクタAと向かい合うよう態様で表示されており、キャラクタBの近傍には、キャラクタ名称表示領域802Bが設けられている。そして、キャラクタ名称表示領域802Bには、キャラクタBの名称(ここでは「キャラクタB」とする)が、文字によって示されている。
また、キャラクタ表示領域801Bに繋げて、吹き出し状のセリフ(台詞)表示領域803Bが設けられている。このセリフ表示領域803Bには、吹き出しの画像が表示されており、吹き出しの中には、各キャラクタBのセリフが文字(文字列)によって示されている。そして、図58(b)の例では、キャラクタBのセリフは「明日は雨らしいよ。」となっている。このように会話演出1に続く演出を、以下では、「会話演出2」と称することとする。
ここで、このような会話演出(ここでは会話演出1及び2)は、回胴の回転が開始されてない状態であっても、回転中であっても行うことが可能である。また、会話演出は、演出部18に限らず、表示装置の機能を有する回胴表示パネル28にて行うことも可能である。
続いて、前述したテロップ演出としては、図59(a)、(b)に示すようなものを例示できる。図59(a)では、演出部18の左中部のキャラクタ表示領域805C所定のキャラクタCが表示され、演出部18の右上部の演出画像表示領域806Cには太陽Dが表示されている。また、演出部18の下部にはテロップ表示領域807が出現しており、テロップ表示領域807には、「今日はいい天気だなー」の文字(文字列)が表示されている。
ここで、図59(a)の例では、キャラクタCについて、会話演出(図58(a)、(b))におけるキャラクタ名称表示領域802A、802Bのようなキャラクタ名を表示する表示領域は設けられていない。ここで、キャラクタ名を表示する表示領域を設けないことに限定されず、設けたとしても、遊技者が認識できない態様(例えば100%の透明化など)とすることが可能である。
また、このようなテロップ演出は、演出部18に限らず、表示装置の機能を有する回胴表示パネル28にて行うことも可能である。また、テロップ演出の際に、前述のサブ入力スイッチ78を意味する画像(ボタン画像)を表示し、遊技者に対してサブ入力スイッチ78の操作を促すボタン演出を同時に行うことも可能である。
さらに、テロップ演出は、複数のテロップを時系列に出現させるようなものとすることが可能である。図59(b)には、図59(a)で示すテロップ演出(ここでは「テロップ演出1」と称する)に続けて、異なるテロップ演出(ここでは「テロップ演出2」と称する)が出現した例を示している。
この図59(b)に示すテロップ演出2においては、キャラクタCや太陽Dはテロップ演出1と同様に出現したままで、テロップの内容が、「明日も晴れるかなー」の文字(文字列)に変化している。
そして、これらのようなテロップ演出は、前述の会話演出に比べて、高期待度の演出(高期待度演出)として行うことが可能である。そして、このようにした場合には、テロップ演出の出現頻度は、設計上、会話演出の出現頻度に比べて低くなる。このようにすることで、遊技者に対し、テロップ演出は会話演出に比べて所謂熱い演出である、或いは、熱いときに出やすい演出である、などといった印象を抱かせ得るようになる。
続いて、図58(a)、(b)に例示した会話演出1及び2や、図59(a)、(b)に例示したテロップ演出1及び2の出現契機について説明する。会話演出1及び2や、テロップ演出1及び2は、例えば、図61(a)の図表に示すような場合に出現させることが可能である。
先ず、会話演出1(例えば図58(a)に示すもの)及びテロップ演出1(例えば図59(a)に示すもの)の出現契機は、いずれも、図61(a)の「会話演出1出現契機」及び「テロップ演出1出現契機」の列に最初に示すように「スタート」時とすることができる。ここでいう「スタート」は、スタートレバー25の操作による遊技の開始時である。より具体的には、会話演出1及びテロップ演出2のいずれも、遊技者がスタートレバー25を操作すると即座に(例えば1秒以内に)登場するものとすることが可能である。
これに対し、会話演出2(例えば図58(b)に示すもの)及びテロップ演出2(例えば図59(b)に示すもの)については、図61(a)における「会話演出2出現契機」及び「テロップ演出2出現契機」の列の最初に示すように「スタートから所定時間経過後」とすることができる。ここでの「所定時間経過後」は、例えば1秒超経過後とすることが可能である。
さらに、会話演出1及びテロップ演出1の出現契機は、「スタート」時のみでなく、図61(a)に示すように、上述の会話演出2及びテロップ演出2について説明した「スタートから所定時間経過後」とすることが可能である。この場合は、更に会話演出2及びテロップ演出2の出現契機を、その後のタイミングとすることが可能である。
ここでの「その後のタイミング」としては、例えば、全ての回胴(51R、51C、51L)の回転中に、最初の停止ボタン(24L〜24R)に対する操作(ここでは「第1停止」と称する)があったときとすることが可能である。
さらに、会話演出1及びテロップ演出1の出現契機を、上述の「第1停止」とし、その後の会話演出2及びテロップ演出2の出現契機を、「第1停止」から所定時間経過(例えば1秒超経過)後に出現させることが可能である。
さらに、会話演出1及びテロップ演出1の出現契機を、上述の「第1停止から所定時間経過後」とし、その後の会話演出2及びテロップ演出2の出現契機を、「第1停止」に続く停止ボタン(24L〜24R)の操作(ここでは「第2停止」と称する)があったときとすることが可能である。
さらに、会話演出1及びテロップ演出1の出現契機を、上述の「第2停止」とし、その後の会話演出2及びテロップ演出2の出現契機を、「第2停止」から所定時間経過(例えば1秒超経過)後に出現させることが可能である。
さらに、会話演出1及びテロップ演出1の出現契機を、上述の「第2停止から所定時間経過後」とし、その後の会話演出2及びテロップ演出2の出現契機を、「第2停止」に続く停止ボタン(24L〜24R)の操作(ここでは「第3停止」と称する)があったときとすることが可能である。
さらに、会話演出1及びテロップ演出1の出現契機を、上述の「第3停止」とし、その後の会話演出2及びテロップ演出2の出現契機を、「第3停止」から所定時間経過(例えば1秒超経過)後に出現させることが可能である。
さらに、会話演出1及びテロップ演出1の出現契機を、上述の「第3停止から所定時間経過後」とすることが可能である。そして、この場合は、会話演出2及びテロップ演出2を出現させないことが可能である。
ここで、会話演出1及びテロップ演出1のいずれも、ここで説明した「スタート」から「第3停止から所定時間経過後」までのいずれか1つのタイミングで出現する場合があってもよく、或いは、複数のタイミングで出現する場合があってもよい。また、会話演出2及びテロップ演出2については、会話演出1及びテロップ演出1について定められた出現契機に対する次の段階の出現契機で出現し、対応する会話演出1及びテロップ演出1に円滑に続くものとすることが可能である。
また、テロップ演出1を、例えば「スタート」や「スタートから所定時間経過後」のタイミングで出現させ、その後に複数回のボタン操作があった後のタイミング(例えば「第3停止」のタイミングなど)で、テロップ演出2を出現させることなども可能である。
ここで、「第3停止」の後にテロップを出現させた場合には、遊技者に対し、より一層テロップに注目させることが可能となる。つまり、「スタート」の後においては、遊技者は、押し順ナビにより提示された押し順に注意しながら停止操作を行ったり、狙った図柄を停止させるため所謂目押しに集中したりする場合がある。このため、「第3停止」が終わり、遊技者が演出に集中し易くなった状況でテロップを出現させることで、遊技者に対し、テロップに注目させることができる。そして、テロップ演出をより一層有効に活用することが可能となる。
以上は、会話演出及びキャラクタ演出について、出現契機を時系列に並べた検討結果の説明であるが、会話演出とテロップ演出については、図62(a)に示すような関係を設けることも可能である。以下に、図62(a)に示す検討結果(No.1〜15)について順に説明する。
先ず、No.1に示すように、会話演出(図表中の左)は、キャラクタ、セリフ、及び、(キャラクタ名称)から構成されるものとする。ここで、キャラクタ名称を括弧書きで示すのは、これらの要素のうちで省略が可能なものであると考えられるからである。前述の会話演出1及び2(図58(a)、(b))では、キャラクタ名称(「キャラクタA」や「キャラクタB」の文字)も表示されている。
これに対しテロップ演出(図表中の右)は、(キャラクタ)、セリフから構成されるものとする。括弧書きの意味は会話演出と同様に、省略が可能であることを示している。前述のテロップ演出1及び2(図59(a)、(b))では、キャラクタ(キャラクタC)が省略されずに表示されている。
続いて、図62(a)の次段(No.2)に示すように、会話演出は、セリフに対して音声があるものとする。これと同様にテロップ演出も、セリフに対して音声があるものとする。ここで、必ず音声を伴う態様に限定されず、音声を伴わない態様で演出が実行される場合があるものとする。つまり、会話演出やテロップ演出は、セリフに対して音声がある場合と、ない場合があるものとすることが可能である。
また、会話演出(及び/又はテロップ演出)に係る音声の出力に関しては、以下のようにすることが可能である。例えば、スタートレバー25の操作(ここでは前述の「スタート」や「スタートから所定時間経過後」)を契機として実行した会話演出に対応する音声に関して、次遊技のスタートレバー25の操作を契機とした演出が実行されるまでに終了しない場合がある。しかし、会話演出に対応する文字列は、当該次遊技のスタートレバー25の操作を契機とした演出(会話演出やテロップ演出に限らない)が実行されるまでに全て表示されるようにする。
より具体的には、例えば、或る会話演出に係る音声データの再生時間が7秒であり、当該遊技の開始(スタートレバー25の操作)から次遊技の開始(次遊技のスタートレバー25の操作)までの最短時間を考える。そして、前述した最小遊技時間が4.1秒であることを考慮して、上記「最短時間」を、例えば約5秒とする。
このような場合、次遊技のスタートレバー25のONの直前は、まだ会話演出の音声データの再生時間が終了せず、約2秒程度残っている状態となる。そして、未再生の音声データが残っていても、次遊技のスタートレバー25の操作を契機に、前回の遊技に係る会話演出の音声出力を終了させる。
しかし、上述の会話演出の音声データ(ここでは7秒の音声データ)に対応する文字については、文字の表示開始時に、音声データに対応した全ての文字(全文)が表示されるようにする。このようにすることで、音声データの長さと、次遊技の開始までの時間に影響されずに、会話演出の意味の伝達を果たすことが可能となる。
また、会話演出(及び/又はテロップ演出)については、文字列の内容を表した音声にBGM(背景音楽、バックグラウンドミュージック)を重ねて出力することが可能である。そして、このような場合に、会話演出(及び/又はテロップ演出)の音声の音量を、上記BGMの音量よりも大きくすることが可能である。このようにすることで、文字(文字画像)を用いた演出に対し、相対的に関連性の強い演出を強調できる。そして、文字(文字画像)を用いた演出を、より有効に活用することが可能となる。
続いて、図62(a)のNo.3に示すように、会話演出は、期待度示唆を行うものとし、これと同様にテロップ演出も期待度示唆を行うものとする。ここで、「期待度示唆」は、何らかの役に当せんしている期待度を示唆する演出を意味している。また、この「期待度示唆」としては、前述した特別演出状態に含まれる演出であり、且つ、演出部18や回胴表示パネル28等の画像表示手段に表示される動画や静止画により、何らかの役の当せんや、有利区間での遊技への期待を煽るものなどを例示できる。
会話演出における期待度示唆演出の具体例を挙げれば、例えば、図58(b)の例におけるキャラクタBのセリフと、図58(c)の例におけるキャラクタBのセリフとで、文字列の内容と、文字の態様がいずれも異なっている。そして、図58(b)の例における文字の内容は前述したように「明日は雨らしいよ。」であるのに対し、図58(c)の例における文字の内容は「明日は雪が降るみたいだよ。」となっている。さらに、図58(b)の例における文字の態様は黒塗りであるのに対し、図58(c)の例における文字の態様は白抜きとなっている。
また、会話演出に係る図58(c)の例では、キャラクタAのセリフの文字の態様は黒塗りであり、キャラクタBのセリフの文字の態様は白抜きとなっている。つまり、図58(c)の例におけるキャラクタBのセリフの文字の態様は、期待度示唆がない図58(b)の例におけるキャラクタBの文字の態様とも異なっており、期待度示唆がある図58(c)の例において先に出現しているキャラクタAの文字の態様とも異なっている。
さらに、図58(c)を例として用いれば、会話演出1に係るキャラクタAのセリフの文字は基本となる通常の態様(「通常態様」、「基本態様」或いは「標準態様」などともいう)で描画されており(ここでは黒塗り文字で示す)、会話演出2に係るキャラクタBのセリフの文字は、キャラクタAとは異なる態様(「特殊態様」などともいう)で描画されている(ここでは白抜き文字で示す)。キャラクタAに係る上述の通常態様は、期待度示唆を伴わない図58(a)、(b)の例でも、キャラクタA及びキャラクタBに係る文字の態様として用いられているものである。
より具体的に説明すれば、文字の態様について、例えば、通常態様に係る通常の色(「通常色」、「基本色」或いは「標準色」などともいう)を白色(単一色による所謂ベタ塗り)とし、その他の特殊態様として、青色、黄色、緑色、赤色、金色、所定柄、虹色などの色や柄(「特殊色」や「特殊柄」などともいう)を設けているものとする。さらに、白色、青色、黄色、緑色、赤色、金色、所定柄、虹色の順で、役当せんの期待度や、演出の発展の期待度、及び(又は)、期待される遊技者の利益などが大きくなるものとする。
ここで、会話演出やテロップ演出に係る図58〜図62においては、黒色の線により明確な描画を行うため、通常態様(上述の具体例では白色としている)を黒色のベタ塗りにより図中に表し、特殊態様を白抜き(図58〜図60、図62(b))や、網掛け(図62(b)、(c))により表している。また、図61(a)〜(d)については後述する。
そして、例えば、会話演出2であれば、期待度示唆を行わない場合(図58(b)など)におけるキャラクタBのセリフの文字を白色(図中では黒色のベタ塗り)とし、期待度示唆を行う場合(図58(c)など)におけるキャラクタBのセリフの文字を、当せん役の種類や期待度に応じて、いずれかの特殊態様とする。
また、これに限らず、例えば、期待度示唆を行う場合(図58(c)など)において、会話演出1の段階(キャラクタAのセリフが出現する段階)で、キャラクタAに係るセリフの文字を特殊態様としてもよい。
そして、この場合は、続く会話演出2におけるキャラクタBの文字の態様を、キャラクタAの文字の態様に比べて、役当せん等の期待度が高い特殊態様とする場合があるようにすることが考えられる。さらに、キャラクタBの文字の態様を、キャラクタAの文字の態様と上記期待度が同じ特殊態様としたり、或いは、キャラクタAの文字の態様よりも上記期待度が低い特殊態様としたりすることも考えられる。
また、テロップ演出1やテロップ演出2の「期待度示唆」についても、上述したような会話演出1や会話演出2に係る「期待度示唆」の各種の関係を採用することが可能である。例えば、期待度示唆を行わないテロップ演出2に係る図59(b)の例では、テロップ演出2の文字が標準態様(図中では黒色のベタ塗り)で表示されているのに対し、期待度示唆を行う図59(c)の例では、テロップの文字は、特殊態様(図中では白抜き)で表示されている。
そして、テロップ演出についても、例えば、テロップ演出1及び2の文字をいずれも期待度示唆を行う態様で表示し、テロップ演出2の文字の態様を、テロップ演出1の文字の態様に比べて、役当せん等の期待度が高い特殊態様とする場合があるようにすることが考えられる。また、テロップ演出2の文字の態様を、テロップ演出1の文字の態様と上記期待度が同じ特殊態様としたり、或いは、テロップ演出1の文字の態様よりも上記期待度が低い特殊態様としたりすることも考えられる。
さらに、会話演出及びテロップ演出の両方について、特殊態様の例を挙げれば、ベルやスイカ、チェリーなどの小役(ここでは再遊技も小役に含める)に係る当せんの示唆に特殊態様を用いることが可能である。そして、例えば、ベルに関連付けた特殊態様として黄色、スイカに関連付けた特殊態様として緑色、チェリーに関連付けた特殊態様として赤色、再遊技に関連付けた特殊態様として青色を用いることなどが可能である。
また、例えば、各種のボーナス(サブボーナスを含む)に当せんしている場合や、これらに当せんしていることの期待を煽ろうとする場合に、金色、所定柄、虹色などのように、特殊態様の中でも相対的に高期待度の特殊態様(高期待度態様)で文字表示を行うことが可能である。
ここで、金色、所定柄、虹色などを「高期待度態様」と称する一方で、「高期待度態様」未満の期待度の特殊態様や、通常色(通常態様)をまとめて「低期待度態様」などと称することが可能である。また、「高期待度態様」を「高期待度特殊態様」と称し、「高期待度態様」未満の期待度の特殊態様を「低期待度特殊態様」などと称することも可能である。
さらに、高低の2段階に分けることに限らず、例えば「中期待度態様」や「中期待度特殊態様」の分類を設けてもよい。この「中期待度態様」や「中期待度特殊態様」には、例えば、黄色や緑色などを含めることが考えられる。
ここで、例えば、一部の色(白など)の文字を用いて行われる会話演出やテロップ演出を、前述した通常演出状態の演出に該当するものとし、その他の文字色で行われる会話演出やテロップ演出を、前述した特別演出状態の演出に該当するものとすることも可能である。
また、前述の「所定柄」としては、例えば、遊技機メーカに固有の柄(所謂メーカ柄)として広く遊技者に認識されているような柄を例示することができる。より具体的には、例えば、キリンの体表の模様を真似た柄(所謂キリン柄)や、シマウマの体表の模様を真似た柄(所謂ゼブラ柄)、トラの体表の模様を真似た柄(所謂トラ柄)、桜の花を真似た柄(所謂桜柄)等を例示できる。
また、遊技機メーカに固有のキャラクタとして広く遊技者に認識されているようなキャラクタを含む画像(キャラクタが単数の場合や複数の場合がある)を、ここでいう「所定柄」に含むことも可能である。さらに、遊技機メーカに固有のデザインとして広く遊技者に認識されているようなデザインの画像(例えばアルファベット文字の組合せなど)も、ここでいう「所定柄」に含めることが可能である。
また、期待度示唆を行う場合に、図59(c)、(d)に例示するように、文字情報の変化を伴わせることが可能である。例えば、テロップ演出(ここではテロップ演出2)におけるテロップが、例えば、特殊態様の中でも多くの場合には図59(c)に示すように「明日も晴れるかなー」となるようにする。
これに対し、相対的に少ない割合で、図59(d)に示すように別な文字列(ここでは「明日は雪かなー」)が出現した場合には、文字列の変化がなかった場合(図59(c)となった場合)に比べて、役当せん、演出の発展、遊技者の期待できる利益などが大きくなるようにすることが可能である。
そして、図59(c)の例では、「明日も晴れるかなー」のテロップにより遊技者において導かれ易い印象(「観念」や「概念」などともいう)は、太陽、晴天、日差し等といったように、演出内の表示内容(ここでは太陽の画像)と同一(或いは類似)のものとなり易いようにしている。これに対し、図59(d)の例では、「明日も雪かなー」のテロップにより遊技者において導かれ易い印象が、降雪、粉雪、吹雪等といったように、演出内の表示内容(ここでは太陽の画像)との異なる(非類似)のものとなり易いようにしている。
また、テロップ演出に係る図59(c)に示すような「文字情報変化あり」の演出と、図59(d)に示すような「文字情報変化なし」の演出は、会話演出(例えば会話演出2)についても適用が可能である。この場合は、期待度が相対的に低い会話演出2を「文字情報変化なし」とする。そして、会話演出2が「文字情報変化あり」であり、会話演出2に用いられる文字の態様が、「文字情報変化なし」の場合の文字の態様と異なる場合には、役当せん等の期待度が相対的に高くなるように、各種の乱数に係る置数を決定しておくことが可能である。
また、期待度示唆の態様での会話演出やテロップ演出は、各会話演出や各テロップ演出出現の当初(最初)から開始されることに限らず、例えば、他の態様(通常態様又は他の特殊態様)での表示から所定時間経過した後に変化する場合があるようにしてもよい。
また、テロップ演出が示唆し得る期待度を、複数段階あるようにすることが可能である。例えば、所定の態様の期待度示唆(第1期待度示唆)が行われた場合、演出の発展や役当せん等の期待度が70%であり、他の所定の態様の期待度示唆(第2期待度示唆)が行われた場合、上記期待度が90%であるとする。この場合、テロップ演出に係る期待度示唆の段階数は2段階であるとする。
さらに、テロップ演出以外の演出(例えば、所定の物語(ストーリー)に沿って演出が進行するモードでの演出)でも期待度示唆が行われ、この期待度示唆より示唆される期待度も複数段階あるようにする。例えば、所定の態様の期待度示唆(所定演出モード第1期待度示唆)が行われた場合、演出の発展や役当せん等の期待度が40%であり、他の所定の態様の期待度示唆(所定演出モード第2期待度示唆)が行われた場合、上記期待度が70%であり、更に他の所定の態様の期待度示唆(所定演出モード第3期待度示唆)が行われた場合、上記期待度が90%であるとする。この場合、テロップ演出以外の演出に係る期待度示唆の段階数は3段階であるとする。
このように、テロップ演出に関しては、テロップ演出以外の演出よりも、期待度演出の段階数が少なくなるようにすることが可能である。このようにすることで、テロップ演出の種類数を、他の演出に比べて少ないものとすることが可能である。ここで、テロップ演出については、通常、遊技者に演出の理解度を高めてもらうための機能などを有すると考えられ、内容の制約を受けがちであるあるが、内容のバリエーションを増やすのが困難であったとしても、少ない段階数の期待度示唆で済ませることが可能である。
なお、会話演出やテロップ演出のような文字による演出を行うに際して、個々の文字は、図62(b)に例示するように、輪郭部811と、輪郭部811の内側の部分(内側部812)とで構成することが可能である。そして、文字色や文字柄は、内側部812だけではなく、輪郭部811にも施す(適用する)ことが可能である。
ここで、図62(b)には、「今日はいい天気だなー」や「明日も晴れるかなー」における「ー」の文字(「長音記号」、「音引き」、「伸ばし棒」などともいう)を概略的に示している。さらに、図62(b)では、輪郭部811に網掛けを施して、所定柄の表示が表れていることを模式的に示している。なお、図62(b)では、内側部812を白色で示しているが、内側部812を特殊態様とすることも可能である。
ただ、このように文字を輪郭部811と内側部812に分けた場合、輪郭部811の幅W1は、内側部812の幅W2に比べ、多くの場合(或いは大部分)において小さくなる。このため、輪郭部811に施した特殊態様のデザインについては、遊技者に視認され難くなると考えられる。このため、輪郭部811に黒色以外の彩色や所定柄を付して描画しても、彩色や所定柄が視認し難くなると考えられる。
このため、輪郭部811内に特殊柄を採用することも可能であるが、視認性を重視する場合には、輪郭部811を黒色とすることが望ましい。しかし、秘匿性の高い演出を行う場合には、輪郭部811内に特殊柄を採用することや、輪郭部811の彩色を内側部812の彩色と近い色(例えば、色相環において90°、好ましくは45°以内の位置関係にある色等)を採用することなどが有効と考えられる。
続いて、図62(a)に戻り、図62(a)のNo.4に示すように、会話演出のほうがテロップ演出よりも、期待度示唆の演出の種類が多くなるようにする。期待度示唆の演出の種類としては、前述のような文字色の種類や、柄の種類を例示することができる。そして、会話演出では、内側部812が、青色、緑色、赤色、所定柄、虹色で表示される場合があるが、テロップ演出では、内側部812が、青色、緑色、赤色、虹色で表示される場合があるものの所定柄では表示されないようにすることなどを例示できる。
また、テロップ演出に関して、所定の態様のテロップ(例えば虹色以外である第1態様テロップ)は出現してから所定時間(例えば5秒)が経過するとで消えるが、その他の所定の態様のテロップ(虹色である第2態様テロップ)は上記時間経過(ここでは5秒)が経過しても消えず、上記第1態様テロップよりも長く表示されるようにすることが可能である。そして、第2態様テロップは、例えばボーナス類の確定の報知(確定演出)や、図柄の組合せが停止表示されるまで、表示され続けるようにする。このようにすることで、確定演出など遊技の結果に係る情報が遊技中に消えてしまって、遊技者が混乱したり違和感を抱いたりするのを防止できる。
また、図62(a)のNo.5に示すように、会話演出では機種説明を行うが、テロップ演出では、機種説明ではなく、動画に合わせた文字(非機種説明の一例)が表示される。ここで、「機種説明」は、遊技方法、演出における物語(ストーリー)の説明や、登場するキャラクタの説明、或いは、どの演出状況でどのような演出が実行されれば高期待度の演出(高期待度演出)であるのか、などといった事項の説明を例示することができる。会話演出に係る図58(d)には、会話演出1において、停止ボタン24L〜24Rの操作に関し、「押し順ナビ通りに押すといいことがあるよ!」といった遊技方法の説明(機種説明)を例示している。
また、図62(a)のNo.6に示すように、会話演出の表示領域とテロップ演出の表示領域の配置を、画面上において異ならせる。例えば、会話演出の表示領域の全体(又は表示面積の大部分や半分以上など)をテロップ演出の表示領域よりも上に配置し、テロップ演出の表示領域を会話演出の表示領域よりも下に配置することなどを例示できる。
ここで、図58(a)〜(d)と図59(a)〜(d)の関係においては、キャラクタAのセリフ表示領域803AやキャラクタAのセリフ表示領域803Aの全体が、テロップ演出におけるテロップ表示領域807の表示位置よりも上方となる位置で表示されている。
つまり、もし仮に、会話演出に係るキャラクタAのセリフ表示領域803A及びキャラクタBのセリフ表示領域803Bと、テロップ演出におけるテロップ表示領域807とを同時に画面中に表示したとすると、両セリフ表示領域803A及び803Bは、テロップ表示領域807よりも上方に位置し、両方のセリフの吹き出しとテロップの文字列との間に重なりが生じないようになっている。
また、これに限らず、会話演出とテロップ演出に係る画像オブジェクトの位置関係を、もし仮に両演出を同時に画面中に表示したとした場合に、例えば、キャラクタAのセリフの吹き出しとテロップとは全く重ならないが、キャラクタBのセリフの吹き出しとテロップとが重なるようにすることも可能である。この場合は、キャラクタBのセリフ表示領域803Bの大部分(半分以上)が、テロップの表示位置よりも上方となる位置で表示されるようにすることが考えられる。
また、図62(a)のNo.7に示すように、会話演出の表示は、前述の押し順ナビの表示と重ならない位置で行う(図58(e))。これに対し、テロップ演出の表示は、前述の押し順ナビの表示と重なり得る位置で行う(図59(e))。そして、遊技者に対し相対的に熱い印象を抱かせ得る演出(ここではテロップ演出)は押し順ナビの表示により隠れずに視認できるようにし、他方の演出(ここでは会話演出)は押し順ナビの表示により隠される場合があるようにすることが可能である。
このようにすることで、相対的に所謂熱い演出(ここではテロップ演出)を、演出内容の変化や、演出の進行などがあっても、他の演出に邪魔されずに遊技者が視認し得るものとすることができる。
ここで、図58(e)及び図59(e)では、押し順ナビを丸数字の1〜3により示している。そして、直近で(この場合最初に)停止操作すべき位置に対応した丸1を他の丸数字よりも大きく表示しており、次に操作すべき位置に対応した丸2を中間の大きさの丸数字により表示している。さらに、その次に操作すべき位置に対応した丸3を最も小さい大きさの丸数字により表示している。
そして、図示は省略するが、丸1に対応する停止ボタンが押された後には、丸2の画像オブジェクトが最大となり、丸3の画像オブジェクトが中間の大きさとなり、丸1の画像オブジェクトが最小となる。さらに、丸2に対応する停止ボタンが押された後には、丸3の画像オブジェクトが最大となり、他の数字の画像オブジェクトは小さくなる。そして、丸3に対応する停止ボタンが押された後には、押し順ナビは、新たなナビ表示に入れ替わったり、消去されたりする。
そして、押し順ナビがテロップ演出に隠されないようにするにあたっては、押し順ナビの表示レイヤ(丸1、丸2、丸3の画像に係るレイヤ)を、文字列(ここではテロップ演出のテロップ)に係る表示レイヤの配置よりも優先させて、上に配置することが考えられる。また、この場合に、ナビ表示の文字サイズ(丸1〜丸3の全て若しくは1部)を、テロップの個々の文字サイズよりも大きくすることが可能である。
さらに、「第3停止」のタイミングでテロップが出現する場合は、そのときの押し順ナビの表示が消え、新たな押し順ナビの表示が出現する前のタイミングでテロップが出現するようにすることが可能である。また、新たな押し順ナビの表示が直ぐに行われないような場合や、押し順ナビが終了したような場合でも、「第3停止」のタイミングでテロップを出現させることが可能である。このようにすることで、遊技者が、押し順ナビ表示の視認に集中し得るようになる。そして、遊技者による操作順の誤り(所謂押し順ミス)を防止しつつ、その後のテロップ演出の視認も容易にし得るようになる。
また、停止ボタンの押し順が役入賞に影響を及ぼす場合がある状況で、役入賞に必要な押し順で停止操作が行われて役入賞があった後、遊技者が「第3停止」に係る停止ボタンから手指を離すと、役入賞が得られた旨の演出(所謂GET演出)と、入賞役に応じた遊技メダルの払出しが行われるような場合について考える。このような場合、GET演出の音声(GET音声)の出力が終了した後に払出しが終了し、その後にGET演出の表示(GET表示)が終了するようにする。このようにすることで、遊技者は、役入賞に必要な押し順に正解(押し順正解)したことを円滑に把握することができるようになる。
つまり、遊技者は、「第3停止」に係る停止ボタンを離すまでは、停止ボタンの操作に集中しているのが通常である。このため、GET表示のタイミングを適正に規定しておかなければ、遊技者が、停止ボタンの操作に集中し過ぎて、押し順正解したことを視認することができない場合が生じ得る。したがって、先ず音声(ここではGET音声)により、遊技者がGET表示に意識が向いていなくても、押し順正解を認識できるようにする。その後、遊技者が気持ちを落ち着けた状態で、GET表示を視認できるようにし、GET演出を有効に活用できるようにする。
また、上述のようなGET演出が行われる場合にテロップ演出を行う際にはGET表示の終了前にテロップ演出の表示を行い、GET表示の終了時にはテロップも表示されているようにする。このようにすることで、押し順や払出し注意を払う必要がない落ち着いた状況で、遊技者がテロップを視認できるようになる。
また、図62(a)のNo.8に示すように、会話演出もテロップ演出も、スタートから停止に係る1回の遊技中(1遊技中)に2回出現する場合があるようにする。しかし、会話演出では、2回分の文字表示(ここでは会話演出1及び2の文字表示)が同時に同じ画面上で表示される場合があるのに対し、テロップ演出では、2回目のテロップ(ここではテロップ演出2のテロップ)が出現する際には、1回目のテロップ(ここではテロップ演出1のテロップ)が画面から消去される(或いは事前に消去されている)。
例えば、会話演出に係る図58(b)では、会話演出1及び2の吹き出しがいずれも同時に表示されている。これに対し、テロップ演出に係る図59(b)では、テロップ演出2のテロップが表示された際には、テロップ演出1のテロップ(図59(a))は消去されている。
また、会話演出の消去に関しては、以下のように考えることが可能である。例えば、会話演出については、前述のように、テロップ演出よりも相対的に期待度が低い演出とする。このようにした場合には、会話演出により遊技者の期待を煽る効果は相対的に得られ難くなり、会話演出は、所謂賑やかしの役割を担った演出となる。そして、会話演出は、遊技者にとって有利な結果に繋がらない可能性が高いものとなる。したがって、このようにした場合には、会話演出が行われている時間を、所定の最大時間(例えば5秒)以内とし、会話演出によって遊技者に与え得る倦怠感を低減できるようにする。
また、テロップ演出の消去に関して、以下のように考えることが可能である。例えば、テロップ演出については、同時に表示されるキャラクタの動きや物語(ストーリー)の進行などに合わせて表示されることが多いものとする。そして、テロップ演出については、演出の進行に合わせて適切にテロップを消去し、キャラクタの動きや物語の進行などと整合性のとれた、テンポのよい演出とすることができる。
また、例えば、テロップ演出1が「スタート」のタイミングで出現し、テロップ演出2が「第3停止」のタイミングで出現する場合、テロップ演出1の表示中に「第3停止」があると、テロップ演出1が消えてテロップ演出2が出現するようにすることが考えられる。このようにすることで、演出の進行に合わせて適切にテロップを消去でき、テンポのよい演出を実行することが可能となる。
また、図62(a)のNo.9に示すように、会話演出が出現する割合に関しては、スタートレバー25の操作を契機として出現する割合が最も高いものとする。例えば、前述の図61(a)において、会話演出1の各出現契機のうちでは、「スタート」又は「スタートから所定時間経過後」に該当するタイミングで出現する割合が、他のいずれのタイミングで出現する割合よりも多くなるように、出現割合を定めておく。
ここで、「スタート」と「スタートから所定時間経過後」のタイミングの合計での割合が、他の「第1停止」等のいずれのタイミングと比べても多いようにすることが可能である。また、「スタート」と「スタートから所定時間経過後」のうちの「スタート」のみ(或いは「スタートから所定時間経過後」のみ)が、他のいずれのタイミングの割合よりも多くなるようにすることが可能である。
さらに、「スタート」と「スタートから所定時間経過後」のうちのいずれか一方(例えば「スタート」)のみが、他のいずれのタイミングの割合と比べても多いようにし、他方(例えば「スタートから所定時間経過後」)が、他のいずれかタイミングの割合よりも少ないようにすることが可能である。
このように出現契機の割合が定められた会話演出に対して、テロップ演出については、連続演出が行われない状況(「非連続演出時」、「単発演出時」などともいう)には、第3停止を契機に出現する割合が最も高いものとする。例えば、図61(a)に示した各出現契機のうちでは、「第3停止」又は「第3停止から所定時間経過後」に該当するタイミングで出現する割合が、他のいずれのタイミングで出現する割合よりも多くなるように、出現割合を定めておく。
ここで、「第3停止」又は「第3停止から所定時間経過後」のタイミングの合計での割合が、他の「スタート」等のいずれのタイミングと比べても多いようにすることが可能である。また、「第3停止」又は「第3停止から所定時間経過後」のうちの「第3停止」のみ(或いは「第3停止から所定時間経過後」のみ)が、他のいずれのタイミングの割合よりも多くなるようにすることが可能である。
さらに、「第3停止」と「第3停止から所定時間経過後」のうちのいずれか一方(例えば「第3停止」)のみが、他のいずれのタイミングの割合と比べても多いようにし、他方(例えば「第3停止から所定時間経過後」)のみが、他のいずれかタイミングの割合よりも少ないようにすることが可能である。
なお、会話演出を、「スタート」や「スタートから所定時間経過後」のタイミングよりも、「第1停止」や「第1停止から所定時間経過後」のタイミングで、出現する割合が多くなるようにしてもよい。
続いて、図62に戻り、図62(a)のNo.10に示すように、会話演出及びテロップ演出の出現個数に関しては、会話演出は、各出現契機(例えば図61(a)に示した各出現契機など)について1個のみ出現するようにする。これに対しテロップ演出の出現個数に関しては、各出現契機(例えば図61(a)に示した各出現契機など)について1個のみでなく、複数個出現する場合があるようにする。
例えば、会話演出1及び2は、各出現契機(例えば図61(a)に示した各出現契機など)に対して1個のみ出現するようにする。つまり、会話演出1及び2のそれぞれにおいて、会話のセリフは1回の吹き出しの出現毎に完結するようにする。会話演出に係る図58(a)の例では、「今日は晴れて良かった!」のセリフの出現により、この出現契機でのキャラクタAのセリフは完結している。
これに対しテロップ演出の出現個数に関しては、各出現契機(例えば図61(a)に示した各出現契機など)に対して1個のみでなく、複数個出現する場合があるようにする。例えば、テロップ演出に係る図59(a)、(b)の例を用いれば、図59(a)に示す「今日はいい天気だなー」のテロップの後に、テロップ演出1内のテロップとして、図示は省略するが、例えば「と思ったけど雲が出てきたな。」のような文字列を表示する。そして、その後のテロップ演出2として、図59(b)に示すような「明日も晴れるかなー」のテロップを表示する。
ここで「個数」は、各出現契機における一連の文字列を単位とした計数に基づくものとしている。例えば、図58(a)や図59(a)の例を用いれば、会話演出1の「今日は晴れて良かった!」や、テロップ演出1の「今日はいい天気だなー」の一連の文字列を1個と数えている。そして、例えば、図59(a)に例示したテロップ演出1については、上述の「と思ったけど雲が出てきたな。」のような、他の一連の文字列が続く場合があるが、図58(a)に例示した会話演出1については、「今日は晴れて良かった!」の後に続く文字列がないものとする。
このように演出個数の条件を定めることで、会話演出に関しては、1回の出現契機につき1個とすることで、遊技者が会話演出の区切りを把握し易いようにすることができる。さらに、会話演出について、どの契機で出現したかによって期待度を相違させるといったゲーム性を実現することが可能となる。また、テロップ演出については、演出の進行に合わせて適切にテロップを消去したり切り替えたりすることで、演出の進行と整合性のとれたテンポのよい演出を実行し易くなる。
なお、テロップ演出1について、上述のように、文章として繋がりのある文字列を前後2回に分けて出力するものであってもよい。さらに、文章としては分断されている内容の複数(例えば2つ)の文字列を、前後に続けて出力するものであってもよい。さらに、テロップ演出1について、先に表示されたテロップを消去してから、後に表示されたテロップを表示することが考えられるが、これに限らず、先に表示されたテロップを消去せず、テロップ演出1に係る前後のテロップが、同時に同じ画面に表示される場合があるようにしてもよい。
続いて、図62(a)のNo.11に示すように、会話演出とテロップ演出に係る文字数(文字情報の数)に関しては、会話演出のほうがテロップ演出よりも、相対的には、少ない場合が多いようにする。そして、テロップ演出のほうが会話演出よりも、文字情報の数が相対的には多くなるようにする。
このような関係は、例えば、全ての種類の会話演出と、全ての種類のテロップ演出とについて、それぞれの文字数を合計し、各々の合計値を、各々の種類数により除算して(除して)得られた値の大小関係を比較することなどによって、確認することが可能である。また、設計上定められた各々の種類の演出の出現割合(予め定めた期間における実測上得られた出現割合でもよい)と、各々の種類に係る文字数の合計とで乗算を行い、得られた値に基づいて大小関係を判断することも可能である。さらに、ここで説明した以外の方法により、大小関係を規定するようにしてもよい。
続いて、図62(a)のNo.12に示すように、会話演出とテロップ演出の改行については、会話演出では改行がされる場合があるものとし、テロップ演出については改行がされないものとする。
また、図62(a)のNo.13に示すように、会話演出とテロップ演出の出現し易い遊技状態については、テロップ演出は、会話演出に比べて、複数回の遊技を跨ぎ継続性をもって行われる演出(連続演出)中に出現する割合が多いものとする。これに対して会話演出は、テロップ演出に比べて、連続演出中でない状況(「非連続演出中」、「単発演出中」などともいう)に出現する割合が多いものとする。
具体的には、通常時(非連続演出時、単発演出時)には、テロップ演出(例えばテロップ演出1)は「スタート」や、「第3停止」などのタイミングで出現し易いようにするが、連続演出中は、その他のタイミング(例えば「第1停止」や「第2停止」など)でテロップ演出(例えばテロップ演出1)が出現する割合が、通常時(非連続演出時、単発演出時)よりも増えるようにすることが考えられる。また、連続演出中は、上記「その他のタイミング」でのテロップ演出の出現割合が、「スタート」や「第3停止」などのタイミングでの出現割合よりも多くなるように置数を決定することが考えられる。
また、連続演出でない非連続演出時(単発演出時)でのテロップ演出と、連続演出時でのテロップ演出とで、連続演出時の方が「第1停止」でのテロップが出現し易いものとする。つまり、連続演出を、非連続演出(単発演出)に比べて、期待度が高く、遊技の結果に重要な演出として用いられる。そして、連続演出時の演出態様を多様化するため、「第1停止」でもテロップ演出が行われ易いようにし、停止操作毎に演出を進展させ易いようにする。
また、図62(a)のNo.14に示すように、会話演出及びテロップ演出とエラー表示との関係については、会話演出はエラー表示(エラー報知に係る演出)の背後に重畳されるものとする。これに対しテロップ演出は、エラー表示に重畳されないものとする。
例えば、図58(f)では、「HPエラー」に係るエラー表示画像808のレイヤの表示が、会話演出1及び2に係る画像のレイヤよりも優先されている。そして、エラー表示画像808が、会話演出1及び2の上に重畳されて、会話演出1及び2を隠している。
しかし、テロップ演出に関しては、図59(f)に例示するように、テロップ表示領域807の位置がエラー表示画像808の表示位置と重ならないように、両者の位置関係や大小関係が決められている。このため、エラー表示画像808が表示されても、テロップ表示領域807のテロップが、テロップの内容を判別できる程度に視認可能となっている。
このようにすることで、相対的に所謂熱い演出(ここではテロップ演出)を、エラー表示があっても視認可能とすることができる。そして、エラー表示中に、演出内容の変化や、演出の進行などがあっても、エラー表示画像808に妨げられずに、遊技者が演出の状況を認識することができる。
ここで、エラー表示画像808によるエラー表示は、全てのエラー表示であることに限らず、一部のエラー表示としてもよい。例えば、演出部18の画面全体を用い、会話演出やテロップ演出の全体を覆い隠すようなエラー表示(図示略)と、エラー表示画像808のように遊技に係る演出の表示を一部残すようなエラー表示とを行うことが可能である。
また、エラー表示画像808のようなサイズのエラー表示は、HPエラー(ホッパエラー)に限られるものではなく、他の種類のエラーを報知するものであってもよい。そして、ここでいう「他の種類のエラー」としては、遊技操作エラーを例示することができる。
さらに、この「遊技操作エラー」としては、例えば、回胴回転開始後に所定時間(例えば3分など)を経過しても、最初の停止操作である「第1停止」が行われなかった場合に「リールを止めてください」の文字のエラー表示を行うエラーを例示することができる。さらに、この「遊技操作エラー」に係るエラー表示を、サブ制御基板31におけるサブメインCPU86の管理により検出処理と報知処理が行われるものとすることが可能である。
また、図62(a)のNo.15に示すように、会話演出及びテロップ演出とサブ入力スイッチ78との関係については、会話演出及びテロップ演出のいずれも、遊技者がサブ入力スイッチ78を押下すると消去され、演出が、サブ入力スイッチ78の操作に応答したものへ移行する場合があるようにする。
ここで、サブ入力スイッチ78の押下態様としては、所定時間(例えば0.2秒未満)程度の1回の操作態様である所謂単発押し、所定時間(例えば0.2秒未満)程度の所定回数(複数回)以上の操作態様である所謂連打、及び、所定時間(例えば1秒以上)程度の継続した操作である所謂長押しなど、一般的な種々の操作態様を採用できる。
また、図62(a)に示したような会話演出とテロップ演出の関係のほか、会話演出については以下のような特徴を設けることができる。例えば、会話演出1については、前述の通常色(通常態様)や、低期待度態様での演出の出現割合を、高期待度態様での演出の出現割合よりも多くする。これに対し、会話演出2については、高期待度態様での演出の出現割合を、通常色(通常態様)や低期待度態様での演出の出現割合よりも多くする。
また、会話演出1については、使用される文字に係るフォントの大きさを1種類とし、会話演出2については、使用される文字に係るフォントの大きさを2種類以上とする。そして、会話演出1については、同じフォントサイズでの演出が行われるようにする。
また、会話演出2については、例えば、会話演出1のフォントサイズと同じサイズで行われる会話演出(ここでは「会話演出2−1」と称する)と、会話演出2−1よりも相対的に大きいフォントサイズで行われる会話演出(ここでは「会話演出2−2」と称する)があるようにする。なお、会話演出2−1のフォントサイズを、会話演出1のフォントサイズと同じにすることに限定されず、例えば、両者の会話演出(会話演出1と会話演出2−1)のフォントサイズを異ならせてもよい。
また、会話演出1については、会話演出2の表示に応じて一部視認できない場合があるようにする。例えば、図58(g)に示すように、会話演出1のセリフ表示領域803Aの大部分に、会話演出2のセリフ表示領域803Bを重畳する。そして、図58(g)の例では、重畳の割合は、会話演出1のセリフの内容(文字列)が、会話演出2のセリフにより隠されて判読できない程度(例えば40%〜100%、好ましくは60%〜90%程度)となっている。
なお、会話演出1のセリフの表示に会話演出2のセリフの表示を重畳するにあたり、例えば図58(h)に示すように、会話演出1のセリフの文字列が全く隠れないようにしたり、一部が隠れても判読できる程度となるようにしたりすることも可能である。
続いて、テロップ演出については以下のような特徴を設けることができる。例えば、会話演出及びテロップ演出のいずれも、前述したようなフリーズ演出中に出現する場合があるようにする。そして、テロップ演出がフリーズ演出中に出現する割合は、フリーズ演出中に会話演出が出現する割合よりも多くなるようにする。
また、テロップ演出については、テロップ演出1のテロップが、出現から所定時間(例えば3秒等)が経過すると消える場合や、この所定時間が経過しても次のテロップ(テロップ演出2のテロップなど)が出現するまで消えない場合とがあるようにする。
また、テロップ演出については、意味を認識ができない(或いは困難な)演出である文字化け演出を含むものとする。図59(h)は、テロップ演出における文字化け演出の一例を示している。図59(h)の演出例は、図59(c)、(d)のような期待度示唆に含まれるものであり、図59(c)、(d)のような期待度示唆に代えて、或いは、図59(c)、(d)のような期待度示唆に続けて出現させることが可能なものとなっている。
図59(h)の演出例においては、図59(c)、(d)の演出例と同様に、キャラクタCの画像、太陽Dの画像、テロップ(テロップ表示領域807)が表示されている。そして、テロップ表示領域807におけるテロップの文字列が、遊技者にとって意味を読解することができない「くぁwせdrftgyふじこ」となっており、文字化けが生じたことが演出として表現されている。
さらに、文字列の出力に合わせて対応する音声の出力(音出力)を行う場合には、音声の内容は、文字化けが無い場合の音声と同じにすることが可能である。例えば、文字化けの演出に合わせて、文字化けがなかった場合のテロップ(図59(b))の内容と一致した「明日も晴れるかなー」の音声を出力する、といったことが可能である。そして、このような文字化け演出は、図59(b)の演出例のように文字化けが行われない場合に比べて、高期待度であることを示唆するものとすることが可能である。
さらに、このような文字化け演出は、相対的に低期待度の演出(低期待度演出)となっている演出(ここでは図59(b)に示す演出)のテロップと同じ色、及び、同じフォントサイズの文字を用いて行われる場合があるようにすることが可能である。このようにすすることで、却って文字化けを強調でき、文字化けしていることを遊技者に認識させ易くなると考えられる。
また、テロップ演出については、テロップのための背景画像(テロップ背景の画像)が付加される場合があるようにする。この背景画像としては、図62(c)に示すような背景枠813を例示することができる。そして、背景枠813の内側部814に背景用の彩色を行ったり、画像を表示したりすることが考えられる。また、図示は省略するが、背景枠813の表示を行わず、テロップの背後に、前述の所定柄や、所定の図形などを表示することも考えられる。
また、テロップ演出については、例えば、同じ文字が同じ配列で並べられた複数の文字列に関して、文字の色(文字色)が変わる(異なる)場合があるようにする。さらに、文字の輪郭(輪郭部811)の色が変わる(異なる)場合や、文字の背景(背景枠813など)の色や柄等の態様が変わる(異なる)場合があるようにする。また、背景枠813の内側部814に背景用の彩色を行ったり、画像を表示したりすることが考えられる。
また、例えばテロップ演出において、前述した輪郭部811に、所定柄(メーカ柄など)を適用した場合には、画面上の輪郭部811以外の部位(例えば背景中など)の画像や、画像オブジェクト(例えば部屋内の備品や、登場人物が身に着けているアイテムなど)にも、メーカ柄を適用した画像を表示するようにする。つまり、メーカ柄のような所定柄が輪郭部811に表示される場合は、輪郭部811の幅や面積が小さく、前述したように遊技者が所定柄を視認し難くなり易い。このため、別の部位の画像中にも同様の所定柄を表示し、所定柄の認識し易さを補うようにする。このようにすることで、遊技者が所定柄を認識し易くすることができる。
ここで、上述の「同じ所定柄」には、類似のものや、類似しているとまで断定できなくても遊技者が所定柄であることを認識できるようなものなどを含むものとする。また、輪郭部811以外の部位に表示される所定柄のサイズは、輪郭部811に表示される所定柄のサイズと同等であっても、或は異なっていてもよい。そして、所定柄のサイズを異ならせる場合には、輪郭部811以外の部位に表示される所定柄のサイズを、輪郭部811に表示される所定柄のサイズよりも大きくすることが考えられる。
また、テロップ演出として、例えば、スロットマシン10から出力される楽曲の歌詞を文字列により表示すること(歌詞のテロップ演出)が可能である。そして、歌詞のテロップ演出を行う場合には、歌詞を表した文字(輪郭部811及び内側部812のうちの少なくとも一方など)には、高期待度態様(ここでは金色、所定柄、虹色など)での演出を行わないようにする。
また、テロップ演出として、テロップが高期待度態様となる場合は、文字のフォントが通常態様や、他の特殊態様の場合よりも大きくなる状況が生じ得るようにする。例えば、図59(g)の例においては、図59(c)と同様の期待度示唆が行われているが、「明日も晴れるかなー」のフォントサイズとしては、図59(b)の通常態様でのフォントや、図59(c)の特殊態様(期待度示唆)でのフォントよりも大きいものが採用されている。
また、テロップ演出として、テロップの表示開始から所定時間(3秒など)の経過によりテロップが消えるが、所定態様(例えば虹色)のテロップが表示された場合には、この所定態様(ここでは虹色)のテロップは上記所定時間(例えば3秒など)が経過しても消えないようにする。
ただし、遊技中ではない待機の状況で待機表示が開始される状況では、所定態様(ここでは虹色)のテロップが表示された場合であっても、このテロップは、他の態様のテロップと同様に、待機表示へ移行する際に消去されるようにする。ここで、「待機表示」としては、待機中に演出や遊技の内容等を表示するデモ表示(デモンストレーションの表示)や、社名や機種名等を表示するブランド表示などを例示できる。
また、テロップ演出として、「第1停止」や「第2停止」のタイミングでは、テロップが出現する割合は、テロップが出現しない割合よりも小さくなるよう乱数の置数を定め、テロップが出現し難くなるようにする。しかし、複数回の遊技を跨いで継続性をもって行われる演出(連続演出)中には、テロップが出現する割合は、出現しない割合よりも大きく、テロップが出現し易くなるようにする。
また、テロップ演出として、遊技者にとって有利な遊技状態で遊技行うことが可能となる期間(有利区間)中の方が、有利区間ではない区間(「通常区間」や「非有利区間」などともいう)に比べて、テロップ演出が実行され易くなるようにする。
また、会話演出及びテロップ演出のいずれについても、前述したように、ベルや再遊技などの小役に係る当せん役を示唆する場合や、ボーナス類の当せんを示唆する場合があるようにする。ここで、「ボーナス類」としては、BBやRBを挙げることができるが、BBやRBなどのボーナスだけでなく、RT、AT、ARTなどを含めることが可能である。
さらに、会話演出やテロップ演出以外の演出画像(画像オブジェクト)の色に関して、例えば、黄色で表示された場合にはベルの当せんが示唆され、青色で表示された場合には再遊技の当せんが示唆されるものとする。また、緑色で表示された場合にはスイカを含む図柄組合せの当せんが示唆され、更に赤色で表示された場合にはチェリーを含む図柄組合せの当せんが示唆されるものとする。
そして、小役に係る示唆については、会話演出やテロップ演出に係る画像以外の画像で行われる演出のほうが、会話演出やテロップ演出に係る画像で行われる演出よりも相対的に多くなるように、演出の抽選割合を定めておく。これに対して、ボーナス類に係る示唆については、会話演出やテロップ演出において特殊態様で行われる演出のほうが、会話演出やテロップ演出以外の画像で行われる演出よりも相対的に多くなるように、演出の抽選割合を定めておく。
続いて、会話演出やテロップ演出とグラフィカルユーザーインタフェース(GUI、以下では「ユーザーインタフェース」と称する)との関係について説明する。先ず、ユーザーインタフェースとしては、ATやRT等の遊技者に有利な遊技状態において、当該遊技状態における現在(そのとき)までのゲーム数の表示(ゲーム数インタフェース画像の表示)を例示することができる。図60(a)の会話演出の例や、図60(b)〜(d)のテロップ演出の例では、画面の左上隅部にゲーム数表示領域816が出現し、このゲーム数表示領域816に「ゲーム数:25G」のゲーム数表示が行われている。
また、ユーザーインタフェースの他の例としては、遊技中に順次貯めることが可能な所定のポイント数の表示(ポイント数インタフェース画像の表示)を例示することができる。図60(a)〜(d)の例では、画面の左下隅部にポイント数表示領域817が出現し、このポイント数表示領域817に「150/1000」のゲーム数表示が行われている。
ここで「ポイント数」は、遊技中の演出として、所定の場合に累積される数値を意味している。そして、この「ポイント数」は、例えば、前述した特別状態(上乗せ特化ゾーンやサブボーナスなど)の抽選に当せんする期待値が高い遊技状態(高確率状態など)で増え易い(一定時間あたりの増加数が相対的に多い)ようにすることなどが可能なものである。
会話演出に係る図60(a)の例では、ゲーム数表示領域816の画像が、キャラクタ名称表示領域802Aのキャラクタ名に重畳されており、キャラクタ名が、遊技者が判読できない程度に隠されている。つまり、ゲーム数表示領域816のレイヤの表示が、キャラクタ名称表示領域802Aのレイヤの表示に優先されており、ゲーム数がキャラクタ名の上に表示される場合があるようになっている。
そして、ゲーム数によりキャラクタ名が隠される量(隠される面積)は、遊技者がキャラクタ名を判読できない程度となっている。なお、これに限定されず、ゲーム数によりキャラクタ名が隠される量(隠される面積)を、遊技者がキャラクタ名を判読できる程度とすることも可能である。
また、テロップ演出に係る図60(b)の例では、ポイント数表示領域817の画像が、テロップ表示領域807のテロップに重畳されており、テロップの一部が隠されている。つまり、ポイント数表示領域817のレイヤの表示が、テロップ表示領域807のレイヤの表示に優先されており、ポイント数がテロップの上に表示される場合があるようになっている。
そして、図60(b)の例では、ポイント数により隠されるテロップの量(隠される面積)は、遊技者がテロップの文字列を判読できたり、テロップが変化したことを認識できたりする程度となっている。なお、これに限定されず、ポイント数により隠されるテロップの量(隠される面積)を、遊技者がテロップの文字列を判読できなかったり、テロップが変化したことを認識できなかったりする程度とすることも可能である。
ここで、図60(a)の例ではゲーム数の画像がキャラクタ名を隠し、図60(b)の例ではポイント数の画像がテロップを隠しているが、これに限定されるものではなく、例えば、ポイント数の画像がキャラクタ名を隠し、ゲーム数の画像がテロップを隠す場合があるようにしてもよい。
また、ここではポイント数の表示を例示しているが、これに限定されず、種々の情報を表示することが可能である。例えば、ポイント数に代えて(或いはポイント数のほかに)、差枚数管理情報を表示し、この差枚数管理情報に係る表示領域の画像が、テロップ等を隠す場合があるようにすることが可能である。
ここで、「差枚数管理情報」は、例えばRTなどの終了条件が「獲得メダル枚数が200枚まで」となっている場合に、終了条件である枚数(終了条件枚数)と、当該遊技状況での遊技者の獲得メダル枚数との差を、遊技者が認識できるようにする情報であるといえる。そして、「差枚数管理情報」の表示例としては、「10/200」や「152/200」などといったものを挙げることができる。
続いて、図60(c)、(d)は、ユーザーインタフェースと前述の連続演出との関係を例示している。先ず、図60(c)は、連続演出における先の遊技の段階(前段)を示しており、図60(d)は、連続演出における次の遊技の段階(後段)を示している。図60(c)の例では、テロップ演出として、キャラクタ表示領域805CにおけるキャラクタCの表示と、演出画像表示領域806Cにより空から(画面の右斜め上から)飛来した様子が表現された隕石の表示が行われている。
この図60(c)の例では、演出画像表示領域806Cの隕石は、キャラクタ表示領域805CのキャラクタCに未だ到達しておらず、キャラクタCが隕石を止めて、隕石が地球に衝突するのを防ぐ可能性がある状況を示している。そして、テロップ表示領域807のテロップとして「止めて見せる!!」の文字列が表示されている。
つまり、図60(c)、(d)に示す演出は、所謂ミッション演出の一種となっている。そして、キャラクタCが、隕石を止めることができればミッション成功の演出(成功演出)となり、隕石を止めることができなければミッション失敗の演出(失敗演出)となる。さらに、ミッションに成功すれば、演出の発展や、遊技者にとって有利な状況への移行などがあり得るようになっている。
図60(d)に示すのは、ミッションに失敗した様子の演出である。図60(d)の例では、キャラクタCが隕石を止めることができず、キャラクタCに隕石が衝突している。この際、画面の映像には網掛けが施され、画面全体が、それまでよりも薄暗く視認し難い態様(暗転した態様)に変化する。
画面を薄暗く変化させるためには、例えばグレー(灰色)で半透明な態様のレイヤを、それまでの画像に上から重畳することが考えられる。或いは、演出画像に透明なレイヤを予め重畳しておき、ミッションに失敗した段階で、当該レイヤの透明度を下げてグレーで半透明なレイヤに変化させる、といったことも可能である。
さらに、図60(d)の例では、テロップ表示領域807にキャラクタCの叫び声を表現した「うわぁぁぁぁぁ」のテロップが表示されている。さらに、図60(d)の例では、ゲーム数表示領域グレーのレイヤの上に、ユーザーインタフェースとなるゲーム数表示領域816やポイント数表示領域817などの画像が、グレーのレイヤの上に重畳されている。そして、ゲーム数表示領域816やポイント数表示領域817などのユーザーインタフェースとなる画像は、グレーのレイヤにより視認性を阻害されることなく、明瞭に視認できる態様で表示されている。
以上説明したような会話演出やテロップ演出を行うことにより、文字の使用という共通の属性を有する演出を用いながらも、異なった演出態様を数多く設けることが可能となる。そして、比較的類似した演出同士でありながらも、多くの違いを形成することが可能となる。さらに、映像の変更や、映像に伴う音声データを相違させるだけで済むため、例えば可動役物(可動体)による演出のように、開発中に微調整や耐久性試験を必要とするようなものと映像との組合せに比べ、多様な演出を容易に作成することが可能である。
<ぱちんこ遊技機への各種演出の適用>
なお、本発明は、スロットマシン10に限定されるものでなく、例えば他の各種のスロットマシンに適用が可能なものである。また、本発明は、スロットマシンに限定されるものではなく、これ以外のタイプの遊技機(ぱちんこ遊技機など)にも適用が可能である。さらに、本発明は、例えばカジノ施設に設置されるカジノマシンなどにも適用が可能である。
特に、<演出を多様化するための対策>として説明した事項は、例えば、ぱちんこ遊技機であれば、1回の変動演出中や、連続予告(真正及び擬似のいずれも)に適用することが考えられる。以下に、本発明の第2実施形態として、ぱちんこ遊技機について説明する。
<ぱちんこ遊技機の基本構成>
図63は、本実施例に係るぱちんこ遊技機1010の前面構成を示している。ぱちんこ遊技機1010においては、後述する遊技機枠1011に遊技盤1050が装着されている。これらのうち、遊技盤1050は、ぱちんこ遊技機1010の機種に応じて付属機器や意匠等といった構成要素を異ならせているものである。更に、遊技盤1050は、遊技機枠1011との電気的な接続関係や、構造的な接続関係を解除することにより、遊技機枠1011から分離できるようになっている。
また、複数機種の遊技盤1050について、遊技機枠1011との構造的及び電気的な接続関係を共通化することにより、異機種間で遊技機枠1011を共用する所謂機種変更が可能となっている。なお、以下では先ず、遊技機枠1011について説明し、その後に遊技盤1050の盤面構成について説明する。
上述の遊技機枠1011は、外枠1012、前枠(「内枠」や「本体枠」などともいう)1013、及び、下部前板(「幕板」などともいう)1014を有している。更に、前枠1013には、ガラス扉1015、及び、皿ユニット1016が装着されている。これらのうち外枠1012は、ぱちんこ遊技機1010を、遊技場(遊技店舗)内の島設備における所定位置に固定するために用いられる矩形の枠体であり、図63中に示すように、ガラス扉1015や皿ユニット1016を有する前枠1013と、上述の下部前板1014とにより、前面側が閉じられる開口部分を有している。
また、外枠1012を島設備に設置するための工法として、釘打ちが行われるのが一般的である。そして、外枠1012の、少なくとも、島設備への固定のための部位の材質として、木材が用いられている。なお、木材に代えて、例えば釘打ちが可能なプラスチック材を採用することが可能である。また、外枠1012を島設備に設置するための工法として、釘打ち以外の工法を採用することも可能である。
前枠1013は、外枠1012の開口部分に整合する外形を備えた構造であり、図63中の左側に示すヒンジ機構1015A、1015Bを介して、外枠1012に装着されている。そして、前枠1013は、外枠1012に対する閉鎖状態から、図63中の左側縁部を固定端とし、右側縁部を自由端として、前方へ揺動することで開放状態となる。更に、前枠1013は、開放状態から後方へ揺動し、外枠1012内に入り込んで係止することにより、再び閉鎖状態となる。そして、前枠1013は、閉鎖時に、外枠1012の上短部から、上述の下部前板1014までの間の部位を塞ぐようになっている。
前枠1013の外枠1012への係止と、外枠1012からの解放は、錠装置(図示略)を介して行われている。すなわち、図63中に示すように、前枠1013の自由端側の下方の部位には、錠装置のシリンダ部1017が配置されており、このシリンダ部1017は、前枠1013の下部を覆った前述の皿ユニット1016を通して、鍵穴をぱちんこ遊技機1010の前方へ向けている。そして、遊技場店員が、鍵をシリンダ1017部の鍵穴に挿入し、この鍵を、例えば反時計回りに回すと、前枠1013の自由端側が錠装置から解放され、前枠1013が開放状態となる。
このような前枠1013に対して、前述の下部前板1014は、前枠1013のような開閉のための構成は備えておらず、外枠1012に、動くことないよう固定されている。そして、下部前板1014は、外枠1012の前面の下端部を常に塞いでいる。
前枠1013の前部に配置されたガラス扉1015と、皿ユニット1016とは、ヒンジ機構(図示略)を介して、前枠1013に装着されている。更に、ガラス扉1015と、皿ユニット1016とは、いずれも、図63中の左側縁部を固定端とし、右側縁部を自由端として、各々独立に揺動可能である。そして、ガラス扉1015と、皿ユニット1016とは、例えば遊技場店員が、前方に水平に揺動させることで開放状態となり、開放状態から後方へ水平に揺動させ、前枠1013に係止させることにより閉鎖状態となる。
ガラス扉1015の前枠1013への係止と、前枠1013からの解放は、前述の錠装置(図示略)を介して行われている。すなわち、遊技場店員が、鍵を前述のシリンダ1017部の鍵穴に挿入し、この鍵を、例えば前枠1013の開放時とは逆の時計回りに回すと、ガラス扉1015の自由端側が錠装置から解放され、ガラス扉1015が開放状態となる。そして、開放状態にあるガラス扉1015を、前枠1013に重なるように押し戻し、ガラス扉1015が前枠1013と平行になるように押し込むことで、錠装置が作動して、ガラス扉1015が再び前枠1013に係止する。
また、ガラス扉1015を開放することで、皿ユニット1016の係止機構(図示略)が現れて操作可能となり、この係止機構の操作部(図示略)を遊技場店員が、例えば下方向に押し込み操作することで、皿ユニット1016が開放状態となる。更に、開放状態にある皿ユニット1016を、前枠1013に重なるように押し戻し、皿ユニット1016が前枠1013と平行になるように押し込むことで、係止機構が作動して、皿ユニット1016が再び前枠1013に係止する。
更に、ガラス扉1015は、例えば平行な2枚の透明板を脱着可能に保持しており、閉鎖状態にある場合に、これらの透明板を通して、ぱちんこ遊技機1010の前方から遊技盤1050を視認できるようにしている。透明板としては、ガラス板のほか、透明な樹脂板なども利用することができる。また、ガラス扉1015を開放することで、遊技盤保持機構(図示略)により前枠1013に保持された遊技盤1050の前面が露出するようになっている。更に、図示は省略するが、前枠1013は、遊技媒体である遊技球を誘導や回収するための遊技球通路等を有している。
皿ユニット1016は、その前面に、上球皿1018、下球皿1019、及び、発射ハンドル1020等を有している。これらのうち、上球皿1018には、遊技球の貯留、発射ハンドル1020を介して操作される発射装置1043(図64及び図66参照)への遊技球の供給、下球皿1019への遊技球の排出といった各種機能のための機構が備えられている。また、下球皿1019には、遊技球の貯留、上球皿1018から送られてきた遊技球の受入れ、ぱちんこ遊技機1010の外部に置かれた玉箱(所謂ドル箱)への遊技球の排出といった各種機能のための機構が備えられている。なお、玉箱が、島設備に一体的に備えられている場合もある。
また、本実施例においては、ガラス扉1015の上隅部や、下部前板1014などといった部位に、各種のスピーカ1021が設けられており、これらのスピーカ1021を通して、遊技状態や演出パターンなどに応じたBGMや各種効果音などが出力されるようになっている。
更に、上球皿1018の、遊技者に向かう部分には、遊技者により操作が可能な操作ボタン1022が設けられている。この操作ボタン1022は、上球皿1018の上部の外壁面に設けられており、上球皿1018の左右方向の中央近傍に位置している。更に、操作ボタン1022は、内部に操作ボタン用発光体(図示略)を備えており、実行される演出パターンに応じて光出力を行うようになっている。
なお、操作ボタン1022を、例えばモータ等の駆動源を用いて、所定の場合に上方に突出するようにしてもよい。本実施例における操作ボタン1022は、詳細は図示しないが昇降モータの駆動により操作ボタン1022の先端が上方へ突出する態様に変位し、傾倒による入力を実施可能な操作レバー入力部を形成することが可能であり、操作レバーの駆動系に振動を発生するための半月状の偏心カムを有している。
また、図71に示すように、操作ボタン1022のほかに十字キー1096が備えられており、この十字キー1096を用いて遊技者による各種の環境設定が可能となっている。そして、環境設定の内容としては、スピーカ1021の音量調節(音量調整)、演出表示の輝度調節(輝度調整)や光量調節(光量調整)、或いは、演出モードの変更などを例示できる。更に、環境設定の内容として、遊技者が操作ボタン1022を操作しなくても操作したのと同様な演出が進行するようにしておく演出用自動ボタン操作(単に「自動ボタン操作」と称する場合もある)の設定なども例示できる。また、遊技機枠1011の、例えば前枠1013等に、遊技に係る演出や、上述の環境設定に係る表示を行うことが可能な表示器を設けることが可能である。
更に、十字キー以外にも、例えば、レバー状の操作手段や、各種方式のタッチパネル等を用いることが可能である。また、図71中に符号97で示すのは球貸ボタンであり、符号1098で示すのは返却ボタンである。更に、図71中に符号1099で示すのは上球皿1018用の球抜ボタンである。
<ぱちんこ遊技機の背面構成>
次に、ぱちんこ遊技機1010の背面側における基本的な構成を説明する。図64に示すように前枠1013の背面には、遊技球を誘導又は回収するための遊技球通路等を備え、賞球路形成機構となるセット基盤(「裏セット盤」などともいう)1031が取着されており、このセット基盤1031の下方に、遊技機全体に電源を供給するための電源ユニット1032、遊技機枠側の制御を行う払出制御(「賞球制御」などともいう)基板1103が、それぞれ専用の透明ケースに収められた状態で取り付けられている。また、遊技盤1050の背面側においては、遊技全体を統括制御するメイン基板(主制御基板)1102や、メイン基板1102からの制御コマンドに基づいて演出制御を実行するサブ基板1104が、それぞれ専用の透明ケースに収められ、セット基盤1031の開口に対応する位置関係で設けられている。更に、セット基盤1031には、発射装置1043や、発射装置1043を制御する発射制御基板1105も備えている。
セット基盤1031においては、上述の開口の上部に賞球タンク1033が設けられている。この賞球タンク1033は、島設備から供給されて賞球となる遊技球を貯留する。更に、賞球タンク1033の下方には、賞球通路1034、払出ユニット1035、賞球排出通路1036が設けられている。そして、これらの賞球通路1034、払出ユニット1035、賞球排出通路1036は、図64中に示すようにぱちんこ遊技機1010を背面視した場合における、遊技盤1050の上方から右側部に沿って配置されている。
上述の賞球通路1034は、賞球タンク1033に貯留された遊技球を下流側へ整流案内するものである。また、上述の払出ユニット1035は、賞球通路1034と連絡し賞球タンク1033内に貯留された球を1球単位で下方に排出可能である。更に、賞球排出通路1036は、払出ユニット1035から流下された遊技球を賞球として球皿(上球皿1018又は下球皿1019)に案内する。
前述の電源ユニット1032は、図64中に示すようにぱちんこ遊技機1010を背面視した場合における、セット基盤1031の左下の部位に設けられている。そして、電源ユニット1032は、遊技機外部から供給される交流電源を、遊技機中において使用する各種の電圧に変換して、払出制御基板1103、メイン基板1102、サブ基板1104等へ供給する。また、電源ユニット1032を作動させるための電源スイッチ1040は、図中右下の部位に隠れ線(破線)で示すように、他の機器の背後に配置されている。この電源スイッチ1040は、落下した遊技球が直撃してもオフにならないように、電源スイッチ1040の中央より下が押されて下側に傾倒したときにオンとなるよう設置されている。
前述の払出制御基板1103は、図64中に示すようにぱちんこ遊技機1010を背面視した場合における、セット基盤1031の右下の部位に配置されている。そして、払出制御基板1103は、メイン基板1102からの払出に係る指令や外部からの貸出要求に応じて払出ユニット1035を制御する払出制御機能を有している。また、前述の発射制御基板1105は、発射ハンドル1020(図63参照)の操作量に応じた強度で遊技球(打球)を遊技領域に発射するよう、発射装置1043を制御する発射制御機能を備えている。
前述のメイン基板1102は、遊技盤1050の背面側における中央下部に配置されており、主に、各種の抽選機能や設定変更機能、払出制御基板1103及びサブ基板1104に対する制御機能などのように、ぱちんこ遊技機1010における中心的な処理機能を備えている。前述のサブ基板1104は、遊技盤1050の背面側における中央上部に配置されており、主に、各種の演出を制御するための機能を備えている。
サブ基板1104については、演出制御の主体的な機能を担う主サブ基板(本実施例ではサブメイン基板1301)と、画像作成などの特定の演出機能に特化した副サブ基板(本実施例ではサブサブ基板1302)とに分かれているが、「サブ基板」の用語はこれらを包含したものである。また、セット基盤1031の背面側における右下部には、メイン基板1102や払出制御基板1103等からの信号をぱちんこ遊技機1010の外部の機器へ中継する外部中継端子基板(「枠中継端子板」などともいう)1046が設けられている。
前述のメイン基板1102における設定変更の機能は、理論上の当り易さ(遊技者の有利度合い)を規定する設定値を変更できる機能である。本実施例では、設定値として、整数値である「1」〜「6」の6種類が設けられており、これらの設定値毎に、理論上の大当りや小当りに係る確率値、及び、出玉率が異なるようになっている。
<遊技盤の盤面構成>
次に、前述の遊技盤1050や、遊技盤1050の盤面に配置された部品(盤面部品)について説明する。本実施例においては、遊技盤1050は、透明な樹脂材質(例えば透明アクリル樹脂など)や木材(ベニヤ板)からなる複数の部品により構成されている。また、遊技盤1050は、板状に形成されており、遊技球を遊技盤1050の裏側に導く遊技球通路や、所定の空間などを有している。そして、遊技盤1050は、各種の盤面部品が装着された板面を前方に向けた状態で、遊技機枠1011の前枠1013に装着されており、閉鎖状態にあるガラス扉1015等により、その前方を覆われるようになっている。更に、遊技盤1050の前面側においては、湾曲した帯状に成形された内レールや外レールを組み合せて遊技領域1052が区画形成されている。
図63中に示すように、遊技領域1052には、第1始動入賞口1062と第2始動入賞口1063、大入賞口装置1090(アタッカーユニット)、作動口1068、複数の一般入賞口1072、及び、遊技領域1052の最下部に配置され図63中では操作ボタン1022の背後に隠れているアウト口(1058)等が備えられている。更に、遊技領域1052には、演出のための表示を行うことが可能な液晶表示装置からなる演出表示装置1060や、この演出表示装置1060の周辺を装飾するセンター飾り1064等が備えられている。
また、遊技領域1052には、図示しない多数の遊技釘や、風車などの機構が備えられている。なお、風車を設けないようにすることも可能である。更に、遊技盤1050の、遊技領域1052の左下の外部には、主制御表示装置1053が設けられている。なお、この主制御表示装置1053の具体的な構成や機能については後述する。また、遊技盤1050の上述のような盤面構成は、例えば、ぱちんこ遊技機1010に採用されたゲーム性等に応じて種々に異なり得るものである。
<盤面部品の機能>
続いて、上述した個々の盤面部品に係る具体的な機能や構成について説明する。先ず、前述の第1始動入賞口1062は、第1遊技に係る始動入賞口であり、遊技球の入口を常時開き、且つ、遊技球の入口の大きさを変化させないタイプのものである。更に、第1始動入賞口1062は、第1始動入賞口1062への遊技球の入球を検出する第1始動入賞検出装置1074(センサ)を有しており、このセンサの出力信号は、前述のメイン基板1102に入力されている。
前述の第2始動入賞口1063は、第2遊技に係る始動入賞口であり、第1始動入賞口1062の右側に配置されている。第2始動入賞口1063は、普通電動役物(所謂「電動チューリップ」或いは「電チュー」)に係る始動口となっており、後述する普通図柄が当りの態様で停止表示された場合に、片側(図63中の右側)に開放動作する羽根(開閉羽根)を備えている。そして、第2始動入賞口1063が、普通電動役物の作動に基づき、開閉羽根を所定時間に亘り開放動作させて拡開することにより、遊技球の第2始動入賞口1063への入球が可能となる。なお、本実施例の態様に限らず、第2遊技に係る始動口に普通電動役物を設けない構成としたり、第1遊技に係る始動口について普通電動役物を配置する構成としてもよい。
更に、第2始動入賞口1063は、図65中に示すように、第2始動入賞検出装置1075(センサ)と、上述の開閉羽根を開閉させるための普通電動役物ソレノイド1076とを備えている。第2始動入賞検出装置1075の出力信号は、メイン基板1102に入力されている。
また、本実施例では、第2始動入賞口1063を開放する態様として、複数種類が設けられている。そして、これらの開放態様には、比較的短時間(例えば0.2秒程度)の態様(「ショート開放」や「短開放」などと称する)や、比較的長時間(例えば5秒程度)の態様(「ロング開放」や「長開放」などと称する)などがある。また、ショート開放とロング開放の間の開放時間に設定されたミドル開放の態様を設けることも可能である。
前述の一般入賞口1072は、図65中に示すように、遊技球の入球を検出するための一般入賞検出装置1073(センサ)を備えている。一般入賞検出装置1073は、の出力信号はメイン基板1102に入力されている。
そして、一般入賞検出装置1073を複数の一般入賞口1072で共用する場合には、複数の一般入賞口1072入球した遊技球を、一般入賞検出装置1073が配置された箇所に集合させて、検出することが可能である。また、複数の一般入賞口1072について、位置関係毎に、または賞球個数毎にグループ化(一般入賞検出装置1073の共用)することも可能である。
前述の大入賞口装置1090は、透明な合成樹脂製の部品を組み合わせてケース状に形成されており、図示は省略するが、その内側に、遊技者から視認可能な大入賞口を備えている。大入賞口は、横長の長方形状に形成された開口を有しており、この開口を開閉するための開閉扉1091(図63に破線にて示す)を内部に備えている。そして、大入賞口は所定の当りが発生した場合に、所定の態様で開放動作を行う。ここで、本実施例では、大入賞口は上向きに開口しており、開閉扉1091は前後方向へのスライドが可能となっている。
また、大入賞口装置1090は、図65中に示すように、遊技球の入球を検出するための大入賞検出装置1078や、上述の開閉扉1091を開閉駆動する大入賞口(開放)ソレノイド1080を備えている。これらのうち、大入賞検出装置1078は、大入賞口装置1090への遊技球の入球を検出するセンサを有しており、その出力信号はメイン基板1102に入力されている。
なお、大入賞口装置1090としては種々のものを採用可能である。例えば、大入賞口装置1090として、大入賞口を前向きに開口したものや、上向きに開口したものなどを採用することが可能である。また、大入賞口装置1090として、大入賞口を開閉する上述の開閉扉1091に係る動作パターン(開閉パターン)を複数種類備え、特別遊技が実行される大当り遊技中に、複数種類の異なる動作パターンで開閉扉1091を動作させるものなどを採用することが可能である。更に、大入賞口装置1090として、大入賞口を複数備え、遊技の状況に応じて、遊技球を各大入賞口へ振り分けるものなども採用が可能である。
前述の作動口1068は、図65中に示すように、通過検出装置1069を備えており、この通過検出装置1069は、作動口1068における遊技球の通過を検出するセンサを有している。そして、通過検出装置1069、におけるセンサの出力信号は、メイン基板1102に入力されており、通過検出装置1069は、入球の有無に応じて、センサの出力信号を変化させる。
前述のアウト口1058は、図65中に示すように、アウト球検出装置(アウト口センサ)1082を備えている。このアウト口センサ1082は、遊技領域1052で入賞球(セーフ球)とならずアウト口1058に入った遊技球(アウト球)の検出を行うようになっている。そして、アウト口センサ1082の検出結果は、アウト球の計数や、後述する性能表示部(後述する図67の入球状態表示器1808)での表示(ベース表示)に利用されるようになっている。
前述のセンター飾り1064は、演出の機能等を有しており、センター飾り1064の内部には、多数のチップ型LEDが実装されたLED基板が設けられている。そして、センター飾り1064のLEDを駆動することで、LEDの光がセンター飾り1064を透過し、センター飾り1064が光装飾(光演出)を行うようになっている。更に、センター飾り1064における光装飾は、遊技中のみでなく、遊技開始を待つ待機中や、遊技者が光量調整(光量設定)などを行うための遊技準備中などにも行われる。
また、センター飾り1064の背面(内側)には、複数の可動演出部材が設けられており、これらの可動演出部材が、演出用のギミックを構成している。これらの可動演出部材は、通常は図63に示すようにセンター飾り1064の内側に隠れている。しかし、所定の演出が行われる場合には、図示は省略するが、これらの可動演出部材が演出表示装置1060の前に出現する。
また、本実施例においては、可動演出部材においても光装飾(光演出)が行われるようになっている。更に、可動演出部材における光装飾は、遊技中のみでなく、遊技開始を待つ待機中や、遊技者が光量調整などを行うための遊技準備中などにも行われる。
更に、センター飾り1064の、正面から見て右側の部位には遊技球通路部1065が形成されており、センター飾り1064は、上述のような演出機能のほかに、遊技球の流路の機能を有している。
また、センター飾り1064には、導光板1088が備えられている。この導光板1088としては、図示は省略するが、例えば、板面を前後に向けて平行に並べられた2枚の透明板を備えたものを採用することが可能である。更に、導光板1088は、センター飾り1064に装着されており、演出表示装置1060の前方において、センター飾り1064の外側と内側との間を遮蔽している。そして、導光板1088は、センター飾り1064において、演出表示装置1060の保護カバーとしても機能している。
この導光板88は、例えば、以下のように構成することが可能である。すなわち、センター飾り1064の内部において、透明板の、例えば左右の端面のうちの一方の端面に向い合うように、光源となる複数のLEDを、それぞれ帯状に並べて配置する。そして、通常時には、演出表示装置1060の画面に他の像を重ねることなく、演出表示装置1060の表示内容を、遊技者が視認できるように透明板の外側に透過させている。
しかし、導光板1088を構成する各透明板の内部には、通常の環境の下では視認できない程度の細かな凹凸が形成されている。そして、所定の演出の実行時に、例えば、いずれか一方の透明板の端面に面した上述の光源が駆動され、当該透明板の端面から、光源の光が、透明板の内部に向けて照射される。更に、光を照射された透明板の凹凸により光が拡散し、拡散光により、所定のイラストなどが、遊技者に認識可能なように発色して浮かび上がる。
また、導光板1088の2枚の透明板のうち、他方の透明板には、上述のイラスト等とは異なる像を形成するための凹凸が刻まれている。そして、所定の演出時に、端面に面した光源を駆動することにより、上述のものとは異なるイラストなどが、遊技者に認識可能なように浮かび上がる。
ここで、透明板の左右のうちの一方の端面だけではなく、上下のうちの一方の端面にも光源を向い合せ、この光源の光により、他のイラスト等を映し出すことも可能である。このようにすることで、1枚の透明板につき2種類の画像を表示することが可能となる。また、透明板の数は、1枚であっても、3枚以上であってもよい。また、導光板1088に代えて、或いは併せて、透過液晶表示体を用いることも可能である。
前述の主制御表示装置1053は、図69に示すように、LED表示灯を多数配置した図柄表示基板(メイン図柄表示基板)1256を備えるものである。図柄表示基板1256には、前述の普通図柄を表示する普通図柄表示部1059、第1遊技に対応する第1特別図柄(後述する)を表示する第1特別図柄表示部1070、第2遊技に対応する第2特別図柄(後述する)を表示する第2特別図柄表示部1071、及び、その他の各種表示部が遊技機正面から遊技者に視認可能に形成されている。なお、上述の普通図柄表示部1059は普通図柄表示装置を構成している。また、第1特別図柄表示部1070は第1特別図柄表示装置を構成しており、第2特別図柄表示部1071は第2特別図柄表示装置を構成している。
なお、以下では、普通図柄を「普図」、特別図柄を「特図」、第1特別図柄を「第1特図」や「特図1」、「特1」、第2特別図柄を「第2特図」や「特図2」、「特2」、などと称する場合がある。更に、第1特別図柄については「特別図柄1」や「図柄1」などと称し、第2特別図柄については「特別図柄2」や「図柄2」などと称する場合がある。
また、上述の主制御表示装置1053は、遊技盤1050に備えられたものを意味しているが、後述するようにメイン基板1102に設けられた設定表示部(後述する図67(a)の設定表示器1807)や性能表示部(後述する図67(a)の入球状態表示器1808)などを含めて、主制御表示装置とすることも可能である。そして、その場合は、メイン基板1102に設けられた設定表示部や性能表示部を、例えば「メイン基板側主制御表示装置」などと称することも可能である。
<基本的な遊技手順>
続いて、本実施例のぱちんこ遊技機1010における遊技手順について説明する。先ず、前述の上球皿1018に遊技球が供給された状況で、遊技者が、前述の発射ハンドル1020を操作して回動させると、その回動角度に応じた強度で、上球皿1018に貯留された遊技球が1球ずつ所定間隔で発射される。そして、遊技球は、前述の内レールと外レールにより案内され、遊技領域1052の上部に達し、内レールと外レールとの間から遊技領域52へ放出される。
通常の遊技においては、遊技者は、遊技球が遊技領域1052の左側で流下するように発射を行い、遊技領域1052の下方中央部に位置する第1始動入賞口1062を狙う。このような遊技領域1052の左側を主に使用する発射の態様は、所謂左打ちと呼ばれる。また、遊技球の発射は、遊技者が発射ハンドル1020を操作している間、前述の発射装置1043により、所定の時間間隔(例えば1分間に100発を超えない程度の間隔)で繰り返される。そして、遊技領域1052に連続して放出された遊技球は、複数の遊技釘や風車などに干渉しながら、その速度や入射角度(又は反射角度)等の要因に応じた方向へ落下する。
遊技球が、前述の一般入賞口1072や第1始動入賞口1062などの各種の入賞口へ落入すると、入球が検出され、遊技球の払出制御が行われる。そして、入球した入賞口の種類に応じて、所定数の遊技球が、前述の払出ユニット1035を介し、賞球として上球皿1018に払出される。また、上球皿1018が多くの遊技球により満たされ、払出された後続の遊技球が上球皿1018に進入できない場合には、これらの遊技球は、溢れ球として下球皿1019に導かれる。
また、各種の入賞口に落入した遊技球はセーフ球となり、遊技盤1050の表面側から裏面側に案内される。また、セーフ球とならなかった遊技球は、遊技領域1052の下端部に達してアウト口(1058)に落入し、遊技盤1050の裏面側に案内される。そして、遊技盤1050の裏面側に達した遊技球は、所定の案内樋やセット基盤1031内の遊技球通路を通って下方に導かれ、ぱちんこ遊技機1010から、前述の島設備の側へ向けて排出される。
前述の作動口1068は、上述のセーフ球を発生させる入賞口と異なり、遊技球が通過するゲートとなっている。なお、以下では作動口1068を含めて「入賞口」とし、本実施例における「落入」、「入球」、「入賞」の用語は、特に説明がない場合には、ゲートに係る「通過」の意味を含むものとする。
大当りに当選した状況ではない遊技状況において、遊技球が、作動口1068に入球して検出された場合、後述するような所定の変動開始条件(普図変動開始条件)が成立していれば、主制御表示装置1053において、普通図柄(後述する)が変動表示される。主制御表示装置1053で表示される普通図柄は、作動口1068への入球に基づき実行される乱数抽選(普図抽選)の結果を示すものであり、所定の変動時間を経たのちに停止表示される。
遊技球が、始動口(ここでは第1始動入賞口1062又は第2始動入賞口1063)に入球した場合、後述するような所定の変動開始条件(特図変動開始条件)が成立していれば、主制御表示装置1053において、特別図柄(後述する)が変動表示される。主制御表示装置1053で表示される特別図柄は、始動口への入球に基づき実行される乱数抽選(大当り抽選)の結果を示すものであり、所定の変動時間を経たのちに停止表示される。
前述の演出表示装置1060においては、特別図柄に係る演出表示が行われる。この演出表示は、特別図柄が変動表示中であるか、停止表示中であるか、といった違いや、特別図柄の停止表示態様が大当りのものであるか、はずれのものであるか、といった違いに関係して、予め定められた各種の態様の演出を行うものである。
特別遊技が実行される大当り遊技においては、大入賞口装置1090が作動し大入賞口(図示略)が開放される単位遊技が複数回繰り返される。更に、特別遊技には、単位遊技が最大回数に亘り繰り返されるものと、単位遊技が最大回数よりも少ない回数に亘り繰り返されるものとがある。最大回数としては、10回(10R(ラウンド))などを例示でき、最大回数よりも少ない回数としては、5回(5R)などを例示できる。また、最大回数を10回(10R)とし、最大回数よりも少ない回数を6回(6R)や2回(2R)とすることなども例示できる。なお、大入賞口装置1090を作動させる遊技として他にも小当り遊技を設けることが可能である。
各単位遊技においては、対応する大入賞口において、所定数(例えば10個)の遊技球が検出された場合、又は、合計の開放時間が所定時間(例えば約30秒)に達した場合に、終了条件が成立して、大入賞口が閉鎖される。単位遊技の終了条件として、合計の開放時間とするのは、1回の単位遊技中で複数回の大入賞口の開放を分割して行う場合であっても上限値を定めていることを示している。大入賞口の開放を単位遊技内で複数行うことにより、技術介入性を高めたり、1回の開放で行うことにより容易に出玉を獲得できるなど大当り中の遊技性(ゲーム性)に幅を持たせるため、大入賞口の開放態様は予め設定されているパターンの中から選択可能としている。
更に、本実施例のぱちんこ遊技機1010においては、上述のように、従来にいう第1種ぱちんこ遊技機に相当する遊技が複数(ここでは2つ)混在するゲーム性が採用されている。つまり、本実施例においては、上述の複数の遊技を、第1始動入賞口1062が使用される第1遊技と、第2始動入賞口1063が使用される第2遊技とに分けることができる。そして、第2遊技が第1遊技よりも優先されており、同時に遊技の開始条件を満たした状況においては、第2遊技を優先して実行させ、第1遊技を保留しておくことにより、第1遊技と第2遊技とが同時に実行されないようになっている。
なお、これに限るものではなく、例えば、第1遊技と第2遊技の間に優先順位を設けず、第1遊技と第2遊技すなわち第1特別図柄と第2特別図柄の変動表示が並列に実行されるようなゲーム性を採用することも可能である。そして、このようなゲーム性を採用した場合には、第1遊技と第2遊技とが(第1特別図柄と第2特別図柄の変動表示が)同時に実行される状況も生じ得る。
また、本実施例のぱちんこ遊技機1010においては、前述の大当り抽選の結果に応じて、特別遊技の終了後に、特定遊技が実行される場合がある。この特定遊技は、前述の特別遊技とは別な態様で、通常遊技よりも遊技者に有利な遊技状態となるものである。本実施例においては、特定遊技として、確率変動遊技(以下「確変」と称する)、変動時間短縮遊技(以下「時短」と称する)、及び、入球容易化遊技が設けられている。特定遊技として、確変、時短、入球容易化遊技の何れか1のみ実行するものもあれば、複数の特定遊技を同時に行うものもあり、それらの組み合わせによって異なる遊技性を創出するものである。
特定遊技が実行される場合には、演出表示装置1060の画像や音声などによって推奨される遊技球の発射位置、発射タイミングに関する報知(例えば、右打ちを促す右打ち演出)が実行される。そして、遊技者が、発射ハンドル1020の回動量を時計回りに増やして発射力を強め、遊技球を遊技領域1052の右側の領域に向けて発射すると、センター飾り1064の上方を通った遊技球が、センター飾り1064の遊技球通路部1065に進入し、センター飾り1064を流下する。更に、センター飾り1064から放出された遊技球は、複数の遊技釘や他の構造物に当りながらその当り方に応じた方向へ落下する。
センター飾り1064から放出された多数の遊技球のうちの一部は、作動口1068(図63参照)を通過して通過検出装置1069(図65参照)により検出される。そして、前述のように、作動口1068を遊技球が通過すると、前述の普通図柄が主制御表示装置1053(図69参照)で変動表示され、普通図柄の変動表示が所定の当り態様にて停止すると、第2始動入賞口1063の普通電動役物が当り態様に応じて所定時間拡開する。
本実施例においては、遊技領域1052の右側に達した遊技球を、釘等によって、第2始動入賞口1063や大入賞口装置1090の周辺に導くことが可能となっている。更に、本実施例では、特定遊技である時短には入球容易化遊技が付加されるようになっており、時短中は、入球容易化遊技により普通電動役物の開放延長、普通電動役物の確率変動、普通電動役物の時短の組み合わせが行われ、前述の普通電動役物のロング開放が実行され易くなる。そして、時短中において、第2始動入賞口1063の普通電動役物が1回拡開した際に、1個、または複数個の遊技球が第2始動入賞口1063に入球し得るようになっている。
なお、大当りが発生して特別遊技が実行される際には、大入賞口装置1090の大入賞口(図示略)が開放するが、この特別遊技中に、遊技者に対して右打ちを行わせることが可能である。そして、この場合には、特別遊技の開始前に、演出表示装置1060の画像や音声などによって、遊技者に右打ちを促す右打ち演出を実行することが考えられる。
<大当りの種類の例:ST>
次に、上述の第1遊技及び第2遊技における大当りの種類について説明する。先ず、大当りとして、前述の単位遊技を10回繰り返す大当り(以下、適宜「10R大当り」とも称する)や、単位遊技を7回繰り返す大当り(以下、適宜「7R大当り」とも称する)が設けられている。
上述の単位遊技は、特別遊技において、大入賞口装置1090における大入賞口の開放に伴って開始され、所定時間(例えば約30秒)が経過した場合や、大入賞口に所定個数(例えば10個以上)の遊技球が落入した場合に終了し、大入賞口を閉鎖する。このような単位遊技を繰り返す特別遊技は、遊技者に遊技球を獲得させることを目的とする所謂出球(出玉と記載する場合もある)あり当りに伴う遊技を基本としている。更に、各種の大当りのうち、10R大当りや7R大当りなどは、遊技者に相対的に多くの遊技球を獲得させようとするものである。
しかし、これに限定されず、大当りの1部の種類として、例えば10R大当りや10R大当りの一部に、確変にならないもの(10R通常や7R通常)を設けることが可能である。また、例えば、10R大当りであっても、大入賞口の開放期間が短く、実質的に5R大当りと同じ程度の出球しか獲得できないといったもの(10R確変(実5R))を設けたり、5R大当りであっても、出球の獲得がほとんどできない(例えば各Rにおいて最小限度程度(例えば1球)しか大入賞口装置1090に入球しない)といったものを設けたりすることが可能である。
また、本実施例では、前述の確変や時短等といった特定遊技状態は、予め定められた特定の大当りについて大当り遊技が終了する際に発生するようになっている。このような特定遊技状態の発生態様として、例えば、確変、時短、及び、入球容易化遊技といった特典機能のうち、少なくとも1部を付与しない大当りを設けることが可能である。より具体的には、確変のみが伴う大当りや、時短のみが伴う大当りを設けることが考えられる。更に、確変の継続期間の相違や、時短の継続期間の相違によって、大当りの種類を異ならせることも可能である。また、時短中に電チューサポートを併せて実行する場合は、「時短の継続期間」は、「電チューサポートの継続期間」と言い換えることができる。更に、時短と電チューサポートのうち、電チューサポートのみを実行する、反対に時短と電チューサポートのうち、時短のみを実行するといったことも考えられる。
しかし、大当りと、確変や時短等との組合せについては、本実施例のものに限定されず、種々の組合せを採用することが可能である。例えば、確変が全ての大当りについて発生するようにしてもよい。この場合、本実施例における10R大当りは、全てが、確変を伴う10R大当り(10R確変)となり、7R大当りは、全てが、確変を伴う7R大当り(7R確変)となる。
<大当り以外の当り>
また、本実施例では、大当り以外の当りの種類として、小当りが設けられている。第1遊技(又は第2遊技)において、この小当りが発生した場合には、大入賞口装置1090の開放を、例えば1回行う、といったゲーム性を採用することが可能である。
<主制御表示装置>
<<主制御表示装置の構成>>
次に、前述の主制御表示装置1053(遊技盤側主制御表示装置)について、図69に基づき説明する。遊技盤側の主制御表示装置1053は、図69に示すように、図柄表示基板1256上に多数(ここでは36個)のLED表示灯を2行(上段及び下段)に分けて配置することにより構成されている。本実施例において、上段及び下段におけるLED表示灯の個数は18個となっており、各段のLED表示灯は水平方向に等間隔で配置されている。また、上下の位置関係にあるLED表示灯の間隔も、18個すべてについて一定となっている。
主制御表示装置1053において、正面から見て上段における右端の10個のLED表示灯は、特図1に係る情報表示に用いられ、下段における右端の10個のLED表示灯は、特図2に係る情報表示に用いられるようになっている。そして、上段及び下段において、右端の2個のLED表示灯は保留記憶数を示す第1特別図柄記憶表示部1083、第2特別図柄記憶表示部1084を構成している。第1特別図柄記憶表示部1083の左に並んだ8個のLED表示灯は、前述した第1特別図柄表示部1070を構成しており、第2特別図柄記憶表示部1084の左に並んだ8個のLED表示灯は、前述した第2特別図柄表示部1071を構成している。
第1特別図柄表示部1070は、横方向に一列に並んだ8個のLED表示灯の動作態様によって、第1遊技に係る第1特別図柄の変動表示及び停止表示が可能となっている。この第1特別図柄表示部1070による第1特別図柄は、第1始動入賞口1062への遊技球の入球を契機として行われる第1抽選の結果に対応した図柄であり、その変動表示が所定の当り態様にて停止されたときに大当りが発生し特別遊技が実行される。なお、第1特別図柄表示部1070は、第1特別図柄の停止表示の際には、各LED表示灯の点灯と消灯との組み合せによって、すべて消灯する場合を除く最大で255(=2^8−1)種類の識別情報を表示可能である。具体的には、8個のLED表示灯の点灯及び消灯の組合せを停止表示させるのだが、大当りの場合もはずれの場合も(小当りを搭載している場合には小当りの場合も)全消灯ではなく少なくとも1個のLED表示灯が点灯するよう構成しているため、最大で255(=2^8−1)種類の識別情報を表示可能となる。
前述の第2特別図柄表示部1071についても同様に、横方向に一列に並んだ8個のLED表示灯の動作態様によって、第2特別図柄の停止表示の際には、最大で255(=2^8−1)種類の識別情報を表示可能である。具体的には、8個のLED表示灯の点灯及び消灯の組合せを停止表示させるのだが、大当りの場合もはずれの場合も(小当りを搭載している場合には小当りの場合も)全消灯ではなく少なくとも1個のLED表示灯が点灯するよう構成しているため、最大で255(=2^8−1)種類の識別情報を表示可能となる。
更に、上段において、第1特別図柄表示部1070の左に並んだ4個のLED表示灯は普通図柄(普図)に係る情報表示に用いられるようになっている。そして、上述の第1特別図柄表示部1070の左に並んだ2個のLED表示灯は、普通図柄の保留記憶数を表示するための普通図柄記憶表示部1085を構成しており、その左側に並んだ2個のLED表示灯は、普通図柄表示部1059を構成している。
普通図柄表示部1059は、2つのLED表示灯の動作態様により、普通図柄の変動表示及び停止表示を行うようになっている。そして、普通図柄表示部1059は、停止表示の際には、最大で3(=2^2−1)種類の識別情報を表示可能である。具体的には、2個のLED表示灯の点灯及び消灯の組合せを停止表示させるのだが、当りの場合もはずれの場合も全消灯ではなく少なくとも1個のLED表示灯が点灯するよう構成しているため、最大で3(=2^2−1)種類の識別情報を表示可能である。但し、変形例として、普通図柄表示部1059は、第1特別図柄表示部1070及び第2特別図柄表示部1071とは異なり、はずれの場合は全消灯としてもよく、その場合は最大で4(=2^2)種類の識別情報を表示可能である。
また、上段において普通図柄表示部1059の左側に並んだ2個と、その下に位置する下段左端の2個の4個のLED表示灯により、ラウンド数表示部1086が構成されている。更に下段における、ラウンド数表示部1086と第2特別図柄表示部1071との間の4個のLED表示灯は、左から順に第1状態表示部(状態表示灯1)1087a、第2状態表示部(状態表示灯2)1087b、第3状態表示部(状態表示灯3)1087c、第4状態表示部(状態表示灯4)1087dとなっている。
上述の第1状態表示部1087aは、特図に係る確率変動機能作動時に点灯するようになっており、第2状態表示部1087bは、普図に係る確率変動機能作動時に点灯するようになっている。また、第2状態表示部1087bは、所謂電サポ(電チューサポート)状態時である開放延長時にも点灯するようになっている。更に、第3状態表示部1087cは、打ち分け(右打ち)状態指示灯として用いられている。また、第4状態表示部1087dは、エラー表示灯として用いられている。
ここで、上述の第3状態表示部1087c(打ち分け状態指示灯)は、電サポ状態中のほか、大当り中などにも点灯するようになっている。なお、大当り中は、連荘中であったとしても、電サポ状態とするためのフラグ(電サポフラグ)等はオフとなっている。また、第3状態表示部1087cは、これら以外の状態(通常時)の普通電動役物に係るロング開放時などにも点灯させることが可能である。
このような構成の主制御表示装置1053(遊技盤側主制御表示装置)は、図65中に示すように、前述のメイン基板1102に電気的に接続されている。そして、主制御表示装置1053における各種の表示部は、メイン基板1102によって制御される。なお、図65中では、主制御表示装置1053における各種の表示部のうち、普通図柄表示部1059、第1特別図柄表示部1070、第2特別図柄表示部1071のみを示している。
<<主制御表示装置の機能>>
前述の作動口1068を遊技球が通過すると、普通図柄表示部1059が点滅し、普通図柄の変動表示が実行される。そして、普通図柄の変動表示が開始されてから所定の変動時間(普図変動時間)が経過すると、普通図柄が停止表示される。そして、普通図柄が、はずれの態様(はずれ態様)で表示された場合には、所定の停止時間(普図停止固定時間)の経過の後、後続の作動口への入球があれば、普通図柄に係る次の変動表示が開始される。また、普通図柄が、所定の当りの態様(当り態様)で停止表示された場合には、はずれの場合と同様に次回の変動表示へ移行する一方で、先に停止表示された普通図柄の当り態様に応じて、第2始動入賞口1063が所定時間の開放動作を行う。
この普図抽選に係る保留数は、普通図柄の変動中に作動口1068を通過した遊技球の個数であり、普通図柄の変動表示がまだ実行されていない普図抽選の回数を示している。すなわち、普通図柄記憶表示部1085において先に行われている図柄変動が終了していない場合には変動開始条件が成立していないこととなり、当該図柄変動が終了すると変動開始条件が成立し、保留記憶されていた抽選結果(保留抽選結果)に基づき、新たな図柄変動が開始されることとなる。そして、保留数の上限は4個であり、保留記憶は4個を超えて行われることがないようになっている。
普通図柄記憶表示部1085による、4種類の数値の表示は、例えば、保留数が0の場合(保留がない)場合は両方を消灯し、保留数が1の場合は何れか一方を点灯して他方を消灯するといった態様で行うことが可能である。また、保留数が2の場合は両方を点灯し、保留数が3の場合は何れか一方を点灯して他方を点滅させ、保留数が4の場合は両方を点滅させる、といった態様で保留数の表示を行うことが可能である。
前述の第1特別図柄記憶表示部1083による第1特別図柄の保留数の表示については、2個のLED表示灯を1組として、4種類の情報を表示することにより行われる。前述の第2特別図柄記憶表示部1084による第2特別図柄の保留数の表示についても、2個のLED表示灯を1組として、4種類の情報を表示することにより行われる。
なお、前述の右打ちを行うべき遊技状況となった場合には、主制御表示装置1053(図69参照)の第3状態表示部1087cを用いた所定態様での表示が行われる。本実施例では、第3状態表示部1087cは、左打ちすべき遊技状況である左打ち時には消灯し、右打ちすべき遊技状況である右打ち時には点灯するよう設定されている。
<演出表示装置の構成と基本的な表示内容>
続いて、前述の演出表示装置1060の構成と、演出表示装置1060の基本的な表示例について説明する。本実施例では、演出表示装置1060として、大型(例えば15インチ程度)な液晶ディスプレイが用いられている。この演出表示装置1060の表示領域1194には、前述の主制御表示装置1053で表示される第1特別図柄又は第2特別図柄についての演出表示や、ストーリー表示などといったその他の演出表示が行われる。なお、演出表示装置1060においては多様な画像の表示が行われるが、ここでは、第1特別図柄又は第2特別図柄に直接的に関係する基本的な演出表示について説明する。
前述のように、主制御表示装置1053において第1特別図柄又は第2特別図柄の変動表示が開始されると、演出表示装置1060において、図70(a)、(b)に示すように、演出図柄(「装飾図柄」などともいう)1190の変動表示を伴う変動演出が実行される。本実施例においては、演出図柄1190は、左演出図柄1190a、中演出図柄1190b、右演出図柄1190cにより構成されている。なお、以下では、左中右の演出図柄1190a〜1190cについて、状況に応じ、「演出図柄1190」や「演出図柄1190a〜1190c」と記載する場合がある。
更に、本実施例において演出図柄1190は、数字の「1」から「9」の記号の意味を有する9種類の要素図柄(記号要素演出図柄)を有している。そして、他の演出図柄である中演出図柄1190b及び右演出図柄1190cも、左演出図柄1190aと同じく、数字の「1」から「9」を意味する9種類の要素図柄を有している。なお、上述の要素図柄の詳細については後述する。
主制御表示装置1053における第1特別図柄又は第2特別図柄の変動表示に伴い、演出表示装置1060において、上述の演出図柄1190が変動表示される(図70(a)参照)。演出図柄の変動表示は、本実施例においては、左演出図柄1190aから右演出図柄1190cを、個々に縦方向に移動(縦スクロール)させ、上述の要素図柄を順次表示領域1194中に登場させることにより実行される。なお、演出図柄1190a〜1190cのスクロール方向としては、縦方向のほか、横方向や回転、或いは、旋回などといった種々の態様を採用することが可能である。
また、演出図柄1190は、変動表示の途中段階として、所謂「リーチ」の組合せを構成する場合がある。この「リーチ」においては、演出図柄1190のうち、2つの演出図柄(ここでは左演出図柄1190aと右演出図柄1190c)が、例えば「7」と「7」などの同じ数字の図柄、同じ意味、或いは、所定の関係を持った図柄で組合せを構成する。更に、この「リーチ」においては、リーチ(テンパイ)の組合せを構成した演出図柄1190a、1190c以外の、残りの1図柄(ここでは中演出図柄1190b)が、他の演出図柄との組合せを構成できない変動中となっている。
なお、演出図柄1190の表示態様としては、多種類の「リーチ」や、その他の種々のものを採用できる。また、演出表示装置1060においては、演出図柄1190による演出以外にも種々の演出が行われる。
また、本実施例では、演出表示装置1060は液晶ディスプレイを用いたものとなっているが、これに限らず、例えば、適用に支障がない限り、機械式のドラム体やLED表示体といった他の種類の表示体を用いたものであってもよい。更に、演出表示装置1060は、1つの表示体のみを備えたものに限らず、例えば付加的な表示体が追加されて複数の表示体の組合せにより構成されるものであってもよい。
更に、このような付加的な表示体を可動演出部材として備え、付加的な表示体によるギミックを構成することも可能である。そして、通常は、付加的な表示体を、演出表示装置1060の表示領域1194の視認の障害とならないように、表示領域1194の外側に避けて配置しておき、所定の演出パターンが実行される場合に、付加的な表示体が、表示領域1194の前方に現れるようにすることが考えられる。
<設定変更機能に係る構成>
次に、前述した設定変更に係る構成や、設定変更の方法について説明する。図67(a)は、メイン基板1102が透明な基板ケース1801に収容された状態を一部拡大して示しており、図67(b)は、図67(a)中のA−A断面を拡大して概略的に示している。図67(a)において、基板ケース1801は、無色透明なプラスチック材料により分割構造(例えば2分割の構造)の箱状に形成されている。
基板ケース1801の分割構造としては、例えば、メイン基板1102を保持する基板保持体にカバー体を組み合わせ、分離の際に痕跡を残すかしめ構造を介して基板保持体とカバー体とを結合するものを採用することができる。基板ケース1801においては、サブメイン基板1301等のような他の機器との接続に用いられるコネクタ1802(一部のみ符号を付して示す)、可能な限り隙間を生じない程度の大きさで形成された開口から露出している。
メイン基板1102は、透明な基板ケース1801を通して視認可能となっているが、図67(a)では、CPU(メインCPU)1501、試験端子搭載領域1806、前述の設定表示器1807、同じく前述の入球状態表示器1808を破線で示し、その他の機器については図示を省略している。これらのうち試験端子搭載領域1806は、製品試験段階で出玉試験等を実施する際にのみ試験端子が実装される領域であり、量産段階のメイン基板1102においては、試験端子の実装は行われていない。
上述の設定表示器1807は、設定変更時や設定確認時に限り、選択された設定値を表示するものである。そして、設定表示器1807は、役物連続作動装置の作動確率(特別電動役物を連続的に作動させる装置の作動確率であり、いわゆる大当り確率)を異ならせるための設定値に関して、現在の設定値を表示可能である。更に、設定表示器1807には1桁分の7セグ表示器が用いられている。ここで、本実施例では、図示は省略するが、設定表示器1807における7セグ表示器の右下隅部にドット表示部が設けられている。
設定表示器1807の近傍には、設定キーシリンダ(「設定キースイッチ」などともいう)1809や設定変更ボタン(「設定変更スイッチ」などともいう)1810が配置されており、設定キーシリンダ1809や設定変更ボタン1810等により設定変更用操作部1811が構成されている。この設定変更用操作部1811は、図67(b)に示すように、基板ケース1801の設定変更用開閉蓋(以下「開閉蓋」と称する)1812を開放することで、図67(a)に示すように露出するようになっている。
開閉蓋1812は、例えば、基板ケース1801に樹脂ヒンジを介して一体に成形され、突出したツマミ部1813を手指により引っ張って、弾性力に抗しながら、矢印Bで示すように開放させるようなものを例示できる。また、開閉蓋1812を閉じる場合には、図67(b)の状態から倒伏させ(図示略)、自由端側を基板ケース1801に係止させる。
前述の入球状態表示器1808は、ぱちんこ遊技機1010の性能表示部として用いられており、遊技状態別のベース(発射数あたりの賞球数の値)を表示可能となっている。本実施例では、図67(a)の右下の部位に拡大して実線で示すように、入球状態表示器1808には4桁分の7セグ表示器が用いられている。また、入球状態表示器1808の各桁の7セグ表示器の右下隅にドット表示部(符号省略)が設けられている。
本実施例においては上述のようにCPU501、試験端子搭載領域1806、入球状態表示器1808、設定変更用操作部1811、並びに、設定表示器1807が、平面視(遊技機の背面視)においてラップしないよう(重ならないよう)に配置されている。また、表示の誤認を抑止できるように、入球状態表示器1808と設定表示器1807とが所定距離以上(例えば30mm以上)の間隔を介して配置されている。
なお、本実施例においては図67(b)における左側が遊技機枠1011を開放する際の自由端となっており、設定変更用操作部1811並びに設定表示器1807を自由端側近傍に配置することにより、設定値の変更作業等を容易にできるように配慮する一方で、入球状態表示器1808については、遊技機枠1011を開放する際の回転軸(固定端)側に配置することで、遊技機枠を開放した際に、表示情報を意図せず遊技者に視認されることを抑止するように配慮している。無論、設定値の変更等に際して不正防止を優先する場合には、設定変更用操作部1811並びに設定表示器1807を、メイン基板1102の正面視右側(遊技機枠1011の回転軸側)に形成すればよい。
ここで、本実施例においては、上述した点を考慮し、安易に設定変更用操作部1811にアクセスできないように、設定変更用操作部1811に対応する部分に開閉蓋1812を設け、設定値の変更作業や設定情報の確認作業等の場合を除き、設定変更用操作部1811が露出しないように構成されている。以下では、設定変更用操作部1811並びに設定表示器1807に関して図67(b)も参照しつつ説明する。
まず、設定変更用操作部1811に対応する位置関係にある基板ケース1801の上面部分は、設定キーシリンダ1809の設定キー差込口(符号省略)に設定キー(鍵)が挿入可能となるように、また、設定変更ボタン1810の操作が可能となるように所定の大きさの開口部1816が形成されている。但し、当該開口部1816からメイン基板1102の上面に向かって側壁等の区画壁か形成されることにより、開口部1816を介してメイン基板1102の他の電子部品(例えばCPU1501)にアクセスできないようになっている。また、この開口部1816に対応して設定キー差込口(符号省略)が形成された設定キーシリンダ1809と、プッシュ式の設定変更ボタン1810とが、ぱちんこ遊技機1010の背面から見て上下に配設され、更に、開口部1816の大きさに対応した開閉蓋1812が開口部1816を常に閉鎖する方向に付勢された状態で、開閉可能に基板ケース1801に設けられている。
次に、設定変更等の操作方法と設定変更・設定表示の作用の概要について簡単に説明する。設定値の確認を行う際には、まず、電源スイッチ1040(図64参照)を操作して電源をオフにし、その後、開閉蓋1812を付勢力に抗して所定角度開放し、設定キーシリンダ1809の設定キー差込口に設定キー(鍵)を挿入してキーを右方向に回転させる。そして、初期化スイッチ1544を押すことなく再度電源スイッチ1040(図64参照)を操作して電源をオンにする。この操作により、7セグメントLEDで形成された設定表示器1807に、現在の設定値(例えば設定値の範囲が「1」〜「6」であれば該当する数値)が表示され、設定表示モードであることを示すために一部のセグメント(ここではドット部分)が点灯駆動される。なお、本実施例においては、遊技機が起動している際(例えば、始動入賞口の入賞検出等、遊技の進行に係る入力に基づく制御が実行可能な状態)には、設定値の変更処理はできないように構成されている。
一方、設定値の変更を行う際には、まず、電源スイッチ1040(図64参照)を操作して電源をオフにし、その後、開閉蓋1812を付勢力に抗して所定角度開放し、設定キーシリンダ1809の設定キー差込口に設定キー(鍵)を挿入してキーを右方向に回転させる。そして、初期化スイッチ1544を押しながら再度電源スイッチ1040(図64参照)を操作して電源をオンにする。この操作により、7セグメントLEDで形成された設定表示器1807に、現在の設定値が点滅表示され、設定変更モードであることを示すために一部のセグメント(ここではドット部分)が消灯(消灯表示)される。
この状態で、設定変更ボタン1810を押圧操作するごとに、現在の設定値に+1ずつされた新たな設定値が一時記憶され、記憶された設定値が設定表示器1807に表示される。遊技場における管理者は、任意の(目的の)設定値となるように設定変更ボタン1810を操作する。なお、本実施例では、電源投入時の設定値が「1」であれば、設定変更ボタン1810を1回押圧操作する毎に「1」「2」・・・「5」「6」「1」のように変更される。
そして、設定変更ボタンの操作により、任意の設定値に変更(設定表示器1807に任意の設定値が表示)した状態で設定キーシリンダ1809に挿入されているキーを左方向に回転させると、設定変更処理が完了し、所定時間(例えば1000ms)に亘り、設定表示器1807に、現在の設定値が点灯表示されるとともに一部のセグメント(ここではドット部分)が点灯表示された後、設定値及びドットの双方が消灯される。
<ぱちんこ遊技機の電気的構成>
次に、本実施例のぱちんこ遊技機1010における電気的構成について説明するが、ここでは電気的構成のうちの主要なものを抽出して説明する。先ず、ぱちんこ遊技機1010には、図66に示すように、電源基板1251、払出制御基板1103、メイン基板1102、及びサブメイン基板1301等が備えられている。これらのうち電源基板1251には、上述の払出制御基板1103、遊技球等貸出装置接続端子板1106、発射制御基板1107等が接続されている。また、払出制御基板1103には、枠中継端子板1108を介してメイン基板1102が接続されている。また、メイン基板1102には、前述の主制御表示装置1053を構成するメイン図柄表示基板(「図柄表示基板」ともいう)1256や、サブメイン基板1301が接続されており、サブメイン基板1301には、前述のサブサブ基板1302が接続されている。
上述の各種構成のうちの電源基板1251は、前述の電源ユニット1032(図64参照)に備えられているものである。この電源基板1251には、枠演出接続基板1300や、遊技球等貸出装置接続端子板(図示略)が接続され、これらのうちの遊技球等貸出装置接続端子板(図示略)には、球貨操作に用いられる球貨操作基板等が接続される。
前述の発射制御基板1105には、発射ハンドル1020(図63参照)に備えられたタッチスイッチ1310が接続されている。このタッチスイッチ1310には、図示は省略するが、発射タッチレバーや、アース用の錠金具が接続されている。タッチスイッチ(「タッチセンサ」ともいう)1310は、遊技者や遊技場店員等が発射ハンドル1020に手指を触れた場合に、この接触を検出して出力信号の態様を変化させる。
更に、発射制御基板1105には、発射強度ボリューム1311、発射停止スイッチ1312、前述の発射装置1043が接続されている。これらのうちの発射強度ボリューム1311は、発射ハンドル1020の回転操作量に応じ遊技球の発射強度を変化させるために用いられる。発射停止スイッチ1312は、発射ハンドル1020を把持した手指の一部(親指など)での操作を検出して発射を停止させるために用いられる。
メイン基板1102には、電源基板1251からの電力が、払出制御基板1103や枠中継端子板を経由して供給されるようになっている。更に、メイン基板1102には、図示を省略した遊技盤接続基板や遊技盤中継端子板を介して、図65に示すように、主制御表示装置1053、通過検出装置1069、普通電動役物ソレノイド1076、第1始動入賞検出装置1074、第2始動入賞検出装置1075、一般入賞検出装置1073、大入賞検出装置1078、大入賞口(開放)ソレノイド1080、及び、磁気センサや電波センサ(図示略)等が接続されている。ここで、本実施例では、第1始動入賞検出装置1074、及び、第2始動入賞検出装置1075のメイン基板1102への接続に関しては、遊技盤接続基板や遊技盤中継端子板を介さずに直接行われている。
サブメイン基板1301には、電源基板1251からの電力が、枠演出接続基板1300、枠接続基板1303を経由して供給されるようになっている。更に、サブメイン基板1301には、上述の枠接続基板1303、枠演出接続基板1300のほか、ガラス枠演出接続中継基板1305、ガラス枠演出接続基板1306を介して、遊技機枠1011における演出用の各機器が接続されている。
ぱちんこ遊技機1010における演出用の各機器としては、枠電飾L2基板1317、枠電飾R2基板1318、(左)スピーカ1021(L)、(右)スピーカ1021(R)などがある。また、本実施例では、十字キー(十字ボタン)基板、演出ボタン基板、昇降モータ、演出ボタン(操作ボタン)モータ、ボタン位置センサ、なども備えられているが、図66では図が煩雑にならないよう、これらの図示も省略している。
また、サブメイン基板1301には、遊技盤用の機器、画像表示用の機器、音声制御用の機器なども接続されている。これらのうち遊技盤用の機器としては、盤面電飾接続基板1331がある。この盤面電飾接続基板1331は、前述の枠接続基板1303、演出インターフェース基板1304を介してサブメイン基板1301に接続されている。そして、盤面電飾接続基板1331には、センター飾り1064の電飾用に用いられるセンター電飾基板1332が接続されている。また、盤面電飾接続基板1331には、図示は省略するが、演出センサ基板、その他の電飾基板、演出用モータなども接続されている。ここで、演出インターフェース基板1304には、図示は省略するが、各種の電飾基板や演出モータが接続されている。
サブメイン基板1301に接続された前述の画像表示用の機器としては、サブサブ基板(画像制御基板)1302があり、サブサブ基板1302には、画像表示接続A基板1336を介して液晶ユニット(液晶モジュールともいう)1042が接続されている。ここで、本実施例では、図示は省略するが、画像表示接続B基板を介して演出インターフェース基板1304に接続された他の液晶ユニットも備えられている。また、サブメイン基板1301に接続された前述の音声制御用の機器としては、音声制御基板(音声基板)1339や、音声ロム(ROM)基板1340がある。
続いて、メイン基板1102や払出制御基板1103等の構成について説明する。図66に示すように、メイン基板1102には、CPU(メインCPU)1501、ROM(メインROM)1502、RWM1503が搭載されている。これらのうち、CPU1501としては、例えば樹脂パッケージングがされたCPU装置(CPUデバイス)内の中央処理装置を利用可能である。なお、本実施例で説明する「ROM」や「RWM」は、CPUデバイスに内蔵されたもの、及び、CPUデバイスに対して外付けされたものの両方を含む包括的な概念のものである。
更に、図示は省略するが、メイン基板1102に搭載されたCPUデバイス内には、CPU1501のほかに、制御用クロック生成回路、乱数用クロック生成回路、16ビット乱数用の乱数回路、8ビットの乱数用の乱数回路等が備えられている。これらのうち16ビット乱数用の乱数回路、及び、8ビットの乱数用の乱数回路は、内蔵乱数であるハードウェア乱数を発生させるためのものである。
また、メイン基板1102には、メイン基板1102の外部の機器との間でデータの入出力を行う入出力ポート1505が搭載されている。更に、メイン基板1102には、図示は省略するが、割込回路やタイマ回路などの各種回路部が形成されている。
上述のROM1502は、CPU1501が遊技に係る処理を行うための遊技プログラムや、所定の制御データなどを記憶している。また、上述のRWM1503は、CPU1501による遊技プログラムの実行に際して、各種の処理に必要なデータや、処理中に発生したデータ等を書換え可能に記憶する。
続いて、払出制御基板1103には、CPU(払出CPU)1511、ROM(払出ROM)1512、RWM1513が搭載されている。これらのうち、CPU1511としては、例えば樹脂パッケージングがされたCPU装置(CPUデバイス)内の中央処理装置を利用可能である。また、ROM1512は、CPU1511が払出しに係る処理を行うための払出用プログラムや、所定の制御データなどを記憶している。また、上述のRWM1513は、CPU1501による払出プログラムの実行に際して、各種の処理に必要なデータや、処理中に発生したデータ等を書換え可能に記憶する。
前述のサブメイン基板1301は、CPU(サブメインCPU)1521と、ROM(サブメインROM)1522と、ワークRWM1523と、入力ポート1527と、出力ポート1528、バスライン(図示略)などを備えている。そして、入力ポート1527の入力側にはメイン基板1102の出力側が接続され、入力ポート1527の出力側には、CPU1521、ROM1522、ワークRWM1523、及び、出力ポート1528などが接続されている。
サブメイン基板1301のCPU1521は、メイン基板1102から送信される図柄表示用の演出制御コマンド(指令)に基づいて演出表示装置1060の表示を制御する。ROM1522は、CPU1521により実行される各種の制御プログラムや固定値データを記憶するためのメモリであり、ワークRWM1523は、CPU1521による各種プログラムの実行時に使用されるワークデータやフラグを一時的に記憶するためのメモリである。
なお、前述のメイン基板1102とサブメイン基板1301の間におけるデータの送受信は、メイン基板1102からサブメイン基板1301への一方向通信(片方向通信)の態様で行われる。そして、メイン基板1102とサブメイン基板1301との間で、通信の一方向性が確保されているため、サブメイン基板1301からメイン基板1102へは、データの送信を行うことができない。したがって、メイン基板1102が保有する情報は、メイン基板1102がサブメイン基板1301へ送信しない限り、サブメイン基板1301で参照することはできない。なお、このような一方向での通信を可能とするために、例えば、メイン基板1102に通信規制手段(バッファ回路など)を搭載し、サブメイン基板1301へのデータ出力を、この通信規制手段を介して行うことが可能である。
前述のサブサブ基板1302は、CPU1531、ワークRWM1532、プログラムROM1533、キャラクタROM1535、画像コントローラ(VDP)1536、入力ポート1538、出力ポート1539、及び、バスライン(図示略)などを備えている。更に、画像コントローラ(VDP)1536は、ビデオメモリ1540を備えている。そして、入力ポート1538の入力側にはサブメイン基板1301の出力側が接続され、入力ポート1538の出力側には、CPU1531、ワークRWM1532、プログラムROM1533等の各機器が接続されている。
上述のビデオメモリ1540は、演出表示装置1060に表示される表示データを記憶するためのメモリであり、ビデオメモリ1540における画像データの内容を書き替えることにより、演出表示装置1060の表示内容(フレーム画像)が変更される。キャラクタROM1535は、演出表示装置1060に表示される図柄などのキャラクタデータを記憶するためのメモリである。画像コントローラ1536は、CPU1531、ビデオメモリ1540、出力ポート1539のそれぞれの動作タイミングを調整してデータの読み書きに介在すると共に、ビデオメモリ1540に記憶される表示データを、キャラクタROM1535から所定のタイミングで読み出し、更に予め優先順位を定めたレイヤの順に図柄を重ねて演出表示装置1060に表示させる。
<電源供給とデータバックアップ>
前述の電源基板1251は、ぱちんこ遊技機1010の各部に電源を供給するための電源部1541と、初期化スイッチ1544を有する初期化スイッチ回路部1543とを備えている。電源部1541は、図示しない電源経路を通じて、メイン基板1102や払出制御基板1103等に対して、各々に必要な動作電圧を供給する。より具体的には、電源部1541は、外部より供給される所定の電圧を取り込み、各種スイッチ、モータ、ロジック回路等を駆動するための所定量の電圧を、メイン基板1102や払出制御基板1103、及び、その他の所定の機器に対して供給する。
初期化スイッチ回路部1543は、電源投入時に、例えば遊技店舗の管理者によって初期化スイッチ1544が押下された場合に、メイン基板1102及び払出制御基板1103へ、バックアップデータをクリアするための初期化信号を出力する回路を備えている。メイン基板1102及び払出制御基板1103においては、後述するように、電源基板への電源供給が断たれている状況においても、記憶したデータを保持(バックアップ)することが可能となっている。そして、ぱちんこ遊技機1010の電源投入時に、メイン基板1102及び払出制御基板1103に上述の初期化信号が入力されると、メイン基板1102や払出制御基板1103でバックアップされていたデータ(バックアップデータ)がクリアされる。ここで、本実施形態においては、前述したとおり、電源投入時の初期化スイッチ1544の入力状況と設定キーの入力状況に応じて設定変更状態に遷移するようになっているため、メイン基板は、初期化スイッチ回路部1543からの信号と設定キーに係る入力信号とに応じて初期化の有無、初期化の範囲等を決定可能に構成されている。
なお、初期化スイッチ1544を、メイン基板1102用のものと、払出制御基板1103用のものとに分け、バックアップされていたデータのクリアを、メイン基板1102と払出制御基板1103とで別々に行うようにしてもよい。また、例えば、電源立ち上げの際に、初期化スイッチ1544を操作すると、メイン基板1102用のバックアップデータと、払出制御基板1103の一部のバックアップデータとがクリアされ、払出制御基板1103に付加された払出用の初期化スイッチ(図示略)を更に操作すると、払出制御基板1103の残りのバックアップデータがクリアされる、といった構成も採用することが可能である。
上述のように、メイン基板1102におけるRWM1503は、ぱちんこ遊技機1010の電源の遮断後においても、電源基板1251からバックアップ電圧が供給されて、データを保持(バックアップ)できるようになっている。つまり、RWM1503には、各種のデータ等を一時的に記憶するためのメモリやエリア(図示略)の他に、バックアップエリア1503aが設けられている。このバックアップエリア1503aは、停電(瞬間的な電圧降下による停電である所謂瞬停を含む)などの発生により電源が遮断された場合(電断が生じた場合)において、電源遮断時のスタックポインタや、各レジスタ、I/O等の値を記憶しておくためのエリアである。そして、通常の電源立ち上げや、停電の解消に伴い、メイン基板1102等の状態が、バックアップエリア1503aの情報に基づいて、電源遮断前の状態に戻される。ここで、電源の遮断に関して、以下では「電断」のほかに「電源断」と称する場合があるが、いずれも同様の意味を有している。
バックアップエリア1503aへの書き込みは、電源断処理(図示略)によって電源遮断時に実行され、バックアップエリア1503aに書き込まれた各値の復帰は電源投入時の電源投入時処理(図示略)において実行される。バックアップエリア1503aとしては、CPU1501に対して外付けされ、バックアップ電源の接続がされたRWM(外部RWM)を利用することが可能である。
また、払出制御基板1103におけるRWM1513についても、メイン基板1102のRWM1503と同様に、ぱちんこ遊技機1010の電源の遮断後において、電源基板1251からバックアップ電圧が供給されて、データを保持(バックアップ)できるようになっている。つまり、払出制御基板1103のRWM1513には、各種のデータ等を一時的に記憶するためのメモリやエリア(図示略)の他に、バックアップエリア1513aが設けられている。このバックアップエリア1513aは、停電などの発生により電源が遮断された場合(電断が生じた場合)において、電源遮断時のスタックポインタや、各レジスタ、I/O等の値を記憶しておくためのエリアである。そして、通常の電源立ち上げや、停電の解消に伴い、払出制御基板1103の状態が、バックアップエリア1513aの情報に基づいて、電源遮断前の状態に戻される。
バックアップエリア1513aへの書き込みは、払出制御基板1103における電源断処理によって電源遮断時に実行され、バックアップエリア1513aに書き込まれた各値の復帰は電源投入時の、払出制御基板1103における電源投入時処理(制御開始処理)において実行される。バックアップエリア1513aとしては、メイン基板1102の場合と同様に、CPU1511に対して外付けされ、バックアップ電源の接続がされたRWM(外部RWM)を利用することが可能である。
前述のメイン基板1102には、上述のような停電等による電源遮断を監視する停電監視回路部1506が設けられている。この停電監視回路部1506は、停電等の発生による電源遮断時に、メイン基板1102のCPU1501や、払出制御基板1103のCPU1511に、停電信号(電断信号)を出力する。より具体的には、停電監視回路部1506は、電源基板1251の電源部1541から出力される最大電圧である直流安定(例えば30ボルト)の電圧を監視し、この電圧が所定電圧未満になった場合に、停電(電源遮断)の発生を検知して、上述の電断信号を出力する。このような電断信号の入力に基づき、メイン基板1102のCPU1501、及び、払出制御基板1103のCPU1511は、所定の電源断処理を実行する。
なお、メイン基板1102等における電気的特性は、直流安定電圧が、電断信号の出力が行われる所定電圧未満になった後においても、電源断処理などの所定の処理の実行に充分な時間の間、制御系の駆動電圧である5ボルトの電圧の出力が正常値に維持されるよう構成されている。
また、本実施例においては図66中に示すように、電源基板の出力が、払出制御基板1103を介して、メイン基板1102に供給されるようになっている。しかし、これに限らず、例えば、電源基板の出力が、メイン基板1102を介して払出制御基板1103に供給されるようにしたり、メイン基板1102と払出制御基板1103とに別系統で個別に供給されるようにしたりしてもよい。
また、前述の停電監視回路部1506は、メイン基板1102以外の部位に配置することも可能である。例えば、電源基板1251上に停電監視回路部1506を形成して、電源基板1251上において停電監視回路部1506から各基板へ電断信号を入力してもよい。また、メイン基板1102から払出制御基板1103への電断信号の入力を省略することも可能である。更に、電源基板1251の機能を、メイン基板1102が発揮できるようにしてもよい。この場合、電源部1541をメイン基板1102上に形成することなどが考えられる。
更に、停電監視回路部1506を払出制御基板1103に設け、払出制御基板1103とメイン基板1102の各々で、電断信号の出力と、電断信号に基づく電源断処理を行うようにしてもよい。また、メイン基板1102と払出制御基板1103のうち、払出制御基板1103のみに停電監視回路部1506を設け、電断信号を、払出制御基板1103からメイン基板1102へ送信するようにしてもよい。
ここで、前述のメインCPU1501や払出CPU1511などには、NMI(ノンマスカブル割込み)端子が備えられている。また、前述の電源断処理の実行の契機としては、メインCPUのNMI端子に電圧低下を示す電源断信号が入力されたことに基づきノンマスカブル割込み(NMI)を発生させるハードウェア的なものと、タイマ設定に基づく周期的な割込処理で、電圧低下が検知された際に立てた電源断フラグを確認して行うソフトウェア的なものなどがある。
本実施例においては、NMIによるハードウェア的な契機に基づき電源断処理が行われるようになっている。そして、NMI端子への信号入力は、例えば、停電監視回路部1506からの電断信号をNMI端子に入力することにより行うことが可能である。ここで、NMI端子への信号入力は、停電監視回路部1506から電断信号が出力された場合のほか、NMI端子に繋がる信号線へのノイズの混入などによっても生じ得るものである。なお、電源断処理への移行は、ソフトウェア的な手法に基づき行うことも可能である。また、NMI端子に入力される電源断信号に基づき、電源断フラグを設定し、電源断処理の実行契機とすることも可能である。なお、ここではメイン基板1102と払出制御基板1103でデータバックアップを行っているが、これに限らず、例えばサブメイン基板1301で記憶エリアのデータバックアップが行われるようにし、サブメイン基板1301において、メイン基板1102又は払出制御基板1103と同様にデータバックアップを行うようにすることも可能である。
次に、メイン基板1102における基本的な機能について説明する。本実施例のメイン基板1102は、前述した各構成(図66参照)の働きにより、例えば、入球判定、抽選、コマンド送信などの各種の機能を果たす。
図68中には、メイン基板1102、サブメイン基板1301、及び、サブサブ基板1302の各々における代表的な機能的手段を示している。これらのうち、メイン基板1102は、入球判定手段1110、第1抽選手段1111、第2抽選手段1112、普図抽選手段1113、保留制御手段1114、メイン表示制御手段1115、特別遊技制御手段1116、特定遊技制御手段1117、開閉制御手段1118、事前情報通知手段1119、メインコマンド送信手段1120等を備えている。
そして、メイン基板1102は、これらの機能的手段により、以下に順に説明するように、特別図柄に関する抽選、普通図柄に関する抽選、保留制御、主制御表示、特別遊技、特定遊技、開閉制御、事前情報通知等を実行する。
上述の入球判定手段1110は、各入賞口(作動口、各種始動入賞口、大入賞口、一般入賞口、アウト口など)への遊技球の入球を各入賞口に設けられたセンサ類から出力される信号をもとに判定する。
<<特別図柄に係る当否抽選機能>>
前述の第1抽選手段1111は、第1始動入賞口1062への入球に基づき第1抽選を実行する。第1抽選手段1111は、第1抽選値取得手段1121、第1当否判定手段1122、第1図柄決定手段1123、第1パターン決定手段1124の機能を有している。第1抽選の結果は、前述の主制御表示装置53(図69参照)の第1特別図柄表示部1070において、停止表示された第1特別図柄により表される。
同様に、前述の第2抽選手段1112は、第2始動入賞口1063への入球に基づき第2の抽選を実行する。第2抽選手段1112は、第2抽選値取得手段1125、第2当否判定手段1126、第2図柄決定手段1127、第2パターン決定手段1128の機能を有している。第2の抽選の結果は、前述の主制御表示装置1053の第2特別図柄表示部1071において、停止表示された第2特別図柄により表される。
前述の第1抽選手段1111に備えられた第1抽選値取得手段1121は、第1始動入賞口1062への入球を契機に、第1抽選に係る大当り乱数の値を、第1当否抽選値として取得する。また、前述の第2抽選手段1112に備えられた第2抽選値取得手段1125は、第2始動入賞口1063への入球を契機に、第2抽選に係る大当り乱数の値を、第2当否抽選値として取得する。
なお、本実施例では、第1当否抽選値として取得される大当り乱数、及び、第2当否抽選値として取得される大当り乱数は、ハードウェア乱数(ハード乱数)とソフトウェア乱数(ソフト乱数)とを用いた演算(加算)により生成されている。ハードウェア乱数としては、例えば16ビット用の乱数回路で生成される内蔵乱数を利用し、ソフトウェア乱数としては、ソフトウェアにおける乱数生成プログラムにより割込毎に更新される値を利用する。なお、ハードウェア乱数とソフトウェア乱数のうちのいずれか一方を使用するものであってもよい。
第1抽選手段1111における第1当否判定手段1122は、第1当否抽選値に基づいて当否判定を行い、第1当否抽選値が、当りとなる所定の値(当り値)に該当するか否かを判断する。同様に、第2抽選手段1112における第2当否判定手段1126は、上述の第2当否抽選値に基づいて当否判定を行い、第2当否抽選値が、当りとなる所定の値(当り値)に該当するか否かを判断する。第1当否判定手段1122及び第2当否判定手段1126による当否判定では、第1当否抽選値や第2当否抽選値と、大当り抽選の抽選結果との対応を定めた当否判定テーブル(図示略)が用いられる。
第1抽選手段1111における第1図柄決定手段1123や第2抽選手段1112における第2図柄決定手段1127は、第1特別図柄または第2特別図柄に係る大当り抽選でいずれかの大当りに当選した場合における、特別図柄の種類を、大当り図柄判定テーブル(図示略)に基づき決定する。第1抽選用の大当り図柄判定テーブルは、図柄決定に係る乱数値(図柄乱数)である図柄抽選値と、特別図柄の種類との関係を規定している。
ここで、図柄抽選値は、特別図柄に係る「特別図柄当り図柄乱数」や「図柄乱数」などとも称する場合がある。また、本実施例では、当たりの種類に小当りが含まれており、第1図柄決定手段1123および第2図柄決定手段1127は、特別図柄に係る大当り抽選で小当りに当選した場合における、特別図柄の種類を、小当り図柄判定テーブル(図示略)に基づき決定する。
図柄抽選値は、前述の当否抽選値と同様に、始動入賞口への入球を契機に取得されるものである。また、特別図柄の種類は、当りの種類に対応付けられており、取得された図柄抽選値に紐付いて、大当りの種類や小当りの有無が定まるようになっている。
第1抽選手段1111における第1パターン決定手段1124や第2抽選手段1112における第2パターン決定手段1128は、それぞれに対応する特別図柄表示部における特別図柄の変動パターンを、特図変動パターンテーブルに基づき決定する。特図変動パターンテーブルは、多数の特図変動パターンと、特別図柄の変動パターン決定に係る乱数値(変動パターン乱数)であるパターン抽選値との関係を規定している。
パターン抽選値は、前述の当否抽選値と同様に、始動入賞口への入球を契機に取得されるものである。更に、第1特別図柄及び第2特別図柄に係る変動パターンは、例えば、大当り時、はずれ時、リーチの有無、時短の有無、保留数、大当り後の変動回数などといった各種の遊技状況に応じて相違した複数の特図変動パターンテーブルが設けられている。
特別図柄に係る変動パターン(特図変動パターン)は、特別図柄の変動表示における、変動開始から停止までの時間(変動時間)を定めている。そして、特図変動パターンは、その種類によって、例えば1秒以下から数十秒度のように、長短様々な変動時間を規定している。すなわち、各特図変動パターンには、変動表示の終了条件として変動時間が定められており、前述の第1特別図柄表示部1070又は第2特別図柄表示部1071(図69参照)においては、特別図柄の変動表示が開始されて、規定された変動時間が経過すると、特別図柄が停止表示される。
時短時に選択対象となる特図変動パターンの多くについては、非時短時に選択対象となる特図変動パターンよりも、相対的に変動時間が短く設定されているものであって、言い換えると、時短時に選択される変動時間の1変動当りの平均値が、非時短時に選択される変動時間の1変動当りの平均値よりも短いものであるといえる。また、時短(時短遊技)については、特別図柄の変動効率が高い遊技状態(1変動に係る時間が短い状態)であるといえる。しかし、非時短時で、且つ、保留数が4個の場合に選択対象となり得る特図変動パターンには、時短時の特定の特図変動パターンに比べて、変動時間の短いものが含まれている。
また、本実施例においては、確変時等の所定の状況で選択される変動パターンは、極短い変動時間(例えば0.6秒程度)のものが大半を占めるようになっている。そして、このような状況においては、極短い時間の変動パターンに基づき、特別図柄の変動表示や、これに伴う演出が実行されるようになっている。
以上説明したぱちんこ遊技機1010の演出において、図58〜図60、図62に説明したような会話演出やテロップ演出を適用することが考えられる。ただし、ぱちんこ遊技機1010では、図58(e)や図59(e)に例示した演出を伴うような押し順ナビの機能は採用されていない。このため、ぱちんこ遊技機10では、押し順ナビに係る演出は除外することが望ましい。
また、一般に、ぱちんこ遊技機1010のように遊技球を用いつつ、スロットマシンの停止ボタンの機能を備えたタイプの遊技機がある。このタイプの遊技機は、例えば「パロット」、「パチロット」、或は、「スリットスロット」などの名称で呼ばれることがある。このようなタイプの遊技機においては、押し順ナビに係る演出を採用することが可能と考えられる。
図58〜図60、図62に例示したような会話演出やテロップ演出をぱちんこ遊技機に適用するにあたり、出現契機を、例えば、図61(b)に示すように定めることが可能である。先ず、図61(b)において、会話演出1、会話演出2、テロップ演出1、及び、テロップ演出2の意味は、適用に支障がない限りの同一とすることができる。そして、会話演出1や会話演出2の出現契機は、「始動口入賞から所定時間経過後」とすることが可能である。
さらに、テロップ演出1やテロップ演出2の出現契機は、「始動口入賞から所定時間経過後」、「大入賞口開放から所定時間経過後」、及び、「大入賞口開放から所定時間経過後」とすることが可能である。
また、図60(a)〜(d)に示すゲーム数の表示については、ぱちんこ遊技機1010における確変や時短等といった特定遊技の回数の表示に置き換えて適用することが可能である。また、ラウンド数の表示などにも適用が可能である。さらに、図60(a)〜(d)に示すポイント数の表示については、ぱちんこ遊技機1010においてポイントが累積されている演出を採用し、蓄積されたポイント数の表示を行う状況で適用することが可能である。
10 スロットマシン、11 前面ドア部、12 筐体部、15 回胴表示部、
16 遊技メダル払出口、17 受け皿、18 演出部、21 遊技メダル投入口、
24L〜24R 第1停止ボタン〜第3停止ボタン、25 スタートレバー、
31 サブ制御基板、51L〜51R 第1回胴〜第3回胴、61 主制御基板、
62 設定ユニット、68 設定キースイッチ、81 メインCPU、
1010 ぱちんこ遊技機(実施例1)、1020 発射ハンドル、1050 遊技盤、
1052 遊技領域、1053 主制御表示装置、1062 第1始動入賞口、
1063 第2始動入賞口、1090 大入賞装置、1102 メイン基板、
1104 サブ基板、1301 サブメイン基板、1302 サブサブ基板。
上記課題を解決するために本発明は、台詞とキャラクタ名称とが表示され得る複数の所定演出(会話演出1、2など)と、
文字情報が表示され得る複数の特定演出(テロップ演出1、2など)と
を備え、
所定演出のうち第1所定演出は、所定のスイッチ(スタートレバー、第1停止に係る停止ボタン、第2停止に係る停止ボタンなど)の操作を受け付けた後に表示が開始可能であり、所定のタイミングで特定のスイッチ(第1停止に係る停止ボタン、第2停止に係る停止ボタン、第3停止に係る停止ボタンなど)の操作を受け付けると第1所定演出の表示が変化可能であり(会話演出2の出現が可能であることなど)、
特定演出のうち第1特定演出は、所定のスイッチの操作を受け付けた後に表示が開始可能であり、前記所定のタイミングで特定のスイッチの操作を受け付けなくても時系列に従って第1特定演出の表示が変化可能であり(テロップ演出2の出現が可能であることなど)、
所定のスイッチの操作を受け付けた後に第1所定演出が表示され、前記所定のタイミングで特定のスイッチの操作を受け付けた後に第1所定演出の表示が変化したときは、所定のスイッチの操作を受け付けた後の最初に表示された台詞の表示が継続して表示されており(会話演出1が会話演出2と同時に表示されていることなど)、
所定のスイッチの操作を受け付けた後に第1特定演出が表示され、所定のスイッチの操作を受け付けた後の前記所定のタイミングでは、所定のスイッチの操作を受け付けた後の最初に表示された文字情報の表示は表示されていない(テロップ演出2が出現する際にテロップ演出1が消去されることなど)
ことを特徴とする遊技機。
上記課題を解決するために本発明は、台詞とキャラクタ名称とが表示され得る複数の所定演出(会話演出1、2など)と、
台詞が表示され得る複数の特定演出(テロップ演出1、2など)と
を備え、
所定演出のうち第1所定演出は、スタートスイッチ(スタートレバーなど)の操作を受け付けた後に台詞表示が開始可能であり、N番目(Nは1〜3の何れかの整数)の停止スイッチ(第1停止に係る停止ボタン、第2停止に係る停止ボタン、第3停止に係る停止ボタンなど)の操作を受け付けると第1所定演出の台詞表示が変化可能であり(会話演出2の出現が可能であることなど)、
特定演出のうち第1特定演出は、スタートスイッチの操作を受け付けた後に台詞表示が開始可能であり、N番目(Nは1〜3の何れかの整数)の停止スイッチの操作を受け付けると第1特定演出の台詞表示が変化可能であり、時系列に従って第1特定演出の台詞表示が変化可能であり(テロップ演出2の出現が可能であることなど)、
スタートスイッチの操作を受け付けた後に第1所定演出に係る第1の台詞が表示され、前記N番目の停止スイッチの操作を受け付けた後に第1所定演出に係る第2の台詞が表示されたときには、前記第1の台詞が表示されており(会話演出1が会話演出2と同時に表示されていることなど)、
スタートスイッチの操作を受け付けた後に第1特定演出に係る第3の台詞が表示され、前記N番目の停止スイッチの操作を受け付けた後に第1特定演出に係る第4の台詞が表示されたときには、前記第3の台詞が表示されておらず(テロップ演出2が出現する際にテロップ演出1が消去されることなど)、
特定演出は所定演出と比べて連続演出中に出現されやすくなっており、
連続演出中に表示可能な特定演出は、単発演出中に表示可能な特定演出と比べて、1番目の停止スイッチの操作を受け付けた後に新たな台詞表示に変化されやすくなっている
ことを特徴とする遊技機である。
上記課題を解決するために本発明は、台詞とキャラクタ名称とが表示され得る複数の所定演出(会話演出1、2など)と、
台詞が表示され得る複数の特定演出(テロップ演出1、2など)と
を備え、
複数の所定演出のうち第1所定演出は、スタートスイッチ(スタートレバーなど)の操作を受け付けた後に台詞表示が開始可能であり、N番目(Nは1〜3の何れかの整数)の停止スイッチ(第1停止に係る停止ボタン、第2停止に係る停止ボタン、第3停止に係る停止ボタンなど)の操作を受け付けると新たな台詞表示が表示可能であり(会話演出2の出現が可能であることなど)、
複数の特定演出のうち第1特定演出は、スタートスイッチの操作を受け付けた後に台詞表示が開始可能であり、N番目(Nは1〜3の何れかの整数)の停止スイッチの操作を受け付けると新たな台詞表示が表示可能であり、時系列に従って第1特定演出の台詞表示が変化可能であり(テロップ演出2の出現が可能であることなど)、
スタートスイッチの操作を受け付けた後に第1所定演出に係る第1の台詞が表示され、前記N番目の停止スイッチの操作を受け付けた後に第1所定演出に係る第2の台詞が表示されたときには、前記第1の台詞が表示されており(会話演出1が会話演出2と同時に表示されていることなど)、
スタートスイッチの操作を受け付けた後に第1特定演出に係る第3の台詞が表示され、前記N番目の停止スイッチの操作を受け付けた後に第1特定演出に係る第4の台詞が表示されたときには、前記第3の台詞が表示されておらず(テロップ演出2が出現する際にテロップ演出1が消去されることなど)、
複数の特定演出のうち何れかの特定演出が連続演出中に出現する割合は、複数の所定演出のうち何れかの所定演出が連続演出中に出現する割合と比べて多くなっており、
複数の特定演出における1番目停止スイッチの操作を受け付けた後に新たな台詞表示に変化する特定演出の割合は、単発演出よりも連続演出の方が多くなっている
ことを特徴とする遊技機である。

Claims (1)

  1. 複数のリールと、
    スタートレバーと、
    複数のストップボタンと、
    設定モード起動スイッチと、
    設定値の表示が可能な設定値表示手段と、
    設定値の変更を可能とする設定変更スイッチと、を備え、
    前記設定モード起動スイッチを操作しながら電源ONすると設定変更モードが起動し、
    前記設定変更モード中の前記設定変更スイッチの操作により設定値が変更され、
    前記設定変更モード中の前記スタートレバーの操作により設定値が確定され、
    電源OFFしたときの設定値が所定値であり電源OFF中に前記スタートレバーと前記設定変更スイッチが操作されている状況下で前記設定変更モードが起動されると、設定値が表示される前に前記スタートレバーの操作があったことをモニタ部に示し、設定値が前記所定値で表示されても前記所定値で確定されないことを特徴とする遊技機。
JP2019196177A 2019-10-29 2019-10-29 遊技機 Active JP6802507B1 (ja)

Priority Applications (1)

Application Number Priority Date Filing Date Title
JP2019196177A JP6802507B1 (ja) 2019-10-29 2019-10-29 遊技機

Applications Claiming Priority (1)

Application Number Priority Date Filing Date Title
JP2019196177A JP6802507B1 (ja) 2019-10-29 2019-10-29 遊技機

Related Child Applications (1)

Application Number Title Priority Date Filing Date
JP2020191286A Division JP2021069946A (ja) 2020-11-18 2020-11-18 遊技機

Publications (2)

Publication Number Publication Date
JP6802507B1 JP6802507B1 (ja) 2020-12-16
JP2021069461A true JP2021069461A (ja) 2021-05-06

Family

ID=73740996

Family Applications (1)

Application Number Title Priority Date Filing Date
JP2019196177A Active JP6802507B1 (ja) 2019-10-29 2019-10-29 遊技機

Country Status (1)

Country Link
JP (1) JP6802507B1 (ja)

Cited By (1)

* Cited by examiner, † Cited by third party
Publication number Priority date Publication date Assignee Title
JP2023105401A (ja) * 2022-01-19 2023-07-31 サミー株式会社 遊技機

Families Citing this family (2)

* Cited by examiner, † Cited by third party
Publication number Priority date Publication date Assignee Title
JP6865370B1 (ja) * 2019-10-29 2021-04-28 サミー株式会社 遊技機
JP7267651B2 (ja) * 2021-01-12 2023-05-02 株式会社大都技研 遊技台

Citations (1)

* Cited by examiner, † Cited by third party
Publication number Priority date Publication date Assignee Title
JP2017213161A (ja) * 2016-05-31 2017-12-07 株式会社大都技研 遊技台

Patent Citations (1)

* Cited by examiner, † Cited by third party
Publication number Priority date Publication date Assignee Title
JP2017213161A (ja) * 2016-05-31 2017-12-07 株式会社大都技研 遊技台

Non-Patent Citations (3)

* Cited by examiner, † Cited by third party
Title
"[ツイブレ]ついにアレを引きました[ティナの嫁スロさがし#02・後半]", YOUTUBE[ONLINE], JPN7020000719, 29 March 2018 (2018-03-29), ISSN: 0004336073 *
"[天授突入!さらに、1/65536だって引きゃあいい!!]回胴の達人 vol.89[ゼニスコートグランスロット]", YOUTUBE[ONLINE], JPN7020000721, 30 March 2017 (2017-03-30), ISSN: 0004336074 *
"パチスロ[河原みのりのはっちゃき!]#36 化物語 前編", YOUTUBE[ONLINE], JPN7020000720, 23 April 2017 (2017-04-23), ISSN: 0004336075 *

Cited By (1)

* Cited by examiner, † Cited by third party
Publication number Priority date Publication date Assignee Title
JP2023105401A (ja) * 2022-01-19 2023-07-31 サミー株式会社 遊技機

Also Published As

Publication number Publication date
JP6802507B1 (ja) 2020-12-16

Similar Documents

Publication Publication Date Title
JP6860798B1 (ja) 遊技機
JP6754088B1 (ja) 遊技機
JP6875649B2 (ja) 遊技機
JP6860799B1 (ja) 遊技機
JP2021145960A (ja) 遊技機
JP2021145957A (ja) 遊技機
JP6802507B1 (ja) 遊技機
JP2021145961A (ja) 遊技機
JP6754089B1 (ja) 遊技機
JP6829408B1 (ja) 遊技機
JP2021069946A (ja) 遊技機
JP6865370B1 (ja) 遊技機
JP6875650B2 (ja) 遊技機
JP6923822B2 (ja) 遊技機
JP6923823B2 (ja) 遊技機
JP6985619B2 (ja) 遊技機
JP6978698B2 (ja) 遊技機
JP6985620B2 (ja) 遊技機
JP6978699B2 (ja) 遊技機
JP2021145947A (ja) 遊技機
JP7049037B2 (ja) 遊技機
JP7049038B2 (ja) 遊技機
JP7049036B2 (ja) 遊技機
JP7033822B2 (ja) 遊技機
JP7027000B2 (ja) 遊技機

Legal Events

Date Code Title Description
A521 Request for written amendment filed

Free format text: JAPANESE INTERMEDIATE CODE: A523

Effective date: 20191128

A621 Written request for application examination

Free format text: JAPANESE INTERMEDIATE CODE: A621

Effective date: 20191205

A871 Explanation of circumstances concerning accelerated examination

Free format text: JAPANESE INTERMEDIATE CODE: A871

Effective date: 20191206

A975 Report on accelerated examination

Free format text: JAPANESE INTERMEDIATE CODE: A971005

Effective date: 20191210

A131 Notification of reasons for refusal

Free format text: JAPANESE INTERMEDIATE CODE: A131

Effective date: 20200317

A521 Request for written amendment filed

Free format text: JAPANESE INTERMEDIATE CODE: A523

Effective date: 20200507

A131 Notification of reasons for refusal

Free format text: JAPANESE INTERMEDIATE CODE: A131

Effective date: 20200901

A521 Request for written amendment filed

Free format text: JAPANESE INTERMEDIATE CODE: A523

Effective date: 20201014

TRDD Decision of grant or rejection written
A01 Written decision to grant a patent or to grant a registration (utility model)

Free format text: JAPANESE INTERMEDIATE CODE: A01

Effective date: 20201027

A61 First payment of annual fees (during grant procedure)

Free format text: JAPANESE INTERMEDIATE CODE: A61

Effective date: 20201109

R150 Certificate of patent or registration of utility model

Ref document number: 6802507

Country of ref document: JP

Free format text: JAPANESE INTERMEDIATE CODE: R150

R250 Receipt of annual fees

Free format text: JAPANESE INTERMEDIATE CODE: R250

R250 Receipt of annual fees

Free format text: JAPANESE INTERMEDIATE CODE: R250

R250 Receipt of annual fees

Free format text: JAPANESE INTERMEDIATE CODE: R250