JP2020184878A - 充電ステーションネットワーク内で移動負荷に対し複数の充電ステーションの負荷分散を行う方法および充電ステーションネットワーク - Google Patents

充電ステーションネットワーク内で移動負荷に対し複数の充電ステーションの負荷分散を行う方法および充電ステーションネットワーク Download PDF

Info

Publication number
JP2020184878A
JP2020184878A JP2020116433A JP2020116433A JP2020184878A JP 2020184878 A JP2020184878 A JP 2020184878A JP 2020116433 A JP2020116433 A JP 2020116433A JP 2020116433 A JP2020116433 A JP 2020116433A JP 2020184878 A JP2020184878 A JP 2020184878A
Authority
JP
Japan
Prior art keywords
charging
charging station
load
time
mobile load
Prior art date
Legal status (The legal status is an assumption and is not a legal conclusion. Google has not performed a legal analysis and makes no representation as to the accuracy of the status listed.)
Granted
Application number
JP2020116433A
Other languages
English (en)
Other versions
JP7041719B2 (ja
Inventor
シュルケ、アネット
Schuelke Anett
クルパトフ、ローマン
Kurpatov Roman
マスレカー、ニチン
Maslekar Nitin
Current Assignee (The listed assignees may be inaccurate. Google has not performed a legal analysis and makes no representation or warranty as to the accuracy of the list.)
NEC Laboratories Europe GmbH
Original Assignee
NEC Laboratories Europe GmbH
Priority date (The priority date is an assumption and is not a legal conclusion. Google has not performed a legal analysis and makes no representation as to the accuracy of the date listed.)
Filing date
Publication date
Priority claimed from JP2018151256A external-priority patent/JP2019004696A/ja
Application filed by NEC Laboratories Europe GmbH filed Critical NEC Laboratories Europe GmbH
Priority to JP2020116433A priority Critical patent/JP7041719B2/ja
Publication of JP2020184878A publication Critical patent/JP2020184878A/ja
Application granted granted Critical
Publication of JP7041719B2 publication Critical patent/JP7041719B2/ja
Active legal-status Critical Current
Anticipated expiration legal-status Critical

Links

Images

Classifications

    • BPERFORMING OPERATIONS; TRANSPORTING
    • B65CONVEYING; PACKING; STORING; HANDLING THIN OR FILAMENTARY MATERIAL
    • B65HHANDLING THIN OR FILAMENTARY MATERIAL, e.g. SHEETS, WEBS, CABLES
    • B65H55/00Wound packages of filamentary material
    • B65H55/04Wound packages of filamentary material characterised by method of winding
    • GPHYSICS
    • G02OPTICS
    • G02BOPTICAL ELEMENTS, SYSTEMS OR APPARATUS
    • G02B6/00Light guides; Structural details of arrangements comprising light guides and other optical elements, e.g. couplings
    • G02B6/44Mechanical structures for providing tensile strength and external protection for fibres, e.g. optical transmission cables
    • G02B6/4439Auxiliary devices
    • G02B6/4457Bobbins; Reels
    • BPERFORMING OPERATIONS; TRANSPORTING
    • B65CONVEYING; PACKING; STORING; HANDLING THIN OR FILAMENTARY MATERIAL
    • B65HHANDLING THIN OR FILAMENTARY MATERIAL, e.g. SHEETS, WEBS, CABLES
    • B65H2701/00Handled material; Storage means
    • B65H2701/30Handled filamentary material
    • B65H2701/32Optical fibres or optical cables
    • BPERFORMING OPERATIONS; TRANSPORTING
    • B65CONVEYING; PACKING; STORING; HANDLING THIN OR FILAMENTARY MATERIAL
    • B65HHANDLING THIN OR FILAMENTARY MATERIAL, e.g. SHEETS, WEBS, CABLES
    • B65H2701/00Handled material; Storage means
    • B65H2701/50Storage means for webs, tapes, or filamentary material
    • B65H2701/53Adaptations of cores or reels for special purposes
    • B65H2701/533Storage compartments for accessories
    • BPERFORMING OPERATIONS; TRANSPORTING
    • B65CONVEYING; PACKING; STORING; HANDLING THIN OR FILAMENTARY MATERIAL
    • B65HHANDLING THIN OR FILAMENTARY MATERIAL, e.g. SHEETS, WEBS, CABLES
    • B65H2701/00Handled material; Storage means
    • B65H2701/50Storage means for webs, tapes, or filamentary material
    • B65H2701/53Adaptations of cores or reels for special purposes
    • B65H2701/536Arrangements for protecting connectors attached to the wound material
    • YGENERAL TAGGING OF NEW TECHNOLOGICAL DEVELOPMENTS; GENERAL TAGGING OF CROSS-SECTIONAL TECHNOLOGIES SPANNING OVER SEVERAL SECTIONS OF THE IPC; TECHNICAL SUBJECTS COVERED BY FORMER USPC CROSS-REFERENCE ART COLLECTIONS [XRACs] AND DIGESTS
    • Y02TECHNOLOGIES OR APPLICATIONS FOR MITIGATION OR ADAPTATION AGAINST CLIMATE CHANGE
    • Y02TCLIMATE CHANGE MITIGATION TECHNOLOGIES RELATED TO TRANSPORTATION
    • Y02T10/00Road transport of goods or passengers
    • Y02T10/60Other road transportation technologies with climate change mitigation effect
    • Y02T10/70Energy storage systems for electromobility, e.g. batteries
    • YGENERAL TAGGING OF NEW TECHNOLOGICAL DEVELOPMENTS; GENERAL TAGGING OF CROSS-SECTIONAL TECHNOLOGIES SPANNING OVER SEVERAL SECTIONS OF THE IPC; TECHNICAL SUBJECTS COVERED BY FORMER USPC CROSS-REFERENCE ART COLLECTIONS [XRACs] AND DIGESTS
    • Y02TECHNOLOGIES OR APPLICATIONS FOR MITIGATION OR ADAPTATION AGAINST CLIMATE CHANGE
    • Y02TCLIMATE CHANGE MITIGATION TECHNOLOGIES RELATED TO TRANSPORTATION
    • Y02T10/00Road transport of goods or passengers
    • Y02T10/60Other road transportation technologies with climate change mitigation effect
    • Y02T10/7072Electromobility specific charging systems or methods for batteries, ultracapacitors, supercapacitors or double-layer capacitors
    • YGENERAL TAGGING OF NEW TECHNOLOGICAL DEVELOPMENTS; GENERAL TAGGING OF CROSS-SECTIONAL TECHNOLOGIES SPANNING OVER SEVERAL SECTIONS OF THE IPC; TECHNICAL SUBJECTS COVERED BY FORMER USPC CROSS-REFERENCE ART COLLECTIONS [XRACs] AND DIGESTS
    • Y02TECHNOLOGIES OR APPLICATIONS FOR MITIGATION OR ADAPTATION AGAINST CLIMATE CHANGE
    • Y02TCLIMATE CHANGE MITIGATION TECHNOLOGIES RELATED TO TRANSPORTATION
    • Y02T90/00Enabling technologies or technologies with a potential or indirect contribution to GHG emissions mitigation
    • Y02T90/10Technologies relating to charging of electric vehicles
    • Y02T90/12Electric charging stations
    • YGENERAL TAGGING OF NEW TECHNOLOGICAL DEVELOPMENTS; GENERAL TAGGING OF CROSS-SECTIONAL TECHNOLOGIES SPANNING OVER SEVERAL SECTIONS OF THE IPC; TECHNICAL SUBJECTS COVERED BY FORMER USPC CROSS-REFERENCE ART COLLECTIONS [XRACs] AND DIGESTS
    • Y02TECHNOLOGIES OR APPLICATIONS FOR MITIGATION OR ADAPTATION AGAINST CLIMATE CHANGE
    • Y02TCLIMATE CHANGE MITIGATION TECHNOLOGIES RELATED TO TRANSPORTATION
    • Y02T90/00Enabling technologies or technologies with a potential or indirect contribution to GHG emissions mitigation
    • Y02T90/10Technologies relating to charging of electric vehicles
    • Y02T90/16Information or communication technologies improving the operation of electric vehicles
    • YGENERAL TAGGING OF NEW TECHNOLOGICAL DEVELOPMENTS; GENERAL TAGGING OF CROSS-SECTIONAL TECHNOLOGIES SPANNING OVER SEVERAL SECTIONS OF THE IPC; TECHNICAL SUBJECTS COVERED BY FORMER USPC CROSS-REFERENCE ART COLLECTIONS [XRACs] AND DIGESTS
    • Y02TECHNOLOGIES OR APPLICATIONS FOR MITIGATION OR ADAPTATION AGAINST CLIMATE CHANGE
    • Y02TCLIMATE CHANGE MITIGATION TECHNOLOGIES RELATED TO TRANSPORTATION
    • Y02T90/00Enabling technologies or technologies with a potential or indirect contribution to GHG emissions mitigation
    • Y02T90/10Technologies relating to charging of electric vehicles
    • Y02T90/16Information or communication technologies improving the operation of electric vehicles
    • Y02T90/167Systems integrating technologies related to power network operation and communication or information technologies for supporting the interoperability of electric or hybrid vehicles, i.e. smartgrids as interface for battery charging of electric vehicles [EV] or hybrid vehicles [HEV]

Landscapes

  • Physics & Mathematics (AREA)
  • General Physics & Mathematics (AREA)
  • Optics & Photonics (AREA)
  • Packaging Of Annular Or Rod-Shaped Articles, Wearing Apparel, Cassettes, Or The Like (AREA)
  • Remote Monitoring And Control Of Power-Distribution Networks (AREA)
  • Charge And Discharge Circuits For Batteries Or The Like (AREA)
  • Electric Propulsion And Braking For Vehicles (AREA)
  • Traffic Control Systems (AREA)
  • Storage Of Web-Like Or Filamentary Materials (AREA)

Abstract

【課題】充電ステーションネットワーク内での充電ステーションの非常に効率的な使用を可能にするため、充電ステーションネットワーク内で移動負荷、特に電気自動車(EV)に対し、複数の充電ステーションの負荷分散を行う方法を提供する。【解決手段】充電ステーションネットワークにおいて、移動負荷の充電需要の予測に基づいて、設定可能な最適化パラメータを考慮して、各充電ステーション1〜nごとのエネルギー電力範囲限界の分配を実行する。前記配分を考慮して、各充電ステーションに対して、または設定可能な数の充電ステーションに対して、前記エネルギー電力範囲限界を少なくとも部分的に充足するために、少なくとも1つの移動負荷の少なくとも1つの輸送パラメータの適応および/または選択を実行する。【選択図】図1

Description

本発明は、充電ステーションネットワーク内で移動負荷、特に電気自動車(EV)に対し、複数の充電ステーションの負荷分散を行う方法に関する。前記移動負荷の充電需要の予測に基づいて、設定可能な最適化パラメータを考慮して、各充電ステーションpごとのエネルギー電力範囲限界(ΔE,ΔP)p,limの分配が実行される(ただしp=1,...,nであり、nおよびpは整数である)。そして、前記分配を考慮して、各充電ステーションpに対して、または、設定可能な数の充電ステーションpに対して、前記エネルギー電力範囲限界(ΔE,ΔP)p,limを少なくとも部分的に充足するために、少なくとも1つの移動負荷の少なくとも1つの輸送パラメータの適応および/または選択が実行される。
また、本発明は、充電ステーションネットワークに関する。該充電ステーションネットワークは、移動負荷、特に電気自動車(EV)に対し、複数の充電ステーションの負荷分散を行う手段と、前記移動負荷の充電需要の予測に基づいて、設定可能な最適化パラメータを考慮して、各充電ステーションpごとのエネルギー電力範囲限界(ΔE,ΔP)p,limを分配する手段と(ただしp=1,...,nであり、nおよびpは整数である)、前記分配を考慮して、各充電ステーションpに対して、または、設定可能な数の充電ステーションpに対して、前記エネルギー電力範囲限界(ΔE,ΔP)p,limを少なくとも部分的に充足するために、少なくとも1つの移動負荷の少なくとも1つの輸送パラメータの適応および/または選択を行う手段と、を備える。
輸送・電力業界への電気自動車の導入は、試験・研究において世界中で検討されてきている。主要な課題の1つは依然として、自動車の持続可能な充電と、都市や広域輸送(街路)ネットワーク内でのEV充電要求に対するエネルギー配送である。今日では、EV充電プロセス、物理的接続の諸側面とともに、充電方式(接続性、電力)に応じた電力網(パワーグリッド)との連携が主に注目されている。
従来技術によれば、網安定性管理は以下の2つの方式のいずれかに従う。
(a)発電に負荷が従うもの。これは、集中型発電のみで発電資源の自然変動がほとんどまたは全くない場合の従来の考え方である。
(b)負荷に発電が従うもの。これは、変動する電源の普及によって引き起こされた新たなパラダイムシフトである。
これらを実現するため、供給と消費者との間の相互作用が広範囲に用いられる。業界で適用されている考え方は、負荷管理、大規模発電と二次エネルギー資源、およびさまざまなエネルギー貯蔵方式の組合せに対する(制御可能な家電製品から工業規模のものまでにわたる)需要−応答/需要側管理である。
まず、デバイス/ユニットに適用されるべき基本的概念として、(i)使用時間トレランスと(ii)容量トレランス、の2つがある。一般的に、デバイスはいずれか一方の能力を有する。時間トレランスは、エネルギー使用における遅延または先進を受容可能なすべての種類のデバイスやプロセス(例えば電化製品や冷房)に対して使用される。これらは通常、動作するための電力レートが一定なので、デバイスを稼働させる快適さ/基本設定をずらすことによって、あるいは、冷却/加熱のための熱貯蔵のような固有の貯蔵機能を使用することによって、時間トレランスが実現される。容量トレランスは、電池のように、さまざまな動作モードによって、あるいは、電力調節のフレキシビリティによって、電力/エネルギー使用を低減可能なデバイスの場合に可能である。
EVの場合、電池充電プロセスは、充電のために選択される電力レベルによって影響を受けることがある。しかしこれは、個々のEVの充電時間と、所与の限定された充電ステーション(EVCS)とともにEV車列を考慮する際の充電スループット時間に、強く影響を及ぼす。
運行情報における統合の観点から、現在、次のアプローチがさまざまな形態で検討されている。
・R&D+実施:近くの充電スポットの地図の提供。価格情報、最大電力情報、または充電スポットの利用可能性情報を含むこともあるし、情報を全く含まないこともある。
・R&D:充電スポットを予約(たいていは駐車場を通じて)する予約サービスを考慮。
・R&D:個々のEVおよび車列に対する電池限界を扱うために輸送手段を統合。
電力網との連携は現在、ステーションの電力特性に関する情報によって制限されている。電力網管理方式への統合の課題に対するアプローチは主に以下の通りである。
・R&D:特定の充電地点の負荷分散(時間および位置のプロファイルの概念、特許文献1参照)と、EV充電対応駐車場の管理の多くの例。
・R&D:予報付き需要分析を電力網管理に導入すること(他の負荷/発電は、負荷分散に役立つように調節される)について、特許文献2参照。
・R&D:運行パラメータ(例えば最短運行時間)をサポートして待機時間を最小化するための充電割当てについて、特許文献2参照。
・R&D:局所的な需要に対する局所的な発電の活用を個々に目指す局所網セグメント制御によって統制される相異なる電力網セグメント間の協調的負荷分散。特に網間負荷分散は、予報とEV充電案内のために高度輸送情報の使用を必要とする。
本明細書において、以下の用語が関連性がある:
・EV充電ステーション(EV Charging Station, EVCS)
同一または相異なる電力レベルを有するn>1個の独立な充電ステーションを提供する充電地点
・電気自動車(Electric Vehicle, EV)
充電状態(state-of-charge, SOC)およびその電池特性によって規定される充電プロファイルP_EV(t)によって記述される移動可能な電気的負荷
・EMS
エネルギー管理システム(Energy Management System)
・ETA
推定到着時刻(Estimated Arrival Time)
・OBU
車載ユニット(On-Board Unit)。例えば運行ルーティングのために使用されるEV内の通信ユニット
・ORG
オンライン経路案内(Online Route Guidance)。経路案内およびナビゲーションサービスを提供する要素
・CDP
充電需要プレディクタ(Charging Demand Predictor)。SOC、経路情報および運行基本設定/条件に関して与えられるある特定の時刻/地点における充電要求を計算する要素
・充電状態(SOC)
充電状態:与えられた距離を運転するために使用可能な充電電池レベル。SOCは、電池特性および自動車使用パターンによって影響される。
国際公開第2013/056990A2号 国際公開第2013/045449A2号
本発明の目的は、充電ステーションネットワーク内で移動負荷に対し複数の充電ステーションの負荷分散を行う方法および対応する充電ステーションネットワークにおいて、充電ステーションネットワーク内での充電ステーションの非常に効率的な使用を可能にするような改良およびさらなる展開を行うことである。
本発明によれば、上記の目的は、請求項1の構成を備えた方法、および、請求項17の構成を備えた充電ステーションネットワークによって達成される。
本発明によって認識されたこととして、充電ステーションネットワーク内での移動負荷に対する複数の充電ステーションの負荷分散は、少なくとも1つの移動負荷の少なくとも1つの輸送パラメータを考慮することによって特に効率的とすることができる。第1のステップで、設定可能な最適化パラメータを考慮して、各充電ステーションごとのエネルギー電力範囲限界の分配が実行される。この分配は、移動負荷の充電需要の予測に基づく。エネルギー電力範囲限界は、充電ステーションによって移動負荷に提供されるべきエネルギーおよび電力に関する限界を規定する。第2のステップで、前記分配を考慮して、各充電ステーションに対して、または、設定可能な数の充電ステーションに対して、エネルギー電力範囲限界を少なくとも部分的に充足するために、少なくとも1つの移動負荷の少なくとも1つの輸送パラメータの適応および/または選択が実行される。第1のステップでは、前記設定可能な最適化パラメータは、移動負荷の予測充電需要の充足のために提供されるべきエネルギー電力範囲限界の分配に影響を及ぼす。第2のステップでは、少なくとも1つの移動負荷の少なくとも1つの輸送パラメータが、前記分配を考慮して、エネルギー電力範囲限界を少なくとも部分的に充足するために、適応および/または選択される。少なくとも1つの移動負荷の少なくとも1つの輸送パラメータの適切な適応および/または選択により、充電ステーションのエネルギー電力範囲限界が容易に充足可能となる。これにより、設定可能な最適化パラメータに従って、エネルギー電力範囲限界の分配が管理される。こうして、前記少なくとも1つの輸送パラメータの適応および/または選択のステップにより、最適化プロセスを実現することができる。
結果として、充電ステーションネットワーク内での充電ステーションの非常に効率的な使用が可能となる。
好ましい実施形態において、前記少なくとも1つの輸送パラメータの適応および/または選択の結果として、少なくとも1つの移動負荷の充電需要またはその予測を修正してもよい。このような充電需要またはその予測の修正は、本方法の第1のステップにおける分配プロセスの適応された基礎を提供することができる。
非常に経済的な方法を提供するため、前記最適化パラメータが、低コストの分配または最低コストの分配を求めるように設定されてもよい。コスト節減によって、充電ステーションの効率的な使用を提供することができる。
さらに好ましい実施形態において、前記移動負荷が、時間トレランスおよび容量トレランスを有する移動負荷に変換されてもよい。少なくとも1つの移動負荷の少なくとも1つの輸送パラメータの適切な適応および/または選択によって、この時間および容量トレランスを非常に容易に実現することができる。
非常に単純な分配として、前記エネルギー電力範囲限界(ΔE,ΔP)p,limが各充電ステーションpごとに等分配されてもよい。換言すれば、各充電ステーションpが同じエネルギー電力範囲限界(ΔE,ΔP)p,limを有する。しかし、個々の状況に応じて、前記エネルギー電力範囲限界(ΔE,ΔP)p,limが各充電ステーションpごとに、過去の負荷分散可能性、ネットワークグリッド内での経済的強度、および/または戦略的位置の形式の因子を考慮して分配されてもよい。こうして、充電ステーション間でエネルギー電力範囲限界を選択的に分配することにより、充電ステーションネットワーク内での充電ステーションの非常に効率的な使用を実現することができる。
本発明の方法の第1のステップのための充電需要の予測は、さまざまなパラメータに依存してもよい。好ましくは、前記充電需要の予測が少なくとも1つの輸送パラメータに依存してもよい。この輸送パラメータは、移動負荷の個々の充電需要に影響を及ぼす。例えば、より長い経路のほうが、より短い経路よりも、充電需要が高くなる。
一般的に、移動負荷に提供されるべきエネルギーおよび電力に関する充電需要は時間および位置の関数であってもよい。
個々の状況および環境を考慮するため、充電需要が、1つの経路条件、相異なる経路の経路条件、位置、方向、時間条件、運行時間、推定到着時刻(ETA)、速度、運転パターン、現在の充電要求、予測充電要求、充電時間、充電モード、充電レベルおよび/または電池レベルを考慮してもよい。また、充電需要は、前記相異なるパラメータのうちの複数を考慮することも可能である。
前記少なくとも1つの輸送パラメータは個々の状況に依存してもよい。好ましい実施形態において、前記少なくとも1つの輸送パラメータが、ユーザ基本設定、経路、経路案内、ルーティング情報、距離、方向、充電時間、運行時間、速度、待機時間および休憩時間のうちの1つ以上であってもよい。
輸送パラメータへの簡易なアクセスに関して、前記少なくとも1つの輸送パラメータが、高度輸送システムまたはサービス(intelligent transport system or service, ITS)によって提供されてもよい。こうして、最新の快適な輸送システムまたはサービスが、本発明の方法および充電ステーションネットワーク内に統合されることが可能となる。
非常に効率的な方法を提供するため、前記方法は、設定可能なしきい値を超過中または超過後の負荷の原因の発生時または発生後に受動的に実行されてもよい。設定可能な負荷超過原因が発生するとすぐに、本方法が自動的に起動または開始されてもよい。こうして、複数の充電ステーションの適切な負荷分散を提供することができる。
さらに好ましい実施形態において、前記方法が動的に実行されてもよい。換言すれば、本発明の方法のステップは、設定可能な期間後に、または、設定可能な事象の場合に、または、設定可能な時間窓内で、反復されてもよい。
エネルギーステーションの非常に効率的な使用を提供するため、前記適応および/または選択の期間中に、ユーザ基本設定および/または交通条件および/または気象条件が考慮されてもよい。こうして、個々の状況および環境への個々の適応が可能となる。
さらに好ましくは、前記適応および/または選択の期間中に、ITSが、またはITSからのデータが活用されてもよい。このようにして、現実の交通状況への適切な適応が可能となる。
さらに好ましくは、各充電ステーションpごとのエネルギー電力範囲限界(ΔE,ΔP)p,limが、ユーザ相互作用/フィードバックおよび/またはユーザ基本設定および/または実時間交通条件を考慮して適応されてもよい。これにより、変化する環境または基本設定に応答して、エネルギー電力範囲限界の迅速な適応が可能となる。
本発明の方法または充電ステーションネットワークを実現するため、前記適応および/または選択が、分散型管理方式によって、または、集中型管理方式によって実行されてもよい。個々の状況に応じて、ユーザは、管理方式の種類を選択することができる。好ましい実施形態において、前記適応および/または選択が、近隣の充電ステーションによって二者間で実行されてもよい。
本発明の充電ステーションネットワークは、さまざまな機能要素を備えてもよい。好ましくは、前記負荷分散手段、前記分配手段または前記適応および/または選択手段が、通信システム、経路案内またはオンライン経路案内、充電需要プレディクタ、充電ステーションのエネルギー管理システム(EMS)、またはEMS管理センタの少なくとも1つを備えてもよい。
本発明の方法および充電ステーションネットワークの実施形態の重要な側面および特徴について以下で説明する。
本発明は、ある特定のコンテクスト条件下で充電負荷プロファイルに影響を与えるように高度輸送制御を利用する問題を解決する。充電需要予測および交通変更(距離、速度、および休憩時間提案を含む経路案内)を用いてEVの交通依存遅延および充電量トレランスに影響を与えるための、多数の充電ステーション間で負荷分散を行う方法が提供される。本発明は、集約された時間および容量トレランスを有する移動負荷を通じて充電要求を動的に制御するために、充電需要の予測または予報、充電計画および交通制御作用を利用する。本発明により提案されるシステムは、局所および遠隔の充電ステーションを含む負荷分散方式において、任意の種類(相異なる電力レベル、エネルギーレベル、サイズ、およびサービスレベル)の充電ステーションネットワークの制御に基づくことが可能であり、これにより、集中型および分散型の制御の実施が可能となる。
本発明は、充電需要予測および交通制御を用いてEVの交通依存遅延および充電量トレランスに影響を与えるための、多数の充電ステーション間で負荷分散を行うシステムにおいて、輸送(運行経路案内)、電池使用率(速度/運行距離)、充電要求(SOC)、EV充電ステーション(EVCS)の充電容量、充電地点、網負荷分散等の間の相関するパラメータ空間を能動的に活用することができる。
本発明により提案されるシステムは、ルーティングプランナ、経路案内、EV充電需要予測を統合して、EVを時間および容量トレランスのある移動負荷に変換することにより、このような負荷は充電ステーション間の負荷分散に適用可能となる。
電力網あるいはITS領域における領域固有の解決法の提案を検討すること以外に残った問題として、予測を含む計画段階から、距離および速度を通じて運行フローに影響を与え、電力レベルの制御に至るまで両システムの組合せを用いることにより、相異なる充電ステーションが複数ステーション間で協調的に負荷分散できるようにすることがある。本発明は、特定のコンテクスト境界内で負荷レベルを制御する手段を実現することができる。ここでのコンテクストとは、与えられたシステムの負荷分散に影響を与える経路および充電時間の組合せ(例えば最速経路+充電+待機時間)である。
本発明の実施形態は、高度輸送サービスを活用することにより、充電ステーション(位置的に多様)のネットワークの協調的負荷分散を実現することで、高い利用効率を達成し、充電ステーションおよび/または充電ステーションネットワークに対する電力制約を充足する。主要な考え方は、システムが、経路案内によって与えられるフレキシビリティを通じて需要予測および計画に影響を与えることを可能にすることである。
本発明により提案される方法は、以下のものを備えたシステムによって実現可能である:
・遠隔充電ユニットのEMS制御センタとの間での通信および制御を可能にするように構成された通信システム
・以下のコンポーネントおよびサービスユニット:
・オンライン経路案内
・EV充電需要プレディクタ
・充電ステーションのEMS
・オプションとして、オンライン経路案内に統合されて、または、オンライン経路案内とは独立に、ルーティングプランナを含む。
本発明の実施形態の目的は、高度輸送手段を使用して、充電パターンに影響を与え、時間および位置の関数として充電需要(ΔE,ΔP)の負荷分散を行うことである。経路条件や時間条件のようなユーザ基本設定に関して、好ましくは充電モード、運転パターン(人的なスタイル/要因)が、輸送案内サービスを通じて考慮されることが可能である。このようにして、本方法は、EVを時間および容量トレランスのある移動負荷に変換することにより、EV充電需要プロファイルに影響を与える。
一般的に、本方法は、臨界的な負荷状況の原因の発生時/発生後に受動的に適用されてもよい。予測により、可能な事象の原因の発生前にある程度反応することが可能である。本発明により提案される方法は、上記の移動負荷のモビリティパラメータ(例えば距離、方向、速度)ならびに交通および気象条件のような外的要因を利用して、時間および位置に関する負荷プロファイルを制御する手段を負荷予報と組み合わせる。
本方法および充電ステーションネットワークによれば、離れた地点の充電ステーション(例えば、都市の相異なる地点の駐車場会社、高速充電ネットワーク、配送会社の充電ネットワークおよび/または他の車列制御会社)が、ネットワーク内の離れた充電ステーションの効率に影響を与え、電力網ネットワークの電力需要(例えば時間、位置、網依存性)を充足することができる。
したがって、充電ステーションネットワークは、能動的な負荷分散に対応した顧客、あるいはさらに自給と統合した能動的な生産者消費者のようなエネルギー市場における利点を獲得することができる。というのは、本方法および充電ステーションネットワークによれば、個々のステーションおよびサービスする充電ネットワークに対して、より良好な需要予報が可能となるからである。
時刻に応じて、未使用容量に対する追加的なエネルギーサービスを創設することができる。電力限界を超過せずに所与の電力容量の高い利用性を最適化することにより、本方法および充電ステーションネットワークは車列の充電効率を向上させ、高度輸送ルーティングに統合する。
本発明の実施形態のさらなる重要な側面:
・時間および充電容量に関する運行変更(例えば距離、速度、および休憩時間提案を含む経路案内)を通じてEV充電要求に影響を与えること
・交通制御手続きを通じてEVを時間および容量トレランスのある移動負荷に変換するためのEVモビリティの利用
・充電予測およびオンデマンド変更制御の組合せ
・局所および遠隔の充電ステーションを含む負荷分散方式において、任意の種類(例えば相異なる電力レベル、エネルギーレベル、サイズ、およびサービスレベル)の充電ステーションネットワークの制御
本発明の実施形態は、以下の重要な特徴を備えることができる:
1)物理的(同じ網負荷分散地域に属する)または仮想的(経済的側面を通じてつながっている、例えば車列のロジスティックス)充電ステーションネットワークにおける多数の充電ステーションの負荷分散最適化が、以下のことを通じて行われる:
a.輸送パラメータの変更を通じて位置および時間のある特定の点に対する充電プロファイルに影響を与えることにより、EVを時間および容量トレランスのある移動負荷に能動的に変換すること
b.即時的、および、予測された充電要求の利用
c.時間、位置、コンテクストのプロファイルに従って充電需要予報に影響を与えること
2)充電要求に対する能動的な負荷プロファイル需要予測/変更および制御への、ITSサービス(例えば交通制御、経路案内、環境にやさしい運転等)の統合
3)充電ネットワーク内の多数の充電ステーション間の負荷分散ネゴシエーションが以下のことをサポートする:
a.集中型EMS制御
b.分散型EMS制御
本発明の実施形態は、位置の異なる充電ステーションのセット(これらは、エネルギー・電力管理のためにまとめて管理される)に対する輸送パラメータの変更を通じて、位置および時間のある特定の点に対する充電プロファイルに影響を与えることにより、EVを時間および容量トレランスのある移動負荷に能動的に変換することを含んでもよい。
交通制御はすでに、輸送需要に影響を与えるために広く用いられている方法である。このような確立されたサービスを充電需要の課題と連携させることは、まだあまり検討されていない。
本発明により提案される方法によれば、運行およびロジスティックス管理の制御空間に統合された充電ネットワーク方式において、さまざまな分野の新しいサービスが、EV充電の新たな領域に対する負荷分散を能動的に実行することが可能となる。
計画およびオンライン案内への本方法の活用を通じて、充電インフラがより効率的に使用されることが可能となり、コスト低減につながる。適切に管理されたネットワークが、エネルギーサービス市場(生産者消費者型)に能動的に参入することが可能となる。
本方法は、運行および充電要求を通信するために、EVのある程度のインテリジェンス(情報処理能力)を仮定し、ITSサービスとの協調を仮定する。
本発明を好ましい態様で実施するにはいくつもの可能性がある。このためには、一方で請求項1および19に従属する諸請求項を参照しつつ、他方で図面により例示された本発明の好ましい実施形態についての以下の説明を参照されたい。図面を用いて本発明の好ましい実施形態を説明する際には、本発明の教示による好ましい実施形態一般およびその変形例について説明する。
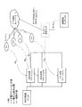
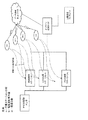
本発明による充電ステーションネットワークの実施形態の概略を示す図である。 本発明による方法の実施形態による、充電ステーションネットワークにおける充電ステーションごとのエネルギー電力範囲限界に対するネゴシエーションプロセスを示す図である。 本発明による方法の実施形態による、充電ステーションネットワークにおける充電ステーションごとのエネルギー電力範囲限界を決定する可能なネゴシエーションプロセスに対するアルゴリズム例を示す図である。 本発明による方法の実施形態による、充電ステーションネットワークにおける充電ステーションごとのエネルギー電力範囲限界内で経路最適化を行うネゴシエーションプロセスを示す図である。 本発明による方法の実施形態による、所与の充電ステーションpで充電を必要とするEVに対する経路の最良セットを設定するアルゴリズム例を示す図である。
本発明の実施形態は、高度輸送サービスを活用することによって、EMS制御センタにより制御される充電ステーション(位置的に多様)のネットワークにおいて協調的負荷分散を行うシステムあるいは充電ステーションネットワークおよび方法を提供することにより、高い利用効率を達成し、充電ステーションおよび/または充電ステーションネットワークに対する電力制約を充足する。主要な考え方は、システムが、経路案内によって与えられるフレキシビリティを通じて需要予測および計画に影響を与えることを可能にすることである。EMS制御センタは、充電ネットワークにわたる負荷分散と、充電ステーションネットワーク全体で集約された電力網からの電力/エネルギーコマンドに対するサービスを可能にする。
本発明により提案される方法は、以下のものを備えたシステムまたは充電ステーションネットワークによって実現可能である:
・以下のことを行うように構成された通信システム
・複数の電気自動車の充電状態に関するデータを取得する
・電気自動車にルーティング情報を送信する
・以下のことを行うように構成されたオンライン経路案内
・要求側EVから充電需要データ(例えば充電レベル、充電のための好ましいSOC限界)、運行情報(例えば位置、方向、時間、速度、推定到着時刻(ETA)、...)を取得する
・EV充電需要プレディクタと通信して、運行経路に沿った充電計画を推定する
・交通特性(例えば交通密度、交通渋滞、経路偏差等)に関するオンライン高度輸送情報を取得する
・充電モード、好ましい電力レベルに従って、好ましい充電ステーション(ΔE,ΔP)に対して必要とされる時間(Δt)および容量トレランス(ΔE,ΔP)による経路変動を計算する
・EVに経路案内情報を通信し、必要な経路および/または運行適応を交渉することにより、制御変数(例えば速度、距離、方向)として充電ステーション(リスト)を推奨する
・以下のことを行うように構成されたEV充電需要プレディクタ
・充電状態(例えばSOC、電池特性等)、運行経路(例えば距離、予想速度、運転パターン)、ユーザ基本設定に関する情報を取得する
・可能な充電地点に対する充電需要予測を推定する
・要求された充電需要情報のセットを、ルーティングプランナおよび/またはオンライン経路案内と通信する
・以下のことを行うように構成された充電ステーションのEMS
・予想される充電需要負荷をルーティングプランナと通信し、経路計画の(E,P)限界に対する所与の前提条件を交渉する
・予想充電需要をオンライン経路案内と通信し、(E,P)限界に従って必要な負荷分散調整(ΔE,ΔP)を交渉する
・充電需要状態をEMS制御センタに通信し、充電ステーションに対する(ΔE,ΔP)限界をEMS制御センタと交渉する
・以下のことを行うように構成された遠隔充電ユニットのEMS制御センタ
・充電ステーションのEMSのネットワークとの間で充電需要状態を通信する
・充電ステーションの個々のEMSと(ΔE,ΔP)限界を交渉する
・オプションとして、オンライン経路案内に統合されて、または、オンライン経路案内とは独立に、以下のことを行うように構成されたルーティングプランナを含む
・運行計画および充電レベルのデータを取得する
・道路関連条件を考慮することにより(ΔE,ΔP)の全偏差を生成する
・EV充電需要プレディクタと通信して、計画経路に沿った充電計画(計画経路上の充電ステーション群に対する予報)を推定する
・経路計画情報をEVと通信する
システムまたは充電ステーションネットワークの実施形態を図1に例示する。
EMS制御センタが遠隔充電ステーションの局所EMSに接続される。充電ステーションのEMSは、いわゆるオンラインルーティングガイド(online routing guide, ORG)を通じて充電需要予報を取得することができる。このようなORGは、登録されたEVの経路(計画され、または、オンラインで)を分析し、ユーザおよび運行基本設定(例えば街路の選択、運行時間、速度基本設定、充電地点ネットワークの選択等)に従ってEVに複数の経路に対する経路案内を提供することができる。ORGは、充電需要予測サービスユニットを統合あるいは連携させて、選択された経路に対する予想充電需要を計算する。データ通信ネットワークが、固定またはモバイル接続を通じてすべての構成要素を接続する。特にEVに(例えば車載ユニットOBUに)収容された経路案内クライアントとの通信のため、適応された経路案内がEVユーザに通信され、充電ステーションへの案内として提供される。
好ましい実施形態において、EMS制御センタは、第1のステップとして、k個の充電ステーションのそれぞれと(ΔE,ΔP)p,limの範囲の限界について交渉する。最低コスト解を求めた後、k個の充電ステーションの個々のEMSは、オンライン経路ガイドを用いた経路適応を起動する。図2は、EMS充電ネットワークにおいてネゴシエーションプロセスとして与えられる第1のステップを表す。EMS制御センタを通じて起動されると、充電システムのEMSは、所与の期間または他の任意の要求されたコンテクスト(例えば時間、位置、地域)に対する自己のフレキシビリティ範囲の充電予報を取得する。全部でk個の充電ステーションに対する(ΔE,ΔP)p,limの所与の分配から出発して、EMS制御センタ、局所ステーションのEMS、およびオンライン経路案内ユニットは、システム需要とEVフレキシビリティ範囲との間で要求される最適値に到達するまで、ネットワークにわたる(ΔE,ΔP)の変動について交渉する。(ΔE,ΔP)p,limは等分配されてもよいし、過去の負荷分散可能性、ネットワークグリッド内での経済的強度、戦略的位置等のような因子を含んでもよい。
本方法は動的とみなされる。すなわち、所与の時間窓において、エネルギー制限要求に対して、精密適応プロセスを適用することにより、連続的で応答性の高いプロセスを実現することができる。
図3は、充電ステーションネットワークのk個の充電ステーションのエネルギー電力範囲(ΔE,ΔP)p,limを規定するために最低コスト解の推定を行うアルゴリズム例を表す。
第2のステップで、各充電ステーションEVCSは、エネルギーおよび電力に対する所与の範囲限界を充足するために、交通条件、要求される停車(例えば交通信号)と継続時間、強制される停車(例えば交通渋滞)を考慮して、可能な経路適応について交渉する。図4は、対応するシステム例を示す。
アルゴリズムの実施例を図5に示す。この実施例は、充電ステーションごとにエネルギー電力範囲において最適化された運行パラメータ(例えば運行時間、充電時間、待機時間、休憩時間、街路選択等)に基づいてすべての可能な経路からEVごとに最良の経路を求めることを目標とする。この例は、所与の充電ステーションで充電を行うことが可能なすべてのEVの変動可能性を考慮し、最良の解を求めて最適化する。
相異なるユーザにサービスするため、例えば(幹線経路のみに留まるというような)経路選択、待機時間設定、計画休憩時間に関するユーザ基本設定、あるいはさらに充電基本設定(例えば都市運行では中程度の充電のみ)を、運行パラメータに対する調整によって考慮することができる。
充電ステーションネットワークまたはシステムおよび方法は、システムに参入していないがEV充電ネットワークに対する確率的負荷のように見えるEVユーザに関してフレキシブルである。このような負荷の予測のためにさまざまな方法が使用可能であり、例えば過去の充電プロファイルおよび案内されていないユーザの統計を統合することが可能である。
この好ましい実施形態において、経路案内は、車列ロジスティックスの基礎とみなされる。経路案内は、エネルギーおよび輸送の両方の領域からの目標を参照し、各EVごとの最良経路を求めることにより、ステーションネットワークに対してステーションごとに、交渉された(ΔE,ΔP)p,limの範囲を保証する。
別の実施形態においては、例えば配送時間処理等への影響を考慮するために、車列管理を別のアプローチで扱うことが可能である。このような場合、EVユーザ相互作用とプロセスへのフィードバックを統合し、ネットワークの全部または一部の充電ステーションに関係するEMS制御センタとの再ネゴシエーションプロセスを可能とするために、2ステップアプローチの方法をより緊密に統合することが可能である。
EVユーザ相互作用/フィードバックの統合および/または交通条件の実時間統合は、期間内の(ΔE,ΔP)p,lim適応要求につながる可能性がある。実時間ダイナミクスをサポートするため、本システムは、(ΔE,ΔP)p,limの再ネゴシエーションのために分散型管理方式で実現されてもよい。したがって、さらなる実施形態において、近隣の充電ステーションの適応が、例えば地域的または経済的コンテクストによって与えられる二者間適応として実現されることが可能であり、例えば公平性の考え方において必要とされる(ΔE,ΔP)p,lim履歴記録のためにEMS制御センタに報告される。
別の実施形態において、広域(例えば交通量の多い地点)にわたる交通全体(無相関車列管理)に対して、例えば速度、再ルーティング(距離)および交通信号(タイミング)に影響を与えるために、オンライン経路案内が、交通制御センタとの直接接続を通じて経路および運行適応要求を実施してもよい。
さらなる実施形態において、交通制御および充電管理が、充電およびロジスティックス計画、さらに充電予約サービスとの統合に拡張される。
上記の説明および添付図面の記載に基づいて、当業者は本発明の多くの変形例および他の実施形態に想到し得るであろう。したがって、本発明は、開示した具体的実施形態に限定されるものではなく、変形例および他の実施形態も、添付の特許請求の範囲内に含まれるものと解すべきである。本明細書では特定の用語を用いているが、それらは総称的・説明的意味でのみ用いられており、限定を目的としたものではない。

Claims (18)

  1. 充電ステーションネットワーク内で移動負荷に対し、複数の充電ステーションの負荷分散を行う方法において、
    前記充電ステーションネットワークが前記複数の充電ステーションを制御する制御センタを含み、前記移動負荷が容量トレランスの能力を有する移動負荷であり、
    前記制御センタが、
    前記移動負荷の充電需要の予測に基づいて、前記充電ステーションにより前記移動負荷に提供されるべきエネルギーおよび電力に関する限界であるエネルギー電力範囲限界について各充電ステーションと交渉し、
    設定可能な最適化パラメータを考慮して、各充電ステーションpごとに、前記充電ステーションpの個別状況を考慮して前記エネルギー電力範囲限界を選択的に分配し(ただしp=1,...,nであり、nおよびpは整数である)、
    前記分配を考慮して、各充電ステーションpに対して、または、設定可能な数の充電ステーションpに対して、前記エネルギー電力範囲限界を少なくとも部分的に充足するために、少なくとも1つの移動負荷の少なくとも1つの輸送パラメータの適応および/または選択が近隣の充電ステーションによって二者間で実行される、
    ことを特徴とする、充電ステーションネットワーク内で移動負荷に対し複数の充電ステーションの負荷分散を行う方法。
  2. 前記少なくとも1つの輸送パラメータの適応および/または選択の結果として、少なくとも1つの移動負荷の充電需要の予測が修正されることを特徴とする請求項1に記載の方法。
  3. 前記最適化パラメータが、低コストの分配または最低コストの分配を求めるように設定されることを特徴とする請求項1または2に記載の方法。
  4. 前記移動負荷が、時間トレランスの能力を有する移動負荷であることを特徴とする請求項1ないし3のいずれか1項に記載の方法。
  5. 前記エネルギー電力範囲限界が各充電ステーションpごとに等分配されることを特徴とする請求項1ないし4のいずれか1項に記載の方法。
  6. 前記充電需要の予測が少なくとも1つの輸送パラメータに依存することを特徴とする請求項1ないし5のいずれか1項に記載の方法。
  7. 移動負荷に提供されるべきエネルギーおよび電力に関する充電需要が時間および位置の関数であることを特徴とする請求項1ないし6のいずれか1項に記載の方法。
  8. 充電需要が、1つの経路条件、相異なる経路の経路条件、位置、方向、時間条件、運行時間、推定到着時刻(ETA)、速度、運転パターン、現在の充電要求、予測充電要求、充電時間、充電モード、充電レベルおよび/または電池レベルを考慮することを特徴とする請求項1ないし7のいずれか1項に記載の方法。
  9. 前記少なくとも1つの輸送パラメータが、ユーザ基本設定、経路、経路案内、ルーティング情報、距離、方向、充電時間、運行時間、速度、待機時間および/または休憩時間であることを特徴とする請求項1ないし8のいずれか1項に記載の方法。
  10. 前記少なくとも1つの輸送パラメータが、高度輸送システムまたはサービスによって提供されることを特徴とする請求項1ないし9のいずれか1項に記載の方法。
  11. 前記方法は、設定可能なしきい値を負荷が超過中または超過した後に、該負荷の原因の発生時または発生後に受動的に実行されることを特徴とする請求項1ないし10のいずれか1項に記載の方法。
  12. 前記方法が動的に実行されることを特徴とする請求項1ないし11のいずれか1項に記載の方法。
  13. 前記適応および/または選択の期間中に、ユーザ基本設定および/または交通条件および/または気象条件が考慮されることを特徴とする請求項1ないし12のいずれか1項に記載の方法。
  14. 前記適応および/または選択の期間中に、ITSが、またはITSからのデータが活用されることを特徴とする請求項1ないし13のいずれか1項に記載の方法。
  15. 各充電ステーションpごとのエネルギー電力範囲限界が、移動負荷ユーザとの相互作用あるいは前記移動負荷ユーザからのフィードバック、および/またはユーザ基本設定および/または実時間交通条件を考慮して適応されることを特徴とする請求項1ないし14のいずれか1項に記載の方法。
  16. 前記適応および/または選択が、分散型管理方式によって実行されることを特徴とする請求項1ないし15のいずれか1項に記載の方法。
  17. 充電ステーションネットワークであって、
    複数の充電ステーションと、
    前記複数の充電ステーションを制御する制御センタと、
    を有し、前記移動負荷が容量トレランスの能力を有する移動負荷であり、
    前記制御センタが、
    前記移動負荷の充電需要の予測に基づいて、前記充電ステーションにより前記移動負荷に提供されるべきエネルギーおよび電力に関する限界であるエネルギー電力範囲限界について各充電ステーションと交渉する手段と、
    設定可能な最適化パラメータを考慮して、各充電ステーションpごとに、前記充電ステーションpの個別状況を考慮して前記エネルギー電力範囲限界を選択的に分配する手段と(ただしp=1,...,nであり、nおよびpは整数である)、
    を備え、
    前記分配を考慮して、各充電ステーションpに対して、または、設定可能な数の充電ステーションpに対して、前記エネルギー電力範囲限界を少なくとも部分的に充足するために、少なくとも1つの移動負荷の少なくとも1つの輸送パラメータの適応および/または選択が近隣の充電ステーションによって二者間で実行される、
    ことを特徴とする充電ステーションネットワーク。
  18. 経路案内またはオンライン経路案内、充電需要プレディクタ、充電ステーションのエネルギー管理システム(EMS)少なくとも1つを備えたことを特徴とする請求項17に記載の充電ステーションネットワーク。
JP2020116433A 2014-04-22 2020-07-06 充電ステーションネットワーク内で移動負荷に対し複数の充電ステーションの負荷分散を行う方法および充電ステーションネットワーク Active JP7041719B2 (ja)

Priority Applications (1)

Application Number Priority Date Filing Date Title
JP2020116433A JP7041719B2 (ja) 2014-04-22 2020-07-06 充電ステーションネットワーク内で移動負荷に対し複数の充電ステーションの負荷分散を行う方法および充電ステーションネットワーク

Applications Claiming Priority (3)

Application Number Priority Date Filing Date Title
PCT/EP2014/058080 WO2015161863A1 (en) 2014-04-22 2014-04-22 Shipping container for delivering cables
JP2018151256A JP2019004696A (ja) 2014-04-22 2018-08-10 充電ステーションネットワーク内で移動負荷に対し複数の充電ステーションの負荷分散を行う方法および充電ステーションネットワーク
JP2020116433A JP7041719B2 (ja) 2014-04-22 2020-07-06 充電ステーションネットワーク内で移動負荷に対し複数の充電ステーションの負荷分散を行う方法および充電ステーションネットワーク

Related Parent Applications (1)

Application Number Title Priority Date Filing Date
JP2018151256A Division JP2019004696A (ja) 2014-04-22 2018-08-10 充電ステーションネットワーク内で移動負荷に対し複数の充電ステーションの負荷分散を行う方法および充電ステーションネットワーク

Publications (2)

Publication Number Publication Date
JP2020184878A true JP2020184878A (ja) 2020-11-12
JP7041719B2 JP7041719B2 (ja) 2022-03-24

Family

ID=50736043

Family Applications (1)

Application Number Title Priority Date Filing Date
JP2020116433A Active JP7041719B2 (ja) 2014-04-22 2020-07-06 充電ステーションネットワーク内で移動負荷に対し複数の充電ステーションの負荷分散を行う方法および充電ステーションネットワーク

Country Status (5)

Country Link
EP (1) EP3134342B1 (ja)
JP (1) JP7041719B2 (ja)
ES (1) ES2774298T3 (ja)
PL (1) PL3134342T3 (ja)
WO (1) WO2015161863A1 (ja)

Cited By (2)

* Cited by examiner, † Cited by third party
Publication number Priority date Publication date Assignee Title
KR20230013315A (ko) * 2021-07-19 2023-01-26 (주)클린일렉스 Ocpp 기반의 스마트 충전 프로파일을 이용한 전기차 충전전력 분배시스템 및 그 방법
JP2024530679A (ja) * 2021-08-13 2024-08-23 ヒタチ・エナジー・リミテッド 電気自動車の充電の制御およびスケジューリングならびに関連するシステムおよび方法

Families Citing this family (3)

* Cited by examiner, † Cited by third party
Publication number Priority date Publication date Assignee Title
US11852882B2 (en) 2018-02-28 2023-12-26 Commscope Technologies Llc Packaging assembly for telecommunications equipment
PL3821285T3 (pl) * 2018-07-09 2024-02-26 Prysmian S.P.A. Zestaw do instalacji światłowodu oraz jego odpowiednie sposoby użycia i produkcji
IT201900024190A1 (it) * 2019-12-17 2021-06-17 Prysmian Spa Kit per fornire un prodotto in bobina

Citations (3)

* Cited by examiner, † Cited by third party
Publication number Priority date Publication date Assignee Title
JP2012055087A (ja) * 2010-09-01 2012-03-15 Keio Gijuku 電力網制御ネットワーク
US20130006677A1 (en) * 2011-06-30 2013-01-03 International Business Machines Corporation Recharging of battery electric vehicles on a smart electrical grid system
US20130046411A1 (en) * 2011-08-15 2013-02-21 Siemens Corporation Electric Vehicle Load Management

Family Cites Families (9)

* Cited by examiner, † Cited by third party
Publication number Priority date Publication date Assignee Title
US3389868A (en) * 1966-09-08 1968-06-25 Itt Device for coiled stowage of cables
US4840449A (en) * 1988-01-27 1989-06-20 American Telephone And Telegraph Company, At&T Bell Laboratories Optical fiber splice organizer
GB2224259B (en) * 1988-10-28 1993-05-05 Cabot Corp Apparatus for packaging and transporting wire
US5193756A (en) * 1991-06-24 1993-03-16 Hughes Aircraft Company Figure eight linear dispenser
FR2814246B1 (fr) * 2000-09-21 2003-08-15 France Telecom Dispositif de rangement de surlongueurs de cables de fibres optiques
WO2002070386A1 (en) * 2001-02-28 2002-09-12 Kadence Photonics Pty Ltd Optical fibre handling method and apparatus
US7072560B1 (en) * 2005-03-10 2006-07-04 The United States Of America As Represented By The Secretary Of The Navy Twist free method of optical fiber stowage and payout
US7599598B2 (en) * 2006-08-09 2009-10-06 Adc Telecommunications, Inc. Cable payout systems and methods
US8016222B2 (en) 2008-04-16 2011-09-13 Windy City Wire Cable And Technology Products, Llc Wire and cable dispensing container and systems

Patent Citations (3)

* Cited by examiner, † Cited by third party
Publication number Priority date Publication date Assignee Title
JP2012055087A (ja) * 2010-09-01 2012-03-15 Keio Gijuku 電力網制御ネットワーク
US20130006677A1 (en) * 2011-06-30 2013-01-03 International Business Machines Corporation Recharging of battery electric vehicles on a smart electrical grid system
US20130046411A1 (en) * 2011-08-15 2013-02-21 Siemens Corporation Electric Vehicle Load Management

Cited By (3)

* Cited by examiner, † Cited by third party
Publication number Priority date Publication date Assignee Title
KR20230013315A (ko) * 2021-07-19 2023-01-26 (주)클린일렉스 Ocpp 기반의 스마트 충전 프로파일을 이용한 전기차 충전전력 분배시스템 및 그 방법
KR102557973B1 (ko) * 2021-07-19 2023-07-20 (주)클린일렉스 Ocpp 기반의 스마트 충전 프로파일을 이용한 전기차 충전전력 분배시스템 및 그 방법
JP2024530679A (ja) * 2021-08-13 2024-08-23 ヒタチ・エナジー・リミテッド 電気自動車の充電の制御およびスケジューリングならびに関連するシステムおよび方法

Also Published As

Publication number Publication date
WO2015161863A1 (en) 2015-10-29
EP3134342B1 (en) 2019-12-18
EP3134342A1 (en) 2017-03-01
PL3134342T3 (pl) 2021-01-11
ES2774298T3 (es) 2020-07-20
JP7041719B2 (ja) 2022-03-24

Similar Documents

Publication Publication Date Title
JP2019004696A (ja) 充電ステーションネットワーク内で移動負荷に対し複数の充電ステーションの負荷分散を行う方法および充電ステーションネットワーク
JP7041719B2 (ja) 充電ステーションネットワーク内で移動負荷に対し複数の充電ステーションの負荷分散を行う方法および充電ステーションネットワーク
Koufakis et al. Offline and online electric vehicle charging scheduling with V2V energy transfer
JP6035341B2 (ja) 電気自動車を充電する方法およびシステム
He et al. Optimal scheduling for charging and discharging of electric vehicles
Kong et al. Charging schemes for plug-in hybrid electric vehicles in smart grid: A survey
Ko et al. Mobility-aware vehicle-to-grid control algorithm in microgrids
Balasubramaniam et al. Deep learning-based power prediction aware charge scheduling approach in cloud based electric vehicular network
Zeng et al. QoE-aware power management in vehicle-to-grid networks: A matching-theoretic approach
Joós et al. Integrated V2G, G2V, and renewable energy sources coordination over a converged fiber-wireless broadband access network
Liu et al. Reservation-based EV charging recommendation concerning charging urgency policy
EP3110653B1 (en) Self-managing charging poles
Vayá et al. Combined smart-charging and frequency regulation for fleets of plug-in electric vehicles
KR20230010516A (ko) 이동형 충전소의 운영 스케줄링 방법 및 그 장치
Tang et al. A holistic review on advanced bi-directional EV charging control algorithms
CN106096793A (zh) 基于拥塞感知的周期性优化的电动汽车充电决策方法
Hosseini et al. Optimizing electric vehicle charging through an artificial intelligence mechanism for smart transportation
Huang et al. Electric vehicle entire-trip navigation and charging reservation method based on a high-speed communication network
KR102017837B1 (ko) 전기차의 충전을 관리하는 서버 및 방법
Chen et al. Energy management framework for mobile vehicular electric storage
Mukherjee et al. Mobility aware scheduling for imbalance reduction through charging coordination of electric vehicles in smart grid
Chen et al. A dynamic pricing based scheduling scheme for electric vehicles as mobile energy storages
EP2984722B1 (en) Method and system for balancing load versus power generation between power grid segments
Ismail et al. PEV charging in the future smart grid
ElGhanam et al. On the coordination of the charging demand of roadway powered electric vehicles

Legal Events

Date Code Title Description
A621 Written request for application examination

Free format text: JAPANESE INTERMEDIATE CODE: A621

Effective date: 20200706

A521 Request for written amendment filed

Free format text: JAPANESE INTERMEDIATE CODE: A523

Effective date: 20200716

A977 Report on retrieval

Free format text: JAPANESE INTERMEDIATE CODE: A971007

Effective date: 20210315

A131 Notification of reasons for refusal

Free format text: JAPANESE INTERMEDIATE CODE: A131

Effective date: 20210511

A601 Written request for extension of time

Free format text: JAPANESE INTERMEDIATE CODE: A601

Effective date: 20210805

A521 Request for written amendment filed

Free format text: JAPANESE INTERMEDIATE CODE: A523

Effective date: 20210921

TRDD Decision of grant or rejection written
A01 Written decision to grant a patent or to grant a registration (utility model)

Free format text: JAPANESE INTERMEDIATE CODE: A01

Effective date: 20220222

A61 First payment of annual fees (during grant procedure)

Free format text: JAPANESE INTERMEDIATE CODE: A61

Effective date: 20220311

R150 Certificate of patent or registration of utility model

Ref document number: 7041719

Country of ref document: JP

Free format text: JAPANESE INTERMEDIATE CODE: R150

S111 Request for change of ownership or part of ownership

Free format text: JAPANESE INTERMEDIATE CODE: R313113

R350 Written notification of registration of transfer

Free format text: JAPANESE INTERMEDIATE CODE: R350