JP2020176744A - Support member and blower - Google Patents

Support member and blower Download PDF

Info

Publication number
JP2020176744A
JP2020176744A JP2019077824A JP2019077824A JP2020176744A JP 2020176744 A JP2020176744 A JP 2020176744A JP 2019077824 A JP2019077824 A JP 2019077824A JP 2019077824 A JP2019077824 A JP 2019077824A JP 2020176744 A JP2020176744 A JP 2020176744A
Authority
JP
Japan
Prior art keywords
ceiling material
opening
region
support member
main body
Prior art date
Legal status (The legal status is an assumption and is not a legal conclusion. Google has not performed a legal analysis and makes no representation as to the accuracy of the status listed.)
Pending
Application number
JP2019077824A
Other languages
Japanese (ja)
Inventor
逸平 百瀬
Ippei Momose
逸平 百瀬
Current Assignee (The listed assignees may be inaccurate. Google has not performed a legal analysis and makes no representation or warranty as to the accuracy of the list.)
Mitsubishi Electric Corp
Original Assignee
Mitsubishi Electric Corp
Priority date (The priority date is an assumption and is not a legal conclusion. Google has not performed a legal analysis and makes no representation as to the accuracy of the date listed.)
Filing date
Publication date
Application filed by Mitsubishi Electric Corp filed Critical Mitsubishi Electric Corp
Priority to JP2019077824A priority Critical patent/JP2020176744A/en
Publication of JP2020176744A publication Critical patent/JP2020176744A/en
Pending legal-status Critical Current

Links

Images

Landscapes

  • Building Environments (AREA)

Abstract

To provide a support member capable of facilitating recovery of an opening widened in updating a main body of a blower device provided in a ceiling, and to suppress generation of waste materials.SOLUTION: A support member 21 comprises: a first member 4 having a first region 41 made to abut on a ceiling material 8, a second region 42 extending from one end of the first region 41, and a third region 43 protruding from a border between the first region 41 and the second region 42; and a second member 5 having a fourth region 54 holding the ceiling material 8 with the first region 41 and a fifth region 55 into which the third region 43 is inserted while the fourth region 54 holds the ceiling material 8 with the first region 41. The second region 42 has a mount surface 42a which can be mounted with the ceiling material 8 different from the ceiling material 8 held between the first region 41 and the fourth region 54.SELECTED DRAWING: Figure 3

Description

本発明は、開口が形成された天井材に取り付けられる支持部材および送風装置に関する。 The present invention relates to a support member and a blower attached to a ceiling material having an opening.

特許文献1に開示されているように、開口が形成された天井材の上方、いわゆる天井裏に設けられる本体と、開口を覆う化粧パネルと、を備える送風装置がある。このような送風装置では、本体に設けられた送風機によって、室外から室内に向かう給気流や室内から室外に向かう排気流が生成される。本体で生成された給気流によって、化粧パネルに形成された給気口を通じて室外の空気が室内に給気される。本体で生成された排気流によって、化粧パネルに形成された還気口から室内の空気が吸い込まれて室外に排気される。 As disclosed in Patent Document 1, there is a blower device including a main body provided above the ceiling material in which an opening is formed, so-called attic, and a decorative panel covering the opening. In such a blower, a blower provided in the main body generates an air supply from the outside to the room and an exhaust flow from the room to the outside. The air supply generated by the main body supplies the outdoor air to the room through the air supply port formed in the decorative panel. Due to the exhaust flow generated by the main body, indoor air is sucked in from the return air port formed in the decorative panel and exhausted to the outside.

送風装置が、給気流と排気流との間で熱交換させる熱交換換気装置である場合には、本体の内部に熱交換素子が設けられる。 When the blower is a heat exchange ventilation device that exchanges heat between the air supply and the exhaust flow, a heat exchange element is provided inside the main body.

特許第5174949号公報Japanese Patent No. 5174949

熱交換換気装置の本体には、送風機、熱交換器、さらには制御基板が設けられている。そのため、上下方向の投影面積が化粧パネルよりも大きくなる場合がある。この場合には、化粧パネルで覆うことができる程度の大きさで形成された開口では、本体を天井裏から引き出すことはできない。したがって、天井裏に設けられた本体を入れ替える場合には、天井材に形成された開口を大きくして本体を出し入れする必要がある。開口を大きくすれば、本体の入れ替え後に開口を塞ぐ面倒な復旧作業が必要になったり、広げられた開口部分に用いられていた天井材が廃材となってその処理が必要になったりするため、入れ替え工事の費用が増大しやすい。 The main body of the heat exchange ventilator is provided with a blower, a heat exchanger, and a control board. Therefore, the projected area in the vertical direction may be larger than that of the decorative panel. In this case, the main body cannot be pulled out from the ceiling with an opening formed so large that it can be covered with a decorative panel. Therefore, when replacing the main body provided behind the ceiling, it is necessary to enlarge the opening formed in the ceiling material to move the main body in and out. If the opening is enlarged, it will be necessary to perform troublesome restoration work to close the opening after replacing the main body, or the ceiling material used for the widened opening will be scrapped and it will be necessary to dispose of it. The cost of replacement work tends to increase.

熱交換換気装置のような送風装置は、上述した入れ替え工事の費用が敬遠されて、他の設備に比べてなかなか更新されにくいという問題がある。そのため、省エネルギー性能の低い送風装置の使用が継続されたり、送風装置が故障したまま放置されたりしてしまう。 A blower device such as a heat exchange ventilation device has a problem that the cost of the above-mentioned replacement work is avoided and it is difficult to update the device as compared with other facilities. Therefore, the use of the blower having low energy saving performance is continued, or the blower is left in a broken state.

本発明は、上記に鑑みてなされたものであって、天井裏に設けられた送風装置の本体の更新の際に広げられた開口の復旧の容易化および廃材の発生の抑制を図ることができる支持部材を得ることを目的とする。 The present invention has been made in view of the above, and it is possible to facilitate the restoration of the opening widened when the main body of the blower provided in the ceiling is renewed and to suppress the generation of waste materials. The purpose is to obtain a support member.

上述した課題を解決し、目的を達成するために、本発明は、天井材に当接される第1の部位と、第1の部位の一端から延びる第2の部位と、第1の部位と第2の部位の境界から突出された第3の部位と、を有する第1の部材と、第1の部位との間に天井材を挟み込む第4の部位と、第4の部位が第1の部位との間に天井材を挟み込んだ状態で第3の部位が差し込まれる第5の部位と、を有する第2の部材と、を備える。第2の部位には、第1の部位と第4の部位とに挟み込まれた天井材と異なる天井材が載置可能な載置面を有する。 In order to solve the above-mentioned problems and achieve the object, the present invention includes a first portion that comes into contact with the ceiling material, a second portion that extends from one end of the first portion, and a first portion. A first member having a third portion protruding from the boundary of the second portion, a fourth portion sandwiching the ceiling material between the first portion, and a fourth portion are the first. A second member having a fifth portion into which the third portion is inserted with the ceiling material sandwiched between the portions is provided. The second portion has a mounting surface on which a ceiling material different from the ceiling material sandwiched between the first portion and the fourth portion can be placed.

本発明にかかる支持部材によれば、天井裏に設けられた送風装置の本体の更新の際に広げられた開口の復旧の容易化および廃材の発生の抑制を図ることができるという効果を奏する。 According to the support member according to the present invention, it is possible to facilitate the restoration of the widened opening when the main body of the blower device provided in the ceiling is renewed and to suppress the generation of waste materials.

本発明の実施の形態1にかかる天井支持部材を用いた熱交換換気装置の取付け状態を模式的に示す断面図Sectional drawing which shows typically the attachment state of the heat exchange ventilation apparatus using the ceiling support member which concerns on Embodiment 1 of this invention. 図1に示す矢印IIに沿って見た矢視図Arrow view taken along arrow II shown in FIG. 図1に示すIII部分を拡大した部分拡大断面図Partial enlarged cross-sectional view of the part III shown in FIG. 実施の形態1にかかる支持部材の分解斜視図An exploded perspective view of the support member according to the first embodiment. 実施の形態1にかかる熱交換換気装置への入れ替えの手順を説明するフローチャートA flowchart illustrating a procedure for replacing the heat exchange ventilator according to the first embodiment. 既存の熱交換換気装置の設置状態を示す断面図Cross-sectional view showing the installation state of the existing heat exchange ventilation system 図6に示す矢印VIIに沿って見た矢視図Arrow view taken along arrow VII shown in FIG. 既存の熱交換換気装置を入れ替える過程を示す断面図Cross-sectional view showing the process of replacing an existing heat exchange ventilator 図8に示すIX−IX線で切断した断面図Cross-sectional view taken along the line IX-IX shown in FIG.

以下に、本発明の実施の形態にかかる支持部材および送風装置を図面に基づいて詳細に説明する。なお、この実施の形態によりこの発明が限定されるものではない。 Hereinafter, the support member and the blower according to the embodiment of the present invention will be described in detail with reference to the drawings. The present invention is not limited to this embodiment.

実施の形態1.
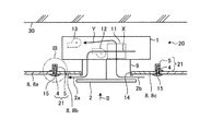
図1は、本発明の実施の形態1にかかる天井支持部材を用いた熱交換換気装置の取付け状態を模式的に示す断面図である。図2は、図1に示す矢印IIに沿って見た矢視図である。まず、送風装置である熱交換換気装置20について説明する。熱交換換気装置20は、本体1と化粧パネル2とを備える。本体1は、建物の室内に設けられた天井材8よりも上方、すなわち天井裏に設けられる。本体1は、建物の躯体30から支持されている。本体1は、箱体形状であり、内部には熱交換素子11、図示を省略した給気送風機12および排気送風機13が設けられている。なお、図1において、本体1と化粧パネル2のハッチングは省略している。
Embodiment 1.
FIG. 1 is a cross-sectional view schematically showing an attached state of a heat exchange ventilation device using the ceiling support member according to the first embodiment of the present invention. FIG. 2 is an arrow view taken along the arrow II shown in FIG. First, the heat exchange ventilation device 20 which is a blower device will be described. The heat exchange ventilation device 20 includes a main body 1 and a decorative panel 2. The main body 1 is provided above the ceiling material 8 provided in the interior of the building, that is, behind the ceiling. The main body 1 is supported by the skeleton 30 of the building. The main body 1 has a box shape, and is provided with a heat exchange element 11, an air supply blower 12 and an exhaust blower 13 (not shown). Note that in FIG. 1, hatching of the main body 1 and the decorative panel 2 is omitted.

給気送風機12は、室外から室内に向かう空気の流れである給気流を生成する。給気流は、矢印Xにて図示されている。排気送風機13は、室内から室外に向かう空気の流れである排気流を生成する。排気流は、矢印Yにて図示されている。熱交換素子11は、給気流と排気流との間で熱交換させる。また、本体1には、室外につながるダクトが接続されているが、図示は省略する。 The air supply blower 12 generates a supply air flow, which is a flow of air from the outside to the inside of the room. The airflow is illustrated by arrow X. The exhaust blower 13 generates an exhaust flow, which is a flow of air from the room to the outside. The exhaust flow is illustrated by arrow Y. The heat exchange element 11 exchanges heat between the supply air flow and the exhaust flow. Further, although a duct connected to the outside is connected to the main body 1, the illustration is omitted.

化粧パネル2は、天井材8に形成された第1の開口14を塞ぐ。化粧パネル2は、合成樹脂で形成される。本体1と化粧パネル2との間には隙間が設けられている。熱交換換気装置20は、本体1と化粧パネル2とをつなぐ接続部材9を備える。 The decorative panel 2 closes the first opening 14 formed in the ceiling material 8. The decorative panel 2 is made of synthetic resin. A gap is provided between the main body 1 and the decorative panel 2. The heat exchange ventilation device 20 includes a connecting member 9 that connects the main body 1 and the decorative panel 2.

図1および図2に示すように、化粧パネル2には、給気口2aと還気口2bとが形成されている。本体1には、外気口2cと排気口2dとが形成されている。外気口2cと排気口2dとには、室外につながるダクトが接続されているが、図示は省略する。給気送風機12によって生成された給気流によって、外気口2cから本体1に取り込まれた室外の空気が給気口2aを通じて室内に給気される。排気送風機13によって生成された排気流によって、還気口2bから本体1に取り込まれた室内の空気が排気口2dを通じて室外に排気される。なお、給気口2aおよび還気口2bの向きは、例示した向きに限られない。また、熱交換素子11、給気送風機12、および排気送風機13の配置は、例示した配置に限られない。 As shown in FIGS. 1 and 2, the decorative panel 2 is formed with an air supply port 2a and a return air port 2b. The main body 1 is formed with an outside air port 2c and an exhaust port 2d. A duct connecting to the outside is connected to the outside air port 2c and the exhaust port 2d, but the illustration is omitted. The air supply air generated by the air supply blower 12 supplies the outdoor air taken into the main body 1 from the outside air port 2c into the room through the air supply port 2a. The exhaust flow generated by the exhaust blower 13 exhausts the indoor air taken into the main body 1 from the return air port 2b to the outside through the exhaust port 2d. The directions of the air supply port 2a and the return air port 2b are not limited to the illustrated directions. Further, the arrangement of the heat exchange element 11, the air supply blower 12, and the exhaust blower 13 is not limited to the illustrated arrangement.

このように、熱交換換気装置20は、給気流と排気流との間で熱交換しながら、室外の空気を室内に給気し、室内の空気を室外に排気する熱交換換気を行う。 In this way, the heat exchange ventilation device 20 performs heat exchange ventilation in which the outdoor air is supplied to the room and the indoor air is exhausted to the outside while exchanging heat between the supply air flow and the exhaust flow.

図2に示すように、天井材8には、第1の開口14よりも大きい第2の開口15が形成されている。なお、以下の説明において、第2の開口15が形成された天井材8を第1の天井材8aと称し、第2の開口15と化粧パネル2との間を塞ぐ天井材8を第2の天井材8bと第3の天井材8cと称する。図1に示す状態では、第1の開口14は、第1の天井材8aと第2の天井材8bと第3の天井材8cとによって形成されている。 As shown in FIG. 2, the ceiling material 8 is formed with a second opening 15 that is larger than the first opening 14. In the following description, the ceiling material 8 on which the second opening 15 is formed is referred to as the first ceiling material 8a, and the ceiling material 8 that closes between the second opening 15 and the decorative panel 2 is referred to as the second ceiling material 8. It is referred to as a ceiling material 8b and a third ceiling material 8c. In the state shown in FIG. 1, the first opening 14 is formed by the first ceiling material 8a, the second ceiling material 8b, and the third ceiling material 8c.

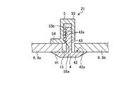
熱交換換気装置20は、第2の天井材8bおよび第3の天井材8cを支持する支持部材21を備える。図3は、図1に示すIII部分を拡大した部分拡大断面図である。図4は、実施の形態1にかかる支持部材の分解斜視図である。 The heat exchange ventilation device 20 includes a support member 21 that supports the second ceiling material 8b and the third ceiling material 8c. FIG. 3 is an enlarged partially enlarged cross-sectional view of the portion III shown in FIG. FIG. 4 is an exploded perspective view of the support member according to the first embodiment.

支持部材21は、第1の部材4と、第2の部材5とを備える。第1の部材4と、第2の部材5とは、例えば合成樹脂で形成される。例えば、化粧パネル2を形成する合成樹脂と同じ合成樹脂で支持部材21が形成されてもよい。 The support member 21 includes a first member 4 and a second member 5. The first member 4 and the second member 5 are formed of, for example, a synthetic resin. For example, the support member 21 may be formed of the same synthetic resin as the synthetic resin forming the decorative panel 2.

第1の部材4は、第1の天井材8aのうち室内側を向く面に当接される第1の部位41を有する。第1の部材4は、第1の部位41のうち第2の開口15の内側を向く一端から延びる第2の部位42を有する。第1の部材4は、第1の部位41と第2の部位42の境界から天井裏に向けて突出された第3の部位43を有する。第3の部位43の先端側は、天井裏に突出する。第3の部位43には根元から先端に向けて並ぶ複数の突部43aが形成されている。 The first member 4 has a first portion 41 of the first ceiling material 8a that is in contact with a surface facing the indoor side. The first member 4 has a second portion 42 extending from one end of the first portion 41 facing inward of the second opening 15. The first member 4 has a third portion 43 protruding from the boundary between the first portion 41 and the second portion 42 toward the ceiling. The tip end side of the third portion 43 projects into the ceiling. A plurality of protrusions 43a arranged from the root to the tip are formed in the third portion 43.

第2の部材5は、第1の天井材8aのうち天井裏側を向く面に当接されて、第1の部位41との間に第1の天井材8aを挟み込む第4の部位54を有する。第2の部材5は、第4の部位54が第1の部位41との間に第1の天井材8aを挟み込んだ状態で、第3の部位43が差し込まれる凹部55bが形成された第5の部位55を有する。第1の部材4および第2の部材5は、全体として、第2の開口15の開口縁に沿った方向を長手方向とする形状となっている。なお、長手方向は、第1の部位41と第2の部位42の境界が延びる方向でもある。本実施の形態1では、第1の部材4および第2の部材5は、長手方向に垂直な面で切断した断面の形状が、長手方向に沿ったどの位置で切断しても同一となる形状で形成されている。 The second member 5 has a fourth portion 54 that is brought into contact with the surface of the first ceiling material 8a that faces the back side of the ceiling and sandwiches the first ceiling material 8a with the first portion 41. .. In the second member 5, a fifth portion 55b in which the third portion 43 is inserted is formed in a state where the first ceiling material 8a is sandwiched between the fourth portion 54 and the first portion 41. It has a site 55 of. The first member 4 and the second member 5 have a shape in which the direction along the opening edge of the second opening 15 is the longitudinal direction as a whole. The longitudinal direction is also the direction in which the boundary between the first portion 41 and the second portion 42 extends. In the first embodiment, the first member 4 and the second member 5 have the same cross-sectional shape cut in a plane perpendicular to the longitudinal direction regardless of the position cut along the longitudinal direction. Is formed of.

なお、第1の部材4および第2の部材5のうち、第3の部位43および第5の部位55は、長手方向に沿って分割して形成されていても構わない。この場合には、第1の部材4および第2の部材5の長手方向に垂直な面で切断した断面は、長手方向に沿った位置によって切断した断面の形状が異なる。 Of the first member 4 and the second member 5, the third portion 43 and the fifth portion 55 may be formed by being divided along the longitudinal direction. In this case, the cross section of the first member 4 and the second member 5 cut on the plane perpendicular to the longitudinal direction has a different shape of the cross section cut depending on the position along the longitudinal direction.

凹部55bの内側には、第3の部位43に形成された突部43aに噛み合う突部55aが形成されている。突部43aと突部55aとが噛み合うことで、第3の部位43が第5の部位55の凹部55bから抜け落ちることが防がれる。なお、第5の部位55の凹部55bに第3の部位43を差し込む際には、突部55aが形成された面と対向する面が形成された部位が弾性変形することで、突部43aが突部55aを乗り越えて、第3の部位43が凹部55bに差し込まれる。すなわち、第3の部位43と第5の部位55とはスナップフィットで固定される。 Inside the recess 55b, a protrusion 55a that meshes with the protrusion 43a formed in the third portion 43 is formed. By engaging the protrusion 43a and the protrusion 55a, it is possible to prevent the third portion 43 from falling out of the recess 55b of the fifth portion 55. When the third portion 43 is inserted into the recess 55b of the fifth portion 55, the protrusion 43a is elastically deformed by the portion where the surface opposite to the surface on which the protrusion 55a is formed is formed. The third portion 43 is inserted into the recess 55b over the protrusion 55a. That is, the third portion 43 and the fifth portion 55 are fixed by snap fit.

上述したように、支持部材21は、第2の開口15の開口縁である第1の天井材8aを、第1の部位41と第4の部位54とで挟み込んで、第1の天井材8aに固定される。第2の部位42は、支持部材21が第1の天井材8aに固定された状態で、第2の天井材8bまたは第3の天井材8cが載置される載置面42aを有する。第2の天井材8bおよび第3の天井材8cは、第1の天井材8aとは異なる天井材である。 As described above, the support member 21 sandwiches the first ceiling material 8a, which is the opening edge of the second opening 15, between the first portion 41 and the fourth portion 54, and sandwiches the first ceiling material 8a. Is fixed to. The second portion 42 has a mounting surface 42a on which the second ceiling member 8b or the third ceiling member 8c is placed in a state where the support member 21 is fixed to the first ceiling member 8a. The second ceiling material 8b and the third ceiling material 8c are different ceiling materials from the first ceiling material 8a.

第2の天井材8bおよび第3の天井材8cは、外縁の一部が載置面42aに載置されることで、支持部材21に支持される。なお、第2の天井材8bおよび第3の天井材8cは、外縁の一部が化粧パネル2にも支持される。第2の天井材8bおよび第3の天井材8cは、支持部材21および化粧パネル2に支持されることで、第2の開口15と化粧パネル2との隙間を塞ぐ。 The second ceiling material 8b and the third ceiling material 8c are supported by the support member 21 by placing a part of the outer edge on the mounting surface 42a. A part of the outer edge of the second ceiling material 8b and the third ceiling material 8c is also supported by the decorative panel 2. The second ceiling material 8b and the third ceiling material 8c are supported by the support member 21 and the decorative panel 2 to close the gap between the second opening 15 and the decorative panel 2.

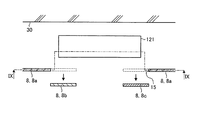
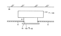
以上説明した熱交換換気装置20は、既存の熱交換換気装置の入れ替えが行われた後の状態が想定される。次に、既存の熱交換換気装置から、上述して熱交換換気装置20への入替の手順について説明する。図5は、実施の形態1にかかる熱交換換気装置への入れ替えの手順を説明するフローチャートである。図6は、既存の熱交換換気装置の設置状態を示す断面図である。図7は、図6に示す矢印VIIに沿って見た矢視図である。図8は、既存の熱交換換気装置を入れ替える過程を示す断面図である。図9は、図8に示すIX−IX線で切断した断面図である。 The heat exchange ventilator 20 described above is assumed to be in a state after the existing heat exchange ventilator is replaced. Next, the procedure for replacing the existing heat exchange ventilator with the heat exchange ventilator 20 will be described above. FIG. 5 is a flowchart illustrating a procedure for replacing the heat exchange ventilator according to the first embodiment. FIG. 6 is a cross-sectional view showing the installation state of the existing heat exchange ventilation device. FIG. 7 is an arrow view taken along the arrow VII shown in FIG. FIG. 8 is a cross-sectional view showing a process of replacing an existing heat exchange ventilation device. FIG. 9 is a cross-sectional view taken along the line IX-IX shown in FIG.

既存の熱交換換気装置120は、熱交換換気装置20と同様に本体121と化粧パネル122とを備えている。なお、図6では、本体121と化粧パネル122へのハッチングを省略している。本体121および化粧パネル122の構成は、本体1および化粧パネル2とほぼ同様であるため、詳細な説明は省略する。既存の熱交換換気装置120は、天井材8が設けられる前に本体121が設置されている。図6および図7に示すように、天井材8には、化粧パネル122で塞げる大きさの第3の開口16が形成されている。したがって、第3の開口16の大きさが足らず、このままでは天井裏から本体121を引き出すことができない。 The existing heat exchange ventilator 120 includes a main body 121 and a decorative panel 122, similarly to the heat exchange ventilator 20. Note that in FIG. 6, hatching to the main body 121 and the decorative panel 122 is omitted. Since the configurations of the main body 121 and the decorative panel 122 are almost the same as those of the main body 1 and the decorative panel 2, detailed description thereof will be omitted. In the existing heat exchange ventilation device 120, the main body 121 is installed before the ceiling material 8 is provided. As shown in FIGS. 6 and 7, the ceiling material 8 is formed with a third opening 16 having a size that can be closed by the decorative panel 122. Therefore, the size of the third opening 16 is insufficient, and the main body 121 cannot be pulled out from the ceiling as it is.

そこで、図8および図9に示すように、第3の開口16の周囲の天井材8が切り落とされて、本体121を引き出せる第2の開口15が形成される(ステップS1)。このとき切り落とされた天井材8が、第2の天井材8bおよび第3の天井材8cとなる。また、切り落とされずに残った天井材8が、第1の天井材8aとなる。 Therefore, as shown in FIGS. 8 and 9, the ceiling material 8 around the third opening 16 is cut off to form a second opening 15 from which the main body 121 can be pulled out (step S1). The ceiling material 8 cut off at this time becomes the second ceiling material 8b and the third ceiling material 8c. Further, the ceiling material 8 that remains without being cut off becomes the first ceiling material 8a.

次に、第2の開口15を通して本体121が天井裏から引き出される(ステップS2)。次に、第2の開口15を通して熱交換換気装置20の本体1が天井裏に設置される(ステップS3)。次に、第2の開口15の開口縁に支持部材21が固定される(ステップS4)。次に、図1および図3に示すように、支持部材21が有する載置面42aに、第2の天井材8bおよび第3の天井材8cが載置される(ステップS5)。これにより、化粧パネル2で塞ぐことのできる大きさの第1の開口14が形成される。 Next, the main body 121 is pulled out from the ceiling through the second opening 15 (step S2). Next, the main body 1 of the heat exchange ventilation device 20 is installed behind the ceiling through the second opening 15 (step S3). Next, the support member 21 is fixed to the opening edge of the second opening 15 (step S4). Next, as shown in FIGS. 1 and 3, the second ceiling material 8b and the third ceiling material 8c are placed on the mounting surface 42a of the support member 21 (step S5). As a result, a first opening 14 having a size that can be closed by the decorative panel 2 is formed.

次に、第1の開口14が化粧パネル2で塞がれるとともに、化粧パネル2と本体1とが接続部材9で接続されて、熱交換換気装置20への入れ替えが完了する(ステップS6)。第1の開口14が化粧パネル2に塞がれることで、第2の天井材8bおよび第3の天井材8cのうち、第1の開口14の開口縁に沿った部分が、化粧パネル2に支持される。 Next, the first opening 14 is closed by the decorative panel 2, and the decorative panel 2 and the main body 1 are connected by the connecting member 9, and the replacement with the heat exchange ventilation device 20 is completed (step S6). When the first opening 14 is closed by the decorative panel 2, the portion of the second ceiling material 8b and the third ceiling material 8c along the opening edge of the first opening 14 becomes the decorative panel 2. Be supported.

以上説明したように、本実施の形態1にかかる熱交換換気装置20によれば、既存の熱交換換気装置120との入れ替えのために、天井材8に形成された第3の開口16を広げた第2の開口15を形成しても、その復旧作業が、支持部材21の固定と、第2の天井材8bおよび第3の天井材8cの載置面42aへの載置で済む。そのため、第2の開口15の復旧の容易化が図られる。また、第2の開口15を塞ぐ第2の天井材8bおよび第3の天井材8cは、第3の開口16を広げる際に切り落とされて廃材となる天井材8である。本実施の形態1では、廃材となる第2の天井材8bおよび第3の天井材8cを再利用して第2の開口15を塞いでいるので、廃材の発生の抑制を図ることができる。 As described above, according to the heat exchange ventilator 20 according to the first embodiment, the third opening 16 formed in the ceiling material 8 is widened in order to replace the existing heat exchange ventilator 120. Even if the second opening 15 is formed, the restoration work can be completed by fixing the support member 21 and mounting the second ceiling material 8b and the third ceiling material 8c on the mounting surface 42a. Therefore, the restoration of the second opening 15 can be facilitated. Further, the second ceiling material 8b and the third ceiling material 8c that close the second opening 15 are ceiling materials 8 that are cut off when the third opening 16 is widened and become waste material. In the first embodiment, since the second ceiling material 8b and the third ceiling material 8c, which are waste materials, are reused to close the second opening 15, it is possible to suppress the generation of waste materials.

したがって、熱交換換気装置20の入れ替え工事の費用を抑制することができる。熱交換換気装置20の入れ替え工事の費用が抑制されれば、省エネルギー性能に優れた熱交換換気装置への交換がしやすくなる。また、熱交換換気装置が故障したまま放置されにくくなるため、適切な換気がなされずに住環境が悪化することを防ぐことができる。 Therefore, the cost of the replacement work of the heat exchange ventilation device 20 can be suppressed. If the cost of the replacement work of the heat exchange ventilator 20 is suppressed, it will be easier to replace the heat exchange ventilator 20 with a heat exchange ventilator having excellent energy saving performance. In addition, since the heat exchange ventilation device is less likely to be left in a broken state, it is possible to prevent the living environment from being deteriorated due to insufficient ventilation.

また、支持部材21を切断して長さを調節すれば、入れ替え工事を行う現地で第2の開口15の大きさに合わせて、支持部材21を第1の天井材8aに固定することができる。したがって、長さの異なる支持部材21を予め用意しておく必要がないため、在庫の面からも入れ替え工事の費用を抑制することができる。 Further, if the support member 21 is cut and the length is adjusted, the support member 21 can be fixed to the first ceiling material 8a according to the size of the second opening 15 at the site where the replacement work is performed. .. Therefore, since it is not necessary to prepare the support members 21 having different lengths in advance, the cost of the replacement work can be suppressed from the viewpoint of inventory.

なお、送風装置として熱交換換気装置を例に挙げて説明したが、これに限られない。天井裏に配置される本体が、化粧パネルで塞がれる開口よりも大きい送風装置であれば、排気のみを行う送風装置であってもよいし、給気のみを行う送風装置であってもよい。また、給排気は行うが熱交換は行わない送風装置であってもよい。また、送風装置は空気調和機であってもよい。 Although the heat exchange ventilation device has been described as an example of the blower, the present invention is not limited to this. If the main body arranged behind the ceiling is a blower device larger than the opening closed by the decorative panel, it may be a blower device that only exhausts air or a blower device that only supplies air. .. Further, a blower device that supplies and exhausts air but does not exchange heat may be used. Further, the blower may be an air conditioner.

以上の実施の形態に示した構成は、本発明の内容の一例を示すものであり、別の公知の技術と組み合わせることも可能であるし、本発明の要旨を逸脱しない範囲で、構成の一部を省略、変更することも可能である。 The configuration shown in the above-described embodiment shows an example of the content of the present invention, can be combined with another known technique, and is one of the configurations without departing from the gist of the present invention. It is also possible to omit or change the part.

1 本体、2 化粧パネル、2a 給気口、2b 還気口、2c 外気口、2d 排気口、4 第1の部材、5 第2の部材、8 天井材、8a 第1の天井材、8b 第2の天井材、8c 第3の天井材、9 接続部材、11 熱交換素子、12 給気送風機、13 排気送風機、14 第1の開口、15 第2の開口、16 第3の開口、20 熱交換換気装置、21 支持部材、30 躯体、41 第1の部位、42 第2の部位、42a 載置面、43 第3の部位、43a 突部、54 第4の部位、55 第5の部位、55a 突部、55b 凹部、120 熱交換換気装置、121 本体、122 化粧パネル。 1 main body, 2 decorative panel, 2a air supply port, 2b return air port, 2c outside air port, 2d exhaust port, 4 first member, 5 second member, 8 ceiling material, 8a first ceiling material, 8b first 2 ceiling material, 8c 3rd ceiling material, 9 connecting member, 11 heat exchange element, 12 air supply blower, 13 exhaust blower, 14 1st opening, 15 2nd opening, 16 3rd opening, 20 heat Exchange ventilator, 21 support member, 30 skeleton, 41 1st part, 42 2nd part, 42a mounting surface, 43 3rd part, 43a protrusion, 54 4th part, 55 5th part, 55a protrusions, 55b recesses, 120 heat exchange ventilators, 121 body, 122 decorative panels.

Claims (4)

天井材に当接される第1の部位と、前記第1の部位の一端から延びる第2の部位と、前記第1の部位と前記第2の部位の境界から突出された第3の部位と、を有する第1の部材と、
前記第1の部位との間に前記天井材を挟み込む第4の部位と、前記第4の部位が前記第1の部位との間に前記天井材を挟み込んだ状態で前記第3の部位が差し込まれる第5の部位と、を有する第2の部材と、を備え、
前記第2の部位には、前記第1の部位と前記第4の部位とに挟み込まれた前記天井材と異なる天井材が載置可能な載置面を有することを特徴とする支持部材。
A first portion that comes into contact with the ceiling material, a second portion that extends from one end of the first portion, and a third portion that protrudes from the boundary between the first portion and the second portion. The first member having, and
The third portion is inserted with the ceiling material sandwiched between the fourth portion that sandwiches the ceiling material between the first portion and the first portion and the fourth portion. A second member with a fifth portion,
The support member is characterized in that the second portion has a mounting surface on which a ceiling material different from the ceiling material sandwiched between the first portion and the fourth portion can be mounted.
前記第1の部材および前記第2の部材は、前記第1の部位と前記第2の部位との境界が延びる方向が長手方向であり、前記長手方向に垂直な面で切断した断面の形状が、前記長手方向に沿ったどの位置で切断しても同一であることを特徴とする請求項1に記載の支持部材。 In the first member and the second member, the direction in which the boundary between the first portion and the second portion extends is the longitudinal direction, and the shape of the cross section cut along the plane perpendicular to the longitudinal direction is formed. The support member according to claim 1, wherein the support member is the same regardless of the position cut along the longitudinal direction. 前記第3の部位と前記第5の部位とはスナップフィットで固定されることを特徴とする請求項1または2に記載の支持部材。 The support member according to claim 1 or 2, wherein the third portion and the fifth portion are fixed by a snap fit. 開口が形成された天井材の上部に設けられて給気流および排気流の少なくとも一方を生成する本体と、
前記開口の一部を塞ぐとともに前記本体に接続されて前記本体によって生成された前記給気流および前記排気流の少なくとも一方を通過させる化粧パネルと、
前記化粧パネルに塞がれない前記開口の開口縁である前記天井材に取り付けられた請求項1から3のいずれか1つに記載の支持部材と、を備えることを特徴とする送風装置。
A body that is provided above the ceiling material with an opening to generate at least one of the airflow and exhaustflow.
A decorative panel that closes a part of the opening and is connected to the main body to pass at least one of the air supply and the exhaust flow generated by the main body.
The blower device comprising the support member according to any one of claims 1 to 3, which is attached to the ceiling material, which is the opening edge of the opening that is not blocked by the decorative panel.
JP2019077824A 2019-04-16 2019-04-16 Support member and blower Pending JP2020176744A (en)

Priority Applications (1)

Application Number Priority Date Filing Date Title
JP2019077824A JP2020176744A (en) 2019-04-16 2019-04-16 Support member and blower

Applications Claiming Priority (1)

Application Number Priority Date Filing Date Title
JP2019077824A JP2020176744A (en) 2019-04-16 2019-04-16 Support member and blower

Publications (1)

Publication Number Publication Date
JP2020176744A true JP2020176744A (en) 2020-10-29

Family

ID=72936000

Family Applications (1)

Application Number Title Priority Date Filing Date
JP2019077824A Pending JP2020176744A (en) 2019-04-16 2019-04-16 Support member and blower

Country Status (1)

Country Link
JP (1) JP2020176744A (en)

Cited By (1)

* Cited by examiner, † Cited by third party
Publication number Priority date Publication date Assignee Title
KR102872343B1 (en) * 2025-02-20 2025-10-16 (주)동양일렉스 Multi-purpose Bracket for Ceiling Finishing for Ceiling-Type Heating ANd Cooling Appliance

Citations (8)

* Cited by examiner, † Cited by third party
Publication number Priority date Publication date Assignee Title
JPS5154511U (en) * 1974-10-23 1976-04-26
JPH04288430A (en) * 1991-03-18 1992-10-13 Matsushita Seiko Co Ltd Panel removal device for ventilation unit
JPH0514340U (en) * 1991-08-02 1993-02-23 株式会社竹中工務店 Electromagnetic shield system ceiling
JPH11324211A (en) * 1998-03-10 1999-11-26 Nippon Light Metal Co Ltd Mounting structure for ceiling panels and ceiling equipment
JP2000179085A (en) * 1998-12-15 2000-06-27 Nippon Light Metal Co Ltd Ceiling panel fixtures
JP2005174949A (en) * 2003-11-18 2005-06-30 Toyo Aluminium Kk Method of producing aluminum foil for electrolytic capacitor
KR20110103250A (en) * 2010-03-12 2011-09-20 상명엔프라(주) Ceiling panel mounting structure
JP2012067494A (en) * 2010-09-22 2012-04-05 Takasago Thermal Eng Co Ltd Ceiling construction method for clean room

Patent Citations (8)

* Cited by examiner, † Cited by third party
Publication number Priority date Publication date Assignee Title
JPS5154511U (en) * 1974-10-23 1976-04-26
JPH04288430A (en) * 1991-03-18 1992-10-13 Matsushita Seiko Co Ltd Panel removal device for ventilation unit
JPH0514340U (en) * 1991-08-02 1993-02-23 株式会社竹中工務店 Electromagnetic shield system ceiling
JPH11324211A (en) * 1998-03-10 1999-11-26 Nippon Light Metal Co Ltd Mounting structure for ceiling panels and ceiling equipment
JP2000179085A (en) * 1998-12-15 2000-06-27 Nippon Light Metal Co Ltd Ceiling panel fixtures
JP2005174949A (en) * 2003-11-18 2005-06-30 Toyo Aluminium Kk Method of producing aluminum foil for electrolytic capacitor
KR20110103250A (en) * 2010-03-12 2011-09-20 상명엔프라(주) Ceiling panel mounting structure
JP2012067494A (en) * 2010-09-22 2012-04-05 Takasago Thermal Eng Co Ltd Ceiling construction method for clean room

Cited By (1)

* Cited by examiner, † Cited by third party
Publication number Priority date Publication date Assignee Title
KR102872343B1 (en) * 2025-02-20 2025-10-16 (주)동양일렉스 Multi-purpose Bracket for Ceiling Finishing for Ceiling-Type Heating ANd Cooling Appliance

Similar Documents

Publication Publication Date Title
JP5194987B2 (en) Duct unit, duct arrangement structure using duct unit and outer wall structure
JP4795402B2 (en) Air conditioning system for computer room
US11421912B2 (en) Packing system including packing material for air conditioner and air conditioner
JP2020176744A (en) Support member and blower
JP5517859B2 (en) Clean room ceiling installation method
JP5201049B2 (en) Bathroom ventilation dryer
JP2014092333A (en) Heat exchange ventilation device
CN115917218A (en) Heat exchanger and heat exchange type ventilator
KR101715430B1 (en) Underfloor air-conditioning duct structure
KR101064556B1 (en) Air conditioner with frame structure for heterogeneous casing assembly
JP4787767B2 (en) Duct installation structure of building and duct installation method
JP2009250551A (en) Ventilating system
JP2018091505A (en) Indoor unit for air conditioner and method for assembling indoor unit for air conditioner
JP2007322114A (en) Air conditioner
JP2025071496A (en) Heat exchange type ventilation device and method for installing a filter in the heat exchange type ventilation device
CN221991975U (en) Ventilating duct
JP2017026242A (en) Air conditioning system for clean room
JP2006207871A (en) Air conditioner
KR200463265Y1 (en) Air-conditioner
JPWO2019225278A1 (en) Air conditioning indoor unit
JP6110598B2 (en) Heat exchange ventilator
JP5589420B2 (en) Air conditioner
WO2022209680A1 (en) Mounting bracket, mounting structure for heat insulation panel, and radiation air-conditioning device
JP2010133566A (en) Clean room facility and method of operating the same
JP2007270571A (en) Scaffolding structure

Legal Events

Date Code Title Description
A621 Written request for application examination

Free format text: JAPANESE INTERMEDIATE CODE: A621

Effective date: 20210917

A977 Report on retrieval

Free format text: JAPANESE INTERMEDIATE CODE: A971007

Effective date: 20220613

A131 Notification of reasons for refusal

Free format text: JAPANESE INTERMEDIATE CODE: A131

Effective date: 20220628

A02 Decision of refusal

Free format text: JAPANESE INTERMEDIATE CODE: A02

Effective date: 20221220