JP2020008142A - 動力伝達装置 - Google Patents

動力伝達装置 Download PDF

Info

Publication number
JP2020008142A
JP2020008142A JP2018131860A JP2018131860A JP2020008142A JP 2020008142 A JP2020008142 A JP 2020008142A JP 2018131860 A JP2018131860 A JP 2018131860A JP 2018131860 A JP2018131860 A JP 2018131860A JP 2020008142 A JP2020008142 A JP 2020008142A
Authority
JP
Japan
Prior art keywords
gear shaft
rotor shaft
radial force
ball bearing
shaft
Prior art date
Legal status (The legal status is an assumption and is not a legal conclusion. Google has not performed a legal analysis and makes no representation as to the accuracy of the status listed.)
Pending
Application number
JP2018131860A
Other languages
English (en)
Inventor
祐紀 桑本
Sukenori Kuwamoto
祐紀 桑本
北畑 剛
Takeshi Kitahata
剛 北畑
Current Assignee (The listed assignees may be inaccurate. Google has not performed a legal analysis and makes no representation or warranty as to the accuracy of the list.)
Toyota Motor Corp
Original Assignee
Toyota Motor Corp
Priority date (The priority date is an assumption and is not a legal conclusion. Google has not performed a legal analysis and makes no representation as to the accuracy of the date listed.)
Filing date
Publication date
Application filed by Toyota Motor Corp filed Critical Toyota Motor Corp
Priority to JP2018131860A priority Critical patent/JP2020008142A/ja
Publication of JP2020008142A publication Critical patent/JP2020008142A/ja
Pending legal-status Critical Current

Links

Images

Landscapes

  • General Details Of Gearings (AREA)
  • Rolling Contact Bearings (AREA)

Abstract

【課題】歯車軸からのラジアル力の作用によるロータ軸の傾きを抑制する。【解決手段】ロータ軸38の両側の端部38a,38bのうちの歯車軸36から相対的に大きなラジアル力が作用させられる第1端部38aを支持する第1玉軸受46の支持剛性が、歯車軸36から相対的に小さなラジアル力が作用させられる第2端部38bを支持する第2玉軸受48の支持剛性と比べて高くされているので、歯車軸36からラジアル力が作用させられるときに第1端部38aにおける回転軸心Cmに垂直な方向の変位であるラジアル変位を抑制することができる。よって、歯車軸36からのラジアル力の作用によるロータ軸38の傾きを抑制することができる。【選択図】図2

Description

本発明は、ラジアル力を受ける歯車軸に連結されたロータ軸の両側を支持する一対の軸受を備えた動力伝達装置に関するものである。
軸心に垂直な方向に働く力であるラジアル力を受ける歯車軸と、前記歯車軸と同軸心に配設されている、前記歯車軸に連結された回転機のロータ軸と、前記ロータ軸の前記回転機に対する前記軸心方向の両側の端部を支持する一対の軸受とを備えた動力伝達装置が良く知られている。例えば、特許文献1に記載された動力伝達装置がそれである。この特許文献1には、歯車軸とロータ軸とはスプライン嵌合により連結され、スプライン嵌合部でのがたつきを抑制する為に、歯車軸及びロータ軸の径方向に対向する内周面と外周面との間に圧入された、厚み方向に弾性変形可能な環状のがたつき抑制部材を備えることが開示されている。
特開2017−53385号公報
ところで、歯車軸がラジアル力の作用で傾くとき、歯車軸に同軸心に連結されるロータ軸にもラジアル力が作用してロータ軸が傾く場合がある。例えば、特許文献1に示されるようにスプライン嵌合部やがたつき抑制部材を備える動力伝達装置では、ロータ軸にスプライン嵌合部又はがたつき抑制部材を介して歯車軸からのラジアル力が作用してロータ軸が傾く。ロータ軸が傾いた状態で回転機のロータが回転することで振動が発生すると、ノイズが発生する可能性がある。このようなノイズの発生を抑制する為に、ロータ軸が傾き難くされていることが望まれる。
本発明は、以上の事情を背景として為されたものであり、その目的とするところは、歯車軸からのラジアル力の作用によるロータ軸の傾きを抑制することができる動力伝達装置を提供することにある。
第1の発明の要旨とするところは、(a)軸心に垂直な方向に働く力であるラジアル力を受ける歯車軸と、前記歯車軸と同軸心に配設されている、前記歯車軸に連結された回転機のロータ軸と、前記ロータ軸の前記回転機に対する前記軸心方向の両側の端部を支持する一対の軸受とを備えた動力伝達装置であって、(b)前記ロータ軸の前記両側の端部のうちの前記歯車軸から相対的に大きなラジアル力が作用させられる一方の端部を支持する軸受の支持剛性が、前記ロータ軸の前記両側の端部のうちの前記歯車軸から相対的に小さなラジアル力が作用させられる他方の端部を支持する軸受の支持剛性と比べて高くされていることにある。
前記第1の発明によれば、ロータ軸の両側の端部のうちの歯車軸から相対的に大きなラジアル力が作用させられる一方の端部を支持する軸受の支持剛性が比較的高剛性とされているので、歯車軸からラジアル力が作用させられるときにその一方の端部における軸心に垂直な方向の変位であるラジアル変位を抑制することができる。よって、歯車軸からのラジアル力の作用によるロータ軸の傾きを抑制することができる。
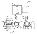
本発明が適用される車両の概略構成を説明する為の図である。 回転機のロータ軸を支持する構造を説明する為の図である。 回転機のロータ軸を支持する構造を説明する為の図であって、図2とは別の実施例である。
本発明の実施形態において、前記回転機のロータ軸は、前記歯車軸にスプライン嵌合されている。又、動力伝達装置は、前記歯車軸と前記ロータ軸とがスプライン嵌合されたスプライン嵌合部でのがたつきを抑制する為に、前記歯車軸及び前記ロータ軸の径方向に対向する内周面と外周面との間に圧入された円環状のがたつき抑制部材を備えている。前記がたつき抑制部材としては、弾性変形可能な部材であり、金属、ゴムや所定の弾性を有する合成樹脂材料等の弾性部材、金属とゴムとが一体的に形成された複合部材などが用いられる。前記がたつき抑制部材の円環状は円筒状と同意である。
以下、本発明の実施例を図面を参照して詳細に説明する。
図1は、本発明が適用される車両10の概略構成を説明する為の図である。図1において、車両10は、動力伝達装置としての車両用動力伝達装置12と、動力源としてのエンジン14と、駆動輪16と、動力源としての回転機18とを備えたハイブリッド車両である。尚、以下、車両用動力伝達装置12を動力伝達装置12という。
動力伝達装置12は、エンジン14と駆動輪16との間の動力伝達経路、及び回転機18と駆動輪16との間の動力伝達経路に設けられている。動力伝達装置12は、車体に取り付けられる非回転部材である回転不能のケース20内に、エンジン14に連結された変速部22、変速部22の出力回転部材であるドライブギヤ24と噛み合うドリブンギヤ26、ドリブンギヤ26を相対回転不能に固設するドリブン軸28、ドリブン軸28に相対回転不能に固設されたファイナルギヤ30、デフリングギヤ32aを介してファイナルギヤ30と噛み合うディファレンシャルギヤ32、ドリブンギヤ26と噛み合うリダクションギヤ34、リダクションギヤ34を相対回転不能に固設する歯車軸36、歯車軸36にスプライン嵌合により連結された回転機18のロータ軸38等を備えている。又、動力伝達装置12は、ディファレンシャルギヤ32に連結された車軸40等を備えている。
ファイナルギヤ30は、ドリブンギヤ26よりも小径のギヤである。リダクションギヤ34は、ドリブンギヤ26よりも小径のギヤである。ロータ軸38の軸心方向の中央部分には、回転機18のロータ18aが相対回転不能に連結されており、ロータ軸38は、回転機18の出力軸として機能する。ロータ軸38の軸心は、歯車軸36の軸心と同じ軸心となる回転軸心Cmである。
以上のように構成された動力伝達装置12では、エンジン14の動力や回転機18の動力がドリブンギヤ26へ伝達され、そのドリブンギヤ26から、ファイナルギヤ30、ディファレンシャルギヤ32、車軸40等を順次介して駆動輪16へ伝達される。動力伝達装置12は、例えばフロントエンジン・フロントドライブ方式であるFF方式の車両に用いられる。
図2は、回転機18のロータ軸38を支持する構造を説明する為の図である。図2において、歯車軸36は、リダクションギヤ34の回転軸心Cm方向の両側に配置された一対の軸受42,44を介して回転軸心Cm回りに回転可能にケース20によって支持されている。ロータ軸38は、回転機18の回転軸心Cm方向の両側に配置された一対の玉軸受46,48を介して回転軸心Cm回りに回転可能にケース20によって支持されている。このように、ロータ軸38は、歯車軸36と同軸心に配設され且つ両端が支持されている。又、玉軸受46,48は、ロータ軸38の回転機18に対する回転軸心Cm方向の両側の端部38a,38bを支持する一対の軸受である。端部38aは、ロータ軸38のリダクションギヤ34側の端末又は端末近くを含む回転軸心Cm方向にある程度の長さを持った部位であり、玉軸受46が配設されている。端部38bは、ロータ軸38のリダクションギヤ34側とは反対側の端末又は端末近くを含む回転軸心Cm方向にある程度の長さを持った部位であり、玉軸受48が配設されている。尚、本実施例では、端部38aを第1端部38aともいい、端部38bを第2端部38bともいい、玉軸受46を第1玉軸受46ともいい、玉軸受48を第2玉軸受48ともいう。
歯車軸36とロータ軸38とは、スプライン嵌合部50を介して動力伝達可能に連結されている。スプライン嵌合部50は、歯車軸36の回転機18側の端部の外周面に形成された外スプライン52と、ロータ軸38の内周面に形成された内スプライン54とが嵌め合わされることで構成されている。外スプライン52と内スプライン54との間には、ガタすなわちバックラッシが存在する。その為、例えば歯車軸36とロータ軸38との間の相対的な回転変動により、外スプライン52と内スプライン54との間で歯面分離と衝突を繰り返してガタ打ち音(=歯打ち音)が発生する可能性がある。この歯打ち音は、例えば回転機18の出力トルクがゼロ又はゼロに近い状態ですなわちロータ軸38が無負荷の状態で歯車軸36によって連れ廻り回転させられる場合に発生する。
本実施例では、上述したような歯打ち音の発生を抑制する為に、動力伝達装置12は、スプライン嵌合部50に回転軸心Cm方向に隣接する部分にがたつき抑制部材としての円筒状の弾性部材56を備えている。具体的には、歯車軸36の外スプライン52が設けられた部位よりも回転軸心Cm方向のリダクションギヤ34側の外周面36aと、ロータ軸38の内スプライン54が設けられた部位よりも回転軸心Cm方向のリダクションギヤ34側の内周面38cとの間の円筒状空間に弾性部材56が配設されている。つまり、弾性部材56は、歯車軸36及びロータ軸38の径方向に対向するロータ軸38の内周面38cと歯車軸36の外周面36aとの間に圧入されている。
ところで、歯車軸36は、例えばリダクションギヤ34とドリブンギヤ26との噛合いに伴う、回転軸心Cmに垂直な方向に働く力であるラジアル力をドリブンギヤ26側から受ける。その為、歯車軸36は、そのラジアル力の作用で傾く可能性がある。歯車軸36が上記ラジアル力の作用で傾くとき、ロータ軸38にもスプライン嵌合部50及び/又は弾性部材56を介してラジアル力が作用させられて、ロータ軸38が傾けられる可能性がある。ロータ軸38が傾けられた状態で回転機18のロータ18aが回転することで振動が発生し、ノイズが発生する可能性がある。回転機18の回転に伴うノイズの発生を抑制する為に、ロータ軸38が傾き難くされるロータ軸38の支持構造が望まれる。歯車軸36からのラジアル力の作用によるロータ軸38の傾きを抑制することができるロータ軸38の支持構造について以下に詳述する。
本実施例の動力伝達装置12では、スプライン嵌合部50と弾性部材56とは、ロータ軸38の両側の端部38a,38bのうちの一方の端部である第1端部38a側にまとめて配置されている。このような場合、歯車軸36からのラジアル力は専ら第1端部38aに作用させられる。従って、第1端部38aは、ロータ軸38の両側の端部38a,38bのうちの他方の端部である第2端部38bと比べて歯車軸36から大きなラジアル力が作用させられる。そこで、歯車軸36からラジアル力が作用させられるときに第1端部38aにおける回転軸心Cmに垂直な方向の変位であるラジアル変位を抑制してそのラジアル力の作用によるロータ軸38の傾きを抑制する為に、第1玉軸受46の支持剛性は第2玉軸受48の支持剛性と比べて高くされている。このように、本実施例では、ロータ軸38の両側の端部38a,38bのうちの歯車軸36から相対的に大きなラジアル力が作用させられる第1端部38aを支持する第1玉軸受46の支持剛性が、その両側の端部38a,38bのうちの歯車軸36から相対的に小さなラジアル力が作用させられる第2端部38bを支持する第2玉軸受48の支持剛性と比べて高くされている。
より具体的には、第1玉軸受46は、第2玉軸受48と比べて体格が大きくされている。これにより、第1玉軸受46の支持剛性は、第2玉軸受48の支持剛性と比べて高くされている。
第1玉軸受46は、インナーレース46aがロータ軸38の第1端部38a側の外周面38dである第1外周面38daに圧入され、アウターレース46bがケース20の第1玉軸受46側の内周面に設けられた第1軸受室20aに嵌合された構造である。第2玉軸受48は、インナーレース48aがロータ軸38の第2端部38b側の外周面38dである第2外周面38dbに圧入され、アウターレース48bがケース20の第2玉軸受48側の内周面に設けられた第2軸受室20bに嵌合された構造である。このような構造では、インナーレース46a,48aはロータ軸38にかたく嵌め合わされており、又、アウターレース46b,48bはケース20にゆるく嵌め込まれているルーズ嵌合とされている。第1玉軸受46は、第2玉軸受48と比べて、ケース20との間でのルーズ嵌合における嵌め合いすきまが狭くされている。これにより、第1玉軸受46の支持剛性は、第2玉軸受48の支持剛性と比べて高くされている。
上述のように、本実施例によれば、ロータ軸38の両側の端部38a,38bのうちの歯車軸36から相対的に大きなラジアル力が作用させられる第1端部38aを支持する第1玉軸受46の支持剛性が、歯車軸36から相対的に小さなラジアル力が作用させられる第2端部38bを支持する第2玉軸受48の支持剛性と比べて高くされているので、歯車軸36からラジアル力が作用させられるときに第1端部38aにおける回転軸心Cmに垂直な方向の変位であるラジアル変位を抑制することができる。よって、歯車軸36からのラジアル力の作用によるロータ軸38の傾きを抑制することができる。
歯車軸36から相対的に小さなラジアル力が作用させられる第2端部38bを支持する第2玉軸受48の支持剛性も高剛性とすると、コストアップを招く可能性がある。これに対して、第2玉軸受48の支持剛性は、相対的に低く抑えられているので、ロータ軸38の傾きを抑制するうえで、コストアップを必要最小限に抑えることができる。
次に、本発明の他の実施例を説明する。尚、以下の説明において実施例相互に共通する部分には同一の符号を付して説明を省略する。
図3は、回転機18のロータ軸38を支持する構造を説明する為の図であって、図2とは別の実施例である。図3において、第1端部38aは、回転軸心Cm方向に隣接して配置された第3玉軸受60及び第4玉軸受62の複数の軸受によって支持されている。第3玉軸受60及び第4玉軸受62は、ロータ軸38の回転機18に対する回転軸心Cm方向の両側の端部38a,38bを支持する一対の軸受を構成するうちの一方の軸受である。つまり、第3玉軸受60及び第4玉軸受62は、ロータ軸38の両側の端部38a,38bのうちの歯車軸36から相対的に大きなラジアル力が作用させられる第1端部38aを支持する軸受である。尚、端部38a,38bを支持する一対の軸受を構成するうちの他方の軸受は、第2玉軸受48である。
本実施例では、第1端部38aを支持する軸受として、第3玉軸受60及び第4玉軸受62の複数個の軸受が配置されている。これにより、第1端部38aを支持する軸受の支持剛性は、第2玉軸受48の支持剛性と比べて高くされている。尚、第3玉軸受60及び第4玉軸受62は、各々、体格が第2玉軸受48と同等の大きさとされており、又、ケース20との間でのルーズ嵌合における嵌め合いすきまが第2玉軸受48と同等の間隔とされている。
上述のように、本実施例によれば、ロータ軸38の両側の端部38a,38bのうちの歯車軸36から相対的に大きなラジアル力が作用させられる第1端部38aを支持する第3玉軸受60及び第4玉軸受62を合わせた支持剛性が、歯車軸36から相対的に小さなラジアル力が作用させられる第2端部38bを支持する第2玉軸受48の支持剛性と比べて高くされているので、前述の実施例1と同様の効果が得られる。
以上、本発明の実施例を図面に基づいて詳細に説明したが、本発明はその他の態様においても適用される。
例えば、前述の実施例において、ロータ軸38の回転機18に対する回転軸心Cm方向の両側の端部38a,38bを支持する一対の軸受は共に玉軸受であったが、この態様に限らない。例えば、一対の軸受は、各々別の形式の軸受であっても良い。このようにすることで、歯車軸36から相対的に大きなラジアル力が作用させられる第1端部38aを支持する軸受の支持剛性を、歯車軸36から相対的に小さなラジアル力が作用させられる第2端部38bを支持する軸受の支持剛性と比べて高くしても良い。軸受を各々別の形式にすることとは、例えば一方を玉軸受とし、他方をころ軸受としたり、又は、一方をころがり軸受とし、他方をすべり軸受としたり、又は、一方の玉軸受の玉と他方の玉軸受の玉との種類を異ならせたりすることである。
また、前述の実施例において、歯車軸36から相対的に大きなラジアル力が作用させられる第1端部38aを支持する軸受は、歯車軸36から相対的に小さなラジアル力が作用させられる第2端部38bを支持する軸受と比べて、軸受の内部隙間が狭くされていることで、第1端部38aを支持する軸受の支持剛性を、第2端部38bを支持する軸受の支持剛性と比べて高くしても良い。
また、前述の実施例1では、第1玉軸受46は、第2玉軸受48と比べて、体格が大きくされ、且つ、ケース20との間でのルーズ嵌合における嵌め合いすきまが狭くされていたが、この態様に限らない。例えば、第1玉軸受46は、第2玉軸受48と比べて、体格が大きくされるのみでも良いし、又は、ケース20との間でのルーズ嵌合における嵌め合いすきまが狭くされるのみでも良い。このようにしても、第1玉軸受46の支持剛性は、第2玉軸受48の支持剛性と比べて高くされ得る。要は、体格を大きくしたり、ルーズ嵌合における嵌め合いすきまを狭くしたり、軸受を複数個配置したり、軸受の形式を変更したり、軸受の内部隙間を狭くしたりするなどの何らかの方法で、第1玉軸受46の支持剛性が、第2玉軸受48の支持剛性と比べて高くされれば良い。
また、前述の実施例2では、第1端部38aを支持する軸受は、第3玉軸受60及び第4玉軸受62であったが、この態様に限らない。第1端部38aを支持する軸受として、3つ以上の複数個の軸受が配置されていても良い。
また、前述の実施例では、スプライン嵌合部50と弾性部材56とは、第1端部38a側にまとめて配置されていた。スプライン嵌合部50と弾性部材56とが、第1端部38a側と第2端部38b側とに分かれて配置されている場合も考えられる。このような場合、スプライン嵌合部50を介して作用させられるラジアル力の方が弾性部材56を介して作用させられるラジアル力の方よりも大きければ、第1端部38a及び第2端部38bのうちのスプライン嵌合部50に近い側の端部は、第1端部38a及び第2端部38bのうちのスプライン嵌合部50に遠い側の端部と比べて歯車軸36から大きなラジアル力が作用させられる。その為、スプライン嵌合部50に近い側の端部を支持する軸受すなわちスプライン嵌合部50に近い側の軸受の支持剛性が、スプライン嵌合部50に遠い側の軸受つまり弾性部材56に近い側の軸受の支持剛性と比べて高くされている。一方で、弾性部材56を介して作用させられるラジアル力の方がスプライン嵌合部50を介して作用させられるラジアル力の方よりも大きければ、弾性部材56に近い側の軸受の支持剛性が、スプライン嵌合部50に近い側の軸受の支持剛性と比べて高くされている。
また、前述の実施例において、弾性部材56は必ずしも備えられていなくても良い。又、歯車軸36とロータ軸38との連結は、スプライン嵌合によるものに限らない。又、エンジン14に替えて、回転機18とは別の回転機が動力源として用いられても良い。この場合、変速部22は備えられていなくても良い。要は、ラジアル力を受ける歯車軸と、前記歯車軸と同軸心に配設されている、前記歯車軸に連結された回転機のロータ軸と、前記ロータ軸の前記回転機に対する前記軸心方向の両側の端部を支持する一対の軸受とを備えた動力伝達装置であれば、本発明を適用することができる。
尚、上述したのはあくまでも一実施形態であり、本発明は当業者の知識に基づいて種々の変更、改良を加えた態様で実施することができる。
12:車両用動力伝達装置(動力伝達装置)
18:回転機
36:歯車軸
38:ロータ軸
38a:第1端部(一方の端部)
38b:第2端部(他方の端部)
46:第1玉軸受(一方の端部を支持する軸受)
48:第2玉軸受(他方の端部を支持する軸受)
60:第3玉軸受(一方の端部を支持する軸受)
62:第4玉軸受(一方の端部を支持する軸受)
Cm:回転軸心(軸心)

Claims (1)

  1. 軸心に垂直な方向に働く力であるラジアル力を受ける歯車軸と、前記歯車軸と同軸心に配設されている、前記歯車軸に連結された回転機のロータ軸と、前記ロータ軸の前記回転機に対する前記軸心方向の両側の端部を支持する一対の軸受とを備えた動力伝達装置であって、
    前記ロータ軸の前記両側の端部のうちの前記歯車軸から相対的に大きなラジアル力が作用させられる一方の端部を支持する軸受の支持剛性が、前記ロータ軸の前記両側の端部のうちの前記歯車軸から相対的に小さなラジアル力が作用させられる他方の端部を支持する軸受の支持剛性と比べて高くされていることを特徴とする動力伝達装置。
JP2018131860A 2018-07-11 2018-07-11 動力伝達装置 Pending JP2020008142A (ja)

Priority Applications (1)

Application Number Priority Date Filing Date Title
JP2018131860A JP2020008142A (ja) 2018-07-11 2018-07-11 動力伝達装置

Applications Claiming Priority (1)

Application Number Priority Date Filing Date Title
JP2018131860A JP2020008142A (ja) 2018-07-11 2018-07-11 動力伝達装置

Publications (1)

Publication Number Publication Date
JP2020008142A true JP2020008142A (ja) 2020-01-16

Family

ID=69151306

Family Applications (1)

Application Number Title Priority Date Filing Date
JP2018131860A Pending JP2020008142A (ja) 2018-07-11 2018-07-11 動力伝達装置

Country Status (1)

Country Link
JP (1) JP2020008142A (ja)

Similar Documents

Publication Publication Date Title
EP2965922B1 (en) Flanged hub-bearing unit
JP6047999B2 (ja) 回転支持装置
JP2020026266A (ja) バレル及び当該バレルを備えたホイール
JP2015113931A (ja) 遊星ローラ式変速機
JPH11182537A5 (ja)
US20100275711A1 (en) Ball screw device
JP2010247675A (ja) 電動パワーステアリング装置
JP2017137896A (ja) 転がり軸受の固定支持構造
JP6799426B2 (ja) インホイールモータ駆動装置
JP7367351B2 (ja) 多段遊星ローラ式動力伝達装置
JP2020008142A (ja) 動力伝達装置
JP2015121308A (ja) 車輪用軸受装置
JP2001246903A (ja) ハブユニット
KR102879632B1 (ko) 휠베어링 조립체
EP3839289B1 (en) Vehicle drive device
US20170030438A1 (en) Toroidal continuously variable transmission
KR102556455B1 (ko) 휠베어링 조립체
KR102551832B1 (ko) 휠베어링 조립체
KR102543235B1 (ko) 휠베어링 조립체
JP5169503B2 (ja) 駆動輪用軸受装置
JP2012102799A (ja) ウォーム減速装置
JP2008110659A (ja) 車輪用転がり軸受装置
JP3937556B2 (ja) 複列円すいころ軸受装置
JP6410706B2 (ja) 回転体の支持構造
KR20200114881A (ko) 휠베어링 조립체