JP2019058564A - ムートンシーツの補修方法 - Google Patents

ムートンシーツの補修方法 Download PDF

Info

Publication number
JP2019058564A
JP2019058564A JP2017187386A JP2017187386A JP2019058564A JP 2019058564 A JP2019058564 A JP 2019058564A JP 2017187386 A JP2017187386 A JP 2017187386A JP 2017187386 A JP2017187386 A JP 2017187386A JP 2019058564 A JP2019058564 A JP 2019058564A
Authority
JP
Japan
Prior art keywords
mouton
sheets
parts
area
worn
Prior art date
Legal status (The legal status is an assumption and is not a legal conclusion. Google has not performed a legal analysis and makes no representation as to the accuracy of the status listed.)
Pending
Application number
JP2017187386A
Other languages
English (en)
Inventor
貴広 舛田
Takahiro Masuda
貴広 舛田
Current Assignee (The listed assignees may be inaccurate. Google has not performed a legal analysis and makes no representation or warranty as to the accuracy of the list.)
Ruko Co Ltd
Original Assignee
Ruko Co Ltd
Priority date (The priority date is an assumption and is not a legal conclusion. Google has not performed a legal analysis and makes no representation as to the accuracy of the date listed.)
Filing date
Publication date
Application filed by Ruko Co Ltd filed Critical Ruko Co Ltd
Priority to JP2017187386A priority Critical patent/JP2019058564A/ja
Publication of JP2019058564A publication Critical patent/JP2019058564A/ja
Pending legal-status Critical Current

Links

Images

Landscapes

  • Mattresses And Other Support Structures For Chairs And Beds (AREA)
  • Bedding Items (AREA)

Abstract

【課題】1枚のムートンから補修用のムートンパーツを効率よく、作成することができると共に補修作業を画一的に行うことができ、しかも、資源の有効利用を図ることができるムートンシーツの補修方法を提供する。
【解決手段】まず、ムートンシーツ1における身体を横たえる主領域MRのうち、損耗した肩部から損耗した臀部に至る第1領域R1と、損耗した踵部から脹ら脛下部に至る第2領域R2とをそれぞれ切除する。次に、ムートンシーツの第1領域R1を切除することによって得られた切除パーツ10aから、損耗の程度の低い腰背部に対応する部分を再利用パーツ20として切り離す。そして、この再利用パーツ20を、切除されたムートンシーツ1の第2領域R2に嵌め込んで皮部同士を縫製すると共に、切除されたムートンシーツ1の第1領域に新しいムートンパーツ30を嵌め込んで皮部同士を縫製すると、ムートンシーツ1の補修が完了する。
【選択図】 図5

Description

この発明は、部分的に損耗したムートンシーツの補修方法に関する。
天然ムートンは、羊の毛皮をなめして、天然の状態のまま貴化処理(毛伸し・艶だし)を施したものであり、らせん状の縮れ毛が高い保温・断熱効果及び優れた弾力性を発揮するとともに、羊毛自身の優れた吸湿性及び放湿性によって、さらっとした肌触りを保つことができるという特性を有しているため、例えば、ムートンシーツといった寝具等の敷物として使用されている。
こういったムートンシーツを長年使用していると、人の体圧が加わる肩部、臀部及びかかと部の羊毛だけがすり減って部分的に薄くなり、寝心地が悪くなるため、こういった部分的に損耗したムートンシーツは、新しいムートンシーツに買い換えるのが一般的であったが、ムートンシーツは高価であり、肩部、臀部及び足下等の損耗部分以外は継続使用が可能な状態であるので、近年では、損耗部分を切除し、その切除部分に新品のムートンパーツを嵌め込んでムートンの皮部同士を縫製することにより補修を行っている。
特開2008−295850号公報
しかしながら、ムートンシーツの損耗部分の位置、大きさ、損耗状態は使用者によってそれぞれ異なっているので、上述したように、損耗部分のみを切除し、その切除部分に新品のムートンパーツを嵌め込んでムートンの皮部同士を縫製するといった補修方法を採用すると、損耗したムートンシーツ毎に個別に対応することになるので、使用する補修用のムートンパーツの大きさや形状もまちまちとなり、補修用のムートンパーツ作成するためのムートンを効率よく使用することができないと共に、補修作業を画一的に行うことができないといった問題がある。さらに、ムートンシーツの損耗状態によって補修費用も変動することになるので、補修業者は、補修費用をその都度見積もらなければならず、繁雑であるといった問題もある。
また、ムートンシーツの足下部分は、肩部分や臀部分に比べて荷重がかかりにくいので損耗しにくく、しかも、寝心地にそれほど大きな影響を与えず、多少の損耗は許容できるので、損耗の程度の低い足下部分を、損耗の程度の高い肩部分や臀部分と共に、新品のムートンパーツに交換するのは、資源の有効利用という観点からも好ましくない。
そこで、この発明の課題は、1枚のムートンから補修用のムートンパーツを効率よく、作成することができると共に補修作業を画一的に行うことができ、しかも、資源の有効利用を図ることができるムートンシーツの補修方法を提供することにある。
上記の課題を解決するため、請求項1に係る発明は、ムートンシーツにおける身体を横たえる主領域のうち、損耗した肩部から損耗した臀部に至る第1領域と、損耗した踵部から脹ら脛下部に至る第2領域とをそれぞれ切除する工程と、ムートンシーツの第1領域を切除することによって得られた切除パーツから損耗の程度の低い部分を再利用パーツとして切り離す工程と、切除されたムートンシーツの第1領域に新しいムートンパーツを嵌め込んで縫製すると共に、切除されたムートンシーツの第2領域に再利用パーツを嵌め込んで縫製する工程とを備えていることを特徴とするムートンシーツの補修方法を提供するものである。
また、請求項2に係る発明は、ムートンシーツにおける身体を横たえる主領域で、損耗した肩部から損耗した踵部に至る領域を切除する工程と、ムートンシーツを切除することによって得られた切除パーツから損耗の程度の低い部分を再利用パーツとして切り離す工程と、ムートンシーツの切除領域の内、踵部〜太腿部に対応する領域に再利用パーツを嵌め込んで縫製すると共に、肩部〜臀部に対応する領域に新しいムートンパーツを嵌め込んで縫製する工程とを備えていることを特徴としている。
また、請求項3に係る発明は、請求項1または2に係る発明のムートンシーツの補修方法において、補修後に残った切除パーツの残存部分を、クッション、座布団、リストレスト、抱き枕、枕等のムートン小物として再利用するようにしたことを特徴としている。
以上のように、請求項1に係る発明のムートンシーツの補修方法は、補修領域を肩部から臀部に至る第1領域と踵部から脹ら脛下部に至る第2領域とに固定し、第1領域を切除することによって得られた切除パーツから損耗の程度の低い再利用パーツを切り離して第2領域の補修用のムートンパーツとして利用すると共に、第1領域を新しいムートンパーツによって補修するようにしたので、ムートンシーツの補修作業を画一的に行うことができる。
特に、新しいムートンパーツによって補修する第1領域は、肩部〜臀部に対応する領域で、1枚のムートンによって略まかなえる大きさなので、補修用のムートンパーツを効率よく、作成することができると共に、切除パーツから損耗の程度の低い再利用パーツを切り離して第2領域の補修用のムートンパーツとして利用するようにしたので、資源の有効利用を図ることができる。
また、請求項2に係る発明のムートンシーツの補修方法は、補修領域を肩部から踵部に至る領域に固定し、この領域を切除することによって得られた切除パーツから損耗の程度の低い再利用パーツを切り離して踵部〜太腿部に対応する領域の補修用のムートンパーツとして利用すると共に、肩部〜臀部に対応する領域を新しいムートンパーツによって補修するようにしたので、ムートンシーツの補修作業を画一的に行うことができる。
特に、新しいムートンパーツによって補修する肩部〜臀部に対応する領域は1枚のムートンによって略まかなえる大きさなので、補修用のムートンパーツを効率よく、作成することができると共に、切除パーツから損耗の程度の低い再利用パーツを切り離して踵部〜太腿部に対応する領域の補修用のムートンパーツとして利用するようにしたので、資源の有効利用を図ることができる。
また、請求項3に係る発明のムートンシーツの補修方法は、補修後に残った切除パーツの残存部分をムートン小物として再利用するようにしたので、さらに資源の有効利用を図ることができる。
この発明に係るムートンシーツの補修方法の実施例を示す工程図である。 同上の実施例を示す工程図である。 (a)、(b)は同上の実施例を示す工程図である。 同上の実施例を示す工程図である。 同上の実施例を示す工程図である。 この発明に係るムートンシーツの補修方法の他の実施例を示す工程図である。 (a)、(b)は同上の実施例を示す工程図である。 同上の実施例を示す工程図である。 同上の実施例を示す工程図である。 同上の実施例の変形例を示す完成図である。
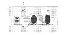
以下、実施例について図面を参照して説明する。図1は、損耗したムートンシーツ1を示している。図1において、1点鎖線でムートンシーツ1に横たわる人mを、2点鎖線で囲われた領域が身体を横たえる主領域MRをそれぞれ示しており、ムートンシーツ1の損耗部位を網掛け表示の濃淡によって表している。即ち、濃い網掛け表示部位は損耗の程度が高く、薄くなるに従って損耗の程度が低くなっていることを示している。図1に示すムートンシーツ1の損耗状態は、大きな体圧がかかることで弾力性が低下する臀部や肩部の損耗が最も大きく、次に、足を動かすことに伴う摩擦により毛絡みや毛切れが発生するかかと部の損耗が大きく、体圧のかかりにくい腰背部や脹ら脛上部〜太腿部の損耗はそれほど大きくないことが分かる。なお、ムートンシーツ1における最も目の粗い網掛け表示部分は、損耗していない部分を示している。
以下、図1に示す損耗したムートンシーツの補修方法について説明する。まず、図2に示すように、ムートンシーツ1における身体を横たえる主領域MRのうち、損耗した肩部から損耗した臀部に至る第1領域R1と、損耗した踵部から脹ら脛下部に至る第2領域R2とをそれぞれ切除する。
次に、図3(a)に示す、ムートンシーツの第1領域R1を切除することによって得られた切除パーツ10aを、同図に破線で示す切断位置で切断することにより、同図(b)に示すように、損耗の程度の低い腰背部に対応する部分を再利用パーツ20として切り離す。
そして、図4に示すように、この再利用パーツ20を、切除されたムートンシーツ1の第2領域R2に嵌め込んで皮部同士を縫製すると共に、図5に示すように、切除されたムートンシーツ1の第1領域に新しいムートンパーツ30を嵌め込んで皮部同士を縫製すると、ムートンシーツ1の補修が完了する。
以上のように、この補修方法は、補修領域を肩部から臀部に至る第1領域R1と踵部から脹ら脛下部に至る第2領域R2とに固定し、第1領域R1を切除することによって得られた切除パーツ10aから損耗の程度の低い再利用パーツ20を切り離して第2領域R2の補修用のムートンパーツとして利用すると共に、第1領域R1を新しいムートンパーツ30によって補修するようにしたので、損耗したムートンシーツの補修作業を画一的に行うことができる。
特に、新しいムートンパーツ30によって補修する第1領域R1は、肩部〜臀部に対応する領域で、1枚のムートンによって略まかなえる大きさなので、補修用のムートンパーツ30を効率よく、作成することができると共に、切除パーツ10aから損耗の程度の低い再利用パーツ20を切り離して第2領域R2の補修用のムートンパーツとして利用するようにしたので、資源の有効利用を図ることができる。
図6〜図9は、図1に示す損耗したムートンシーツの他の補修方法を示している。この補修方法では、まず、図6に示すように、ムートンシーツ1における身体を横たえる主領域(損耗した肩部から損耗した踵部に至る領域)MR全体を切除した後、図7(a)に示すように、ムートンシーツ1の主領域MRを切除することによって得られた切除パーツ10を、同図に破線で示す切断位置で切断することにより、同図(b)に示すように、最も損耗の程度の低い脹ら脛上部〜太腿部に対応する部分を再利用パーツ20aとして、次に損耗の程度の低い腰背部に対応する部分を再利用パーツ20bとしてそれぞれ切り離す。
そして、図8に示すように、ムートンシーツ1の切除領域の内、踵部から脹ら脛下部に至る部分に対応する領域に再利用パーツ20aを、脹ら脛上部から太腿部に至る部分に対応する領域に再利用パーツ20bをそれぞれ嵌め込んで皮部同士を縫製すると共に、図9に示すように、肩部〜臀部に対応する領域に新しいムートンパーツ30を嵌め込んで皮部同士を縫製すると、ムートンシーツ1の補修が完了する。
このムートンシーツの補修方法は、補修領域を主領域(肩部から踵部に至る領域)MRに固定し、この主領域MRを切除することによって得られた切除パーツ10から損耗の程度の低い再利用パーツ20a、20bをそれぞれ切り離して踵部〜太腿部に対応する領域の補修用のムートンパーツとして利用すると共に、肩部〜臀部に対応する領域を新しいムートンパーツ30によって補修するようにしたので、ムートンシーツの補修作業を画一的に行うことができる。
上述したように、新しいムートンパーツによって補修する肩部〜臀部に対応する領域は1枚のムートンによって略まかなえる大きさなので、補修用のムートンパーツ30を効率よく、作成することができると共に、切除パーツ10から損耗の程度の低い再利用パーツ20a、20bを切り離して踵部〜太腿部に対応する領域の補修用のムートンパーツとして利用するようにしたので、資源の有効利用を図ることができる。
なお、上述したムートンシーツ1は、脹ら脛上部〜太腿部に対応する部分の損耗の程度が最も低く、次に損耗の程度の低い部位が腰背部に対応する部分であったため、脹ら脛上部〜太腿部に対応する部分を踵部〜脹ら脛下部に至る部分に対応する領域を補修する再利用パーツ20aとして使用し、腰背部に対応する部分を脹ら脛上部から太腿部に至る部分に対応する領域を補修する再利用パーツ20bとして使用しているが、これに限定されるものではなく、損耗の程度が最も低い再利用パーツを踵部〜脹ら脛下部に至る部分に対応する領域の補修用として、次に損耗の程度が低い再利用パーツを脹ら脛上部から太腿部に至る部分に対応する領域の補修用として使用すればよい。
従って、腰背部に対応する部分の損耗の程度が最も低く、次に損耗の程度の低い部位が脹ら脛上部〜太腿部に対応する部分であった場合は、図10に示すように、腰背部に対応する部分を切り離した再利用パーツ20bを用いて踵部から脹ら脛下部に至る部分に対応する領域を補修し、脹ら脛上部〜太腿部に対応する部分を切り離した再利用パーツ20aを脹ら脛上部〜太腿部に至る部分に対応する領域に戻して縫合すればよい。
また、再利用パーツ20a、再利用パーツ20bに損耗の程度の差がない場合は、再利用パーツ20a、20bを、踵部から脹ら脛下部に至る部分及び脹ら脛上部〜太腿部に至る部分のいずれかの補修用として適宜使用すればよい。
また、補修後に残った切除パーツ10aの残存部分(肩部、臀部)、切除パーツ10b、切除パーツ10の残存部分(肩部、臀部、踵部から脹ら脛下部)を、クッション、座布団、リストレスト、抱き枕、枕等のムートン小物として再利用することで、さらに資源の有効利用を図ることができる。
本発明は、ムートンシーツを補修する際に利用することができる。
1 ムートンシーツ
MR 主領域
m 人
R1 第1領域
R2 第2領域
10、10a、10b 切除パーツ
20、20a、20b 再利用パーツ
30 ムートンパーツ

Claims (3)

  1. ムートンシーツにおける身体を横たえる主領域のうち、損耗した肩部から損耗した臀部に至る第1領域と、損耗した踵部から脹ら脛下部に至る第2領域とをそれぞれ切除する工程と、
    ムートンシーツの第1領域を切除することによって得られた切除パーツから損耗の程度の低い部分を再利用パーツとして切り離す工程と、
    切除されたムートンシーツの第1領域に新しいムートンパーツを嵌め込んで縫製すると共に、切除されたムートンシーツの第2領域に再利用パーツを嵌め込んで縫製する工程と
    を備えていることを特徴とするムートンシーツの補修方法。
  2. ムートンシーツにおける身体を横たえる主領域で、損耗した肩部から損耗した踵部に至る領域を切除する工程と、
    ムートンシーツを切除することによって得られた切除パーツから損耗の程度の低い部分を再利用パーツとして切り離す工程と、
    ムートンシーツの切除領域の内、踵部〜太腿部に対応する領域に再利用パーツを嵌め込んで縫製すると共に、肩部〜臀部に対応する領域に新しいムートンパーツを嵌め込んで縫製する工程と
    を備えていることを特徴とするムートンシーツの補修方法。
  3. 補修後に残った切除パーツの残存部分を、クッション、座布団、リストレスト、抱き枕、枕等のムートン小物として再利用するようにした請求項1または2に記載のムートンシーツの補修方法。
JP2017187386A 2017-09-28 2017-09-28 ムートンシーツの補修方法 Pending JP2019058564A (ja)

Priority Applications (1)

Application Number Priority Date Filing Date Title
JP2017187386A JP2019058564A (ja) 2017-09-28 2017-09-28 ムートンシーツの補修方法

Applications Claiming Priority (1)

Application Number Priority Date Filing Date Title
JP2017187386A JP2019058564A (ja) 2017-09-28 2017-09-28 ムートンシーツの補修方法

Publications (1)

Publication Number Publication Date
JP2019058564A true JP2019058564A (ja) 2019-04-18

Family

ID=66175809

Family Applications (1)

Application Number Title Priority Date Filing Date
JP2017187386A Pending JP2019058564A (ja) 2017-09-28 2017-09-28 ムートンシーツの補修方法

Country Status (1)

Country Link
JP (1) JP2019058564A (ja)

Citations (7)

* Cited by examiner, † Cited by third party
Publication number Priority date Publication date Assignee Title
JPS639958U (ja) * 1986-07-02 1988-01-22
US4809375A (en) * 1986-04-23 1989-03-07 B & E Enterprises Mattress with removable mattress cover
JP3061949U (ja) * 1999-03-08 1999-09-28 株式会社ノア シ―プスキンおよびシ―プスキン製クッション体
JP2009046786A (ja) * 2007-08-23 2009-03-05 Sanyu:Kk 開繊方法及び開繊システム並びにリサイクル品の製造方法
CN101647662A (zh) * 2009-09-08 2010-02-17 金枫 复合毛皮被盖及制作方法
JP3163007U (ja) * 2010-07-14 2010-09-24 株式会社一杢 織物生地製鞄
JP2017167502A (ja) * 2016-06-14 2017-09-21 株式会社瑠光 ムートンシーツの補修方法の説明用キット

Patent Citations (7)

* Cited by examiner, † Cited by third party
Publication number Priority date Publication date Assignee Title
US4809375A (en) * 1986-04-23 1989-03-07 B & E Enterprises Mattress with removable mattress cover
JPS639958U (ja) * 1986-07-02 1988-01-22
JP3061949U (ja) * 1999-03-08 1999-09-28 株式会社ノア シ―プスキンおよびシ―プスキン製クッション体
JP2009046786A (ja) * 2007-08-23 2009-03-05 Sanyu:Kk 開繊方法及び開繊システム並びにリサイクル品の製造方法
CN101647662A (zh) * 2009-09-08 2010-02-17 金枫 复合毛皮被盖及制作方法
JP3163007U (ja) * 2010-07-14 2010-09-24 株式会社一杢 織物生地製鞄
JP2017167502A (ja) * 2016-06-14 2017-09-21 株式会社瑠光 ムートンシーツの補修方法の説明用キット

Non-Patent Citations (1)

* Cited by examiner, † Cited by third party
Title
ムートンシーツの修理・メンテナンス,[ONLINE], JPN6017015733, 19 February 2016 (2016-02-19), ISSN: 0004281773 *

Similar Documents

Publication Publication Date Title
JP2021001432A (ja) 圧縮衣料及び製造方法
WO2011140072A1 (en) Compression support bra
EP2815661A1 (en) A cycling suit with a seat pad and a method for making the same
US20120311886A1 (en) Strap Pads for Flip-Flops
KR20210032585A (ko) 근육 보조 의류
JP2019058564A (ja) ムートンシーツの補修方法
JP6704707B2 (ja) 車両用シートのトリムカバーの縫製処理方法、及びそれを用いた車両用シート
US10272636B2 (en) Method of manufacturing an equine protective covering
US20090240345A1 (en) Prosthetic apparatus and method
EP3081103B1 (en) Chamois pad for cycling shorts
US11700898B2 (en) Calf muscle enhancement pad
KR101791465B1 (ko) 손목밴드 및 그 제조방법
KR102461091B1 (ko) 체형에 적응하는 신축성을 가지는 의류
EP3579717B1 (en) High-comfort stretch boots obtained from an improved process
US10517271B2 (en) Method of manufacturing an equine protective covering
US20120034843A1 (en) Clothes having a waist portion
JP5587964B2 (ja) 皮革素材の立体模様加工方法及びこれに用いられる立体模様加工装置
KR100866972B1 (ko) 모피원단 및 모피원단의 제조방법
US20190364984A1 (en) Garment with molded expanded joint area
US20250298939A1 (en) Method for generating custom compression garment with chainmesh
US1885394A (en) Surgical stocking
KR101524646B1 (ko) 복원력이 우수한 선심이 결합된 구두의 제조방법
KR200486139Y1 (ko) 절복
KR20190000042U (ko) 앞치마
JP2009112350A (ja) 先芯内蔵靴

Legal Events

Date Code Title Description
A621 Written request for application examination

Free format text: JAPANESE INTERMEDIATE CODE: A621

Effective date: 20190903

A977 Report on retrieval

Free format text: JAPANESE INTERMEDIATE CODE: A971007

Effective date: 20200522

A131 Notification of reasons for refusal

Free format text: JAPANESE INTERMEDIATE CODE: A131

Effective date: 20200616

A02 Decision of refusal

Free format text: JAPANESE INTERMEDIATE CODE: A02

Effective date: 20201208