JP2018106946A - サージ防護装置 - Google Patents

サージ防護装置 Download PDF

Info

Publication number
JP2018106946A
JP2018106946A JP2016252766A JP2016252766A JP2018106946A JP 2018106946 A JP2018106946 A JP 2018106946A JP 2016252766 A JP2016252766 A JP 2016252766A JP 2016252766 A JP2016252766 A JP 2016252766A JP 2018106946 A JP2018106946 A JP 2018106946A
Authority
JP
Japan
Prior art keywords
surge protection
conductive terminal
unit
protection unit
pair
Prior art date
Legal status (The legal status is an assumption and is not a legal conclusion. Google has not performed a legal analysis and makes no representation as to the accuracy of the status listed.)
Granted
Application number
JP2016252766A
Other languages
English (en)
Other versions
JP6152467B1 (ja
Inventor
善一 近藤
Zenichi Kondo
善一 近藤
Current Assignee (The listed assignees may be inaccurate. Google has not performed a legal analysis and makes no representation or warranty as to the accuracy of the list.)
KONDO DENKI KK
Original Assignee
KONDO DENKI KK
Priority date (The priority date is an assumption and is not a legal conclusion. Google has not performed a legal analysis and makes no representation as to the accuracy of the date listed.)
Filing date
Publication date
Application filed by KONDO DENKI KK filed Critical KONDO DENKI KK
Priority to JP2016252766A priority Critical patent/JP6152467B1/ja
Application granted granted Critical
Publication of JP6152467B1 publication Critical patent/JP6152467B1/ja
Publication of JP2018106946A publication Critical patent/JP2018106946A/ja
Active legal-status Critical Current
Anticipated expiration legal-status Critical

Links

Images

Landscapes

  • Emergency Protection Circuit Devices (AREA)

Abstract

【課題】外付けタイプでありながら装置規模を小型化することができるサージ防護装置を提供すること。
【解決手段】本発明の一態様であるサージ防護装置1は、第1導電端子2aおよび第2導電端子2bと、サージ防護ユニット3と、ケース4とを備える。第1導電端子2aおよび第2導電端子2bは、互いに離間して配置され、電源差込口に挿入される。サージ防護ユニット3は、第1導電端子2aおよび第2導電端子2bの間に配置され、第1導電端子2aおよび第2導電端子2bと導通可能に接続される。ケース4は、第1導電端子2aおよび第2導電端子2bを保持するとともに、サージ防護ユニット3を保持して収容する。
【選択図】図1

Description

本発明は、サージ防護装置に関するものである。
電話機を含めた通信機器等の電子機器には、落雷等によって生じたサージ電圧、サージ電流(以下、これらを「サージ電圧・電流」と略記する)が、電話線または電源線等を介して侵入することがある。サージ電圧・電流が電子機器に侵入すると、電子機器を破壊したり、電子機器の動作不良を発生させたりすることがある。そこで、電子機器には、サージ電圧・電流からの防護のために、放電によってサージ電圧・電流を逃がすための放電素子(サージアブソーバとも呼ばれる)が取り付けられている。
放電素子の一種であるギャップ型の放電素子では、サージ電圧・電流が侵入したとき、スパークギャップに放電電流が流れる。この結果、サージ電圧・電流は放電素子を経由して流れるので、電子機器へのサージ電圧・電流の侵入が防止される。
なお、このような放電素子の機能を備えてサージ電圧・電流から電子機器を防護するサージ防護装置の従来技術として、例えば、非特許文献1に開示されるように、コンセント等の電源差込口に取り付けるタップ型のサージ防護装置がある。
株式会社コンド電機、"スーパーコンセント2.0"、[online]、[平成28年12月2日検索]、インターネット<URL:http://www.kondodenki.jp/concent.html>
ところで、電源差込口に取り付けるタイプ(以下、「外付けタイプ」という)のサージ防護装置においては、近年、装置規模の小型化が要望される傾向にある。
本発明は、上記の事情に鑑みてなされたものであって、外付けタイプでありながら装置規模を小型化することができるサージ防護装置を提供することを目的とする。
上述した課題を解決し、目的を達成するために、本発明に係るサージ防護装置は、互いに離間して配置され、電源差込口に挿入される一対の導電端子と、前記一対の導電端子の間に配置され、前記一対の導電端子と導通可能に接続されるサージ防護ユニットと、前記一対の導電端子を保持するとともに、前記サージ防護ユニットを保持して収容するケースと、を備えたことを特徴とする。
また、本発明に係るサージ防護装置は、上記の発明において、前記サージ防護ユニットは、前記一対の導電端子の離間する方向に直列に配置されるバリスタおよび放電素子を有する複合型のサージ防護ユニットであることを特徴とする。
また、本発明に係るサージ防護装置は、上記の発明において、前記サージ防護ユニットの奥行は、前記一対の導電端子の奥行方向の長さ以下であることを特徴とする。
また、本発明に係るサージ防護装置は、上記の発明において、前記ケースは、前記一対の導電端子の基部を受ける受け部と、前記サージ防護ユニットが嵌められる嵌合凹部とを有する第1ケース部材と、前記一対の導電端子の基部を前記受け部との間に保持する凸部と、前記一対の導電端子の延在部が挿通される挿通孔と、前記嵌合凹部との間に前記サージ防護ユニットを収容する収容凹部とを有する第2ケース部材と、を嵌め合わせて形成されることを特徴とする。
本発明によれば、外付けタイプのサージ防護装置でありながら、その装置規模を小型化することができるという効果を奏する。
図1は、本発明の実施の形態に係るサージ防護装置の一構成例を示す図である。 図2は、本発明の実施の形態に係るサージ防護装置の外部構成の一例を示す斜視図である。 図3は、本発明の実施の形態におけるサージ防護ユニットの一構成例を示す図である。 図4は、本発明の実施の形態に係るサージ防護装置における一対の導電端子とサージ防護ユニットとの配置関係の一例を示す図である。 図5は、本発明の実施の形態に係るサージ防護装置の組立方法を説明する図である。
以下に、添付図面を参照して、本発明に係るサージ防護装置の好適な実施の形態について詳細に説明する。なお、本実施の形態により、本発明が限定されるものではない。また、図面は模式的なものであり、各要素の寸法の関係、各要素の比率などは、現実のものとは異なる場合があることに留意する必要がある。図面の相互間においても、互いの寸法の関係や比率が異なる部分が含まれている場合がある。また、各図面において、同一構成部分には同一符号が付されている。
(サージ防護装置の構成)
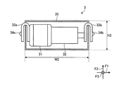
まず、本発明の実施の形態に係るサージ防護装置の構成について説明する。図1は、本発明の実施の形態に係るサージ防護装置の一構成例を示す図である。図1では、本発明の実施の形態に係るサージ防護装置1の構成を説明し易くするために、このサージ防護装置1のケース4が側断面図で模式的に示されている。図1に示すように、サージ防護装置1は、第1導電端子2aおよび第2導電端子2bと、サージ防護ユニット3と、ケース4とを備える。
なお、本実施の形態において、幅方向F1は、サージ防護装置1の幅の方向である。
高さ方向F2は、サージ防護装置1の高さの方向である。奥行方向F3は、サージ防護装置1の奥行の方向である。これらの幅方向F1、高さ方向F2および奥行方向F3は、互いに直交する方向である。上記のような幅方向F1、高さ方向F2および奥行方向F3の定義は、サージ防護装置1の各構成部についても同様である。なお、これらの幅方向F1、高さ方向F2および奥行方向F3は、本実施の形態を説明する上で便宜上定義したものであり、本発明を限定するものではない。
第1導電端子2aおよび第2導電端子2bは、コンセント等の電源差込口に挿脱可能に挿入される一対の導電端子の一例である。図1に示すように、第1導電端子2aおよび第2導電端子2bは、各々、金属等の導電部材を用いて構成され、側面視でL字状に形成される。これらの第1導電端子2aおよび第2導電端子2bは、サージ防護ユニット3を挟んで幅方向F1に対向した態様で互いに離間するように配置される。
図1に示すように、第1導電端子2aは、基部20aおよび延在部21aを有する。基部20aは、ケース4に第1導電端子2aを取り付けるための部分である。延在部21aは、この基部20aから高さ方向F2に所定の長さ延在する部分である。これと同様に、第2導電端子2bは、基部20bおよび延在部21bを有する。基部20bは、ケース4に第2導電端子2bを取り付けるための部分である。延在部21bは、この基部20bから高さ方向F2に所定の長さ延在する部分である。第1導電端子2aおよび第2導電端子2bの延在部21a、21bのうち、図1に示すようにケース4から露出する各部分は、電源差込口に挿脱可能に挿入される。
サージ防護ユニット3は、電子機器や電気機器等の防護対象機器へのサージ電圧・電流の侵入を防止するユニットである。図1に示すように、サージ防護ユニット3は、バリスタ31および放電素子32を内蔵し、第1導電端子2aと第2導電端子2bとの間に配置される。この配置状態において、サージ防護ユニット3は、第1ユニット端子33aを介して第1導電端子2aと導通可能に接続され、且つ、第2ユニット端子33bを介して第2導電端子2bと導通可能に接続される。
ケース4は、サージ防護ユニット3の収容空間等を内部に有する立体構造の外装ケースである。図1に示すように、ケース4は、第1導電端子2aおよび第2導電端子2bを保持するとともに、サージ防護ユニット3を保持して収容する。
また、図1に示すように、ケース4は、第1ホルダ4aと第2ホルダ4bとを嵌め合わせて形成される。第1ホルダ4aおよび第2ホルダ4bは、各々、難燃性の絶縁材を用いた成型加工等によって形成されるケース部材である。この難燃性の絶縁材としては、例えば、フェノール樹脂、ユリア樹脂等が挙げられる。
第1ホルダ4a(第1ケース部材)は、図1に示すように、嵌合凹部41と、受け部42a、42bとを有する。嵌合凹部41は、サージ防護ユニット3を嵌める凹部である。嵌合凹部41は、サージ防護ユニット3の外形および寸法等を考慮して形成され、受け部42a、42b間に位置する。受け部42aは、第1導電端子2aの基部20aを受ける部分である。受け部42bは、第2導電端子2bの基部20bを受ける部分である。受け部42a、42bは、これらの基部20a、20bの外形および寸法等を考慮して形成される。本実施の形態において、受け部42a、42bは、図1に示すように、一対の基部20a、20bに対応して対をなし、嵌合凹部41に比べて高い位置に形成される。
第2ホルダ4b(第2ケース部材)は、図1に示すように、凸部46と、挿通孔47a、47bと、収容凹部48とを有する。凸部46は、第1導電端子2aの基部20aおよび第2導電端子2bの基部20bを受け部42a、42bとの間に各々保持する部分である。凸部46は、例えば第2ホルダ4bの外周に沿って形成される。また、凸部46は、第1ホルダ4aと第2ホルダ4bとの嵌合に寄与する。挿通孔47aは、第1導電端子2aの延在部21aを挿通して露出させる貫通孔である。挿通孔47bは、第2導電端子2bの延在部21bを挿通して露出させる貫通孔である。また、挿通孔47a、47bは、延在部21a、21bに各々挿通されるので、第1ホルダ4aと第2ホルダ4bとの嵌合時の相対的な位置決めに間接的に寄与する。収容凹部48は、嵌合凹部41との間にサージ防護ユニット3を収容する凹部である。収容凹部48は、サージ防護ユニット3の外形および寸法等を考慮して形成される。収容凹部48は、上述した嵌合凹部41と協同して、サージ防護ユニット3の収容空間をケース4の内部に形成する。
図2は、本発明の実施の形態に係るサージ防護装置の外部構成の一例を示す斜視図である。図2に示すように、サージ防護装置1は、第1導電端子2aおよび第2導電端子2bの延在部21a、21bを、ケース4の第2ホルダ4b側から高さ方向F2に所定の長さ露出させている。これらの延在部21a、21bの離間距離L1および奥行(奥行方向F3の長さL2)は、電源差込口の寸法等を考慮して設定される。このような第1導電端子2aおよび第2導電端子2bの延在部21a、21bは、電源差込口に挿脱可能に挿入される。
また、ケース4は、上述したように第1ホルダ4aと第2ホルダ4bとを嵌め合わせて形成されるものであり、例えば図2に示すように、高さ方向F2から見た形状が角丸長方形である立体構造をなす。好ましくは、ケース4の幅W1、高さH1および奥行D1は、対象とする電源差込口を覆うことができる範囲で、第1導電端子2aおよび第2導電端子2bの保持と、サージ防護ユニット3の収容(図1参照)と、サージ防護装置1の取り扱い易さとを考慮して、必要最小限の寸法に設定される。例えば、幅W1は30[mm]であり、高さH1は10[mm]であり、奥行D1は15[mm]である。
このようなケース4は、可能な限り小型化されていながら、第1導電端子2aおよび第2導電端子2b(詳細には延在部21a、21b)が挿入された電源差込口を覆うことができる。すなわち、サージ防護装置1は、電源差込口に着脱可能に取り付けられる外付けタイプのサージ防護装置としての機能と、この電源差込口を埃や湿気等から保護するコンセントキャップとしての機能とを兼ね備える。
なお、本実施の形態において対象とする電源差込口としては、例えば、壁や柱等に固定されているコンセント等の据え付け型電源の差込口、テーブルタップやコーナータップ等の可搬型電源の差込口等が挙げられる。
(サージ防護ユニットの構成)
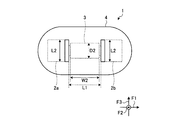
つぎに、図1に示したようにサージ防護装置1のケース4に内蔵されるサージ防護ユニット3の構成について説明する。図3は、本発明の実施の形態におけるサージ防護ユニットの一構成例を示す図である。図3では、サージ防護ユニット3の構成を説明し易くするために、このサージ防護ユニット3のユニットケース35が側断面図で模式的に示されている。図3に示すように、サージ防護ユニット3は、バリスタ31および放電素子32を有する複合型のサージ防護ユニットである。本実施の形態において、サージ防護ユニット3は、バリスタ31と、放電素子32と、第1ユニット端子33aおよび第2ユニット端子33bと、ユニットケース35とを備える。
バリスタ31は、サージ電圧・電流を吸収する素子である。バリスタ31としては、例えば、チップ型の金属酸化物バリスタ(酸化亜鉛バリスタ等)が好適に用いられる。放電素子32は、サージ電圧・電流を放電によって逃がす素子である。放電素子32としては、チップ型(表面実装型)のガスアレスタ等が好適に用いられる。これらのバリスタ31および放電素子32は、図3に示すように、幅方向F1に直列に配置される。この際、バリスタ31および放電素子32は、導通可能に直列接続される。本実施の形態において、幅方向F1は、図1に示した第1導電端子2aと第2導電端子2bとの離間する方向に相当する。
第1ユニット端子33aおよび第2ユニット端子33bは、上述したように直列接続されたバリスタ31および放電素子32と、図1に示した第1導電端子2aおよび第2導電端子2bとを導通可能に接続するための導電端子である。例えば、第1ユニット端子33aおよび第2ユニット端子33bは、各々、金属等の導電部材を折り曲げ加工する等して、板ばね状に形成される。
図3に示すように、第1ユニット端子33aは、ユニットケース35の外部に露出する部分(外側部分)と、ユニットケース35の内部に収容される部分(内側部分)とを有するように、ユニットケース35の幅方向F1の一端部(負側の端部)に設けられる。第1ユニット端子33aの外側部分は、ユニットケース35から離間する方向に付勢される。また、第1ユニット端子33aの外側部分には、第1ユニット端子33aと上述した第1導電端子2aとを接続するための突起部34aが設けられている。一方、第1ユニット端子33aの内側部分は、ユニットケース35の内部に配置されるバリスタ31に向かう方向に付勢され、このバリスタ31の端子に接続される。
また、図3に示すように、第2ユニット端子33bは、上述した第1ユニット端子33aの場合と同様に外側部分および内側部分を有するように、ユニットケース35の幅方向F1の他端部(正側の端部)に設けられる。第2ユニット端子33bの外側部分は、ユニットケース35から離間する方向に付勢される。また、第2ユニット端子33bの外側部分には、第2ユニット端子33bと上述した第2導電端子2bとを接続するための突起部34bが設けられている。一方、第2ユニット端子33bの内側部分は、ユニットケース35の内部に配置される放電素子32に向かう方向に付勢され、この放電素子32の端子に接続される。
ユニットケース35は、セラミックス等の絶縁部材を用いて構成され、例えば、直方体または立方体等の矩形の立体構造に形成される。図3に示すように、ユニットケース35は、幅方向F1に直列に配置されたバリスタ31および放電素子32を内包する。ユニットケース35の内部において、バリスタ31および放電素子32と、第1ユニット端子33aおよび第2ユニット端子33bとは、幅方向F1に直列に配置され且つ導通可能に接続される。なお、ユニットケース35は、難燃性の絶縁樹脂(例えばエポキシ樹脂、ユリア樹脂等)を用いた成型加工(封入)等によって形成されてもよい。
上述した構成を有するサージ防護ユニット3は、第1導電端子2aおよび第2導電端子2bが電源差込口に挿入された状態(サージ防護装置1が電源差込口に取り付けられた状態)において、防護対象機器へのサージ電圧・電流の侵入を防止する。詳細には、落雷等によってサージ電圧・電流が生じた場合、サージ電圧・電流は、第1導電端子2aおよび第2導電端子2b等を介してサージ防護ユニット3に侵入する。この際、バリスタ31に所定値以上の電圧が印加され、これにより、バリスタ31の抵抗値が急激に低下して、バリスタ31にサージ電圧・電流が侵入する。バリスタ31は、この侵入したサージ電圧・電流を吸収する。また、放電素子32に所定値以上の電圧が印加され、これにより、放電素子32のスパークギャップに放電電流が流れて、放電素子32にサージ電圧・電流が侵入する。放電素子32は、この侵入したサージ電圧・電流を放電によって逃がす。これらバリスタ31および放電素子32の作用により、防護対象機器は、サージ電圧・電流から防護される。
図4は、本発明の実施の形態に係るサージ防護装置における一対の導電端子とサージ防護ユニットとの配置関係の一例を示す図である。図4には、サージ防護装置1を高さ方向F2の正側から見た図(上視図)が示されている。
図4に示すように、サージ防護ユニット3は、サージ防護装置1のケース4に収容された状態において、互いに幅方向F1に対向して離間する第1導電端子2aと第2導電端子2bとの間に位置する。すなわち、サージ防護ユニット3の幅W2は、第1導電端子2aと第2導電端子2bとの離間距離L1以下である。また、サージ防護ユニット3の奥行D2は、サージ防護装置1の小型化(具体的にはケース4の小型化)という観点から、第1導電端子2aおよび第2導電端子2bの奥行方向F3の長さL2以下であることが好ましい。一方、サージ防護ユニット3の高さH2(図3参照)は、内蔵するバリスタ31および放電素子32の寸法等を考慮して必要最小限の寸法に設定される。
本実施の形態において、図3または図4に示すサージ防護ユニット3の幅W2、高さH2および奥行D2は、ユニットケース35の幅、高さおよび奥行に各々相当する。例えば、幅W2は10[mm]であり、高さH2は5[mm]であり、奥行D2は5[mm]である。
(サージ防護装置の組立方法)
つぎに、本発明の実施の形態に係るサージ防護装置1の組立方法について説明する。図5は、本発明の実施の形態に係るサージ防護装置の組立方法を説明する図である。この組立方法では、予め準備された一対の導電端子(第1導電端子2aおよび第2導電端子2b)と、サージ防護ユニット3と、第1ホルダ4aおよび第2ホルダ4bとを部品として組み合わせることにより、図1、2に示したようなサージ防護装置1が組み立てられる。
詳細には、図5に示すように、サージ防護装置1の組立方法では、まず、第1導電端子2aおよび第2導電端子2bをサージ防護ユニット3に組み付ける工程が行われる(状態A1)。
この状態A1の工程において、第1導電端子2aは、サージ防護ユニット3の第1ユニット端子33aに組み付けられる。この際、第1導電端子2aの延在部21aは、突起受け部22aに第1ユニット端子33aの突起部34aを嵌め入れながら、ユニットケース35の幅方向一端面に向けて第1ユニット端子33aに押し付けられる。この結果、第1導電端子2aは、突起受け部22aと突起部34aとの嵌合によって延在部21aと第1ユニット端子33aとの相対位置が決められた状態で、第1ユニット端子33aと導通可能に接続される。また、第2導電端子2bは、サージ防護ユニット3の第2ユニット端子33bに組み付けられる。この際、第2導電端子2bの延在部21bは、突起受け部22bに第2ユニット端子33bの突起部34bを嵌め入れながら、ユニットケース35の幅方向他端面に向けて第2ユニット端子33bに押し付けられる。この結果、第2導電端子2bは、突起受け部22bと突起部34bとの嵌合によって延在部21bと第2ユニット端子33bとの相対位置が決められた状態で、第2ユニット端子33bと導通可能に接続される。このようにして、第1導電端子2aおよび第2導電端子2bは、サージ防護ユニット3を挟んで互いに対向し且つ離間した態様で、サージ防護ユニット3に導通可能に組み付けられる。以下、上述したように第1導電端子2aおよび第2導電端子2bとサージ防護ユニット3とを組み合わせたものは、「状態A1の部品」と適宜称される。
なお、第1導電端子2aの突起受け部22aは、第1ユニット端子33aの突起部34aを受ける凹状または孔状の部分である。突起受け部22aは、図5に示すように、延在部21aのうち基部20a近傍の部分に予め形成される。第2導電端子2bの突起受け部22bは、第2ユニット端子33bの突起部34bを受ける凹状または孔状の部分である。突起受け部22bは、図5に示すように、延在部21bのうち基部20b近傍の部分に予め形成される。また、上述した状態A1の工程において、第1導電端子2aおよび第2導電端子2bは、いずれを先にサージ防護ユニット3に組み付けてもよいし、並行してサージ防護ユニット3に組み付けてもよい。
上述した状態A1の工程が完了後、図5に示すように、状態A1の部品を第1ホルダ4aに組み付ける工程が行われる(状態A2)。この状態A2の工程において、サージ防護ユニット3は、第1ホルダ4aの嵌合凹部41に組み付けられる。第1導電端子2aおよび第2導電端子2bは、第1ホルダ4aの受け部42a、42bに各々組み付けられる。
詳細には、図5に示すように、ユニットケース35の下端部分は、サージ防護ユニット3に第1導電端子2aおよび第2導電端子2bが組み付けられた状態で、第1ホルダ4aの嵌合凹部41に嵌合される。これにより、サージ防護ユニット3は、第1ホルダ4aに組み付けられる。なお、このユニットケース35の下端部分は、サージ防護ユニット3に組み付けられた第1導電端子2aおよび第2導電端子2bの基部20a、20bの下端面から下側の部分である。
また、図5に示すように、第1導電端子2aおよび第2導電端子2bは、上述したサージ防護ユニット3の組み付けに伴い、第1ホルダ4aの受け部42a、42bに各々組み付けられる。この際、第1導電端子2aの基部20aは、嵌合孔23a、24aに受け部42aの嵌合突起部43a、44aを嵌め入れながら、受け部42aに押し付けられる。この結果、第1導電端子2aは、嵌合孔23a、24aと嵌合突起部43a、44aとの嵌合によって基部20aと受け部42aとの相対位置および相対方向が決められた状態で、受け部42aに組み付けられる。これに並行して、第2導電端子2bの基部20bは、嵌合孔23b、24bに受け部42bの嵌合突起部43b、44bを嵌め入れながら、受け部42bに押し付けられる。この結果、第2導電端子2bは、嵌合孔23b、24bと嵌合突起部43b、44bとの嵌合によって基部20bと受け部42bとの相対位置および相対方向が決められた状態で、受け部42bに組み付けられる。
以下、上述したように状態A1の部品(第1導電端子2a、第2導電端子2bおよびサージ防護ユニット3)と第1ホルダ4aとを組み合わせたものは、「状態A2の部品」と適宜称される。
なお、上述した嵌合孔23a、24aおよび嵌合突起部43a、44aは、第1導電端子2aを第1ホルダ4aに組み付ける際に各々嵌合する部分である。嵌合孔23a、24aは、嵌合突起部43a、44aの並びおよび形状等に合わせて、第1導電端子2aの基部20aに予め形成される。嵌合突起部43a、44aは、第1ホルダ4aにおける受け部42aの深さおよび基部20aの厚さ等に合わせて、受け部42aに予め形成される。また、上述した嵌合孔23b、24bおよび嵌合突起部43b、44bは、第2導電端子2bを第1ホルダ4aに組み付ける際に各々嵌合する部分である。嵌合孔23b、24bは、嵌合突起部43b、44bの並びおよび形状等に合わせて、第2導電端子2bの基部20bに予め形成される。嵌合突起部43b、44bは、第1ホルダ4aにおける受け部42bの深さおよび基部20bの厚さ等に合わせて、受け部42bに予め形成される。
上述した状態A2の工程が完了後、図5に示すように、状態A2の部品に第2ホルダ4bを組み付ける工程が行われる(状態A3)。この状態A3の工程において、第2ホルダ4bは、第1導電端子2aおよび第2導電端子2bの延在部21a、21bを所定の長さ露出させた状態で第1ホルダ4aと組み合わさる。これにより、第1ホルダ4aおよび第2ホルダ4bは、協同して、第1導電端子2aおよび第2導電端子2bを保持し、且つ、サージ防護ユニット3を保持して収容する。
詳細には、図5に示すように、第2ホルダ4bは、挿通孔47a、47bに第1導電端子2aおよび第2導電端子2bの延在部21a、21bを各々挿通しながら、第1ホルダ4aに組み付けられる。
この際、第2ホルダ4bの凸部46は、第1ホルダ4aのホルダ嵌合部45に嵌め込まれながら、第1導電端子2aの基部20aを第1ホルダ4aの受け部42aとの間に保持し、且つ、第2導電端子2bの基部20bを第1ホルダ4aの受け部42bとの間に保持する。これらの基部20a、20bをより強固に保持するという観点から、凸部46は、受け部42aに基部20aを押し付ける等して受け部42aとの間に基部20aを挟んで保持し、且つ、受け部42bに基部20bを押し付ける等して受け部42bとの間に基部20bを挟んで保持することが好ましい。なお、ホルダ嵌合部45は、図5に示すように、第2ホルダ4bを第1ホルダ4aに組み付ける際に凸部46と嵌合する凹状の部分である。ホルダ嵌合部45は、凸部46の形状および寸法等に合わせて、第1ホルダ4aの外周に沿って予め形成される。
また、上述した凸部46とホルダ嵌合部45との嵌合に伴い、第2ホルダ4bの収容凹部48は、第1ホルダ4aの嵌合凹部41に嵌合された状態のサージ防護ユニット3のユニットケース35を嵌め入れながら、嵌合凹部41との間にサージ防護ユニット3を保持して収容する。この際、サージ防護ユニット3をより強固に保持するという観点から、収容凹部48は、嵌合凹部41にユニットケース35を押し付ける等して嵌合凹部41との間にサージ防護ユニット3を挟んで保持し、収容することが好ましい。
上述した状態A3の工程のように、状態A2の部品における第1ホルダ4aと第2ホルダ4bとを嵌め合わせることにより、第1導電端子2aおよび第2導電端子2bを保持するとともにサージ防護ユニット3を保持して収容した状態のケース4(図1参照)が形成される。この段階において、第1導電端子2aおよび第2導電端子2bの延在部21a、21bは、挿通孔47a、47bを各々通って第2ホルダ4bから外部に所定の長さ露出した状態にある(図1、2参照)。このようにして、第1導電端子2aおよび第2導電端子2bを電源差込口に挿脱可能に挿入して当該電源差込口を覆うサージ防護装置1、すなわち、図2に示すようなコンセントキャップ型のサージ防護装置1が組立完了する。
以上、説明したように、本発明の実施の形態では、一対の導電端子は、電源差込口に挿脱可能に挿入できるよう互いに離間して配置し、サージ防護ユニットは、これら一対の導電端子の間に配置して、これら一対の導電端子と導通可能に接続し、ケースは、これら一対の導電端子を保持するとともに、このサージ防護ユニットを保持して収容するように構成している。このため、ケースの内部における一対の導電端子およびサージ防護ユニットの占める割合を小さくすることができる。これにより、一対の導電端子およびサージ防護ユニットを保持、収容するために必要なケース容積を低減して、ケースの小型化を図ることができる。この結果、電源差込口に取り付ける外付けタイプのサージ防護装置でありながら、その装置規模を小型化することができる。
また、本発明の実施の形態では、サージ防護ユニットを、一対の導電端子の離間する方向に直列に配置されるバリスタおよび放電素子を有する複合型のサージ防護ユニットとしている。このため、サージ防護装置の小型化を阻害することなく、防護対象機器をサージ電圧・電流から防護するサージ防護機能を、より高めることができる。
また、本発明の実施の形態では、サージ防護ユニットの奥行を、一対の導電端子の奥行方向の長さ以下としている。このため、互いに離間した一対の導電端子間の領域内に、サージ防護ユニットを確実に収めることができる。これにより、ケースの内部における一対の導電端子およびサージ防護ユニットの占める割合を可能な限り小さくして、ケース容積を必要最小限に低減することができる。この結果、ケースを可能な限り小型化できることから、外付けタイプのサージ防護装置を必要最小限の規模に小型化することができる。
また、本発明の実施の形態では、第1ケース部材に、一対の導電端子の基部を受ける受け部と、サージ防護ユニットが嵌められる嵌合凹部とを形成し、第2ケース部材に、一対の導電端子の基部を上記受け部との間に保持する凸部と、一対の導電端子の延在部が挿通される挿通孔と、上記嵌合凹部との間にサージ防護ユニットを収容する収容凹部とを形成し、上述のケースは、これらの第1ケース部材と第2ケース部材とを嵌め合わせることによって形成されるように構成している。このため、螺子や接着剤等の部品または部材を用いなくとも、一対の導電端子およびサージ防護ユニットをケースに組み付けできるとともに、このケースを簡易に形成することができる。この結果、サージ防護装置の組立に必要な部品の点数と、各部品同士の組み付けに必要な工程数とを従来の装置に比べて低減できることから、サージ防護装置の組立に要する時間、労力およびコストを低減することができ、さらには、サージ防護装置の軽量化を図ることができる。
なお、上述した実施の形態では、高さ方向F2から見た形状(上面視の形状)が角丸長方形である立体構造のサージ防護装置1(図2参照)を例示したが、本発明は、これに限定されるものではない。本発明に係るサージ防護装置の立体構造は、上面視の形状が角丸長方形以外のもの、例えば円形、楕円形、正方形、多角形等、所望の形状のものであってもよい。
また、上述した実施の形態では、バリスタ31および放電素子32を有する複合型のサージ防護ユニット3を例示したが、本発明は、これに限定されるものではない。本発明におけるサージ防護ユニットは、バリスタまたは放電素子を有する単一型のものであってもよい。また、本発明において、サージ防護ユニット3に内蔵するバリスタ31および放電素子32の種類は特に問わない。
さらに、上述した実施の形態では、第1ケース部材の受け部毎に2つの嵌合突起部を設け、これらの嵌合突起部と嵌合する嵌合孔を、一対の導電端子の各基部に同数設けていたが、本発明は、これに限定されるものではない。本発明において、第1ケース部材の受け部毎に設ける嵌合突起部の数は、1つであってもよいし、2つ以上であってもよい。あるいは、第1ケース部材の受け部に嵌合突起部を設けなくてもよい。このことは、一対の導電端子の各基部における嵌合孔についても同様である。
また、上述した実施の形態では、第1ケース部材における一対の受け部によって一対の導電端子の基部を受ける例を示したが、本発明は、これに限定されるものではない。本発明において、一対の導電端子の基部を受ける受け部は、対をなすもの以外、例えば、嵌合凹部の外周に沿って連続的に形成される一連(例えば枠状)のものであってもよい。
また、上述した実施の形態により本発明が限定されるものではない。上述した各構成要素を適宜組み合わせて構成したものも本発明に含まれる。その他、上述した実施の形態に基づいて当業者等によりなされる他の実施の形態、実施例および運用技術等は全て本発明の範疇に含まれる。
1 サージ防護装置
2a 第1導電端子
2b 第2導電端子
3 サージ防護ユニット
4 ケース
4a 第1ホルダ
4b 第2ホルダ
20a、20b 基部
21a、21b 延在部
22a、22b 突起受け部
23a、23b、24a、24b 嵌合孔
31 バリスタ
32 放電素子
33a 第1ユニット端子
33b 第2ユニット端子
34a、34b 突起部
35 ユニットケース
41 嵌合凹部
42a、42b 受け部
43a、43b、44a、44b 嵌合突起部
45 ホルダ嵌合部
46 凸部
47a、47b 挿通孔
48 収容凹部
F1 幅方向
F2 高さ方向
F3 奥行方向

Claims (4)

  1. 互いに離間して配置され、電源差込口に挿入される一対の導電端子と、
    前記一対の導電端子の間に配置され、前記一対の導電端子と導通可能に接続されるサージ防護ユニットと、
    前記一対の導電端子を保持するとともに、前記サージ防護ユニットを保持して収容するケースと、
    を備えたことを特徴とするサージ防護装置。
  2. 前記サージ防護ユニットは、前記一対の導電端子の離間する方向に直列に配置されるバリスタおよび放電素子を有する複合型のサージ防護ユニットであることを特徴とする請求項1に記載のサージ防護装置。
  3. 前記サージ防護ユニットの奥行は、前記一対の導電端子の奥行方向の長さ以下であることを特徴とする請求項1または2に記載のサージ防護装置。
  4. 前記ケースは、
    前記一対の導電端子の基部を受ける受け部と、前記サージ防護ユニットが嵌められる嵌合凹部とを有する第1ケース部材と、
    前記一対の導電端子の基部を前記受け部との間に保持する凸部と、前記一対の導電端子の延在部が挿通される挿通孔と、前記嵌合凹部との間に前記サージ防護ユニットを収容する収容凹部とを有する第2ケース部材と、
    を嵌め合わせて形成されることを特徴とする請求項1〜3のいずれか一つに記載のサージ防護装置。
JP2016252766A 2016-12-27 2016-12-27 サージ防護装置 Active JP6152467B1 (ja)

Priority Applications (1)

Application Number Priority Date Filing Date Title
JP2016252766A JP6152467B1 (ja) 2016-12-27 2016-12-27 サージ防護装置

Applications Claiming Priority (1)

Application Number Priority Date Filing Date Title
JP2016252766A JP6152467B1 (ja) 2016-12-27 2016-12-27 サージ防護装置

Publications (2)

Publication Number Publication Date
JP6152467B1 JP6152467B1 (ja) 2017-06-21
JP2018106946A true JP2018106946A (ja) 2018-07-05

Family

ID=59081962

Family Applications (1)

Application Number Title Priority Date Filing Date
JP2016252766A Active JP6152467B1 (ja) 2016-12-27 2016-12-27 サージ防護装置

Country Status (1)

Country Link
JP (1) JP6152467B1 (ja)

Citations (9)

* Cited by examiner, † Cited by third party
Publication number Priority date Publication date Assignee Title
JPS5490649U (ja) * 1977-12-09 1979-06-27
JPS5626829U (ja) * 1979-08-07 1981-03-12
JPS59152679U (ja) * 1983-03-31 1984-10-13 松下電工株式会社 プラグイン型検知器
JPS61117801A (ja) * 1984-11-13 1986-06-05 松下電器産業株式会社 コンセント型サ−ジ吸収器
JPH04210731A (ja) * 1990-11-30 1992-07-31 Oki Electric Ind Co Ltd サージアブソーバユニット
JP2002008775A (ja) * 2000-06-20 2002-01-11 Mitsubishi Electric Corp 遠隔制御電源接続装置
JP2009254217A (ja) * 2008-04-11 2009-10-29 Wellness:Kk 電気機器及び電源接続具と電気機器の接地方法
JP3171193U (ja) * 2011-08-05 2011-10-20 片岡 哲也 サージ防護電源タップ
JP2013084392A (ja) * 2011-10-06 2013-05-09 Kenji Yamashita 配線用差込接続器

Patent Citations (9)

* Cited by examiner, † Cited by third party
Publication number Priority date Publication date Assignee Title
JPS5490649U (ja) * 1977-12-09 1979-06-27
JPS5626829U (ja) * 1979-08-07 1981-03-12
JPS59152679U (ja) * 1983-03-31 1984-10-13 松下電工株式会社 プラグイン型検知器
JPS61117801A (ja) * 1984-11-13 1986-06-05 松下電器産業株式会社 コンセント型サ−ジ吸収器
JPH04210731A (ja) * 1990-11-30 1992-07-31 Oki Electric Ind Co Ltd サージアブソーバユニット
JP2002008775A (ja) * 2000-06-20 2002-01-11 Mitsubishi Electric Corp 遠隔制御電源接続装置
JP2009254217A (ja) * 2008-04-11 2009-10-29 Wellness:Kk 電気機器及び電源接続具と電気機器の接地方法
JP3171193U (ja) * 2011-08-05 2011-10-20 片岡 哲也 サージ防護電源タップ
JP2013084392A (ja) * 2011-10-06 2013-05-09 Kenji Yamashita 配線用差込接続器

Also Published As

Publication number Publication date
JP6152467B1 (ja) 2017-06-21

Similar Documents

Publication Publication Date Title
KR101441524B1 (ko) 신규한 구조의 이차전지 팩
US8237409B2 (en) Protection circuit module of secondary battery and secondary battery using the same
KR101371364B1 (ko) 단자블록을 포함하는 탑 캡 어셈블리
US10658777B2 (en) Externally-attached PTC element and tubular battery
KR102448297B1 (ko) 배터리 팩
KR20150122518A (ko) 베터리 팩
WO2015064251A1 (ja) 電池ユニット及び充電システム
JP2001325927A (ja) 電池パック
CN107566568B (zh) 弹性件、功能组件及移动终端
KR101613499B1 (ko) 벤딩된 연결부를 구비한 이차 전지 팩
US20100136408A1 (en) Battery pack
JP6152467B1 (ja) サージ防護装置
US20120282494A1 (en) Battery pack
US20210072493A1 (en) Lens module and electronic device
CN113067323B (zh) 一种浪涌保护器
JP6363286B2 (ja) 電池ユニット
CN113745003B (zh) 电子部件
JP2013084392A (ja) 配線用差込接続器
KR100889770B1 (ko) Ptc 소자 및, 그것을 구비한 리튬 이온 이차 전지
KR101451195B1 (ko) 이차전지 팩
JP3153936U (ja) サージプロテクタ
JP5046568B2 (ja) 電池パック
JP2007200630A (ja) 電池パック及びその組立て方法並びにそれを用いた携帯電子機器
KR20150058807A (ko) 배터리팩
JP2009099593A (ja) 回路基板、該回路基板の製造方法、及び該回路基板を備える電池パック

Legal Events

Date Code Title Description
A521 Request for written amendment filed

Free format text: JAPANESE INTERMEDIATE CODE: A523

Effective date: 20170327

TRDD Decision of grant or rejection written
A01 Written decision to grant a patent or to grant a registration (utility model)

Free format text: JAPANESE INTERMEDIATE CODE: A01

Effective date: 20170523

A61 First payment of annual fees (during grant procedure)

Free format text: JAPANESE INTERMEDIATE CODE: A61

Effective date: 20170529

R150 Certificate of patent or registration of utility model

Ref document number: 6152467

Country of ref document: JP

Free format text: JAPANESE INTERMEDIATE CODE: R150

R250 Receipt of annual fees

Free format text: JAPANESE INTERMEDIATE CODE: R250

R250 Receipt of annual fees

Free format text: JAPANESE INTERMEDIATE CODE: R250

R250 Receipt of annual fees

Free format text: JAPANESE INTERMEDIATE CODE: R250

S531 Written request for registration of change of domicile

Free format text: JAPANESE INTERMEDIATE CODE: R313531

R350 Written notification of registration of transfer

Free format text: JAPANESE INTERMEDIATE CODE: R350