JP2017200367A - motor - Google Patents

motor Download PDF

Info

Publication number
JP2017200367A
JP2017200367A JP2016090774A JP2016090774A JP2017200367A JP 2017200367 A JP2017200367 A JP 2017200367A JP 2016090774 A JP2016090774 A JP 2016090774A JP 2016090774 A JP2016090774 A JP 2016090774A JP 2017200367 A JP2017200367 A JP 2017200367A
Authority
JP
Japan
Prior art keywords
rotor
brush
stator
protrusion
motor
Prior art date
Legal status (The legal status is an assumption and is not a legal conclusion. Google has not performed a legal analysis and makes no representation as to the accuracy of the status listed.)
Granted
Application number
JP2016090774A
Other languages
Japanese (ja)
Other versions
JP6552451B2 (en
Inventor
邦宏 山岡
Kunihiro Yamaoka
邦宏 山岡
Current Assignee (The listed assignees may be inaccurate. Google has not performed a legal analysis and makes no representation or warranty as to the accuracy of the list.)
Mitsubishi Electric Corp
Original Assignee
Mitsubishi Electric Corp
Priority date (The priority date is an assumption and is not a legal conclusion. Google has not performed a legal analysis and makes no representation as to the accuracy of the date listed.)
Filing date
Publication date
Application filed by Mitsubishi Electric Corp filed Critical Mitsubishi Electric Corp
Priority to JP2016090774A priority Critical patent/JP6552451B2/en
Publication of JP2017200367A publication Critical patent/JP2017200367A/en
Application granted granted Critical
Publication of JP6552451B2 publication Critical patent/JP6552451B2/en
Expired - Fee Related legal-status Critical Current
Anticipated expiration legal-status Critical

Links

Images

Landscapes

  • Motor Or Generator Current Collectors (AREA)
  • Dc Machiner (AREA)

Abstract

PROBLEM TO BE SOLVED: To prevent rotations of a rotor from being disturbed by an abrasion powder of a brush, without limiting a loading attitude of a motor when loading the motor in equipment.SOLUTION: A motor comprises: a cylindrical stator 2 including magnets 4; a rotor 3 including a cylindrical rotor core 31 which is disposed inside of the magnets 4 of the stator 2 in a rotatable manner, a coil wound around the rotor core 31 and a rectifier 6 connected to the coil; and a brush 9 for supplying power to the rotor in slide-contact with the rectifier 6. The rotor 3 includes an annular first projection 3a which protrudes closer to the stator 2, between the rotor core 31 and the brush 9. The stator 2 includes a first projection 2a and a plurality of second projections 2a which protrude in a region of a gap with surfaces of the magnets 4 at a side of the brush 9, in a circumferential direction. Holes 2d, 2e and 2f are included between two second projections 2a that are adjacent to each other in the circumferential direction, and a region between a surface of the first projection 3a and a surface of the second projection 2a has a labyrinth structure.SELECTED DRAWING: Figure 1

Description

この発明は、ブラシタイプのモータに関する技術である。   The present invention relates to a brush type motor.

従来より用いられているブラシタイプのモータでは、整流子に当接するブラシが摩耗して発生するブラシの摩耗粉が、ロータの回転を阻害するという問題があった。ブラシが摩耗することにより発生した摩耗粉は、モータのロータコアとマグネットとの間のクリアランス領域に侵入して堆積し、ロータの回転を阻害する。
この問題を解決するため、特許文献1に記載されたモータでは、発生したブラシの摩耗粉を、モータ内部空間から外部に排出するための羽根車を設け、さらに摩耗粉の排出効率を高めるために複数の切除部を設けて構成している。羽根車の回転により風下側の空気が切除部に向かって円滑な流れとすることにより、ブラシの摩耗粉の排出効率を高め、モータ内部でブラシ摩耗粉が飛散して堆積するのを抑制している。
Conventional brush type motors have a problem in that brush dust generated by wear of the brush that contacts the commutator hinders rotation of the rotor. The abrasion powder generated by the wear of the brush penetrates and accumulates in the clearance region between the rotor core and the magnet of the motor, thereby inhibiting the rotation of the rotor.
In order to solve this problem, the motor described in Patent Document 1 is provided with an impeller for discharging the generated abrasion powder of the brush from the motor internal space to the outside, and further improving the efficiency of discharging the abrasion powder. A plurality of excision parts are provided. By rotating the impeller to make the leeward air flow smoothly toward the excision, the brush wear powder discharge efficiency is increased and the brush wear powder is prevented from scattering and accumulating inside the motor. Yes.

特開2002−95223号公報JP 2002-95223 A

上記特許文献1に記載されたモータは、羽根車の回転によって発生した空気の流れを用いて、ブラシの摩耗粉を切除部から排出させる構造であり、羽根車の設置位置および切除部の形成位置により、モータを機器に搭載する際にモータの搭載姿勢が限定されるという課題があった。   The motor described in the above-mentioned Patent Document 1 has a structure in which the abrasion powder of the brush is discharged from the excision part using the air flow generated by the rotation of the impeller, and the installation position of the impeller and the formation position of the excision part Therefore, there is a problem that the mounting posture of the motor is limited when the motor is mounted on a device.

この発明は、上記のような課題を解決するためになされたもので、モータを機器に搭載する際にモータの搭載姿勢を制限することなく、ブラシの摩耗粉がロータの回転を阻害するのを防止することを目的とする。   The present invention has been made to solve the above-described problems, and it is possible to prevent the abrasion powder of the brush from inhibiting the rotation of the rotor without restricting the mounting posture of the motor when the motor is mounted on a device. The purpose is to prevent.

この発明に係るモータは、マグネットが設けられた円筒形状のステータと、ステータのマグネットの内側に回転可能に配置された円筒形状のロータコアと、ロータコアに巻き回されたコイルと、当該コイルに接続された整流子とを有するロータと、整流子と摺接してロータに電力を供給するブラシとを備え、ロータは、ロータコアとブラシとの間に、ステータ側に突出する円環状の第1の突起部を有し、ステータは、第1の突起部と、マグネットのブラシ側の面との間の領域に突出する第2の突起部を周方向に複数有し、且つ周方向に隣り合う2つの第2の突起部の間に穴部を有し、第1の突起部の面と、第2の突起部の面との間の領域が、ラビリンス構造を有するものである。   A motor according to the present invention is connected to a cylindrical stator provided with a magnet, a cylindrical rotor core rotatably disposed inside the magnet of the stator, a coil wound around the rotor core, and the coil. A rotor having a commutator and a brush that is in sliding contact with the commutator and supplies power to the rotor, and the rotor is between the rotor core and the brush, and the first annular protrusion protruding toward the stator side The stator has a plurality of second protrusions protruding in a region between the first protrusion and the brush side surface of the magnet in the circumferential direction, and two adjacent second protrusions in the circumferential direction. A hole portion is provided between the two protrusion portions, and a region between the surface of the first protrusion portion and the surface of the second protrusion portion has a labyrinth structure.

この発明によれば、モータの搭載姿勢が制限されることなく、ブラシの摩耗粉がロータの回転を阻害するのを防止することができる。   According to the present invention, it is possible to prevent the abrasion powder of the brush from inhibiting the rotation of the rotor without restricting the mounting posture of the motor.

実施の形態1に係るモータの構成を示す図である。1 is a diagram illustrating a configuration of a motor according to Embodiment 1. FIG. 実施の形態1に係るモータの上面図である。2 is a top view of the motor according to Embodiment 1. FIG. 図2のA−A線断面図の一部を示した図である。It is the figure which showed a part of AA sectional view taken on the line of FIG. 図2のB−B線断面図であり、ステータを示した図である。FIG. 3 is a cross-sectional view taken along line B-B in FIG. 2 and shows a stator. 実施の形態1に係るモータのロータの突起部のその他の構成例を示す図である。FIG. 6 is a diagram illustrating another configuration example of the protrusions of the rotor of the motor according to the first embodiment. 実施の形態1に係るモータのロータの突起部のその他の構成例を示す図である。FIG. 6 is a diagram illustrating another configuration example of the protrusions of the rotor of the motor according to the first embodiment.

実施の形態1.
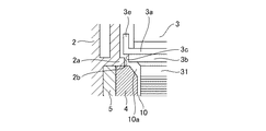
図1は、この発明の実施の形態1に係るモータの構造を示す図である。
図1では、ステータを断面で示し、このステータ内に配置されるロータおよび回転軸等を側面視で示している。
モータ1は、固定子であるステータ2およびステータ2の内周側に回転可能に配置された回転子である円筒形状のロータ3を備える。ステータ2は、内周側に複数貼り付けられたマグネット4と、マグネット4の外周面に配設された円筒状の磁性体で形成されたヨーク5とを備える。ステータ2は、モータ1のケースとしての機能も備える。
Embodiment 1 FIG.
1 is a diagram showing a structure of a motor according to Embodiment 1 of the present invention.
In FIG. 1, the stator is shown in a cross section, and the rotor, the rotating shaft, and the like arranged in the stator are shown in side view.
The motor 1 includes a stator 2 that is a stator and a cylindrical rotor 3 that is a rotor that is rotatably disposed on the inner peripheral side of the stator 2. The stator 2 includes a plurality of magnets 4 attached to the inner peripheral side, and a yoke 5 formed of a cylindrical magnetic body disposed on the outer peripheral surface of the magnet 4. The stator 2 also has a function as a case of the motor 1.

回転子であるロータ3は、円環状のロータコア31と、ロータコア31に巻き回されるコイル(図示しない)、当該コイルに接続された整流子6等を備える。ロータ3の中央部に設けた中央穴にはネジ部が形成され、このネジ部に螺合させて回転軸7が挿通される。回転軸7は、ステータ2に対して設けられた軸受8に軸受けされる。ロータ3がマグネット4の内周側で回転することにより、ロータ3に形成されたネジ部に螺合する回転軸7が直動方向Xに移動する。   The rotor 3 as a rotor includes an annular rotor core 31, a coil (not shown) wound around the rotor core 31, a commutator 6 connected to the coil, and the like. A threaded portion is formed in the central hole provided in the central portion of the rotor 3, and the rotating shaft 7 is inserted through the threaded portion. The rotating shaft 7 is supported by a bearing 8 provided for the stator 2. When the rotor 3 rotates on the inner peripheral side of the magnet 4, the rotation shaft 7 that is screwed into a screw portion formed on the rotor 3 moves in the linear motion direction X.

また、モータ1には、整流子6を介してロータ3に電源を供給するブラシ9、ブラシ9に電源を供給する電源供給端子部(図示しない)等が配置されている。ロータ3に電源を供給する際に、回転軸7の端部に設けられた整流子6にブラシ9が摺接する。ブラシ9は、回転する整流子6に摺接するため、摩耗が起こり、摩耗粉が発生する。図1に示すように、ロータコア31の外周面と、マグネット4の内周面との間には、クリアランス領域10として所定のクリアランスが形成されている。発生したブラシ9の摩耗粉が、このクリアランス領域10内に侵入すると、ロータ3の回転が阻害される。   Further, the motor 1 is provided with a brush 9 that supplies power to the rotor 3 via the commutator 6, a power supply terminal portion (not shown) that supplies power to the brush 9, and the like. When power is supplied to the rotor 3, the brush 9 is in sliding contact with the commutator 6 provided at the end of the rotating shaft 7. Since the brush 9 is in sliding contact with the rotating commutator 6, wear occurs and wear powder is generated. As shown in FIG. 1, a predetermined clearance is formed as a clearance region 10 between the outer peripheral surface of the rotor core 31 and the inner peripheral surface of the magnet 4. When the generated abrasion powder of the brush 9 enters the clearance area 10, the rotation of the rotor 3 is inhibited.

次に、ブラシ9の摩耗粉がクリアランス領域10に侵入するのを防止する構造について、図1、図2および図3を参照しながら説明する。
図2は、実施の形態1に係るモータの上面図である。
図3は、図2のA−A線断面図の一部を示した図である。
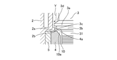
まず、図1および図3を参照しながら、ロータ3とステータ2により構成されたラビリンス構造について説明する。なお、図3の矢印Yは摩耗粉の侵入経路を示している。
ロータ3は、ロータコア31の上部に、外周方向、即ちステータ2側に突出する円環状の第1の突起部3aを有している。ロータ3をステータ2内に配設した際に、第1の突起部3aは、クリアランス領域10の開口領域10aを周方向に覆う。また、第1の突起部3aは、マグネット4の上面の少なくとも一部を周方向に覆う。
Next, a structure for preventing the abrasion powder of the brush 9 from entering the clearance region 10 will be described with reference to FIGS. 1, 2, and 3.
FIG. 2 is a top view of the motor according to the first embodiment.
FIG. 3 is a diagram showing a part of a cross-sectional view taken along line AA of FIG.
First, a labyrinth structure constituted by the rotor 3 and the stator 2 will be described with reference to FIGS. 1 and 3. In addition, the arrow Y of FIG. 3 has shown the penetration | invasion path | route of abrasion powder.
The rotor 3 has an annular first protrusion 3 a that protrudes in the outer peripheral direction, that is, toward the stator 2, at the top of the rotor core 31. When the rotor 3 is disposed in the stator 2, the first protrusion 3 a covers the opening region 10 a of the clearance region 10 in the circumferential direction. Further, the first protrusion 3 a covers at least a part of the upper surface of the magnet 4 in the circumferential direction.

第1の突起部3aのロータコア31側の面に、第1の突起部3aよりも円周が小さい円環状の部材3bを配置し、第1の突起部3aの外周形状と、円環状の部材3bの外周形状とにより、円環状の第1の段差部3cが形成される。ステータ2側には、マグネット4の上方、且つ第1の突起部の下方の領域に向けて突出する第2の突起部2aが形成される。この第2の突起部2aと、マグネット4の上面4aの形状とにより、第2の段差部2bが形成される。ロータ3側の第1の段差部3cの面と、ステータ2側の第2の段差部2bの面との間の領域に、ラビリンス構造が形成される。形成されたラビリンス構造により、開口領域10aおよびクリアランス領域10への摩耗粉の進入を防止することができる。
また、第1の突起部3aの整流子6側の面には、円環状の第1の突起部3aの中心から外周方向に向けて、第1の突起部3aの厚みが減少するテーパ部3dが形成される。テーパ部3dは、ブラシ9の摩耗粉を後述する穴部に誘導する。
An annular member 3b having a smaller circumference than the first protrusion 3a is arranged on the surface of the first protrusion 3a on the rotor core 31 side, and the outer shape of the first protrusion 3a and the annular member are arranged. Due to the outer peripheral shape of 3b, an annular first step portion 3c is formed. On the stator 2 side, a second protrusion 2 a is formed that protrudes toward a region above the magnet 4 and below the first protrusion. A second step 2b is formed by the second protrusion 2a and the shape of the upper surface 4a of the magnet 4. A labyrinth structure is formed in a region between the surface of the first step 3c on the rotor 3 side and the surface of the second step 2b on the stator 2 side. The formed labyrinth structure can prevent the wear powder from entering the opening region 10a and the clearance region 10.
Further, on the surface of the first protrusion 3 a on the side of the commutator 6, a tapered portion 3 d where the thickness of the first protrusion 3 a decreases from the center of the annular first protrusion 3 a toward the outer periphery. Is formed. The taper part 3d guides the abrasion powder of the brush 9 to a hole part to be described later.

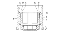
次に、図2を参照しながら、ステータ2に形成した摩耗粉を堆積させる穴部の構造について説明する。
図2は、ロータ3をステータ2内に配設したモータ1の上面図である。
図2に示すように、上述した第2の突起部2aは、ステータ2の内周側且つ周方向に所定の間隔で均等に複数形成されている。2つの第2の突起部2aの間には、凹部2cが形成される。ロータ3をステータ2内に配設した場合に、ロータ3の第1の突起部3aと、複数の凹部2cとにより、第1の突起部3aの外周部に複数の開口部が、所定の間隔で均等に形成される。この複数の開口部の下方に、複数の穴部2d,2e,2fが形成されている。穴部2dは、マグネット4の外周面側に形成される。穴部2eはヨーク5の外周面側に形成され、穴部2fはヨーク5の内周面側に形成される。
Next, the structure of the hole for depositing the wear powder formed on the stator 2 will be described with reference to FIG.
FIG. 2 is a top view of the motor 1 in which the rotor 3 is disposed in the stator 2.
As shown in FIG. 2, a plurality of the second protrusions 2 a described above are formed uniformly at a predetermined interval on the inner peripheral side of the stator 2 and in the circumferential direction. A recess 2c is formed between the two second protrusions 2a. When the rotor 3 is disposed in the stator 2, the first protrusion 3 a of the rotor 3 and the plurality of recesses 2 c cause a plurality of openings to be formed on the outer periphery of the first protrusion 3 a at a predetermined interval. Are evenly formed. A plurality of holes 2d, 2e, 2f are formed below the plurality of openings. The hole 2 d is formed on the outer peripheral surface side of the magnet 4. The hole 2 e is formed on the outer peripheral surface side of the yoke 5, and the hole 2 f is formed on the inner peripheral surface side of the yoke 5.

穴部2d,2e,2fの深さ方向の形状を図4に示す。
図4は、図2のB−B線断面図であり、ステータ2のみを示した図である。また、図4は、穴部2e,2fの形状を示している。
穴部2e,2fは、回転軸7(図4では図示を省略)の直動方向Xの方向に深さを有する穴部である。図4に示すように、穴部2eはヨーク5の外周側に形成され、穴部2fはヨーク5の内周側に形成されている。穴部2e,2fの深さは、ブラシ9の大きさに応じて発生すると推定される摩耗粉の量に応じて適宜設計される。
図示は省略するが、穴部2dも同様に、回転軸7の直動方向Xの方向に深さを有し、その深さはブラシ9の大きさに応じて適宜設計される。
The shape of the holes 2d, 2e, 2f in the depth direction is shown in FIG.
FIG. 4 is a cross-sectional view taken along the line BB of FIG. 2 and shows only the stator 2. FIG. 4 shows the shapes of the holes 2e and 2f.
The holes 2e and 2f are holes having a depth in the direction of the linear motion X of the rotating shaft 7 (not shown in FIG. 4). As shown in FIG. 4, the hole 2 e is formed on the outer peripheral side of the yoke 5, and the hole 2 f is formed on the inner peripheral side of the yoke 5. The depths of the holes 2e and 2f are appropriately designed according to the amount of wear powder estimated to be generated according to the size of the brush 9.
Although illustration is omitted, the hole 2d similarly has a depth in the direction of the linear motion X of the rotating shaft 7, and the depth is appropriately designed according to the size of the brush 9.

ロータ3の第1の突起部3aの上面に落下したブラシ9の摩耗粉は、テーパ部3dを経由して、穴部2d,2e,2fに落ちて堆積する。
第1の突起部3aがクリアランス領域10の開口領域10aを覆い、さらにロータ3側の第1の段差部3cの面と、ステータ2側の第2の段差部2bの面との間の領域にラビリンス構造が形成され、ロータ3の第1の突起部3aの上面に落下した摩耗粉がクリアランス領域10に侵入するのを防止することができる。さらに、ステータ2の内周側に所定の間隔で形成された穴部2d,2e,2fに摩耗粉を集めることができる。
The abrasion powder of the brush 9 that has dropped onto the upper surface of the first protrusion 3a of the rotor 3 falls and accumulates in the holes 2d, 2e, and 2f via the taper 3d.
The first protrusion 3a covers the opening region 10a of the clearance region 10, and further in a region between the surface of the first step 3c on the rotor 3 side and the surface of the second step 2b on the stator 2 side. A labyrinth structure is formed, and it is possible to prevent the wear powder falling on the upper surface of the first protrusion 3 a of the rotor 3 from entering the clearance region 10. Further, wear powder can be collected in holes 2d, 2e, 2f formed at predetermined intervals on the inner peripheral side of the stator 2.

図5および図6は、実施の形態1に係るモータ1の第1の突起部のその他の形状を示す図である。
上述した説明では、第1の突起部3aの整流子6側の面に、テーパ部3dを形成する構成を示したが、第1の突起部3aの整流子6側の面形状は適宜設計可能である。例えば、図5に示すように、第1の突起部3aの整流子6側の面は平面であってもよい。なお、ロータ3側の第1の段差部3cの面と、ステータ2側の第2の段差部2bの面との間の領域にはラビリンス構造が形成されている。
5 and 6 are diagrams showing other shapes of the first protrusion of the motor 1 according to the first embodiment.
In the above description, the configuration in which the tapered portion 3d is formed on the surface of the first protrusion 3a on the commutator 6 side is shown, but the surface shape of the first protrusion 3a on the commutator 6 side can be appropriately designed. It is. For example, as shown in FIG. 5, the surface of the first protrusion 3a on the commutator 6 side may be a flat surface. A labyrinth structure is formed in a region between the surface of the first step 3c on the rotor 3 side and the surface of the second step 2b on the stator 2 side.

また、図6に示すように、第1の突起部3aの外周端部に、整流子6側に突出する円環状部材3eを設け、第1の突起部3aおよび円環状部材3eの断面形状をL字形状としてもよい。図6では、第1の突起部3aおよび円環状部材3eを断面で示している。断面形状がL字形状となるよう第1の突起部3aおよび円環状部材3eを形成することにより、L字形状の領域で摩耗粉を受け止め、さらにロータ3側の第1の段差部3cの面と、ステータ2側の第2の段差部2bの面との間の領域に形成されたラビリンス構造により、ブラシ9の摩耗粉がクリアランス領域10に侵入するのを防止することができる。   Further, as shown in FIG. 6, an annular member 3e protruding toward the commutator 6 side is provided at the outer peripheral end of the first protrusion 3a, and the cross-sectional shapes of the first protrusion 3a and the annular member 3e are changed. It may be L-shaped. In FIG. 6, the 1st projection part 3a and the annular member 3e are shown in the cross section. By forming the first protrusion 3a and the annular member 3e so that the cross-sectional shape is L-shaped, the wear powder is received in the L-shaped region, and the surface of the first stepped portion 3c on the rotor 3 side And the labyrinth structure formed in the region between the second stepped portion 2b on the stator 2 side, it is possible to prevent the abrasion powder of the brush 9 from entering the clearance region 10.

以上のように、この実施の形態1によれば、マグネット4が設けられた円筒形状のステータ2と、マグネット4の内側に回転可能に配置された円筒形状のロータコア31と、ロータコア31に巻き回されたコイルと、当該コイルに接続された整流子6とを有するロータ3と、整流子6と摺接してロータ3に電力を供給するブラシ9とを備え、ロータ3は、ロータコア31とブラシ9との間に、ステータ2側に突出する円環状の第1の突起部3aを有し、ステータ2は、第1の突起部3aと、マグネット4のブラシ9側の面との間の領域に突出する第2の突起部2aを周方向に複数有し、且つ周方向に隣り合う2つの第2の突起部2aの間に穴部2d,2e,2fを有し、第1の突起部3aの面と、第2の突起部2aの面との間の領域が、ラビリンス構造を有するように構成したので、ブラシの摩耗粉がロータコアの外周面とマグネットの内周面との間のクリアランス領域に侵入してロータの回転を阻害するのを防止することができる。   As described above, according to the first embodiment, the cylindrical stator 2 provided with the magnet 4, the cylindrical rotor core 31 rotatably disposed inside the magnet 4, and the rotor core 31 are wound around the rotor core 31. And a rotor 9 having a commutator 6 connected to the coil, and a brush 9 that is in sliding contact with the commutator 6 and supplies power to the rotor 3. The rotor 3 includes a rotor core 31 and a brush 9. Between the first projection 3a and the stator 2 in a region between the first projection 3a and the surface of the magnet 4 on the brush 9 side. There are a plurality of protruding second protrusions 2a in the circumferential direction, and there are holes 2d, 2e, 2f between two adjacent second protrusions 2a in the circumferential direction, and the first protrusion 3a. The area between the surface of the second protrusion 2a and the surface of the second protrusion 2a Since it is configured to have a Nsu structure, it is possible to abrasion powder of the brush is prevented from inhibiting the rotation and penetration of the rotor into the clearance area between the outer peripheral surface and the inner peripheral surface of the magnet of the rotor core.

また、この実施の形態1によれば、第1の突起部3aは、ロータコア側の面に円環状の第1の段差部3cを有し、第1の段差部3cの面と、第2の突起部2aおよびマグネット4のブラシ9側の面とによって形成される第2の段差部2bの面との間の領域が、ラビリンス構造を形成するように構成したので、ブラシの摩耗粉がクリアランス領域に侵入するのを防止することができる。   Further, according to the first embodiment, the first protrusion 3a has the annular first step portion 3c on the surface on the rotor core side, the surface of the first step portion 3c, and the second step portion 3c. Since the region between the projection 2a and the surface of the second stepped portion 2b formed by the surface of the magnet 4 on the brush 9 side is configured to form a labyrinth structure, the abrasion powder of the brush is in the clearance region. Can be prevented from entering.

また、この実施の形態1によれば、第1の突起部3aは、ブラシ9側の面に、中心から外周方向に向けて厚みが減少するテーパ部3dを有するように構成したので、ブラシの摩耗粉を穴部に効率よく集めることができる。   Further, according to the first embodiment, the first protrusion 3a is configured to have the tapered portion 3d whose thickness decreases from the center toward the outer peripheral direction on the surface of the brush 9 side. Wear powder can be efficiently collected in the hole.

また、この実施の形態1によれば、ブラシ9の摩耗粉を堆積させる複数の穴部2d,2e,2fをステータ2の周方向に均等に配置したので、モータの搭載姿勢が制限されることがない。   Further, according to the first embodiment, since the plurality of holes 2d, 2e, 2f for accumulating the wear powder of the brush 9 are arranged uniformly in the circumferential direction of the stator 2, the mounting posture of the motor is limited. There is no.

なお、本願発明はその発明の範囲内において、実施の形態の任意の構成要素の変形、もしくは実施の形態の任意の構成要素の省略が可能である。   In the present invention, any constituent element of the embodiment can be modified or any constituent element of the embodiment can be omitted within the scope of the invention.

1 モータ、2 ステータ、2a 第2の突起部、2b 第2の段差部、2c 開口部、2d,2e,2f 穴部、3 ロータ、3a 第1の突起部、3b 円環状の突起部、3c 第1の段差部、3d テーパ部、3e 円環状部材、4 マグネット、5 ヨーク、6 整流子、7 回転軸、8 軸受、9 ブラシ、10 クリアランス領域、10a 開口領域、31 ロータコア。   DESCRIPTION OF SYMBOLS 1 Motor, 2 Stator, 2a 2nd protrusion part, 2b 2nd level | step difference part, 2c opening part, 2d, 2e, 2f hole part, 3 rotor, 3a 1st protrusion part, 3b Toroidal protrusion part, 3c 1st step part, 3d taper part, 3e annular member, 4 magnet, 5 yoke, 6 commutator, 7 rotating shaft, 8 bearing, 9 brush, 10 clearance area, 10a opening area, 31 rotor core.

Claims (4)

マグネットが設けられた円筒形状のステータと、
前記ステータの前記マグネットの内側に回転可能に配置された円筒形状のロータコアと、前記ロータコアに巻き回されたコイルと、当該コイルに接続された整流子とを有するロータと、
前記整流子と摺接して前記ロータに電力を供給するブラシとを備え、
前記ロータは、前記ロータコアと前記ブラシとの間に、前記ステータ側に突出する円環状の第1の突起部を有し、
前記ステータは、前記第1の突起部と、前記マグネットの前記ブラシ側の面との間の領域に突出する第2の突起部を周方向に複数有し、且つ前記周方向に隣り合う2つの前記第2の突起部の間に穴部を有し、
前記第1の突起部の面と、前記第2の突起部の面との間の領域が、ラビリンス構造を有するモータ。
A cylindrical stator provided with a magnet;
A rotor having a cylindrical rotor core rotatably disposed inside the magnet of the stator, a coil wound around the rotor core, and a commutator connected to the coil;
A brush that slidably contacts the commutator and supplies power to the rotor;
The rotor has an annular first protrusion that protrudes toward the stator between the rotor core and the brush,
The stator has a plurality of second protrusions projecting in a region between the first projection and the brush-side surface of the magnet in the circumferential direction, and two adjacent in the circumferential direction. Having a hole between the second protrusions;
A motor having a labyrinth structure in a region between a surface of the first protrusion and a surface of the second protrusion.
前記第1の突起部は、前記ロータコア側の面に円環状の第1の段差部を有し、
前記第1の段差部の面と、前記第2の突起部および前記マグネットの前記ブラシ側の面とによって形成される第2の段差部の面との間の領域が、前記ラビリンス構造を形成する請求項1記載のモータ。
The first protrusion has an annular first step portion on the rotor core side surface,
A region between the surface of the first step portion and the surface of the second step portion formed by the second protrusion and the brush-side surface of the magnet forms the labyrinth structure. The motor according to claim 1.
前記第1の突起部は、前記ブラシ側の面に、中心から外周方向に向けて厚みが減少するテーパ形状を有することを特徴とする請求項1または請求項2記載のモータ。   3. The motor according to claim 1, wherein the first protrusion has a tapered shape with a thickness decreasing from a center toward an outer peripheral direction on a surface on the brush side. 4. 前記穴部は、前記ステータの前記周方向に均等に配置したことを特徴とする請求項1から請求項3のうちのいずれか1項記載のモータ。   The motor according to any one of claims 1 to 3, wherein the hole portions are arranged uniformly in the circumferential direction of the stator.
JP2016090774A 2016-04-28 2016-04-28 motor Expired - Fee Related JP6552451B2 (en)

Priority Applications (1)

Application Number Priority Date Filing Date Title
JP2016090774A JP6552451B2 (en) 2016-04-28 2016-04-28 motor

Applications Claiming Priority (1)

Application Number Priority Date Filing Date Title
JP2016090774A JP6552451B2 (en) 2016-04-28 2016-04-28 motor

Publications (2)

Publication Number Publication Date
JP2017200367A true JP2017200367A (en) 2017-11-02
JP6552451B2 JP6552451B2 (en) 2019-07-31

Family

ID=60239675

Family Applications (1)

Application Number Title Priority Date Filing Date
JP2016090774A Expired - Fee Related JP6552451B2 (en) 2016-04-28 2016-04-28 motor

Country Status (1)

Country Link
JP (1) JP6552451B2 (en)

Citations (8)

* Cited by examiner, † Cited by third party
Publication number Priority date Publication date Assignee Title
JPS60162968U (en) * 1984-04-05 1985-10-29 松下電器産業株式会社 commutator motor
JPH07213032A (en) * 1994-01-25 1995-08-11 Hitachi Ltd Vehicle alternator
JP2003333791A (en) * 2002-05-17 2003-11-21 Meidensha Corp Permanent magnet electric rotating machine
US20060175925A1 (en) * 2005-02-08 2006-08-10 Michael Coles Motor assembly with a sealed commutator/brush interface
US20080030098A1 (en) * 2006-08-02 2008-02-07 Shawcross James P Motor assembly with a sealed commutator/brush interface
JP2012175841A (en) * 2011-02-22 2012-09-10 Jtekt Corp Electric motor with brush and electric power steering device
JP2014226021A (en) * 2013-04-22 2014-12-04 アスモ株式会社 Motor
CN204669170U (en) * 2013-09-17 2015-09-23 松下知识产权经营株式会社 Brush motor

Patent Citations (8)

* Cited by examiner, † Cited by third party
Publication number Priority date Publication date Assignee Title
JPS60162968U (en) * 1984-04-05 1985-10-29 松下電器産業株式会社 commutator motor
JPH07213032A (en) * 1994-01-25 1995-08-11 Hitachi Ltd Vehicle alternator
JP2003333791A (en) * 2002-05-17 2003-11-21 Meidensha Corp Permanent magnet electric rotating machine
US20060175925A1 (en) * 2005-02-08 2006-08-10 Michael Coles Motor assembly with a sealed commutator/brush interface
US20080030098A1 (en) * 2006-08-02 2008-02-07 Shawcross James P Motor assembly with a sealed commutator/brush interface
JP2012175841A (en) * 2011-02-22 2012-09-10 Jtekt Corp Electric motor with brush and electric power steering device
JP2014226021A (en) * 2013-04-22 2014-12-04 アスモ株式会社 Motor
CN204669170U (en) * 2013-09-17 2015-09-23 松下知识产权经营株式会社 Brush motor

Also Published As

Publication number Publication date
JP6552451B2 (en) 2019-07-31

Similar Documents

Publication Publication Date Title
KR101493635B1 (en) Fan motor
JP6357239B2 (en) motor
CN103580357B (en) Brushless electric machine
JP2019112998A (en) Air blower
KR20120118756A (en) Brushless direct current motor
JP2016165198A (en) Rotating machine waterproof structure and rotating machine
US20160268863A1 (en) Brushless motor
KR20160089784A (en) Housing and Motor having the same
JP6552451B2 (en) motor
JP6113446B2 (en) Electric motor
CN107925302B (en) Shell and motor comprising same
JP6243379B2 (en) motor
CN206341109U (en) Motor
JP2018198503A (en) motor
EP3364527B1 (en) Electric motor and blower
JP5860724B2 (en) Outer rotor type brushless motor
JP2017005934A (en) DC motor
KR20200032506A (en) Stator and motor assembly comprising the same
JP4268451B2 (en) motor
JP6553153B2 (en) motor
KR102621847B1 (en) Cover assembly and Motor having the same
KR101086930B1 (en) Rotating device that can prevent axial flow of rotor
JP2019122059A (en) Brushed motor, and fan motor for radiator cooling
JPWO2018105046A1 (en) Permanent magnet rotating electric machine
JP7090874B2 (en) Commutator and brushed motor with this commutator

Legal Events

Date Code Title Description
A621 Written request for application examination

Free format text: JAPANESE INTERMEDIATE CODE: A621

Effective date: 20180821

A977 Report on retrieval

Free format text: JAPANESE INTERMEDIATE CODE: A971007

Effective date: 20190522

TRDD Decision of grant or rejection written
A01 Written decision to grant a patent or to grant a registration (utility model)

Free format text: JAPANESE INTERMEDIATE CODE: A01

Effective date: 20190604

A61 First payment of annual fees (during grant procedure)

Free format text: JAPANESE INTERMEDIATE CODE: A61

Effective date: 20190702

R150 Certificate of patent or registration of utility model

Ref document number: 6552451

Country of ref document: JP

Free format text: JAPANESE INTERMEDIATE CODE: R150

LAPS Cancellation because of no payment of annual fees