JP2016160661A - Hybrid type work machine - Google Patents

Hybrid type work machine Download PDF

Info

Publication number
JP2016160661A
JP2016160661A JP2015040722A JP2015040722A JP2016160661A JP 2016160661 A JP2016160661 A JP 2016160661A JP 2015040722 A JP2015040722 A JP 2015040722A JP 2015040722 A JP2015040722 A JP 2015040722A JP 2016160661 A JP2016160661 A JP 2016160661A
Authority
JP
Japan
Prior art keywords
engine
torque
speed
hydraulic pump
maximum
Prior art date
Legal status (The legal status is an assumption and is not a legal conclusion. Google has not performed a legal analysis and makes no representation as to the accuracy of the status listed.)
Granted
Application number
JP2015040722A
Other languages
Japanese (ja)
Other versions
JP6258886B2 (en
Inventor
吉田 肇
Hajime Yoshida
肇 吉田
野口 修平
Shuhei Noguchi
修平 野口
Current Assignee (The listed assignees may be inaccurate. Google has not performed a legal analysis and makes no representation or warranty as to the accuracy of the list.)
Hitachi Construction Machinery Co Ltd
Original Assignee
Hitachi Construction Machinery Co Ltd
Priority date (The priority date is an assumption and is not a legal conclusion. Google has not performed a legal analysis and makes no representation as to the accuracy of the date listed.)
Filing date
Publication date
Application filed by Hitachi Construction Machinery Co Ltd filed Critical Hitachi Construction Machinery Co Ltd
Priority to JP2015040722A priority Critical patent/JP6258886B2/en
Publication of JP2016160661A publication Critical patent/JP2016160661A/en
Application granted granted Critical
Publication of JP6258886B2 publication Critical patent/JP6258886B2/en
Active legal-status Critical Current
Anticipated expiration legal-status Critical

Links

Images

Landscapes

  • Operation Control Of Excavators (AREA)
  • Control Of Vehicle Engines Or Engines For Specific Uses (AREA)

Abstract

PROBLEM TO BE SOLVED: To place a work machine in operation only by an engine without causing any engine stall if an electric drive system cannot be used while improving fuel consumption, improving exhaust gas characteristics, and reducing noise by employing a hybrid system and making the engine compact.SOLUTION: A choice between a hybrid mode in which an electric drive system 3 including a power generator electric motor 31 and a power storage device 33 is used and a non-hybrid mode in which the electric drive system 3 is stopped can be made, and when the non-hybrid mode is selected, reduced torque control in which the electric drive system 3 is stopped and maximum absorption torque of a hydraulic pump 21 is lowered, and engine rotating speed reduction control in which a target rotating speed of the engine 11 is lowered are performed.SELECTED DRAWING: Figure 11

Description

本発明は、ハイブリッド式作業機械に係わり、特に小型の油圧ショベル等のハイブリッド式作業機械に関する。   The present invention relates to a hybrid work machine, and more particularly to a hybrid work machine such as a small hydraulic excavator.

近年、油圧ショベル等の建設機械に代表される作業機械おいては、燃費の向上、排ガス特性の改善及び騒音の低減等の観点から、エンジン(ディーゼルエンジン)と電動機を併用するハイブリッド式作業機械が開発され、一部実用化されている。このようなハイブリッド式作業機械として例えば特許文献1に記載のものがある。   In recent years, in work machines represented by construction machines such as hydraulic excavators, hybrid work machines that use both an engine (diesel engine) and an electric motor from the viewpoint of improving fuel efficiency, improving exhaust gas characteristics, and reducing noise. Developed and partly put into practical use. An example of such a hybrid work machine is disclosed in Patent Document 1.

特許文献1に記載のハイブリッド式作業機械(建設機械)では、エンジンによって駆動される油圧ポンプの補助動力源として発電・電動機を設け、走行速度切換スイッチの指示が走行高速にない通常作業時或いは走行低速時には、油圧ポンプの要求トルクがエンジン出力トルクよりも小さいとみなして、発電・電動機の出力アシストを行わず、エンジン出力トルクのみで油圧ポンプを駆動し、走行速度切換スイッチの指示が走行高速に切り換わって走行モータが高速小容量モードに切り換わる走行高速時には、油圧ポンプの要求トルクがエンジン出力トルクよりも大きくなるとみなして、バッテリの電力で発電・電動機を電動機として作動させて出力アシストを行い、エンジン出力トルクと電動機出力トルクの両方で油圧ポンプを駆動している。また、バッテリの電力で発電・電動機を電動機として作動させるとき、バッテリの充電量が不十分となった場合は、油圧ポンプの減トルク制御によってエンジンに強制的に余剰トルクを発生させ、発電・電動機を発電機として作動させてバッテリの急速充電を行っている。   In the hybrid work machine (construction machine) described in Patent Document 1, a generator / motor is provided as an auxiliary power source of a hydraulic pump driven by an engine, and a normal speed or travel time when the travel speed changeover switch does not indicate a travel speed. At low speeds, it is assumed that the required torque of the hydraulic pump is smaller than the engine output torque, the output assist of the generator / motor is not performed, the hydraulic pump is driven only by the engine output torque, and the travel speed changeover switch indicates the travel speed is high. At the time of traveling high speed when the traveling motor is switched to the high speed and small capacity mode, it is assumed that the required torque of the hydraulic pump is larger than the engine output torque, and the output / assist is operated by operating the generator / motor as a motor with the electric power of the battery. Drive the hydraulic pump with both engine output torque and motor output torque . In addition, when operating the generator / motor as an electric motor with battery power, if the battery charge becomes insufficient, the engine is forced to generate excess torque by reducing torque of the hydraulic pump, and the generator / motor is As a generator, the battery is rapidly charged.

特開2011−149226JP2011-149226A

特許文献1に記載のハイブリッド式建設機械によれば、走行高速時に発電・電動機を駆動して電動機として作動させエンジンの出力トルク不足分を補うため、エンジンの定絡出力トルクを下げることでエンジンをダウンサイジングすることが可能になり、燃費の向上、排ガス特性の改善及び騒音の低減が可能となる。また、排ガス特性が改善されるため、排出ガス後処理装置の小型化或いは簡略化が可能となり、場合によっては排出ガス後処理装置をなくすことも可能であり、これによりエンジンのダウンサイジング化によるコスト低減と相まってエンジンの製作コストを低減することができ、機械全体の価格を安くすることができる。また、ミニショベルのような小型の建設機械におけるレイアウト面の困難性を回避することができる。   According to the hybrid construction machine described in Patent Document 1, the generator / motor is driven and operated as a motor at the time of traveling high speed to compensate for the shortage of the engine output torque. It becomes possible to downsize, improving fuel consumption, improving exhaust gas characteristics, and reducing noise. In addition, since the exhaust gas characteristics are improved, the exhaust gas aftertreatment device can be downsized or simplified, and in some cases, the exhaust gas aftertreatment device can be eliminated, thereby reducing the cost of downsizing the engine. Combined with the reduction, the production cost of the engine can be reduced, and the price of the entire machine can be reduced. Moreover, the difficulty of the layout surface in a small construction machine such as a mini excavator can be avoided.

しかし、特許文献1に記載のハイブリッド式建設機械においては、蓄電装置や電動・発電機を含む電動駆動系が使用できなくなった場合の手当がなされておらず、電動駆動系が何らかの理由で使用できなくなった場合に建設機械を適切に動作させることができないという問題があった。   However, in the hybrid construction machine described in Patent Document 1, there is no allowance when the electric drive system including the power storage device and the motor / generator cannot be used, and the electric drive system can be used for some reason. When it disappears, there was a problem that the construction machine could not be operated properly.

電動駆動系が使用できなくなる例として、電動駆動系に異常が発生した場合がある。この場合、電動駆動系を停止させ、退避運転を行う必要がある。退避運転とは、油圧ショベルを修理・点検のため作業現場から安全な場所まで移動する動作であり、油圧ショベルが不整地で作業をしていた場合は、フロント作業機などを使用して油圧ショベルを不整地から脱出させる動作も含まれる。   As an example in which the electric drive system cannot be used, there is a case where an abnormality has occurred in the electric drive system. In this case, it is necessary to stop the electric drive system and perform the evacuation operation. The evacuation operation is an operation to move the excavator from the work site to a safe place for repair and inspection. If the excavator is working on rough terrain, use the front work machine etc. The operation to escape from rough terrain is also included.

しかし、特許文献1においては、電動駆動系が使用できなくなった場合の手当は考慮されていないため、電動駆動系に異常が発生したときに電動駆動系が安全性の観点から停止してしまい、エンジンの定格トルクが油圧ポンプの最大吸収トルクよりも小さくなるようエンジンをダウンサイジングした場合は、走行速度切換スイッチの指示で走行高速に切り換えて移動するとき、油圧ポンプの吸収トルクがエンジンの定格トルクを上回ってエンジンストールを起こしてしまう。このため走行高速での移動ができず、修理・点検のための移動に時間を要し、適切なタイミングで適切な措置をとることができないという問題がある。   However, in Patent Document 1, since the allowance when the electric drive system becomes unusable is not considered, the electric drive system stops from the viewpoint of safety when an abnormality occurs in the electric drive system, If the engine is downsized so that the rated torque of the engine is less than the maximum absorption torque of the hydraulic pump, the absorption torque of the hydraulic pump will change to the rated torque of the engine when moving to a high speed when the travel speed switch is instructed. Will cause engine stall. For this reason, there is a problem that it is impossible to move at high traveling speed, it takes time to move for repair and inspection, and it is not possible to take appropriate measures at an appropriate timing.

電動駆動系が使用できなくなる場合の他の例として、経年変化で電動駆動系が使用できなくなる場合がある。この場合も、従来は、走行速度切換スイッチの指示で走行高速に切り換えて移動するとき、油圧ポンプの吸収トルクがエンジンの定格トルクを上回わると、エンジンストールを起こしてしまうため、油圧ショベルの使い勝手が悪くなる、修理費が高額になるという問題がある。   Another example of the case where the electric drive system cannot be used is that the electric drive system cannot be used due to secular change. Also in this case, conventionally, when the travel speed changeover switch is switched to travel at high speed and the hydraulic pump absorbs more torque than the rated torque of the engine, engine stall occurs. There are problems such as poor usability and high repair costs.

本発明は、上記の問題に鑑みてなされたものであり、その目的は、ハイブリッド方式を採用してエンジンを小型化することにより燃費の向上、排ガス特性の改善及び騒音の低減を図るとともに、電動駆動系が使用できなくなった場合にエンジンストールを起こすことなくエンジンだけで作業機械を動作させることができるハイブリッド式作業機械を提供することである。   The present invention has been made in view of the above-described problems, and its object is to reduce the size of the engine by adopting a hybrid system, thereby improving fuel efficiency, improving exhaust gas characteristics, reducing noise, and It is an object of the present invention to provide a hybrid work machine that can operate a work machine only with an engine without causing an engine stall when a drive system becomes unusable.

上記目的を達成するために、本発明は、エンジンと、このエンジンによって駆動される油圧ポンプと、この油圧ポンプから吐出される圧油によって駆動される複数の油圧アクチュエータと、前記エンジンの目標回転数を指示するエンジン回転数指示装置と、前記エンジンの実回転数であるエンジン回転数を検出するエンジン回転数検出装置と、前記エンジンの燃料噴射量を調整するガバナ装置と、前記エンジンに連結された発電・電動機と、前記発電・電動機との間で電力を授受する蓄電装置とを備え、前記エンジンは、前記ガバナ装置の燃料噴射量が最大であるときの全負荷特性と、前記ガバナ装置の燃料噴射量が最大に増加するまでのレギュレーション特性とを含む出力トルク特性を有し、前記全負荷特性は、前記エンジン回転数が定格回転数から所定回転数に低下するにしたがって前記エンジンの出力トルクが増加し、前記エンジン回転数が所定回転数まで低下すると前記エンジンの出力トルクが最大トルクとなるように設定されているハイブリッド式作業機械において、前記エンジンは、前記エンジン回転数が定格回転数にあるときのエンジン出力トルクである前記エンジンの定格トルクが前記油圧ポンプの最大吸収トルクよりも小さく、前記エンジンの出力トルクだけでは前記油圧ポンプの最大吸収トルクを賄えない大きさにダウンサイジングされたエンジンであり、前記発電・電動機を電動機として駆動し、前記油圧ポンプをアシスト駆動するよう前記発電・電動機を制御する第1制御装置と、前記発電・電動機と前記蓄電装置を含む電動駆動系を使用するハイブリッドモードと前記電動駆動系を停止させる非ハイブリッドモードのいずれかを選択するモード選択装置と、前記モード選択装置において前記非ハイブリッドモードが選択されたとき、前記電動駆動系を停止させ、かつ前記油圧ポンプの最大吸収トルクを低下させる減トルク制御と前記エンジンの目標回転数を低下させるエンジン回転数低下制御とを行う第2制御装置とを備えるものとする。   In order to achieve the above object, the present invention provides an engine, a hydraulic pump driven by the engine, a plurality of hydraulic actuators driven by pressure oil discharged from the hydraulic pump, and a target rotational speed of the engine Connected to the engine, an engine speed detecting device that detects an engine speed that is the actual engine speed, a governor device that adjusts the fuel injection amount of the engine, and A generator / motor, and a power storage device that exchanges power between the generator / motor, wherein the engine has a full load characteristic when the fuel injection amount of the governor device is maximum, and a fuel of the governor device. Output torque characteristics including regulation characteristics until the injection amount increases to the maximum, and the full load characteristics are rated at the engine speed. The hybrid type work is set such that the output torque of the engine increases as the rotational speed decreases to a predetermined rotational speed, and the engine output torque becomes the maximum torque when the engine rotational speed decreases to the predetermined rotational speed. In the machine, the engine has a rated torque of the engine that is an engine output torque when the engine speed is at a rated speed, which is smaller than a maximum absorption torque of the hydraulic pump, and the hydraulic output is obtained only by the output torque of the engine. A first control device that is an engine downsized to a size that cannot cover the maximum absorption torque of the pump, drives the generator / motor as an electric motor, and controls the generator / motor to drive the hydraulic pump in an assisting manner; , A hybrid using an electric drive system including the power generator / motor and the power storage device. A mode selection device that selects one of a mode and a non-hybrid mode that stops the electric drive system; and when the non-hybrid mode is selected in the mode selection device, the electric drive system is stopped, and the hydraulic pump And a second control device that performs a torque reduction control for reducing the maximum absorption torque of the engine and an engine speed reduction control for reducing the target engine speed of the engine.

このように構成した本発明においては、第1制御装置を設け、発電・電動機を電動機として駆動し、油圧ポンプをアシスト駆動するよう発電・電動機を制御するようにしたため、エンジンの出力トルクだけでは油圧ポンプの最大吸収トルクを賄えない大きさにエンジンがダウンサイジングされていても、高速走行時等、油圧ポンプの吸収トルクが最大となる高負荷作業も含め、従来通りの作業が可能となる。また、エンジンをダウンサイジングしたため、燃費の向上、排ガス特性の改善及び騒音の低減を図ることができる。   In the present invention configured as described above, the first control device is provided so that the generator / motor is driven as an electric motor and the generator / motor is controlled to assist the hydraulic pump. Even if the engine is downsized to a size that does not cover the maximum absorption torque of the pump, it is possible to perform conventional operations including high-load operations in which the absorption torque of the hydraulic pump is maximum, such as during high-speed traveling. In addition, since the engine is downsized, it is possible to improve fuel consumption, improve exhaust gas characteristics, and reduce noise.

また、モード選択装置と第2制御装置を設け、非ハイブリッドモードを選択できるようにし、非ハイブリッドモードが選択されたとき、電動駆動系を停止させかつ油圧ポンプの最大吸収トルクを低下させる減トルク制御とエンジンの目標回転数を低下させるエンジン回転数低下制御とを行うようにしたため、電動駆動系が使用できなくなった場合に非ハイブリッドモードを選択することで、エンジンストールを起こすことなくエンジンだけで作業機械を動作させることができる。   Further, a mode selection device and a second control device are provided so that the non-hybrid mode can be selected, and when the non-hybrid mode is selected, the electric drive system is stopped and the torque reduction control for reducing the maximum absorption torque of the hydraulic pump is reduced. And engine speed reduction control that lowers the target engine speed, so when the electric drive system cannot be used, the non-hybrid mode is selected, so that only the engine can work without causing engine stall. The machine can be operated.

本発明によれば、ハイブリッド方式を採用してエンジンを小型化することにより燃費の向上、排ガス特性の改善及び騒音の低減を図るとともに、電動駆動系が使用できなくなった場合にエンジンストールを起こすことなくエンジンだけで作業機械を動作させることができる。   According to the present invention, by adopting a hybrid system and downsizing the engine, fuel efficiency is improved, exhaust gas characteristics are improved, noise is reduced, and engine stall occurs when the electric drive system becomes unusable. In addition, the work machine can be operated only by the engine.

本発明の一実施の形態に係わるハイブリッド式作業機械の駆動システム(ハイブリッド駆動システム)を示す図である。It is a figure showing a drive system (hybrid drive system) of a hybrid type work machine concerning one embodiment of the present invention. ポンプレギュレータの構成の詳細を示す図である。It is a figure which shows the detail of a structure of a pump regulator. ポンプレギュレータのトルク制御によるポンプトルク特性図である。It is a pump torque characteristic figure by torque control of a pump regulator. 油圧系のコントロールバルブと複数の油圧アクチュエータのうち、左右の走行用油圧モータに係わる油圧回路部分を示す図である。It is a figure which shows the hydraulic circuit part regarding the right and left traveling hydraulic motor among the hydraulic control valve and a plurality of hydraulic actuators. 本実施の形態に係わる油圧ショベルの外観を示す図である。It is a figure which shows the external appearance of the hydraulic shovel concerning this Embodiment. エンジンコントローラの制御機能を示す機能ブロック図である。It is a functional block diagram which shows the control function of an engine controller. エンジンコントローラの燃料噴射量制御部が演算に用いる燃料噴射量特性を示す図である。It is a figure which shows the fuel injection quantity characteristic which a fuel injection quantity control part of an engine controller uses for a calculation. 図7に示す燃料噴射特性により燃料噴射量が制御されたときのエンジンの出力トルク特性を示す図であり、目標回転数が最大であるときのものであるIt is a figure which shows the output torque characteristic of an engine when fuel injection quantity is controlled by the fuel injection characteristic shown in FIG. 7, and is a thing when a target rotation speed is the maximum. 目標回転数とエンジン出力馬力と最大馬力回転数の関係を示す図である。It is a figure which shows the relationship between target rotation speed, engine output horsepower, and maximum horsepower rotation speed. 図3のポンプトルク特性図にエンジンの最大トルクTEmaxeと定格トルクToptを重ねて示す図である。FIG. 4 is a diagram showing an engine maximum torque TEmaxe and a rated torque Top superimposed on the pump torque characteristic diagram of FIG. 3. 車体コントローラの制御機能を示す機能ブロック図である。It is a functional block diagram which shows the control function of a vehicle body controller. 車体コントローラのハイブリッドモード制御部の処理手順を示すフローチャートである。It is a flowchart which shows the process sequence of the hybrid mode control part of a vehicle body controller. 車体コントローラのモード選択部及び非ハイブリッドモード制御部のそれぞれの処理手順を説明するフローチャートである。It is a flowchart explaining each processing procedure of the mode selection part of a vehicle body controller, and a non-hybrid mode control part. 図8に示したエンジンの出力トルクとアシスト制御による発電・電動機の出力トルクを組み合わせたハイブリッド駆動システムの出力トルク特性を示す図であり、図8と同様、目標回転数が最大であるときのものである。It is a figure which shows the output torque characteristic of the hybrid drive system which combined the output torque of the engine shown in FIG. 8, and the output torque of the generator / motor by assist control, and is a thing when the target number of rotations is the maximum like FIG. It is. アシスト制御によるシステム出力トルクの変化を示す図である。It is a figure which shows the change of the system output torque by assist control. バッテリ充電制御によるシステム出力トルクの変化を示す図である。It is a figure which shows the change of the system output torque by battery charge control. 油圧ポンプの減トルク制御とエンジンの回転数低下制御の効果を示す図である。It is a figure which shows the effect of the torque reduction control of a hydraulic pump, and the rotation speed reduction control of an engine. 従来の一般的なミニショベルの油圧ポンプのPQ特性(馬力特性)と代表的な出力使用範囲との関係を示す図である。It is a figure which shows the relationship between the PQ characteristic (horsepower characteristic) of the hydraulic pump of the conventional common mini excavator, and a typical output use range. 同ミニショベルのエンジン出力馬力特性と代表的な出力使用範囲との関係を示す図である。It is a figure which shows the relationship between the engine output horsepower characteristic of the same mini excavator, and the typical output use range. 従来の一般的なミニショベルのエンジンの出力トルク特性を示す図である。It is a figure which shows the output torque characteristic of the engine of the conventional common mini excavator. 本発明の実施の形態のミニショベルの油圧ポンプのPQ特性(馬力特性)と代表的な出力使用範囲との関係を示す図である。It is a figure which shows the relationship between the PQ characteristic (horsepower characteristic) of the hydraulic pump of the mini excavator of embodiment of this invention, and a typical output use range. エンジンと発電・電動機とを組み合わせたハイブリッド駆動システムの出力馬力特性と代表的な出力使用範囲との関係を示す図である。It is a figure which shows the relationship between the output horsepower characteristic of the hybrid drive system which combined the engine and the generator / motor, and the typical output use range.

以下、本発明の実施の形態を図面を用いて説明する。   Hereinafter, embodiments of the present invention will be described with reference to the drawings.

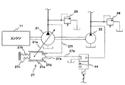
図1は、本発明の一実施の形態に係わるハイブリッド式作業機械の駆動システム(ハイブリッド駆動システム)を示す図である。本実施の形態において、作業機械は例えば8トンクラス以下の小型の油圧ショベルである。   FIG. 1 is a diagram showing a drive system (hybrid drive system) for a hybrid work machine according to an embodiment of the present invention. In the present embodiment, the work machine is a small hydraulic excavator of 8 ton class or less, for example.

図1において、本実施の形態の油圧ショベルのハイブリッド駆動システムはエンジン駆動系1と、油圧駆動系2と、電動駆動系3と、制御系4とを有している。   In FIG. 1, the hybrid drive system of the hydraulic excavator according to the present embodiment has an engine drive system 1, a hydraulic drive system 2, an electric drive system 3, and a control system 4.

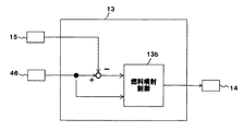
エンジン駆動系1は、ディーゼルエンジン11と、エンジンコントローラ13と、電子ガバナ14と、エンジン回転数検出装置15とを備えている。ディーゼルエンジン11は、後述する如く、従来のものよりもダウンサイジングされた(エンジン出力の小さい)エンジンである。電子ガバナ14に代えてメカニカルガバナを用いてもよい。   The engine drive system 1 includes a diesel engine 11, an engine controller 13, an electronic governor 14, and an engine speed detection device 15. As will be described later, the diesel engine 11 is an engine downsized (smaller engine output) than the conventional one. A mechanical governor may be used instead of the electronic governor 14.

エンジン回転数検出装置15は、エンジン11の実際の回転数(エンジン回転数)を検出するものであり、エンジンコントローラ13は、エンジン11の目標回転数(後述)とエンジン回転数検出装置15によって検出したエンジン11の実回転数(エンジン回転数)とを入力し、その目標回転数とエンジン回転数とに基づいて目標燃料噴射量を求め、電子ガバナ14を制御する。電子ガバナ14は、その目標燃料噴射量に基づいてエンジンの各気筒に噴射される燃料噴射量を調整し、エンジン出力トルクと回転数を制御する。目標回転数とは、エンジン11に負荷が投入されていないときのエンジン回転数を意味する。エンジン回転数検出装置15によって検出されたエンジン回転数の信号は、エンジンコントローラ13を介して車体コントローラ46(後述)にも入力される。   The engine speed detector 15 detects the actual speed of the engine 11 (engine speed), and the engine controller 13 detects the target speed (described later) of the engine 11 and the engine speed detector 15. The actual engine speed (engine speed) of the engine 11 is input, the target fuel injection amount is obtained based on the target engine speed and the engine speed, and the electronic governor 14 is controlled. The electronic governor 14 adjusts the fuel injection amount injected into each cylinder of the engine based on the target fuel injection amount, and controls the engine output torque and the rotational speed. The target rotational speed means the engine rotational speed when no load is applied to the engine 11. The engine speed signal detected by the engine speed detector 15 is also input to the vehicle body controller 46 (described later) via the engine controller 13.

エンジン1の出力軸は大径ギヤ6aと小径ギヤ6bからなる動力分配機6を介して油圧駆動系2と電動駆動系3に接続されている。   The output shaft of the engine 1 is connected to the hydraulic drive system 2 and the electric drive system 3 via a power distributor 6 composed of a large diameter gear 6a and a small diameter gear 6b.

油圧駆動系2は、油圧ポンプ21及びパイロットポンプ22と、コントロールバルブ23と、複数の油圧アクチュエータ24a〜24hと、複数の操作装置25,26とを備えている。   The hydraulic drive system 2 includes a hydraulic pump 21 and a pilot pump 22, a control valve 23, a plurality of hydraulic actuators 24a to 24h, and a plurality of operating devices 25 and 26.

油圧ポンプ21はエンジン11の出力軸に大径ギヤ6aと小径ギヤ6bからなる動力分配機6を介して接続され、エンジン11により駆動される。油圧ポンプ21から吐出された圧油はコントロールバルブ23を介して複数の油圧アクチュエータ24a〜24hに供給され、それぞれの被駆動体を駆動する。油圧ポンプ21は可変容量型であり、押しのけ容積可変機構(例えば斜板)21aと、押しのけ容積可変機構21aの傾転位置を調整し、油圧ポンプ21の容量を制御するポンプレギュレータ27とを備えている。   The hydraulic pump 21 is connected to the output shaft of the engine 11 via a power distributor 6 including a large diameter gear 6 a and a small diameter gear 6 b and is driven by the engine 11. The pressure oil discharged from the hydraulic pump 21 is supplied to the plurality of hydraulic actuators 24a to 24h via the control valve 23, and drives each driven body. The hydraulic pump 21 is a variable displacement type, and includes a displacement displacement variable mechanism (for example, a swash plate) 21 a and a pump regulator 27 that adjusts the tilt position of the displacement displacement variable mechanism 21 a and controls the displacement of the hydraulic pump 21. Yes.

複数の油圧アクチュエータ24a〜24hは、左右の走行用油圧モータと、それ以外の油圧アクチュエータを含み、それ以外の油圧アクチュエータは、例えば、ブーム用油圧シリンダ、アーム用油圧シリンダ、バケット用油圧シリンダ、スイング用油圧シリンダ、ブレード用油圧シリンダを含む(後述)。   The plurality of hydraulic actuators 24a to 24h include left and right traveling hydraulic motors and other hydraulic actuators. Other hydraulic actuators include, for example, a boom hydraulic cylinder, an arm hydraulic cylinder, a bucket hydraulic cylinder, and a swing. Hydraulic cylinders for blades and blades (described later).

コントロールバルブ23は複数の油圧アクチュエータ24a〜24hに対応する複数のメインスプールを内蔵し、これらメインスプールは操作装置25,26から出力される油圧信号により切換操作される。操作装置25は左右の走行用の操作装置を代表したものであり、操作装置26は走行以外の操作装置を代表したものである。   The control valve 23 incorporates a plurality of main spools corresponding to the plurality of hydraulic actuators 24a to 24h, and these main spools are switched by hydraulic signals output from the operation devices 25 and 26. The operating device 25 is representative of left and right traveling operating devices, and the operating device 26 is representative of operating devices other than traveling.

電動駆動系3は、発電・電動機31と、インバータ32と、バッテリ(蓄電装置)33と、バッテリコントローラ34とを備えている。   The electric drive system 3 includes a generator / motor 31, an inverter 32, a battery (power storage device) 33, and a battery controller 34.

発電・電動機31はエンジン11の出力軸に動力分配機6を介して接続され、バッテリ33の充電量の不足時にエンジン11に余剰トルクがあるときは、その余剰トルクによって駆動されて発電機として作動する。発電・電動機31が発生した電気エネルギはインバータ32を介してバッテリ33に蓄電される。また、発電・電動機31は、バッテリ33の充電状態(SOC)が規定値以上でありかつ油圧ポンプ21をアシスト駆動する必要があるときは、インバータ32を介してバッテリ33の電気エネルギが供給され、電動機として作動する。   The generator / motor 31 is connected to the output shaft of the engine 11 via the power distributor 6, and when the engine 11 has surplus torque when the charge amount of the battery 33 is insufficient, it is driven by the surplus torque and operates as a generator. To do. Electric energy generated by the generator / motor 31 is stored in the battery 33 via the inverter 32. In addition, when the state of charge (SOC) of the battery 33 is equal to or greater than a specified value and the hydraulic pump 21 needs to be assisted and driven, the generator / motor 31 is supplied with the electric energy of the battery 33 via the inverter 32, Operates as an electric motor.

制御系4は、エンジンコントロールダイヤル12と、操作パネル35と、走行速度切換スイッチ41と、トルク制御電磁弁44と、走行速度切替電磁弁45と、車体コントローラ46とを備えている。   The control system 4 includes an engine control dial 12, an operation panel 35, a travel speed switching switch 41, a torque control electromagnetic valve 44, a travel speed switching electromagnetic valve 45, and a vehicle body controller 46.

エンジンコントロールダイヤル12はオペレータの操作によりエンジンの目標回転数を指示するものである。操作パネル35はモニタ35aを有し、このモニタ35aに後述する警告情報を含む種々の情報が表示される。また、操作パネル35はモード選択スイッチ35bを有している。モード選択スイッチ35bは、電動駆動系3を使用するハイブリッドモードと電動駆動系3を使用しない非ハイブリッドモードのいずれを選択するかをオペレータ又は保守員が指示するものである。モード選択スイッチ35bに代えて、モニタ35aの表示操作でハイブリッドモードと非ハイブリッドモードのいずれを選択するかを指示するようにしてもよい。走行速度切換スイッチ41は走行高速と走行低速のいずれを選択するかを指示するものである。   The engine control dial 12 instructs the target engine speed by an operator's operation. The operation panel 35 has a monitor 35a, and various information including warning information described later is displayed on the monitor 35a. The operation panel 35 has a mode selection switch 35b. The mode selection switch 35b is used by an operator or maintenance personnel to indicate which of the hybrid mode using the electric drive system 3 and the non-hybrid mode not using the electric drive system 3 is selected. Instead of the mode selection switch 35b, it may be instructed to select either the hybrid mode or the non-hybrid mode by the display operation of the monitor 35a. The traveling speed changeover switch 41 instructs whether to select a traveling high speed or a traveling low speed.

車体コントローラ46は、エンジンコントロールダイヤル12、走行速度切換スイッチ41、トルク制御電磁弁44及び走行速度切替電磁弁45と電気的に接続されている。また、車体コントローラ46はインバータ32、バッテリコントローラ34、操作パネル35及びエンジンコントローラ13とも電気的に接続されている。車体コントローラ46は、モード選択スイッチ35b、エンジンコントロールダイヤル12及び走行速度切換スイッチ41のそれぞれの指示信号、バッテリコントローラ34の蓄電情報及びエンジンコントローラ13のエンジン情報を入力し、所定の演算処理を行い、インバータ32、トルク制御電磁弁44、走行速度切替電磁弁45及びエンジンコントローラ13に制御信号を出力するとともに、操作パネル35に表示信号を出力する。   The vehicle body controller 46 is electrically connected to the engine control dial 12, the travel speed switching switch 41, the torque control electromagnetic valve 44, and the travel speed switching electromagnetic valve 45. The vehicle body controller 46 is also electrically connected to the inverter 32, the battery controller 34, the operation panel 35 and the engine controller 13. The vehicle body controller 46 inputs the instruction signals of the mode selection switch 35b, the engine control dial 12 and the travel speed changeover switch 41, the storage information of the battery controller 34, and the engine information of the engine controller 13, and performs predetermined arithmetic processing. A control signal is output to the inverter 32, the torque control electromagnetic valve 44, the travel speed switching electromagnetic valve 45, and the engine controller 13, and a display signal is output to the operation panel 35.

図2はポンプレギュレータ27の構成の詳細を示す図である。   FIG. 2 is a diagram showing details of the configuration of the pump regulator 27.

ポンプレギュレータ27は、複数の操作装置25,26の操作量に基づく要求流量に応じた流量を吐出するよう油圧ポンプ21の押しのけ容積可変機構21aの傾転位置を制御する(したがって油圧ポンプ21の容量を制御する)LS制御部等の要求流量応答制御部と、油圧ポンプ21の最大吸収トルクを予め定められた値を超えないように油圧ポンプ21の押しのけ容積可変機構21aの最大傾転位置を制御する(したがって油圧ポンプ21の最大容量を制御する)トルク制御部とを有している。図2は、図示の簡略化のため、トルク制御部のみ図示している。また、動力分配機6は図示を省略している。   The pump regulator 27 controls the tilt position of the displacement displacement variable mechanism 21a of the hydraulic pump 21 so as to discharge a flow rate corresponding to the required flow rate based on the operation amounts of the plurality of operating devices 25 and 26 (therefore, the capacity of the hydraulic pump 21). Control the maximum tilt position of the displacement variable mechanism 21a of the hydraulic pump 21 so that the maximum absorption torque of the hydraulic pump 21 does not exceed a predetermined value. And a torque control unit (which controls the maximum capacity of the hydraulic pump 21). FIG. 2 shows only the torque control unit for simplification of illustration. The power distributor 6 is not shown.

図2において、ポンプレギュレータ27は、油圧ポンプ21の押しのけ容積可変機構21aに作動的に連結された制御スプール27aと、この制御スプール27aに対して油圧ポンプ21の容量増加方向に作用する第1及び第2の2つのバネ27b,27cと、スプール27aに対して油圧ポンプ21の容量減少方向に作用する第1及び第2の2つの受圧部27d,27eとを有している。第1受圧部27dには油圧ポンプ21の吐出圧力がパイロットライン27fを介して導入され、第2受圧部27eにはトルク制御電磁弁44からの制御圧力が制御油路27gを介して導入される。第1及び第2バネ27b,27cは油圧ポンプ21の最大吸収トルクを設定するものであり、第2受圧部27eはその最大吸収トルクを調整する(減トルク制御する)ものである。第1バネ27bは第2バネ27cよりも長く、制御スプール27aが図示の初期位置にあるときは第1バネ27bのみが制御スプール27aに接触して、制御スプール27aを図示右方向に付勢する。制御スプール27aが図示左方向にある程度移動すると第2バネ27cも制御スプール27aに接触して、第1及び第2バネ27b,27cの両方が制御スプール27aを図示右方向に付勢する。   In FIG. 2, the pump regulator 27 includes a control spool 27 a operatively connected to a displacement displacement variable mechanism 21 a of the hydraulic pump 21, and a first and a second acting on the control spool 27 a in the capacity increasing direction of the hydraulic pump 21. The second two springs 27b and 27c and the first and second pressure receiving portions 27d and 27e acting on the spool 27a in the direction of decreasing the capacity of the hydraulic pump 21 are provided. The discharge pressure of the hydraulic pump 21 is introduced to the first pressure receiving portion 27d via the pilot line 27f, and the control pressure from the torque control electromagnetic valve 44 is introduced to the second pressure receiving portion 27e via the control oil passage 27g. . The first and second springs 27b and 27c set the maximum absorption torque of the hydraulic pump 21, and the second pressure receiving portion 27e adjusts the maximum absorption torque (controls torque reduction). The first spring 27b is longer than the second spring 27c. When the control spool 27a is in the initial position shown in the figure, only the first spring 27b contacts the control spool 27a and urges the control spool 27a rightward in the figure. . When the control spool 27a moves to some extent in the left direction in the figure, the second spring 27c also contacts the control spool 27a, and both the first and second springs 27b and 27c urge the control spool 27a in the right direction in the figure.

トルク制御電磁弁44は、車体コントローラ46から制御信号が出力されていないときは図示のOFF位置にあり、ポンプレギュレータ27の第2受圧部27eをタンクに連通させる。車体コントローラ46から制御信号が出力されると、トルク制御電磁弁44はON位置に切り換えられ、第2受圧部27eに制御圧力としてパイロットポンプ22の吐出圧力が導かれる。パイロットポンプ22の吐出圧力はパイロットリリーフ弁28により一定の値(例えば4Mpa)に保たれている。   The torque control solenoid valve 44 is in the illustrated OFF position when no control signal is output from the vehicle body controller 46, and allows the second pressure receiving portion 27e of the pump regulator 27 to communicate with the tank. When a control signal is output from the vehicle body controller 46, the torque control solenoid valve 44 is switched to the ON position, and the discharge pressure of the pilot pump 22 is guided to the second pressure receiving portion 27e as the control pressure. The discharge pressure of the pilot pump 22 is maintained at a constant value (for example, 4 Mpa) by the pilot relief valve 28.

図3はポンプレギュレータ27のトルク制御によるポンプトルク特性図であり、横軸は油圧ポンプ21の吐出圧力を示し、縦軸は油圧ポンプ21の容量を示している。   FIG. 3 is a pump torque characteristic diagram by torque control of the pump regulator 27, the horizontal axis indicates the discharge pressure of the hydraulic pump 21, and the vertical axis indicates the capacity of the hydraulic pump 21.

図3において、符号TP1及びTP2で示される2つの直線(実線)からなる折れ曲がり線は第1及び第2の2つのバネ27b,27cにより設定される最大吸収トルクの特性であり、直線TP1,TP2に接する符号TPLcで示される曲線は油圧ポンプ21の最大吸収トルク(トルク制御の制限トルク)を示している。   In FIG. 3, a bent line composed of two straight lines (solid lines) indicated by reference numerals TP1 and TP2 is a characteristic of the maximum absorption torque set by the first and second two springs 27b and 27c, and the straight lines TP1 and TP2 A curve indicated by a symbol TPLc in contact with indicates the maximum absorption torque of the hydraulic pump 21 (torque control limit torque).

ポンプレギュレータ27のトルク制御部は、油圧ポンプ21の吐出圧力に応じて油圧ポンプ21の押しのけ容積可変機構21aの最大傾転位置(したがって油圧ポンプ21の最大容量)を制限することで油圧ポンプ21の最大吸収トルクを制限する。トルク制御電磁弁44が図2に示すOFF位置にあるとき、ポンプレギュレータ27の第2受圧部27eはタンクに連通し、最大吸収トルク特性は第1及び第2の2つのバネ27b,27cによって実線の直線TP1,TP2からなる折れ曲げ線のように設定される。この場合、油圧ポンプ21の吐出圧力の上昇時に吐出圧力が第1の値P1を超える前は、油圧ポンプ21の吐出圧力が導かれる第1受圧部27dの油圧力は第1バネ27bの付勢力より小さく、油圧ポンプ21の最大容量はqmaxに維持される。すなわち、油圧ポンプ21の容量は要求流量応答制御部の制御によりqmaxまで増加させることができる。油圧ポンプ21の吐出圧力が更に上昇して第1の値P1を超えると、油圧ポンプ21の吐出圧力が導かれる第1受圧部27dの油圧力は第1バネ27bの付勢力より大きくなり、制御スプール27aは図示左方向に移動して、油圧ポンプ21の最大容量は折れ曲げ線の直線TP1に沿って減少する。これにより要求流量応答制御部により制御される油圧ポンプ21の容量は直線TP1が規定する最大容量以下に制限され、油圧ポンプ21の吸収トルク(ポンプ吐出圧力と容量の積)は制限トルクTPLcを超えないように制御される。   The torque control unit of the pump regulator 27 limits the maximum tilt position of the displacement displacement mechanism 21a of the hydraulic pump 21 according to the discharge pressure of the hydraulic pump 21 (therefore, the maximum capacity of the hydraulic pump 21). Limit the maximum absorption torque. When the torque control solenoid valve 44 is in the OFF position shown in FIG. 2, the second pressure receiving portion 27e of the pump regulator 27 communicates with the tank, and the maximum absorption torque characteristic is indicated by a solid line by the first and second springs 27b and 27c. It is set like a bent line composed of the straight lines TP1 and TP2. In this case, before the discharge pressure exceeds the first value P1 when the discharge pressure of the hydraulic pump 21 increases, the oil pressure of the first pressure receiving portion 27d to which the discharge pressure of the hydraulic pump 21 is guided is the urging force of the first spring 27b. The maximum capacity of the hydraulic pump 21 is maintained at qmax. That is, the capacity of the hydraulic pump 21 can be increased to qmax under the control of the required flow rate response control unit. When the discharge pressure of the hydraulic pump 21 further increases and exceeds the first value P1, the oil pressure of the first pressure receiving portion 27d to which the discharge pressure of the hydraulic pump 21 is guided becomes larger than the urging force of the first spring 27b, and the control The spool 27a moves to the left in the figure, and the maximum capacity of the hydraulic pump 21 decreases along the straight line TP1 of the fold line. As a result, the capacity of the hydraulic pump 21 controlled by the required flow rate response control unit is limited to the maximum capacity defined by the straight line TP1, and the absorption torque (product of pump discharge pressure and capacity) of the hydraulic pump 21 exceeds the limit torque TPLc. Not to be controlled.

油圧ポンプ21の吐出圧力が更に上昇して第2の値P2を超えると、制御スプール27aは第2バネ27cにも接触して、油圧ポンプ21の吐出圧力の上昇量に対する制御スプール27aの移動量の割合(油圧ポンプ21の容量の減少割合)は減少し、油圧ポンプ21の最大容量は直線TP1よりも傾きの小さい直線TP2に沿って減少する。この場合も、油圧ポンプ21の吸収トルクは制限トルクTPLcを超えないように制御される。油圧ポンプ21の吐出圧力がメインリリーフ弁29の設定圧力に達すると、それ以上油圧ポンプ21の吐出圧力の上昇は阻止される。   When the discharge pressure of the hydraulic pump 21 further increases and exceeds the second value P2, the control spool 27a also contacts the second spring 27c, and the movement amount of the control spool 27a with respect to the increase amount of the discharge pressure of the hydraulic pump 21 (The reduction rate of the capacity of the hydraulic pump 21) decreases, and the maximum capacity of the hydraulic pump 21 decreases along the straight line TP2 having a smaller slope than the straight line TP1. Also in this case, the absorption torque of the hydraulic pump 21 is controlled so as not to exceed the limit torque TPLc. When the discharge pressure of the hydraulic pump 21 reaches the set pressure of the main relief valve 29, further increase in the discharge pressure of the hydraulic pump 21 is prevented.

トルク制御電磁弁44がON位置に切り換わると、第2受圧部27eに制御圧力が導かれ、制御スプール27aには第2受圧部27eの油圧力が第1及び第2バネ27b,27cの付勢力に対向して作用する。これにより第1及び第2バネ27b,27cによる最大吸収トルクの設定は、第2受圧部27eの油圧力の分だけ減少するよう調整され、最大吸収トルク特性は、実線の直線TP1,TP2からなる折れ曲げ線から一点鎖線の直線TP3,TP4からなる折れ曲げ線へとシフトする。その結果、油圧ポンプ21の吐出圧力の上昇時、油圧ポンプ21の最大容量は折れ曲げ線の一点鎖線の直線TP3,TP4に沿って減少する。このときの油圧ポンプ21の最大吸収トルク(ポンプ吐出圧力と最大容量の積)は直線TP1,TP2の最大吸収トルクTPLcから直線TP3,TP4に接する曲線のTPLdへと小さくなる。本願明細書では、この制御を減トルク制御という。   When the torque control solenoid valve 44 is switched to the ON position, the control pressure is guided to the second pressure receiving portion 27e, and the oil pressure of the second pressure receiving portion 27e is applied to the control spool 27a by the first and second springs 27b and 27c. Acts against power. As a result, the setting of the maximum absorption torque by the first and second springs 27b and 27c is adjusted so as to decrease by the amount of the oil pressure of the second pressure receiving portion 27e, and the maximum absorption torque characteristic is composed of solid lines TP1 and TP2. The fold line is shifted to a fold line composed of alternate long and short dash lines TP3 and TP4. As a result, when the discharge pressure of the hydraulic pump 21 increases, the maximum capacity of the hydraulic pump 21 decreases along the dashed lines TP3 and TP4. At this time, the maximum absorption torque (product of pump discharge pressure and maximum capacity) of the hydraulic pump 21 decreases from the maximum absorption torque TPLc of the straight lines TP1 and TP2 to the TPLd of a curve in contact with the straight lines TP3 and TP4. In the present specification, this control is referred to as reduced torque control.

図4は、油圧系のコントロールバルブと複数の油圧アクチュエータのうち、左右の走行用油圧モータに係わる油圧回路部分を示す図である。図中、左右の走行用のメインスプールを符号23a,23bで示し、左右の走行用油圧モータを符号24a,24bで示している。左右の油圧モータ24a,24bはメインスプール23a,23bを介して油圧ポンプ21に接続されている。   FIG. 4 is a diagram showing a hydraulic circuit portion related to the left and right traveling hydraulic motors among the hydraulic control valve and a plurality of hydraulic actuators. In the drawing, the left and right traveling main spools are denoted by reference numerals 23a and 23b, and the left and right traveling hydraulic motors are denoted by reference numerals 24a and 24b. The left and right hydraulic motors 24a and 24b are connected to the hydraulic pump 21 via main spools 23a and 23b.

左右の油圧モータ24a,24bはそれぞれ可変容量型であり、押しのけ容積可変機構(斜板)24a1,24b1と、押しのけ容積可変機構24a1,24b1をそれぞれ駆動する制御ピストン24a2,24b2とを備えている。制御ピストン24a2,24b2の一側には受圧部24a3,24b3が形成され、その反対側にはバネ24a4,24b4が配置されている。受圧部24a3,24b3は走行速度切替電磁弁45を介してパイロットポンプ22とタンクに接続されている。   The left and right hydraulic motors 24a and 24b are each of a variable displacement type, and include displacement displacement mechanisms (swash plates) 24a1 and 24b1, and control pistons 24a2 and 24b2 that drive the displacement displacement mechanisms 24a1 and 24b1, respectively. Pressure receiving portions 24a3 and 24b3 are formed on one side of the control pistons 24a2 and 24b2, and springs 24a4 and 24b4 are arranged on the opposite side. The pressure receiving portions 24a3 and 24b3 are connected to the pilot pump 22 and the tank via a travel speed switching electromagnetic valve 45.

走行速度切替電磁弁45は車体コントローラ46から出力される制御信号により図示のOFF位置からON位置に切り換わる。車体コントローラ46は、走行速度切換スイッチ41が走行低速を指示しているときは走行速度切替電磁弁45をOFF位置に保持し、走行速度切換スイッチ41が走行高速を指示するときは制御信号を出力し、走行速度切替電磁弁45をON位置に切り換える。   The travel speed switching electromagnetic valve 45 is switched from the OFF position shown in the figure to the ON position by a control signal output from the vehicle body controller 46. The vehicle body controller 46 holds the travel speed switching electromagnetic valve 45 at the OFF position when the travel speed changeover switch 41 instructs a travel low speed, and outputs a control signal when the travel speed changeover switch 41 instructs a travel high speed. Then, the traveling speed switching electromagnetic valve 45 is switched to the ON position.

走行速度切替電磁弁45が図示のOFF位置にあるとき、制御ピストン24a2,24b2の受圧部24a3,24b3はタンクに連通しており、制御ピストン24a2,24b2はバネ24a4,24b4の力で押されて図示の位置にあって、押しのけ容積可変機構24a1,24b1は大傾転位置(大容量位置)に保持されている。走行速度切替電磁弁45がON位置に切り換えられると、制御ピストン24a2,24b2の受圧部24a3,24b3に制御圧力としてパイロットポンプ22の吐出圧力が導かれ、これにより制御ピストン24a2,24b2が作動して、押しのけ容積可変機構24a1,24b1は大傾転位置(大容量位置)から小傾転位置(小容量位置)へと切り換えられる。大傾転位置では油圧モータ24a,24bは低速回転が可能であり、走行低速に適した状態となり(低速大容量モード)、小傾転位置では油圧モータ24a,24bは高速回転が可能であり、走行高速に適した状態となる(高速小容量モード)。   When the travel speed switching electromagnetic valve 45 is in the illustrated OFF position, the pressure receiving portions 24a3 and 24b3 of the control pistons 24a2 and 24b2 communicate with the tank, and the control pistons 24a2 and 24b2 are pushed by the force of the springs 24a4 and 24b4. At the position shown in the figure, the displacement displacement mechanisms 24a1 and 24b1 are held at the large tilt position (large capacity position). When the traveling speed switching electromagnetic valve 45 is switched to the ON position, the discharge pressure of the pilot pump 22 is introduced as the control pressure to the pressure receiving portions 24a3 and 24b3 of the control pistons 24a2 and 24b2, thereby operating the control pistons 24a2 and 24b2. The displacement displacement mechanisms 24a1 and 24b1 are switched from the large tilt position (large capacity position) to the small tilt position (small capacity position). In the large tilt position, the hydraulic motors 24a and 24b can rotate at a low speed, and are in a state suitable for low speed travel (low speed and large capacity mode), and in the small tilt position, the hydraulic motors 24a and 24b can rotate at a high speed. It is in a state suitable for high-speed driving (high-speed small-capacity mode)

図5は本実施の形態に係わる油圧ショベルの外観を示す図である。   FIG. 5 is a view showing the appearance of the hydraulic excavator according to the present embodiment.

図5において、油圧ショベルは後方小旋回型の小型の油圧ショベルであり、この油圧ショベルは、下部走行体101と、この下部走行体101上に旋回可能に搭載された上部旋回体102と、この上部旋回体102の先端部分にスイングポスト103を介して上下及び左右方向に回動可能に連結されたフロント作業機104とを備えている。下部走行体101はクローラ方式であり、トラックフレーム105の前方側に上下動可能な排土用のブレード106が設けられている。上部旋回体102は基礎下部構造をなす旋回台107と、旋回台107上に設けられたキャビン(運転室)108とを備えている。フロント作業機104はブーム111と、アーム112と、バケット113とを備え、ブーム111の基端はスイングポスト103にピン結合され、ブーム111の先端はアーム112の基端にピン結合され、アーム112の先端はバケット113にピン結合されている。   In FIG. 5, the hydraulic excavator is a small hydraulic excavator of a small rear turning type. The hydraulic excavator includes a lower traveling body 101, an upper rotating body 102 that is rotatably mounted on the lower traveling body 101, and A front work machine 104 is connected to the tip of the upper swing body 102 via a swing post 103 so as to be pivotable in the vertical and horizontal directions. The lower traveling body 101 is of a crawler type, and a blade 106 for earth removal that can move up and down is provided on the front side of the track frame 105. The upper swivel body 102 includes a swivel base 107 having a basic lower structure, and a cabin (operator's cab) 108 provided on the swivel base 107. The front work machine 104 includes a boom 111, an arm 112, and a bucket 113. The base end of the boom 111 is pin-coupled to the swing post 103, and the tip of the boom 111 is pin-coupled to the base end of the arm 112. The tip of each is pin-coupled to the bucket 113.

上部旋回体102は下部走行体101に対して図示しない旋回モータにより旋回駆動され、スイングポスト103及びフロント作業機104は旋回台107に対してスイングシリンダ24gにより左右に回動駆動され、ブーム111、アーム112、バケット113は、それぞれ、ブームシリンダ24c、アームシリンダ24d、バケットシリンダ24eを伸縮することにより上下に回動駆動される。下部走行体101は左右の走行モータ24a,24bにより回転駆動され、ブレード106はブレードシリンダ24hにより上下に駆動される。   The upper turning body 102 is driven to turn by the turning motor (not shown) with respect to the lower traveling body 101, and the swing post 103 and the front work machine 104 are turned to the left and right by the swing cylinder 24g with respect to the turning table 107, and the boom 111, The arm 112 and the bucket 113 are driven to rotate up and down by expanding and contracting the boom cylinder 24c, the arm cylinder 24d, and the bucket cylinder 24e, respectively. The lower traveling body 101 is rotationally driven by left and right traveling motors 24a and 24b, and the blade 106 is driven up and down by a blade cylinder 24h.

次に、本発明の制御の詳細を説明する。   Next, details of the control of the present invention will be described.

図6はエンジンコントローラ13の制御機能を示す機能ブロック図である。エンジンコントローラ13は減算部13aと燃料噴射制御部13bとを有している。   FIG. 6 is a functional block diagram showing control functions of the engine controller 13. The engine controller 13 has a subtraction unit 13a and a fuel injection control unit 13b.

減算部13aは車体コントローラ46から目標回転数を入力し、この目標回転数からエンジン回転数検出装置15によって検出したエンジン回転数を減算し、回転数偏差ΔNを算出する。燃料噴射制御部13bは、回転数偏差ΔNに基づいて燃料噴射量を求め、その燃料噴射量を電子ガバナ14に与え、エンジン11の各気筒に噴射される燃料噴射量を制御する。   The subtracting unit 13a receives the target rotational speed from the vehicle body controller 46, subtracts the engine rotational speed detected by the engine rotational speed detecting device 15 from the target rotational speed, and calculates the rotational speed deviation ΔN. The fuel injection control unit 13b obtains a fuel injection amount based on the rotational speed deviation ΔN, gives the fuel injection amount to the electronic governor 14, and controls the fuel injection amount injected into each cylinder of the engine 11.

図7は、燃料噴射量制御部13bが演算に用いる燃料噴射量特性を示す図である。図中、横軸は目標回転数とエンジン回転数との偏差ΔNであり、縦軸は燃料噴射量Fである。この燃料噴射量特性は、回転数偏差ΔNがゼロであるとき、燃料噴射量Fは最小Fminであり、回転数偏差ΔNが増大するにしたがって燃料噴射量Fは斜めの直線F1の特性に沿って直線比例的に増大するよう設定されている。また、回転数偏差ΔNがある所定の値ΔNaに達すると、燃料噴射量Fは最大Fmaxとなり、それ以上回転数偏差ΔNが増大したときは、燃料噴射量Fは最大Fmaxの一定値に保持される。燃料噴射制御部13bは、目標回転数毎に燃料噴射量特性を記憶しておき、目標回転数に応じて対応する燃料噴射量特性を選択し、回転数偏差ΔNを燃料噴射量特性に参照して対応する燃料噴射量を求め、その燃料噴射量を電子ガバナ14に出力する。   FIG. 7 is a diagram showing a fuel injection amount characteristic used by the fuel injection amount control unit 13b for calculation. In the figure, the horizontal axis represents the deviation ΔN between the target rotational speed and the engine rotational speed, and the vertical axis represents the fuel injection amount F. In this fuel injection amount characteristic, when the rotational speed deviation ΔN is zero, the fuel injection amount F is the minimum Fmin, and as the rotational speed deviation ΔN increases, the fuel injection amount F follows the characteristic of the oblique straight line F1. It is set to increase linearly. Further, when the rotational speed deviation ΔN reaches a predetermined value ΔNa, the fuel injection amount F becomes the maximum Fmax, and when the rotational speed deviation ΔN further increases, the fuel injection amount F is held at a constant value of the maximum Fmax. The The fuel injection control unit 13b stores a fuel injection amount characteristic for each target rotational speed, selects a corresponding fuel injection amount characteristic according to the target rotational speed, and refers to the rotational speed deviation ΔN as the fuel injection amount characteristic. The corresponding fuel injection amount is obtained and the fuel injection amount is output to the electronic governor 14.

図8は、そのように燃料噴射量が制御されたときのエンジン11の出力トルク特性を示す図であり、目標回転数が最大であるときのものである。図中、横軸はエンジン回転数であり、縦軸はエンジン出力トルクである。エンジン11の出力トルク特性は、燃料噴射量が最大であるときの全負荷特性Tfと、電子ガバナ14の燃料噴射量が最大に増加するまで図7に示した燃料噴射特性に基づいて燃料噴射量が調整されるレギュレーション特性Tgmaxとで構成されている。   FIG. 8 is a diagram showing the output torque characteristics of the engine 11 when the fuel injection amount is controlled as described above, and is when the target rotational speed is maximum. In the figure, the horizontal axis represents the engine speed, and the vertical axis represents the engine output torque. The output torque characteristic of the engine 11 is based on the full load characteristic Tf when the fuel injection amount is maximum and the fuel injection amount shown in FIG. 7 until the fuel injection amount of the electronic governor 14 increases to the maximum. And a regulation characteristic Tgmax that is adjusted.

全負荷特性Tfはエンジン11の特性によって定まるものであり、エンジン回転数が定格回転数NRmax(後述)から中速の所定回転数N0に低下するにしたがってエンジン出力トルクは特性部分Tf1に沿って定格トルクTopt(後述)から増加し、エンジン回転数が所定回転数N0まで低下するとエンジン出力トルクが最大TEmaxeとなり、エンジン回転数がN0から更に低下するにしたがってエンジン出力トルクは特性部分Tf2に沿って減少するよう設定されている。   The total load characteristic Tf is determined by the characteristics of the engine 11, and the engine output torque is rated along the characteristic portion Tf1 as the engine speed decreases from a rated speed NRmax (described later) to a predetermined medium speed N0. When the engine speed increases from torque Top (described later) and the engine speed decreases to a predetermined speed N0, the engine output torque reaches the maximum TEmaxe, and the engine output torque decreases along the characteristic portion Tf2 as the engine speed further decreases from N0. It is set to do.

レギュレーション特性Tgmaxは、図7に示した燃料噴射特性に対応して設定されるものであり、本実施の形態では、エンジン回転数が低下するにしたがってエンジン11の出力トルクが増大するドループ制御の特性となっている。   The regulation characteristic Tgmax is set corresponding to the fuel injection characteristic shown in FIG. 7, and in the present embodiment, a droop control characteristic in which the output torque of the engine 11 increases as the engine speed decreases. It has become.

このドループ制御の特性においては、エンジン11に負荷が投入されていないとき燃料噴射量は最小Fminであり、このときのエンジン回転数はレギュレーション特性Tgmaxの直線と横軸との交点のNTmaxである。エンジン11の負荷トルク(油圧ポンプ21の吸収トルク)が増大し、目標回転数NTmaxと実回転数との偏差ΔNが増大するにしたがって燃料噴射量が増大し、それに伴ってエンジン出力トルクはレギュレーション特性Tgmaxの斜めの直線に沿って直線比例的に増大する。エンジン11の負荷トルクが更に増大し、回転数偏差ΔNが所定の値ΔNaに達すると燃料噴射量は最大となる(図7)。レギュレーション特性Tgmaxの直線と全負荷特性Tfとの交点は燃料噴射量が最大Fmaxで、エンジン11の出力馬力が最大となる点(後述)であり、このときの回転数(最大馬力回転数)NRmaxが定格回転数であり、エンジン出力トルクToptが定格トルクとなる。   In the characteristics of the droop control, the fuel injection amount is the minimum Fmin when no load is applied to the engine 11, and the engine speed at this time is the NTmax at the intersection of the straight line of the regulation characteristic Tgmax and the horizontal axis. As the load torque of the engine 11 (absorption torque of the hydraulic pump 21) increases and the deviation ΔN between the target rotational speed NTmax and the actual rotational speed increases, the fuel injection amount increases, and accordingly, the engine output torque has a regulation characteristic. It increases linearly along an oblique straight line of Tgmax. When the load torque of the engine 11 further increases and the rotational speed deviation ΔN reaches a predetermined value ΔNa, the fuel injection amount becomes maximum (FIG. 7). The intersection between the straight line of the regulation characteristic Tgmax and the full load characteristic Tf is a point (described later) at which the fuel injection amount is the maximum Fmax and the output horsepower of the engine 11 is the maximum, and the rotation speed (maximum horsepower rotation speed) NRmax Is the rated speed, and the engine output torque Top is the rated torque.

目標回転数が最大目標回転数NTmaxよりも低いNTx1,NTx2であるとき、エンジンコントローラ13の燃料噴射制御部13bは目標回転数NTx1,NTx2のそれぞれに対応した燃料噴射特性を選択して燃料噴射量を制御し、それに対応してレギュレーション特性は破線Tg1,Tg2と変化する。その結果、最大馬力回転数はNR1,NR2と低下する。   When the target rotational speed is NTx1, NTx2 lower than the maximum target rotational speed NTmax, the fuel injection control unit 13b of the engine controller 13 selects the fuel injection characteristic corresponding to each of the target rotational speeds NTx1, NTx2, and the fuel injection amount And the regulation characteristics change to the broken lines Tg1 and Tg2. As a result, the maximum horsepower rotation speed decreases to NR1 and NR2.

図9は、目標回転数とエンジン出力馬力と最大馬力回転数の関係を示す図である。図中の実線Emax,E1,E2は、それぞれ目標回転数をNTmax,NT1,NT2に設定した場合のエンジン馬力特性を示している。目標回転数をNTmax,NT1,NT2(以下、NTという)に設定したとき、エンジン11の出力馬力は、それぞれ、エンジン負荷の増加に応じて実線Emax,E1,E2のように変化し、エンジン回転数がNRmax,NR1,NR1(以下、NRという)のときにエンジン出力馬力は最大となる。このエンジン出力が最大となる回転数を最大馬力回転数と言い、目標回転数が最大NTmaxであるときの最大馬力回転数NRmaxを定格回転数と言う。   FIG. 9 is a diagram showing the relationship among the target rotational speed, engine output horsepower, and maximum horsepower rotational speed. Solid lines Emax, E1, and E2 in the figure indicate engine horsepower characteristics when the target rotational speed is set to NTmax, NT1, and NT2, respectively. When the target rotational speed is set to NTmax, NT1, NT2 (hereinafter referred to as NT), the output horsepower of the engine 11 changes as indicated by the solid lines Emax, E1, E2 as the engine load increases, and the engine speed When the number is NRmax, NR1, NR1 (hereinafter referred to as NR), the engine output horsepower is maximized. The engine speed at which the engine output is maximized is called the maximum horsepower engine speed, and the maximum horsepower engine speed NRmax when the target engine speed is the maximum NTmax is called the rated engine speed.

本実施の形態では、エンジン11に負荷が投入されていないときの回転数NTmax,NTx1,NTx2を目標回転数と定義したが、最大馬力回転数(エンジンコントロールダイヤル12が指示する目標回転数が最大であるときは定格回転数)NRmax,NR1,NR2を目標回転数と定義してもよい。また、本実施の形態では、レギュレーション特性がドループ制御の特性である場合について説明したが、レギュレーション特性は、エンジン負荷の増加によらずエンジン回転数が一定に保たれるように燃料噴射量を調整するアイソクロナス制御の特性であってもよい。   In the present embodiment, the rotational speeds NTmax, NTx1, NTx2 when no load is applied to the engine 11 are defined as target rotational speeds, but the maximum horsepower rotational speed (the target rotational speed indicated by the engine control dial 12 is the maximum). NRmax, NR1 and NR2 may be defined as the target rotational speed. In the present embodiment, the case where the regulation characteristic is a droop control characteristic has been described. However, the regulation characteristic adjusts the fuel injection amount so that the engine speed is kept constant regardless of the increase in engine load. The isochronous control characteristic may be used.

図10は図3のポンプトルク特性図にエンジンの最大トルクTEmaxeと定格トルクToptを重ねて示す図である。   FIG. 10 is a graph showing the engine maximum torque TEmaxe and the rated torque Top superimposed on the pump torque characteristic diagram of FIG.

エンジン11は、定格トルクToptが油圧ポンプ21の最大吸収トルクTPLcよりも小さく、エンジン11の出力トルクだけでは油圧ポンプ21の最大吸収トルクTPLcを賄えない大きさにダウンサイジング(小型化)されている。また、本実施の形態においては、更にエンジン11は、定格トルクToptだけでなく最大トルクTEmaxeも油圧ポンプ21の最大吸収トルクTPLcよりも小さい大きさにダウンサイジングされている。また、エンジン11の最大トルクTEmaxeは油圧ポンプ21の減トルク制御後の最大吸収トルクTPLdよりも大きく、減トルク制御後の最大吸収トルクTPLdはエンジン11の定格トルクToptよりも大きくなるように設定されている。すなわち、油圧ポンプ21の減トルク制御は油圧ポンプ21の最大吸収トルクをエンジン11の最大トルクTEmaxeよりも小さく、エンジン11の定格トルクToptよりも大きい値TPLdに低下させる。   The engine 11 is downsized (downsized) so that the rated torque Topt is smaller than the maximum absorption torque TPLc of the hydraulic pump 21 and the output torque of the engine 11 alone cannot cover the maximum absorption torque TPLc of the hydraulic pump 21. Yes. In the present embodiment, the engine 11 is further downsized not only to the rated torque Topt but also to the maximum torque TEmaxe smaller than the maximum absorption torque TPLc of the hydraulic pump 21. Further, the maximum torque TEmaxe of the engine 11 is set to be larger than the maximum absorption torque TPLd after the torque reduction control of the hydraulic pump 21, and the maximum absorption torque TPLd after the torque reduction control is set to be larger than the rated torque Topt of the engine 11. ing. That is, the torque reduction control of the hydraulic pump 21 reduces the maximum absorption torque of the hydraulic pump 21 to a value TPLd that is smaller than the maximum torque TEmax of the engine 11 and larger than the rated torque Topt of the engine 11.

図10中、Toptcはエンジン11と発電・電動機31を組み合わせたハイブリッド駆動システムの定格システムトルクであり(後述)、油圧ポンプ21の最大吸収トルク(制限トルク)TPLcは定格システムトルクToptcよりも所定の余裕分だけ小さく設定されている。   In FIG. 10, Toptc is a rated system torque of a hybrid drive system in which the engine 11 and the generator / motor 31 are combined (described later), and the maximum absorption torque (limit torque) TPLc of the hydraulic pump 21 is a predetermined value higher than the rated system torque Topc. It is set smaller by a margin.

エンジン11のダウンサイジングについて別の角度から説明する。図18Aは、従来の一般的なミニショベルの油圧ポンプのPQ特性(馬力特性)と代表的な出力使用範囲との関係を示す図であり、横軸は油圧ポンプの吐出圧力を示し、縦軸は油圧ポンプの吐出流量を示している。図18Bは、同ミニショベルのエンジン出力馬力特性と代表的な出力使用範囲との関係を示す図であり、横軸はエンジン回転数を示し、縦軸はエンジンの出力馬力を示している。図18Cは、同ミニショベルのエンジンの出力トルク特性を示す図であり、横軸はエンジン回転数を示し、縦軸はエンジンの出力トルクを示している。図18A、図18B及び図18Cは、図8と同様、エンジンコントロールダイヤルが指示する目標回転数が最大NTmaxであるときのものである。   The downsizing of the engine 11 will be described from another angle. FIG. 18A is a diagram showing the relationship between the PQ characteristics (horsepower characteristics) of a conventional general mini-excavator hydraulic pump and a typical output usage range, the horizontal axis shows the discharge pressure of the hydraulic pump, and the vertical axis Indicates the discharge flow rate of the hydraulic pump. FIG. 18B is a diagram showing a relationship between the engine output horsepower characteristics of the mini excavator and a typical output use range, in which the horizontal axis indicates the engine speed and the vertical axis indicates the engine output horsepower. FIG. 18C is a diagram showing an output torque characteristic of the engine of the mini excavator, in which the horizontal axis indicates the engine speed and the vertical axis indicates the engine output torque. 18A, 18B, and 18C are those when the target rotational speed indicated by the engine control dial is the maximum NTmax, as in FIG.

まず、油圧ポンプのPQ特性について説明する。油圧ポンプのPQ特性とは、ある最大吸収トルク特性を持つ油圧ポンプをエンジンで駆動して回転させ、作業を行ったときに得られる油圧ポンプの出力馬力特性である。図18Aの油圧ポンプのPQ特性は、一例として、図3又は図10に示した最大吸収トルク特性を持つ油圧ポンプ21の場合のものであり、かつエンジン回転数が定格回転数NRmaxdにある場合のものである。定格回転数NRmaxdとは、図18Cのレギュレーション特性Tgmaxdと全負荷特性Tfdの交点におけるエンジン回転数であり、図18Bに示すように、最大目標回転数NTmaxに基づいて制御されているエンジンの出力馬力が最大となるときのエンジン回転数である。   First, the PQ characteristic of the hydraulic pump will be described. The PQ characteristic of the hydraulic pump is an output horsepower characteristic of the hydraulic pump obtained when a hydraulic pump having a certain maximum absorption torque characteristic is driven and rotated by the engine. The PQ characteristic of the hydraulic pump in FIG. 18A is, for example, that of the hydraulic pump 21 having the maximum absorption torque characteristic shown in FIG. 3 or FIG. 10 and the engine speed is at the rated speed NRmaxd. Is. The rated speed NRmaxd is the engine speed at the intersection of the regulation characteristic Tgmaxd and the full load characteristic Tfd in FIG. 18C. As shown in FIG. 18B, the engine output horsepower controlled based on the maximum target speed NTmax. This is the engine speed when is the maximum.

一般的なミニショベルの作業状態として、走行高速時と走行低速時と通常作業時とを考える。図18A及び図18B中、Aは走行高速時の代表的な出力使用範囲、Bは走行低速時の代表的な出力使用範囲、Cは通常作業時の代表的な出力使用範囲を示している。走行高速とは、走行用の油圧モータ24a,24bが高速小容量モードにありかつ走行用の操作装置25が操作されて走行している状態をいい、走行低速とは、走行用の油圧モータ24a,24bが低速大容量モードにありかつ走行用の操作装置25が操作されて走行している状態をいう。通常作業とは、走行以外の操作装置26(特にフロント作業機104に係わる油圧アクチュエータ24c,24d,24e及び旋回モータのいずれかに係わる操作装置)が操作されて作業を行っている状態をいう。   As a general working state of a mini excavator, consider a traveling high speed, a traveling low speed, and a normal working state. 18A and 18B, A represents a typical output use range at a traveling high speed, B represents a typical output use range at a traveling low speed, and C represents a typical output use range during normal work. The traveling high speed means a state where the traveling hydraulic motors 24a and 24b are in the high speed and small capacity mode and the traveling operating device 25 is operated, and the traveling low speed means the traveling hydraulic motor 24a. 24b is in the low speed large capacity mode and the traveling operation device 25 is operated to travel. The normal work means a state in which an operation device 26 other than traveling (especially, an operation device related to any of the hydraulic actuators 24c, 24d, 24e and the swing motor related to the front work machine 104) is operated to perform the work.

一般的なミニショベル(小型ショベル)においては、走行高速時Aはスピード(大流量)が必要であり、図18A及び図18Bに示すように走行高速時Aにおける油圧ポンプ21の出力は最も大きくなる。走行低速時B及び通常作業時Cにおいて油圧ポンプ21の出力は走行高速時Aよりも小さい。このことは、通常作業時に油圧ポンプの出力が最も大きくなる中型、大型の油圧ショベルの場合と大きな相違である。   In a general mini excavator (small excavator), a speed (large flow rate) is required at a traveling high speed A, and the output of the hydraulic pump 21 at the traveling high speed A is the largest as shown in FIGS. 18A and 18B. . The output of the hydraulic pump 21 is smaller than when traveling at high speed A during traveling low speed B and during normal work C. This is a great difference from the case of a medium-sized or large-sized hydraulic excavator in which the output of the hydraulic pump is maximized during normal work.

従来のミニショベルでは、図3又は図10に示した油圧ポンプ21の最大吸収トルク(トルク制御の制限トルク)TPLcは、図18Cに示すように、エンジンの定格トルクToptdよりも所定の余裕分だけ小さく設定されている。図18Aの符号HPLcは図3又は図10に示した油圧ポンプ21の最大吸収トルクTPLcに対応する油圧ポンプ21の最大吸収馬力を示しており、この油圧ポンプ21の最大吸収馬力HPLcもエンジンの最大馬力(定格馬力)HEoptdよりも所定の余裕分だけ小さくなるように設定されている。また、走行高速時は油圧ポンプ21の出力は最も大きくなるため、油圧ポンプ21の最大吸収馬力HPLcは、走行高速時Aの運転状態で油圧ポンプ21に要求される油圧馬力を賄うことができる大きさに設定されている。   In the conventional mini excavator, the maximum absorption torque (torque control torque limit) TPLc of the hydraulic pump 21 shown in FIG. 3 or FIG. 10 is a predetermined margin from the engine rated torque Topd as shown in FIG. 18C. It is set small. 18A indicates the maximum absorption horsepower of the hydraulic pump 21 corresponding to the maximum absorption torque TPLc of the hydraulic pump 21 shown in FIG. 3 or 10, and the maximum absorption horsepower HPLc of the hydraulic pump 21 is also the maximum engine power. It is set to be smaller than a horsepower (rated horsepower) HEoptd by a predetermined margin. Further, since the output of the hydraulic pump 21 is the highest at the traveling high speed, the maximum absorption horsepower HPLc of the hydraulic pump 21 is large enough to cover the hydraulic horsepower required for the hydraulic pump 21 in the operation state at the traveling high speed A. Is set.

一方、ポンプレギュレータ27の最大吸収トルク特性(図3又は図10)は、第1及び第2の2つのバネ27b,27cによって実線の直線TP1,TP2からなる折れ曲げ線のように設定されるため、油圧ポンプ21のPQ特性も同様に符号HPで示すように折れ曲げ線形状となり、通常作業時ではエンジンの最大馬力(定格馬力)HEoptdに対して油圧ポンプ21の出力使用範囲CがPQ特性の折れ曲げ線の交点における凹み分Xa分だけXと大きく離れて、余裕がありすぎる状態となる。これは、エンジン出力馬力を有効に使用していないことを意味する。   On the other hand, the maximum absorption torque characteristic (FIG. 3 or FIG. 10) of the pump regulator 27 is set like a bent line formed by solid straight lines TP1 and TP2 by the first and second springs 27b and 27c. Similarly, the PQ characteristic of the hydraulic pump 21 also has a bent line shape as indicated by the symbol HP, and the output usage range C of the hydraulic pump 21 has a PQ characteristic with respect to the maximum horsepower (rated horsepower) HEoptd of the engine during normal operation. It is far from X by the dent Xa at the intersection of the bend lines, and there is an excessive margin. This means that the engine output horsepower is not used effectively.

図19Aは、本実施の形態によるミニショベルの油圧ポンプのPQ特性(馬力特性)と代表的な出力使用範囲との関係を示す図であり、図19Bは、同ミニショベルのエンジン出力馬力特性と代表的な出力使用範囲との関係を示す図である。図19A及び図19Bは、図8と同様、エンジンコントロールダイヤルが指示する目標回転数が最大でNTmaxあるときのものである。   FIG. 19A is a diagram showing a relationship between the PQ characteristic (horsepower characteristic) of the hydraulic pump of the mini excavator according to the present embodiment and a typical output use range, and FIG. 19B shows the engine output horsepower characteristic of the mini excavator and It is a figure which shows the relationship with a typical output usage range. FIG. 19A and FIG. 19B are the same as in FIG. 8 when the target rotational speed indicated by the engine control dial is NTmax at the maximum.

本実施の形態では、エンジン11の最大馬力(定格馬力)HEoptを図18Bに示した従来の最大馬力(定格馬力)HEoptdよりも小さくし、油圧ポンプ21の馬力特性HPにおける最大吸収馬力HPLcを下回る設定とする。更に言えば、本実施の形態では、エンジン11の最大馬力(定格馬力)HEoptを、走行高速時A以外(走行低速時B及び通常作業時C)の運転状態で油圧ポンプ21に要求される油圧馬力の大部分を賄うことができ、走行高速時Aの運転状態で油圧ポンプ21に要求される油圧馬力を賄うことができない大きさに設定する。このことをエンジン11の出力トルクで言い換えると、エンジン11の定格トルクToptは、図10に示すように、走行高速時A以外(走行低速時B及び通常作業時C)の運転状態で油圧ポンプ21に要求される油圧トルクの大部分を賄うことができ、走行高速時Aの運転状態で油圧ポンプ21に要求される油圧トルクを賄うことができない大きさに設定されている。   In the present embodiment, the maximum horsepower (rated horsepower) HEopt of the engine 11 is made smaller than the conventional maximum horsepower (rated horsepower) HEoptd shown in FIG. Set. Furthermore, in the present embodiment, the maximum horsepower (rated horsepower) HEopt of the engine 11 is set to a hydraulic pressure required for the hydraulic pump 21 in an operating state other than the high speed A (the low speed B and the normal operation C). It is set to a size that can cover most of the horsepower and cannot cover the hydraulic horsepower required for the hydraulic pump 21 in the driving state at the high speed A. In other words, the output torque of the engine 11 indicates that the rated torque Top of the engine 11 is the hydraulic pump 21 in an operating state other than the traveling high speed A (traveling low speed B and normal operation C) as shown in FIG. The hydraulic torque required for the hydraulic pump 21 can be covered by most of the hydraulic torque, and the hydraulic torque required for the hydraulic pump 21 in the operating state at the high speed A is set.

本実施の形態の油圧ショベルは8トンクラス以下の小型の油圧ショベルであり、このような小型の油圧ショベルは、それよりもクラスの大きい中型、大型の油圧ショベルに比べて旋回フレーム上の機器スペースが狭いため、ハイブリッド化した場合に電動駆動系の機器を設置することがレイアイト面で非常に困難である。本実施の形態では、上述したようにエンジン11はエンジン11の出力トルクだけでは油圧ポンプ21の最大吸収トルクTPLcを賄えない大きさ、或いは走行高速時Aの運転状態で油圧ポンプ21に要求される油圧トルクを賄うことができない大きさにダウンサイジングされており、これにより小型の油圧ショベルであっても電動駆動系の機器の設置スペースを確保しハイブリッド化することが容易となる。   The hydraulic excavator of the present embodiment is a small excavator of 8 ton class or less, and such a small excavator has a device space on the swivel frame as compared with a medium-sized or large excavator of a larger class than that. Therefore, it is very difficult in terms of layout to install an electric drive system device when it is hybridized. In the present embodiment, as described above, the engine 11 is required for the hydraulic pump 21 in such a size that the maximum absorption torque TPLc of the hydraulic pump 21 cannot be covered only by the output torque of the engine 11 or in the operating state at the high speed A. Therefore, even a small hydraulic excavator can secure a space for installing an electric drive system and can be easily hybridized.

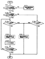
図11は車体コントローラ46の制御機能を示す機能ブロック図である。車体コントローラ46は、ハイブリッドモード制御部46a(電動充電制御部;第1制御装置)と、モード選択部46b(モード選択装置)と、非ハイブリッドモード制御部46c(第2制御装置)とを有している。   FIG. 11 is a functional block diagram showing control functions of the vehicle body controller 46. The vehicle body controller 46 includes a hybrid mode control unit 46a (electric charge control unit; first control device), a mode selection unit 46b (mode selection device), and a non-hybrid mode control unit 46c (second control device). ing.

図12はハイブリッドモード制御部46aの処理手順を示すフローチャートである。   FIG. 12 is a flowchart showing a processing procedure of the hybrid mode control unit 46a.

まず、ハイブリッドモード制御部46aは、バッテリコントローラ34の蓄電情報から取得したバッテリ充電状態(SOC)が最小限界値よりも大きいか否かを判定する(ステップS90)。最小限界値とは発電・電動機31のアシスト駆動による作業の継続が不能となる充電状態(例えば30%)である。ステップ90の判定がYES(バッテリ充電状態>30%)であった場合、バッテリ充電状態が第1閾値より小さいか否かを判定する(ステップS100)。第1閾値とは、バッテリ33の充電状態が発電・電動機31のアシスト駆動は可能でありかつバッテリ充電制御により充電を行うことが好ましい状態であるか否かを判定する閾値であり、作業の継続が不能となる最小限界値(例えば30%)よりも高い値(例えば50%)に設定されている。ステップS100の判定がYES(バッテリ充電状態<50%)であった場合、エンジンコントローラ13のエンジン回転数情報から取得した現在のエンジン回転数(実回転数)が最大馬力回転数NRより小さいか否かを判定する(ステップS110)。前述したように目標回転数が最大NTmaxであるとき、最大馬力回転数は定格回転数NRmaxある。ステップS110において、現在のエンジン回転数が最大馬力回転数NRより小さいか否かの判定は、現在のエンジン回転数から最大馬力回転数NRを差し引いた偏差ΔNが負の値かどうかを判定することで行ってもよい。   First, the hybrid mode control unit 46a determines whether or not the battery charge state (SOC) acquired from the storage information of the battery controller 34 is larger than the minimum limit value (step S90). The minimum limit value is a state of charge (for example, 30%) at which work cannot be continued by assist driving of the generator / motor 31. If the determination in step 90 is YES (battery charge state> 30%), it is determined whether or not the battery charge state is smaller than the first threshold (step S100). The first threshold value is a threshold value for determining whether or not the charging state of the battery 33 is a state in which the assist driving of the generator / motor 31 is possible and it is preferable to perform charging by battery charging control. Is set to a value (for example, 50%) that is higher than the minimum limit value (for example, 30%) that makes the above-mentioned impossible. If the determination in step S100 is YES (battery charge state <50%), whether or not the current engine speed (actual speed) acquired from the engine speed information of the engine controller 13 is smaller than the maximum horsepower speed NR. Is determined (step S110). As described above, when the target rotational speed is the maximum NTmax, the maximum horsepower rotational speed is the rated rotational speed NRmax. In step S110, whether or not the current engine speed is smaller than the maximum horsepower speed NR is determined by determining whether or not the deviation ΔN obtained by subtracting the maximum horsepower speed NR from the current engine speed is a negative value. You may go on.

ステップS110の判定がYES(エンジン回転数<最大馬力回転数NR)であった場合、発電・電動機31を電動機として作動させる制御指令をインバータ32に出力し、アシスト制御を行い(ステップS140)、処理を終了する。ステップS140のアシスト制御によって、エンジン回転数は上昇して最大馬力回転数NRに戻され、最大馬力回転数NRに維持される。発電・電動機31を電動機として作動させる制御の具体例としては、例えば最大馬力回転数からエンジン回転数(実回転数)を差し引いた回転数偏差ΔNdを求め、この回転数偏差ΔNdが大きくなるにしたがって駆動トルクが増加するよう制御指令をインバータ32に出力し、発電・電動機31を制御すればよい。   If the determination in step S110 is YES (engine speed <maximum horsepower speed NR), a control command for operating the generator / motor 31 as a motor is output to the inverter 32 to perform assist control (step S140), and processing Exit. By the assist control in step S140, the engine speed is increased and returned to the maximum horsepower speed NR, and is maintained at the maximum horsepower speed NR. As a specific example of the control for operating the generator / motor 31 as an electric motor, for example, a rotational speed deviation ΔNd obtained by subtracting the engine rotational speed (actual rotational speed) from the maximum horsepower rotational speed is obtained, and as the rotational speed deviation ΔNd increases. A control command may be output to the inverter 32 so that the drive torque increases, and the generator / motor 31 may be controlled.

ステップS110の判定がNO(エンジン回転数≧最大馬力回転数NR)であった場合、エンジン11の負荷トルク(油圧ポンプ21の吸収トルク)がエンジン11の定格トルクToptよりも小さく、エンジン11に余裕がある場合であり、この場合は発電・電動機31を発電機として作動させる制御指令をインバータ32に出力し、エンジン11の余剰トルクによって発電・電動機31を駆動して発電機として作動させ(ステップS120)、バッテリ充電制御を行う(ステップS130)。これによりエンジン11の出力トルクは定格トルクToptまで増加し、エンジン回転数は最大馬力回転数NRまで低下し、エンジン出力馬力は最大馬力まで増加する。さらに、エンジン11の余剰トルクによって発電機31が駆動され、発電機31で発電した電力がインバータ32を介してバッテリ33に蓄電される。発電・電動機31を発電機として作動させる制御の具体例としては、例えばエンジン回転数(実回転数)から最大馬力回転数を差し引いた回転数偏差ΔNcを求め、この回転数偏差ΔNcが大きくなるにしたがって発電トルクが増加するよう制御指令をインバータ32に出力し、発電・電動機31を制御すればよい。   If the determination in step S110 is NO (engine speed ≧ maximum horsepower speed NR), the load torque of the engine 11 (absorption torque of the hydraulic pump 21) is smaller than the rated torque Topt of the engine 11 and there is a margin in the engine 11. In this case, a control command for operating the generator / motor 31 as a generator is output to the inverter 32, and the generator / motor 31 is driven by the surplus torque of the engine 11 to operate as a generator (step S120). ), Battery charging control is performed (step S130). As a result, the output torque of the engine 11 increases to the rated torque Topt, the engine speed decreases to the maximum horsepower speed NR, and the engine output horsepower increases to the maximum horsepower. Further, the generator 31 is driven by surplus torque of the engine 11, and the electric power generated by the generator 31 is stored in the battery 33 via the inverter 32. As a specific example of the control for operating the generator / motor 31 as a generator, for example, a rotational speed deviation ΔNc obtained by subtracting the maximum horsepower rotational speed from the engine rotational speed (actual rotational speed) is obtained, and the rotational speed deviation ΔNc becomes large. Therefore, a control command may be output to the inverter 32 so that the power generation torque increases, and the power generation / motor 31 may be controlled.

ステップS130に続いて、バッテリ充電状態が第2閾値より大きいか否かを判定する(ステップS150)。第2閾値とは、バッテリ33の充電が不要か否かを判定するための閾値であり、第1閾値よりも高い値(例えば70%)に設定されている。ステップS150でYES(バッテリ充電状態>70%)と判定された場合は、処理を終了する。一方、ステップS150でNO(バッテリ充電状態≦70%)と判定された場合は、ステップS110に戻り、ステップS110以降の処理を繰り返し実行する。   Subsequent to step S130, it is determined whether or not the battery charge state is greater than a second threshold (step S150). The second threshold value is a threshold value for determining whether or not the battery 33 needs to be charged, and is set to a value (for example, 70%) higher than the first threshold value. If it is determined as YES (battery charge state> 70%) in step S150, the process ends. On the other hand, if NO (battery charge state ≦ 70%) is determined in step S150, the process returns to step S110, and the processes after step S110 are repeatedly executed.

ステップS100の判定がNO(バッテリ充電状態≧50%)であった場合は、ステップS110と同様にエンジン回転数が最大馬力回転数NRより小さいか否かを判定する(ステップS160)。ここでの判定も、現在のエンジン回転数から最大馬力回転数NRを差し引いた偏差ΔNが負の値かどうかを判定することで行ってもよい。ステップS160の判定がYES(エンジン回転数≧最大馬力回転数NR)であった場合、発電・電動機31を電動機として作動させる制御指令をインバータ32に出力し(ステップS140)、処理を終了する。これにより、エンジン回転数は最大馬力回転数NRに維持される。一方、ステップS160の判定がNO(エンジン回転数≧最大馬力回転数NR)であった場合は、処理を終了する。   If the determination in step S100 is NO (battery charge state ≧ 50%), it is determined whether the engine speed is smaller than the maximum horsepower speed NR as in step S110 (step S160). The determination here may also be performed by determining whether or not the deviation ΔN obtained by subtracting the maximum horsepower rotation speed NR from the current engine rotation speed is a negative value. If the determination in step S160 is YES (engine speed ≧ maximum horsepower speed NR), a control command for operating the generator / motor 31 as an electric motor is output to the inverter 32 (step S140), and the process ends. Thereby, the engine speed is maintained at the maximum horsepower speed NR. On the other hand, if the determination in step S160 is NO (engine speed ≧ maximum horsepower speed NR), the process ends.

また、ステップS90の判定がNO(バッテリ充電状態≦30%)であった場合は、発電・電動機31のアシスト駆動による作業の継続が不能な場合であり、ハイブリッドモード制御部46aは、バッテリ33の充電状態(SOC)が異常であることを知らせる異常状態情報を生成し、モード選択部46bの異常検知部46b1(後述)に出力する。   Further, if the determination in step S90 is NO (battery charge state ≦ 30%), the operation cannot be continued by the assist drive of the generator / motor 31. The hybrid mode control unit 46a Abnormal state information for notifying that the state of charge (SOC) is abnormal is generated and output to an abnormality detection unit 46b1 (described later) of the mode selection unit 46b.

図14は、図8に示したエンジン11の出力トルクとアシスト制御による発電・電動機31の出力トルクを組み合わせたハイブリッド駆動システムの出力トルク特性を示す図であり、図8と同様、目標回転数が最大NTmaxであるときのものである。   FIG. 14 is a diagram showing output torque characteristics of a hybrid drive system in which the output torque of the engine 11 shown in FIG. 8 and the output torque of the generator / motor 31 by assist control are combined. As in FIG. This is the maximum NTmax.

図14において、TEmaxcはハイブリッド駆動システムのシステム最大トルクであり、エンジン11の最大トルクTEmaxeと発電・電動機31の最大トルクTMmaxの合計である。Toptcはハイブリッド駆動システムの定格トルクであり、エンジン11の定格トルクToptと発電・電動機31の最大トルクTMmaxの合計である。これらのシステム最大トルクTEmaxc及びシステム定格トルクToptcはダウンサイジングしない従来のエンジンの最大トルク及び定格トルクと同等に設定されている。   In FIG. 14, TEmaxc is the system maximum torque of the hybrid drive system, and is the sum of the maximum torque TEmaxe of the engine 11 and the maximum torque TMmax of the generator / motor 31. Topc is the rated torque of the hybrid drive system, and is the sum of the rated torque Topt of the engine 11 and the maximum torque TMmax of the generator / motor 31. These system maximum torque TEmaxc and system rated torque Topc are set to be equal to the maximum torque and rated torque of a conventional engine that is not downsized.

本実施の形態では、上述したように、エンジン11の回転数が定格回転数NRmax以下に低下しようとすると発電・電動機31が電動機として作動し、エンジン回転数を定格回転数NRmaxに維持するよう制御される(ステップS140)。また、エンジン11の回転数が定格回転数NRmaxより大きく、バッテリ33の充電状態が閾値(50%)より小さい場合は、発電・電動機31はエンジン11の余剰トルクによって発電機として作動し、バッテリ33の充電を行う(ステップS120,S130)。   In the present embodiment, as described above, the generator / motor 31 operates as an electric motor when the rotational speed of the engine 11 is reduced below the rated rotational speed NRmax, and control is performed so as to maintain the engine rotational speed at the rated rotational speed NRmax. (Step S140). Further, when the rotation speed of the engine 11 is larger than the rated rotation speed NRmax and the state of charge of the battery 33 is smaller than the threshold value (50%), the generator / motor 31 operates as a generator by the surplus torque of the engine 11 and the battery 33 Is charged (steps S120 and S130).

図13はモード選択部46b及び非ハイブリッドモード制御部46cのそれぞれの処理手順を説明するフローチャートである。   FIG. 13 is a flowchart for explaining the processing procedure of the mode selection unit 46b and the non-hybrid mode control unit 46c.

まず、モード選択部46bは、モード選択スイッチ35bからの指示信号を入力し、モード選択スイッチ35bが非ハイブリッドモードを指示しているか否かを判定する(ステップS200)。この判定がNOであった場合、モード選択部46bは、次に、電動駆動系3に異常があるか否かを判定する(ステップS210)。この判定のため、モード選択部46bは異常検知部46b1を有しており、異常検知部36bは、インバーダ32及びバッテリコントローラ34から発電・電動機31、インバーダ32、バッテリ33、バッテリコントローラ34の状態情報を入力し、この状態情報に基づいて電動駆動系3の異常を検知する。また、異常検知部36bはハイブリッドモード制御部36aからバッテリ33の充電状態(SOC)の情報を入力し、バッテリ33の充電状態の異常を検知する。   First, the mode selection unit 46b receives an instruction signal from the mode selection switch 35b, and determines whether or not the mode selection switch 35b indicates a non-hybrid mode (step S200). When this determination is NO, the mode selection unit 46b next determines whether or not there is an abnormality in the electric drive system 3 (step S210). For this determination, the mode selection unit 46 b includes an abnormality detection unit 46 b 1, and the abnormality detection unit 36 b receives state information of the generator / motor 31, the inverter 32, the battery 33, and the battery controller 34 from the inverter 32 and the battery controller 34. Is detected, and the abnormality of the electric drive system 3 is detected based on this state information. Further, the abnormality detection unit 36b receives information on the state of charge (SOC) of the battery 33 from the hybrid mode control unit 36a, and detects an abnormality in the state of charge of the battery 33.

電動駆動系3に異常が無く、ステップS210の判定がNOであった場合、モード選択部46bはハイブリッドモードを選択し、ハイブリッドモード制御部46aの動作を継続させる(ステップS220)。   If there is no abnormality in the electric drive system 3 and the determination in step S210 is NO, the mode selection unit 46b selects the hybrid mode and continues the operation of the hybrid mode control unit 46a (step S220).

電動駆動系3に異常があり、ステップS210の判定がYESであった場合、モード選択部46bは更に電動駆動系3の異常が電動駆動系全体を停止させる必要がある異常であるか否かを判定する(ステップS230)。電動駆動系全体を停止させる必要がある異常とは、例えば、通信異常、初期化異常等である。この判定がNOであった場合、モード選択部46bは更に電動駆動系3の異常が発電・電動機31を停止する必要がある異常であるか否かを判定する(ステップS240)。発電・電動機31を停止する必要がある異常とは、例えば、発電・電動機31の断線、インバータ32の過電流、発電・電動機31及びインバータ32のセンサ異常、バッテリ33の充電状態(SOC)異常等であり、発電・電動機31を停止する必要のない異常とは、例えば、発電・電動機31或いはインバータ32の温度上昇等である。ステップS240の判定がNOであった場合、モード選択部46bは操作パネル35に警告信号を出力し、異常内容を知らせる警告をモニタ35aに表示させる(ステップS250)。   If there is an abnormality in the electric drive system 3 and the determination in step S210 is YES, the mode selection unit 46b further determines whether or not the abnormality in the electric drive system 3 is an abnormality that requires the entire electric drive system to be stopped. Determination is made (step S230). The abnormality that needs to stop the entire electric drive system is, for example, a communication abnormality or an initialization abnormality. When this determination is NO, the mode selection unit 46b further determines whether or not the abnormality of the electric drive system 3 is an abnormality that requires the generator / motor 31 to be stopped (step S240). Abnormalities that require the generator / motor 31 to stop include, for example, disconnection of the generator / motor 31, overcurrent of the inverter 32, sensor abnormality of the generator / motor 31 and inverter 32, battery state of charge (SOC) abnormality, etc. The abnormality that does not require the generator / motor 31 to be stopped is, for example, a temperature rise of the generator / motor 31 or the inverter 32. When the determination in step S240 is NO, the mode selection unit 46b outputs a warning signal to the operation panel 35 and displays a warning notifying the abnormality content on the monitor 35a (step S250).

一方、ステップS200,S230,S240のいずれかの判定がYESであった場合、モード選択部46bは非ハイブリッドモードを選択し、ハイブリッドモード制御部46aに電動駆動系3の停止指令を出力しかつ非ハイブリッドモード制御部46cに非ハイブリッドモード指令を出力する(ステップS260)。   On the other hand, if any of the determinations in steps S200, S230, and S240 is YES, the mode selection unit 46b selects the non-hybrid mode, outputs a stop command for the electric drive system 3 to the hybrid mode control unit 46a, and does not A non-hybrid mode command is output to the hybrid mode control unit 46c (step S260).

ハイブリッドモード制御部46aは電動駆動系3の停止指令を受け取ると、電動駆動系3を停止させる。   When the hybrid mode control unit 46 a receives a stop command for the electric drive system 3, the hybrid mode control unit 46 a stops the electric drive system 3.

非ハイブリッドモード制御部46cは、非ハイブリッドモード指令を受け取ると、操作パネル35に警告信号を出力し、モニタ35aに電動駆動系3が使用できない旨の警告を表示させる(ステップS270)。また、電動駆動系3の異常により電動駆動系3が使用できない場合は、電動駆動系3に異常が発生した旨の警告と異常の内容をモニタ35aに表示させる。非ハイブリッドモード制御部46cは、更に、電磁弁44に制御信号を出力して油圧ポンプ21の最大吸収トルクを減少させる減トルク制御を行い(ステップS280)、エンジン11の目標回転数を低下させるエンジン回転数低下制御を行う(ステップS290)。   When the non-hybrid mode control unit 46c receives the non-hybrid mode command, it outputs a warning signal to the operation panel 35 and displays a warning that the electric drive system 3 cannot be used on the monitor 35a (step S270). If the electric drive system 3 cannot be used due to an abnormality in the electric drive system 3, a warning that the electric drive system 3 has failed and the content of the abnormality are displayed on the monitor 35a. The non-hybrid mode control unit 46c further outputs a control signal to the solenoid valve 44 to perform torque reduction control for reducing the maximum absorption torque of the hydraulic pump 21 (step S280), and to reduce the target engine speed of the engine 11 The rotational speed reduction control is performed (step S290).

なお、図13のフローチャートでは、油圧ポンプ21の最大吸収トルクを減少させる減トルク制御(ステップS280)とエンジン11の目標回転数を低下させるエンジン回転数低下制御(ステップS290)を同時或いは連続的に行ったが、エンジン回転数低下制御を先に行ってスタンバイ状態とし、その後に減トルク制御をしてもよい。また、減トルク制御はエンジン負荷(油圧ポンプ21の吸収トルク)が増加したときに行ってもよい。   In the flowchart of FIG. 13, the torque reduction control (step S280) for reducing the maximum absorption torque of the hydraulic pump 21 and the engine speed reduction control (step S290) for reducing the target engine speed of the engine 11 are performed simultaneously or continuously. However, the engine speed reduction control may be performed first to enter the standby state, and then the torque reduction control may be performed. Further, the torque reduction control may be performed when the engine load (absorption torque of the hydraulic pump 21) increases.

非ハイブリッドモード制御部46cは、油圧ポンプ21の最大吸収トルクを減少させる減減トルク制御を行うとき、前述したように、油圧ポンプ21の最大吸収トルクをエンジン11の最大トルクTEmaxeよりも小さい値TPLdに低下させる。   When the non-hybrid mode control unit 46c performs the reduction torque control for reducing the maximum absorption torque of the hydraulic pump 21, as described above, the maximum absorption torque of the hydraulic pump 21 is a value TPLd smaller than the maximum torque TEmaxe of the engine 11. To lower.

また、非ハイブリッドモード制御部46cは目標回転数設定部46c1を有しており、エンジン回転数低下制御を行うとき、目標回転数設定部46c1は、エンジンコントロールダイヤル12が指示する目標回転数NTと非ハイブリッドモード制御部46cが指示する目標回転数とを入力し、両者の小さい方を選択して燃料噴射制御の目標回転数として設定し、エンジンコントローラ13に出力する。また、非ハイブリッドモード制御部46c(車体コントローラ46)のメモリには、目標回転数設定部46c1に指示する目標回転数として、最大目標回転数NTmaxとエンジン回転数低下制御用の最大目標回転数NTmaxよりも小さい目標回転数NTcが記憶されており、非ハイブリッドモード制御部46cはエンジン回転数低下制御を行わないときは最大目標回転数NTmaxを目標回転数設定部46c1に指示し、エンジン回転数低下制御を行うときはエンジン回転数低下制御用の目標回転数NTcを目標回転数設定部46c1に指示する。これによりエンジン回転数低下制御を行わないときはNT≦NTmaxであるため、目標回転数設定部46c1はエンジンコントロールダイヤル12が指示する目標回転数NTを選択し、エンジン回転数低下制御を行うときでかつエンジンコントロールダイヤル12が指示する目標回転数NTが目標回転数NTcよりも高いときは、NTc≦NTであるため、目標回転数設定部46c1は目標回転数NTcを選択し、エンジンコントローラ13に出力される。   Further, the non-hybrid mode control unit 46c has a target engine speed setting unit 46c1, and when performing engine speed reduction control, the target engine speed setting unit 46c1 and the target engine speed NT instructed by the engine control dial 12 The target rotational speed instructed by the non-hybrid mode control unit 46c is input, the smaller one of them is selected and set as the target rotational speed for fuel injection control, and output to the engine controller 13. Further, in the memory of the non-hybrid mode control unit 46c (vehicle body controller 46), as the target rotation number instructed to the target rotation number setting unit 46c1, the maximum target rotation number NTmax and the maximum target rotation number NTmax for engine rotation speed reduction control are stored. When the non-hybrid mode control unit 46c does not perform the engine speed reduction control, the non-hybrid mode control unit 46c instructs the target speed setting unit 46c1 to set the maximum target speed NTmax, and the engine speed reduction is performed. When the control is performed, the target rotational speed NTc for engine rotational speed reduction control is instructed to the target rotational speed setting unit 46c1. Accordingly, when the engine speed reduction control is not performed, NT ≦ NTmax. Therefore, the target speed setting unit 46c1 selects the target speed NT indicated by the engine control dial 12 and performs the engine speed reduction control. When the target rotational speed NT indicated by the engine control dial 12 is higher than the target rotational speed NTc, since NTc ≦ NT, the target rotational speed setting unit 46c1 selects the target rotational speed NTc and outputs it to the engine controller 13. Is done.

ここで、目標回転数NTcは、エンジン11の最大馬力回転数におけるエンジン11の出力トルクTEc(目標回転数をNTcに設定したときのレギュレーション特性Tgと全負荷特性Tfとの交点におけるエンジン11の出力トルク)が油圧ポンプ21の減トルク制御により低下した最大吸収トルクTPLdに一致する(等しい)かそれよりも大きくなるように設定されている。なお、出力トルクTEcは必ずしも最大吸収トルクTPLdと概ね等しくなくてもよく、最大吸収トルクTPLd付近の値であればよい。例えば、出力トルクTEcは最大吸収トルクTPLdよりも少し小さい値に設定されていてもよい。   Here, the target rotational speed NTc is the output torque TEc of the engine 11 at the maximum horsepower rotational speed of the engine 11 (the output of the engine 11 at the intersection of the regulation characteristic Tg when the target rotational speed is set to NTc and the full load characteristic Tf). (Torque) is set to be equal to (or equal to) or greater than the maximum absorption torque TPLd reduced by the torque reduction control of the hydraulic pump 21. The output torque TEc does not necessarily have to be substantially equal to the maximum absorption torque TPLd, and may be a value near the maximum absorption torque TPLd. For example, the output torque TEc may be set to a value slightly smaller than the maximum absorption torque TPLd.

以上において、ハイブリッドモード制御部36aは、発電・電動機31を電動機として駆動し、油圧ポンプ21をアシスト駆動するよう発電・電動機31を制御する第1制御装置を構成する。また、モード選択部46bは、発電・電動機31とバッテリ(蓄電装置)33を含む電動駆動系3を使用するハイブリッドモードと電動駆動系3を停止させる非ハイブリッドモードのいずれかを選択するモード選択装置を構成し、非ハイブリッドモード制御部46cは、モード選択部46bにおいて非ハイブリッドモードが選択されたとき、電動駆動系3を停止させ、かつ油圧ポンプ21の最大吸収トルクを低下させる減トルク制御とエンジン11の目標回転数を低下させるエンジン回転数低下制御とを同時に行う制御装置(第2制御装置)を構成する。   In the above, the hybrid mode control unit 36 a constitutes a first control device that drives the generator / motor 31 as an electric motor and controls the generator / motor 31 to assist the hydraulic pump 21. Further, the mode selection unit 46b selects either a hybrid mode that uses the electric drive system 3 including the generator / motor 31 and the battery (power storage device) 33 or a non-hybrid mode that stops the electric drive system 3. The non-hybrid mode control unit 46c stops the electric drive system 3 and reduces the maximum absorption torque of the hydraulic pump 21 and the engine when the non-hybrid mode is selected by the mode selection unit 46b. 11 is a control device (second control device) that simultaneously performs engine speed reduction control for reducing the target engine speed.

本実施の形態のハイブリッド式油圧ショベルの動作を説明する。   The operation of the hybrid excavator of this embodiment will be described.

<電動駆動系3を使用する通常時>
電動駆動系3に異常が無くかつモード選択スイッチ35bがハイブリッドモードを指示する通常時は、モード選択部46bはハイブリッドモードを選択し(図13のステップS200→S210→S220)、ハイブリッドモード制御部46aは、エンジンコントローラ13からのエンジン回転数とバッテリコントローラ34からの充電状態情報に基づいて、バッテリ33の充電状態が最小限界値(例えば30%)以上でありかつエンジン回転数が最大馬力回転数(定格回転数)NRよりも低いとき、発電・電動機31を電動機として駆動する制御指令をインバータ32に出力し、油圧ポンプ21をアシスト駆動するよう発電・電動機31を制御する(図12のステップS90→S100→S220又はS160→S140)。また、ハイブリッドモード制御部46aは、バッテリ33の充電状態が最小限界値(例えば30%)以上でかつ第1閾値(例えば50%)より小さくかつエンジン回転数が最大馬力回転数(定格回転数)NRよりも低いとき、発電・電動機31を発電機として駆動する制御指令をインバータ32に出力し、バッテリ33を充電するよう発電・電動機31を制御する(図12のステップS90→S100→S110→S120→S130)。
<Normal time using electric drive system 3>
When there is no abnormality in the electric drive system 3 and the mode selection switch 35b normally instructs the hybrid mode, the mode selection unit 46b selects the hybrid mode (steps S200 → S210 → S220 in FIG. 13), and the hybrid mode control unit 46a. Is based on the engine speed from the engine controller 13 and the charge state information from the battery controller 34, and the charge state of the battery 33 is not less than the minimum limit value (for example, 30%) and the engine speed is the maximum horsepower speed ( When it is lower than the rated speed (NR), a control command for driving the generator / motor 31 as an electric motor is output to the inverter 32, and the generator / motor 31 is controlled to assist the hydraulic pump 21 (step S90 in FIG. 12). S100 → S220 or S160 → S140). Further, the hybrid mode control unit 46a is configured such that the state of charge of the battery 33 is not less than the minimum limit value (for example, 30%) and smaller than the first threshold value (for example, 50%) and the engine speed is the maximum horsepower speed (rated speed). When it is lower than NR, a control command for driving the generator / motor 31 as a generator is output to the inverter 32, and the generator / motor 31 is controlled to charge the battery 33 (steps S90 → S100 → S110 → S120 in FIG. 12). → S130).

図15は、アシスト制御によるシステム出力トルクの変化を示す図であり、横軸はエンジン回転数を示し、縦軸はシステム出力トルクを示している。   FIG. 15 is a diagram illustrating a change in system output torque due to assist control, in which the horizontal axis indicates the engine speed and the vertical axis indicates the system output torque.

図15において、油圧ポンプ21の吸収トルク(エンジン11の負荷トルク)がエンジン11の定格トルクToptよりも小さいTPx1にある状態から、例えば走行速度切換スイッチを走行高速に切り換えて行う高速移動等の高負荷作業時に、油圧ポンプ21の吸収トルクが最大吸収トルクTPLcに増加した場合を考える。このとき、ハイブリッド駆動システムの動作点はX1→X2→X3→X4と変化する。   In FIG. 15, from a state where the absorption torque of the hydraulic pump 21 (load torque of the engine 11) is at TPx1 smaller than the rated torque Topt of the engine 11, for example, high speed movement such as high speed movement performed by switching the travel speed changeover switch to travel speed. Consider a case where the absorption torque of the hydraulic pump 21 increases to the maximum absorption torque TPLc during the load operation. At this time, the operating point of the hybrid drive system changes from X 1 → X 2 → X 3 → X 4.

すなわち、油圧ポンプ21の吸収トルクがエンジン11の定格トルクToptよりも小さいTPx1にあるとき、ハイブリッド駆動システムの動作点はX1にある。この状態から油圧ポンプ21の吸収トルクが増加してエンジン回転数が定格回転数NRmaxまで低下すると、燃料噴射量は最大Fmax(図7)となり、エンジン11の出力トルクは定格トルクToptまで増加する(動作点X2)。更にエンジン11の回転数が低下すると発電・電動機31が電動機として作動し(図12のステップS140)、エンジン回転数が定格回転数NRmaxに維持されるよう制御される。また、システム出力トルクはエンジン11の定格トルクToptと発電・電動機31の出力トルクTMaとの合計となる。このとき、アシスト制御の遅れのため、エンジン11の回転数は定格回転数NRmaxよりも一旦低下し(動作点X3)、その後アシスト制御によりエンジン11の回転数は上昇し、定格回転数NRmaxへと戻される(動作点X4)。   That is, when the absorption torque of the hydraulic pump 21 is at TPx1 smaller than the rated torque Topt of the engine 11, the operating point of the hybrid drive system is at X1. When the absorption torque of the hydraulic pump 21 increases from this state and the engine speed decreases to the rated speed NRmax, the fuel injection amount reaches the maximum Fmax (FIG. 7), and the output torque of the engine 11 increases to the rated torque Top ( Operating point X2). When the rotational speed of the engine 11 further decreases, the generator / motor 31 operates as an electric motor (step S140 in FIG. 12), and the engine rotational speed is controlled to be maintained at the rated rotational speed NRmax. The system output torque is the sum of the rated torque Topt of the engine 11 and the output torque TMa of the generator / motor 31. At this time, due to the delay of the assist control, the engine speed of the engine 11 once falls below the rated speed NRmax (operating point X3), and then the speed of the engine 11 increases by the assist control to reach the rated speed NRmax. Returned (operating point X4).

図16は、バッテリ充電制御によるシステム出力トルクの変化を示す図であり、横軸はエンジン回転数を示し、縦軸はシステム出力トルクを示している。   FIG. 16 is a diagram showing changes in system output torque due to battery charging control, in which the horizontal axis indicates the engine speed and the vertical axis indicates the system output torque.

油圧ポンプ21の吸収トルクがエンジン11の定格トルクToptよりも小さいTPy1にあるとき、ハイブリッド駆動システムの動作点はY1にある。この状態でバッテリ充電状態が50%よりも小さくなると(図12のステップS100の判定がYES)、ハイブリッド駆動システムの動作点はY1→Y2と変化し、エンジン11の余剰トルクTGによって発電・電動機31を発電機として作動させ、バッテリ33を充電する充電制御を行う。   When the absorption torque of the hydraulic pump 21 is at TPy1 smaller than the rated torque Topt of the engine 11, the operating point of the hybrid drive system is at Y1. If the battery charge state becomes smaller than 50% in this state (YES in step S100 in FIG. 12), the operating point of the hybrid drive system changes from Y1 to Y2, and the generator / motor 31 is driven by the surplus torque TG of the engine 11. Is operated as a generator, and charging control for charging the battery 33 is performed.

以上のアシスト制御と充電制御により、エンジン11がダウンサイジングされていても、油圧ポンプ21の吸収トルクが最大となる高負荷作業も含め、従来通りの作業が可能となる。また、エンジン11を小型化したため、燃費の向上、排ガス特性の改善及び騒音の低減を図ることができる。   By the assist control and the charge control described above, even if the engine 11 is downsized, it is possible to perform conventional work including high load work in which the absorption torque of the hydraulic pump 21 is maximized. In addition, since the engine 11 is downsized, it is possible to improve fuel consumption, improve exhaust gas characteristics, and reduce noise.

<電動駆動系3の異常発生時>
電動駆動系3に異常が発生しかつその異常が電動駆動系全体或いは発電・電動機31を停止させる必要がある異常である場合、モード選択部46bは非ハイブリッドモードを選択し、非ハイブリッドモード制御部46cは電動駆動系3を停止させる処理を行う(図13のステップS200→S210→S230→S260或いはS230→S240→S260)。また、モード選択部46bからの非ハイブリッドモード指令を受けて、非ハイブリッドモード制御部46cは、油圧ポンプ21の最大吸収トルクを低下させる減トルク制御とエンジン11の目標回転数を低下させるエンジン回転数低下制御とを同時に行う(図13のステップS280及びS290)。また、非ハイブリッドモード制御部46cはモニタ35aに電動駆動系3に異常が発生したため電動駆動系3が使用できない旨の警告と異常の内容を表示させる(図13のステップS270)。これによりオペレータは電動駆動系3に異常が発生したことを知り、油圧ショベルを修理・点検のため作業現場から安全な場所まで移動する退避運転を行う。この退避運転には、油圧ショベルが不整地で作業をしていた場合は、フロント作業機などを使用して油圧ショベルを不整地から脱出させる動作も含まれる。
<When an abnormality occurs in the electric drive system 3>
When an abnormality occurs in the electric drive system 3 and the abnormality is an abnormality that requires the entire electric drive system or the generator / motor 31 to be stopped, the mode selection unit 46b selects the non-hybrid mode, and the non-hybrid mode control unit 46c performs the process which stops the electric drive system 3 (FIG.13 step S200->S210->S230-> S260 or S230->S240-> S260). In response to the non-hybrid mode command from the mode selection unit 46 b, the non-hybrid mode control unit 46 c reduces the maximum absorption torque of the hydraulic pump 21 and reduces the target engine speed of the engine 11. The reduction control is performed simultaneously (steps S280 and S290 in FIG. 13). Further, the non-hybrid mode control unit 46c causes the monitor 35a to display a warning that the electric drive system 3 cannot be used because an abnormality has occurred in the electric drive system 3 and the content of the abnormality (step S270 in FIG. 13). As a result, the operator learns that an abnormality has occurred in the electric drive system 3 and performs a retreat operation in which the excavator is moved from the work site to a safe place for repair and inspection. This evacuation operation includes an operation of using a front work machine or the like to escape the hydraulic excavator from the rough terrain when the hydraulic excavator is working on rough terrain.

図17は、油圧ポンプ21の減トルク制御とエンジン11の回転数低下制御の効果を示す図である。横軸はエンジン回転数を示し、縦軸はシステム出力トルクを示している。   FIG. 17 is a diagram illustrating the effects of the torque reduction control of the hydraulic pump 21 and the rotation speed reduction control of the engine 11. The horizontal axis indicates the engine speed, and the vertical axis indicates the system output torque.

図17において、Z1は、通常時(ハイブリッドモード時)における高負荷作業時のハイブリッド駆動システムの動作点である。高負荷作業の代表例には、走行速度切換スイッチ41を走行高速に切り換えて走行用の油圧モータ24a,24bを高速小容量モードに切り換え、油圧ショベルを高速で移動する場合やフロント作業機などを使用して油圧ショベルを不整地から脱出させる動作があり、油圧ポンプ21の吸収トルクは最大TPLcとなる。この場合、ハイブリッド制御部46aにより発電・電動機31を電動機として作動させるアシスト制御を行うことで、不足分のトルクTMaが補われる。   In FIG. 17, Z1 is an operating point of the hybrid drive system at the time of high load work in the normal time (in the hybrid mode). Typical examples of high-load work include switching the traveling speed changeover switch 41 to traveling high speed to switch the traveling hydraulic motors 24a and 24b to the high-speed and small-capacity mode and moving the hydraulic excavator at high speed or the front working machine. There is an operation of using the hydraulic excavator to escape from rough terrain, and the absorption torque of the hydraulic pump 21 becomes the maximum TPLc. In this case, the insufficient torque TMa is compensated by performing assist control in which the hybrid controller 46a operates the generator / motor 31 as a motor.

図17において、Z2は非ハイブリッドモード時における高負荷作業時のハイブリッド駆動システムの動作点であり、油圧ポンプ21の減トルク制御とエンジン11の回転数低下制御の効果を示している。油圧ポンプ21の減トルク制御により油圧ポンプ21の最大吸収トルクはTPLcからTPLdに減少する。減トルク制御後の油圧ポンプ21の最大吸収トルクTPLdはエンジン11の最大トルクTEmaxeよりも小さく、エンジン11の定格トルクToptよりも大きい値である。また、エンジン11の回転数低下制御によりエンジン11の目標回転数は最大のNTmaxからNTcに低下し、これに伴ってエンジン11の最大馬力回転数はNRmaxからNRcに低下しかつエンジン11の最大馬力回転数における出力トルクはToptからTEcに増加する。図示の例では、目標回転数NTcは出力トルクTEcが最大吸収トルクTPLdにほぼ一致するよう設定されており、TEcはTPLdにほぼ等しい値である。   In FIG. 17, Z2 is an operating point of the hybrid drive system at the time of high load work in the non-hybrid mode, and shows the effect of the torque reduction control of the hydraulic pump 21 and the rotation speed reduction control of the engine 11. By the torque reduction control of the hydraulic pump 21, the maximum absorption torque of the hydraulic pump 21 is reduced from TPLc to TPLd. The maximum absorption torque TPLd of the hydraulic pump 21 after the torque reduction control is smaller than the maximum torque TEmaxe of the engine 11 and larger than the rated torque Topt of the engine 11. Further, the target rotational speed of the engine 11 is reduced from the maximum NTmax to NTc by the rotational speed reduction control of the engine 11, and accordingly, the maximum horsepower rotational speed of the engine 11 is reduced from NRmax to NRc and the maximum horsepower of the engine 11 is increased. The output torque at the rotational speed increases from Topt to TEc. In the illustrated example, the target rotational speed NTc is set so that the output torque TEc substantially matches the maximum absorption torque TPLd, and TEc is a value substantially equal to TPLd.

ここで、電動駆動系3に異常が発生したときに電動駆動系3を停止させるだけである場合は、退避運転のため走行用の油圧モータ24a,24bを高速小容量モードに切り換えて油圧ショベルを高速で移動しようとするとき、或いはフロント作業機などを使用して油圧ショベルを不整地から脱出させようとするとき、油圧ポンプ21の吸収トルク(エンジン負荷トルク)はZ1点のTPLcとなり、エンジン11の負荷トルクはエンジン11の定格トルクToptを上回ってしまうため、エンジンストールを起こしてしまう。   Here, when the electric drive system 3 is only stopped when an abnormality occurs in the electric drive system 3, the hydraulic motors 24a and 24b for traveling are switched to the high speed and small capacity mode for the retreat operation, and the hydraulic excavator is operated. When trying to move at high speed or using a front work machine or the like to escape the hydraulic excavator from rough terrain, the absorption torque (engine load torque) of the hydraulic pump 21 becomes TPLc at the point Z1, and the engine 11 Since the load torque exceeds the rated torque Topt of the engine 11, the engine stalls.

また、電動駆動系3に異常が発生したときに電動駆動系3を停止させるだけでなく、油圧ポンプ21の減トルク制御を行ったとしても、従来の油圧ポンプの減トルク制御における減トルク幅はエンジンのダウンサイジング量に比べて相対的に小さいため、減トルク制御後の油圧ポンプ21の吸収トルク(エンジン負荷トルク)はエンジン11の定格トルクToptよりも小さくならない。このため退避運転を行うとやはりエンジンストールを起こしてしまう。   In addition to stopping the electric drive system 3 when an abnormality occurs in the electric drive system 3, even if the torque reduction control of the hydraulic pump 21 is performed, the torque reduction width in the torque reduction control of the conventional hydraulic pump is as follows. Since the amount of engine downsizing is relatively small, the absorption torque (engine load torque) of the hydraulic pump 21 after the torque reduction control does not become smaller than the rated torque Topt of the engine 11. For this reason, when the evacuation operation is performed, an engine stall is caused.

本実施の形態では、電動駆動系3に異常が発生したときに電動駆動系3を停止させた上で、油圧ポンプ21の減トルク制御とエンジン11の回転数低下制御を行い、油圧ポンプ21の減トルク制御により油圧ポンプ21の最大吸収トルクをTPLcからエンジン11の定格トルクToptより大きく、最大トルクTEmaxeよりも小さいTPLdに減少させ、かつエンジン11の回転数低下制御によりエンジン11の最大馬力回転数NRcにおける出力トルクをToptからTPLdにほぼ等しいTEcに増加させる。これにより油圧ポンプ21の吸収トルクが最大吸収トルクTPLdとなる高負荷時にエンジン11は出力トルクTEcが油圧ポンプ21の最大吸収トルクTPLdにほぼ一致する図17の点Z2で動作し、エンジン11の負荷トルクはエンジン11の最大トルクTEmaxよりも大きくならず、エンジン11はストールを起こすことなく、最大目標回転数NTcにおいてレギュレータ特性TGcを有するエンジンとして動作する。これにより電動駆動系に何らかの異常が発生した場合でも、フロント作業機などを使用して油圧ショベルを不整地から脱出させ、走行用の油圧モータ24a,24bを高速小容量モードに切り換えて、減トルク制御後の油圧ポンプ21の最大吸収トルクTPLdの範囲内で油圧ショベルを高速で移動し、安全な場所で適切な措置をとることができる。また、目標回転数NTcを最大目標回転数として設定したエンジンと同等の出力トルク特性が得られ、最大目標回転数NTcにおいてレギュレータ特性TGcを有するエンジンとして動作するため、燃費の悪化を起こさずに好適なエンジン制御を行うことができる。   In the present embodiment, when an abnormality occurs in the electric drive system 3, the electric drive system 3 is stopped, and then the torque reduction control of the hydraulic pump 21 and the rotation speed reduction control of the engine 11 are performed. The maximum absorption torque of the hydraulic pump 21 is reduced from TPLc to TPLd which is larger than the rated torque Topt of the engine 11 and smaller than the maximum torque TEmaxe by the torque reduction control, and the maximum horsepower rotation speed of the engine 11 is controlled by the engine speed reduction control. The output torque at NRc is increased from Topt to TEc approximately equal to TPLd. Accordingly, the engine 11 operates at a point Z2 in FIG. 17 where the output torque TEc substantially coincides with the maximum absorption torque TPLd of the hydraulic pump 21 at a high load when the absorption torque of the hydraulic pump 21 becomes the maximum absorption torque TPLd. The torque does not become larger than the maximum torque TEmax of the engine 11, and the engine 11 operates as an engine having the regulator characteristic TGc at the maximum target rotational speed NTc without causing a stall. As a result, even if some abnormality occurs in the electric drive system, the hydraulic excavator is escaped from rough terrain using a front work machine or the like, and the traveling hydraulic motors 24a and 24b are switched to the high speed and small capacity mode to reduce torque. The hydraulic excavator can be moved at high speed within the range of the maximum absorption torque TPLd of the hydraulic pump 21 after control, and appropriate measures can be taken at a safe place. Further, an output torque characteristic equivalent to that of an engine having the target rotational speed NTc set as the maximum target rotational speed is obtained, and the engine operates as an engine having the regulator characteristic TGc at the maximum target rotational speed NTc, so that it is suitable without causing deterioration of fuel consumption. Engine control can be performed.

<経年変化−電動駆動系取り外し>
経年変化で電動駆動系3が使用できなくなった場合は、オペレータがモード選択スイッチ35bを操作して非ハイブリッドモードの選択を指示すると、ハイブリッドモード制御部35aと非ハイブリッドモード制御部46cは、電動駆動系3に異常が発生した場合と同様、電動駆動系3を停止させ(図13のステップS200→S260)、かつ油圧ポンプ21の最大吸収トルクを低下させる減トルク制御とエンジン11の目標回転数を低下させるエンジン回転数低下制御とを同時に行う(図13のステップS280及びS290)。これによりエンジン11は、電動駆動系3に異常が発生した場合と同様、油圧ポンプ21の吸収トルクが最大吸収トルクTPLdとなる高負荷時に出力トルクTEcが油圧ポンプ21の最大吸収トルクTPLdにほぼ一致する図17の点Z2で動作するようになり、エンジン11だけで油圧ショベルを動作させることができる。また、最大目標回転数NTcにおいてレギュレータ特性Tgcを有するエンジンとして動作するため、燃費の悪化を起こさずに好適なエンジン制御を行うことができる。
<Aging-Electric drive system removal>
When the electric drive system 3 becomes unusable due to aging, when the operator operates the mode selection switch 35b to instruct selection of the non-hybrid mode, the hybrid mode control unit 35a and the non-hybrid mode control unit 46c As in the case where an abnormality occurs in the system 3, the electric drive system 3 is stopped (step S200 → S260 in FIG. 13), and the torque reduction control for reducing the maximum absorption torque of the hydraulic pump 21 and the target rotational speed of the engine 11 are set. The engine speed reduction control for reducing the engine speed is simultaneously performed (steps S280 and S290 in FIG. 13). As a result, in the engine 11, the output torque TEc substantially coincides with the maximum absorption torque TPLd of the hydraulic pump 21 at a high load when the absorption torque of the hydraulic pump 21 becomes the maximum absorption torque TPLd, as in the case where an abnormality occurs in the electric drive system 3. Thus, the hydraulic excavator can be operated by the engine 11 alone. Further, since the engine operates as an engine having the regulator characteristic Tgc at the maximum target rotational speed NTc, it is possible to perform suitable engine control without causing deterioration in fuel consumption.

以上の実施の形態は本発明の精神の範囲内で種々の変更が可能である。例えば、本実施の形態では、本発明を8トンクラス以下の小型の油圧ショベルに適用した場合のものであり、エンジン11をエンジン11の出力トルクだけでは油圧ポンプ21の最大吸収トルクTPLcを賄えない大きさにダウンサイジングすることで、小型の油圧ショベルであっても電動駆動系の機器の設置スペースを確保しハイブリッド化することを容易にしている。しかし、8トンよりも大きなクラスの油圧ショベルであっても、ハイブリッド化した場合にエンジンを小型化し、電動駆動系の機器設置スペースが拡大されることは有利であり、本発明の適用対象は8トンクラス以下の小型の油圧ショベルに限られず、本発明は8トンよりも大きなクラスの油圧ショベルに適用してもよい。また、本発明は、油圧ショベル等の建設機械に限らず、ホイールローダ等の作業機械に適用してもよい。   Various modifications can be made to the above embodiment within the spirit of the present invention. For example, in the present embodiment, the present invention is applied to a small hydraulic excavator of 8 ton class or less, and the engine 11 can cover the maximum absorption torque TPLc of the hydraulic pump 21 only with the output torque of the engine 11. By downsizing to a small size, even a small excavator can secure the installation space for the electric drive system and make it easy to hybridize. However, even in the case of a hydraulic excavator of a class larger than 8 tons, it is advantageous to reduce the size of the engine and expand the installation space for the electric drive system when hybridized. The present invention may be applied to a hydraulic excavator of a class larger than 8 tons. Further, the present invention may be applied not only to a construction machine such as a hydraulic excavator but also to a work machine such as a wheel loader.

また、発電・電動機31のアシスト制御をエンジン回転数が最大馬力回転数よりも低下したときに行うようにしたが、最大馬力回転数以外の基準回転数を設定し、エンジン回転数がその基準回転数よりも低下したときに行うようにしてもよいし、エンジン回転数以外のパラメータ(例えばトルク)を用いてアシスト制御を行ってもよい。   Further, the assist control of the generator / motor 31 is performed when the engine speed is lower than the maximum horsepower speed, but a reference speed other than the maximum horsepower speed is set, and the engine speed is set to the reference speed The control may be performed when the engine speed is lower than the engine speed, or the assist control may be performed using a parameter (for example, torque) other than the engine speed.

また、本実施の形態では、モード選択スイッチ35bと異常検出部46b1を設け、モード選択スイッチ35bが非ハイブリッドモードを指示している場合と電動駆動系3に異常がある場合のいずれの場合にも非ハイブリッドモードを選択できるようにしたが、モード選択スイッチ35bと異常検出部46b1の一方を設け、一方の場合だけに非ハイブリッドモードを選択できるようにしてもよい。   In the present embodiment, the mode selection switch 35b and the abnormality detection unit 46b1 are provided so that the mode selection switch 35b indicates the non-hybrid mode and the electric drive system 3 has an abnormality. Although the non-hybrid mode can be selected, one of the mode selection switch 35b and the abnormality detection unit 46b1 may be provided so that the non-hybrid mode can be selected only in one case.

更に、本実施の形態では、アクチュエータが全て油圧アクチュエータである場合について説明したが、アクチュエータの一部(例えば旋回モータ)は電動アクチュエータであってもよい。   Furthermore, although the case where all the actuators are hydraulic actuators has been described in the present embodiment, a part of the actuators (for example, a turning motor) may be electric actuators.

また、本実施の形態では、油圧ポンプ21及びパイロットポンプ22と発電・電動機31を動力分配器6を介してエンジン11の出力軸に連結する構成としたが、エンジン11の出力軸に直列に連結する構成であってもよい。   In the present embodiment, the hydraulic pump 21, the pilot pump 22, and the generator / motor 31 are connected to the output shaft of the engine 11 via the power distributor 6, but are connected in series to the output shaft of the engine 11. It may be configured to.

1 エンジン駆動系
2 油圧駆動系
3 発電電動系
4 制御系
6 動力分配器
11 エンジン
12 エンジンコントロールダイヤル
13 エンジンコントローラ
12a 減算部
13b 燃料噴射制御部
14 電子ガバナ
15 エンジン回転数検出装置
21 油圧ポンプ
21a 押しのけ容積可変機構
22 パイロットポンプ
23 コントロールバルブ
23a,23b 走行用のメインスプール
24a,24b 走行用の油圧モータ
24c〜24h その他の油圧アクチュエータ
24a1,24b1 押しのけ容積可変機構(斜板)
24a2,24b2 制御ピストン
24a3,24b3 受圧部
24a4,24b4 バネ
25 走行用の操作装置
26 走行以外の操作装置
27 ポンプレギュレータ
27a 制御スプール
27b,27c 第1バネ及び第2バネ
27d,27e 第1受圧部及び第2受圧部
27f パイロットライン
27g 制御油路
29 メインリリーフ弁
31 発電・電動機
32 インバータ
33 バッテリ(蓄電装置)
34 バッテリコントローラ
35 操作パネル
35a モニタ
35b モード選択スイッチ
41 走行速度切換スイッチ
45 走行速度切替電磁弁
46 車体コントローラ
46a ハイブリッドモード制御部(第1制御装置)
46b モード選択部(モード選択装置)
46b1 異常検知部(異常検知装置)
46c 非ハイブリッドモード制御部(第2制御装置)
46c1 目標回転数設定部
101 下部走行体
102 上部旋回体
103 スイングポスト
104 フロント作業機
105 トラックフレーム
106 排土用のブレード
107 旋回台
108 キャビン(運転室)
111 ブーム
112 アーム
113 バケット
DESCRIPTION OF SYMBOLS 1 Engine drive system 2 Hydraulic drive system 3 Generator motor system 4 Control system 6 Power distributor 11 Engine 12 Engine control dial 13 Engine controller 12a Subtraction part 13b Fuel injection control part 14 Electronic governor 15 Engine speed detector 21 Hydraulic pump 21a Pushing Volume variable mechanism 22 Pilot pump 23 Control valves 23a and 23b Traveling main spools 24a and 24b Traveling hydraulic motors 24c to 24h Other hydraulic actuators 24a1 and 24b1 Displacement volume variable mechanism (swash plate)
24a2, 24b2 Control pistons 24a3, 24b3 Pressure receiving portions 24a4, 24b4 Spring 25 Operating device 26 for traveling 26 Operating device 27 other than traveling Pump regulator 27a Control spool 27b, 27c First spring and second springs 27d, 27e First pressure receiving portion and Second pressure receiving portion 27f Pilot line 27g Control oil passage 29 Main relief valve 31 Power generation / motor 32 Inverter 33 Battery (power storage device)
34 Battery Controller 35 Operation Panel 35a Monitor 35b Mode Selection Switch 41 Traveling Speed Changeover Switch 45 Traveling Speed Switching Solenoid Valve 46 Car Body Controller 46a Hybrid Mode Control Unit (First Control Device)
46b Mode selection unit (mode selection device)
46b1 Abnormality detection unit (abnormality detection device)
46c Non-hybrid mode control unit (second control device)
46c1 Target rotational speed setting unit 101 Lower traveling body 102 Upper turning body 103 Swing post 104 Front work machine 105 Track frame 106 Blade for earth removal 107 Swing stand 108 Cabin (cab)
111 Boom 112 Arm 113 Bucket

Claims (6)

エンジンと、
このエンジンによって駆動される油圧ポンプと、
この油圧ポンプから吐出される圧油によって駆動される複数の油圧アクチュエータと、
前記エンジンの目標回転数を指示するエンジン回転数指示装置と、
前記エンジンの実回転数であるエンジン回転数を検出するエンジン回転数検出装置と、
前記エンジンに燃料の燃料噴射量を調整するガバナ装置と、
前記エンジンに連結された発電・電動機と、
前記発電・電動機との間で電力を授受する蓄電装置とを備え、
前記エンジンは、前記ガバナ装置の燃料噴射量が最大であるときの全負荷特性と、前記ガバナ装置の燃料噴射量が最大に増加するまでのレギュレーション特性とを含む出力トルク特性を有し、前記全負荷特性は、前記エンジン回転数が定格回転数から所定回転数に低下するにしたがって前記エンジンの出力トルクが増加し、前記エンジン回転数が所定回転数まで低下すると前記エンジンの出力トルクが最大トルクとなるように設定されているハイブリッド式作業機械において、
前記エンジンは、前記エンジン回転数が定格回転数にあるときのエンジン出力トルクである前記エンジンの定格トルクが前記油圧ポンプの最大吸収トルクよりも小さく、前記エンジンの出力トルクだけでは前記油圧ポンプの最大吸収トルクを賄えない大きさにダウンサイジングされたエンジンであり、
前記発電・電動機を電動機として駆動し、前記油圧ポンプをアシスト駆動するよう前記発電・電動機を制御する第1制御装置と、
前記発電・電動機と前記蓄電装置を含む電動駆動系を使用するハイブリッドモードと前記電動駆動系を停止させる非ハイブリッドモードのいずれかを選択するモード選択装置と、
前記モード選択装置において前記非ハイブリッドモードが選択されたとき、前記電動駆動系を停止させ、かつ前記油圧ポンプの最大吸収トルクを低下させる減トルク制御と前記エンジンの目標回転数を低下させるエンジン回転数低下制御とを行う第2制御装置とを備えることを特徴とするハイブリッド式作業機械。
Engine,
A hydraulic pump driven by this engine;
A plurality of hydraulic actuators driven by pressure oil discharged from the hydraulic pump;
An engine speed indicating device for instructing the target engine speed;
An engine speed detector for detecting an engine speed which is the actual engine speed;
A governor device for adjusting a fuel injection amount of fuel to the engine;
A generator / motor coupled to the engine;
A power storage device that exchanges power with the generator / motor,
The engine has an output torque characteristic including a full load characteristic when the fuel injection amount of the governor device is maximum and a regulation characteristic until the fuel injection amount of the governor device increases to the maximum, The load characteristic is that the output torque of the engine increases as the engine speed decreases from the rated speed to a predetermined speed, and when the engine speed decreases to the predetermined speed, the engine output torque becomes the maximum torque. In a hybrid work machine that is set to
In the engine, the rated torque of the engine, which is the engine output torque when the engine speed is at the rated speed, is smaller than the maximum absorption torque of the hydraulic pump, and the maximum output of the hydraulic pump is determined only by the output torque of the engine. It is an engine downsized to a size that can not cover the absorption torque,
A first controller for controlling the generator / motor to drive the generator / motor as an electric motor and to assist the hydraulic pump;
A mode selection device for selecting one of a hybrid mode using an electric drive system including the power generator / motor and the power storage device and a non-hybrid mode for stopping the electric drive system;
When the non-hybrid mode is selected in the mode selection device, the electric drive system is stopped, and the torque reduction control for reducing the maximum absorption torque of the hydraulic pump and the engine speed for reducing the target engine speed of the engine A hybrid work machine comprising: a second control device that performs a reduction control.
請求項1に記載のハイブリッド式作業機械において、
前記エンジンは、前記エンジンの最大トルクが前記油圧ポンプの最大吸収トルクよりも小さく、前記エンジンの出力トルクだけでは前記油圧ポンプの最大吸収トルクを賄えない大きさにダウンサイジングされていることを特徴とするハイブリッド式作業機械。
The hybrid work machine according to claim 1,
The engine is downsized so that the maximum torque of the engine is smaller than the maximum absorption torque of the hydraulic pump and the maximum absorption torque of the hydraulic pump cannot be covered only by the output torque of the engine. Hybrid work machine.
請求項1に記載のハイブリッド式作業機械において、
前記第2制御装置は、前記油圧ポンプの最大吸収トルクが前記エンジンの定格トルクより大きく、最大トルクよりも小さくなるよう前記減トルク制御を行い、前記エンジンの最大馬力回転数における前記エンジンの出力トルクが前記油圧ポンプの減トルク制御により低下した最大吸収トルクに一致するかそれよりも大きくなるよう前記エンジン回転数低下制御を行うことを特徴とするハイブリッド式作業機械。
The hybrid work machine according to claim 1,
The second control device performs the torque reduction control so that the maximum absorption torque of the hydraulic pump is larger than the rated torque of the engine and smaller than the maximum torque, and the output torque of the engine at the maximum horsepower rotation speed of the engine The hybrid work machine is characterized in that the engine speed reduction control is performed so that the engine speed becomes equal to or greater than the maximum absorption torque reduced by the torque reduction control of the hydraulic pump.
請求項1に記載のハイブリッド式作業機械において、
前記モード選択装置は前記電動駆動系の異常を検知する異常検知装置を含み、この異常検知装置が前記電動駆動系の異常を検知するとき、前記非ハイブリッドモードを選択することを特徴とするハイブリッド式作業機械。
The hybrid work machine according to claim 1,
The mode selection device includes an abnormality detection device that detects an abnormality in the electric drive system, and the abnormality detection device selects the non-hybrid mode when detecting an abnormality in the electric drive system. Work machine.
請求項1に記載のハイブリッド式作業機械において、
前記モード選択装置は前記電動駆動系の異常を検知する異常検知装置を含み、この異常検知装置が前記電動駆動系の異常を検知するとき、前記電動駆動系全体の停止が必要かどうかの第1判定を行い、この第1判定の結果がNOであるときは更に前記発電・電動機の停止が必要かどうかの第2判定を行い、前記第1判定の結果がYESであるとき或いは前記第2判定の結果がYESであるときに前記非ハイブリッドモードを選択し、前記第2判定の結果がNOであるときは警告を出力することを特徴とするハイブリッド式作業機械。
The hybrid work machine according to claim 1,
The mode selection device includes an abnormality detection device that detects an abnormality in the electric drive system. When the abnormality detection device detects an abnormality in the electric drive system, a first determination is made as to whether the entire electric drive system needs to be stopped. When the result of the first determination is NO, a second determination is further made as to whether the generator / motor needs to be stopped, and when the result of the first determination is YES or the second determination The hybrid work machine is characterized in that the non-hybrid mode is selected when the result is YES, and a warning is output when the result of the second determination is NO.
請求項1に記載のハイブリッド式作業機械において、
前記モード選択装置はオペレータによって操作されるモード選択スイッチを含み、このモードス選択スイッチが前記非ハイブリッドモードを指示するとき、前記非ハイブリッドモードを選択することを特徴とするハイブリッド式作業機械。
The hybrid work machine according to claim 1,
The mode selection device includes a mode selection switch operated by an operator, and the mode selection switch selects the non-hybrid mode when the mode selection switch indicates the non-hybrid mode.
JP2015040722A 2015-03-02 2015-03-02 Hybrid work machine Active JP6258886B2 (en)

Priority Applications (1)

Application Number Priority Date Filing Date Title
JP2015040722A JP6258886B2 (en) 2015-03-02 2015-03-02 Hybrid work machine

Applications Claiming Priority (1)

Application Number Priority Date Filing Date Title
JP2015040722A JP6258886B2 (en) 2015-03-02 2015-03-02 Hybrid work machine

Publications (2)

Publication Number Publication Date
JP2016160661A true JP2016160661A (en) 2016-09-05
JP6258886B2 JP6258886B2 (en) 2018-01-10

Family

ID=56844537

Family Applications (1)

Application Number Title Priority Date Filing Date
JP2015040722A Active JP6258886B2 (en) 2015-03-02 2015-03-02 Hybrid work machine

Country Status (1)

Country Link
JP (1) JP6258886B2 (en)

Cited By (4)

* Cited by examiner, † Cited by third party
Publication number Priority date Publication date Assignee Title
WO2018051510A1 (en) * 2016-09-16 2018-03-22 株式会社日立建機ティエラ Hybrid work machine
CN109322753A (en) * 2018-11-30 2019-02-12 恒天九五重工有限公司 A method of over-emitting black exhaust when preventing engineering machinery load from starting
CN110439695A (en) * 2019-08-15 2019-11-12 济宁医学院 Engineering vehicle engine overspeed protection control system and its control method
JP2021508643A (en) * 2018-02-09 2021-03-11 エーアイキュー ハイブリッド ピーティーワイ リミテッド Hybrid powertrain

Citations (9)

* Cited by examiner, † Cited by third party
Publication number Priority date Publication date Assignee Title
JP2005083242A (en) * 2003-09-08 2005-03-31 Komatsu Ltd Drive control device for hybrid work machine
JP2005163605A (en) * 2003-12-02 2005-06-23 Komatsu Ltd Drive control device for hybrid work machine
US20110073392A1 (en) * 2009-09-25 2011-03-31 Caterpillar Inc. Hybrid energy management system
JP2011149226A (en) * 2010-01-22 2011-08-04 Hitachi Constr Mach Co Ltd Hybrid type working machine
JP2012026180A (en) * 2010-07-23 2012-02-09 Hitachi Constr Mach Co Ltd Hybrid construction machinery
JP2012031763A (en) * 2010-07-29 2012-02-16 Komatsu Ltd Control device for engine of hydraulic shovel
US20120251332A1 (en) * 2009-12-24 2012-10-04 Doosan Infracore Co., Ltd. Power control apparatus and power control method of construction machine
WO2013111489A1 (en) * 2012-01-25 2013-08-01 日立建機株式会社 Construction machine
US20140257578A1 (en) * 2011-10-24 2014-09-11 Volvo Construction Equipment Ab Controlling device used to save fuel for construction machinery

Patent Citations (9)

* Cited by examiner, † Cited by third party
Publication number Priority date Publication date Assignee Title
JP2005083242A (en) * 2003-09-08 2005-03-31 Komatsu Ltd Drive control device for hybrid work machine
JP2005163605A (en) * 2003-12-02 2005-06-23 Komatsu Ltd Drive control device for hybrid work machine
US20110073392A1 (en) * 2009-09-25 2011-03-31 Caterpillar Inc. Hybrid energy management system
US20120251332A1 (en) * 2009-12-24 2012-10-04 Doosan Infracore Co., Ltd. Power control apparatus and power control method of construction machine
JP2011149226A (en) * 2010-01-22 2011-08-04 Hitachi Constr Mach Co Ltd Hybrid type working machine
JP2012026180A (en) * 2010-07-23 2012-02-09 Hitachi Constr Mach Co Ltd Hybrid construction machinery
JP2012031763A (en) * 2010-07-29 2012-02-16 Komatsu Ltd Control device for engine of hydraulic shovel
US20140257578A1 (en) * 2011-10-24 2014-09-11 Volvo Construction Equipment Ab Controlling device used to save fuel for construction machinery
WO2013111489A1 (en) * 2012-01-25 2013-08-01 日立建機株式会社 Construction machine

Cited By (9)

* Cited by examiner, † Cited by third party
Publication number Priority date Publication date Assignee Title
WO2018051510A1 (en) * 2016-09-16 2018-03-22 株式会社日立建機ティエラ Hybrid work machine
KR20180104045A (en) * 2016-09-16 2018-09-19 가부시키가이샤 히다치 겡키 티에라 Hybrid type working machine
CN109070872A (en) * 2016-09-16 2018-12-21 株式会社日立建机Tierra Hybrid power type Work machine
KR102033369B1 (en) 2016-09-16 2019-10-17 가부시키가이샤 히다치 겡키 티에라 Hybrid work machine
US10988914B2 (en) 2016-09-16 2021-04-27 Hitachi Construction Machinery Tierra Co., Ltd Hybrid work machine
JP2021508643A (en) * 2018-02-09 2021-03-11 エーアイキュー ハイブリッド ピーティーワイ リミテッド Hybrid powertrain
CN109322753A (en) * 2018-11-30 2019-02-12 恒天九五重工有限公司 A method of over-emitting black exhaust when preventing engineering machinery load from starting
CN109322753B (en) * 2018-11-30 2021-04-20 恒天九五重工有限公司 Method for preventing black smoke from being emitted during loading and starting of engineering machinery
CN110439695A (en) * 2019-08-15 2019-11-12 济宁医学院 Engineering vehicle engine overspeed protection control system and its control method

Also Published As

Publication number Publication date
JP6258886B2 (en) 2018-01-10

Similar Documents

Publication Publication Date Title
JP6232007B2 (en) Hybrid work machine
JP5227981B2 (en) Hybrid work machine
EP2597207B1 (en) Hybrid construction machine
JP6211985B2 (en) Hybrid work machine
JP6592187B2 (en) Hybrid construction machinery
EP2685010B1 (en) Shovel and method for controlling shovel
JP5858818B2 (en) Construction machinery
KR101804433B1 (en) Construction machine
US20120177470A1 (en) Hydraulic excavator, and hydraulic excavator control method
JP5974014B2 (en) Hybrid drive hydraulic work machine
KR20130114081A (en) Hybrid construction machine
JP6226898B2 (en) Hybrid work machine
JP6258886B2 (en) Hybrid work machine
CN101297106A (en) Engine control device, engine and hydraulic pump control device, and engine, hydraulic pump and generator-motor control device
JP5596583B2 (en) Drive control device for work machine
JP7460604B2 (en) excavator
JP5997195B2 (en) Hybrid work machine
JP5808635B2 (en) Control method of hybrid excavator
KR20250139862A (en) Drive systems for electric construction machinery
JP2024054999A (en) CONTROL METHOD FOR CONTROLLING A WORK MACHINE, CONTROL PROGRAM FOR CONTROLLING A WORK MACHINE, AND CONTROL SYSTEM FOR CONTROLLING A WORK MACHINE

Legal Events

Date Code Title Description
A621 Written request for application examination

Free format text: JAPANESE INTERMEDIATE CODE: A621

Effective date: 20161107

A711 Notification of change in applicant

Free format text: JAPANESE INTERMEDIATE CODE: A711

Effective date: 20170220

A131 Notification of reasons for refusal

Free format text: JAPANESE INTERMEDIATE CODE: A131

Effective date: 20170926

A977 Report on retrieval

Free format text: JAPANESE INTERMEDIATE CODE: A971007

Effective date: 20170927

A521 Request for written amendment filed

Free format text: JAPANESE INTERMEDIATE CODE: A523

Effective date: 20171121

TRDD Decision of grant or rejection written
A01 Written decision to grant a patent or to grant a registration (utility model)

Free format text: JAPANESE INTERMEDIATE CODE: A01

Effective date: 20171205

A61 First payment of annual fees (during grant procedure)

Free format text: JAPANESE INTERMEDIATE CODE: A61

Effective date: 20171207

R150 Certificate of patent or registration of utility model

Ref document number: 6258886

Country of ref document: JP

Free format text: JAPANESE INTERMEDIATE CODE: R150