JP2016134635A - 制御装置、加入者情報サーバ、無線端末、及びこれらの方法 - Google Patents

制御装置、加入者情報サーバ、無線端末、及びこれらの方法 Download PDF

Info

Publication number
JP2016134635A
JP2016134635A JP2015005835A JP2015005835A JP2016134635A JP 2016134635 A JP2016134635 A JP 2016134635A JP 2015005835 A JP2015005835 A JP 2015005835A JP 2015005835 A JP2015005835 A JP 2015005835A JP 2016134635 A JP2016134635 A JP 2016134635A
Authority
JP
Japan
Prior art keywords
information
wireless terminal
user
prose
discovery
Prior art date
Legal status (The legal status is an assumption and is not a legal conclusion. Google has not performed a legal analysis and makes no representation as to the accuracy of the status listed.)
Granted
Application number
JP2015005835A
Other languages
English (en)
Other versions
JP6451335B2 (ja
Inventor
洋明 網中
Hiroaki Aminaka
洋明 網中
尚 二木
Takashi Futaki
尚 二木
Current Assignee (The listed assignees may be inaccurate. Google has not performed a legal analysis and makes no representation or warranty as to the accuracy of the list.)
NEC Corp
Original Assignee
NEC Corp
Priority date (The priority date is an assumption and is not a legal conclusion. Google has not performed a legal analysis and makes no representation as to the accuracy of the date listed.)
Filing date
Publication date
Application filed by NEC Corp filed Critical NEC Corp
Priority to JP2015005835A priority Critical patent/JP6451335B2/ja
Publication of JP2016134635A publication Critical patent/JP2016134635A/ja
Application granted granted Critical
Publication of JP6451335B2 publication Critical patent/JP6451335B2/ja
Active legal-status Critical Current
Anticipated expiration legal-status Critical

Links

Images

Landscapes

  • Mobile Radio Communication Systems (AREA)

Abstract

【課題】位置情報の利用に対するユーザの承諾を考慮してEPC-level ProSe Discoveryを含むProSeを提供する。
【解決手段】制御装置4は、第1の無線端末1Aのユーザ承諾情報を加入者情報サーバ33から受信する。ユーザ承諾情報は、第1の無線端末1Aの位置を推定することができる位置情報の利用に対するユーザの承諾を含む。制御装置4は、さらに、第1及び第2の無線端末1A、1Bの近接を検出するためのディスカバリを行うために第1及び第2の無線端末1A、1Bのうち少なくとも一方と通信するよう動作する。ディスカバリは、第1及び第2の無線端末1A、1Bの位置の制御装置4による収集を含む。
【選択図】図1

Description

本出願は、Proximity-based services(ProSe)に関し、特にネットワークレベルのディスカバリの制御に関する。
3GPP Release 12は、Proximity-based services(ProSe)について規定している(例えば、非特許文献1を参照)。ProSeは、ProSeディスカバリ(ProSe discovery)及びProSeダイレクト通信(ProSe direct communication)を含む。ProSeディスカバリは、無線端末が近接していること(in proximity)の検出を可能にする。ProSeディスカバリは、ダイレクト・ディスカバリ(ProSe Direct Discovery)及びネットワークレベル・ディスカバリ(EPC-level ProSe Discovery)を含む。
ProSe Direct Discoveryは、ProSeを実行可能な無線端末(ProSe-enabled UE)が他のProSe-enabled UEをこれら2つのUEが有する無線通信技術(例えば、Evolved Universal Terrestrial Radio Access (E-UTRA) technology)の能力だけを用いて発見する手順により行われる。これに対して、EPC-level ProSe Discoveryでは、コアネットワーク(Evolved Packet Core (EPC))が2つのProSe-enabled UEsの近接を判定し、これをこれらのUEsに知らせる。ProSe Direct Discoveryは、3つ以上のProSe-enabled UEsにより行われてもよい。
ProSeダイレクト通信は、ProSeディスカバリ手順の後に、ダイレクト通信レンジ内に存在する2以上のProSe-enabled UEsの間の通信パスの確立を可能にする。言い換えると、ProSeダイレクト通信は、ProSe-enabled UEが、基地局(eNodeB)を含む公衆地上移動通信ネットワーク(Public Land Mobile Network (PLMN))を経由せずに、他のProSe-enabled UEと直接的に通信することを可能にする。ProSeダイレクト通信は、基地局(eNodeB)にアクセスする場合と同様の無線通信技術(E-UTRA technology)を用いて行われてもよいし、wireless radio access network (WLAN)の無線技術(つまり、IEEE 802.11 radio technology)を用いて行われてもよい。
3GPP Release 12では、ProSe functionが公衆地上移動通信ネットワーク(PLMN)を介してProSe-enabled UEと通信し、ProSeディスカバリ及びProSeダイレクト通信を支援(assist)する。ProSe functionは、ProSeのために必要なPLMNに関連した動作に用いられる論理的な機能(logical function)である。ProSe functionによって提供される機能(functionality)は、例えば、(a)third-party applications(ProSe Application Server)との通信、(b)ProSeディスカバリ及びProSeダイレクト通信のためのUEの認証、(c)ProSeディスカバリ及びProSeダイレクト通信のための設定情報(例えば、EPC-ProSe-User IDなど)のUEへの送信、並びに(d)ネットワークレベル・ディスカバリ(i.e., EPC-level ProSe discovery)の提供、を含む。ProSe functionは、1又は複数のネットワークノード又はエンティティに実装されてもよい。本明細書では、ProSe functionを実行する1又は複数のネットワークノード又はエンティティを“ProSe function エンティティ”又は“ProSe functionサーバ”と呼ぶ。
上述したように、EPC-level ProSe Discoveryでは、コアネットワーク(Evolved Packet Core (EPC))が2つのProSe-enabled UEsの近接を判定し、これをこれらのUEsに知らせる。EPC-level ProSe Discoveryは、EPCによる2つのProSe-enabled UEsの位置の収集(又は取得又は監視)を含む。すなわち、EPC-level ProSe Discoveryでは、UEsは自身の位置を推定することができる位置情報を間欠的(intermittently)にEPCに送信し、EPC(i.e., ProSe function エンティティ)はUEsから受信した位置情報に基づいてこれらの近接を判定する。
非特許文献1のセクション5.5 “EPC-level ProSe Discovery procedures”に記載されているように、EPC-level ProSe Discoveryを含むProSeのUEによる利用を可能とするために、ProSe function エンティティへの当該UEの登録が行われる。ProSe function エンティティは、UEから登録要求(ProSe Registration Request)を受信したことに応答して、当該UEのユーザを認証するためにHome Subscriber Server(HSS)と通信し、当該ユーザの加入者情報をHSSから取得し、当該ユーザがProSeの利用を許可されているか否かを確認する。なお、これに代えて、ProSe許可情報を含むUEの認証のために必要な設定情報は、ProSe function エンティティにローカルに構成されてもよい。この場合、ProSe function エンティティは、HSSと通信する必要はない。
非特許文献2のセクション6.2.4 ” ProSe-Subscriber-Information-Answer (PIA) Command” 及びセクション6.3.2 “ProSe-Subscription-Data” に示されているように、ProSe function エンティティによってHSSから取得される加入者情報は、ProSe許可情報(ProSe-Permission)を含む。ProSe許可情報は、非特許文献2のセクション6.3.3 “ProSe-Permission” に示されているように、ユーザが各ProSeサービス(e.g., ProSe Direct Discovery、EPC-level ProSe Discovery、EPC support WLAN Direct Discovery and Communication、及びone-to-many ProSe Direct Communication)の利用を許可されているか否かを示す。いくつかの実装において、ProSe function エンティティは、UEの登録を受け付けるか否かを判定するため、又は登録済みのUEからのEPC-level ProSe Discoveryの要求を受け付けるか否かを判定するために、ProSe許可情報に含まれるEPC-level ProSe Discoveryの許可を参照してもよい。
なお、3GPP Release 12のProSeは、複数の無線端末の地理的な位置の近接に基づいて提供される近接サービス(Proximity-based services)の1つの具体例である。公衆地上移動通信ネットワーク(PLMN)における近接サービスは、3GPP Release 12のProSeと同様に、ネットワークに配置された機能又はノード(例えば、ProSe function)によって支援されるディスカバリ・フェーズ及びダイレクト通信フェーズを含む。ディスカバリ・フェーズでは、複数の無線端末の地理的位置の近接が判定又は検出される。ダイレクト通信フェーズでは複数の無線端末によってダイレクト通信が行われる。ダイレクト通信は、近接する複数の無線端末の間で公衆地上移動通信ネットワーク(PLMN)を介さずに行われる通信である。ダイレクト通信は、device-to-device (D2D) 通信、又はpeer-to-peer通信と呼ばれることもある。
本明細書で使用する公衆地上移動通信ネットワーク(PLMN)との用語は、広域な無線インフラストラクチャネットワークであり、多元接続方式の移動通信システムを意味する。多元接続方式の移動通信システムは、時間、周波数、及び送信電力のうち少なくとも1つを含む無線リソースを複数の移動端末の間で共有することで、複数の移動端末が実質的に同時に無線通信を行うことを可能としている。代表的な多元接続方式は、Time Division Multiple Access(TDMA)、Frequency Division Multiple Access(FDMA)、Code Division Multiple Access(CDMA)、若しくはOrthogonal Frequency Division Multiple Access(OFDMA)又はこれらの組み合わせである。公衆地上移動通信ネットワークは、無線アクセスネットワークおよびコアネットワークを含む。公衆地上移動通信ネットワークは、例えば、3GPP Universal Mobile Telecommunications System(UMTS)、3GPP Evolved Packet System(EPS)、3GPP2 CDMA2000システム、Global System for Mobile communications(GSM(登録商標))/ General packet radio service(GPRS)システム、WiMAXシステム、又はモバイルWiMAXシステムである。EPSは、Long Term Evolution(LTE)システム及びLTE-Advancedシステムを含む。
ユーザプライバシを保護するために、ユーザ(又はUE)の位置情報(e.g., Global Positioning System(GPS)位置情報)をEPC-level ProSe Discoveryのためにネットワークにおいて利用することは、ユーザによって予め許可を得ることが必要であるかもしれない。例えば、ユーザは、ネットワークによってトリガーされる位置情報の報告(reporting)を承諾するか否かを選択し、位置情報の利用に対する承諾/不承諾を示すユーザ承諾情報(User Consent情報)はネットワークに保持されてもよい。
しかしながら、現状のEPC-level ProSe Discovery手順は、ネットワークがユーザに対してEPC-level ProSe Discoveryの利用を許可しているか否かを考慮しているものの(i.e., ProSe許可情報)、ユーザがネットワークに対して位置情報の利用を承諾しているか否かを考慮していない。したがって、EPC-level ProSe Discoveryの利用が許可されているUEに関するEPC-level ProSe Discoveryを開始したとしても、ネットワーク(i.e., ProSe function エンティティ)は、当該UEのユーザが位置情報の利用を承諾していないために当該UEの位置情報を利用することができず、よってEPC-level ProSe Discoveryを正常に行うことができない可能性がある。
従って、本明細書に開示される実施形態が達成しようとする目的の1つは、位置情報の利用に対するユーザの承諾を考慮してEPC-level ProSe Discoveryを含むProSeを提供することに寄与する装置、方法、及びプログラムを提供することである。なお、この目的は、本明細書に開示される複数の実施形態が達成しようとする複数の目的の1つに過ぎないことに留意されるべきである。その他の目的又は課題と新規な特徴は、本明細書の記述又は添付図面から明らかにされる。
第1の態様では、制御装置は、メモリと、前記メモリに結合された少なくとも1つのプロセッサとを含む。前記少なくとも1つのプロセッサは、第1の無線端末のユーザ承諾情報を加入者情報サーバから受信するよう動作し、前記第1の無線端末及び第2の無線端末の近接を検出するためのディスカバリを行うために前記第1及び第2の無線端末のうち少なくとも一方と通信するよう動作する。ここで、前記ユーザ承諾情報は、前記第1の無線端末の位置を推定することができる位置情報の利用に対するユーザの承諾に関する。また、前記ディスカバリは、前記第1及び第2の無線端末の位置の前記制御装置による収集を含む。
第2の態様では、加入者情報サーバは、メモリと、前記メモリに結合された少なくとも1つのプロセッサとを含む。前記少なくとも1つのプロセッサは、第1の無線端末のユーザ承諾情報をProximity-based Services(ProSe)制御装置に送信するよう動作する。ここで、前記ユーザ承諾情報は、前記第1の無線端末の位置を推定することができる位置情報の利用に対するユーザの承諾に関する。
第3の態様では、無線端末装置は、メモリと、前記メモリに結合された少なくとも1つのプロセッサとを含む。前記少なくとも1つのプロセッサは、前記無線端末装置の位置を推定することができる位置情報の通知の起動要求を、直接的に又は位置情報管理装置を介して、Proximity-based Services(ProSe)制御装置から受信するよう動作し、前記起動要求がユーザによって承諾されたことに応答して、前記位置情報の通知を起動するよう動作する。
第4の態様では、制御装置によって行われる方法は、(a)第1の無線端末のユーザ承諾情報を加入者情報サーバから受信すること、及び(b)前記第1の無線端末及び第2の無線端末の近接を検出するためのディスカバリを行うために前記第1及び第2の無線端末のうち少なくとも一方と通信すること、を含む。ここで、前記ユーザ承諾情報は、前記第1の無線端末の位置を推定することができる位置情報の利用に対するユーザの承諾に関する。また、前記ディスカバリは、前記第1及び第2の無線端末の位置の前記制御装置による収集を含む。
第5の態様では、加入者情報サーバによって行われる方法は、第1の無線端末のユーザ承諾情報をProximity-based Services(ProSe)制御装置に送信することを含む。ここで、前記ユーザ承諾情報は、前記第1の無線端末の位置を推定することができる位置情報の利用に対するユーザの承諾に関する。
第6の態様では、第1の無線端末により行われる方法は、(a)前記第1の無線端末の位置を推定することができる位置情報の通知の起動要求を、直接的に又は位置情報管理装置を介して、Proximity-based Services(ProSe)制御装置から受信すること、及び(b)前記起動要求がユーザによって承諾されたことに応答して、前記位置情報の通知を起動すること、を含む。
第7の態様では、プログラムは、コンピュータに読み込まれた場合に、上述の第4、第5、又は第6の態様に係る方法をコンピュータに行わせるための命令群(ソフトウェアコード)を含む。
上述の態様によれば、位置情報の利用に対するユーザの承諾を考慮してEPC-level ProSe Discoveryを含むProSeを提供することに寄与する装置、方法、及びプログラムを提供できる。
いくつかの実施形態に係る公衆地上移動通信ネットワークの構成例を示す図である。 いくつかの実施形態に係る公衆地上移動通信ネットワークの構成例を示す図である。 いくつかの実施形態に係る公衆地上移動通信ネットワークの構成例を示す図である。 いくつかの実施形態に係るEPC-level ProSe Discovery手順の一例を示すシーケンス図である。 第1の実施形態に係るユーザ承諾情報の転送動作の一例を示すシーケンス図である。 第2の実施形態に係るUE登録手順の一例を示すシーケンス図である。 第2の実施形態に係るProSe function エンティティの動作の一例を示すフローチャートである。 第2の実施形態に係るHSSの動作の一例を示すフローチャートである。 第3の実施形態に係るUE登録手順の一例を示すシーケンス図である。 第3の実施形態に係るUE登録手順の一例を示すシーケンス図である。 第2の実施形態に係るProSe function エンティティの動作の一例を示すフローチャートである。 第3の実施形態に係るUE登録手順の一例を示すシーケンス図である。 第4の実施形態に係るEPC-level ProSe Discoveryの開始手順の一例を示すシーケンス図である。 第4の実施形態に係るEPC-level ProSe Discoveryの開始手順の一例を示すシーケンス図である。 第4の実施形態に係るProSe function エンティティの動作の一例を示すフローチャートである。 第5の実施形態に係るUE登録手順の一例を示すシーケンス図である。 第5の実施形態に係るUE登録手順の一例を示すシーケンス図である。 第5の実施形態に係るUEの動作の一例を示すフローチャートである。 いくつかの実施形態に係るProSe function エンティティの構成例を示すブロック図である。 いくつかの実施形態に係るHSSの構成例を示すブロック図である。 いくつかの実施形態に係るUEの構成例を示すブロック図である。
以下では、具体的な実施形態について、図面を参照しながら詳細に説明する。各図面において、同一又は対応する要素には同一の符号が付されており、説明の明確化のため、必要に応じて重複説明は省略される。
以下に示される複数の実施形態は、Evolved Packet System(EPS)を主な対象として説明される。しかしながら、これらの実施形態は、EPSに限定されるものではなく、他のモバイル通信ネットワーク又はシステム、例えば3GPP UMTS、3GPP2 CDMA2000システム、GSM/GPRSシステム、及びWiMAXシステム等に適用されてもよい。
<第1の実施形態>
図1は、本実施形態に係るPLMN100の構成例を示している。UE1A及びUE1Bは共にProSeが可能な無線端末(ProSe-enabled UE)であり、互いの間でProSe通信パス103を確立しProSeダイレクト通信(ProSe通信、端末間直接通信、D2D通信)を行うことができる。UE1AとUE1Bの間のProSeダイレクト通信は、基地局(eNodeB)にアクセスする場合と同様の無線通信技術(E-UTRA technology)を用いて行われてもよいし、WLANの無線技術(IEEE 802.11 radio technology)を用いて行われてもよい。
eNodeB21は、無線アクセスネットワーク(i.e., E-UTRAN)2内に配置されたエンティティであり、セル22を管理し、E-UTRA technologyを用いてUE1A及びUE1Bと通信(101及び102)することができる。なお、図1の例では、説明の簡略化のために複数のUE1A及びUE1Bが同じセル22内に位置している状況を示しているが、このようなUE配置は一例に過ぎない。
コアネットワーク(i.e., EPC)3は、複数のユーザープレーン・エンティティ(e.g., Serving Gateway (S-GW)及びPacket Data Network Gateway (P-GW))、及び複数のコントロールプレーン・エンティティ(e.g., Mobility Management Entity(MME)及びHome Subscriber Server(HSS)33)を含む。複数のユーザープレーン・エンティティは、E-UTRAN2と外部ネットワーク(Packet Data Network (PDN))との間でUE1A及びUE1Bのユーザデータを中継する。複数のコントロールプレーン・エンティティは、UE1A及びUE1Bのモビリティ管理、セッション管理(ベアラ管理)、加入者情報管理、及び課金管理を含む様々な制御を行う。
ProSeサービス(e.g., EPC-level ProSe Discovery若しくはProSe Direct Communication又はこれら両方)を利用するために、UE1A及びUE1Bは、E-UTRAN2を介してEPC3にアタッチし、ProSe function エンティティ4と通信するためのPacket Data Network (PDN) connectionを確立し、E-UTRAN2及びEPC3を介してProSe function エンティティ4との間でProSe 制御シグナリングを送受信する。UE1A及びUE1Bは、例えば、ProSe function エンティティ4によって提供されるEPC-level ProSe Discoveryを利用してもよいし、ProSe Direct Discovery又はProSe Direct CommunicationのUE1A及びUE1Bにおける起動(有効化、activation)を許可することを示すメッセージをProSe function エンティティ4から受信してもよいし、セル22におけるProSe Direct Discovery又はProSe Direct Communicationに関する設定情報をProSe function エンティティ4から受信してもよい。
図2及び図3は、ProSeで利用される参照点(Reference points)を示している。参照点は、インタフェースと呼ばれることもある。図2は、UE1A及びUE1Bが同じPLMN100のサブスクリプションを利用する非ローミング・アーキテクチャ(non-roaming architecture)を示しており、一方、図3は、非ローミング・PLMN間・アーキテクチャ(non-roaming inter-PLMN architecture)を示している。図3では、PLMN A(100A)がUE1AのHome PLMN(HPLMN)であり、PLMN B(100B)がUE1BのHPLMNである。図3において、ProSeアプリケーションサーバ5Bは、ProSeアプリケーションサーバ5Aと共通であってもよい。
PC1参照点は、UE1(UE1A及びUE1B)内のProSeアプリケーションとProSeアプリケーションサーバ5との間の参照点である。PC1参照点は、アプリケーションレベルのシグナリングに対する要件(requirements)を定義するために使用される。
PC2参照点は、ProSeアプリケーションサーバ5とProSe function エンティティ4との間の参照点である。PC2参照点は、ProSeアプリケーションサーバ5とProSe function エンティティ4を介して3GPP EPSによって提供されるProSe機能(ProSe functionality)との間のインタラクションを定義するために使用される。
PC3参照点は、UE1(UE1A及びUE1B)とProSe function エンティティ4との間の参照点である。PC3参照点は、UE1とProSe function エンティティ4との間のインタラクション(e.g., UE registration、application registration、及び ProSe Direct Discovery and EPC-level ProSe Discovery requestsの承認(authorization))を定義するために使用される。PC3参照点は、EPC3のユーザープレーンに依存しており、UE1とProSe function エンティティ4との間のProSe 制御シグナリングは当該ユーザープレーン上で転送される。
PC4a参照点は、HSS33とProSe function エンティティ4との間の参照点である。当該参照点は、例えば、ProSeサービスに関する加入者情報を取得するためにProSe function エンティティ4によって使用される。
PC4b参照点は、Secure User Plane Location(SUPL)Location Platform(SLP)34とProSe function エンティティ4との間の参照点である。当該参照点は、例えば、UE1(UE1A及びUE1B)の位置情報を取得するためにProSe function エンティティ4によって使用される。なお、SLPは、UE1によるGPS測位をアシストし、測位結果をUE1から受信し、これによりUE1の位置を推定することができる位置情報を間欠的にUE1から取得する。
PC5参照点は、UE1(ProSe-enabled UEs)間の参照点であり、ProSe Direct Discovery、ProSe Direct Communication、及び ProSe UE-to-Network Relayのコントロールプレーン及びユーザープレーンのために使用される。
PC6参照点は、図3に示されているように、異なるPLMNのProSe Functionエンティティ4A及び4Bの間の参照点である(EPC-level ProSe Discoveryの場合)。当該参照点は、例えば、EPC-level ProSe Discoveryにおいて、PLMN A内のProSe Functionエンティティ4AがPLMN B内のProSe Functionエンティティ4BにUE1Bの位置情報の送信を要求し、UE1Bの位置情報を受信するために使用される。
図4は、EPC-level ProSe Discoveryの概略手順(処理400)を示している。ブロック401〜404は、登録フェーズであり、ProSeのためのUE及びアプリケーションの登録が行われる。すなわち、ブロック401では、UE1Aは、そのHPLMN(PLMN100A)内に存在するProSe Functionエンティティ4Aとの間でProSeのためのUE登録(UE registration for ProSe)を行う。ブロック402では、UE1Bは、そのHPLMN(PLMN100B)内に存在するProSe Functionエンティティ4Bとの間でProSeのためのUE登録(UE registration for ProSe)を行う。
ブロック403では、UE1Aは、そのHPLMN(PLMN100A)内に存在するProSe Functionエンティティ4Aとの間でProSeのためのアプリケーション登録(application registration for ProSe)を行う。ブロック404では、UE1Bは、そのHPLMN(PLMN100B)内に存在するProSe Functionエンティティ4Bとの間でProSeのためのアプリケーション登録(application registration for ProSe)を行う。
ブロック405〜408は、ディスカバリ・フェーズである。すなわち、ブロック405では、UE1Aは、UE1Bとの近接を知らせるようProSe Functionエンティティ4Aに要求するために近接要求(Proximity Request)を送信する。近接要求は、ProSe Functionエンティティ4Aに対してEPC-level ProSe Discoveryの開始をトリガーする。近接要求の受信に応答して、ProSe Functionエンティティ4Aは、UE1A及びUE1Bに対して位置更新(location updates)を要求する。これらの位置更新は、周期的でもよいし、トリガーに基づいてもよいし、これらの組合せでもよい。UE1Aの位置更新を要求するために、ProSe Functionエンティティ4AはSLP34Aと通信する。UE1Bの位置更新(location updates)を要求するために、ProSe Functionエンティティ4AはProSe Functionエンティティ4Bと通信し、ProSe Functionエンティティ4Bは、SLP34BにUE1Bの位置更新(location updates)を要求する。
言い換えると、ブロック405では、ProSe Functionエンティティ4Aは、UE1A及びUE1Bの近接を検出するEPC-level ProSe Discoveryを行うためにUE1A及びUE1Bのうち少なくとも一方と通信する。当該EPC-level ProSe Discoveryは、ProSe Functionエンティティ4AよるUE1A及びUE1Bの位置の収集(又は取得又は監視)を含む。具体的には、図2に示された非ローミング・アーキテクチャのケースでは、ProSe Functionエンティティ4Aは、UE1A及びUE1Bの両方と通信する。一方、図3に示された非ローミング・PLMN間・アーキテクチャのケースでは、ProSe Functionエンティティ4AはUE1Aと通信し、UE1Bの位置更新(location updates)を要求するためにProSe Functionエンティティ4Bと通信する。
ブロック406及び407では、UE1A及びUE1Bは、それぞれのProSe Functionエンティティ4A及び4Bに自身の位置を間欠的に報告する。ProSe Functionエンティティ4Bは、UE1Bの位置更新(location updates)をProSe Functionエンティティ4Aに転送(forward)する。ProSe Functionエンティティ4Aは、UE1A及びUE1Bの位置更新を受信し、UE1A及びUE1Bの位置に基づいてこれらの近接を判定する。
ProSe Functionエンティティ4Aは、UE1A及びUE1Bが近接している(in proximity)ことを判定した場合、UE1Bが近接していることをUE1Aに知らせる(ブロック408)。WLAN direct discovery and communicationが行われる場合、ProSe Functionエンティティ4Aは、UE1BとのWLAN direct discovery and communication ための支援情報(assistance information)をUE1Aに送信してもよい。ProSe Functionエンティティ4Aは、さらに、ProSe Functionエンティティ4Bに近接を知らせ、ProSe Functionエンティティ4Bは、UE1Aが近接していることをUE1Bに知らせる。ProSe Functionエンティティ4Bは、UE1AとのWLAN direct discovery and communication ための支援情報(assistance information)をUE1Bに送信してもよい。
続いて以下では、HSS33からProSe functionエンティティ4へのユーザ承諾情報の転送動作について説明する。図5は、HSS33からProSe functionエンティティ4にユーザ承諾情報を転送する動作の一例(処理500)を示すシーケンス図である。ブロック501では、HSS33は、ユーザ承諾情報を含む加入者情報をProSe functionエンティティ4に送信し、ProSe functionエンティティ4は、ユーザ承諾情報を含む加入者情報をHSS33から受信する。
ユーザ承諾情報は、ユーザ(又はUE1)の位置を推定することができる位置情報の利用に対するユーザの承諾に関する。ユーザ承諾情報は、HSS33からProSe functionエンティティ4に送信され、当該UE1(UE1A)と他のUE(UE1B)の近接を検出するためのディスカバリ(EPC-level ProSe Discovery)を行うか否かを決定するためにProSe functionエンティティ4によって使用される。ユーザ承諾情報は、UE1の固有識別子(International Mobile Subscriber Identity (IMSI))と関連付けられてもよい。ユーザ承諾情報は、承諾(consent)、不承諾(unconsent)、及び未登録(not-registered)のいずれかを示してもよい。
HSS33からProSe functionエンティティ4へのユーザ承諾情報の転送が行われるタイミングは、特に限定されない。いくつかの実装において、ProSe functionエンティティ4は、ProSeのためのUE登録手順(図4のブロック401又は402)において、ユーザ承諾情報をHSS33から受信してもよい。より具体的には、ProSe functionエンティティ4は、ProSeのためのUE登録要求をUE1から受信したことに応答して、UE1のユーザに関する加入者情報の転送をHSS33に要求してもよい。この場合、ProSe functionエンティティ4は、ユーザ承諾情報をUE1に関する他の加入者データ(e.g., ProSe許可情報)と共にHSS33から取得してもよい。
いくつかの実装において、HSS33は、UE1のユーザ承諾情報の更新が行われた場合に、更新されたユーザ承諾情報を、当該UE1を登録しているProSe functionエンティティ4に送信してもよい。
いくつかの実装において、ProSe functionエンティティ4は、UE1Bとの近接を検出するためのEPC-level ProSe Discoveryの要求をUE1Aから受信した場合に、UE1Aのユーザ承諾情報をHSS33に問い合わせてもよい。また、ProSe functionエンティティ4は、UE1Aとの近接を検出するためのEPC-level ProSe Discoveryの要求をUE1Bから受信した場合に、UE1Aのユーザ承諾情報をHSS33に問い合わせてもよい。
ProSe functionエンティティ4は、HSS33からユーザ承諾情報を受信し、位置情報の利用に対するユーザの承諾を考慮してEPC-level ProSe Discoveryを含むProSeを提供することができる。言い換えると、ProSe functionエンティティ4は、位置情報を利用するEPC-level ProSe Discoveryの成功可能性の有無をUE1のユーザ承諾情報に基づいて判断することができる。
いくつかの実装において、ProSe functionエンティティ4は、ProSe許可情報において当該UE1に対してEPC-level ProSe Discoveryの利用が許可されているが、位置情報の利用に関するユーザ承諾情報が不承諾又は未登録を示す場合に、当該UE1のProSeのためのUE登録を拒絶してもよい。これにより、成功の見込みの小さいEPC-level ProSe Discoveryを開始することを抑止できる。
いくつかの実装において、ProSe functionエンティティ4は、ProSe許可情報において当該UE1に対してEPC-level ProSe Discoveryの利用が許可されているが、位置情報の利用に関するユーザ承諾情報が不承諾又は未登録を示す場合に、当該UE1によるEPC-level ProSe Discoveryの利用を停止してもよい。これにより、成功の見込みの小さいEPC-level ProSe Discoveryを開始することを抑止できる。
いくつかの実装において、ProSe functionエンティティ4は、ProSe許可情報において当該UE1に対してEPC-level ProSe Discoveryの利用が許可されているが、位置情報の利用に関するユーザ承諾情報が不承諾又は未登録を示す場合に、当該UE1に関するEPC-level ProSe Discoveryの要求を拒絶してもよい。このEPC-level ProSe Discoveryは、当該UE1が要求したものであってもよいし、他のProSe-enabled UEが当該UE1との近接を知るために要求したものであってもよい。これにより、成功の見込みの小さいEPC-level ProSe Discoveryを開始することを抑止できる。
いくつかの実装において、ProSe functionエンティティ4は、ProSe許可情報において当該UE1に対してEPC-level ProSe Discoveryの利用が許可されているが、位置情報の利用に関するユーザ承諾情報が不承諾又は未登録を示す場合に、不承諾又は未登録であることを当該UE1に知らせてもよい。これにより、UE1のユーザは、位置情報の利用を承諾していないことを認識することができるため、位置情報の利用を承諾するための手続きを取ることができる。
いくつかの実装において、ProSe functionエンティティ4は、ProSe許可情報において当該UE1に対してEPC-level ProSe Discoveryの利用が許可されているが、位置情報の利用に関するユーザ承諾情報が不承諾又は未登録を示す場合に、位置情報の利用を承諾するよう当該UEに要求してもよい。より具体的には、ProSe functionエンティティ4は、PC3参照点を介して直接的に、又はSLPを経由して、位置情報の通知の起動要求をUE1に送信してもよい。これにより、UE1のユーザは、位置情報の利用を承諾していないことを認識することができるため、位置情報の利用を承諾するための操作をUE1に対して行うことができる。UE1は、位置情報の通知の起動要求がユーザによって承諾されたことに応答して、HSS33に自身のユーザ承諾情報を更新するよう通知してもよい。
いくつかの実装において、ユーザ承諾情報は、Minimization of Drive Test(MDT)に対するユーザの承諾を示してもよい。言い換えると、ユーザ承諾情報は、UE1でのMDT機能を活性化すること、すなわちUE1によるネットワーク特性の測定結果をMDTのためにネットワークに送信することに対するユーザの許可を示してもよい。つまり、ユーザ承諾情報は、MDTに対する承諾を示すためにHSS33に格納されてもよく、EPC-level ProSe Discoveryにおける位置情報の利用に対するユーザの承諾を示すために兼用されてもよい。これにより、HSS33に保持される加入者情報のデータサイズを抑制でき、MDTのための既存の承諾情報をEPC-level ProSe Discoveryのために効率よく利用できる。
本実施形態で説明されたHSS33からProSe functionエンティティ4へのユーザ承諾情報の転送およびProSe functionエンティティ4によるユーザ承諾情報の利用に関する様々な具体例は、以下の第2の実施形態以降でより詳細に説明される。
<第2の実施形態>
本実施形態では、第1の実施形態で説明された、HSS33からProSe functionエンティティ4へユーザ承諾情報を転送する処理の具体例について説明する。本実施形態に係る公衆地上移動通信ネットワークの構成例は図1〜図3と同様であり、本実施形態に係るEPC-level ProSe Discoveryの概略手順は図4と同様である。本実施形態では、ProSe functionエンティティ4は、ProSeのためのUE登録手順(図4のブロック401又は402)において、ユーザ承諾情報をHSS33から受信する。
図6は、本実施形態に係るユーザ承諾情報の転送処理の具体例(処理600)を示すシーケンス図である。ブロック601では、UE1Aは、そのHPLMN100(又はPLMN100A)内に存在するProSe Functionエンティティ4(又はProSe Functionエンティティ4A)にProSeのためのUE登録要求(UE Registration Request)を送信する。ブロック602では、ProSe Functionエンティティ4は、当該UE登録要求の受信に応答して、UE1Aに関する加入者情報の要求(ProSe Subscriber Information Request)をHSS33に送信する。
ブロック603では、HSS33は、ProSe Functionエンティティ4の要求に応答して、UE1Aに関する加入者情報を送信する。当該加入者情報は、UE1Aの位置を推定することができる位置情報の利用に対するユーザの承諾に関するユーザ承諾情報を含む。当該加入者情報は、ProSe許可情報をさらに含んでもよい。既に説明したように、ProSe許可情報は、ユーザが各ProSeサービス(e.g., ProSe Direct Discovery、EPC-level ProSe Discovery、EPC support WLAN Direct Discovery and Communication、及びone-to-many ProSe Direct Communication)の利用を許可されているか否かを示す。
ブロック604では、ProSe Functionエンティティ4は、UE登録要求に対する応答(UE Registration Response)をUE1Aに送信する。当該応答は、登録許可(response-register)又は拒絶(response-reject)を示す。いくつかの実装において、ProSe Functionエンティティ4は、ProSe許可情報において当該UE1に対してEPC-level ProSe Discoveryの利用が許可されているが、位置情報の利用に関するユーザ承諾情報が不承諾又は未登録を示す場合に、当該UE1AのProSeのためのUE登録を拒絶してもよい。これに代えて、ProSe Functionエンティティ4は、位置情報の利用に関するユーザ承諾情報が不承諾又は未登録を示す場合に、UE1Aの登録を許可するが、UE1AによるEPC-level ProSe Discoveryの利用を停止してよい。
図7は、ProSe Functionエンティティ4の動作の一例(処理700)を示すフローチャートである。ブロック701では、ProSe Functionエンティティ4は、UE1Aに関する加入者情報要求をHSS33に送信する。ブロック702では、ProSe Functionエンティティ4は、ProSe許可情報及びユーザ承諾情報を含む加入者情報をHSS33から受信する。
図8は、HSS33の動作の一例(処理800)を示すフローチャートである。ブロック801では、HSS33は、UE1Aに関する加入者情報要求をProSe Functionエンティティ4から受信する。ブロック802では、HSS33は、ProSe許可情報及びユーザ承諾情報を含む加入者情報をProSe Functionエンティティ4に送信する。
本実施形態によれば、ProSe Functionエンティティ4は、位置情報の利用に対するUE1Aのユーザの承諾を考慮して、UE1Aに関するProSeのための登録を行うことができる。
<第3の実施形態>
本実施形態では、第1の実施形態で説明された、ProSe functionエンティティ4によるユーザ承諾情報の利用に関する具体例を説明する。本実施形態に係る公衆地上移動通信ネットワークの構成例は図1〜図3と同様であり、本実施形態に係るEPC-level ProSe Discoveryの概略手順は図4と同様である。本実施形態では、第2の実施形態と同様に、ProSe functionエンティティ4は、ProSeのためのUE登録手順(図4のブロック401又は402)において、ユーザ承諾情報をHSS33から受信する。そして、ProSe functionエンティティ4は、当該ユーザ承諾情報をProSeのためのUE登録手順(図4のブロック401又は402)において利用する。
図9A及び図9Bは、ユーザ承諾情報の利用を含むUE登録手順の具体例を示すシーケンス図である。図9Aは、UE1AのUE登録が承諾されるケース(処理900)を示している。図9Aのブロック901〜903は、第2の実施形態で説明された図6のブロック601〜603と同様である。ただし、ブロック903で送信される加入者情報は、UE1Aに対してEPC-level ProSe Discoveryの利用が許可されることを示すProSe許可情報と、UE1Aのユーザが位置情報の利用を承諾していることを示すユーザ承諾情報を含む。ブロック904では、ProSe functionエンティティ4は、UE1Aに対してEPC-level ProSe Discoveryの利用が許可され且つ位置情報の利用がユーザにより承諾されていることを確認し、登録完了メッセージ(UE Registration Response (response-register))をUE1Aに送信する。
一方、図9Bは、UE1AのUE登録が拒絶されるケース(処理920)を示している。図9Bのブロック921〜923は、第2の実施形態で説明された図6のブロック601〜603と同様である。ただし、ブロック923で送信される加入者情報は、不承諾又は未登録を示すユーザ承諾情報を含む。ブロック924では、ProSe functionエンティティ4は、位置情報の利用がユーザにより承諾されていないことを確認し、登録拒絶メッセージ(UE Registration Response (response-reject))をUE1Aに送信する。この登録拒絶メッセージ(UE Registration Response (response-reject))は、ユーザ承諾情報が不承諾又は未登録であるためにUE1Aの登録が拒絶されることを示す原因情報要素(e.g., CAUSE = “Location Reporting Unconsent” or “Location Reporting Not-Registered”)を含んでもよい。これにより、UE1のユーザは、位置情報の利用を承諾していないことを認識することができるため、位置情報の利用を承諾するための手続きを取ることができる。
図10は、ProSe Functionエンティティ4の動作の一例(処理1000)を示すフローチャートである。ブロック1001では、ProSe Functionエンティティ4は、ProSeのための登録要求をUE1Aから受信する。ブロック1002では、ProSe Functionエンティティ4は、UE1Aに関する加入者情報要求をHSS33に送信する。ブロック1003では、ProSe Functionエンティティ4は、ProSe許可情報及びユーザ承諾情報を含む加入者情報をHSS33から受信する。ブロック1004では、ProSe Functionエンティティ4は、ユーザ承諾情報を確認し、ユーザ承諾情報が承諾を示す場合にUE登録を許可し、ユーザ承諾情報が不承諾又は未登録を示す場合にUE登録を拒絶する(ブロック1005及び1006)。
図9B及び図10を用いて説明した動作によれば、ユーザ承諾情報が不承諾又は未登録を示す場合にUE登録を拒絶するため、ProSe Functionエンティティ4は、UE1Aの位置情報を利用できないために成功する可能性の小さいEPC-level ProSe Discoveryの実行を抑止できる。
図11は、本実施形態に係るProSe Functionエンティティ4の動作の変形例を示している。図11の例では、ProSe Functionエンティティ4は、位置情報の利用に関するユーザ承諾情報が不承諾又は未登録を示す場合に、UE1Aの登録を許可するが、UE1AによるEPC-level ProSe Discoveryの利用を停止する。図11のブロック1101〜1103は、第2の実施形態で説明された図6のブロック601〜603と同様である。ただし、ブロック1103で送信される加入者情報は、EPC-level ProSe Discoveryの利用許可を示すProSe許可情報と、不承諾又は未登録を示すユーザ承諾情報を含む。
ブロック1104では、ProSe functionエンティティ4は、UE1Aに関するProSe許可情報及びユーザ承諾情報を確認し、UE1Aの登録を許可するが、UE1AによるEPC-level ProSe Discoveryの利用を停止する。そして、ProSe functionエンティティ4は、ユーザ承諾情報が不承諾又は未登録であることを示す情報要素(e.g., CAUSE = “Location Reporting Unconsent” or “Location Reporting Not-Registered”)を含む登録完了メッセージ(UE Registration Response (response-register))をUE1Aに送信してもよい。これにより、UE1のユーザは、位置情報の利用を承諾していないことを認識することができるため、位置情報の利用を承諾するための手続きを取ることができる。
<第4の実施形態>
本実施形態では、第1の実施形態で説明された、ProSe functionエンティティ4によるユーザ承諾情報の利用に関する具体例を説明する。本実施形態に係る公衆地上移動通信ネットワークの構成例は図1〜図3と同様であり、本実施形態に係るEPC-level ProSe Discoveryの概略手順は図4と同様である。本実施形態では、ProSe functionエンティティ4は、HSS33から受信したユーザ承諾情報を、EPC-level ProSe Discovery を開始する手順(図4のブロック405)において利用する。
図12A及び図12Bは、EPC-level ProSe Discoveryの開始手順の具体例(処理1200及び処理1220)を示すシーケンス図である。図12Aは、UE1Aが近接要求(Proximity Request)の送信元であり、位置情報の利用に関するUE1A(つまり、requesting UE)のユーザ承諾情報が不承諾又は非登録であるケースを示している。ブロック1201では、UE1Aは、近接要求をProSe functionエンティティ4に送信する。当該近接要求は、UE1BのApplication Layer User ID(AULID_B)を示し、UE1Bとの近接を検出するためのEPC-level ProSe Discoveryを要求する。
ブロック1202では、ProSe functionエンティティ4は、UE1A(つまり、requesting UE)のユーザ承諾情報を確認し、UE1Aに関するユーザ承諾情報が不承諾又は非登録であるために当該近接要求を拒否する。なお、UE1Aのユーザ承諾情報は、UE1Aの登録手順において既にHSS33から取得され、ProSe functionエンティティ4に格納されている。ProSe functionエンティティ4は、近接要求を拒絶することを示す拒絶メッセージ(Proximity Request Response (response-reject))をUE1Aに送信する。この拒絶メッセージ(Proximity Request Response (response-reject))は、UE1A(つまり、requesting UE)のユーザ承諾情報が不承諾又は未登録であるために近接要求が拒絶されることを示す原因情報要素(e.g., CAUSE = “Location Reporting Unconsent” or “Location Reporting Not-Registered”)を含んでもよい。これにより、UE1Aのユーザは、自身が位置情報の利用を承諾していないことを認識することができるため、位置情報の利用を承諾するための手続きを取ることができる。
一方、図12Bは、UE1AがUE1Bとの近接を知るために近接要求(Proximity Request)を送信し、位置情報の利用に関するUE1B(つまり、requested UE)のユーザ承諾情報が不承諾又は非登録であるケースを示している。ブロック1221では、UE1Aは、近接要求をProSe functionエンティティ4に送信する。当該近接要求は、UE1BのApplication Layer User ID(AULID_B)を示し、UE1Bとの近接を検出するためのEPC-level ProSe Discoveryを要求する。
ブロック1222では、ProSe functionエンティティ4は、UE1B(つまり、requested UE)のユーザ承諾情報を確認し、UE1Bに関するユーザ承諾情報が不承諾又は非登録であるために当該近接要求を拒否する。なお、UE1Bのユーザ承諾情報は、UE1Bの登録手順において既にHSS33から取得され、ProSe functionエンティティ4に格納されている。ProSe functionエンティティ4は、近接要求を拒絶することを示す拒絶メッセージ(Proximity Request Response (response-reject))をUE1Aに送信する。この拒絶メッセージ(Proximity Request Response (response-reject))は、UE1B(つまり、requested UE)のユーザ承諾情報が不承諾又は未登録であるためにUE1Aの登録が拒絶されることを示す原因情報要素(e.g., CAUSE = “Location Reporting Unconsent” or “Location Reporting Not-Registered”)を含んでもよい。これにより、UE1Aのユーザは、UE1Bのユーザが位置情報の利用を承諾していないことを認識することができるため、UE1Bのユーザが位置情報の利用を承諾するよう手続きを取ることができる。
図13は、ProSe Functionエンティティ4の動作の一例(処理1300)を示すフローチャートである。ブロック1301では、ProSe Functionエンティティ4は、第2のUE(UE1B)との近接検出の要求(近接要求)を第1のUE(UE1A)から受信する。ブロック1302では、ProSe Functionエンティティ4は、第1のUE(UE1A)の若しくは第2のUE(UE1B)又はこれら両方に関するユーザ承諾情報を確認し、ユーザ承諾情報が承諾を示す場合に近接要求を受け入れ、ユーザ承諾情報が不承諾又は未登録を示す場合に近接要求を拒絶する(ブロック1303及び1304)。
図12A、図12B、及び図13を用いて説明した動作によれば、UE1に関するユーザ承諾情報が不承諾又は未登録を示す場合に当該UE1に関する近接要求を拒絶するため、ProSe Functionエンティティ4は、UE1の位置情報を利用できないために成功する可能性の小さいEPC-level ProSe Discoveryの実行を抑止できる。
<第5の実施形態>
本実施形態では、第1の実施形態で説明された、ProSe functionエンティティ4によるユーザ承諾情報の利用に関する具体例を説明する。本実施形態に係る公衆地上移動通信ネットワークの構成例は図1〜図3と同様であり、本実施形態に係るEPC-level ProSe Discoveryの概略手順は図4と同様である。
本実施形態では、ProSe functionエンティティ4は、HSS33から受信したUE1に関するユーザ承諾情報が不承諾又は未登録を示す場合に、PC3参照点を介して直接的に、又は位置情報管理装置(e.g., SLP)を経由して、位置情報の通知の起動要求を当該UE1に送信するよう動作する。UE1は、位置情報の通知の起動要求を受信し、当該起動要求がユーザによって承諾されたことに応答して、位置情報の通知を起動(activate)するよう動作する。UE1は、さらに、当該位置情報の通知の起動要求がユーザによって承諾されたことに応答して、HSS33に自身のユーザ承諾情報を更新するよう通知するよう動作してもよい。
図14A及び図14Bは、ユーザ承諾情報の利用を含むUE登録手順の具体例(処理1400及び処理1420)を示すシーケンス図である。図14Aの例では、ProSe functionエンティティ4は、PC3参照点を介して直接的に、位置情報の通知の起動要求をUE1Aに送信する。
図14Aのブロック1401〜1403は、第3の実施形態で説明された図11のブロック1101〜1103と同様である。ブロック1403で送信される加入者情報は、EPC-level ProSe Discoveryの利用許可を示すProSe許可情報と、不承諾又は未登録を示すユーザ承諾情報を含む。
ブロック1404では、ProSe functionエンティティ4は、UE1Aに関するProSe許可情報及びユーザ承諾情報を確認し、UE1Aの登録を許可するが、UE1AによるEPC-level ProSe Discoveryの利用を停止する。そして、ProSe functionエンティティ4は、位置情報の通知の起動要求(Location Reporting Activation Request)を示す情報要素を含む登録完了メッセージ(UE Registration Response (response-register))をUE1Aに送信する。なお、位置情報の通知の起動要求は、登録完了メッセージとは独立した別のメッセージを用いてProSe functionエンティティ4からUE1Aに送信されてもよい。
ブロック1405では、UE1Aのユーザによって位置情報通知を承諾する操作がUE1Aに対して行われたことに応答して、UE1Aは、位置情報通知を起動(activate)する。
さらに、ブロック1406として示すように、UE1Aは、位置情報の通知の起動要求がユーザによって承諾されたことに応答して、HSS33に自身のユーザ承諾情報を更新するよう通知してもよい(Update Subscriber Information (User Consent Information = Consent))。この場合、HSS33は、UE1Aからの更新通知に応答して、UE1Aに関するユーザ承諾情報を更新してもよい。ブロック1407として示すように、HSS33は、UE1Aに関する更新されたユーザ承諾情報を、PC4a参照点において、ProSe functionエンティティ4に送信してもよい。更新されたユーザ承諾情報は、既存のメッセージ(e.g.,(Update ProSe Subscriber Data Request)を用いて送信されてもよいし、新たに定義されたPC4a参照点メッセージを用いて送信されてもよい。これにより、UE1Aは、ProSe functionエンティティ4からの位置情報通知の起動要求に応答して、HSS33に格納されたユーザ承諾情報を更新することができる。なお、ブロック1406及び1407は、必ずしも行われなくてもよい。
図14Aには示されていないが、ProSe functionエンティティ4は、位置情報通知の起動要求に対する応答(承諾又は不承諾)を、例えばPC3参照点を介して直接的に、UE1Aから受信してもよい。ProSe functionエンティティ4は、UE1Aからの応答が承諾を示す場合にEPC-level ProSe Discoveryの利用をUE1Aに許可し、UE1Aからの応答が不承諾を示す場合にEPC-level ProSe DiscoveryのUE1Aによる利用を停止してもよい。
一方、図14Bの例では、ProSe functionエンティティ4は、SLP34を経由して、位置情報の通知の起動要求をUE1Aに送信する。図14Bのブロック1421〜1423は、図14Aのブロック1401〜1403と同様である。
ブロック1424では、ProSe functionエンティティ4は、UE1Aに関するProSe許可情報及びユーザ承諾情報を確認し、UE1Aの登録を許可するが、UE1AによるEPC-level ProSe Discoveryの利用を停止する。そして、ProSe functionエンティティ4は、登録完了メッセージ(UE Registration Response (response-register))をUE1Aに送信する。
ブロック1425及び1426では、ProSe functionエンティティ4は、位置情報の通知の起動要求(Location Reporting Activation Request)をSLP34を介してUE1Aに送信する。SLP34は、ProSe functionエンティティ4から当該起動要求を受信し、これをUE1Aに転送する。図14Bのブロック1427〜1429は、図14Aのブロック1405〜1407と同様である。
図15は、UE1(UE1A及びUE1B)の動作の一例(処理1500)を示すフローチャートである。ブロック1501では、UE1は、位置情報の通知の起動要求をProSe functionエンティティ4から受信する。ブロック1502では、UE1は、当該起動要求がユーザによって承諾されたことに応答して位置情報の通知を起動する。
図14A、図14B、及び図15を用いて説明した動作によれば、UE1に関するユーザ承諾情報が不承諾又は未登録を示す場合に、位置情報通知を起動するようUE1に働きかけることができる。したがって、EPC-level ProSe Discoveryの成功可能性を向上することができる。
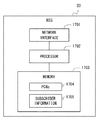
最後に上述の複数の実施形態に係るProSe functionエンティティ4(4A及び4B)、HSS33、並びにUE1(1A及び1B)の構成例について説明する。図16は、ProSe functionエンティティ4の構成例を示している。図16を参照すると、ProSe functionエンティティ4は、ネットワークインタフェース1601、プロセッサ1602、及びメモリ1603を含む。ネットワークインタフェース1601は、ネットワークノード(e.g., HSS33及びS/P-GW32)と通信するために使用される。ネットワークインタフェース1601は、例えば、IEEE 802.3 seriesに準拠したネットワークインタフェースカード(NIC)を含んでもよい。
プロセッサ1602は、メモリ1603からソフトウェア(コンピュータプログラム)を読み出して実行することで、上述の実施形態においてシーケンス図及びフローチャートを用いて説明された処理(e.g., 処理400、500、600、700、900、920、1000、1100、1200、1220、1300、1400、又は1420)に関するProSe functionエンティティ4の処理を行う。プロセッサ1602は、例えば、マイクロプロセッサ、Micro Processing Unit(MPU)、又はCentral Processing Unit(CPU)であってもよい。プロセッサ1602は、複数のプロセッサを含んでもよい。
メモリ1603は、揮発性メモリ及び不揮発性メモリの組み合わせによって構成される。揮発性メモリは、例えば、Static Random Access Memory(SRAM)若しくはDynamic RAM(DRAM)又はこれらの組み合わせである。不揮発性メモリは、例えば、マスクRead Only Memory(MROM)、Programmable ROM(PROM)、フラッシュメモリ、若しくはハードディスクドライブ、又はこれらの組合せである。また、メモリ1603は、プロセッサ1602から離れて配置されたストレージを含んでもよい。この場合、プロセッサ1602は、図示されていないI/Oインタフェースを介してメモリ1603にアクセスしてもよい。
図16の例では、メモリ1603は、ProSeモジュール1604を含むソフトウェアモジュール群を格納するために使用される。ProSeモジュール1604は、上述の実施形態で説明されたProSe functionエンティティ4の処理を実行するための命令群およびデータを含む。プロセッサ1602は、ProSeモジュール1604を含むソフトウェアモジュール群をメモリ1603から読み出して実行することで、上述の実施形態で説明されたProSe functionエンティティ4の処理を行うことができる。
図17は、HSS33の構成例を示している。図16を参照すると、ProSe functionエンティティ4は、ネットワークインタフェース1701、プロセッサ1702、及びメモリ1703を含む。ネットワークインタフェース1701は、ネットワークノード(e.g., ProSe functionエンティティ4及びMME31)と通信するために使用される。ネットワークインタフェース1701は、例えば、IEEE 802.3 seriesに準拠したネットワークインタフェースカード(NIC)を含んでもよい。
プロセッサ1702は、メモリ1703からソフトウェア(コンピュータプログラム)を読み出して実行することで、上述の実施形態においてシーケンス図及びフローチャートを用いて説明された処理(e.g., 処理400、500、600、800、900、920、1100、1400、又は1420)に関するHSS33の処理を行う。プロセッサ1702は、例えば、マイクロプロセッサ、MPU、又はCPUであってもよい。プロセッサ1702は、複数のプロセッサを含んでもよい。
メモリ1703は、揮発性メモリ及び不揮発性メモリの組み合わせによって構成される。揮発性メモリは、例えば、SRAM若しくはDRAM又はこれらの組み合わせである。不揮発性メモリは、例えば、MROM、PROM、フラッシュメモリ、若しくはハードディスクドライブ、又はこれらの組合せである。また、メモリ1703は、プロセッサ1702から物理的に離れて配置されたストレージを含んでもよい。この場合、プロセッサ1702は、ネットワークインタフェース1701又は図示されていない他のI/Oインタフェースを介してメモリ1703にアクセスしてもよい。
図17の例では、メモリ1703は、PC4aモジュール1704を含むソフトウェアモジュール群および加入者情報1705を格納するために使用される。PC4aモジュール1704は、上述の実施形態で説明されたHSS33の処理を実行するための命令群およびデータを含む。プロセッサ1702は、PC4aモジュール1704を含むソフトウェアモジュール群をメモリ1703から読み出して実行することで、上述の実施形態で説明されたHSS33の処理を行うことができる。
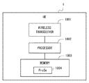
図18は、UE1の構成例を示している。図18を参照すると、UE1は、無線トランシーバ1801、プロセッサ1802、及びメモリ1803を含む。無線トランシーバ1801は、E-UTRAN2(eNodeB21)との通信(図1の101又は102)のために使用され、ProSe direct通信(図1の103)のために使用されてもよい。無線トランシーバ1801は、複数のトランシーバ、例えば、E-UTRA(Long Term Evolution (LTE))トランシーバ及びWLANトランシーバを含んでもよい。
プロセッサ1802は、メモリ1803からソフトウェア(コンピュータプログラム)を読み出して実行することで、上述の実施形態においてシーケンス図及びフローチャートを用いて説明された処理(e.g., 処理400、900、920、1100、1200、1220、1400、1420、又は1500)に関するUE1の処理を行う。プロセッサ1802は、例えば、マイクロプロセッサ、MPU、又はCPUであってもよい。プロセッサ1802は、複数のプロセッサを含んでもよい。
メモリ1803は、揮発性メモリ及び不揮発性メモリの組み合わせによって構成される。揮発性メモリは、例えば、SRAM若しくはDRAM又はこれらの組み合わせである。不揮発性メモリは、例えば、MROM、PROM、フラッシュメモリ、若しくはハードディスクドライブ、又はこれらの組合せである。また、メモリ1803は、プロセッサ1802から離れて配置されたストレージを含んでもよい。この場合、プロセッサ1802は、図示されていないI/Oインタフェースを介してメモリ1803にアクセスしてもよい。
図18の例では、メモリ1803は、ProSeモジュール1804を含むソフトウェアモジュール群を格納するために使用される。ProSeモジュール1804は、上述の実施形態で説明されたUE1の処理を実行するための命令群およびデータを含む。プロセッサ1802は、ProSeモジュール1804を含むソフトウェアモジュール群をメモリ1803から読み出して実行することで、上述の実施形態で説明されたUE1の処理を行うことができる。
図16、図17、及び図18を用いて説明したように、上述の実施形態に係るProSe functionエンティティ4、HSS33、及びUE1が有するプロセッサの各々は、図面を用いて説明されたアルゴリズムをコンピュータに行わせるための命令群を含む1又は複数のプログラムを実行する。このプログラムは、様々なタイプの非一時的なコンピュータ可読媒体(non-transitory computer readable medium)を用いて格納され、コンピュータに供給することができる。非一時的なコンピュータ可読媒体は、様々なタイプの実体のある記録媒体(tangible storage medium)を含む。非一時的なコンピュータ可読媒体の例は、磁気記録媒体(例えばフレキシブルディスク、磁気テープ、ハードディスクドライブ)、光磁気記録媒体(例えば光磁気ディスク)、Compact Disc Read Only Memory(CD-ROM)、CD-R、CD-R/W、半導体メモリ(例えば、マスクROM、Programmable ROM(PROM)、Erasable PROM(EPROM)、フラッシュROM、Random Access Memory(RAM))を含む。また、プログラムは、様々なタイプの一時的なコンピュータ可読媒体(transitory computer readable medium)によってコンピュータに供給されてもよい。一時的なコンピュータ可読媒体の例は、電気信号、光信号、及び電磁波を含む。一時的なコンピュータ可読媒体は、電線及び光ファイバ等の有線通信路、又は無線通信路を介して、プログラムをコンピュータに供給できる。
<その他の実施形態>
上述の複数の実施形態は、各々独立に実施されてもよいし、適宜組み合わせて実施されてもよい。
上述の複数の実施形態において、ProSe functionエンティティ4は、ProSe許可情報をUE1に送信するよう動作してもよい。ProSe許可情報は、ユーザが各ProSeサービス(e.g., ProSe Direct Discovery、EPC-level ProSe Discovery、EPC support WLAN Direct Discovery and Communication、及びone-to-many ProSe Direct Communication)の利用を許可されているか否かを示す。ProSe functionエンティティ4は、HSS33からProSe許可情報を受信してもよい。これに代えて、ProSe許可情報は、ProSe function エンティティにローカルに構成されてもよい。ProSe functionエンティティ4は、UE1のProSeのたの登録手順(図4のブロック401又は402)において、ProSe許可情報をUE1に送信してもよい。これにより、UE1は、自身に対してネットワークにより許可されているProSeサービスを認識することができるため、自身に許可されていないProSeサービス(例えば、EPC-level ProSe Discovery、又はProSe Direct Discovery)の要求をProSe functionエンティティ4に行うことを抑止できる。
なお、ProSe許可情報をProSe functionエンティティ4からUE1に送信する動作は、上述の複数の実施形態で説明された処理(すなわち、ユーザ承諾情報の転送及び利用)とは独立して実施されてもよい。ProSe許可情報をProSe functionエンティティ4からUE1に送信する動作は、ユーザ承諾情報の転送及び利用に依存せずに、上述の固有の効果を奏することができる。
上述の複数の実施形態において、ユーザ承諾情報は、モバイル・ネットワーク・オペレータが契約時等にUE購入者(ユーザ)の意思を確認して位置情報の利用に対するユーザの承諾を得られた場合に、当該オペレータによってHSS33に登録されてもよい。これに代えて、既に説明したように、HSS33に格納されるユーザ承諾情報は、例えば、ユーザがUE1のユーザインタフェースを介してユーザ承諾情報を変更するための操作を行うことによって変更されてもよい。この構成によれば、ユーザが位置情報の利用を一時的に不承諾にしたい場合にも対応可能である。さらには、ユーザ承諾情報が不承諾又は未登録であることに起因してProse通信(e.g., EPC-level ProSe discovery)をできない場合、functionエンティティ4を含むネットワークは、eNodeB21を介した通常の通信をUE1に実行させてもよい。さらに、ユーザ承諾情報が不承諾又は未登録である等の理由によりUE1がeNodeB21を介した通常の通信を実行している間にユーザ承諾情報が承諾に変更された場合には、ネットワークは、これをトリガーとして、通常の通信からProseダイレクト通信にUE1を移行させてもよい。さらには、Proseダイレクト通信中にユーザ承諾情報が承諾から不承諾に変更又は登録抹消された場合には、ネットワークは、Proseダイレクト通信から通常の通信にUE1を移行させてもよい。eNB21を介した通常の通信を実行するためには、通信に関わる複数のUE1が、其々何れかのeNB21のカバレッジ内にあることを条件としてもよい。
上述の実施形態では、主にEPSに関する具体例を用いて説明を行った。しかしながら、これらの実施形態は、その他の移動通信システム、例えば、Universal Mobile Telecommunications System(UMTS)、3GPP2 CDMA2000システム(1xRTT、High Rate Packet Data(HRPD))、Global System for Mobile communications(GSM)/General packet radio service(GPRS)システム、及びモバイルWiMAXシステム等に適用されてもよい。
さらに、上述した実施形態は本件発明者により得られた技術思想の適用に関する例に過ぎない。すなわち、当該技術思想は、上述した実施形態のみに限定されるものではなく、種々の変更が可能であることは勿論である。
1A、1B User Equipment (UE)
2 Evolved Universal Terrestrial Radio Access Network (E-UTRAN)
3 Evolved Packet Core (EPC)
4 Proximity-based Services (ProSe) functionエンティティ
5 ProSeアプリケーションサーバ
21 evolved NodeB (eNodeB)
22 セル
33 Home Subscriber Server (HSS)
34 Secure User Plane Location (SUPL) Location Platform (SLP)
100 Public Land Mobile Network (PLMN)
103 ProSeダイレクト通信パス

Claims (49)

  1. 制御装置であって、
    メモリと、
    前記メモリに結合された少なくとも1つのプロセッサと、
    を備え、
    前記少なくとも1つのプロセッサは、
    第1の無線端末のユーザ承諾情報を加入者情報サーバから受信するよう動作し、ここで前記ユーザ承諾情報は、前記第1の無線端末の位置を推定することができる位置情報の利用に対するユーザの承諾に関し、
    前記第1の無線端末及び第2の無線端末の近接を検出するためのディスカバリを行うために前記第1及び第2の無線端末のうち少なくとも一方と通信するよう動作し、ここで前記ディスカバリは、前記第1及び第2の無線端末の位置の前記制御装置による収集を含む、
    制御装置。
  2. 前記少なくとも1つのプロセッサは、前記ディスカバリを含むProximity-based Services(ProSe)を利用するための前記第1の無線端末の登録手順において、前記ユーザ承諾情報を前記加入者情報サーバから受信する、
    請求項1に記載の制御装置。
  3. 前記少なくとも1つのプロセッサは、前記登録手順において、前記ディスカバリが前記第1の無線端末に許可されているか否かを示す許可情報に加えて、前記ユーザ承諾情報を受信する、
    請求項2に記載の制御装置。
  4. 前記少なくとも1つのプロセッサは、さらに、前記許可情報を前記第1の無線端末に通知するよう動作する、
    請求項3に記載の制御装置。
  5. 前記少なくとも1つのプロセッサは、さらに、前記ユーザ承諾情報が不承諾又は未登録を示す場合に、前記登録手順において前記第1の無線端末の登録を拒絶するよう動作する、
    請求項2〜4のいずれか1項に記載の制御装置。
  6. 前記少なくとも1つのプロセッサは、さらに、前記ユーザ承諾情報が不承諾又は未登録であるために前記第1の無線端末の登録が拒絶されることを示す原因情報要素を含む登録拒絶メッセージを前記第1の無線端末に送信するよう動作する、
    請求項5に記載の制御装置。
  7. 前記少なくとも1つのプロセッサは、さらに、前記許可情報が許可を示すが前記ユーザ承諾情報が不承諾又は未登録を示す場合に、前記第1の無線端末による前記ディスカバリの利用を停止するよう動作する、
    請求項3又は4に記載の制御装置。
  8. 前記少なくとも1つのプロセッサは、さらに、前記ユーザ承諾情報が不承諾又は未登録であることを示す情報要素を含む登録完了メッセージを前記第1の無線端末に送信するよう動作する、
    請求項7に記載の制御装置。
  9. 前記少なくとも1つのプロセッサは、さらに、前記許可情報が許可を示し且つ前記ユーザ承諾情報が承諾を示す場合に、前記第1の無線端末による前記ディスカバリの利用を許可するよう動作する、
    請求項3又は4に記載の制御装置。
  10. 前記少なくとも1つのプロセッサは、前記登録手順において前記第1の無線端末の登録を受け入れた場合に、前記ディスカバリを実行するために前記第1及び第2の無線端末のうち少なくとも一方と通信する、
    請求項2〜9のいずれか1項に記載の制御装置。
  11. 前記少なくとも1つのプロセッサは、前記ディスカバリを前記第1の無線端末から要求されたが前記ユーザ承諾情報が不承諾又は未登録を示す場合に、前記ディスカバリの実行を拒絶する、
    請求項1〜4のいずれか1項に記載の制御装置。
  12. 前記少なくとも1つのプロセッサは、さらに、前記ユーザ承諾情報が不承諾又は未登録であるために前記ディスカバリの実行が拒絶されることを示す原因情報要素を含むメッセージを前記第1の無線端末に送信するよう動作する、
    請求項11に記載の制御装置。
  13. 前記少なくとも1つのプロセッサは、前記ディスカバリを前記第2の無線端末から要求されたが前記第1の無線端末の前記ユーザ承諾情報が不承諾又は未登録を示す場合に、前記ディスカバリの実行を拒絶する、
    請求項1〜4のいずれか1項に記載の制御装置。
  14. 前記少なくとも1つのプロセッサは、さらに、前記第1の無線端末の前記ユーザ承諾情報が不承諾又は未登録であるために前記ディスカバリの実行が拒絶されることを示す原因情報要素を含むメッセージを前記第2の無線端末に送信するよう動作する、
    請求項13に記載の制御装置。
  15. 前記少なくとも1つのプロセッサは、前記ユーザ承諾情報が承諾を示す場合に、前記ディスカバリの実行を許可する、
    請求項11〜14のいずれか1項に記載の制御装置。
  16. 前記少なくとも1つのプロセッサは、さらに、前記ユーザ承諾情報が不承諾又は未登録を示す場合に、直接的に又は位置情報管理装置を介して、前記位置情報の通知の起動要求を前記第1の無線端末に送信するよう動作する、
    請求項1〜15のいずれか1項に記載の制御装置。
  17. 前記ユーザ承諾情報は、承諾(consent)、不承諾(unconsent)、及び未登録(not-registered)のいずれかを示す、
    請求項1〜16のいずれか1項に記載の制御装置。
  18. 前記ユーザ承諾情報は、Minimization of Drive Test(MDT)に対する前記ユーザの承諾を示し、前記ディスカバリにおける前記位置情報の利用に対する前記ユーザの承諾を示すために兼用される、
    請求項1〜17のいずれか1項に記載の制御装置。
  19. 前記第1及び第2の無線端末は、公衆地上移動通信ネットワークを経由せずに直接的に互いの間で通信できるよう構成されている、
    請求項1〜18のいずれか1項に記載の制御装置。
  20. 加入者情報サーバであって、
    メモリと、
    前記メモリに結合された少なくとも1つのプロセッサと、
    を備え、
    前記少なくとも1つのプロセッサは、
    第1の無線端末のユーザ承諾情報をProximity-based Services(ProSe)制御装置に送信するよう動作し、ここで前記ユーザ承諾情報は、前記第1の無線端末の位置を推定することができる位置情報の利用に対するユーザの承諾に関する、
    加入者情報サーバ。
  21. 前記ユーザ承諾情報は、前記第1の無線端末及び第2の無線端末の近接を検出するためのディスカバリを行うか否かを決定するために前記ProSe制御装置によって使用される、
    請求項20に記載の加入者情報サーバ。
  22. 前記ユーザ承諾情報は、Minimization of Drive Test(MDT)に対する前記ユーザの承諾を示し、前記第1の無線端末及び第2の無線端末の近接を検出するディスカバリにおける前記位置情報の利用に対する前記ユーザの承諾を示すために兼用される、
    請求項20又は21に記載の加入者情報サーバ。
  23. 無線端末装置であって、
    メモリと、
    前記メモリに結合された少なくとも1つのプロセッサと、
    を備え、
    前記少なくとも1つのプロセッサは、
    前記無線端末装置の位置を推定することができる位置情報の通知の起動要求を、直接的に又は位置情報管理装置を介して、Proximity-based Services(ProSe)制御装置から受信するよう動作し、
    前記起動要求がユーザによって承諾されたことに応答して、前記位置情報の通知を起動するよう動作する、
    無線端末装置。
  24. 前記少なくとも1つのプロセッサは、さらに、前記位置情報の通知の起動要求が承諾されたことに応答して、加入者情報サーバにユーザ承諾情報を更新するよう通知するよう動作し、ここで前記ユーザ承諾情報は、前記位置情報の利用に対する前記ユーザの承諾に関する、
    請求項23に記載の無線端末装置。
  25. 前記ユーザ承諾情報は、前記加入者情報サーバから前記ProSe制御装置に送信され、前記無線端末装置及び他の無線端末の近接を検出するためのディスカバリを行うか否かを決定するために前記ProSe制御装置によって使用される、
    請求項24に記載の無線端末装置。
  26. 前記ユーザ承諾情報は、Minimization of Drive Test(MDT)に対する前記ユーザの承諾を示し、前記無線端末装置及び他の無線端末の近接を検出するディスカバリにおける前記位置情報の利用に対する前記ユーザの承諾を示すために兼用される、
    請求項24又は25に記載の無線端末装置。
  27. 制御装置によって行われる方法であって、
    第1の無線端末のユーザ承諾情報を加入者情報サーバから受信すること、ここで前記ユーザ承諾情報は、前記第1の無線端末の位置を推定することができる位置情報の利用に対するユーザの承諾に関し、及び
    前記第1の無線端末及び第2の無線端末の近接を検出するためのディスカバリを行うために前記第1及び第2の無線端末のうち少なくとも一方と通信すること、ここで前記ディスカバリは、前記第1及び第2の無線端末の位置の前記制御装置による収集を含む、
    を備える、方法。
  28. 前記受信することは、前記ディスカバリを含むProximity-based Services(ProSe)を利用するための前記第1の無線端末の登録手順において、前記ユーザ承諾情報を前記加入者情報サーバから受信することを含む、
    請求項27に記載の方法。
  29. 前記受信することは、前記登録手順において、前記ディスカバリが前記第1の無線端末に許可されているか否かを示す許可情報に加えて、前記ユーザ承諾情報を受信することを含む、
    請求項28に記載の方法。
  30. 前記許可情報を前記第1の無線端末に通知することをさらに備える、
    請求項29に記載の方法。
  31. 前記ユーザ承諾情報が不承諾又は未登録を示す場合に、前記登録手順において前記第1の無線端末の登録を拒絶することをさらに備える、
    請求項28〜30のいずれか1項に記載の方法。
  32. 前記ユーザ承諾情報が不承諾又は未登録であるために前記第1の無線端末の登録が拒絶されることを示す原因情報要素を含む登録拒絶メッセージを前記第1の無線端末に送信することをさらに備える、
    請求項31に記載の方法。
  33. 前記許可情報が許可を示すが前記ユーザ承諾情報が不承諾又は未登録を示す場合に、前記第1の無線端末による前記ディスカバリの利用を停止することをさらに備える、
    請求項29又は30に記載の方法。
  34. 前記ユーザ承諾情報が不承諾又は未登録であることを示す情報要素を含む登録完了メッセージを前記第1の無線端末に送信することをさらに備える、
    請求項33に記載の方法。
  35. 前記許可情報が許可を示し且つ前記ユーザ承諾情報が承諾を示す場合に、前記第1の無線端末による前記ディスカバリの利用を許可することをさらに備える、
    請求項29又は30に記載の方法。
  36. 前記通信することは、前記登録手順において前記第1の無線端末の登録が受け入れられた場合に行われる、請求項28〜35のいずれか1項に記載の方法。
  37. 前記通信することは、前記ディスカバリを前記第1の無線端末から要求されたが前記ユーザ承諾情報が不承諾又は未登録を示す場合に、前記ディスカバリの実行を拒絶することを含む、
    請求項27〜30のいずれか1項に記載の方法。
  38. 前記ユーザ承諾情報が不承諾又は未登録であるために前記ディスカバリの実行が拒絶されることを示す原因情報要素を含むメッセージを前記第1の無線端末に送信することをさらに備える、
    請求項37に記載の方法。
  39. 前記通信することは、前記ディスカバリを前記第2の無線端末から要求されたが前記第1の無線端末の前記ユーザ承諾情報が不承諾又は未登録を示す場合に、前記ディスカバリの実行を拒絶することを含む、
    請求項27〜30のいずれか1項に記載の方法。
  40. 前記第1の無線端末の前記ユーザ承諾情報が不承諾又は未登録であるために前記ディスカバリの実行が拒絶されることを示す原因情報要素を含むメッセージを前記第2の無線端末に送信することをさらに備える、
    請求項39に記載の方法。
  41. 前記通信することは、前記ユーザ承諾情報が承諾を示す場合に、前記ディスカバリの実行を許可することを含む、
    請求項37〜40のいずれか1項に記載の方法。
  42. 前記ユーザ承諾情報が不承諾又は未登録を示す場合に、直接的に又は位置情報管理装置を介して、前記位置情報の通知の起動要求を前記第1の無線端末に送信することをさらに備える、
    請求項27〜41のいずれか1項に記載の方法。
  43. 前記ユーザ承諾情報は、Minimization of Drive Test(MDT)に対する前記ユーザの承諾を示し、前記ディスカバリにおける前記位置情報の利用に対する前記ユーザの承諾を示すために兼用される、
    請求項27〜42のいずれか1項に記載の方法。
  44. 加入者情報サーバによって行われる方法であって、
    第1の無線端末のユーザ承諾情報をProximity-based Services(ProSe)制御装置に送信すること、ここで前記ユーザ承諾情報は、前記第1の無線端末の位置を推定することができる位置情報の利用に対するユーザの承諾に関する、
    を備える、方法。
  45. 第1の無線端末により行われる方法であって、
    前記第1の無線端末の位置を推定することができる位置情報の通知の起動要求を、直接的に又は位置情報管理装置を介して、Proximity-based Services(ProSe)制御装置から受信すること、及び
    前記起動要求がユーザによって承諾されたことに応答して、前記位置情報の通知を起動すること、
    を備える、方法。
  46. 前記位置情報の通知の起動要求が承諾されたことに応答して、加入者情報サーバにユーザ承諾情報を更新するよう通知することをさらに備え、ここで前記ユーザ承諾情報は、前記位置情報の利用に対する前記ユーザの承諾に関する、
    請求項45に記載の方法。
  47. コンピュータに読み込まれた場合に請求項27〜43のいずれか1項に記載の方法をコンピュータに行わせるソフトウェアコードを備えるプログラム。
  48. コンピュータに読み込まれた場合に請求項44に記載の方法をコンピュータに行わせるソフトウェアコードを備えるプログラム。
  49. コンピュータに読み込まれた場合に請求項45又は46に記載の方法をコンピュータに行わせるソフトウェアコードを備えるプログラム。
JP2015005835A 2015-01-15 2015-01-15 制御装置、加入者情報サーバ、及びこれらの方法 Active JP6451335B2 (ja)

Priority Applications (1)

Application Number Priority Date Filing Date Title
JP2015005835A JP6451335B2 (ja) 2015-01-15 2015-01-15 制御装置、加入者情報サーバ、及びこれらの方法

Applications Claiming Priority (1)

Application Number Priority Date Filing Date Title
JP2015005835A JP6451335B2 (ja) 2015-01-15 2015-01-15 制御装置、加入者情報サーバ、及びこれらの方法

Publications (2)

Publication Number Publication Date
JP2016134635A true JP2016134635A (ja) 2016-07-25
JP6451335B2 JP6451335B2 (ja) 2019-01-16

Family

ID=56464578

Family Applications (1)

Application Number Title Priority Date Filing Date
JP2015005835A Active JP6451335B2 (ja) 2015-01-15 2015-01-15 制御装置、加入者情報サーバ、及びこれらの方法

Country Status (1)

Country Link
JP (1) JP6451335B2 (ja)

Cited By (2)

* Cited by examiner, † Cited by third party
Publication number Priority date Publication date Assignee Title
JP2018511999A (ja) * 2015-03-17 2018-04-26 ノキア テクノロジーズ オサケユイチア 無線ルーティング
WO2023168620A1 (zh) * 2022-03-09 2023-09-14 Oppo广东移动通信有限公司 获取用户同意的方法、装置、设备及存储介质

Citations (3)

* Cited by examiner, † Cited by third party
Publication number Priority date Publication date Assignee Title
JP2004517573A (ja) * 2001-01-04 2004-06-10 ノキア コーポレイション 通信ネットワークでプライバシーを呼び出す方法
WO2011044363A1 (en) * 2009-10-07 2011-04-14 Kineto Wireless, Inc. Method and apparatus for recovering from a signalling connection failure
US20140357297A1 (en) * 2012-01-19 2014-12-04 Nec Corporation Radio communication system, radio station, radio terminal, network operation management apparatus, and communication quality confirmation method

Patent Citations (3)

* Cited by examiner, † Cited by third party
Publication number Priority date Publication date Assignee Title
JP2004517573A (ja) * 2001-01-04 2004-06-10 ノキア コーポレイション 通信ネットワークでプライバシーを呼び出す方法
WO2011044363A1 (en) * 2009-10-07 2011-04-14 Kineto Wireless, Inc. Method and apparatus for recovering from a signalling connection failure
US20140357297A1 (en) * 2012-01-19 2014-12-04 Nec Corporation Radio communication system, radio station, radio terminal, network operation management apparatus, and communication quality confirmation method

Non-Patent Citations (1)

* Cited by examiner, † Cited by third party
Title
INTEL, III, SONY: "Solution for EPC-level ProSe Discovery", 3GPP TSG-SA WG2#97 S2-131695, JPN6018034808, 21 May 2013 (2013-05-21), FR, pages 6 - 2, ISSN: 0003872565 *

Cited By (3)

* Cited by examiner, † Cited by third party
Publication number Priority date Publication date Assignee Title
JP2018511999A (ja) * 2015-03-17 2018-04-26 ノキア テクノロジーズ オサケユイチア 無線ルーティング
US10993108B2 (en) 2015-03-17 2021-04-27 Nokia Technologies Oy Wireless routing
WO2023168620A1 (zh) * 2022-03-09 2023-09-14 Oppo广东移动通信有限公司 获取用户同意的方法、装置、设备及存储介质

Also Published As

Publication number Publication date
JP6451335B2 (ja) 2019-01-16

Similar Documents

Publication Publication Date Title
RU2695809C2 (ru) Способы и объект управления мобильностью (мме) для перенаправления пользовательского оборудования (ue) на назначенный узел базовой сети
EP2753133B1 (en) Method of handling proximity service in wireless communication system
RU2703512C2 (ru) Оптимизации для ретрансляционной связи
CN112512029B (zh) 用于ProSe通信的方法、基站及WTRU
CN104918299B (zh) 一种支持ue接入控制的方法
US10064221B2 (en) Determining a transition of a terminal between its idle state and its connected state
US20180049259A1 (en) Apparatus and method for proximity-based service communication
TWI768398B (zh) 使用增強專用核心網路(dcn)選擇方法、裝置及系統
JP6601495B2 (ja) 無線端末装置、d2dコントローラ、及び方法
WO2016135790A1 (ja) 近接サービス通信のための装置及び方法
JPWO2016142973A1 (ja) 近接サービス通信のための装置及び方法
JP2017525265A (ja) デバイス間通信のためのレイヤ1宛先アドレスの設定
KR101920267B1 (ko) 제어 장치, 무선 통신 디바이스, 및 이들의 방법
JP6451335B2 (ja) 制御装置、加入者情報サーバ、及びこれらの方法
WO2016125213A1 (ja) 近接サービス通信のための装置及び方法
US9955520B2 (en) Method for configuring dual connectivity for terminal by base station in wireless communication system and apparatus for same
WO2016194264A1 (ja) 無線端末装置、ネットワークノード、及び方法
KR20170048455A (ko) 무선 단말, 제어 장치, 및 이들의 방법
WO2016135791A1 (ja) 近接サービス通信のための装置及び方法
JP6597772B2 (ja) 無線端末装置及びその方法
JP6451366B2 (ja) 近接サービス通信のための装置及び方法

Legal Events

Date Code Title Description
A621 Written request for application examination

Free format text: JAPANESE INTERMEDIATE CODE: A621

Effective date: 20171208

A131 Notification of reasons for refusal

Free format text: JAPANESE INTERMEDIATE CODE: A131

Effective date: 20180904

A977 Report on retrieval

Free format text: JAPANESE INTERMEDIATE CODE: A971007

Effective date: 20180831

A521 Request for written amendment filed

Free format text: JAPANESE INTERMEDIATE CODE: A523

Effective date: 20181011

TRDD Decision of grant or rejection written
A01 Written decision to grant a patent or to grant a registration (utility model)

Free format text: JAPANESE INTERMEDIATE CODE: A01

Effective date: 20181113

A61 First payment of annual fees (during grant procedure)

Free format text: JAPANESE INTERMEDIATE CODE: A61

Effective date: 20181126

R150 Certificate of patent or registration of utility model

Ref document number: 6451335

Country of ref document: JP

Free format text: JAPANESE INTERMEDIATE CODE: R150