JP2016005019A - 管理サーバ、通信制御方法および無線通信システム - Google Patents

管理サーバ、通信制御方法および無線通信システム Download PDF

Info

Publication number
JP2016005019A
JP2016005019A JP2014122368A JP2014122368A JP2016005019A JP 2016005019 A JP2016005019 A JP 2016005019A JP 2014122368 A JP2014122368 A JP 2014122368A JP 2014122368 A JP2014122368 A JP 2014122368A JP 2016005019 A JP2016005019 A JP 2016005019A
Authority
JP
Japan
Prior art keywords
area
application
management server
throughput
terminal
Prior art date
Legal status (The legal status is an assumption and is not a legal conclusion. Google has not performed a legal analysis and makes no representation as to the accuracy of the status listed.)
Withdrawn
Application number
JP2014122368A
Other languages
English (en)
Inventor
ジャンエード ゾマホン
Jean-Eudes Zomahoun
ジャンエード ゾマホン
賢郎 関根
Kenro Sekine
賢郎 関根
幸男 中野
Yukio Nakano
幸男 中野
Current Assignee (The listed assignees may be inaccurate. Google has not performed a legal analysis and makes no representation or warranty as to the accuracy of the list.)
Hitachi Ltd
Original Assignee
Hitachi Ltd
Priority date (The priority date is an assumption and is not a legal conclusion. Google has not performed a legal analysis and makes no representation as to the accuracy of the date listed.)
Filing date
Publication date
Application filed by Hitachi Ltd filed Critical Hitachi Ltd
Priority to JP2014122368A priority Critical patent/JP2016005019A/ja
Publication of JP2016005019A publication Critical patent/JP2016005019A/ja
Withdrawn legal-status Critical Current

Links

Images

Landscapes

  • Mobile Radio Communication Systems (AREA)
  • Telephone Function (AREA)
  • Telephonic Communication Services (AREA)

Abstract

【課題】アプリケーションが必要とするスループットが確保可能なエリアの情報をユーザに提供する。
【解決手段】端末を収容する基地局に接続された管理サーバであって、端末が使用しているアプリケーションによる現在の通信品質を測定し、前記アプリケーションによる現在の通信品質と当該アプリケーションに必要な通信品質とを比較することによって、低い品質で当該アプリケーションを使用している端末を特定し、前記アプリケーションに必要な通信品質が満たされるエリアを特定し、前記特定されたエリアの情報を、前記特定された端末に提供する。
【選択図】図11

Description

本発明は、セルラ方式を用いた無線通信システムに関する。
スマートフォンの普及に伴い、パケット通信量が急増している。また、例えば、ターミナル駅などの人が集まる場所と、人の密度が小さい場所とでトラフィック量に差が生じている。その結果、特定のエリアにトラフィックが集中し、アプリケーションを実行するために必要なスループットが得られないことがある。
本技術分野の背景技術として、特開2013−58948号公報(特許文献1)がある。
特許文献1は、所望の品質が得られるエリアへの移動を誘導する無線アクセスシステムを開示する。当該無線アクセスシステムでは、無線基地局はセル内に在圏する各ユーザ端末UEから定期的に該セルを任意に細分化した各小エリアの品質情報と当該ユーザ端末の位置情報とを受信して、該当の小エリアに関する品質情報として一旦保存し、特定時間間隔経過の都度その間に保存された品質情報を集計し、各小エリアの最新の通信品質情報として各小エリアのエリア情報が記録された小エリア管理テーブルに更新登録する。無線基地局はユーザ端末から接続確立要求があると、小エリア管理テーブルを参照し、当該ユーザ端末が存在する小エリアを特定し、かつ、当該小エリアおよび当該小エリアの周辺に位置する小エリアそれぞれに関するエリア情報と通信品質情報とを、接続確立要求の応答として、要求元のユーザ端末に返送する。
特開2013−58948号公報
前述した従来技術では、周辺のエリアの通信品質情報を表示するものであり、ユーザが使用しているアプリケーションと通信品質を関係してユーザに通知することは考慮されていなかった。すなわち、従来技術では、ユーザが使用しているアプリケーションに必要なスループットが得られるかは不明であった。
本願において開示される発明の代表的な一例を示せば以下の通りである。すなわち、端末を収容する基地局に接続された管理サーバであって、端末が使用しているアプリケーションによる現在の通信品質を測定し、前記アプリケーションによる現在の通信品質と当該アプリケーションに必要な通信品質とを比較することによって、低い品質で当該アプリケーションを使用している端末を特定し、前記アプリケーションに必要な通信品質が満たされるエリアを特定し、前記特定されたエリアの情報を、前記特定された端末に提供する。
本発明の代表的な実施の形態によれば、各アプリケーションが必要とするスループットが確保可能なエリアの情報をユーザに提供することができる。前述した以外の課題、構成および効果は、以下の実施例の説明により明らかにされる。
第1実施例のシステムの全体の構成を示す図である。 第1実施例において、アプリが必要とするスループットが得られるエリアを端末に提供するシステムの構成の例を示す図である。 第1実施例のUE−IPアドレスデータベースで管理されるテーブルの構成の一例を示す図である。 第1実施例のアプリ品質基準データベースで管理されるテーブルの構成の一例を示す図である。 第1実施例のエリア情報データベースで管理されるテーブルの構成の一例を示す図である。 第1実施例のアプリサーバIPアドレス・スループットメッセージの構成の一例を示す図である。 第1実施例のエリア残スループットメッセージの構成の一例を示す図である。 第1実施例のエリア計算部で管理されるテーブルの構成の一例を示す図である。 第1実施例のMMEから対象UE−IPアドレス処理部へ、端末のIPアドレスおよび所属エリア番号の更新を要求する動作を示すシーケンス図である。 第1実施例のエリア残スループット計算部がエリアの残スループットを計算する動作を示すシーケンス図である。 第1実施例のサービス対象の端末の周辺で、アプリに必要とされるスループットが得られるエリアを求める動作を示すシーケンス図である。 第1実施例のアプリ品質比較部の動作を示すフローチャートである。 第1実施例のエリア計算部の動作を示すフローチャートである。 第2実施例のセルとエリアの関係を示す図である。 第2実施例のシステムの全体の構成を示す図である。 第2実施例において、アプリが必要とするスループットが得られるエリアを端末405に提供するシステムの構成の例を示す図である。 第2実施例のエリア情報データベースで管理されるテーブルの構成の一例を示す図である。 第2実施例のスロット容量データベースで管理されるテーブルの構成の一例を示す図である。 第2実施例のエリア残スループット計算部がエリアの残スループットを計算する動作を示すシーケンス図である。 第2実施例のエリア残スループット計算部の動作を示すフローチャートである。
<実施例1>
本実施例では、ユーザに提供するエリアをセル単位で案内する方法を説明する。セルとは、一組のアンテナから放出される電波が届く範囲である。すなわち、セル内における全ユーザは、基地局から送信された電波を共有することができる。
図1は、第1実施例のシステムの全体の構成を示す図である。
第1施例のシステムは、UE−IPアドレスデータベース101、アプリ品質基準データベース102、エリア情報データベース103、計測・監視装置201、管理サーバ202、無線コアネットワーク203および基地局601〜603を有する。基地局601〜603はエリア401〜403を各々形成し、セル範囲内の端末405と無線で通信し、該端末405を収容する。管理サーバ202と基地局601〜603とは、無線コアネットワーク203によって接続される。無線コアネットワーク203は、UEトラフィック線205を介してインターネット301に接続されている。インターネット301には、端末405にアプリケーションを提供するアプリケーションサーバ310が接続されている。計測・監視装置201は、UEトラフィック線205を流れるトラフィックを監視する。
本実施例のシステムにおいて、エリア403に収容される端末405は基地局603、無線コアネットワーク203およびUEトラフィック線205を介して、インターネット301と接続される。アプリケーションサーバ310は、端末405にアプリケーションを提供する。管理サーバ202は、計測・監視装置201、無線コアネットワーク203、UE−IPアドレスデータベース101、アプリ品質基準データベース102、エリア情報データベース103と接続される。
図2は、第1実施例において、アプリが必要とするスループットが得られるエリアを端末405に提供するシステムの構成の例を示す図である。
図2に示すように、第1実施例のシステムは、UE−IPアドレスデータベース101、アプリ品質基準データベース102、エリア情報データベース103、計測・監視装置201、管理サーバ202およびMME(Mobility Management Entity)501を有する。MME501は、無線コアネットワーク203の内部にある。管理サーバ202は、アプリ品質比較部302、エリア残スループット計算部303、対象UE−IPアドレス処理部304、エリア計算部305、現在位置要求送信部306、現在位置受信部307、および品質の良いエリア位置情報送信部308を有する。
管理サーバ202は、プロセッサ(CPU)、メモリ、補助記憶装置、及び通信インターフェースを有する計算機であり、メモリに格納されたプログラムをプロセッサが実行することによって、管理サーバ202の機能を実現する。メモリは、不揮発性の記憶素子であるROM及び揮発性の記憶素子であるRAMを含む。ROMは、不変のプログラム(例えば、BIOS)などを格納する。RAMは、DRAM(Dynamic Random Access Memory)のような高速かつ揮発性の記憶素子であり、補助記憶装置に格納されたプログラム及びプログラムの実行時に使用されるデータを一時的に格納する。具体的には、メモリは、アプリ品質比較プログラム、エリア残スループット計算プログラム、対象UE−IPアドレス処理プログラム、エリア計算プログラム、現在位置要求送信プログラム、現在位置受信プログラム、および品質の良いエリア位置情報送信プログラム等を格納する。これらのプログラムによって、後述する前述した機能ブロックが実装される。
補助記憶装置は、例えば、磁気記憶装置(HDD)、フラッシュメモリ(SSD)等の大容量かつ不揮発性の記憶装置である。また、補助記憶装置は、プロセッサが実行するプログラム及びプログラムの実行時に使用されるデータ(UE−IPアドレスデータベース101、アプリ品質基準データベース102、エリア情報データベース103など)を格納する。すなわち、プログラムは、補助記憶装置から読み出されて、メモリにロードされて、プロセッサによって実行される。
通信インターフェースは、所定のプロトコルに従って、他の装置との通信を制御するネットワークインターフェース装置である。
プロセッサが実行するプログラムは、リムーバブルメディア(CD−ROM、フラッシュメモリなど)又はネットワークを介して管理サーバ202に提供され、非一時的記憶媒体である補助記憶装置に格納される。このため、管理サーバ202は、リムーバブルメディアからデータを読み込むインターフェースを有するとよい。
管理サーバ202は、物理的に一つの計算機上で、又は、論理的又は物理的に複数の計算機上で構成される計算機システムであり、前述したプログラムが、同一の計算機上で別個のスレッドで動作してもよく、複数の物理的計算機資源上に構築された仮想計算機上で動作してもよい。
計測・監視装置201は、インターネット301と無線コアネットワーク203との間の通信線(UEトラフィック線205)と接続され、UEトラフィック線205を流れるトラフィックを監視する。計測・監視装置201が監視するトラフィックは、管理される通信品質にあわせて上りおよび下りの両方のトラフィックでも、上りのトラフィックでも、下りのトラフィックでもよい。また、計測・監視装置201は、アプリ品質比較部302、エリア残スループット計算部303、および対象UE−IPアドレス処理部304と接続される。
対象UE−IPアドレス処理部304は、UE−IPアドレスデータベース101と接続され、監視対象の端末405のIPアドレスを計測・監視装置201に通知する。
MME501は、対象UE−IPアドレス処理部304と接続され、IMSI・UE−IPアドレス・エリア番号更新メッセージを対象UE−IPアドレス処理部304に通知する。
アプリ品質比較部302は、アプリ品質基準データベース102、現在位置要求送信部306、およびエリア計算部305と接続される。
エリア情報データベース103は、エリア残スループット計算部303およびエリア計算部305と接続される。
エリア計算部305は、現在位置受信部307、UE−IPアドレスデータベース101および品質の良いエリア位置情報送信部308と接続される。
図3は、UE−IPアドレスデータベース101で管理されるテーブルの構成の一例を示す図である。以降、各種データベースおよびメッセージをテーブル形式で説明するが、これらのデータベースは必ずしもテーブルによるデータ構造で表現されず、それ以外のデータ構造(リスト、キュー等)で表現されてもよい。
図3に示すテーブルは、IMSI#1011、UE−IPアドレス1012、UE移動可能半径1013、エリア番号1014およびサービス対象1015の列要素を含む。UE−IPアドレスデータベース101は、本システムが提供するサービスを受ける全ての端末405が記録される。
IMSI#1011には、IMSI番号が記録される。IMSI番号は、端末405に付与される一意の加入者識別番号である。UE−IPアドレス1012には、サービス対象の端末405を識別するための識別情報(例えば、IPアドレス)が記録される。UE移動可能半径1013には、サービス対象の端末405毎に任意に設定された移動可能半径が記録される。エリア番号1014には、サービス対象の端末405が現在所属するエリアの番号が記録される。サービス対象1015には、本システムが提供するサービスに登録したかが、サービス対象の端末405ごとに登録される。以降、ユーザが登録したサービスを対象サービスと称す。
図4は、アプリ品質基準データベース102で管理されるテーブルの構成の一例を示す図である。
図4に示すテーブルは、アプリIPアドレス1021、アプリ名1022およびアプリ品質基準1023の列要素を含む。アプリIPアドレス1021には、アプリケーションを提供するアプリケーションサーバを識別するための識別情報(例えば、IPアドレス)が記録される。アプリ名1022には、アプリケーションの名称が記録される。アプリ品質基準1023には、アプリケーションが機能するために必要な品質がアプリごとに登録される。
図5は、エリア情報データベース103で管理されるテーブルの構成の一例を示す図である。
図5に示すテーブルは、エリア番号1031、エリア容量1032およびエリア残スループット1033の列要素を含む。エリア番号1031には、エリアを一意に識別するための識別情報が記録される。エリア容量1032には、各エリアに設定された伝送可能最大スループット容量が記録される。エリア残スループット1033には、現在使用可能なスループットがエリアごとに登録される。
次に、各ユニット間で送受信されるメッセージの形式について説明する。
エリア番号・スループットメッセージ600は、計測・監視装置201からエリア残スループット計算部303へ送信され、全ての端末405についてのエリア番号およびスループットを含む。エリア番号は、計測・監視装置201が監視する全ての端末405のトラフィックの宛先であるエリア番号である。スループットは、計測・監視装置201が監視する端末405ごとのトラフィックのスループットである。
アプリサーバIPアドレス・スループットメッセージ700は、計測・監視装置201からアプリ品質比較部302へ送信される。アプリIPアドレス・スループットメッセージ700は、図6に示すように、サービス対象の端末405についてのUE−IPアドレス7001、アプリIPアドレス7002、スループット7003の列要素を含む。以降、各種メッセージをテーブル形式で説明するが、これらのメッセージは必ずしもテーブルによるデータ構造で表現されず、それ以外のデータ構造(リスト、キュー等)で表現されてもよい。
UE−IPアドレス7001には、計測・監視装置201が監視するサービス対象の端末405のIPアドレスが記録される。アプリIPアドレス7002には、計測・監視装置201が監視する対象の端末405が使用しているアプリケーションを提供するアプリケーションサーバを識別するための識別情報(例えば、IPアドレス)が記録される。スループット7003には、端末405が現在使用しているスループットが端末405ごとに記録される。
アプリ品質基準リクエストメッセージ800は、アプリ品質比較部302からアプリ品質基準データベース102へ送信され、アプリケーションサーバのIPアドレスを含む。アプリ品質基準データベース102は、アプリ品質基準リクエストメッセージ800によって、品質基準をリクエストするアプリケーションサーバのIPアドレスを登録する。
アプリ品質基準メッセージ900は、アプリ品質基準データベース102からアプリ品質比較部302へ送信され、アプリサーバIPアドレスおよびアプリ品質基準を含む。アプリIPアドレス9001は、アプリケーションサーバを識別するための識別情報(例えば、IPアドレス)である。アプリ品質基準9002は、アプリケーションプログラムを実行するための品質基準(スループット)である。
エリア残スループットリクエストメッセージ1000は、エリア計算部305からエリア情報データベース103へ送信され、エリア情報データベース103から残スループットを読み出すエリアの番号を含む。エリア計算部305は、サービス対象の端末405の周囲のエリアの番号をエリア残スループットリクエストメッセージ1000に指定して、端末405の周囲のエリアの残スループットを取得する。
エリア容量リクエストメッセージ1100は、エリア残スループット計算部303からエリア情報データベース103へ送信され、エリア情報データベース103からエリア容量を読み出すエリアの番号を含む。
エリア容量メッセージ1200は、エリア情報データベース103からエリア残スループット計算部303へ送信され、エリア番号およびエリア容量を含む。エリア番号は、エリア容量リクエストメッセージ1100で要求されたエリア番号である。エリア容量は、当該エリアの容量(最大スループット)である。
エリア残スループット登録メッセージ1300は、エリア残スループット計算部303が残スループットをエリア情報データベース103へデータを登録するためのメッセージであり、エリア番号およびエリア残スループットを含む。エリア番号は、残スループットを登録するエリアの番号である。エリア残スループットは、エリア残スループット計算部303が算出した残スループットである。
エリア残スループットメッセージ1400は、エリア情報データベース103からエリア計算部305へ送信され、エリア番号およびエリア残スループットを含む。エリア番号は、図7に示すように、エリア容量リクエストメッセージ1100で要求されたエリア番号である。エリア残スループットは、当該エリアの残スループットである。
UE移動可能半径リクエストメッセージ1500は、エリア計算部305からUE−IPアドレスデータベース101へ送信され、移動可能半径を要求するUEのIPアドレスを含む。
UE移動可能半径メッセージ1600は、UE−IPアドレスデータベース101からエリア計算部305へ送信され、UE−IPアドレスおよびUE移動可能半径を含む。UE−IPアドレスは、移動可能半径を要求した端末405のIPアドレスである。UE移動可能半径は、端末405の移動可能半径の値である。
エリア更新メッセージ1700は、MME501から対象UE−IPアドレス処理部304へ送信され、IMSI番号、UE−IPアドレスおよびエリア番号を含む。IMSI番号は、端末405を一意に識別するためのIMSI番号である。UE−IPアドレスは、端末405のIPアドレスである。エリア番号は、端末405が所属するエリアのエリア番号である。
エリア情報メッセージ1800は、エリア計算部305から品質の良いエリア位置情報送信部308へ送信され、エリア中心、エリア半径、エリア残スループットおよびUE移動可能半径を含む。エリア中心は、サービス対象の端末405へ紹介する品質の良いエリアの中心の緯度および経度である。エリア半径は、サービス対象の端末405へ紹介する品質の良いエリアの半径である。エリア残スループットは、サービス対象の端末405へ紹介する品質の良いエリアの残スループットである。UE移動可能半径は、サービス対象の端末405の移動可能半径である。
アプリ品質基準メッセージ1900は、アプリ品質比較部302からエリア計算部305へ送信され、UE−IPアドレスおよびアプリ品質基準を含む。UE−IPアドレスは、サービス対象の端末のIPアドレスである。アプリ品質基準は、アプリ品質基準の値である。
図8は、エリア計算部305で管理されるテーブルの構成の一例を示す図である。
図8に示すテーブルは、エリア番号20001、エリア中心20002およびエリア半径20003の列要素を含む。エリア番号20001は、エリアを一意に識別するための番号である。エリア中心20002は、エリアの中心点の緯度および経度である。エリア半径20003は、エリアの半径である。
図9は、MME501から対象UE−IPアドレス処理部304へ、端末のIPアドレスおよび所属エリア番号の更新を要求する動作を示すシーケンス図である。
MME501は、端末405のIPアドレス、または、端末405が所属するエリアが変更されたことを検出した場合、端末405のIMSI番号、端末405の新しいIPアドレスおよび端末405が所属する新しいエリアのエリア番号をエリア更新メッセージ1700に登録し、管理サーバ202内の対象UE−IPアドレス処理部304へ送信する。対象UE−IPアドレス処理部304は、エリア更新メッセージ1700を受信すると、端末405の新しいIPアドレスおよび/まはた新しいエリア番号2000をUE−IPアドレスデータベース101に書き込む。また、対象UE−IPアドレス処理部304は、端末405の新しいIPアドレスおよび新しいエリア番号2100を計測・監視装置201へ送信する。計測・監視装置201は、受信した新しいIPアドレスおよび新しいエリア番号によって、対象ユーザであるかを判定する。
図10は、エリア残スループット計算部303がエリアの残スループットを計算する動作を示すシーケンス図である。
計測・監視装置201は、UEトラフィック線205と接続されており、UEトラフィックを常時監視し、単位時間あたりのトラフィック量、すなわちスループットを全端末毎、かつアプリケーションサーバ毎に計算する(2201)。また、計測・監視装置201は、対象UE−IPアドレス処理部304から通知されたUE−IPアドレスと端末405のエリア番号との関係を用いて端末405のエリア番号を特定し、エリア番号とスループットの関係を含むエリア番号・スループットメッセージ600をエリア残スループット計算部303へ送信する。
エリア残スループット計算部303は、対象範囲の全エリア番号についてのエリア容量リクエストメッセージ1100をエリア情報データベース103へ送信する。
エリア情報データベース103は、エリア容量リクエストメッセージ1100を受信すると、エリア情報データベース103のエリア容量1032に登録された伝送可能最大スループット容量を読み出し、エリア容量メッセージ1200に含めて、エリア残スループット計算部303へ送信する。
エリア残スループット計算部303は、エリア容量メッセージ1200を受信すると、各エリアの残スループットを計算する。具体的には、エリア残スループット計算部303は、以下の方法で各エリアの残スループットを計算する。まず、エリアにいる全端末405のスループットを加算して、そのエリアの総スループットを計算する。次に、計算されたエリアの総スループットをエリア容量から減算して、エリア残スループットを計算する。
なお、アプリケーションサーバ310の伝送容量がエリア容量として管理されている場合、そのエリアにいる全端末405と対象となるアプリケーションサーバ310との間のスループットを加算して、そのエリアの総スループットを計算する。次に、計算されたエリアの総スループットをエリア容量(アプリケーションサーバ310の伝送容量)からエリアの総スループットを減算して、エリア残スループットを計算してもよい。
エリア残スループット計算部303は、計算した残スループットをエリア残スループット登録メッセージ1300に含めて、エリア情報データベース103へ送信する。
エリア情報データベース103は、エリア残スループット登録メッセージ1300を受信すると、エリア情報データベース103のエリア残スループット1033を更新する。
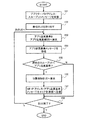
図11は、サービス対象の端末405の周辺で、アプリに必要とされるスループットが得られるエリアを求める動作を示すシーケンス図である。
計測・監視装置201は、UEトラフィック線205と接続されており、端末405のトラフィックを常時監視し、UE−IPアドレス宛のパケットを特定し、パケット内のアプリケーションサーバのIPアドレス(すなわち、アプリIPアドレス)を抽出する。そのアプリの単位時間あたりのトラフィック量(すなわち、スループット)を端末405のアプリケーションごとに計算する。また、計測・監視装置201は、これらの情報を用いて、アプリIPアドレス・スループットメッセージ700を作成し、アプリ品質比較部302へ送信する。
アプリ品質比較部302は、アプリ品質基準データベース102へアプリ品質基準リクエストメッセージ800を送信し、アプリ品質基準を要求する。アプリ品質基準データベース102は、アプリ品質比較部302へアプリ品質基準メッセージ900を送信する。アプリ品質比較部302は、アプリ品質基準メッセージ900を受信すると、端末405のアプリケーションのスループットとアプリ品質基準とを比較する。比較の結果、端末405のアプリケーションのスループットがアプリ品質基準を下回れば、アプリ品質比較部302は当該端末405へ位置情報を要求する。また、アプリ品質比較部302は、アプリ品質基準メッセージ1900をエリア計算部305へ送信する。アプリ品質比較部302の動作の詳細は、図12を用いて後述する。
エリア計算部305は、サービス対象の端末405の位置情報を受信すると、UE移動可能半径リクエストメッセージ1500をUE−IPアドレスデータベース101へ送信し、UE移動可能半径をリクエストする。UE−IPアドレスデータベース101は、UE移動可能半径メッセージ1600を、エリア計算部305へ送信する。
エリア計算部305は、UE移動可能半径を受信すると、サービス対象の端末405の周辺のエリアを特定する。エリア計算部305は、エリア情報データベース103へエリア残スループットリクエストメッセージ1000を送信する。エリア情報データベース103は、エリア残スループットメッセージ1400をエリア計算部305へ送信する。
エリア計算部305は、エリア残スループットがアプリ品質基準を超えているエリアを検索し、検索したエリアのエリア中心の位置(緯度、経度)、エリア半径、エリアの残スループット、サービス対象の端末405の移動可能半径を、当該端末405へ送信する。エリア計算部305の動作の詳細は、図13を用いて後述する。
図12は、アプリ品質比較部302の動作を示すフローチャートである。
まず、アプリ品質比較部302は、計測・監視装置201からアプリサーバIPアドレス・スループットメッセージ700を受信し(151)最初の端末のUE−IPアドレス7001、アプリIPアドレス7002、スループット7003を取り出す(152)。
そして、取り出したアプリIPアドレス7002を記録したアプリ品質基準リクエストメッセージ800をアプリ品質基準データベース102へ送信し、アプリ品質基準を要求する(153)。
その後、アプリ品質比較部302は、アプリ品質基準データベース102から、アプリ品質基準メッセージ900を受信する(154)。そして、サービス対象の端末405のスループットとアプリ品質基準とを比較する(155)。その結果、サービス対象の端末405のスループットがアプリ品質基準を超えている場合、ステップ158に進む。一方、サービス対象の端末405のスループットが、アプリ品質基準より小さい場合、現在位置要求送信部306を介して、端末405へ位置情報を要求し(156)、アプリ品質基準メッセージ900に基づいてアプリ品質基準メッセージ1900を作り、アプリ品質基準メッセージ1900をエリア計算部305へ送信する(157)。
その後、アプリサーバIPアドレス・スループットメッセージ700の全端末について、ステップ153から157の処理が完了したか判定する(158)。
全端末について処理が完了していれば、この処理を終了する。一方、一部の端末について処理が完了していなければ、アプリサーバIPアドレス・スループットメッセージ700から、次の端末のUE−IPアドレス7001、アプリIPアドレス7002、スループット7003を取り出し、ステップ153へ進む。
図13は、エリア計算部305の動作を示すフローチャートである。
まず、エリア計算部305は、現在位置受信部307を介して、端末405の位置情報(緯度Xu、経度Yu)を受信する(159)。
その後、ステップ159で位置情報を受信した端末405のIPアドレスを記録したUE移動可能半径リクエストメッセージ1500をUE−IPアドレスデータベース101へ送信して、端末405の移動可能半径を要求する(160)。
そして、エリア計算部305は、UE−IPアドレスデータベース101から、UE移動可能半径メッセージ1600を受信する(161)。
エリア計算部305が管理するテーブル(図8参照)から、最初に処理されるエリアの情報(エリア番号20001、エリア中心(緯度、経度)20002およびエリア半径20003)を抽出し(162)、抽出したエリア中心(緯度、経度)を(Xa、Ya)、エリア半径をRaと定義する(163)。
取り出したエリアの一部または全部が端末405の移動可能半径内にあるかを判定する(164)。例えば、端末405の位置(緯度Xu、経度Yu)およびエリア中心(緯度Xa、経度Ya)を、いずれも特定の地点からの距離(Km)で表した場合、以下の式によって判定することができる。ただし、Ruを端末405の移動可能半径とする。
((Xu−Xa)+(Yu−Ya)1/2−Ra<Ru
判定の結果、エリアの一部または全部が移動可能半径内にある場合、エリア番号をエリア残スループットリクエストメッセージ1000に記録して(165)、ステップ166に進む。一方、エリアの全部が移動可能半径外である場合、エリア計算部305が管理するテーブル(図8参照)の全てのエリアについて、ステップ163から165の処理が完了したかを判定する(166)。
全てのエリアについて処理が完了していれば、ステップ167へ進む。一部のエリアについて処理が完了していなれば、エリア計算部305が管理するテーブル(図8参照)から、次のエリアの情報を抽出し、ステップ163へ戻り、次のエリアについて処理をする。
その後、エリア計算部305は、エリア残スループットリクエストメッセージ1000をエリア情報データベース103へ送信して、エリアの残スループットを要求する(167)。
そして、エリア計算部305は、エリア情報データベース103から、エリア残スループットメッセージ1400を受信し(168)、受信したエリア残スループットメッセージ1400から、最初のエリア番号の情報(エリア番号、エリア残スループット)を抽出する(169)。
エリア計算部305は、抽出したエリア残スループットが、ステップ157でアプリ品質比較部302から送信されたアプリ品質基準より大きいかを判定する(170)。エリア残スループットがアプリ品質基準より大きい場合、そのエリアのエリア中心(緯度、経度)、エリア半径、エリアエリア残スループットおよびUE移動可能半径をエリア計算部305が管理するテーブル(図8参照)から抽出し、エリア情報メッセージ1800に記録して(171)、ステップ172に進む。
一方、エリア残スループットがアプリ品質基準より小さい場合、受信したエリア残スループットメッセージ1400に含まれる全エリアについて、ステップ170から171の処理が完了したかを判定する(172)。一部のエリアについて処理が完了していなければ、エリア残スループットメッセージ1400から、次のエリアの情報を抽出し、ステップ170へ戻り、次のエリアについて処理をする。
一方、全エリアについて処理が完了していれば、エリア情報メッセージ1800を品質の良いエリア位置情報送信部308へ送る。品質の良いエリア位置情報送信部308は、品質の良いエリアの情報を端末405へ送信する(173)。具体的には、品質のよいエリアのエリア中心(緯度、経度)、エリア半径(Ra)、エリア残スループット、ユーザ移動可能半径(Ru)を送信するとよい。その後、この処理を終了する。
なお、第1実施例ではUE−IPアドレスおよびエリア番号をMME501から取得したが、これらの情報はMME501から取得しなくてもよい。例えば、3GネットワークのSGSN(Serving General packet radio service Support Node)から取得してもよい。また、これらの情報をシグナリングパケットから取得してもよい。
また、第1実施例で用いるスループットは、上りおよび下りの両方を考慮したスループットでも(すなわち、ボトルネックとなるスループット)、上りのスループットでも、下りのスループットでもよい。また、第1実施例では、通信品質の指標値としてスループットを用いたが、通信品質の指標値はスループットに限らず、例えば、遅延量やジッタでもよい。スループット以外の通信品質の指標を用いることによって、各アプリケーションが必要とする通信品質を満たすエリアの情報をユーザに提供することができる。
以上に説明したように、第1実施例によれば、各アプリケーションが必要とするスループットが確保可能なエリアの情報をユーザに提供することができる。ユーザは、使用しているアプリケーションに必要な通信品質が得られる場所を知ることができる。
また、アプリケーションに必要な通信品質が満たされるエリアを、端末が移動可能な範囲から特定するので、ユーザに無理な移動をさせなくてもよい。
また、セル毎に通信品質を計算するので、少ない計算量で、実際の速度を考慮して、アプリケーションに必要な通信品質が満たされるエリアを特定することができる。
また、下りの通信品質を用いることによって、主にダウンロードの通信をするアプリケーションにおいて、ユーザの体感を劣化させないエリアを特定することができる。また、上りの通信品質を用いることによって、主にアップロードの通信をするアプリケーションの性能を損なわないエリアを特定することができる。また、下りおよび上りの双方向の通信品質を用いることによって、双方向の通信をするアプリケーション(例えば、ゲームアプリ)において、ユーザの体感を劣化させないエリアを特定することができる。
また、エリア内に存在する全ての端末のスループットを加算することによって、当該エリアの総スループットを計算し、当該エリアに設定された伝送可能最大容量から当該エリアの総スループットを減じることによって、当該エリアの残スループットを計算するので、各エリアの通信品質を正確に計算することができる。
<実施例2>
第2実施例では、ユーザに提供するエリアをセルより細かい単位で案内する方法を説明する。第2実施例では、前述した第1実施例との相違点について主に説明し、同じ構成又は機能については同じ符号を付し、説明を省略する。
図14は、セルとエリアの関係を示す図である。
図14では、セル#1のセルは、複数のエリア(エリア1−1〜エリア1−n)から構成される。エリアは、基地局が提供するセクタでもよいし、地図上のグリッドで分割したものでも、基地局空の距離によって分割したものでも、セル内の人が集まりやすい場所でも、重畳的な大小のセルの配置を考慮したものでもよい。エリアを一意に特定するためのエリアIDx−yは、xがセルを識別するセル識別情報であり、yはセルx内でのエリアを識別する識別情報である。また、第2実施例でスロットとは、基地局が端末405に割り当てる無線リソース(周波数帯域および/または時間)の最小単位である。
図15は、第2実施例のシステムの全体の構成を示す図である。
第2施例のシステムは、UE−IPアドレスデータベース101、アプリ品質基準データベース102、エリア情報データベース103、スロット容量データベース104、計測・監視装置201、管理サーバ202、無線コアネットワーク203および基地局601〜603を有する。基地局601〜603はエリア401〜403を各々形成し、セル範囲内の端末405と無線で通信し、該端末405を収容する。管理サーバ202と基地局601〜603とは、無線コアネットワーク203によって接続される。無線コアネットワーク203は、UEトラフィック線205を介してインターネット301に接続されている。インターネット301には、端末405にアプリケーションを提供するアプリケーションサーバ310が接続されている。計測・監視装置201は、UEトラフィック線205を流れるトラフィックを監視する。
本実施例のシステムにおいて、エリア403に収容される端末405は基地局603、無線コアネットワーク203およびUEトラフィック線205を介して、インターネット301と接続される。アプリケーションサーバ310は、端末405にアプリケーションを提供する。管理サーバ202は、計測・監視装置201、無線コアネットワーク203、UE−IPアドレスデータベース101、アプリ品質基準データベース102、エリア情報データベース103、スロット容量データベース104と接続される。
図16は、第2実施例において、アプリが必要とするスループットが得られるエリアを端末405に提供するシステムの構成の例を示す図である。
図16に示すように、第2実施例のシステムは、UE−IPアドレスデータベース101、アプリ品質基準データベース102、エリア情報データベース103、スロット容量データベース104、計測・監視装置201、管理サーバ202、MME(Mobility Management Entity)501およびeNodeB601〜603を有する。MME501は、無線コアネットワーク203の内部にある。管理サーバ202は、アプリ品質比較部302、エリア残スループット計算部303、対象UE−IPアドレス処理部304、エリア計算部305、現在位置要求送信部306、現在位置受信部307、および品質の良いエリア位置情報送信部308を有する。
計測・監視装置201は、インターネット301と無線コアネットワーク203との間の通信線(UEトラフィック線205)と接続され、UEトラフィック線205を流れるトラフィックを監視する。また、計測・監視装置201は、アプリ品質比較部302、エリア残スループット計算部303、および対象UE−IPアドレス処理部304と接続される。
対象UE−IPアドレス処理部304は、UE−IPアドレスデータベース101と接続され、監視対象の端末405のIPアドレスを計測・監視装置201に通知する。
MME501は、対象UE−IPアドレス処理部304と接続され、IMSI・UE−IPアドレス・エリア番号更新メッセージを対象UE−IPアドレス処理部304に通知する。
アプリ品質比較部302は、アプリ品質基準データベース102、現在位置要求送信部306、およびエリア計算部305と接続される。
エリア情報データベース103は、エリア残スループット計算部303およびエリア計算部305と接続される。
エリア計算部305は、現在位置受信部307、UE−IPアドレスデータベース101および品質の良いエリア位置情報送信部308と接続される。
エリア残スループット計算部303は、エリア情報データベース103、スロット容量データベース104およびeNodeB601〜603と接続される。
第2実施例のUE−IPアドレスデータベース101の構成は、図3に示す第1実施例のUE−IPアドレスデータベース101の構成と同じであるため、説明を省略する。また、第2実施例のアプリ品質基準データベース102の構成は、図4に示す第1実施例のアプリ品質基準データベース102の構成と同じであるため、説明を省略する。
図17は、エリア情報データベース103で管理されるテーブルの構成の一例を示す図である。
図17に示すテーブルは、エリア番号1031およびエリア残スループット1033の列要素を含む。エリア番号1031には、エリアを一意に識別するための識別情報が記録される。エリア残スループット1033には、現在使用可能なスループットがエリアごとに登録される。
図18は、スロット容量データベース104で管理されるテーブルの構成の一例を示す図である。
図18に示すテーブルは、エリア番号1041およびスロット容量1042の列要素を含む。エリア番号1041には、エリアを一意に識別するための識別情報が記録される。エリアのスロット容量1042には、当該エリアにおけるスロットあたりの伝送容量(例えば、伝送可能ビット数)が記録される。なお、スロット容量1042は、エリアの受信電波強度などに依存し変動する値であり、予め実施したドライブテスト(測定機を移動させたスループットの測定)によって求めるとよい。または、端末405が電波状態をサーバへ定期的に送信し、端末405から収集した電波状態に基づいてスロット容量を求めてもよい。
第2実施例において、計測・監視装置201からアプリ品質比較部302へ送信されるアプリサーバIPアドレス・スループットメッセージ700の構成は、第1実施例で説明したもの(図6)と同じであるため、説明を省略する。
第2実施例において、アプリ品質比較部302からアプリ品質基準データベース102へ送信されるアプリ品質基準リクエストメッセージ800の構成、および、アプリ品質基準データベース102からアプリ品質比較部302へ送信されるアプリ品質基準メッセージ900の構成は、スループットメッセージ700の構成は、第1実施例と同じであるため、説明を省略する。
第2実施例において、エリア計算部305からエリア情報データベース103へ送信されるエリア残スループットリクエストメッセージ1000の構成は、第1実施例と同じであるため、説明を省略する。第2実施例において、エリア残スループット計算部303からエリア情報データベース103へ送信されるエリア残スループット登録メッセージ1300の構成は、第1実施例と同じであるため、説明を省略する。
第2実施例において、エリア情報データベース103からエリア計算部305へ送信されるエリア残スループットメッセージ1400の構成は、第1実施例で説明したもの(図7)と同じであるため、説明を省略する。
第2実施例において、エリア計算部305からUE−IPアドレスデータベース101へ送信されるUE移動可能半径リクエストメッセージ1500の構成は、および、UE−IPアドレスデータベース101からエリア計算部305へ送信されるUE移動可能半径メッセージ1600の構成は、第1実施例と同じであるため、説明を省略する。
第2実施例において、MME501から対象UE−IPアドレス処理部304へ送信されるエリア更新メッセージ1700の構成は、第1実施例と同じであるため、説明を省略する。第2実施例において、エリア計算部305から品質の良いエリア位置情報送信部308へ送信されるエリア情報メッセージ1800の構成は、第1実施例と同じであるため、説明を省略する。
第2実施例において、アプリ品質比較部302からエリア計算部305へ送信されるアプリ品質基準メッセージ1900の構成は、第1実施例と同じであるため、説明を省略する。
第2実施例において、エリア計算部305で管理されるテーブルの構成は、第1実施例で説明したもの(図8)と同じであるため、説明を省略する。
第2実施例において、MME501から対象UE−IPアドレス処理部304へ、端末のIPアドレスおよび所属エリア番号の更新を要求する動作を示すシーケンスは、第1実施例で説明したもの(図9)と同じであるため、説明を省略する。
図19は、エリア残スループット計算部303がエリアの残スループットを計算する動作を示すシーケンス図である。
まず、エリア残スループット計算部303は、全てのeNodeB601〜603へ現在の単位時間あたりのセルの平均空きスロット数を要求する(2710)。
eNodeB601〜603は、セル毎に空きスロット数を計算し(2720)、要求されたセルの単位時間あたりの空きスロット数の平均を送信する(2730)。
エリア残スループット計算部303は、単位時間あたりのセルの平均空きスロット数を受信すると、平均空きスロット数を受信したセルの識別情報をスロット容量データベース104へ送信し、エリアのスロット容量を要求し(2740)、スロット容量データベース104からエリアIDおよびスロット容量を受信する(2750)。エリア残スループット計算部303は、eNodeB601〜603から受信した単位時間あたりのセルの平均空きスロット数を、そのセルに属する各エリアのスロット容量1042に乗じることによって、各エリアのエリア残スループットを計算する(2760)。そして、算出したエリア残スループットをエリア情報データベース103のエリア残スループット1033へ登録するために、エリア残スループット登録メッセージ1300を送信する。このステップ2740から2770のシーケンスをセルごとに繰り返す。
図20は、エリア残スループット計算部303の動作を示すフローチャートである。
まず、エリア残スループット計算部303は、全てのeNodeB601〜603へ単位時間あたりのセルの平均空きスロット数を要求し、空きスロット数をeNodeB601〜603から受信する(174)。
そして、エリア残スループット計算部303は、最初のセルを選択する(175)。
その後、ステップ174で受信した単位時間あたりのセルの平均空きスロット数のテーブルから、選択したセルの単位時間あたりのセルの平均空きスロット数を抽出し(176)、選択したセルのスロット容量をスロット容量データベース104へ要求し、スロット容量をスロット容量データベース104から受信する(177)。
その後、エリア残スループット計算部303は、選択したセル内の最初のエリアを選択し(178)、 ステップ177で受信したスロット容量テーブルから、選択したエリアのスロット容量を抽出する(179)。
そして、エリア残スループット計算部303は、ステップ176で抽出した単位時間あたりのセルの平均空きスロット数を、ステップ179で抽出したエリアのスロット容量に乗じることによってエリア残スループットを算出する(180)。そして、ステップ180で算出したエリア残スループットをエリア情報データベース103へ格納する(181)。
その後、ステップ177でスロット容量を受信したセルに属する全エリアの処理が完了したかを判定する(182)。一部のエリアの処理が完了していなければ、次のエリアを選択し、ステップ179に戻る。一方、全てのエリアの処理が完了したら、ステップ183へ進む。
エリア残スループット計算部303は、ステップ174で空きスロット数を受信した全てのセルの処理が完了したかを判定する(183)。一部のセルの処理が完了していなければ、次のセルを選択し、ステップ176に戻る。一方、全てのセルが完了したら、この処理を終了する。
第2実施例において、アプリに必要とされるスループットが得られる対象UE周辺のエリアを求める動作のシーケンスは、第1実施例で説明したもの(図11)と同じであるため、説明を省略する。また、第2実施例において、アプリ品質比較部302の処理は、第1実施例で説明したもの(図12)と同じであるため、説明を省略する。また、第2実施例において、エリア計算部305の処理は、第1実施例で説明したもの(図13)と同じであるため、説明を省略する。
なお、第2実施例ではUE−IPアドレスおよびエリア番号をMME501から取得したが、これらの情報はMME501から取得しなくてもよい。例えば、3GネットワークのSGSN(Serving General packet radio service Support Node)から取得してもよい。また、これらの情報をシグナリングパケットから取得してもよい。
また、第1実施例で用いるスループットは、上りおよび下りの両方を考慮したスループットでも(すなわち、ボトルネックとなるスループット)、上りのスループットでも、下りのスループットでもよい。また、第2実施例では、通信品質の指標値としてスループットを用いたが、通信品質の指標値はスループットに限らず、例えば、遅延量でもよい。
以上に説明したように、第2実施例によれば、各アプリケーションが必要とするスループットが確保可能なエリアの情報を、より細かい地理的単位でユーザに提供することができ、ユーザの移動量を削減できる。
また、セルラ無線方式のセルを分割したエリア毎に通信品質を計算するので、詳細なエリアを的確に特定することができる。
また、エリアにおけるスロット(無線リソースの最小単位)あたりの伝送容量と、端末に割り当て可能な空きスロットの数とを乗じることによって、当該エリアの残スループットを計算するので、詳細なエリアの通信品質を正確に計算することができる。
なお、本発明は前述した実施例に限定されるものではなく、添付した特許請求の範囲の趣旨内における様々な変形例および同等の構成が含まれる。例えば、前述した実施例は本発明を分かりやすく説明するために詳細に説明したものであり、必ずしも説明した全ての構成を有するものに本発明は限定されない。また、ある実施例の構成の一部を他の実施例の構成に置き換えてもよい。また、ある実施例の構成に他の実施例の構成を加えてもよい。また、各実施例の構成の一部について、他の構成の追加・削除・置換をしてもよい。
また、前述した各構成、機能、処理部、処理手段等は、それらの一部まはた全部を、例えば集積回路で設計する等により、ハードウェアで実現してもよく、プロセッサがそれぞれの機能を実現するプログラムを解釈し実行することにより、ソフトウェアで実現してもよい。
各機能を実現するプログラム、テーブル、ファイル等の情報は、メモリ、ハードディスク、SSD(Solid State Drive)等の記憶装置、まはた、ICカード、SDカード、DVD等の記録媒体に格納することができる。
また、制御線や情報線は説明上必要と考えられるものを示しており、実装上必要な全ての制御線や情報線を示しているとは限らない。実際には、ほとんど全ての構成が相互に接続されていると考えてよい。
101 UE−IPアドレスデータベース
102 アプリ品質基準データベース
103 エリア情報データベース
104 スロット容量DB
201 計測・監視装置
202 管理サーバ
203 無線コアネットワーク
205 UEトラフィック線
301 インターネット
302 アプリ品質比較部
303 エリア残スループット計算部
304 対象UE−IPアドレス処理部
305 エリア計算部
306 現在位置要求送信部
307 現在位置受信部
308 品質の良いエリア位置情報送信部
401〜403 エリア
405 UE
501 MME
601〜603 eNodeB

Claims (15)

  1. 端末を収容するためのエリアを形成する基地局に接続された管理サーバであって、
    端末が使用しているアプリケーションによる現在の通信品質を測定し、
    前記アプリケーションによる現在の通信品質と当該アプリケーションに必要な通信品質とを比較することによって、低い品質で当該アプリケーションを使用している端末を特定し、
    前記アプリケーションに必要な通信品質が満たされるエリアを特定し、
    前記特定されたエリアの情報を、前記特定された端末に提供することを特徴とする管理サーバ。
  2. 請求項1に記載の管理サーバであって、
    前記通信品質は、スループットであり、
    前記基地局が提供するエリアの残スループットを計算し、
    前記端末が使用しているアプリケーションによる現在のスループットを測定し、
    前記アプリケーションの現在のスループットと当該アプリケーションに必要なスループットとを比較することによって、低い品質でアプリケーションを使用している端末を特定し、
    当該アプリケーションに必要なスループットと前記エリアの残スループットとを比較することによって、当該アプリケーションに必要な残スループットを有するエリアを特定し、
    前記特定されたエリアの情報を、前記特定された端末に提供することを特徴とする管理サーバ。
  3. 請求項1又は2に記載の管理サーバであって、
    当該アプリケーションに必要な通信品質が満たされるエリアを、端末が移動可能な範囲から特定することを特徴とする管理サーバ。
  4. 請求項1又は2に記載の管理サーバであって、
    前記エリアはセルラ無線方式のセルであることを特徴とする管理サーバ。
  5. 請求項1又は2に記載の管理サーバであって、
    前記通信品質は、下りまたは上りの一方向の通信品質であることを特徴とする管理サーバ。
  6. 請求項1又は2に記載の管理サーバであって、
    前記通信品質は、下りおよび上りの双方向の通信品質であることを特徴とする管理サーバ。
  7. 請求項2に記載の管理サーバであって、
    前記エリア内に存在する全ての端末のスループットを加算することによって、当該エリアの総スループットを計算し、当該エリアに設定された伝送可能最大容量から当該エリアの総スループットを減じることによって、当該エリアの残スループットを計算することを特徴とする管理サーバ。
  8. 請求項1又は2に記載の管理サーバであって、
    前記エリアはセルラ無線方式のセルを分割した領域であることを特徴とする管理サーバ。
  9. 請求項2に記載の管理サーバであって、
    前記基地局は、無線リソースの最小単位であるスロット単位で無線リソースを前記端末に割り当て、
    前記管理サーバは、前記エリアにおけるスロットあたりの伝送容量と、前記端末に割り当て可能な空きスロットの数とを乗じることによって、当該エリアの残スループットを計算することを特徴とする管理サーバ。
  10. 無線通信システムにおける通信制御方法であって、
    前記無線通信システムは、端末を収容するためのエリアを形成する基地局と、前記基地局に接続された管理サーバとを有し、
    前記方法は、
    前記管理サーバが、端末が使用しているアプリケーションによる現在の通信品質を測定し、
    前記管理サーバが、前記アプリケーションによる現在の通信品質と当該アプリケーションに必要な通信品質とを比較することによって、低い品質で当該アプリケーションを使用している端末を特定し、
    前記管理サーバが、前記アプリケーションに必要な通信品質が満たされるエリアを特定し、
    前記管理サーバが、前記特定されたエリアの情報を、前記特定された端末に提供することを特徴とする通信制御方法。
  11. 請求項10に記載の通信制御方法であって、
    前記通信品質は、スループットであり、
    前記管理サーバが、前記端末が存在するエリアの残スループットを計算し、
    前記管理サーバが、前記端末が使用しているアプリケーションによる現在のスループットを測定し、
    前記管理サーバが、前記アプリケーションの現在のスループットと当該アプリケーションに必要なスループットとを比較することによって、低い品質でアプリケーションを使用している端末を特定し、
    前記管理サーバが、当該アプリケーションに必要なスループットと前記エリアの残スループットとを比較することによって、当該アプリケーションに必要な残スループットを有するエリアを特定し、
    前記管理サーバが、前記特定されたエリアの情報を、前記特定された端末に提供することを特徴とする通信制御方法。
  12. 請求項10又は11に記載の通信制御方法であって、
    前記管理サーバは、当該アプリケーションに必要な通信品質が満たされるエリアを、端末が移動可能な範囲から特定することを特徴とする通信制御方法。
  13. 請求項11に記載の通信制御方法であって、
    前記管理サーバが、前記エリア内に存在する全ての端末のスループットを加算することによって、当該エリアの総スループットを計算し、
    前記管理サーバが、当該エリアに設定された伝送可能最大容量から当該エリアの総スループットを減じることによって、当該エリアの残スループットを計算することを特徴とする通信制御方法。
  14. 請求項11に記載の通信制御方法であって、
    前記基地局が、無線リソースの最小単位であるスロット単位で無線リソースを前記端末に割り当て、
    前記管理サーバは、前記エリアにおけるスロットあたりの伝送容量と、前記端末に割り当て可能な空きスロットの数とを乗じることによって、当該エリアの残スループットを計算することを特徴とする通信制御方法。
  15. 端末を収容するためのエリアを形成する基地局と、前記基地局に接続された管理サーバとを有する無線通信システムであって、
    前記管理サーバは、前記端末が使用しているアプリケーションによる現在の通信品質を測定し、
    前記管理サーバは、前記アプリケーションによる現在の通信品質と当該アプリケーションに必要な通信品質とを比較することによって、低い品質で当該アプリケーションを使用している端末を特定し、
    前記管理サーバは、前記アプリケーションに必要な通信品質の指標値が満たされるエリアを特定し、
    前記管理サーバは、前記特定されたエリアの位置情報を、前記特定された端末に提供することを特徴とする無線通信システム。
JP2014122368A 2014-06-13 2014-06-13 管理サーバ、通信制御方法および無線通信システム Withdrawn JP2016005019A (ja)

Priority Applications (1)

Application Number Priority Date Filing Date Title
JP2014122368A JP2016005019A (ja) 2014-06-13 2014-06-13 管理サーバ、通信制御方法および無線通信システム

Applications Claiming Priority (1)

Application Number Priority Date Filing Date Title
JP2014122368A JP2016005019A (ja) 2014-06-13 2014-06-13 管理サーバ、通信制御方法および無線通信システム

Publications (1)

Publication Number Publication Date
JP2016005019A true JP2016005019A (ja) 2016-01-12

Family

ID=55224046

Family Applications (1)

Application Number Title Priority Date Filing Date
JP2014122368A Withdrawn JP2016005019A (ja) 2014-06-13 2014-06-13 管理サーバ、通信制御方法および無線通信システム

Country Status (1)

Country Link
JP (1) JP2016005019A (ja)

Cited By (1)

* Cited by examiner, † Cited by third party
Publication number Priority date Publication date Assignee Title
JPWO2024127470A1 (ja) * 2022-12-12 2024-06-20

Cited By (1)

* Cited by examiner, † Cited by third party
Publication number Priority date Publication date Assignee Title
JPWO2024127470A1 (ja) * 2022-12-12 2024-06-20

Similar Documents

Publication Publication Date Title
US11012933B2 (en) Power management by powering off unnecessary radios automatically
WO2021017689A1 (zh) 一种用户面数据的获取方法、装置及存储介质
US11929938B2 (en) Evaluating overall network resource congestion before scaling a network slice
CN104054376B (zh) 定位处理方法、装置及系统
WO2021004859A1 (en) Efficient handling of collected data or analytics data in network data analytics function scenarios
KR101906747B1 (ko) 무선 셀룰러 네트워크에 제공하는 wlan 트래픽 로드 측정치
JP7239599B2 (ja) 通信方法及び通信装置
JP2017034619A (ja) 通信管理装置、無線端末及びプログラム
CN109995836B (zh) 缓存决策方法及装置
US11516100B1 (en) Cloud-to-cloud integration of vendor device testing automation and carrier performance analytics
US20250344097A1 (en) System and method for reducing network component loads
US20240357481A1 (en) System and method for segregating network slice traffic based on device types
JPWO2014080488A1 (ja) 基地局装置、無線通信システム、無線通信制御方法
CN107708217B (zh) 一种资源调度方法及基站
CN113727331B (zh) 5g基站部署方法及装置
WO2014040244A1 (zh) 业务数据缓存处理方法、设备和系统
US11290921B2 (en) Management server, wireless access node, communication system, communication method, resource management method, and computer readable medium
EP3266259B1 (en) Enable access point availability prediction
WO2015131672A1 (zh) 无线资源分配处理方法及装置
CN121099440A (zh) 用于缓存状态报告的方法、设备和系统
US9386411B2 (en) Radio access system, controlling apparatus, and terminal apparatus
JP2016005019A (ja) 管理サーバ、通信制御方法および無線通信システム
CN111246565B (zh) 一种终端定位方法、终端及网络侧设备
JP2018066638A (ja) 位置情報特定装置
WO2024139888A1 (zh) 一种通信方法及装置

Legal Events

Date Code Title Description
A621 Written request for application examination

Free format text: JAPANESE INTERMEDIATE CODE: A621

Effective date: 20160623

A761 Written withdrawal of application

Free format text: JAPANESE INTERMEDIATE CODE: A761

Effective date: 20170104