JP2014088766A - Construction machine - Google Patents

Construction machine Download PDF

Info

Publication number
JP2014088766A
JP2014088766A JP2014005474A JP2014005474A JP2014088766A JP 2014088766 A JP2014088766 A JP 2014088766A JP 2014005474 A JP2014005474 A JP 2014005474A JP 2014005474 A JP2014005474 A JP 2014005474A JP 2014088766 A JP2014088766 A JP 2014088766A
Authority
JP
Japan
Prior art keywords
battery
switch
construction machine
controller
turned
Prior art date
Legal status (The legal status is an assumption and is not a legal conclusion. Google has not performed a legal analysis and makes no representation as to the accuracy of the status listed.)
Granted
Application number
JP2014005474A
Other languages
Japanese (ja)
Other versions
JP5836405B2 (en
Inventor
Toshiaki Kuwabara
壽朗 桑原
Current Assignee (The listed assignees may be inaccurate. Google has not performed a legal analysis and makes no representation or warranty as to the accuracy of the list.)
Komatsu Ltd
Original Assignee
Komatsu Ltd
Priority date (The priority date is an assumption and is not a legal conclusion. Google has not performed a legal analysis and makes no representation as to the accuracy of the date listed.)
Filing date
Publication date
Application filed by Komatsu Ltd filed Critical Komatsu Ltd
Priority to JP2014005474A priority Critical patent/JP5836405B2/en
Publication of JP2014088766A publication Critical patent/JP2014088766A/en
Application granted granted Critical
Publication of JP5836405B2 publication Critical patent/JP5836405B2/en
Active legal-status Critical Current
Anticipated expiration legal-status Critical

Links

Images

Landscapes

  • Component Parts Of Construction Machinery (AREA)

Abstract

【課題】遮断スイッチを設けた場合であっても、コントローラの自己保持機能を損なうことがないようにバッテリを遮断することができる建設機械を提供すること。
【解決手段】バッテリ2が搭載された建設機械であって、バッテリ2からの電源供給を受けて建設機械の所定機能を制御するコントローラCA,CB,CCと、コントローラCA,CB,CCの起動を切り換えるキースイッチSW1と、前記建設機械の運転席から離れた位置に設けられ、バッテリ2の一方の極性側に接続されバッテリ2の接続を切り換える遮断スイッチSW2と、前記建設機械の運転席から離れた位置に設けられ、バッテリ2に一端が接続されたLED3とを備え、LED3は、キースイッチSW1がオフされた後、コントローラCA,CB,CCが動作中である場合に点灯する。
【選択図】図1
A construction machine capable of shutting off a battery so as not to impair a self-holding function of a controller even when a shutoff switch is provided.
A construction machine in which a battery 2 is mounted, and a controller CA, CB, CC that receives a power supply from the battery 2 to control a predetermined function of the construction machine, and activation of the controllers CA, CB, CC. A key switch SW1 for switching, a cut-off switch SW2 which is provided at a position away from the driver's seat of the construction machine, is connected to one polarity side of the battery 2 and switches the connection of the battery 2, and is separated from the driver's seat of the construction machine The LED 3 is provided at a position and has one end connected to the battery 2, and the LED 3 is lit when the controller CA, CB, CC is in operation after the key switch SW 1 is turned off.
[Selection] Figure 1

Description

この発明は、油圧ショベルやホイールローダなどの建設機械のコントローラが動作中でない場合にバッテリを遮断できるようにすることができる建設機械に関するものである。   The present invention relates to a construction machine that can cut off a battery when a controller of the construction machine such as a hydraulic excavator or a wheel loader is not operating.

油圧ショベルなどの建設機械では、エンジン等に関して整備・保守点検作業を必要としている。ここで、建設機械などでは、エンジンの点火プラグや各種電気機器への電力を供給するためのバッテリを搭載しており、サービスマンなどによるその整備・保守点検時等における作業の安全性向上のためにバッテリを手動で遮断する遮断スイッチを設置している。この遮断スイッチは、バッテリのマイナス側またはプラス側に直列に接続され、遮断状態にすることで、一切の車体電源が供給できなくするためのものである。   Construction machines such as hydraulic excavators require maintenance / maintenance / inspection work for engines and the like. Here, construction machinery, etc. is equipped with a battery for supplying power to engine spark plugs and various electrical equipment, in order to improve the safety of work at the time of maintenance and maintenance inspection by service personnel etc. A shut-off switch that manually shuts off the battery is installed. This cut-off switch is connected in series to the negative side or the positive side of the battery, and is used to make it impossible to supply any body power by making the cut-off state.

なお、特許文献1には、バッテリとボディアースとの間にアース遮断リレーを設けることによって、バッテリの交換時にその端子が誤って車両と短絡するのを防止する車両用電源回路装置が開示されている。   Patent Document 1 discloses a vehicle power supply circuit device that prevents a terminal from being accidentally short-circuited with a vehicle at the time of battery replacement by providing a ground breaking relay between the battery and the body ground. Yes.

特開2000−198400号公報JP 2000-198400 A

ところで、建設機械等のコントローラでは、コントローラを起動・停止させるキースイッチのオフ信号が入力された場合、オフ信号の入力後所定時間以内に、RAMに記憶されていた各種データをEEPROMなどの不揮発性メモリに転送して保存するようにしている。   By the way, in a controller such as a construction machine, when an off signal of a key switch for starting / stopping the controller is input, various data stored in the RAM are stored in a nonvolatile memory such as an EEPROM within a predetermined time after the input of the off signal. It is transferred to memory and saved.

このため、コントローラは、キースイッチのオフ信号が入力された場合であっても、直ちに電源供給をオフさせず、上述した所定時間以内、具体的には、各種データの転送処理が終了するまで、電源供給を行わせる自己保持機能を有している。この自己保持機能によって、オペレータがたとえキースイッチをオフした場合であっても、コントローラに電源供給が所定時間行われるため、上述した各種データの転送処理を確実に行うことができる。   For this reason, the controller does not immediately turn off the power supply even when the key switch off signal is input, and within the predetermined time described above, specifically, until the transfer processing of various data is completed. It has a self-holding function for supplying power. With this self-holding function, even if the operator turns off the key switch, power is supplied to the controller for a predetermined time, so that the above-described various data transfer processing can be performed reliably.

しかしながら、上述したバッテリの共通アース側の遮断スイッチをオフしてしまうと、自己保持機能を有していても、強制的にバッテリからの電源供給が絶たれ、コントローラがダウンし、上述した各種データの転送処理を行うことができなくなってしまう。   However, if the above-mentioned common ground side cut-off switch of the battery is turned off, even if it has a self-holding function, the power supply from the battery is forcibly cut off, the controller goes down, and the various data described above The transfer process cannot be performed.

本発明は、上記に鑑みてなされたものであって、遮断スイッチを設けた場合であっても、コントローラの自己保持機能を損なうことがないようにバッテリを遮断することができる建設機械を提供することを目的とする。   The present invention has been made in view of the above, and provides a construction machine capable of shutting off a battery so as not to impair the self-holding function of a controller even when a shut-off switch is provided. For the purpose.

上述した課題を解決し、目的を達成するために、この発明にかかる建設機械は、バッテリが搭載された建設機械であって、前記バッテリからの電源供給を受けて前記建設機械の所定機能を制御するコントローラと、前記コントローラの起動を切り換えるキースイッチと、前記建設機械の運転席から離れた位置に設けられ、前記バッテリの一方の極性側に接続され該バッテリの接続を切り換える遮断スイッチと、前記建設機械の運転席から離れた位置に設けられ、前記バッテリに一端が接続された表示部と、を備え、前記表示部は、前記キースイッチがオフされた後、前記コントローラが動作中である場合に点灯することを特徴とする。   In order to solve the above-described problems and achieve the object, a construction machine according to the present invention is a construction machine equipped with a battery, and receives a power supply from the battery to control a predetermined function of the construction machine. A controller for switching the activation of the controller, a cut-off switch provided at a position away from the driver's seat of the construction machine, connected to one polarity side of the battery and switching the connection of the battery, and the construction A display unit provided at a position away from the machine driver's seat and having one end connected to the battery, and the display unit is operated when the controller is in operation after the key switch is turned off. It is lit.

また、この発明にかかる建設機械は、上記の発明において、前記遮断スイッチと前記表示部とは、旋回体の前部に設けられ、ブームを挟んで前記運転席の反対側に設けられることを特徴とする。   Further, in the construction machine according to the present invention, in the above invention, the shut-off switch and the display unit are provided in a front part of a revolving structure, and are provided on the opposite side of the driver's seat across a boom. And

また、この発明にかかる建設機械は、上記の発明において、前記バッテリと、前記遮断スイッチと、前記表示部とを収容するバッテリボックスを備えたことを特徴とする。   In addition, the construction machine according to the present invention is characterized in that, in the above-described invention, the construction machine includes a battery box that accommodates the battery, the cutoff switch, and the display unit.

また、この発明にかかる建設機械は、上記の発明において、前記バッテリボックスは、外装部材で覆われ、施錠機能を有することを特徴とする。   In the construction machine according to the present invention, the battery box is covered with an exterior member and has a locking function.

また、この発明にかかる建設機械は、上記の発明において、前記表示部は、前記遮断スイッチの近傍に配置されることを特徴とする。   In the construction machine according to the present invention as set forth in the invention described above, the display unit is disposed in the vicinity of the cutoff switch.

また、この発明にかかる建設機械は、上記の発明において、前記表示部と前記遮断スイッチとは、同一面に設けられることを特徴とする。   In the construction machine according to the present invention, the display unit and the cutoff switch are provided on the same surface.

この発明によれば、バッテリの一方の極性側に接続され該バッテリの接続を切り換える遮断スイッチと、前記バッテリに一端が接続された表示部とが、建設機械の運転席から離れた位置に設けられ、かつ、前記表示部が、キースイッチがオフされた後、前記バッテリからの電源供給を受けて前記建設機械の所定機能を制御するコントローラが動作中である場合に点灯するようにしているので、遮断スイッチを操作する人(たとえば、オペレータやサービスマン)は、運転席まで行ってバッテリが使用中でないことを確認せずとも、この表示部の表示によってバッテリが使用中でないことを確認した後に直ちに遮断スイッチをオフすることができる。これによって、自己保持機能による電源供給が必要なときにバッテリからの電源供給が絶たれてしまうことを防止することができる。   According to the present invention, the cutoff switch that is connected to one polarity side of the battery and switches the connection of the battery, and the display unit having one end connected to the battery are provided at a position away from the driver's seat of the construction machine. And, since the display unit is turned on when the key switch is turned off and the controller that controls the predetermined function of the construction machine in response to the power supply from the battery is operating, A person who operates the shut-off switch (for example, an operator or a service person) immediately goes to the driver's seat and confirms that the battery is not in use by confirming that the battery is not in use by confirming that the battery is not in use. The shut-off switch can be turned off. Thus, it is possible to prevent the power supply from the battery from being cut off when the power supply by the self-holding function is necessary.

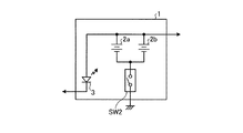
図1は、この発明の実施の形態であるバッテリ遮断装置の構成を示すブロック図である。FIG. 1 is a block diagram showing a configuration of a battery interrupting device according to an embodiment of the present invention. 図2は、図1に示したバッテリ遮断装置の動作を示すタイミングチャートである。FIG. 2 is a timing chart showing the operation of the battery shut-off device shown in FIG. 図3は、複数のバッテリを並列接続した場合の遮断スイッチの配置例を示すブロック図である。FIG. 3 is a block diagram illustrating an arrangement example of the cutoff switch when a plurality of batteries are connected in parallel. 図4は、図1に示したバッテリ遮断装置が搭載される建設機械の外観構成を示す斜視図である。FIG. 4 is a perspective view showing an external configuration of a construction machine on which the battery interrupting device shown in FIG. 1 is mounted. 図5は、図1に示したバッテリ遮断装置が搭載される建設機械の旋回体後部の扉を開放した状態を示す斜視図である。FIG. 5 is a perspective view showing a state in which the door at the rear part of the revolving unit of the construction machine on which the battery interrupting device shown in FIG. 1 is mounted is opened. 図6は、バッテリボックスの外観構成を示す斜視図である。FIG. 6 is a perspective view showing an external configuration of the battery box. 図7は、遮断スイッチとLEDとの配置状態の一例を示す図である。FIG. 7 is a diagram illustrating an example of an arrangement state of the cutoff switch and the LED.

以下、添付図面を参照してこの発明を実施するための形態について説明する。   DESCRIPTION OF EMBODIMENTS Hereinafter, embodiments for carrying out the present invention will be described with reference to the accompanying drawings.

図1は、この発明の実施の形態であるバッテリ遮断装置の構成を示すブロック図である。このバッテリ遮断装置は、油圧ショベルやホイールローダなどの建設機械に車載されるものである。図1において、エンジンコントローラCA,ポンプコントローラCB,モニタコントローラCCは、バッテリボックス1内のバッテリ2から電源供給を受ける。また、エンジンコントローラCA,ポンプコントローラCB,モニタコントローラCCは、1つのキースイッチSW1のオンオフ信号によって各コントローラが起動し、停止する。なお、キースイッチSW1は、キーK1によってオンオフされるが、このキースイッチSW1は、図示しないバッテリリレーの接点を閉じてエンジンを始動させるスタータスイッチである。   FIG. 1 is a block diagram showing a configuration of a battery interrupting device according to an embodiment of the present invention. This battery interrupting device is mounted on a construction machine such as a hydraulic excavator or a wheel loader. In FIG. 1, an engine controller CA, a pump controller CB, and a monitor controller CC are supplied with power from a battery 2 in a battery box 1. Further, the engine controller CA, the pump controller CB, and the monitor controller CC are activated and stopped by each controller in response to an on / off signal of one key switch SW1. The key switch SW1 is turned on and off by the key K1, and the key switch SW1 is a starter switch that closes a contact point of a battery relay (not shown) and starts the engine.

ここで、エンジンコントローラCAは、たとえば燃焼室への燃料噴射量を各種センサ群の検出結果をもとに制御するコントローラである。また、ポンプコントローラCBは、エンジンによって駆動される油圧ポンプの斜板の傾斜角度を制御するコントローラである。さらに、モニタコントローラCCは、建設機械各部に装着されたセンサで、建設機械の状態を監視し、その情報をモニタ表示するコントローラである。   Here, the engine controller CA is a controller that controls, for example, the amount of fuel injected into the combustion chamber based on the detection results of various sensor groups. The pump controller CB is a controller that controls the inclination angle of the swash plate of the hydraulic pump driven by the engine. Furthermore, the monitor controller CC is a controller that monitors the state of the construction machine with a sensor attached to each part of the construction machine and displays the information on a monitor.

バッテリボックス1内には、バッテリ2のマイナス側とアースとの間に設けられた遮断スイッチSW2と、遮断スイッチSW2に隣接配置され、バッテリ2から直接電源供給可能なLED3とを有する。バッテリ2は、複数のバッテリが直列接続されたものであり、遮断スイッチSW2は、一端が、この複数のバッテリのうちの最もアースに近いバッテリのマイナス端に接続され、他端がアースに接続される。また、LED3は、一端がバッテリ2のプラス端に接続され、他端が表示スイッチTR1,TR2,TR3に接続される。この実施の形態では、LED3の他端は、表示スイッチTR1,TR2,TR3の各コレクタ端に接続される。   The battery box 1 includes a cut-off switch SW2 provided between the negative side of the battery 2 and the ground, and an LED 3 disposed adjacent to the cut-off switch SW2 and capable of directly supplying power from the battery 2. The battery 2 is a battery in which a plurality of batteries are connected in series, and one end of the cutoff switch SW2 is connected to the minus end of the battery closest to the earth among the plurality of batteries, and the other end is connected to the ground. The The LED 3 has one end connected to the positive end of the battery 2 and the other end connected to the display switches TR1, TR2, TR3. In this embodiment, the other end of the LED 3 is connected to each collector end of the display switches TR1, TR2, TR3.

バッテリ2のプラス側、すなわち複数のバッテリのうちの最もプラス側に接続されたバッテリのプラス端は、電源ラインL1に接続され、この電源ラインL1を介してそれぞれエンジンコントローラCA,ポンプコントローラCB,モニタコントローラCCの各内部電源スイッチSW11,SW12,SW13の一端に接続される。また、電源ラインL1上の分岐点P1から分岐された分岐ラインL11を介してそれぞれエンジンコントローラCA,ポンプコントローラCB,モニタコントローラCCの各自己保持回路11,21,31に接続される。すなわち、各自己保持回路11,21,31は、バッテリ2から直接、給電される。さらに、電源ラインL1上の分岐点P2に一端が接続されるキースイッチSW1が設けられる。キースイッチSW1の他端には、分岐ラインL2が接続され、キースイッチSW2は、分岐ラインL2を介してそれぞれエンジンコントローラCA,ポンプコントローラCB,モニタコントローラCCの制御部C1,C2,C3に接続される。すなわち、キースイッチSW1は、一端が電源ラインL1に接続され、他端が、エンジンコントローラCA,ポンプコントローラCB,およびモニタコントローラCCの各制御部C1,C2,C3に共通接続される。   The positive side of the battery 2, that is, the positive end of the battery connected to the most positive side of the plurality of batteries is connected to the power supply line L1, and the engine controller CA, the pump controller CB, and the monitor are respectively connected via the power supply line L1. Connected to one end of each internal power switch SW11, SW12, SW13 of the controller CC. Further, each of the self-holding circuits 11, 21, 31 of the engine controller CA, the pump controller CB, and the monitor controller CC is connected via a branch line L11 branched from the branch point P1 on the power supply line L1. That is, each self-holding circuit 11, 21, 31 is directly supplied with power from the battery 2. Further, a key switch SW1 having one end connected to the branch point P2 on the power supply line L1 is provided. A branch line L2 is connected to the other end of the key switch SW1, and the key switch SW2 is connected to the controllers C1, C2, and C3 of the engine controller CA, the pump controller CB, and the monitor controller CC via the branch line L2, respectively. The That is, one end of the key switch SW1 is connected to the power supply line L1, and the other end is commonly connected to the controllers C1, C2, and C3 of the engine controller CA, the pump controller CB, and the monitor controller CC.

エンジンコントローラCA,ポンプコントローラCB,モニタコントローラCCは、それぞれ自己保持回路11,21,31、DC/DCコンバータなどの内部電源回路12,22,32、上述した各コントローラの制御を行う制御部C1,C2,C3、制御部C1,C2,C3にそれぞれ接続されたROM13,23,33、RAM14,24,34、EEPROM15,25,35、FETやトランジスタなどのディスクリート部品によって実現される表示スイッチTR1,TR2,TR3を有する。   The engine controller CA, the pump controller CB, and the monitor controller CC include self-holding circuits 11, 21, 31, internal power supply circuits 12, 22, 32 such as a DC / DC converter, and control units C1, Display switches TR1, TR2 realized by discrete components such as ROMs 13, 23, 33, RAMs 14, 24, 34, EEPROMs 15, 25, 35, FETs, transistors connected to the control units C1, C2, C3, respectively. , TR3.

自己保持回路11,21,31は、それぞれ内部電源スイッチSW11,SW12,SW13およびオア回路OR1,OR2,OR3を有する。内部電源スイッチSW11,SW12,SW13は、それぞれ電源ラインL1を介したバッテリ2のプラス側と、内部電源回路12,22,32との間に設けられ、たとえばトランジスタやFETなどによって実現される。この内部電源スイッチSW11,SW12,SW13がオンすると、内部電源回路12,22,32にそれぞれ電源が供給され、内部電源回路12,22,32は、24Vの電圧を所望の電圧に変換し、それぞれエンジンコントローラCA,ポンプコントローラCB,モニタコントローラCC内の各部に電源を供給する。なお、自己保持回路11,21,31は、トランジスタなどのディスクリート部品で実現される。   Self-holding circuits 11, 21, 31 have internal power switches SW11, SW12, SW13 and OR circuits OR1, OR2, OR3, respectively. The internal power switches SW11, SW12, SW13 are provided between the positive side of the battery 2 via the power supply line L1 and the internal power supply circuits 12, 22, 32, respectively, and are realized by, for example, transistors or FETs. When the internal power switches SW11, SW12, SW13 are turned on, power is supplied to the internal power circuits 12, 22, 32, respectively, and the internal power circuits 12, 22, 32 convert the voltage of 24V to a desired voltage, respectively. Power is supplied to each part in the engine controller CA, the pump controller CB, and the monitor controller CC. Note that the self-holding circuits 11, 21, 31 are realized by discrete components such as transistors.

キースイッチSW1のオンオフ信号S1は、それぞれオア回路OR1,OR2,OR3に入力されるとともに、それぞれ制御部C1,C2,C3に入力される。キースイッチSW1がオンとなり、オンとなったオンオフ信号S1がオア回路OR1,OR2,OR3に入力されると、内部電源スイッチSW11,SW12,SW13がオフからオンとなり、バッテリ2と内部電源回路12,22,32とが繋がり、各コントローラの制御部C1,C2,C3等に電源供給される。そして、各制御部C1,C2,C3の起動によってROM13,EEPROM15内に記憶されたプラグラムやデータが読み込まれて各コントローラの制御が開始される。   The on / off signal S1 of the key switch SW1 is input to the OR circuits OR1, OR2, and OR3, and is also input to the control units C1, C2, and C3, respectively. When the key switch SW1 is turned on and the on / off signal S1 turned on is input to the OR circuits OR1, OR2, OR3, the internal power switches SW11, SW12, SW13 are turned on from off, and the battery 2 and the internal power circuit 12, 22 and 32 are connected, and power is supplied to the control units C1, C2, C3 and the like of each controller. The programs and data stored in the ROM 13 and the EEPROM 15 are read by activation of the control units C1, C2, and C3, and control of each controller is started.

ここで、制御部C1,C2,C3は、オンオフ信号S1がオンからオフになった場合、それぞれ現在RAM14,24,34に格納されていた各種データをEEPROM15,25,35に転送する処理を行う。そして、制御部C1,C2,C3は、少なくともこの転送処理の間、各コントローラが動作中であるので、各コントローラが動作中である限り、オン信号を出力する動作中信号S11,S12,S13をそれぞれオア回路OR1,OR2,OR3に入力する。これにより、各コントローラの動作終了時に上述した転送処理のための電源供給が確保される。なお、各種データとは、たとえば、車体の稼働時間に対しての走行の割合や、油圧ポンプの負荷頻度、建設機械の故障履歴などの車体情報に関するものである。   Here, when the on / off signal S1 is turned from on to off, the control units C1, C2, and C3 perform processing of transferring various data currently stored in the RAMs 14, 24, and 34 to the EEPROMs 15, 25, and 35, respectively. . Since the controllers C1, C2, and C3 operate at least during the transfer process, the controllers C1, C2, and C3 output operating signals S11, S12, and S13 that output ON signals as long as the controllers are operating. The signals are input to the OR circuits OR1, OR2, and OR3, respectively. As a result, power supply for the transfer processing described above is ensured at the end of the operation of each controller. The various types of data relate to vehicle body information such as the ratio of travel with respect to the operation time of the vehicle body, the load frequency of the hydraulic pump, and the failure history of the construction machine.

すなわち、オア回路OR1,OR2,OR3のそれぞれは、キースイッチSW1からのオンオフ信号S1と、制御部C1,C2,C3からの動作中信号S11,S12,S13とのいずれか一方がオンの場合にオンとする論理和演算を行ったオンオフ信号S21,S22,S23をそれぞれ内部電源スイッチSW11,SW12,SW13に出力する。この結果、内部電源スイッチSW1,SW2,SW3は、キースイッチSW1がオフされても、各種データの転送処理に必要な所定期間内は、オフされず、この転送処理後にオフされることになる。   That is, each of the OR circuits OR1, OR2, and OR3 is turned on when one of the on / off signal S1 from the key switch SW1 and the operating signals S11, S12, and S13 from the control units C1, C2, and C3 is on. On / off signals S21, S22, and S23 that have been subjected to a logical OR operation for turning on are output to internal power switches SW11, SW12, and SW13, respectively. As a result, even when the key switch SW1 is turned off, the internal power switches SW1, SW2, and SW3 are not turned off within a predetermined period required for various data transfer processing, and are turned off after the transfer processing.

また、制御部C1,C2,C3は、それぞれ上述した各コントローラの転送処理を含めた動作中信号S31,S32,S33を各表示スイッチTR1,TR2,TR3に出力する。この動作中信号S31,S32,S33は、各コントローラが動作中である限り、オン信号を出力する。各表示スイッチTR1,TR2,TR3の一端は、アースされ、他端は、LED3のカソード側に共通接続される。したがって、各表示スイッチTR1,TR2,TR3の少なくとも1つがオンされると、バッテリ2からLED3に電流が流れ、LED3が点灯状態となる。このLED3の点灯によって、コントローラが動作中、換言すれば、バッテリ2が使用中であることがわかる。   In addition, the control units C1, C2, and C3 output operating signals S31, S32, and S33 including the transfer processing of each controller described above to the display switches TR1, TR2, and TR3, respectively. The in-operation signals S31, S32, and S33 output an on signal as long as each controller is operating. One end of each display switch TR1, TR2, TR3 is grounded, and the other end is commonly connected to the cathode side of the LED3. Therefore, when at least one of the display switches TR1, TR2, and TR3 is turned on, a current flows from the battery 2 to the LED 3, and the LED 3 is turned on. The lighting of the LED 3 indicates that the controller is operating, in other words, the battery 2 is in use.

なお、自己保持回路11,21,31は、上述したように、それぞれバッテリ2から直接電源供給されるとともに、各コントローラ内で、トランジスタなどのディスクリート部品によって実現されている。これは、コントローラの再起動時に、キースイッチSW1のオン状態のみで内部電源スイッチSW11,SW12,SW13がオン状態になって、電源供給されるようにするためである。また、各表示スイッチTR1,TR2,TR3も、バッテリ2から直接電源供給される。   As described above, the self-holding circuits 11, 21, and 31 are directly supplied with power from the battery 2 and are realized by discrete components such as transistors in each controller. This is because when the controller is restarted, the internal power switches SW11, SW12, and SW13 are turned on only by turning on the key switch SW1, and power is supplied. Each display switch TR1, TR2, TR3 is also directly supplied with power from the battery 2.

ここで、図2に示したタイミングチャートを参照して各コントローラの自己保持機能およびLED3の点灯状態について説明する。なお、ここでは、エンジンコントローラCAの動作を一例に挙げて説明する。図2において、まず、エンジンコントローラCAに電源が供給されており、エンジンコントローラCAが動作中である状態からの動作について説明する。   Here, the self-holding function of each controller and the lighting state of the LED 3 will be described with reference to the timing chart shown in FIG. Here, the operation of the engine controller CA will be described as an example. In FIG. 2, the operation from the state in which power is supplied to the engine controller CA and the engine controller CA is operating will be described first.

まず、時点t1でキースイッチSW1がオンからオフに切り替わると、自己保持を行うための動作中信号S11がオン状態を維持する。その後、時点t2になると、動作中信号S11はオフ状態になる。この動作中信号S11のオンオフは、制御部C1が決定出力するものであり、必要な転送処理が終了した時点がt2となる。この時点t2までは、オア回路OR1には、オン状態の動作中信号S11が入力されているため、キースイッチSW1のオンオフ信号S1がオフ状態であっても、オア回路OR1は、オン状態のオンオフ信号S21を内部電源スイッチSW11に出力し、内部電源スイッチSW11はオン状態を維持しているが、時点t2以後は、動作中信号S11とキースイッチSW2のオンオフ信号S1とがともにオフ状態になるため、オア回路OR1は、オフ状態を出力し、内部電源スイッチSW11がオフになり、エンジンコントローラCAへの電源供給が絶たれる。   First, when the key switch SW1 is switched from on to off at time t1, the in-operation signal S11 for self-holding maintains the on state. Thereafter, at time t2, the in-operation signal S11 is turned off. The on / off state of the operating signal S11 is determined and output by the control unit C1, and the time point when necessary transfer processing ends is t2. Until this time t2, the on-operation signal S11 is input to the OR circuit OR1, so even if the on / off signal S1 of the key switch SW1 is off, the OR circuit OR1 remains on / off. The signal S21 is output to the internal power switch SW11, and the internal power switch SW11 maintains the on state. However, after the time t2, the operating signal S11 and the on / off signal S1 of the key switch SW2 are both off. The OR circuit OR1 outputs an off state, the internal power switch SW11 is turned off, and the power supply to the engine controller CA is cut off.

一方、制御部C1から表示スイッチTR1に入力されるビジー信号などによって実現される動作中信号S31は、時点t2でオン状態からオフ状態に切り替わり、表示スイッチTR1がオン状態からオフ状態となり、LED3が点灯状態から消灯状態に切り替わる。LED3は、遮断スイッチSW2の近傍に配置されており、遮断スイッチSW2を操作する人は、このLED3が点灯している場合には、コントローラが動作中であることを確認でき、このLED3が消灯した時点以降、遮断スイッチSW2をオフすることができる。すなわち、遮断スイッチSW2を操作する人が、このLED3の点灯、消灯確認を行うことができるようにしているので、コントローラの動作中に、遮断スイッチSW2を操作する人が遮断スイッチSW2を強制オフすることを防止することができる。   On the other hand, the operating signal S31 realized by a busy signal or the like input from the control unit C1 to the display switch TR1 is switched from the on state to the off state at time t2, the display switch TR1 is changed from the on state to the off state, and the LED 3 is turned on. Switch from the lit state to the unlit state. The LED 3 is disposed in the vicinity of the cutoff switch SW2, and the person who operates the cutoff switch SW2 can confirm that the controller is operating when the LED 3 is lit, and the LED 3 is turned off. After the time point, the cutoff switch SW2 can be turned off. That is, since the person who operates the cutoff switch SW2 can check whether the LED 3 is turned on or off, the person who operates the cutoff switch SW2 forcibly turns off the cutoff switch SW2 during the operation of the controller. This can be prevented.

その後、時点t4で、遮断スイッチt4がオン状態となり、さらに時点t5でキースイッチSW1がオンされて再起動指示されると、オア回路OR1は、キースイッチSW1のオンオフ信号S1が入力されているため、オン状態のオンオフ信号S21を内部電源スイッチSW11に出力する。そして、内部電源スイッチSW11は、この時点t5でオン状態となり、バッテリ2から電源供給される。この電源供給によって、制御部C1は、動作中信号S11,S31を出力する。動作中信号S31のオン状態によって表示スイッチTR1がオフ状態からオン状態になってLED3が消灯状態から点灯状態に切り替わる。   After that, when the cutoff switch t4 is turned on at time t4, and when the key switch SW1 is turned on and restarted at time t5, the OR circuit OR1 receives the on / off signal S1 of the key switch SW1. The ON / OFF signal S21 in the ON state is output to the internal power switch SW11. The internal power switch SW11 is turned on at this time point t5 and is supplied with power from the battery 2. With this power supply, the control unit C1 outputs operating signals S11 and S31. The display switch TR1 changes from the OFF state to the ON state according to the ON state of the operating signal S31, and the LED 3 switches from the OFF state to the ON state.

ここで、建設機械などが運用される現場では、騒音等が大きいが、この実施の形態では、遮断スイッチSW2の近傍に配置されたLED3を用いてコントローラの動作状態を可視表示しているので、このコントローラの動作状態を運転席まで行って確認しなくても、遮断スイッチSW2の近傍で直ちに確認することができる。なお、LED3に限らず、表示出力できるものであればよく、たとえばランプなどによっても実現できる。   Here, on the site where construction machines are operated, noise and the like are large, but in this embodiment, since the operation state of the controller is visually displayed using the LED 3 arranged in the vicinity of the cutoff switch SW2, Even if the operation state of the controller is not confirmed by going to the driver's seat, it can be immediately confirmed in the vicinity of the cutoff switch SW2. Note that the display output is not limited to the LED 3, and may be realized by, for example, a lamp.

なお、図3に示すように、複数のバッテリが直列接続されたバッテリ2にそれぞれ対応する複数のバッテリ2a,2bが並列接続される場合、1つの遮断スイッチSW2の一端を各バッテリ2a,2bのマイナス側に共通接続するとともに、遮断スイッチSW2の他端をアースに接続すると簡易な回路構成となるので好ましい。ここで、遮断スイッチSW2をバッテリ2,2a,2bのマイナス側に設けたのは、遮断スイッチSW2をバッテリ2,2a,2bのプラス側に設けると、たとえ遮断スイッチSW2をオフにしても、この遮断スイッチSW2とバッテリ2,2a,2bのプラス側との間は、絶縁されておらず、この間の配線に接触することによって短絡してしまうからである。   As shown in FIG. 3, when a plurality of batteries 2a and 2b corresponding to a battery 2 in which a plurality of batteries are connected in series are connected in parallel, one end of one cutoff switch SW2 is connected to each of the batteries 2a and 2b. It is preferable to connect the negative switch in common and connect the other end of the cutoff switch SW2 to the ground because a simple circuit configuration is obtained. Here, the cutoff switch SW2 is provided on the negative side of the batteries 2, 2a, 2b. If the cutoff switch SW2 is provided on the positive side of the batteries 2, 2a, 2b, even if the cutoff switch SW2 is turned off, This is because the isolation switch SW2 and the positive side of the batteries 2, 2a, 2b are not insulated, and short circuit occurs due to contact with the wiring therebetween.

ここで、図4および図5は、図1に示したバッテリ遮断装置が搭載される建設機械の外観構成を示す斜視図である。図4および図5に示すように、この建設機械200は、油圧ショベルであり、油圧ショベル全体を走行させる走行部201の上部に旋回体202が搭載され、旋回体202の前部にブーム203、アーム204,バケット205が順次取り付けられ、旋回体202,ブーム203,アーム204,バケット205を駆動して掘削作業などを行う。旋回体202の後部には、エンジン210および油圧ポンプ211が格納されている。   Here, FIG. 4 and FIG. 5 are perspective views showing an external configuration of a construction machine on which the battery interrupting device shown in FIG. 1 is mounted. As shown in FIGS. 4 and 5, the construction machine 200 is a hydraulic excavator, and a revolving body 202 is mounted on an upper portion of a traveling unit 201 that travels the entire hydraulic excavator. The arm 204 and the bucket 205 are sequentially attached, and the revolving body 202, the boom 203, the arm 204, and the bucket 205 are driven to perform excavation work and the like. An engine 210 and a hydraulic pump 211 are stored in the rear part of the swing body 202.

旋回体202の前部左側には、運転席220が設けられ、ブーム203を挟んで前部右側にバッテリボックス1が設けられる。このバッテリボックス1は、図6に示すように、外装部材としての蓋1aが設けられ、錠前SW4によって施錠される。この施錠によって第三者がバッテリボックス1内部に触れるのを防止することができる。また、バッテリボックス1内部は、外装部材である蓋1aに覆われ、外部から見えないようになっている。すなわち、遮断スイッチSW2やLED3、さらにバッテリ2は、外部から見ることができない。このため、バッテリボックス1内部に対して第三者が触れるのを一層防止することができる。   A driver's seat 220 is provided on the left side of the front part of the revolving structure 202, and the battery box 1 is provided on the right side of the front part with the boom 203 in between. As shown in FIG. 6, the battery box 1 is provided with a lid 1a as an exterior member, and is locked by a lock SW4. This locking can prevent a third party from touching the inside of the battery box 1. Further, the inside of the battery box 1 is covered with a lid 1a which is an exterior member so that it cannot be seen from the outside. That is, the cutoff switch SW2, LED 3, and battery 2 cannot be seen from the outside. For this reason, it is possible to further prevent a third party from touching the inside of the battery box 1.

なお、バッテリボックス1は、外装部材で覆われ、好ましくは施錠のできる空間であればよく、たとえば、図5に示すように、旋回体202の後部の左右側面に設けられた観音開きの扉101a,101b,102aで覆われる1以上の空間(部屋)を利用してもよい。具体的には、各扉101a,101b,102a毎に3つの部屋が設けられている。また、この部屋は、それぞれ扉101a,101b,102aで覆われ、施錠できるようになっている。   The battery box 1 may be any space that is covered with an exterior member and is preferably lockable. For example, as shown in FIG. 5, as shown in FIG. One or more spaces (rooms) covered with 101b and 102a may be used. Specifically, three rooms are provided for each door 101a, 101b, and 102a. The rooms are covered with doors 101a, 101b, and 102a, respectively, and can be locked.

さらに、バッテリボックス1内の遮断スイッチSW2のキーシリンダKSおよびLED3について説明する。遮断スイッチSW2のキーシリンダKS前面には、デカール300が貼付されている。そして、このデカール300の表面には、遮断スイッチSW2のオフ状態の位置を示す「○」のマークm1とオン状態の位置を示す「|」のマークm2とを有する。さらに、デカール300の表面には、この遮断スイッチSW2のキーシリンダKSがバッテリ遮断用のスイッチのキーシリンダKSであることを示すマークm3とメンテナンス用のスイッチであることを示すマークm4とが表示されている。このデカール300が貼付された表面と同一面で隣接した位置に、LED3が設けられる。このように、LED3を遮断スイッチSW2のキーシリンダKSの位置に隣接配置することによって、運転席220までコントローラの動作状態を確認しに行かなくても済む。なお、LED3の下部には、点灯中にスイッチをオフしてはならない旨の表示がされている。   Further, the key cylinder KS and the LED 3 of the cutoff switch SW2 in the battery box 1 will be described. A decal 300 is attached to the front surface of the key cylinder KS of the cutoff switch SW2. On the surface of the decal 300, there is a “o” mark m1 indicating the off state position of the cutoff switch SW2 and a “|” mark m2 indicating the on state position. Further, on the surface of the decal 300, a mark m3 indicating that the key cylinder KS of the cutoff switch SW2 is a key cylinder KS of a battery cutoff switch and a mark m4 indicating that it is a maintenance switch are displayed. ing. The LED 3 is provided at a position adjacent to the same surface as the surface on which the decal 300 is attached. In this way, by arranging the LED 3 adjacent to the position of the key cylinder KS of the cutoff switch SW2, it is not necessary to go to the driver's seat 220 to check the operation state of the controller. Note that a display indicating that the switch must not be turned off during lighting is displayed below the LED 3.

ここで、遮断スイッチSW2のキーK2は、キースイッチSW1のキーK1同様、オン状態ではキーシリンダKSについたままで外すことができず、オフ状態になってキーシリンダKSから外すことができるようになっている。なお、遮断スイッチSW2のキーシリンダKSは、オン状態およびオフ状態ともにキーを取り外すことができるようなものでもよく、オン状態およびオフ状態ともにキーの取り外しが不可能なものであってもよい。さらに、遮断スイッチSW2は、キーシリンダを用いるスイッチに限らず、トグルスイッチなどのオンオフ切換スイッチを用いてもよい。なお、キーK1およびキーK2に用いられるキーシリンダは同一であることが好ましい。   Here, the key K2 of the cutoff switch SW2, like the key K1 of the key switch SW1, cannot be removed while staying on the key cylinder KS in the on state, but can be removed from the key cylinder KS in the off state. ing. It should be noted that the key cylinder KS of the cutoff switch SW2 may be such that the key can be removed in both the on state and the off state, or the key cannot be removed in both the on state and the off state. Furthermore, the cut-off switch SW2 is not limited to a switch using a key cylinder, and an on / off switch such as a toggle switch may be used. The key cylinders used for the keys K1 and K2 are preferably the same.

また、上述した実施の形態では、動作中信号S11がデータ転送などの転送処理の状態のときにオンするようにしていたが、これに限らず、各コントローラが必要とする動作状態のときにオンするようにしてもよい。たとえば、建設機械が基地局などの外部と無線通信を行う通信装置を搭載している場合、この通信装置が基地局などの外部と無線通信を行うときにコントローラが動作中であるとして動作中信号S11をオン状態として出力するようにしてもよい。   In the embodiment described above, the signal is turned on when the in-operation signal S11 is in a transfer processing state such as data transfer. However, the present invention is not limited to this. You may make it do. For example, if the construction machine is equipped with a communication device that performs wireless communication with the outside such as a base station, an operation signal indicating that the controller is operating when the communication device performs wireless communication with the outside such as a base station. S11 may be output in an ON state.

なお、上述した実施の形態では、複数のコントローラ、すなわちエンジンコントローラCA,ポンプコントローラCB,モニタコントローラCCに適用したバッテリ遮断装置について説明したが、これに限らず、1つのコントローラに適用したバッテリ遮断装置であってもよく、また他のコントローラ、たとえばトランスミッションコントローラや作業機の動作を制御する作業機コントローラなどにも適用したバッテリ遮断装置であってもよい。   In the above-described embodiment, the battery shut-off device applied to a plurality of controllers, that is, the engine controller CA, the pump controller CB, and the monitor controller CC has been described. However, the present invention is not limited to this, and the battery shut-off device applied to one controller. It may also be a battery shut-off device applied to another controller such as a transmission controller or a work machine controller that controls the operation of the work machine.

1 バッテリボックス
1a 蓋
2,2a,2b バッテリ
3 LED
11,21,31 自己保持回路
12,22,32 内部電源回路
13,23,33 ROM
14,24,34 RAM
15,25,35 EEPROM
200 建設機械
300 デカール
CA エンジンコントローラ
CB ポンプコントローラ
CC モニタコントローラ
C1〜C3 制御部
SW1 キースイッチ
SW2 遮断スイッチ
SW11,SW12,SW13 内部電源スイッチ
SWS スタータスイッチ
ST スタータ
OR1〜OR3 オア回路
TR1〜TR3 表示スイッチ
K1,K2 キー
KS キーシリンダ
L1 電源ライン
L11 分岐ライン
P1,P2 分岐点
S1,S21,S22,S23 オンオフ信号
S11,S31 動作中信号
m1〜m4 マーク
1 Battery box 1a Lid 2, 2a, 2b Battery 3 LED
11, 21, 31 Self-holding circuit 12, 22, 32 Internal power supply circuit 13, 23, 33 ROM
14, 24, 34 RAM
15, 25, 35 EEPROM
200 construction machine 300 decal CA engine controller CB pump controller CC monitor controller C1 to C3 control unit SW1 key switch SW2 cutoff switch SW11, SW12, SW13 internal power switch SWS starter switch ST starter OR1 to OR3 OR circuit TR1 to TR3 display switch K1, K2 key KS key cylinder L1 power supply line L11 branch line P1, P2 branch point S1, S21, S22, S23 ON / OFF signal S11, S31 Operation signal m1-m4 mark

Claims (6)

バッテリが搭載された建設機械であって、
前記バッテリからの電源供給を受けて前記建設機械の所定機能を制御するコントローラと、
前記コントローラの起動を切り換えるキースイッチと、
前記建設機械の運転席から離れた位置に設けられ、前記バッテリの一方の極性側に接続され該バッテリの接続を切り換える遮断スイッチと、
前記建設機械の運転席から離れた位置に設けられ、前記バッテリに一端が接続された表示部と、
を備え、
前記表示部は、前記キースイッチがオフされた後、前記コントローラが動作中である場合に点灯することを特徴とする建設機械。
A construction machine equipped with a battery,
A controller that receives a power supply from the battery and controls a predetermined function of the construction machine;
A key switch for switching activation of the controller;
A disconnect switch provided at a position away from a driver's seat of the construction machine, connected to one polarity side of the battery and switching the connection of the battery;
A display unit provided at a position away from the driver's seat of the construction machine and having one end connected to the battery;
With
The display unit is turned on when the controller is operating after the key switch is turned off.
前記遮断スイッチと前記表示部とは、旋回体の前部に設けられ、ブームを挟んで前記運転席の反対側に設けられることを特徴とする請求項1に記載の建設機械。   2. The construction machine according to claim 1, wherein the shut-off switch and the display unit are provided at a front portion of a revolving structure, and are provided on an opposite side of the driver's seat with a boom interposed therebetween. 前記バッテリと、前記遮断スイッチと、前記表示部とを収容するバッテリボックスを備えたことを特徴とする請求項1または2に記載の建設機械。   The construction machine according to claim 1, further comprising a battery box that accommodates the battery, the cutoff switch, and the display unit. 前記バッテリボックスは、外装部材で覆われ、施錠機能を有することを特徴とする請求項3に記載の建設機械。   The construction machine according to claim 3, wherein the battery box is covered with an exterior member and has a locking function. 前記表示部は、前記遮断スイッチの近傍に配置されることを特徴とする請求項1〜4のいずれか一つに記載の建設機械。   The construction machine according to claim 1, wherein the display unit is disposed in the vicinity of the cutoff switch. 前記表示部と前記遮断スイッチとは、同一面に設けられることを特徴とする請求項1〜5のいずれか一つに記載の建設機械。   The construction machine according to claim 1, wherein the display unit and the cutoff switch are provided on the same surface.
JP2014005474A 2014-01-15 2014-01-15 Construction machinery Active JP5836405B2 (en)

Priority Applications (1)

Application Number Priority Date Filing Date Title
JP2014005474A JP5836405B2 (en) 2014-01-15 2014-01-15 Construction machinery

Applications Claiming Priority (1)

Application Number Priority Date Filing Date Title
JP2014005474A JP5836405B2 (en) 2014-01-15 2014-01-15 Construction machinery

Related Parent Applications (1)

Application Number Title Priority Date Filing Date
JP2009218136A Division JP5689231B2 (en) 2009-09-18 2009-09-18 Battery shut-off device for construction machinery

Publications (2)

Publication Number Publication Date
JP2014088766A true JP2014088766A (en) 2014-05-15
JP5836405B2 JP5836405B2 (en) 2015-12-24

Family

ID=50790858

Family Applications (1)

Application Number Title Priority Date Filing Date
JP2014005474A Active JP5836405B2 (en) 2014-01-15 2014-01-15 Construction machinery

Country Status (1)

Country Link
JP (1) JP5836405B2 (en)

Cited By (3)

* Cited by examiner, † Cited by third party
Publication number Priority date Publication date Assignee Title
JP2017141556A (en) * 2016-02-08 2017-08-17 株式会社日立建機ティエラ Construction machine
JP2018091064A (en) * 2016-12-05 2018-06-14 いすゞ自動車株式会社 Notification device
KR20210032480A (en) * 2019-03-18 2021-03-24 히다찌 겐끼 가부시키가이샤 Construction machinery

Families Citing this family (1)

* Cited by examiner, † Cited by third party
Publication number Priority date Publication date Assignee Title
JP6443423B2 (en) 2016-10-14 2018-12-26 コベルコ建機株式会社 Construction machinery

Citations (7)

* Cited by examiner, † Cited by third party
Publication number Priority date Publication date Assignee Title
JPH10122106A (en) * 1996-10-16 1998-05-12 Harness Sogo Gijutsu Kenkyusho:Kk Automotive power supply control device
JP2000198400A (en) * 1998-12-28 2000-07-18 Hitachi Constr Mach Co Ltd Electric power circuit device for vehicle
JP2000336693A (en) * 1999-05-31 2000-12-05 Kobelco Contstruction Machinery Ltd Construction machine
JP2002242236A (en) * 2001-02-15 2002-08-28 Hitachi Constr Mach Co Ltd Battery cutoff control device for construction machine
JP2005175954A (en) * 2003-12-11 2005-06-30 Canon Inc Imaging device
JP2006143077A (en) * 2004-11-22 2006-06-08 Kubota Corp Swivel work machine
JP2009068164A (en) * 2007-09-10 2009-04-02 Hitachi Constr Mach Co Ltd Control unit of working machine

Patent Citations (7)

* Cited by examiner, † Cited by third party
Publication number Priority date Publication date Assignee Title
JPH10122106A (en) * 1996-10-16 1998-05-12 Harness Sogo Gijutsu Kenkyusho:Kk Automotive power supply control device
JP2000198400A (en) * 1998-12-28 2000-07-18 Hitachi Constr Mach Co Ltd Electric power circuit device for vehicle
JP2000336693A (en) * 1999-05-31 2000-12-05 Kobelco Contstruction Machinery Ltd Construction machine
JP2002242236A (en) * 2001-02-15 2002-08-28 Hitachi Constr Mach Co Ltd Battery cutoff control device for construction machine
JP2005175954A (en) * 2003-12-11 2005-06-30 Canon Inc Imaging device
JP2006143077A (en) * 2004-11-22 2006-06-08 Kubota Corp Swivel work machine
JP2009068164A (en) * 2007-09-10 2009-04-02 Hitachi Constr Mach Co Ltd Control unit of working machine

Cited By (4)

* Cited by examiner, † Cited by third party
Publication number Priority date Publication date Assignee Title
JP2017141556A (en) * 2016-02-08 2017-08-17 株式会社日立建機ティエラ Construction machine
JP2018091064A (en) * 2016-12-05 2018-06-14 いすゞ自動車株式会社 Notification device
KR20210032480A (en) * 2019-03-18 2021-03-24 히다찌 겐끼 가부시키가이샤 Construction machinery
KR102501013B1 (en) 2019-03-18 2023-02-17 히다찌 겐끼 가부시키가이샤 construction machinery

Also Published As

Publication number Publication date
JP5836405B2 (en) 2015-12-24

Similar Documents

Publication Publication Date Title
JP5689231B2 (en) Battery shut-off device for construction machinery
JP5836405B2 (en) Construction machinery
KR102301475B1 (en) construction machinery
US20170058489A1 (en) Construction Machine
JP6781182B2 (en) Construction machinery
CN102791931B (en) Vehicle status notification device and vehicle status notification method of construction machine
JP5523368B2 (en) Power control circuit for work machines
CN112004973A (en) Electric working machine
CN107075874A (en) Construction machinery
CN114729525A (en) Display control device for work vehicle and work vehicle
JP4879231B2 (en) Battery-powered construction machinery
AU2019228798C1 (en) Peripheral monitoring device, work machine, peripheral monitoring control method, and display device
JP2014141223A (en) Work vehicle
US8261872B2 (en) Work machine having modular ignition switch keypad with latching output
JP2012091707A (en) Battery consumption alarm circuit during idling stop
JP7556812B2 (en) Construction Machinery
KR102483276B1 (en) construction machinery
JP2011231594A (en) Electric circuit of construction equipment
JP6861179B2 (en) Construction machinery and management equipment for construction machinery
JP2012092586A (en) Battery discharge-prevention circuit for construction machine
JP2019142447A (en) Work machine
KR20250042810A (en) Control system for working machine, working machine, and control method for working machine
JP6423713B2 (en) Work vehicle bodywork
JP3840827B2 (en) Work machine lighting control device for construction machinery
JPH11336137A (en) Switch lighting system for construction machine

Legal Events

Date Code Title Description
A977 Report on retrieval

Free format text: JAPANESE INTERMEDIATE CODE: A971007

Effective date: 20140808

A131 Notification of reasons for refusal

Free format text: JAPANESE INTERMEDIATE CODE: A131

Effective date: 20141007

A521 Request for written amendment filed

Free format text: JAPANESE INTERMEDIATE CODE: A523

Effective date: 20141208

A131 Notification of reasons for refusal

Free format text: JAPANESE INTERMEDIATE CODE: A131

Effective date: 20150519

A521 Request for written amendment filed

Free format text: JAPANESE INTERMEDIATE CODE: A523

Effective date: 20150717

TRDD Decision of grant or rejection written
A01 Written decision to grant a patent or to grant a registration (utility model)

Free format text: JAPANESE INTERMEDIATE CODE: A01

Effective date: 20151027

A61 First payment of annual fees (during grant procedure)

Free format text: JAPANESE INTERMEDIATE CODE: A61

Effective date: 20151102

R150 Certificate of patent or registration of utility model

Ref document number: 5836405

Country of ref document: JP

Free format text: JAPANESE INTERMEDIATE CODE: R150

R250 Receipt of annual fees

Free format text: JAPANESE INTERMEDIATE CODE: R250

R250 Receipt of annual fees

Free format text: JAPANESE INTERMEDIATE CODE: R250

R250 Receipt of annual fees

Free format text: JAPANESE INTERMEDIATE CODE: R250