JP2013511368A - 巻き戻しロックおよび一体型テープリリース部を備えたテープマガジン - Google Patents

巻き戻しロックおよび一体型テープリリース部を備えたテープマガジン Download PDF

Info

Publication number
JP2013511368A
JP2013511368A JP2012540390A JP2012540390A JP2013511368A JP 2013511368 A JP2013511368 A JP 2013511368A JP 2012540390 A JP2012540390 A JP 2012540390A JP 2012540390 A JP2012540390 A JP 2012540390A JP 2013511368 A JP2013511368 A JP 2013511368A
Authority
JP
Japan
Prior art keywords
tape
magazine
reel
take
carrier tape
Prior art date
Legal status (The legal status is an assumption and is not a legal conclusion. Google has not performed a legal analysis and makes no representation as to the accuracy of the status listed.)
Granted
Application number
JP2012540390A
Other languages
English (en)
Other versions
JP5599895B2 (ja
Inventor
コンヤ、アーメト
リスト、ハンス
クール、ハンス−ユルゲン
Original Assignee
エフ ホフマン−ラ ロッシュ アクチェン ゲゼルシャフト
Priority date (The priority date is an assumption and is not a legal conclusion. Google has not performed a legal analysis and makes no representation as to the accuracy of the date listed.)
Filing date
Publication date
Application filed by エフ ホフマン−ラ ロッシュ アクチェン ゲゼルシャフト filed Critical エフ ホフマン−ラ ロッシュ アクチェン ゲゼルシャフト
Publication of JP2013511368A publication Critical patent/JP2013511368A/ja
Application granted granted Critical
Publication of JP5599895B2 publication Critical patent/JP5599895B2/ja
Expired - Fee Related legal-status Critical Current
Anticipated expiration legal-status Critical

Links

Images

Classifications

    • AHUMAN NECESSITIES
    • A61MEDICAL OR VETERINARY SCIENCE; HYGIENE
    • A61BDIAGNOSIS; SURGERY; IDENTIFICATION
    • A61B5/00Measuring for diagnostic purposes; Identification of persons
    • A61B5/14Devices for taking samples of blood ; Measuring characteristics of blood in vivo, e.g. gas concentration within the blood, pH-value of blood
    • A61B5/1405Devices for taking blood samples
    • A61B5/1427Multiple blood sampling, e.g. at periodic or pre-established intervals
    • AHUMAN NECESSITIES
    • A61MEDICAL OR VETERINARY SCIENCE; HYGIENE
    • A61BDIAGNOSIS; SURGERY; IDENTIFICATION
    • A61B5/00Measuring for diagnostic purposes; Identification of persons
    • A61B5/02Detecting, measuring or recording for evaluating the cardiovascular system, e.g. pulse, heart rate, blood pressure or blood flow
    • A61B5/02028Determining haemodynamic parameters not otherwise provided for, e.g. cardiac contractility or left ventricular ejection fraction
    • A61B5/02035Determining blood viscosity
    • AHUMAN NECESSITIES
    • A61MEDICAL OR VETERINARY SCIENCE; HYGIENE
    • A61BDIAGNOSIS; SURGERY; IDENTIFICATION
    • A61B5/00Measuring for diagnostic purposes; Identification of persons
    • A61B5/14Devices for taking samples of blood ; Measuring characteristics of blood in vivo, e.g. gas concentration within the blood, pH-value of blood
    • AHUMAN NECESSITIES
    • A61MEDICAL OR VETERINARY SCIENCE; HYGIENE
    • A61BDIAGNOSIS; SURGERY; IDENTIFICATION
    • A61B5/00Measuring for diagnostic purposes; Identification of persons
    • A61B5/14Devices for taking samples of blood ; Measuring characteristics of blood in vivo, e.g. gas concentration within the blood, pH-value of blood
    • A61B5/1405Devices for taking blood samples
    • AHUMAN NECESSITIES
    • A61MEDICAL OR VETERINARY SCIENCE; HYGIENE
    • A61BDIAGNOSIS; SURGERY; IDENTIFICATION
    • A61B5/00Measuring for diagnostic purposes; Identification of persons
    • A61B5/14Devices for taking samples of blood ; Measuring characteristics of blood in vivo, e.g. gas concentration within the blood, pH-value of blood
    • A61B5/1405Devices for taking blood samples
    • A61B5/1411Devices for taking blood samples by percutaneous method, e.g. by lancet
    • AHUMAN NECESSITIES
    • A61MEDICAL OR VETERINARY SCIENCE; HYGIENE
    • A61BDIAGNOSIS; SURGERY; IDENTIFICATION
    • A61B5/00Measuring for diagnostic purposes; Identification of persons
    • A61B5/15Devices for taking samples of blood
    • A61B5/150007Details
    • A61B5/150015Source of blood
    • A61B5/150022Source of blood for capillary blood or interstitial fluid
    • AHUMAN NECESSITIES
    • A61MEDICAL OR VETERINARY SCIENCE; HYGIENE
    • A61BDIAGNOSIS; SURGERY; IDENTIFICATION
    • A61B5/00Measuring for diagnostic purposes; Identification of persons
    • A61B5/15Devices for taking samples of blood
    • A61B5/150007Details
    • A61B5/150358Strips for collecting blood, e.g. absorbent
    • AHUMAN NECESSITIES
    • A61MEDICAL OR VETERINARY SCIENCE; HYGIENE
    • A61BDIAGNOSIS; SURGERY; IDENTIFICATION
    • A61B5/00Measuring for diagnostic purposes; Identification of persons
    • A61B5/15Devices for taking samples of blood
    • A61B5/150007Details
    • A61B5/150374Details of piercing elements or protective means for preventing accidental injuries by such piercing elements
    • A61B5/150381Design of piercing elements
    • A61B5/150412Pointed piercing elements, e.g. needles, lancets for piercing the skin
    • AHUMAN NECESSITIES
    • A61MEDICAL OR VETERINARY SCIENCE; HYGIENE
    • A61BDIAGNOSIS; SURGERY; IDENTIFICATION
    • A61B5/00Measuring for diagnostic purposes; Identification of persons
    • A61B5/15Devices for taking samples of blood
    • A61B5/150007Details
    • A61B5/150374Details of piercing elements or protective means for preventing accidental injuries by such piercing elements
    • A61B5/150381Design of piercing elements
    • A61B5/150503Single-ended needles
    • AHUMAN NECESSITIES
    • A61MEDICAL OR VETERINARY SCIENCE; HYGIENE
    • A61BDIAGNOSIS; SURGERY; IDENTIFICATION
    • A61B5/00Measuring for diagnostic purposes; Identification of persons
    • A61B5/15Devices for taking samples of blood
    • A61B5/150007Details
    • A61B5/150885Preventing re-use
    • A61B5/150916Preventing re-use by blocking components, e.g. piston, driving device or fluid passageway
    • AHUMAN NECESSITIES
    • A61MEDICAL OR VETERINARY SCIENCE; HYGIENE
    • A61BDIAGNOSIS; SURGERY; IDENTIFICATION
    • A61B5/00Measuring for diagnostic purposes; Identification of persons
    • A61B5/15Devices for taking samples of blood
    • A61B5/151Devices specially adapted for taking samples of capillary blood, e.g. by lancets, needles or blades
    • AHUMAN NECESSITIES
    • A61MEDICAL OR VETERINARY SCIENCE; HYGIENE
    • A61BDIAGNOSIS; SURGERY; IDENTIFICATION
    • A61B5/00Measuring for diagnostic purposes; Identification of persons
    • A61B5/15Devices for taking samples of blood
    • A61B5/151Devices specially adapted for taking samples of capillary blood, e.g. by lancets, needles or blades
    • A61B5/15146Devices loaded with multiple lancets simultaneously, e.g. for serial firing without reloading, for example by use of stocking means.
    • A61B5/15148Constructional features of stocking means, e.g. strip, roll, disc, cartridge, belt or tube
    • A61B5/15149Arrangement of piercing elements relative to each other
    • A61B5/15153Multiple piercing elements stocked in a single compartment
    • AHUMAN NECESSITIES
    • A61MEDICAL OR VETERINARY SCIENCE; HYGIENE
    • A61BDIAGNOSIS; SURGERY; IDENTIFICATION
    • A61B5/00Measuring for diagnostic purposes; Identification of persons
    • A61B5/15Devices for taking samples of blood
    • A61B5/151Devices specially adapted for taking samples of capillary blood, e.g. by lancets, needles or blades
    • A61B5/15146Devices loaded with multiple lancets simultaneously, e.g. for serial firing without reloading, for example by use of stocking means.
    • A61B5/15148Constructional features of stocking means, e.g. strip, roll, disc, cartridge, belt or tube
    • A61B5/15157Geometry of stocking means or arrangement of piercing elements therein
    • A61B5/15165Piercing elements stocked in or on a strip
    • A61B5/15169Characterized by a rolled strip
    • AHUMAN NECESSITIES
    • A61MEDICAL OR VETERINARY SCIENCE; HYGIENE
    • A61BDIAGNOSIS; SURGERY; IDENTIFICATION
    • A61B5/00Measuring for diagnostic purposes; Identification of persons
    • A61B5/15Devices for taking samples of blood
    • A61B5/151Devices specially adapted for taking samples of capillary blood, e.g. by lancets, needles or blades
    • A61B5/15146Devices loaded with multiple lancets simultaneously, e.g. for serial firing without reloading, for example by use of stocking means.
    • A61B5/15148Constructional features of stocking means, e.g. strip, roll, disc, cartridge, belt or tube
    • A61B5/15157Geometry of stocking means or arrangement of piercing elements therein
    • A61B5/15165Piercing elements stocked in or on a strip
    • A61B5/15171Characterized by propelling the piercing element perpendicular to the direction of movement of the strip
    • AHUMAN NECESSITIES
    • A61MEDICAL OR VETERINARY SCIENCE; HYGIENE
    • A61BDIAGNOSIS; SURGERY; IDENTIFICATION
    • A61B5/00Measuring for diagnostic purposes; Identification of persons
    • A61B5/15Devices for taking samples of blood
    • A61B5/151Devices specially adapted for taking samples of capillary blood, e.g. by lancets, needles or blades
    • A61B5/15146Devices loaded with multiple lancets simultaneously, e.g. for serial firing without reloading, for example by use of stocking means.
    • A61B5/15148Constructional features of stocking means, e.g. strip, roll, disc, cartridge, belt or tube
    • A61B5/15176Stocking means comprising cap, cover, sheath or protection for aseptic stocking
    • AHUMAN NECESSITIES
    • A61MEDICAL OR VETERINARY SCIENCE; HYGIENE
    • A61BDIAGNOSIS; SURGERY; IDENTIFICATION
    • A61B5/00Measuring for diagnostic purposes; Identification of persons
    • A61B5/15Devices for taking samples of blood
    • A61B5/151Devices specially adapted for taking samples of capillary blood, e.g. by lancets, needles or blades
    • A61B5/15101Details
    • A61B5/15115Driving means for propelling the piercing element to pierce the skin, e.g. comprising mechanisms based on shape memory alloys, magnetism, solenoids, piezoelectric effect, biased elements, resilient elements, vacuum or compressed fluids

Landscapes

  • Health & Medical Sciences (AREA)
  • Life Sciences & Earth Sciences (AREA)
  • Physics & Mathematics (AREA)
  • Animal Behavior & Ethology (AREA)
  • Public Health (AREA)
  • Pathology (AREA)
  • Engineering & Computer Science (AREA)
  • Biomedical Technology (AREA)
  • Heart & Thoracic Surgery (AREA)
  • Medical Informatics (AREA)
  • Molecular Biology (AREA)
  • Surgery (AREA)
  • Veterinary Medicine (AREA)
  • General Health & Medical Sciences (AREA)
  • Biophysics (AREA)
  • Hematology (AREA)
  • Cardiology (AREA)
  • Geometry (AREA)
  • Physiology (AREA)
  • Dermatology (AREA)
  • Measurement Of The Respiration, Hearing Ability, Form, And Blood Characteristics Of Living Organisms (AREA)
  • Investigating Or Analysing Materials By The Use Of Chemical Reactions (AREA)
  • Automatic Analysis And Handling Materials Therefor (AREA)
  • Impression-Transfer Materials And Handling Thereof (AREA)
  • Replacement Of Web Rolls (AREA)

Abstract

分析用検査機器(112)において使用されるマガジン(110)が提案される。このマガジン(110)は、交換可能なマガジン(110)として実施される。このマガジン(110)は、担体テープ(116)上に複数の分析用補助具(118)を備える。分析用補助具(118)は、担体テープ(116)によって、マガジン(110)の、少なくとも1つの適用位置(128)において利用可能とすることができる。マガジン(110)はさらに、未使用の分析用補助具(118)を備えた担体テープ(116)の領域を保持するための、少なくとも1つの供給リール(120)、および、使用済みの分析用補助具(118)を備えた担体テープ(116)の領域を保持するための、少なくとも1つの巻き取りリール(122)を備える。担体テープ(116)は、供給リール(120)から巻き取りリール(122)へ、スプーリング方向(126)に移動することができる。マガジン(110)は、巻き取りリール(122)の巻き戻しロック(136)を有する。マガジン(110)はさらに、テープリリース装置(142)を有し、このテープリリース装置(142)は、巻き取りリール(122)を向いた適用位置(128)側で、担体テープ(116)の巻き取りリールテープ予備分を利用可能とするように構成される。巻き取りリールテープ予備分は、好ましくは、適用位置(128)に位置付けられた分析用補助具(118)のリフト動作(134)を可能にする。

Description

本発明は、分析用検査機器において使用するマガジンと、分析用検査機器とに関する。こうした分析用検査機器およびマガジンは、具体的には、体液の試料を作成および/または採取および/または分析するために、医療診断の分野において使用される。試料分析には、具体的には、1つまたは2つ以上の検体について、体液の試料の質的または量的な分析が含まれうる。例として、このような検体は、代謝物質であってよい。さらなる、考えられる適用分野に制限されず、こうした検体は、たとえば、血糖、コレステロール、トリグリセリド、血餅などとすることができる。
医療技術の分野においては、特に分析学において、分析用補助具を必要とする複数の検査機器が開示されている。例として、複数のランセットが連続的に使用可能である穿刺器具、または、体液試料において少なくとも一つの検体を検出するために、複数のテストエレメントが連続的に利用可能となりうる分析用測定器が知られる。
ドラムマガジン、または、分析用補助具を利用可能にするための、同様の供給装置を有する検査機器に加えて、最近は、テープ機器の使用がますます増加している。ここで、1つまたは2つ以上の担体テープによって分析用補助具が利用可能となるのである。したがって、たとえば、特許文献1には、血液を採取するための穿刺装置について記載されている。この穿刺装置は、テープマガジンを備える。この場合、個別のランセットは、テープ上に連続して一列に並ぶ。同様に、特許文献2は、試験紙用のテープマガジンを備えた血糖測定器について記載している。2009年2月には、ロシュ・ダイアグノスティックスGmbHからのACCU−Chek(登録商標)モバイル検査機器が、試験紙テープカセットを使用する血糖測定器としては初めて市販された。
ランセット用であっても、あるいはテストエレメント用であっても、テープのコンセプトによる利点は、一般的に、比較的小型のマガジンにおいて、巻き取り形式で利用可能となりうる、たとえば、テストエレメントおよび/または穿刺要素といった、比較的多数の分析用補助具を有することである。しかし、ここで、リジッドな担体要素と比較して、一般的に、実際にはテープは比較的扱いにくいという問題がある。したがって、具体的には、テープ機器は、テープを整然とガイドするために、および、たとえば、テープの巻きが制御されずにほどけるのを防ぐために、いくつかの技術的手段を追加で必要とする。
先行技術は、特に、検査機器からマガジンが取り出される際に、担体テープを固定することができる、テープマガジン用のいわゆる巻き戻しロックを開示している。これは、すでに使用済みのテストエレメントおよび/または穿刺要素が再び出てくるのを防ぐことによって、ユーザーおよび/または分析用検査機器の他の部品が、液体の試料で不要に汚染されるリスクを回避し、またはユーザーを傷つけるのを防ぐ。
したがって、たとえば、特許文献3は、テストセンサーディスクマガジンを備えた測定器について記載している。このディスクマガジンは、マガジンが取り出された状態でのみ作動する巻き戻しロックを有し、逆に、このロックは、挿入状態ではバイパスされる。
特許文献4は、診断用テストストリップのテープカセットについて記載している。このカセットは、不用意にテストテープの巻きが解けるのを防ぐべきロック用の歯を備えた回転式の安全装置を有する。このロックは、機器に依存しない取扱いの場合に作動する。
特許文献5は、テストストリップテープマガジンを備えた血糖測定システムについて記載している。歯止めによって、巻き取りリール、つまり、テストテープの使用済みテープ部分用の保持リールが、一方向にのみ回転できるようになる。このロック機能は、マガジンが挿入されている状態でアクティブとなる。
特許文献6もまた、穿刺補助具について記載している。この穿刺補助具は、一体型の巻き戻しロックを備えたランセットマガジンを有する。この巻き戻しロックは、具体的には、その時以前に使用されたランセットの再利用を防ぐべきものである。
特許文献7は、テープマガジン上に格納されるマイクロサンプラーに基づいたシステムについて記載している。このシステムもまた、巻き戻しロックを備えている。ラチェット装置によって、テープ移送を前方向のみに行うことができる。このようにして、挿入されたテープマガジンが、不用意な巻き戻しに対して安定する。
特許文献8は、液体試料を得るための試料採取システム用のコンビネーションドライブを開示している。この試料採取システムは、結合要素を備え、分析用補助具、および、この結合要素の移動を駆動するためのドライブユニットに結合する。ドライブユニットはさらに、少なくとも1つの回転方向感知要素を備えた結合装置を有し、この結合装置は、エネルギー変換器を、第一の回転方向において第一システム機能に結合し、第二の回転方向において第二システム機能に結合するように構成される。
しかし、実際には、テープマガジンの使用に基づいた公知の検査機器には、いくつかの技術的な課題がある。具体的には、そこに分析用補助具が位置付けられた少なくとも1つの適用位置において、リフト動作が実行される検査機器がある。例として、このリフト動作は、迅速に実行される穿刺動作および/または、ゆっくりと実行される試料採取動作とすることができる。したがって、たとえば、ランセットを使用することによってユーザーの皮膚部分に穿刺することができ、および/または、適用位置において、テストエレメントを使って、体液の液体試料を採取することができる。しかし、このような、テープマガジン上に格納された分析用補助具のリフト動作の場合の問題は、テープのリリースにある。例として、教示された担体テープは、穿刺または血液採取の手順に対して、限られた好適性を有しているだけである。テープをリリースすることにより、担体テープも動かしてしまうリフト動作の際に、テープのたわみが可能になり、その結果、担体テープの過剰な伸び、永久変形、または、破れさえも回避する。
特許文献9は、複数のランセットを運ぶランセット担体テープを備えた穿刺システムについて記載している。穿刺動作において、穿刺ドライブは、穿刺位置に移動されたランセットを、このランセットを担持するランセット担体テープの一部とともに、穿刺方向に動かす。ランセットが穿刺位置に移動された後、搬送方向において穿刺位置の後方に配された移送装置の少なくとも1つの部分が、前記ランセットの穿刺動作の前またはその間、動作を実行する。さらに、挿入されたカセット上の巻き取り装置は、それぞれの穿刺動作用に、巻き取りリールから担体テープの巻きを解くために巻き戻し工程を実行することが提案されている。
したがって、一般的に、マガジンに格納されたランセット、テストエレメントまたはマイクロサンプラーは、医療機器を取り扱う際に必要な衛生状態および安全性をユーザーに提供するためには、一般的に、巻き戻しロックを必要とすることに留意する必要がある。こうした巻き戻しロックは、原理的には、テープマガジンに格納された分析用補助具に適用されうる。しかし、公知のシステムの欠点は、巻き戻しロックが存在することが、テープリリースの必要条件、つまり、たとえば穿刺または試料採取の工程の間など、リフト動作の間、逆方向にテープの巻きを解くこととは相反することが多いという事実である。しかし、多くの場合、テープリリースは、既に巻き取りリールに巻き取られた担体テープの巻き戻しを必要とする。なぜなら、そうしなければ、テストシステム、たとえばランセットグリッパーの作動システムにおいて、不均等な負荷が生じることになるからである。例として、この結果は、穿刺が斜めになったり、グリッパー内のランセットが滑ったり、穿刺作動システムを妨害したりなどということになる。
十分な遊びをもって、穿刺工程においてたわむ必要がある、たわむ担体テープを提供するために、多くの場合、テープのリリースが必要とされる。しかし、このための、先行技術から公知となるほとんどの解決策は、巻き戻しロックの存在に対する答えをもたらすことはない。マガジンの巻き戻しロックが、こうした機能をサポートしないのであれば、または、テープのリリースのための他の代替手段が提供されなければ、巻き取りリール駆動部のアクティブな巻き戻し動作では、多くの場合、十分でない。
したがって、常時作用する、一体型の巻き戻しロックを備えた検査機器およびテープマガジンの場合は特に、テストエレメントのリフト動作とは目的が矛盾することが確認できる。ここで、一体型の巻き戻しロックは、マガジンに一体化されているため、このように検査機器の駆動部を必要とすることなく、巻き戻しを防ぐことができる巻き戻しロックを意味すると一般的に理解されるべきである。一方では、マガジンが検査機器から分離している場合でも、巻き取りリールから担体テープの巻きが不用意に解かれることを防ぐため、このような一体型の巻き戻しロックが望ましいことが多い。しかし、他方では、たとえば、テストエレメントの張力がかかっていないリフト動作を可能にするために、供給リールおよび巻き取りリールから整然と、担体テープの巻きが均等に解けることを必要とするのは、正確なリフト動作である。
マガジンが検査機器に挿入される際に巻き戻しロックがバイパスされる、たとえば、特許文献10における解決手段のように、先行技術から公知の解決手段は、部分的に、技術的に非常に複雑である。さらに、一般的に、このようなリリースによって、穿刺後、リリースされたテープ材料がゆるく固定されることになり、テープガイドがとれてしまう可能性がある。これに対応した、巻き取りリール駆動部の複雑な制御によって、こうした状況を補うことができる。
独国特許発明第2803345号明細書 独国特許出願公開第19819407号明細書 国際公開第2006/059232号 国際公開第2008/022999号 欧州特許第1690496号明細書 国際公開第2003/071940号 国際公開第03/088835号 欧州特許出願公開第2039293号明細書 国際公開第2009/030359号 国際公開第2006/059232号
したがって、本発明の目的は、公知のマガジンと分析用検査機器の欠点を少なくとも大部分は回避できる、マガジンと分析用検査機器を提供することである。特に、上述のような、巻き戻しロックとテープのリリースとの間の目的の矛盾は、技術的に簡単な方法で解決する必要がある。
独立請求項の特徴を有する本発明によって、この目的は達成される。個別に、または組み合わせて実施できる、本発明の有利な展開は、従属請求項において例示されている。
本発明の第一の態様において、分析用検査機器において使用されるマガジンが提案される。ここで、マガジンとは、複数の分析用補助具を保持し、利用可能にできるような装置を意味すると理解されるべきである。マガジンは、以下により詳細に説明するが、より具体的には、テープマガジン、たとえば、テープカセットとして実施され、一般的には、たとえばマガジンハウジングを有することができる。
一般的に、分析用検査機器は、少なくとも1つの医療的機能、より具体的には、分析および/または診断的機能を実行することができる機器を意味すると理解されるべきである。具体的には、分析用検査機器は、以下のような機能の1つまたは2つ以上を実行できる。体液の試料の生成。より具体的には、ユーザーの皮膚片を穿刺することによって、生成すること。体液からの試料において少なくとも1つの検体を検出すること、より具体的には、血糖および/またはコレステロールおよび/またはトリグリセリドの検出、および/または凝固物の検出。体液の試料を、より具体的には、毛細管作用によって採取すること。
このマガジンは、交換式のマガジンとして実施される。つまり、ユーザーは、新しい、未使用のマガジンを分析用検査機器に挿入するために、分析用検査機器からマガジンを取り出すことができる。例として、分析用検査機器はこの目的のための受容部を備えていてよく、たとえば、検査機器のハウジングを開いた後で、マガジンをこの受容部に挿入、または、マガジンでこの受容部を塞ぐことができる。したがって、マガジンは常時分析用検査機器に接続されているわけではない。例として、上述の医療的機能が、こうした作動システムを有してよい分析用検査機器と併せてのみ実行できるように、マガジン自体は、独自の作動システムを有していなくてもよく、または、部分的な作動システムを有するだけでよい。さらに、マガジンのマガジンハウジングは、マガジンの分析用検査機器への抜去可能な挿入、および/または、マガジンの分析用検査機器への取り外し可能な取り付けを可能にするために、たとえば、対応するガイド、溝、固定要素、または位置決め用補助具を有してよい。
マガジンは、担体テープ上に複数の分析用補助具を有する。ここで、分析用補助具は、分析用検査機器の少なくとも1つの医療的機能のために使用できる補助具を意味すると理解されるべきである。具体的には、これは試料生成機能および/または試料採取機能および/または分析機能であってよい。したがって、分析用補助具は、以下のような分析用補助具の1つまたは2つ以上を備えてよい。ランセット、言い換えれば、ユーザーの皮膚片を穿刺および/または切開または一般的に穿孔するための要素。ユーザーからの体液の試料を保持し、搬送するための要素、より具体的には、毛細管および/または毛細管間隙。体液における少なくとも1つの検体を検出するための少なくとも1つの検査用化学物質を有するテストエレメント。例として、少なくとも1つの検出すべき検体の存在下で、検査用化学物質は、少なくとも1つの物理的および/または化学的に検出可能な特性を変化させる材料とすることができる。こうした検査用化学物質は、先行技術から公知である。例として、テストエレメントは、電子化学的および/または光学的テストエレメントとすることができる。例として、テストエレメントは、少なくとも1つのテストフィールドを備えることができる。ここで、分析マガジンは、単に、1タイプの分析用補助具が利用可能になるように実施することができる。あるいは、たとえば、交互に行うなど、複数のタイプの分析用補助具を利用可能にすることも可能である。上記の複数の機能を統合する、一体型の分析用補助具が存在することも可能である。したがって、たとえば、ランセット機能および毛細管機能を備え、その上、本発明の範囲内で分析用補助具として使用することができる、マイクロサンプラーが知られている。たとえば任意で追加的な毛細管を備えた、テストエレメントを備えた一体型のランセットもまたあり得る。
一般的に、担体テープは、連続した支持体であり、これによって分析用補助具が連続して利用可能になり得るものであると理解されるべきである。したがって、たとえば紙テープ、プラスチック製のテープ、多層ラミネートテープまたは同様のテープといったシンプルなテープに加えて、たとえば、リンクチェーンなど、他のタイプの連続した支持体もまたあり得る。例として、分析用補助具は担体テープ上に配置、および/または担体テープと一体化、および/または、他の方法で担体テープと接続することができる。例として、分析用補助具は、等距離間隔で担体テープに配することができる。したがって、たとえば、ランセットは担体テープ上に配することができ、および/または、テストエレメントは担体テープに、たとえば、テストフィールドという形態で配することができる。
マガジンの少なくとも1つの適用位置において分析用補助具を利用可能にするために、担体テープを使用することができる。ここで、適用位置は、分析用検査機器の少なくとも1つの機能が、分析用補助具と相互作用する位置であり、この適用位置に分析用補助具が位置付けられていると理解されるべきである。例として、この適用位置は、ランセットが穿刺動作および/または試料採取動作を行う位置とすることができる。代わりに、またはこれに追加して、適用位置は、試料取得動作が実行される位置とすることができる。例として、分析用検査機器の作動システムは、より詳細については以下に説明するとおり、この機能を実行するために設けることができる。
例として、担体テープを使用することによって、少なくとも1つの適用位置において分析用補助具を連続して利用可能にするように、分析マガジンおよび分析用検査機器を実施することができる。複数の適用位置、たとえば、試料を取得する適用位置および試料を評価するための適用位置を設けることもできる。例として、新しい、未だ使われていない分析用補助具をそれぞれ、マガジンの適用位置において利用可能にできるように、担体テープを巻き取ることができる。
マガジンはさらに、未使用の分析用補助具を備えた担体テープの領域を保持するための少なくとも1つの供給リール、および、使用済みの分析用補助具を備えた担体テープの領域を保持するための少なくとも1つの巻き取りリールも有する。したがって、巻き取りリールおよび/または供給リールを、搬送機構によって駆動するように、分析用検査機器を構成することによって、新しい、未使用の分析用補助具が、適用位置において利用可能となるように、担体テープをそれぞれ巻き取ることができる。したがって、分析用検査機器は、好ましくは、巻き取りリールを、具体的には、回転運動として、より具体的には、周期的な回転運動として駆動できる駆動部を備える。担体テープの、こうした前方への搬送は、一般的には、以下のように「スプーリング」ともいわれる。担体テープは、供給リールから巻き取りリールへと、スプーリングの方向に移動する。
マガジンはさらに、巻き取りリールの巻き戻しロックを有する。全体的または部分的にマガジンに一体化できる、この巻き戻しロックは、巻き取りリールの巻き戻し、つまりは、すでに使用された、つまりは使用済みの分析用補助具が、少なくとも再度適用位置に到達するような程度まで、担体テープがスプーリングとは反対の方向へと移動することを防ぐ装置であると理解されるべきである。したがって、巻き戻しロックは、必ずしも、巻き取りリールの巻き戻しを完全に防ぐように実施する必要はなく、以下に、より詳細に説明するとおり、むしろ、軽微な巻き戻しを許容してよいし、またはこれを促進すらしてよい。しかし、すでに使用された分析用補助具が再度適用位置に到達する程度まで、こうした巻き戻しを可能とするべきではない。あるいは、巻き戻しを完全に防ぐように、巻き戻しロックを実施することもできる。
以下に、より詳細に説明するとおり、巻き戻しロックがマガジンの一部であるということは、本発明によるマガジンの利点となる。なぜなら、巻き戻しロックがマガジンに一体化することによって、たとえば使用済みのテープカセットといった、使用済み、かつ、取り出し済みのマガジンにおける、すでに使用済みの分析用補助具の巻き戻し、および、テープの、望ましくない、制御されない巻きの解けを確実に妨げることが可能になるからである。
マガジンはさらに、巻き取りリールを向いた適用位置側に、担体テープの巻き取りリールテープ予備分を利用可能にするように構成されるテープリリース装置を有する。したがって、巻き取りリールを向いた適用位置側とは、スプーリング方向において適用位置をすでに通過しており、そのために、巻き取りリールに向かって移動するか、または、すでに巻き取りリールに巻き取られている、担体テープの部分を意味すると理解されるべきである。
具体的には、巻き取りリールテープ予備分は、それ自体で、または、供給リールを向いた適用位置側のテープ予備分と相互作用することによって、適用位置に位置付けられた分析用補助具のリフト動作を可能にすることができる。したがって、一般的に、テープ予備分は、担体テープの変形または破れにつながる恐れのある、担体テープに働く大きな張力がない状態で、この分析用補助具に接続された担体テープの部分を含んだ分析用補助具のリフト動作を可能にするようなテープ部分を意味すると理解されるべきである。したがって、テープ予備分は、リフト動作用に追加で必要とされる担体テープを利用可能にできるテープ部分である。ここで、適用位置の巻き取りリール側のテープ予備分は、一般的に巻き取りリールテープ予備分とされ、供給リールテープ予備分は、適用位置の供給リール側の任意の追加のテープ予備分を指す。
したがって、マガジンは、より具体的には、担体テープの供給リールテープ予備分が、供給リール自体を含みうる、供給リールを向いた適用位置側で、追加で利用可能になり得るように、実施することができる。好ましくは、供給リールテープ予備分が巻き取りリールテープ予備分に実質的に一致するように、マガジンは構成される。ここで、「実質的に」は、これらのテープ予備分が完全に一致していることを意味すると好ましくは理解されるべきであるが、この用語の範囲内において、30%だけの、より具体的には、20%だけの、特に好ましくは、10%だけの誤差を許容することもできる。
したがって、たとえば、巻き取りリールテープ予備分、および、任意で供給リールテープ予備分から構成され得るテープ予備分全体が、好ましくは、対称的な実施態様を有することが好ましく、好ましくは、等しい寸法でこれら2つのテープ予備分が構成されるように、マガジンを構成することができる。この結果として、たとえば、作動部および/またはグリッパーを一様にロードすることが可能である。例として、こうすることによって、少なくとも部分的に、詰まり、および/または、リフト動作の傾き、たとえば穿刺の傾きを防ぐことが可能となる。
供給リールを向いた適用位置側で、供給リール自体が、供給リールテープ予備分を利用可能にすることが可能である。なぜなら、供給リールは、いずれの場合も、テープリリースを許容できるからであるが、これは、こうしたテープリリースの際、供給リールは、通常の回転方向において回転するためであり、この回転は、前方循環動作の際に起こる。
ここで、一般的に、リフト動作は、適用位置における分析用補助具の動作であって、分析用検査機器における、分析用補助具の正しい使用中に起こるものであると理解されるべきである。例として、分析用補助具は、リフト動作の間、たとえば、適用位置において少なくとも1つのグリッパーによって、固定されてよい。例として、リフト動作は、穿刺動作および/または試料取得動作とすることができる。例として、ランセットは、分析用検査機器のグリッパーによって、穿刺動作の形態をとるリフト動作に使用できる。そして、こうしたリフト動作は、たとえば、最高2〜5m/秒の速度の急速な前進動作を含み、この間、皮膚片は穿刺され、その後、後退動作が行われる。また、後退動作中に、たとえば、毛細管間隙によって、試料を取得することも可能である。代りに、試料取得動作の形態をとるリフト動作は、ユーザーの皮膚表面上の創傷部および/または試料までのテストフィールドの前進動作を含んでよく、この間、テストフィールドまたはテストエレメントは、液体試料に少しの間接触することによって、液体試料は、テストフィールドに適用される。例として、この試料取得動作は、たとえば、最高1m/秒未満、たとえば、速度0.01〜0.5m/秒の速度でのゆっくりしたものであってよい。例として、グリッパーおよび/または他のタイプの作動部もまた、このために使用できる。
一般的に、適用位置に位置付けられた分析用補助具のリフト動作は、たとえば、固定値として規定されてよい、または調節可能に実施してもよい、最大持ち上げ幅を有する。具体的には、巻き取りリールテープ予備分は、最大持ち上げ幅の0.2〜0.8倍、好ましくは、最大持ち上げ幅の0.5倍とすることができる。しかし、原理的に、巻き取りリールテープ予備分は、原理的に、リールの設計にしたがって、0から最大リフト幅までのすべての値をとることができる。一般的に、これは、リフト方向に対するテープガイダンスのタイプに依存するだけであり、たとえば、制限値を考慮することによって例示することができる。例として、担体テープがリフト方向に対して垂直に伸びる場合、リフト動作は、一般的に、ほとんど何の役割も果たさない。必要とされる巻き取りリールテープ予備分は、実質的に、テープの移動から取得することができる。しかし、テープが、実質的にリフト動作と平行に伸びる場合、各リール側は、一般的に、テープ予備分として、完全なリフト長さを提供する必要がある。したがって、上記のような、最大リフト幅の0.5倍という値は、実際よく見受けられる平均値となる。例として、最大リフト幅は0.5〜10mm、より具体的には、1〜8mm、好ましくは3〜6mmとすることができる。
テープリリース装置は、さらに、分析用補助具のリフト動作後、この場合も、巻き取りリールテープ予備分を全体的にまたは少なくとも部分的に、保持するように構成できる。このために、テープリリース装置は、たとえば、テープリザーバーを備えることができ、このテープリザーバーから、リフト動作用の巻き取りリールテープ予備分が取り出され、このテープリザーバーに、巻き取りリールテープ予備分を、リフト動作後、補給することができる。例として、以下に、より詳細に説明するとおり、このテープリザーバーは、少なくとも1つの移動可能に設けられた、偏向要素の形態で実施することができる。しかし、他のタイプのテープリザーバーも可能で、より具体的には、巻き取りリールテープ予備分を利用可能にできるようにするために、適用位置と巻き取りリールとの間に保持される、様々な長さの担体テープ部分を形成できるテープリザーバーも可能である。しかし、代替案として、またはこれに加えて、テープリリース装置は、全体的にまたは部分的に、巻き取りリールに一体化することもできる。これについては、より詳細に以下に説明する。後者が、さらに、前と同じように、分析用補助具のリフト動作後に、巻き取りリールテープ予備分を保持するように構成されるような、テープリリース装置の実施態様によって、さらに、担体テープの詰まり、引っかかり、すべり、またはもつれを引きおこす可能性のある、リフト動作後に余ったテープによって生じるテープもつれを防ぐこともできる。
テープリリース装置は、好ましくは、適用位置の巻き取りリール側、つまり、適用位置から見た、巻き取りリールを向いた側に設けられるだけである。適用位置および供給リールの間の、供給リールを向いた側において、そのようなテープリリース装置は設けないことが好ましい。ここで、たとえばテープ輸送中および/またはリフト動作中に、担体テープ上に十分な量の張力が働くのであれば、供給リールは、好ましくは、それ自体がテープリリースとして機能し、かつ、必要な供給リールテープ予備分を供することによって、好ましくは、供給リールを向いた適用位置側で、追加のテープリリース装置を省略することができる。言い換えれば、テープリリース装置が巻き取りリール側に設けられた状態で、適用位置の供給リール側で、供給リールだけで、テープリリース装置としての機能を果たすことができる。このテープリリース装置は、より具体的には、適用位置と巻き取りリールとの間に、および/または巻き取りリール自体において配することができる。いずれの場合も一般的に技術的効果がない、追加のテープリリース装置を、供給リール側で省略することができ、そのことが、技術的な簡素化、製造コストの低減、および設置の省スペース化に役立つことができるという点で、既知のテープガイドと比較して、この実施態様は有利である。さらに、こうすることによって、常に十分な張力のもと、テープを保持することが可能となり、適用位置と供給リールとの間の、追加のテープリリース装置による、望ましくない、このようなテープのリリースによって、供給リール側でテープの巻きが、制御されずに解けるにいたる可能性があるテープのリリースを回避することができる。
具体的には、適用位置に位置付けられている分析用補助具が、少なくとも1つの固定装置、より具体的には、少なくとも1つのグリッパーによって固定できるように、マガジンは実施可能である。固定装置は、全体的または部分的に、マガジンの構成要素であってよいが、マガジンを使用する、および/または備える分析用検査機器に、全体的または部分的に、含まれていてもよい。
特に好ましいケースにおいては、供給リールを向いた適用位置の供給リール側で、適用位置と供給リールとの間に、テープリリース装置が設けられておらず、かつ、少なくとも1つのテープリリース装置が、適用位置の巻き取りリール側にだけ、たとえば、適用位置と巻き取りリールとの間に、および/または巻き取りリール内においてのみ、設けられる。しかし、原理的に、他のケースにおいても、それぞれの使用目的で設けられた分析用補助具が、適用位置において移送方向に固定されているか、または固定できるのであれば、特に好ましい。例として、移送方向への分析用補助具のさらなる動作を妨げるように、適用位置に位置付けられた分析用補助具を少しの間固定するように構成してよい、グリッパー、たとえば上述のグリッパー、および/または他の固定装置によって、このような固定を行うことができる。例として、試料の取得、および/または、ランセットの動作のために必要とされる時間、および、任意で、この動作の前および/または後の所定時間の間は、このような固定がなされてよい。その後、たとえば、グリッパーおよび/または他のタイプの固定装置を再度開いて、前方への搬送を可能にすることによって、リリースが行われてよい。例として、たとえば、駆動部が上記のグリッパーおよび/または上記の固定装置を備えることが可能な状態で、分析用補助具の駆動部、たとえば、ランセット動作を実行するためのランセット駆動部および/または試料取得動作を実行するためのテストエレメント用の駆動部との相互作用によって、こうした固定を行うことができる。
分析用補助具が固定されない状態での、テープの偏向動作の場合は、一般的に、必要とされるテープリリースは、供給リールから一方向に開始できる。なぜなら、こうした供給リールは、一般的に、たとえばフリーホイールの結果として、低い把持力を有するためである。この結果、分析用補助具上で不均等な力分布が起こり、そのため、補助具が斜めにたわむ恐れがある。さらに、一般的に、たわみ過程の間、巻き取りリール側のテープリリース装置は自動的に向きを変えることもないため、強制的なテープリリースは、巻き取りリール側のテープリリース装置によって巻き取られないであろう。したがって、この結果、少なくとも少しの間、テープのゆるみが生じ、後の巻き取りリールの巻き取り工程によってのみ、このゆるみを取り除くことができる。しかし、これは、たわみの後に、テープが、そのガイドを滑ることによって使用できなくなるというリスクを常時伴う。したがって、対称的なテープリリースは、一般的に、たわみの間、分析用補助具を固定することによってのみ、達成できる。
上記に説明したように、その間に、すでに使用済みの分析用補助具を備えた、比較的大量の担体テープが、スプーリング方向とは反対の動作を実行するであろう、巻き取りリールの巻き戻しを、巻き戻しロックが、少なくとも大きく防ぐように、巻き戻しロックは構成される。しかし、スプーリング方向とは反対に短い経路で、たとえば、担体上の分析用補助具間の間隔よりも著しく短い経路で、巻き戻すことを可能にしてよいし、以下に、より詳細に説明するとおり、この経路として、たとえば、分析用補助具間の間隔に対して0.8倍未満、より具体的には、この間隔の0.5倍未満、および好ましくは、この間隔の0.3倍未満の経路が挙げられ、または、この間隔の0.2倍未満の経路でも可能であり、テープのリリースの目的のためには望ましくさえある。
巻き戻しロックは、好ましくは、常時機能する巻き戻しロックであり、言い換えれば、マガジンが分析用検査機器の外側に位置付けられた場合、および、マガジンが分析用検査機器に挿入されている場合の両方で、有効である巻き戻しロックである。
特に、巻き戻しロックは、以下に記載したような、1つまたは2つ以上の巻き戻しロックを備えてよい。したがって、具体的には、巻き戻しロックは、少なくとも1つの回転方向感知要素を備えてよい。より具体的には、この場合、これは、巻き取りリールに接続された回転方向感知要素を備えてよい。ここで、回転方向感知要素は、一方向の回転を可能にし、少なくとも反対方向の回転を大部分は防ぐ要素を意味すると理解されるべきである。ここで、少なくとも大部分は防ぐとは、好ましくは、完全に防ぐことではあるが、たとえば、それを通じた巻き戻しがまだ可能であるデッドアングル(dead angle)を通じた、小さな巻き戻しも含んで、防ぐことを意味すると理解されるべきである。巻き取りリールテープ予備分を利用可能にするために、こうしたデッドアングルは、的を絞って使用することも可能である。これに関しては、以下に、より詳細に説明する。
代わりに、または、これに追加して、巻き戻しロックは、少なくとも1つのフリーホイール、より具体的には、巻き取りリールに接続された、少なくとも1つのフリーホイールを有することができる。ここで、一般的に、フリーホイールは、ドライブトレインを備えた駆動部において、負荷状況が変われば、回転運動からドライブトレインの部品を分離する装置を意味すると理解されるべきである。具体的には、フリーホイールは、回転方向感知要素の特定の実施態様とすることができる。フリーホイールの様々な実施態様が、先行技術から公知であり、前記フリーホイールは、たとえば、歯止めフリーホイール、ラップスプリング、クランプ本体、および/またはクランプローラーフリーホイールまたは他のタイプのフリーホイールを備えてよい。
代わりに、またはこれに追加して、巻き戻しロックは、少なくとも1つのラチェットを備えることもできる。ラチェットは、同様に、一方向の動作が可能になるが、反対方向の動作が妨げられるように、対応するラチェットに係合できる、1つまたは2つ以上の歯止めを備えた要素を意味すると理解されるべきである。ラチェットは、より具体的には、巻き取りリールに接続することができる。上記のフリーホイールは、たとえば、そのようなラチェットの特別なケースとすることができ、または、ラチェットとして実施することができる。一般的に、回転方向感知要素は、より具体的には、少なくとも1つの歯止め、より具体的には、巻き取りリールに接続された歯止め、および/または、マガジンハウジングに接続された歯止めを備えることができる。複数の歯止めを備えた設計を供することもできる。歯止めは、線状の駆動を可能とし、または、一方向の回転駆動を可能とし、他方向の駆動を防ぐことができる。
他の代替案として、またはこれに追加で、巻き戻しロックは、担体テープ上で作用する、少なくとも1つの巻き戻しロックを含むこともできる。したがって、たとえば、巻き戻しロックは、担体テープ上で作用する回転方向依存型ブレーキを備えてよい。このような回転方向依存型ブレーキは、スプーリング方向と反対の動作の場合に、担体テープにブレーキをかけ、逆に、スプーリング方向の動作を可能にする。スプーリング方向と反対の動作の場合、または、設計依存型の、または所定のブレーキ経路を通過した後でのみ、直ちにブレーキを開始してよい。ここで、ブレーキ効果は、担体テープ上に直接働くことができ、または、たとえば、担体テープに直接ブレーキをかけるのではなく、その担体テープに接続された、1つまたは2つ以上の分析用補助具にブレーキをかけることによって、間接的に働くことができる。
具体的には、回転方向依存型ブレーキは、少なくとも1つのローラーによって実施できる。例として、ローラーとカウンター要素、たとえば、第二ローラーとの間のローラーギャップを使用することができる。例として、少なくとも1つのローラーおよび/または少なくとも1つのダブルローラーは、これらが変形可能なローラー材料を有するように、実施することができる。ローラーギャップを通した動作が、スプーリング方向にて可能となる一方で、スプーリング方向とは反対の動作の場合、ローラーがロックすることによって、ローラー材の変形が生じ、この結果、ローラーギャップが狭くなり、担体テープにブレーキがかかる。したがって、より具体的には、この少なくとも1つのローラーは、ゴムローラーとすることができる。
他の代替案として、またはこれに追加して、担体テープ上で作用する、少なくとも1つのばね付勢要素を使用することもできる。例として、ばね付勢フラップは、担体テープに、および/または、担体テープに接続された1つまたは2つ以上の分析用補助具に作用することができる。例として、分析用補助具が、ばね付勢要素を、スプーリング方向に通過できるように、ばね付勢要素は、担体テープ上に斜めに置くことができる。逆に、分析用補助具は、反スプーリング方向で、ばね付勢要素にひっかかることができ、担体テープにブレーキがかかる。したがって、具体的には、ばね付勢要素は、担体テープ上に置かれ、スプーリング方向の、担体テープおよび/または分析用補助具の通過を可能にするが、反スプーリング方向の、分析用補助具の通過を防ぐか、少なくともブレーキをかける、非対称のばね付勢要素として実施できる。ここで、ばね付勢要素は、リジッドな実施態様を有してよく、または変形可能であってよい。たとえば、後者の場合、担体テープおよび/または分析用補助具が反スプーリング方向に移動する際に、変形が起こりうる。ここで、変形することによって、担体テープおよび/または分析用補助具に作用する力が増大する結果、ブレーキ効果を確保することができる。ここで、ばね付勢とは、単独のばねなどが要素上に設けられることであって、あるいは、代わりに、またはこれに追加で、要素自体が、ばね効果を発揮できるように、それ自体が、少なくとも部分的に弾性を有する要素を意味すると理解されるべきである。具体的には、ばね付勢要素は、少なくとも1つのばね付勢フラップを備えることができる。
他の代替案として、またはこれに追加で、巻き戻しロックは、担体テープに作用する、少なくとも1つのシールリップを備えることもできる。シールリップはまた、上記ばね付勢要素の特別なケースとして実施できるため、シールリップは、たとえば、対向する両側から担体テープおよび/または分析用補助具に作用する、2つのばね付勢要素を有することができる。ここで、シールリップは、ギャップを形成することができる要素を意味し、このギャップを通して、分析用補助具を備えた担体テープが送られると理解されるべきである。ここで、変形可能な、または位置を変えることができるリップは、ギャップの両側から、担体テープおよび/または分析用補助具に作用する。リップはまた、少なくとも部分的に、変形可能な特性、たとえば、可塑性のおよび/または弾性のある特性を有することができる。こうした変形可能な特性の効果については、変形可能なばね付勢要素の効果に関する上記の記載を参照することができる。シールリップの効果は、この場合も、担体テープおよび/または分析用補助具が、担体テープのスプーリング方向にシールリップを通過することを可能にするようなものである。ただし、反スプーリング方向でのシールギャップの通過は、妨げられるか、または少なくともブレーキがかけられるようなものであるべきである。例として、ブレーキ効果は、この場合も、分析用補助具がシールリップに影響を及ぼす際に生じる。代わりに、またはこれに追加で、スプーリング方向に反して、担体テープがシールリップのギャップを通過する場合、シールリップが変形することによって、ギャップが狭くなり、そのため、力または増強した力が、担体テープおよび/または分析用補助具に作用するように、ブレーキ効果を実施することができる。
分析用マガジンはさらに、任意で少なくとも1つのブレーキを有することができる。このブレーキは、巻き取りリールの巻き戻し、および/または、供給リールの巻き取りにブレーキをかけるよう、構成することができる。この任意のブレーキの可能な実施態様については、たとえば、US2006/0240403A1を参照できる。しかし、他の実施態様もまた可能である。これは可能ではあるが、ブレーキは、特に好ましくは、担体テープに直接作用せず、供給リールおよび/または巻き取りリール、および/または、供給リールおよび/または巻き取りリールと同速で回転する要素に作用する。
テープリリース装置は、上記の機能を実施するために、異なった方法で実施することができる。したがって、たとえば、テープリリース装置は、少なくとも部分的に、巻き戻しロックに一体化することができ、および/または、巻き戻しロックから分離して実施された、分離した要素として、少なくとも部分的に、実施することができる。こうしたオプションの混合、つまり、テープリリース装置が、部分的に巻き戻しロックに一体化され、および、単独で、巻き戻しロックから独立して、部分的に実施されるような形態もまた実現可能である。
第一の実施態様では、テープリリース装置は、少なくとも部分的に、好ましくは全体的に、巻き戻しロックに一体化される。つまり、テープリリース装置および巻き戻しロックは、少なくとも部分的に、同一の構成要素で実施することができる。
具体的には、巻き戻しロックの機能が、担体テープの位置に依存するように、テープリリース装置は実施できる。例として、スプーリング方向とは反対の担体テープの動作の場合、巻き戻しロックのロック機能または少なくともブレーキ機能は、担体テープの絶対位置、分析用補助具の絶対位置、巻き戻しロックに対する、担体テープの相対位置、巻き戻しロックに対する、分析用補助具および/または特定の分析用補助具の相対位置、巻き取りリールの回転角、または供給リールの回転角が、現在どのように設定されているかに依存してよい。したがって、たとえば、担体テープの位置は、絶対位置、相対位置、供給リールの回転角、または巻き取りリールの回転角を含むことができる。
したがって、次のロック位置に到達するまで、ロック位置間で、スプーリング方向とは反対の担体テープの動作が、少なくとも大きく可能になった状態で、または、担体テープがスプーリング方向とは反対の動作をした際に、巻き取りリールテープ予備分が、または巻き取りリールテープ予備分の少なくとも一部がリリースされた状態で、巻き戻しロックは、複数のロック位置において、スプーリング方向とは反対の担体テープの動作を大きく防ぐか、または少なくともブレーキをかけるように構成することができる。
より拡大したロック領域を備えることもできる、こうした複数のロック位置は、複数の異なった方法で実施できる。したがって、たとえば、巻き戻しロックは、少なくとも1つの回転方向感知要素、より具体的には、巻き取りリールに接続された回転方向感知要素を備えることができる。こうすることで、一方向の回転が可能になり、かつ、他方向への回転を少なくとも大部分は防ぐはずである。回転方向感知要素の可能な実施態様については、上記の記載を参照できる。ここで、「少なくとも大部分は防ぐ」ことはまた、たとえば、デッドアングルを設けることを含み、そのデッドアングルを通して、ロック方向に巻き戻すことを、なおも可能とすることができる。したがって、マガジンが、巻き戻しの間に巻き取りリールテープ予備分をリリースするように構成されている状態で、回転方向感知要素は、デッドアングルを有し、そのデッドアングルを通した巻き戻しを可能にすることができる。
代わりに、またはこれに追加で、巻き戻しロックは、担体テープに作用する少なくとも1つのばね付勢要素、より具体的には、ばね付勢フラップおよび/または少なくとも1つのシールリップを有することができる。したがって、こうした要素の可能な実施態様については、上記の記載を参照できる。分析用補助具は、担体テープがスプーリング方向に移動するとき、ばね付勢要素を通過することができる一方で、担体テープが反スプーリング方向に移動するとき、これらの分析用補助具および/または担体テープは、上記の要素に対して詰まるか、または、上記の要素で少なくともブレーキがかかることができる。したがって、それぞれ、ロック位置は、1つの分析用補助具がそれぞれ、スプーリング方向と反対の動作の間、担体テープおよび/またはシールリップに作用するばね付勢要素に影響を与える、担体テープの位置とすることができる。対照的に、分析用補助具が他の位置に位置付けられていれば、次の分析用補助具がばね付勢要素に影響するまで、担体テープの長さの分だけ、その都度、スプーリング方向とは反対の巻き戻しが可能である。この長さのテープは、巻き取りリールテープ予備分として使用することができる。
同様に、他の代替案または、これに追加して、巻き戻しロックは、少なくとも1つのローラー、より具体的には、少なくとも1つのダブルローラーを有することができる。担体テープは、ローラーによって範囲を定められたギャップを通して送ることができる。すでに上記に記載したように、担体テープがスプーリング方向と反対に移動する場合、ローラーは変形することができる。この変形によって、ギャップが狭くなり、担体テープのさらなる移動が、少なくとも妨げられる。この場合、巻き戻しロックおよびテープリリース装置はまた、少なくとも部分的に同一の構成要素を有することもできる。
テープリリースは、少なくとも部分的に巻き戻しロックから独立するように設計することもできる。つまり、テープリリースは、少なくとも、巻き戻しロックと全体的に同一の構成要素を有することなく実施することができ、好ましくは、全体的に、分離した要素として実施される。これも、複数の方法で実施することができる。
したがって、テープリリースは、たとえば、移動可能に設けられたテープ偏向部を有することができる。この移動可能に設けられたテープ偏向部は、たとえば、担体テープに接続されたたわみローラーを有する、いわゆる「ダンサー」とすることができ、または、そのようなダンサーを含むことができる。この偏向ローラーは、移動可能に設けられ、少なくとも1つのバネ要素による力で担体テープに対して押圧される。移動可能に設けられたテープ偏向部は、より具体的には、適用位置と巻き取りリールとの間に設けることができる。テープ偏向部は、より具体的には、少なくとも1つの移動可能に設けられた、ばね付勢されたローラー、より具体的には、上記に定義したような「ダンサー」を有することができる。
移動可能に設けられたテープ偏向部は、より具体的には、少なくとも3つの位置を占めることができるように構成することができる。特に、ここでは、移動可能に設けられたテープ偏向部の最大たわみ、つまり、担体テープの最大たわみを有する静止位置を設けることができる。さらに、中程度のたわみを有するテープ搬送位置を設けることができる。ここで、中程度のたわみは、必ずしも相乗平均および/または算術平均を意味するのではなく、最小たわみと最大たわみとの間のいずれの位置をも意味すると理解されるべきである。例として、マガジンの前進循環動作の間、より具体的には、担体テープのスプーリング方向におけるスプーリングの間に、移動可能に設けられたテープたわみ部が、このテープ搬送位置を占めることができる。さらに、リフト位置、言い換えれば、リフト動作の間に移動可能に設けられたテープ偏向部により取る位置と、最小のたわみを有する位置を設けることができる。これらの位置に加えて、それ以外の位置でもよく、それ以外の位置を取ることもできる。
本発明のさらなる態様において、上記の実施態様のうち、1つまたは2つ以上による、少なくとも1つのマガジンを有する分析用検査機器が提案される。分析用検査機器は、マガジンの交換を可能にするように構成される。分析用検査機器はさらに、担体テープ、より具体的には、巻き取りリールを駆動するための駆動部を有する。分析用検査機器はさらに、適用位置に位置付けられた分析用補助具によるリフト動作を実行するように構成される。例として、分析用検査機器は、この目的のために、少なくとも1つの作動部を備えてよく、この作動部は、適用位置に位置付けられた分析用補助具とともに、リフト動作、より具体的には、穿刺動作および/または試料取得動作を実行する。例として、この作動部は、分析用補助具および/またはタペットをグリップするための少なくとも1つのグリッパーを備えることができ、これによって、リフト動作が実行できる。
テープリリース装置による巻き取りリールテープ予備分のリリースは、具体的には、分析用検査機器によって制御することができる。したがって、分析用検査機器は、たとえば、担体テープの位置を識別するための少なくとも1つのセンサーを有することができる。これは、上述したように、たとえば、担体テープの絶対位置(たとえば、担体テープの少なくとも1つの位置マーカーの絶対位置)および/または相対位置(たとえば、測定ポイントについて、特定の分析用補助具、または複数の分析用補助具が占める相対位置)とすることができる。例として、光学的、電子的、機械的、または聴覚的な方法で、特定の測定位置での分析用補助具の出現を検出するように、こうしたセンサーは実施することができる。しかし、他のタイプの検出もまた可能である。したがって、少なくとも1つのセンサーは、こうした分析用補助具の出現を確認するための、対応するセンサー要素を有することができる。したがって、分析用検査機器はさらに、担体テープの識別済み位置に従って、巻き取りリールテープ予備分を設定するように構成される制御部を有することができる。例として、この制御部は、少なくとも1つの電子的要素、より具体的には、少なくとも1つのデータ処理装置を備えることができる。しかし、より簡易な制御部、たとえば、リリースを可能にする、簡易な電子的トリガーもまた可能である。巻き取りリールテープ予備分の「設定」は、たとえば、分析用補助具の特定測定位置へ到達したことが確認された後、担体テープの前進スプーリングが、たとえば、所定量の前進スプーリングが行われることを意味すると理解してよい。
例として、これは、複数のロック位置が設けられる、マガジンの実施態様に関する上記記載と、組み合わせることができる。したがって、具体的には、上述のように、複数のロック位置において、反スプーリング方向の担体テープの動作を防ぐように、巻き戻しロックが構成され、その一方で、次のロック位置に到達するまで、ロック位置間での反スプーリング方向の担体テープの動作が可能になっている状態で、巻き戻しロックの機能が、担体テープの位置に依存するように、マガジンを実施することができる。そして、担体テープが反スプーリング方向に動作するとき、巻き取りリールテープ予備分は、リリースすることができる。マガジンのこうした実施態様によって、所定のロック位置に到達したとき、巻き取りリールテープ予備分と等しい、つまり、巻き取りリールテープ予備分に、少なくとも大体相当する数値で、担体テープの前進搬送を可能に、より具体的には、開始できるように、制御部は構成することができる。こうすることによって、まさに巻き取りリールテープ予備分によって、ロック位置を通過して搬送される担体テープを実施することが可能になり、再度ロック位置に到達するまで巻き戻しが可能になり、その結果、巻き取りリールテープ予備分が利用可能となる。
本発明によるマガジンおよび分析用検査機器の実施態様には、公知のマガジンおよび分析用検査機器と比較して、複数の利点がある。特に、テープリリースを実施するために、マガジンが分析用検査機器に挿入されているとき、マガジンにおける巻き戻しロックが、機械的にバイパスされるべきではない場合、これらの利点が浮上する。上記に提案したコンセプトによって、マガジン内の、たとえば、マガジンハウジング内の、少なくとも小さい巻き取りリールテープ予備分を利用可能にすることができる。例として、上記に説明したように、この巻き取りリールテープ予備分は、たとえば、穿刺工程の間にテープによって実行されるリフト動作、および/または、他のタイプのリフト動作の最大リフト幅のおよそ半分に相当しうる。
任意の供給リールテープ予備分は、その対称性により、より具体的には、供給リールから取得することによって、たとえば、ランセットグリッパーをできるだけ平坦に搭載することができる。したがって、全体的なテープリリースは、好ましくは、適用位置から見て巻き取りリール側のテープ予備分と、供給リール側のテープ予備分とに、さらに分割することができる(巻き取りリール側のテープ予備分は、その概要が上記に記載されており、テープリリース装置によって設けられる):

全体的なテープリリース=巻き取りリールテープ予備分+供給リールテープ予備分
≒2・巻き取りリールテープ予備分
典型的なリフト動作は、3mmと6mmとの間の領域内であるため、これもまた、必要とされるテープリリースにだいたい相当する。上記に概要を説明したテープリリース装置によって、巻き取りリール側に設けられる、好ましい巻き取りリールテープ予備分は、したがって、好ましくは、1.5mmと3mmとの間となる。
供給リールは一般的に、フリーホイールを有し、一般的に、最小張力Fminを超えた場合、未使用の分析用補助具を備えた担体テープを自動的にリリースするため、供給リール側の供給リールテープ予備分は、技術的には実施しやすい。巻き取りリールの駆動部が、一般的にこの張力Fminを供する状態で、通常のテープ搬送中にこの原理はすでに使用されている。穿刺工程の場合、供給リールから供給リール側の供給リールテープ予備分の巻きを解くために、最小張力は、対応する作動部によって得られるはずである。例として、この作動部は、グリッパー機構および/または穿刺駆動部を備えることができる。対照的に、巻き取りリール側では、上記に説明したように、先行技術によるマガジンの場合、状況はこれほど好都合ではない。一般的に、巻き取りリールの駆動部は、通常、非アクティブであるため、巻き戻しロックによって、巻き取りリールの巻き戻しを妨げる。しかし、上記のように、一体型巻き戻しロックにかかわらず、巻き取りリールテープ予備分を利用可能にする本発明の解決策を利用することによって、この問題を解決すること、ついては、当初に述べた目的の不一致を、たいして技術的に複雑なこともなく解決することは容易である。
したがって、マガジンにおいて、より具体的には、テープマガジンにおいて、具体的には、常時一体型の巻き戻しロックを実施することが可能である。この巻き戻しロックは、たとえば、分析用検査機器からマガジンを取り出した後に、ユーザーが不用意に、巻き取りリールから、張力のかかった材料の巻きを解いてしまうことを防ぐことができる。したがって、巻き戻しロックは常時アクティブであってよい。
本発明のさらなる特徴および詳細は、以下の、好ましい代表的な実施態様から明らかになる。代表的な実施態様は、図面において概略的に示されている。ここで、同じ参照符号は、同等の、または機能的に同等の要素、または機能に関して互いに対応する要素を表す。本発明は、例示的な実施態様に制限されない。
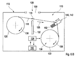
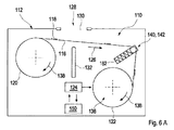
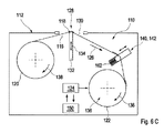
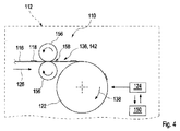
回転角度依存型ロックの形態をとり、巻き戻しロックに一体化されたテープリリース装置の代表的な実施態様を示す。 ばね付勢フラップの形態をとり、巻き戻しロックに一体化されたテープリリース装置の代表的な実施態様を示す。 シールリップを備え、巻き戻しロックに一体化されたテープリリース装置の代表的な実施態様を示す。 2つのゴムローラーを備え、巻き戻しロックに一体化されたテープリリース装置の代表的な実施態様を示す。 任意のブレーキの代表的な実施態様を示す。 ダンサーの形態をとり、巻き戻しロックから分離して実施されるテープリリース装置の代表的な実施態様を示す。 ダンサーの形態をとり、巻き戻しロックから分離して実施されるテープリリース装置の代表的な実施態様を示す。 ダンサーの形態をとり、巻き戻しロックから分離して実施されるテープリリース装置の代表的な実施態様を示す。
図1〜6Cは、分析用検査機器(単に参照符号112で示しているだけである)において使用するためのマガジン110の部分の様々な例示的な実施態様を示す。この代表的な実施態様において、マガジン110は、テープマガジンとして実施され、たとえば、部分的に図示されただけのマガジンハウジング114を備えることができる。マガジン110は、交換式のマガジンとして実施できるため、交換が可能である。
マガジン110は、複数の分析用補助具118を備えた担体テープ116を有する。例として、これらの分析用補助具118は、テストエレメント、たとえば、少なくとも1つのテストフィールドを備えたテストエレメント、および/またはランセットまたはマイクロサンプラーとすることができる。異なるタイプの分析用補助具118、たとえば、ランセットおよびテストエレメントを備えた実施形態もまた、実現可能である。
未使用の分析用補助具118を備えた担体テープ116の部分は、供給リール120に巻き取られ(たとえば、図5〜6C参照。他の図には示されていない)、すでに使用済みの分析用補助具118を備えた部分は、巻き取りリール122に巻き取られる。例として、分析用検査機器112は、スプーリング方向126にマガジン110を通じて、担体テープ116がスプールされ得るよう、巻き取りリール122に作用する、駆動部124(図において、単に示しているだけである)を有する。
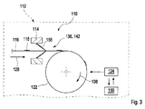
ここで、分析用補助具118が連続して適用位置128(図5〜6Cに示されている)において利用可能となるように、スプーリングは循環する。この適用位置128において、分析用検査機器112のハウジングおよび/またはマガジンハウジング114は、貫通孔130を有し、この貫通孔を通して、適用位置128に位置付けられた分析用補助具118は、分析用検査機器112の外側の試料と、および/またはユーザーの皮膚と相互作用することができる。分析用補助具118がランセットである場合、こうした相互作用は、たとえば、ユーザーの皮膚の穿刺を伴う前進動作の形態をとるランセット動作とすることができ、任意で戻り動作が続いてもよい。ランセットが毛細管を備える場合、戻り動作の間に、任意で、毛細管効果による試料の吸い上げもあってよい。分析用補助具118が、たとえば、少なくとも1つのテストフィールドを備えた、テストエレメントである場合、上述の相互作用は、前進動作であってよく、この前進動作の間、テストエレメントの試料取得領域および/またはテストフィールドそのものが、テストエレメントへ試料を適用するために、例えばユーザーの皮膚表面に置かれた、体液の試料と接触する。たとえば適用ポイント、または試料が得られた場所から、テストフィールドおよび/または異なるように実施された検査化学物質へ試料を送るために、テストエレメントは同様に、少なくとも1つの毛細管を有することができる。
こうした相互作用を確実に行うために、例示された代表的な実施態様における分析用検査機器112は、好ましくは、少なくとも1つの作動部132を有する。図5および6A〜6Cに図示されているだけの、この作動部132は、図面には、参照符号134(図5および6C参照)で象徴的に示されるリフト動作を実行するように構成される。したがって、こうしたリフト動作134は、ユーザーの皮膚表面へと向かう動作である。リフト動作134は、代わりに、分析用補助具118のタイプに合わせることができる。例として、分析用補助具118がランセットを備える場合、このリフト動作は、数メートル/秒の速度での急速なリフト動作とすることができる。この場合、リフト動作は、穿刺動作として実施され、任意で、リフト動作の後退動作の間、毛細管による試料取得動作を伴うか、または、そのような試料取得動作が後で行われる。分析用補助具118がテストエレメントを備える場合、リフト動作は、一般的に、典型的にゆっくりした、たとえば、1メートル/秒未満の速度での試料取得動作となる。したがって、作動部132は実施可能であって、複数のこうした作動部132を設けることもできる。したがって、作動部132は、たとえば、ランセット動作を実行するために、穿刺タペットとして実施できる。代わりに、作動部132はまた、たとえば、テストエレメントをユーザーの皮膚表面に向かって送り、これを戻すために、ゆっくりした試料取得タペットとして実施することもできる。
示された例示的な実施形態において、巻き取りリール122は、単なる例示である巻き戻しロック136を備える。したがって、この巻き戻しロック136は、マガジン110に一体化され、好ましくは、随時機能する。言い換えれば、マガジン110が分析用検査機器112に挿入されているとき、この巻き戻しロック136は、バイパスされず、機能しなくはならない。原理的に、このような巻き戻しロックは、先行技術から公知である。例として、回転方向感知要素は、こうした目的、たとえば、ラチェットホイール、フリーホイールなどのために使用できる。これらによって、巻き取り方向138(図1に示される)の巻き取りリール122の回転が可能となり、この回転において、担体テープ116がスプーリング方向126に動作する。対照的に、巻き取りリール122の反対方向の回転は、少なくともかなりの程度まで妨げられる。しかし、公知の試料取得システムとは異なり、本発明の範囲内において、マガジン110に一体化される、少なくとも1つの巻き戻しロック136が設けられる。このため、巻き戻しが生じることを確実に防ぐこと、および、そのため、すでに使用された分析用補助具118の再利用、または、担体テープ116の巻きが不用意に解けることを確実に防ぐことが可能な状態で、少なくとも部分的な使用の後でも、マガジン110を機器、たとえば試料取得システムから取り出すことが可能になる。
巻き戻しロック136を有するマガジン110において、リフト動作134の間にテープリリースが行う必要があるという、上記のような問題が生じる。こうしたテープリリースは、リフト動作134が最大持ち上げ幅となった場合に、追加量の担体テープ116が必要となることを考慮したものである。これもまた、テープリリースと呼ばれる。対称性の理由により、供給リール120および巻き取りリール122から、または、適用位置128と供給リール120および巻き取りリール122との間の担体テープ116の1つの部分から、それぞれ、テープリリースを等しい量で確保することが必要となるはずである。以下本文において、こうしたオプション間ではなんら差異はなく、供給リール120を向いた適用位置128側から取得する供給リールテープ予備分は、テープ予備分Gとし、巻き取りリール122を向いた適用位置128側から取得する巻き取りリールテープ予備分は、テープ予備分Sとする。すると、好ましくは、以下の式が成り立つはずである。

テープリリース全体=テープ予備分S+テープ予備分G≒2・テープ予備分S
すでに上記に示したように、最大持ち上げ幅での典型的なリフト動作134は、3〜6mmの範囲内となる。したがって、巻き取りリールの巻き取りリールテープ予備分が、典型的には1.5〜3mmとなるように、およそ3〜6mmの担体テープ116を、テープリリースとして設ける必要がある。供給リール120は、そのテープ予備分Gがリリースされるとき、いずれの場合も、そのリリース方向にスプールされるため、供給リールの供給リールテープ予備分は、比較的簡易な方法で実施できるが、その一方、巻き取りリール側の状況は、それほど好都合なものではない。巻き取りリール122の駆動部124は、通常、リフト動作134の間は作動しないため、多くの場合、巻き取りリール122の巻き戻しが妨げられる。このテープをリリースするために、駆動部124を積極的に巻き戻すこともできるであろうが、技術的な観点からすると、比較的複雑なため、好ましくは、本発明の範囲内では実施されない。それにもかかわらず、本発明の範囲内で、そのような積極的に駆動部124を巻き戻しすることも、実施することは可能である。代わりに、またはこれに追加で、巻き取りリール122から駆動部124を分離することも、さらに実施可能であり、たとえば、作動部132の駆動からの力の影響の下、巻き取り方向138とは反対の、少なくとも小さい巻き戻し工程を可能にする、二部構成の、ばね付勢巻き取りリールによって可能である。代替案として、またはこれに追加して使用できる、テープリリースを実施するための第三のオプションは、より詳細に上記に説明したとおり、移動可能に設けられたテープ偏向部を備えることができる。これについては、図6A〜6Cに基づいて以下に説明するが、これも「ダンサー」と呼ぶ。例として、こうしたダンサーは、テープレコーダーから公知であり、担体テープ116上の異なった張力を均一にすることができる。
しかし、こうしたコンセプトは、アクティブな巻き戻しロック136とは関係なく、巻き取りリール122の巻き取りリールテープ予備分をリリースするための、対応する動作を、巻き取りリール122がもたらすような、テープカセットを必要とする。
この目的のために提案される様々なコンセプトを、図1〜6Cに基づいて以下本文において説明する必要がある。マガジン110は、あらゆる場合において、テープリリース装置142を有する。このテープリリース装置142は、リフト動作134の間に、巻き取りリール122の巻き取りリールテープ予備分(テープ予備分S)を提供するように構成される。原理的に、図1から6Cに例示されるコンセプトは、この場合、2つの異なるグループにさらに分割される。しかし、これらのグループは組み合わせることもできる。したがって、図1〜4は、テープリリース装置142が巻き戻しロック136に一体化されるか、または、少なくとも、構成部品として、部分的に、この巻き戻しロック136と同一であるようなコンセプトを示す。対照的に、図6A〜6Cは、分離したテープリリース装置142が設けられ、この装置が、巻き戻しロック136から独立して設計されるというコンセプトを示す。テープリリース装置142が、適用位置128から見て、巻き取りリール側にだけ設けられていることが好ましいが、一方、こうしたテープリリース装置142が、具体的には、移動可能に設けられたテープ偏向部140が、供給リール側に、言い換えれば、供給リール120、および/または、供給リール120と適用位置128との間の担体テープ116のテープ部分に、設けられないことが好ましい。
図1において、回転角度依存型ロック144が、テープリリース装置142の第一の例示的な実施態様として設けられる。この回転角度依存型ロックは、特定の角度のみで有効になり、かつ、間に滑りを有する、巻き戻しロック136である。この滑りは、テープ予備分Sを提供できるように、十分な寸法を有していなければならない。これは、この場合、巻き取りリール122上にラチェット歯146が備えられる状態で、図1に示される。この場合、これらのラチェット歯146は、4分の1回転分程度、分離しているため、示された例示的な実施例における滑りは、90度のみとなる。しかし、その他の間隔もまた可能である。テープ予備分Sが、隣接する分析用補助具118間の距離を下回るように、こうした滑りの寸法をとるべきである。この好ましい実施態様もまた、本発明の他の例示的な実施態様に当てはまる。そのため、テープリリース装置142によって、前回使用した分析用補助具118が再度、適用位置128にスプールして戻ることが可能になることを防ぐために、一般的に、好ましくは、テープ予備分Sは、隣接する分析用補助具118間の距離を下回る。
例として、ラチェット歯146は、1つまたは2つ以上の歯止め148と相互作用することができる。これらはまた、図1に示されるように、ばね付きとすることもできる。例として、歯止め148は、マガジンハウジング114に結合されてもよく、ラチェット歯146は、巻き取りリール122に結合されてもよい。逆の実施態様もまた、可能である。担体テープ116が、次に機能するラチェット歯146の直前まで巻き取られる場合、先行するラチェット歯146がブロックするまでの滑りを、巻き取り方向138とは反対の巻き取りリール122の巻き戻し動作の間、テープリリース用に使用することができる。例として、この目的のために、駆動部124は、巻き戻しが可能であり、および/または、駆動部124は、この間、巻き取りリール122から分離することができる。
一般的に、この代表的な実施態様、または、他の代表的な実施態様において、分析用検査機器112は、たとえば、制御部150(図1に単に示しているだけである)を備えることができる。例として、この制御部150は、制御部ロジックを備えることができる。例として、制御部150は、テープリリース装置142のラチェット機能と接続することができる。例として、図1に示されるような、残りの例示的な実施態様においても設けることができる、少なくとも1つのセンサー152を備えることができる。例として、このセンサー152からの信号は、制御部150へと送ることができる。このため、例として、歯止め148の、たとえば歯止めレバーの傾斜角度αを取り込むことができ、それを、たとえば、駆動部124の遅延停止機能のためのトリガー信号として使用することができる。例として、ラチェット歯146に到達した場合、駆動部124は、テープ予備分Sと対応する所定の角度で回転することができる。さらなるスプーリングが行われる、この角度を、様々な方法で設定してよい。たとえば、巻き取りリール122の様々な充填度、および、これにしたがって、巻かれていない担体テープ116への回転角度の変換が異なることを考慮するように、この角度を設定してよい。歯止め148の角度の検出の代替案として、またはこれに追加して、他の多数の測定変数を取り込むこともまた可能である。例として、聴覚センサーによって、ラチェットのカチッという音を、そのような制御に使用することができる。他の代替案として、または、これに追加して、たとえば、視覚センサーを使うこともできる。
この実施態様において、テープリリース装置142は、一般的に、巻き取りリール122の回転角度を介してのみ制御される。したがって、この結果、上記に例示したように、担体テープ116のすでに巻き取られたテープ材の円周に応じて、巻き取りリールテープ予備分が異なったものになる。例として、この弱点は、未だ使用されていないマガジン110の状態に対応する、最小の角直径に合わせた滑りによって克服できる。代わりに、上記に記載したとおり、この例示的な実施態様または、ほかの例示的な実施態様において設定された滑りは、異なった巻き取りの程度を考慮するために、マガジン110の使用度に合わせることもできる。
図2は、テープリリース装置142の実施の第二の原理を例示している。代わって、この例示的な実施形態は、少なくとも部分的に巻き戻しロック136に一体化された、テープリリース装置142を示す。同時に、この例示的な実施形態は、巻き戻しロック136が、必ずしも巻き取りリール122上に形成される必要がないことを示す。したがって、回転角度依存型ロック144の代わりに、図2は、分析用補助具118、たとえば、ランセットが、その厚みから機械抵抗を生じるという事実を利用することも可能であることを示す。したがって、図2において、巻き取りリール122のインプット側のばね付勢フラップ154が、巻き戻しロック136として設けられている。このフラップは、スプーリング方向126に曲がり、分析用補助具118を通過させる。しかし、閉じた状態では、ばね付勢フラップ154は、担体テープ116上に位置する。したがって、後退方向、つまり、担体テープ116がスプーリング方向126とは反対に移動する場合、フラップは、担体テープ116上の分析用補助具118、たとえば、ランセットが、克服できないような、または、少なくとも重大な抵抗となるような止め具として作用する。
代わって、制御部150は、ばね付勢フラップ154の機能に接続されるように構成することができる。例として、図2には例示されていないが、この場合も、センサー152を設けることが可能であり、このセンサーは、ばね付勢フラップ154の開口を、駆動部124用の遅延停止機能のためのトリガー信号として使用する。そして、ばね付勢フラップ154が開いた後、または新たに閉じた後、所定の値の分だけ、スプールし続けることが可能なだけであって、この値は、この場合も、テープ予備分Sに実質的に相当しうる。
図2におけるばね付勢フラップ154の機能は、それ自体も弾力性のある要素を含む、他のばね付勢要素によって使用することもできる。したがって、図3は、図2の例示的な実施形態に類似した、例示的な実施形態を示す。図3の例示的な実施形態において、巻き取りリール122のインプット側で、ばね付勢フラップ154の代わりに、フレキシブルなシールリップ155が使用される。このシールリップ155は、スプーリング方向126に曲がり、分析用補助具118、たとえばランセットおよび/またはテストエレメントを通過させる。しかし、反対方向では、シールリップ155は、機械的に、塑性的および/または、好ましくは、弾性的に変形し、そのため、数ミリメートル以内で担体テープ116の抵抗が増大することによって、巻き戻しリール駆動部124が停止する。したがって、組み合わせて使用することもできる、2つのメカニズムの結果として、停止効果を得ることができる。まず、図2のばね付勢フラップ154への影響に類似した、後退方向に移動する分析用補助具118による、シールリップ155への純粋に機械的な影響があってよい。しかし、代替案として、またはこれに追加で、担体要素116自体もまた、たとえば、上記に記載したように、その開き方向とは反対に移動して変形するシールリップ155によってブロックしうるため、その結果、担体テープ116上の抵抗が増大する。
図2および3に記載される実施態様の利点、および、以下に記載する図4の実施態様の利点もまた、テープ予備分Sが、現在のリール直径、つまり、巻き取りリール122への巻き取り度とは独立して実施できるということである。抵抗の増大を決めるのは、図3における実際に移動したテープの経路だけである。
さらなる、図1〜3の代わりの例示的な実施形態として、図4は、ダブルゴムローラー156を備えたカセットとして実施されるマガジンを示す。担体テープ116は、ゴムローラー156間のローラーギャップ158を通過する。ゴムローラー156は、これらがスプーリング方向126にのみ回転し、反対方向ではブロックするように実施される。押し戻されるゴム材料によって、分析用補助具118、たとえばランセットが、スプーリング方向126に通過することができる。しかし、巻き取りリール122が巻き戻しされている場合、つまり、担体テープ116がスプーリング方向126とは反対に移送されている場合、ブロック用ゴムは隙間を狭め、速やかに抵抗を増大させる。これで、リール駆動部124が、数ミリ後に停止する。
図5は、本発明のマガジン110と、分析用検査機器112との例示的な実施形態を示し、これは、残りの例示的な実施形態と組み合わせることもできる。この例示的な実施形態におけるマガジン110は、たとえば、図1〜4の例示的な実施形態におけるマガジン110と類似して実施できる。原理的に、図6の例示的な実施形態による実施態様、または、他の例示的な実施形態による実施態様も可能である。したがって、マガジン110は、少なくとも1つの巻き戻しロック136を有する。これについては、図5においては詳細に例示されておらず、上記と以下に記載される、本発明による巻き戻しロック136の1つまたは2つ以上の実施態様として実施できる。例として、マガジン110は、図1において例示されるマガジンにより実施することができ、巻き取りリール122に一体化される巻き戻しロック136を備えることができる。しかし、代替案として、またはこれに追加で、巻き戻しロック136および/またはマガジン110の他の構成要素の、他の実施態様もまた可能である。
図5に示される例示的な実施形態において、マガジン110は、追加で、1つまたは2つ以上のブレーキ160を備える。例として、これらのブレーキ160は、巻き取りリール122上の担体テープ116、巻き取りリール122自体、または供給リール120または供給リール120上の担体テープ116に作用することができる。上述のオプションを組み合わせることも実現可能である。したがって、例示的な実施形態は、マガジン110を備え、マガジン110内では、担体テープ116が、一体型ブレーキ160によって追加的に固定される。しかし、ブレーキ160は、好ましくは、巻き戻しロック136から、全体的にまたは部分的に分離した実施態様を有する。これは、図5において詳細には例示されていない。ブレーキ160は、同様に、一定の巻き戻し制限を、たとえば巻き取りリール122に与えることができる。しかし、この制限を、力を加えることによって、好ましくは、小さい力を加えることによって克服することは、容易でなければならない。したがって、ブレーキ160は、たとえば、マガジン110および/または担体テープ116に減衰特性を働かせることができ、および/または、担体テープ116の巻きが過度に解けることを防ぐことができる。
ブレーキ160は、担体テープ116に、および/またはリール120、122のうち1つまたは両方に、抵抗を働かせる。この抵抗は、テープ材の巻きが過度に解けるのを減衰する。ブレーキ160がリール120、122の両方に作用する場合、減少した抵抗がまた、リール120、122の両方にこの正の減衰を働かせる。
図1〜5に示される例示的な実施形態は、巻き戻しロック136に一体化されたテープリリース装置142が、たとえば、ラチェット、回転角度依存型ロック、抵抗回転ロックの形態で、または、その担体テープ116および/またはリール120、122のひとつまたは両方での抵抗が、担体テープ116の回転方向および/または移送方向に依存するような要素の形態で実施できることを示す。対照的に、図6A〜6Cは、テープリリース装置142が、巻き戻しロック136から独立して実施できるような例示的な実施形態を示す。すでに上記に説明したように、この例示的な実施形態は、移動可能に設けられたテープ偏向部140を有するマガジン110である。この偏向部もまた、以下本文において「ダンサー」とする。したがって、すでに上記に記載された、機器側のテープリリースを実施するための原理の展開例において、少なくとも1つのダンサーをマガジン110に、好ましくは、カセットに一体化させることも可能である。このダンサー140は、好ましくは、マガジン110の巻き取りリール側、つまり、適用位置128から見て巻き取りリール122を向いた担体テープ116側にのみ設けられる。このダンサー140によって、担体テープ116のテープ経路が様々に迂回する。ここで、ばね要素162のばね力が、好ましくは、ダンサー140に働く。ばね要素162は、後退ばねとして作用することもできる。したがって、ばね要素162は、ダンサー140を元の位置まで押圧するために、常にダンサー140に力を働かせる。この元の位置は、図6Aに示されており、ダンサー140の最大偏向を有する静止位置を示す。
図6Bに例示される、担体テープ116の移送工程の結果として、担体テープ116およびダンサー140に張力が働き、このため、ダンサー140が、ばね要素162の力とは反対に、部分的に、内側に移動する。これは図6Bに例示されている。これは、テープ移送位置とも称されるダンサー140の位置であり、この間、ダンサー140は中程度のたわみを有する。この結果、担体テープ116の張力は一定にとどまる。移送工程の終わりには、リールモーターは停止し、新たな分析用補助具118が適用位置128に位置付けられる。例として、新たなランセットは、この段階で、作動部132のランセットグリッパー(図示なし)、たとえば、作動部132の停止またはそれ自体のグリッパーに影響する新たなランセットによって把持することができる。結果として、張力はとどまり、ダンサー140は、そのたわみ位置にとどまる。
最後に、図6Cは、リフト動作134の間の状況を示す。例として、このリフト動作は、穿刺動作または試料取得動作とすることができる。担体テープ116のたわみの結果として、このリフト動作134の間に、テープに追加の張力が働き、そのため、ダンサー140にも追加の張力が働く。ダンサー140は、さらに内側に移動し、この場合、最小たわみ、つまり、残りすべての工程の間は突出していないたわみを有する、リフト位置につく。この工程において、ダンサー140はテープ予備分Sをリリースする。ここで、好ましくは、通常の張力の間、ダンサー140が、少なくとも大体、半分たわむように、ばね定数は、設定するべきである。少なくとも大体とは、言い換えれば、たとえば、たわみの半分から20%だけ、好ましくは10%だけ、特に好ましくは5%だけの誤差で、ということである。
図6A〜6Cによる実施態様の大きな利点は、駆動部124、たとえば、巻き取りモーターが、巻き戻し動作を実行する必要がないという事実によってなるものである。さらに、最大たわみを有するダンサー140が、そのばね要素162の復元力により、緩みを取り戻すため、この実施態様は、リフト動作134後のテープの緩みの問題を解決する。
図6A〜6Cによるマガジン110を有する分析用検査機器112はまた、上記にすでに記載した、WO2009/030359A1に対して、複数の利点を有する。したがって、具体的には、マガジン110が分析用検査機器112に挿入されているときにはロック解除されている、公知の巻き戻しロックとは対照的に、常時機能する巻き戻しロック136を、この場合、実施することができる。
さらに、図6A〜6Cによる例示的な実施形態において、好ましくは、ダンサー140の形態をとる、テープリリース装置142の非対称的な実施態様がある。WO2009/030359A1は、テープ材が対称的にたわむように、マガジンの供給リール側と巻き取りリール側の両方に、移動可能に設けられたテープ偏向部を設ける具体例を開示している。しかし、実際は、一定の状況下において、こうすることで、ダンサー140が、リフト動作134後に、供給リールから追加で緩んだテープを補うことができなくなってしまう。さらに、WO2009/030359A1は、テープリリースの代替的オプションとして、穿刺動作の間の、駆動部124のアクティブな巻き戻し回転工程を教示している。しかし、この結果、穿刺動作後にテープが全体的に緩んでしまうという問題が生じる恐れがある。対称的に、図6A〜6Cによる本発明の代表的な実施形態の案においては、テープリリース装置142は、好ましくは、巻き取りリール側にのみ設けられ、その一方で、供給リール120自体を例外として、供給リール側には追加のテープリリース装置142は設けられない。ダンサー140は、上記の問題を見事に解決する。したがって、図6Bで確認できるように、ダンサーは、テープ移送によってすでに部分的にたわんでいる。リフト動作134の間、たとえば穿刺の間、担体テープ116は、一般的に、好ましくは、作動部132に、たとえば、グリッパーのホルダーにおいて固定される。このように、両方のリール側は、互いに独立して考慮されるべきである。供給リール側では、好ましくは、供給リール120のフリーホイールが作用し、このため、テープ予備分Gをリリースする。対照的に、巻き取りリール側では、ダンサー140がさらにいっそう内側へ移動し、ここで必要なテープ予備分Sをもたらす。穿刺またはリフト動作134の完了後、担体テープ116は、好ましくは、作動部132、たとえば、グリッパーおよび/または作動部132のホルダーから分離し、ダンサー140は、完全にたわみ(図6A参照)、その過程において、テープリリース全体を再度巻き取る。
したがって、図1〜6Cにおける例示的な実施形態全体が、マガジン110内に存在する巻き戻しロック136にかかわらず、巻き取りリール側に、十分なテープ予備分Sを利用可能にできるようにするための方法を示す。特に、図6A〜6Cに例示される実施態様の変形形態は、巻き戻し用巻き取り駆動部124を必要とせず、そのため、比較的複雑でない、分析用検査機器112の実施態様を必要とするため、特に、好都合な変形形態である。さらに、この実施態様は、リフト動作134後に、巻き取りリール側のテープリリースを再度引き戻すことができ、そうすることによって、テープガイドを最適化できる。図5におけるブレーキ160を備えた実施態様もまた好ましい。ただし、これは、特に、リフト動作134の間またはその後、担体テープ116の巻きが過度に解けることを防ぐため、他の実施態様と組み合わせることもできる。
110 マガジン
112 分析用検査機器
114 マガジンハウジング
116 担体テープ
118 分析用補助具
120 供給リール
122 巻き取りリール
124 駆動部
126 スプーリング方向
128 適用位置
130 穿刺
132 作動部
134 リフト動作
136 巻き戻しロック
138 巻き取り方向
140 移動可能に設けられたテープ偏向部
142 テープリリース装置
144 回転角度依存型ロック
146 ラチェット歯
148 歯止め
150 制御部
152 センサー
154 ばね付勢フラップ
155 シールリップ
156 ゴムローラー
158 ローラーギャップ
160 ブレーキ
162 ばね要素

Claims (19)

  1. 分析用検査機器(112)において使用するためのマガジン(110)であって、
    前記マガジン(110)は、交換式のマガジン(110)として実施され、
    前記マガジン(110)は担体テープ(116)上に複数の分析用補助具(118)を備え、
    前記分析用補助具(118)は、前記担体テープ(116)によって、前記マガジン(110)の少なくとも1つの適用位置(128)において利用可能であり、
    前記マガジン(110)はさらに、未使用の分析用補助具(118)を有する前記担体テープ(116)の領域を保持するための少なくとも1つの供給リール(120)を有し、
    前記マガジン(110)はさらに、使用済みの分析用補助具(118)を備えた前記担体テープ(116)の領域を保持するための少なくとも1つの巻き取りリール(122)を有し、
    前記担体テープ(116)は、前記供給リール(120)から前記巻き取りリール(122)へのスプーリング方向(126)に移動でき、
    前記マガジン(110)は、前記巻き取りリール(122)の巻き戻しロック(136)を有し、
    前記マガジン(110)はさらに、テープリリース装置(142)を有し、
    前記テープリリース装置(142)は、前記巻き取りリール(122)を向いた適用位置(128)側の前記担体テープ(116)の巻き取りリールテープ予備分を利用可能にするように構成されたマガジン(110)。
  2. 前記テープリリース装置(142)が、前記巻き取りリール(122)を向いた適用位置(128)側にのみ設けられる請求項1記載のマガジン(110)。
  3. 前記分析用補助具(118)が、少なくとも1つの固定装置、より具体的には、少なくとも1つのグリッパーによって、適用位置(128)において固定可能となる請求項1または2記載のマガジン(110)。
  4. 前記適用位置(128)に位置付けられた分析用補助具(118)のリフト動作(134)が、最大リフト幅、具体的には、2mm〜10mmの、好ましくは、3mm〜6mmの最大リフト幅を有し、前記巻き取りリールテープ予備分が、最大リフト幅の0.2〜0.8、好ましくは、最大リフト幅の0.5となる請求項1〜3のいずれか1項に記載のマガジン(110)。
  5. 前記マガジン(110)が、さらに、前記供給リール(120)を向いた前記適用位置(128)側の前記担体テープ(116)の供給リールテープ予備分を追加で利用可能にするように構成され、前記供給リールテープ予備分は、好ましくは、前記巻き取りリールテープ予備分にほぼ相当する、請求項1〜4のいずれか1項に記載のマガジン(110)。
  6. 前記テープリリース装置(142)がさらに、前記分析用補助具(118)の前記リフト動作(134)後、前記巻き取りリール予備テープを、少なくとも部分的に、再度保持するように構成された請求項1〜5のいずれか1項に記載のマガジン(110)。
  7. 前記巻き戻しロック(136)が、常時作用する巻き戻しロック(136)である請求項1〜6のいずれか1項に記載のマガジン(110)。
  8. 前記巻き戻しロック(136)が、
    回転方向感知要素(144)、より具体的には、前記巻き取りリール(122)に接続され、回転方向感知要素(144)によって、一方向の回転が可能となり、少なくとも大部分は他方向の回転を防ぐ回転方向感知要素(144)、
    フリーホイール、より具体的には、前記巻き取りリール(122)に接続されたフリーホイール、
    ラチェット(146)、より具体的には、前記巻き取りリール(122)に接続されたラチェット(146)、
    歯止め(148)、より具体的には、前記巻き取りリール(122)に接続された歯止め(148)、
    前記担体テープ(116)に作用する回転方向依存型ブレーキ、より具体的には、ローラー(156)および/またはシールリップ(155)、
    前記担体テープ(116)に作用するばね付勢要素(154)、
    前記担体テープ(116)に作用するばね付勢フラップ(154)、および
    前記担体テープ(116)に作用するシールリップ(155)
    のうち、少なくとも1つの巻き戻しロック(136)を備える請求項1〜7のいずれか1項に記載のマガジン(110)。
  9. 前記マガジン(110)が、さらに、少なくとも1つのブレーキ(160)を有し、前記ブレーキ(160)は、前記巻き取りリール(122)の巻き戻し、および/または、前記供給リール(120)の巻き取りにブレーキをかけるように構成される請求項1〜8のいずれか1項に記載のマガジン(110)。
  10. 前記テープリリース装置(142)が、少なくとも部分的に、前記巻き戻しロック(136)に一体化している請求項1〜9のいずれか1項に記載のマガジン(110)。
  11. 前記巻き戻しロック(136)の1つの機能が、前記担体テープ(116)の位置に依存し、前記巻き戻しロック(136)が、複数のロック位置において、スプーリング方向(126)とは反対の前記担体テープ(116)の移動を防ぐように構成され、前記担体テープ(116)のスプーリング方向(126)とは反対の動作が、次のロック位置に到達するまでの間、ロック位置間で可能となり、前記担体テープ(116)がスプーリング方向(126)とは反対の動作をした場合、前記巻き取りリールテープ予備分が、少なくとも部分的にリリースされる請求項10記載のマガジン(110)。
  12. 前記巻き戻しロック(136)が、回転方向感知要素(144)、より具体的には、前記巻き取りリール(122)に接続された回転方向感知要素(144)を有し、前記回転方向感知要素(144)は、一方向の回転を可能にし、少なくとも大部分は他方向の回転を防ぎ、前記回転方向感知要素(144)は、デッドアングルを有し、前記デッドアングルを通じた巻き戻しを可能にし、前記マガジン(110)が、巻き戻しの間、前記巻き取りリールテープ予備分をリリースするように構成される請求項10または11記載のマガジン(110)。
  13. 前記巻き戻しロック(136)が、前記担体テープ(116)上に作用する少なくとも1つのばね付勢要素、より具体的には、ばね付勢フラップ(154)および/またはシールリップ(155)を有し、前記担体テープ(116)がスプーリング方向(126)に移動するとき、前記分析用補助具(118)は、前記ばね付勢要素および/または前記シールリップ(155)を通過することができ、前記担体テープ(116)がスプーリング方向(126)とは反対に移動する場合、前記分析用補助具(118)および/または前記担体テープ(116)は、前記ばね付勢要素および/または前記シールリップ(155)に引っかかる請求項10〜12のいずれか1項に記載のマガジン(110)。
  14. 前記巻き戻しロック(136)が、少なくとも1つのローラー(156)、より具体的には、ダブルローラーを有し、前記担体テープ(116)が、前記ローラー(156)によって範囲を定められるギャップを通過し、前記ローラー(156)は、前記担体テープ(116)がスプーリング方向(126)とは反対に移動する場合には変形するように構成され、この変形によって前記ギャップが狭くなり、前記担体テープ(116)のさらなる動作は、少なくとも妨げられる請求項10〜13のいずれか1項に記載のマガジン(110)。
  15. 前記テープリリース装置(142)が、少なくとも部分的に、前記巻き戻しロック(136)から独立するように設計される請求項1〜14のいずれか1項に記載のマガジン(110)。
  16. 前記テープリリース装置(142)が、移動可能に設けられたテープ偏向部(140)を有し、前記移動可能に設けられたテープ偏向部(140)は、前記適用位置(128)と前記巻き取りリール(122)との間に設けられる請求項15記載のマガジン(110)。
  17. 請求項1〜16のいずれか1項に記載のマガジン(110)を少なくとも1つ備えた、分析用検査機器(112)であって、
    前記分析用検査機器(112)が、前記マガジン(110)の交換を可能にするように構成され、前記分析用検査機器(112)は、前記担体テープ(116)を駆動するための駆動部(124)を有し、前記分析用検査機器(112)が、さらに、前記適用位置(128)に位置付けられた前記分析用補助具(118)によるリフト動作(134)、より具体的には、穿刺動作および/または試料取得動作を実行するように構成される分析用検査機器(112)。
  18. 前記分析用検査機器(112)が、さらに、前記担体テープ(116)の位置を識別するための少なくとも1つのセンサー(152)を有し、前記分析用検査機器(112)がさらに、制御部(150)を有し、前記制御部(150)が、前記担体テープ(116)の識別された位置にしたがって、前記巻き取りリールテープ予備分を設定するように構成される請求項17記載の分析用検査機器(112)。
  19. 前記マガジン(110)が、前記巻き戻しロック(136)の機能が、前記担体テープ(116)の位置に依存するように構成され、前記巻き戻しロック(136)が、複数のロック位置で、前記担体テープ(116)の、前記スプーリング動作(126)とは反対の動作を防ぐように構成され、前記スプーリング動作(126)とは反対の前記担体テープ(116)の動作が、次のロック位置に到達するまで、ロック位置間で可能とされ、前記担体テープ(116)が前記スプーリング動作(126)とは反対に移動するとき、前記巻き取りリールテープ予備分がリリースされ、所定のロック位置に到達したとき、巻き取りリールテープ予備分に等しい前記担体テープ(116)の前方搬送を可能とするように、前記制御部(150)が構成される請求項18記載の分析用検査機器(112)。
JP2012540390A 2009-11-24 2010-11-23 巻き戻しロックおよび一体型テープリリース部を備えたテープマガジン Expired - Fee Related JP5599895B2 (ja)

Applications Claiming Priority (3)

Application Number Priority Date Filing Date Title
EP09176917 2009-11-24
EP09176917.4 2009-11-24
PCT/EP2010/067962 WO2011064178A1 (de) 2009-11-24 2010-11-23 Bandmagazin mit rückdrehsperre und integrierter bandfreigabe

Publications (2)

Publication Number Publication Date
JP2013511368A true JP2013511368A (ja) 2013-04-04
JP5599895B2 JP5599895B2 (ja) 2014-10-01

Family

ID=42110020

Family Applications (1)

Application Number Title Priority Date Filing Date
JP2012540390A Expired - Fee Related JP5599895B2 (ja) 2009-11-24 2010-11-23 巻き戻しロックおよび一体型テープリリース部を備えたテープマガジン

Country Status (9)

Country Link
US (1) US9198606B2 (ja)
EP (1) EP2503938B1 (ja)
JP (1) JP5599895B2 (ja)
KR (1) KR101387867B1 (ja)
CN (1) CN102711610B (ja)
CA (1) CA2779992C (ja)
ES (1) ES2441642T3 (ja)
PL (1) PL2503938T3 (ja)
WO (1) WO2011064178A1 (ja)

Families Citing this family (3)

* Cited by examiner, † Cited by third party
Publication number Priority date Publication date Assignee Title
ES2545672B2 (es) * 2012-09-22 2016-04-04 Brandon Bransgrove Casete y dispositivo analizador
CA2896740C (en) * 2013-02-11 2020-12-01 F. Hoffmann-La Roche Ag Handheld medical instrument and system for analyzing a body fluid
SE541514C2 (en) * 2017-12-28 2019-10-22 Delaval Holding Ab A cassette

Citations (4)

* Cited by examiner, † Cited by third party
Publication number Priority date Publication date Assignee Title
JP2009513179A (ja) * 2003-07-16 2009-04-02 エフ ホフマン−ラ ロッシュ アクチェン ゲゼルシャフト 体液用の分析装置および分析方法
JP2010526569A (ja) * 2007-05-10 2010-08-05 エフ ホフマン−ラ ロッシュ アクチェン ゲゼルシャフト 穿刺システムおよびランセット担体テープ
JP2010536516A (ja) * 2007-08-28 2010-12-02 エフ ホフマン−ラ ロッシュ アクチェン ゲゼルシャフト 穿刺システム
JP2010538783A (ja) * 2007-09-19 2010-12-16 エフ ホフマン−ラ ロッシュ アクチェン ゲゼルシャフト 液体試料を採取するための試料採取システム用の組み合わせ駆動部

Family Cites Families (15)

* Cited by examiner, † Cited by third party
Publication number Priority date Publication date Assignee Title
DE2803345C2 (de) 1978-01-26 1980-02-14 Emil 7507 Pfinztal Eisinger Blutprobenentnahmegerät
DE19819407A1 (de) 1998-04-30 1999-11-11 Hendrik Priebs Teststreifenbehälter für Messgeräte, die mit Einwegteststreifen arbeiten
EP1690496B1 (en) 2001-06-08 2008-11-19 Roche Diagnostics GmbH Bodily fluid sampling device
US8337419B2 (en) * 2002-04-19 2012-12-25 Sanofi-Aventis Deutschland Gmbh Tissue penetration device
DE10208575C1 (de) 2002-02-21 2003-08-14 Hartmann Paul Ag Blutanalysegerät zur Bestimmung eines Analyten
US7892185B2 (en) 2002-04-19 2011-02-22 Pelikan Technologies, Inc. Method and apparatus for body fluid sampling and analyte sensing
EP1501410B1 (en) 2002-04-19 2016-06-08 Sanofi-Aventis Deutschland GmbH Apparatus for penetrating tissue
US7226461B2 (en) * 2002-04-19 2007-06-05 Pelikan Technologies, Inc. Method and apparatus for a multi-use body fluid sampling device with sterility barrier release
US8591436B2 (en) * 2004-04-30 2013-11-26 Roche Diagnostics Operations, Inc. Lancets for bodily fluid sampling supplied on a tape
US20060104861A1 (en) 2004-09-30 2006-05-18 Windus-Smith Bryan K Test sensor transport mechanisms and methods
DE102005004498B4 (de) 2005-02-01 2009-07-09 Roche Diagnostics Gmbh Antrieb für medizinische Geräte und Verwendung für einen solchen Antrieb
DE102005013685A1 (de) 2005-03-18 2006-09-28 Roche Diagnostics Gmbh Bandmagazin für ein Handgerät zur Untersuchung einer Körperflüssigkeit, sowie Handgerät
EP1801584A1 (de) * 2005-12-24 2007-06-27 F.Hoffmann-La Roche Ag Analysesystem für Körperflüssigkeiten
ATE496296T1 (de) * 2006-08-22 2011-02-15 Hoffmann La Roche Diagnostische bandkassette, insbesondere für blutzuckertests
ATE509576T1 (de) 2007-09-21 2011-06-15 Hoffmann La Roche Stechsystem und bandkassette

Patent Citations (4)

* Cited by examiner, † Cited by third party
Publication number Priority date Publication date Assignee Title
JP2009513179A (ja) * 2003-07-16 2009-04-02 エフ ホフマン−ラ ロッシュ アクチェン ゲゼルシャフト 体液用の分析装置および分析方法
JP2010526569A (ja) * 2007-05-10 2010-08-05 エフ ホフマン−ラ ロッシュ アクチェン ゲゼルシャフト 穿刺システムおよびランセット担体テープ
JP2010536516A (ja) * 2007-08-28 2010-12-02 エフ ホフマン−ラ ロッシュ アクチェン ゲゼルシャフト 穿刺システム
JP2010538783A (ja) * 2007-09-19 2010-12-16 エフ ホフマン−ラ ロッシュ アクチェン ゲゼルシャフト 液体試料を採取するための試料採取システム用の組み合わせ駆動部

Also Published As

Publication number Publication date
HK1176266A1 (zh) 2013-07-26
WO2011064178A8 (de) 2011-10-13
JP5599895B2 (ja) 2014-10-01
CA2779992C (en) 2018-05-01
CN102711610A (zh) 2012-10-03
ES2441642T3 (es) 2014-02-05
US20120283528A1 (en) 2012-11-08
CN102711610B (zh) 2016-03-09
PL2503938T3 (pl) 2014-03-31
KR20120089720A (ko) 2012-08-13
WO2011064178A1 (de) 2011-06-03
KR101387867B1 (ko) 2014-04-22
US9198606B2 (en) 2015-12-01
EP2503938B1 (de) 2013-10-30
CA2779992A1 (en) 2011-06-03
EP2503938A1 (de) 2012-10-03

Similar Documents

Publication Publication Date Title
US9017620B2 (en) Combination drive for a sampling system for collecting a liquid sample
US9119581B2 (en) Tape magazine for a hand-held device
CA2564965C (en) Test magazine and method for processing the same
CN104968266B (zh) 用于分析体液的手持式医疗仪器和系统
JP4932000B2 (ja) カセット式診断テープ
JP2010505567A (ja) テープ移送型ランセットサンプラー
JP5599895B2 (ja) 巻き戻しロックおよび一体型テープリリース部を備えたテープマガジン
CN102573630B (zh) 应用在刺血针装置中的刺血针夹持器
HK1176266B (en) Ribbon magazine having a backturn preventer and integrated ribbon release
EP2968060B1 (en) Test strip grabber
US20240008857A1 (en) Device for the in-situ analysis of excrement, sample-carrier cartridge for such a device and also toilet unit and toilet seat
HK1139734B (en) Tape magazine for a hand-held device for analysing a body fluid, and a hand-held device

Legal Events

Date Code Title Description
A977 Report on retrieval

Free format text: JAPANESE INTERMEDIATE CODE: A971007

Effective date: 20131211

A131 Notification of reasons for refusal

Free format text: JAPANESE INTERMEDIATE CODE: A131

Effective date: 20140107

A521 Request for written amendment filed

Free format text: JAPANESE INTERMEDIATE CODE: A523

Effective date: 20140328

TRDD Decision of grant or rejection written
A01 Written decision to grant a patent or to grant a registration (utility model)

Free format text: JAPANESE INTERMEDIATE CODE: A01

Effective date: 20140805

A61 First payment of annual fees (during grant procedure)

Free format text: JAPANESE INTERMEDIATE CODE: A61

Effective date: 20140813

R150 Certificate of patent or registration of utility model

Ref document number: 5599895

Country of ref document: JP

Free format text: JAPANESE INTERMEDIATE CODE: R150

R250 Receipt of annual fees

Free format text: JAPANESE INTERMEDIATE CODE: R250

R250 Receipt of annual fees

Free format text: JAPANESE INTERMEDIATE CODE: R250

R250 Receipt of annual fees

Free format text: JAPANESE INTERMEDIATE CODE: R250

R250 Receipt of annual fees

Free format text: JAPANESE INTERMEDIATE CODE: R250

LAPS Cancellation because of no payment of annual fees