JP2013094971A - 印刷装置及び印刷装置用回路基板 - Google Patents

印刷装置及び印刷装置用回路基板 Download PDF

Info

Publication number
JP2013094971A
JP2013094971A JP2011236794A JP2011236794A JP2013094971A JP 2013094971 A JP2013094971 A JP 2013094971A JP 2011236794 A JP2011236794 A JP 2011236794A JP 2011236794 A JP2011236794 A JP 2011236794A JP 2013094971 A JP2013094971 A JP 2013094971A
Authority
JP
Japan
Prior art keywords
printing material
material container
terminal
control unit
detection
Prior art date
Legal status (The legal status is an assumption and is not a legal conclusion. Google has not performed a legal analysis and makes no representation as to the accuracy of the status listed.)
Granted
Application number
JP2011236794A
Other languages
English (en)
Other versions
JP5884408B2 (ja
Inventor
Noboru Asauchi
昇 朝内
Current Assignee (The listed assignees may be inaccurate. Google has not performed a legal analysis and makes no representation or warranty as to the accuracy of the list.)
Seiko Epson Corp
Original Assignee
Seiko Epson Corp
Priority date (The priority date is an assumption and is not a legal conclusion. Google has not performed a legal analysis and makes no representation as to the accuracy of the date listed.)
Filing date
Publication date
Application filed by Seiko Epson Corp filed Critical Seiko Epson Corp
Priority to JP2011236794A priority Critical patent/JP5884408B2/ja
Priority to CN201210431393.2A priority patent/CN103085490B/zh
Publication of JP2013094971A publication Critical patent/JP2013094971A/ja
Application granted granted Critical
Publication of JP5884408B2 publication Critical patent/JP5884408B2/ja
Active legal-status Critical Current
Anticipated expiration legal-status Critical

Links

Images

Landscapes

  • Ink Jet (AREA)
  • Accessory Devices And Overall Control Thereof (AREA)

Abstract

【課題】確実で安全な印刷材収容体の装着検出を効率的に行うことができる印刷装置及び印刷装置用回路基板等を提供すること。
【解決手段】印刷装置は、印刷材情報を記憶する記憶装置203と複数の記憶装置用端子とをそれぞれ有する第1〜第n(nは2以上の整数)の印刷材収容体100−1〜100−nと、第1〜第nの印刷材収容体の複数の記憶装置用端子に接続され、記憶装置203に対してデータの読み出し又は書き込みの制御を行う制御部300とを含む。第1〜第nの印刷材収容体のうちの第i(iは1<i<n−1である整数)〜第j(jはi<j<nである整数)の印刷材収容体の各々の複数の記憶装置用端子は、バスMBSにより制御部300と共通接続される。第1の印刷材収容体100−1の複数の記憶装置用端子は、バスMBSと分離されて制御部300と接続される。第nの印刷材収容体100−nの複数の記憶装置用端子は、バスMBSと分離されて制御部300と接続される。
【選択図】図4

Description

本発明は、印刷装置及び印刷装置用回路基板等に関する。
印刷材収容体(インクカートリッジ等)の種類、印刷材収容体に収容される印刷材の量のレベルを検出する検出回路を有する印刷装置において、検出に使用される高電圧回路と、印刷材収容体に備えられた記憶装置や印刷装置の他の回路との短絡による印刷材収容体及び印刷装置の不具合を防止又は抑制する技術は、例えば、特許文献1に記載されている。
特開2007−196664号公報
本発明の幾つかの態様によれば、確実で安全な印刷材収容体の装着検出を効率的に行うことができる印刷装置及び印刷装置用回路基板等を提供できる。
本発明の一態様は、印刷材情報を記憶する記憶装置と複数の記憶装置用端子とをそれぞれ有する第1の印刷材収容体〜第n(nは2以上の整数)の印刷材収容体と、前記第1の印刷材収容体〜前記第nの印刷材収容体の前記複数の記憶装置用端子に接続され、前記記憶装置に対してデータの読み出し又は書き込みの制御を行う制御部とを含み、前記第1の印刷材収容体〜前記第nの印刷材収容体のうちの第i(iは1<i<n−1である整数)の印刷材収容体〜第j(jはi<j<nである整数)の印刷材収容体の各々の前記複数の記憶装置用端子は、バスにより前記制御部と共通接続され、前記第1の印刷材収容体の前記複数の記憶装置用端子は、前記バスと分離されて前記制御部と接続され、前記第nの印刷材収容体の前記複数の記憶装置用端子は、前記バスと分離されて前記制御部と接続される印刷装置に関係する。
本発明の一態様によれば、第1、第nの印刷材収容体の記憶装置用端子は、他の印刷材収容体と分離されて制御部と接続されるから、第1、第nの印刷材収容体の記憶装置用端子に短絡などの不具合が生じた場合に、他の印刷材収容体の記憶装置に影響を与えることを防止できる。また、第i〜第jの印刷材収容体の記憶装置用端子は、バスにより制御部と共通接続されるから、制御部の回路構成等を簡素にすることができる。その結果、印刷材収容体の装着検出を確実で安全に且つ効率的に行うこと、さらに短絡発生時に記憶装置を確実に保護することなどが可能になる。
また本発明の一態様では、前記制御部が実装され、前記第1の印刷材収容体〜前記第nの印刷材収容体の前記複数の記憶装置用端子が接続される第1の端子群〜第nの端子群と、前記バスのバス配線とを有する回路基板を含み、前記第1の端子群は、前記回路基板の第1の端辺側に配置され、前記第nの端子群は、前記回路基板の前記第1の端辺に対向する第2の端辺側に配置されてもよい。
このようにすれば、第1、第nの印刷材収容体は、回路基板の第1、第2の端辺側に配置される端子群に接続されるから、回路基板の端辺側に装着される印刷材収容体の記憶装置用端子に短絡などの不具合が生じた場合に、他の印刷材収容体の記憶装置に影響を与えることを防止できる。
また本発明の一態様では、前記第iの印刷材収容体は、前記第1の印刷材収容体〜前記第nの印刷材収容体のうちの第2の印刷材収容体であり、前記第jの印刷材収容体は、前記第1の印刷材収容体〜前記第nの印刷材収容体のうちの第n−1の印刷材収容体であってもよい。
このようにすれば、n個の印刷材収容体のうち、回路基板の端辺側に装着される2個の印刷材収容体を除くn−2個の印刷材収容体については、各々の記憶装置用端子をバスにより制御部と共通接続することができるから、制御部の回路構成等を簡素にすることができる。
また本発明の一態様では、前記第iの印刷材収容体〜前記第jの印刷材収容体の前記複数の記憶装置用端子は、クロック端子、データ端子、第1の電源端子及び第2の電源端子をそれぞれ有し、前記クロック端子、前記データ端子、前記第1の電源端子及び前記第2の電源端子は、それぞれ前記バスにより前記制御部と共通接続されてもよい。
このようにすれば、第i〜第jの印刷材収容体のクロック端子、データ端子、第1の電源端子及び第2の電源端子をバスにより制御部と共通接続することができる。
また本発明の一態様では、前記第iの印刷材収容体〜前記第jの印刷材収容体の前記複数の記憶装置用端子は、それぞれリセット端子をさらに有してもよい。
このようにすれば、第i〜第jの印刷材収容体のリセット端子、クロック端子、データ端子、第1の電源端子及び第2の電源端子をバスにより制御部と共通接続することができる。
また本発明の一態様では、前記制御部は、前記第1の印刷材収容体〜前記第nの印刷材収容体の装着を検出する装着検出部を有し、前記第iの印刷材収容体〜前記第jの印刷材収容体は、装着検出端子をそれぞれ有し、前記装着検出端子は、前記制御部に共通接続されてもよい。
このようにすれば、制御部は第1〜第nの印刷材収容体の装着を検出することができる。また、第i〜第jの印刷材収容体の装着検出端子を制御部に共通接続することができるから、装着検出部の回路構成を簡素にすることなどができる。
また本発明の一態様では、前記第iの印刷材収容体〜前記第jの印刷材収容体のうちの、第k(kはi≦k≦j−2である整数)の印刷材収容体の前記装着検出端子と第k+2の印刷材収容体の前記装着検出端子とは、前記制御部に共通接続されてもよい。
このようにすれば、第i〜第jの印刷材収容体のうちから1つおきに配置される2個の印刷材収容体について、それぞれの装着検出端子を制御部に共通接続することができる。
また本発明の一態様では、前記制御部は、前記装着検出部が前記第1の印刷材収容体〜前記第nの印刷材収容体の装着を検出する際に、前記複数の記憶装置用端子を高インピーダンス状態に設定してもよい。
このようにすれば、印刷材収容体の装着を検出する際に、装着検出用電圧が印加される装着検出端子と記憶装置用端子とが短絡している場合であっても、記憶装置に装着検出用電圧が印加されることを防止できる。
本発明の他の態様は、第1の印刷材収容体〜第n(nは2以上の整数)の印刷材収容体が接続される第1の端子群〜第nの端子群と、前記第1の端子群〜前記第nの端子群のうちの第i(iは1<i<n−1である整数)の端子群〜第j(jはi<j<nである整数)の端子群を制御部に共通接続するバス配線とを含み、前記第1の端子群は、前記バス配線と分離されて前記制御部と接続され、前記第nの端子群は、前記バス配線と分離されて前記制御部と接続される印刷装置用回路基板に関係する。
本発明の他の態様によれば、第1、第nの端子群は、バス配線と分離されて制御部とそれぞれ接続されるから、第1、第nの端子群の端子に短絡などの不具合が生じた場合であっても、他の端子群に影響を与えることを防止できる。
また本発明の他の態様では、前記第1の端子群〜前記第nの端子群は、前記第1の印刷材収容体〜前記第nの印刷材収容体が有する記憶装置にアクセスするための複数の記憶装置用端子をそれぞれ有してもよい。
このようにすれば、制御部は、第1〜第nの端子群を介して第1〜第nの印刷材収容体の記憶装置にアクセスすることができる。
また本発明の他の態様では、前記第1の端子群〜前記第nの端子群は、前記第1の印刷材収容体〜前記第nの印刷材収容体の装着を検出するための装着検出端子をそれぞれ有してもよい。
このようにすれば、制御部は、第1〜第nの端子群を介して第1〜第nの印刷材収容体の装着を検出することができる。
印刷装置の構成例を示す斜視図。 図2(A)、図2(B)は、印刷材収容体の外観を示す斜視図。 図3(A)、図3(B)は、基板の構成例。 印刷材収容体及び回路基板等の第1の構成例。 印刷材収容体及び回路基板等の第2の構成例。 印刷装置の電気的構成の基本的な構成例。 短絡検出及び装着検出に関係する回路の構成例。 装着検出及びメモリーアクセスのフローチャート。 図9(A)〜図9(D)は、出力回路及び入出力回路の詳細な構成例。 短絡検出部及び電圧印加部の詳細な構成例。 図11(A)、図11(B)は、印刷材収容体の装着検出の手法を説明する図。 装着検出部の詳細な構成例。
以下、本発明の好適な実施の形態について詳細に説明する。なお以下に説明する本実施形態は特許請求の範囲に記載された本発明の内容を不当に限定するものではなく、本実施形態で説明される構成の全てが本発明の解決手段として必須であるとは限らない。
1.印刷装置
図1は、本実施形態における印刷装置の構成例を示す斜視図である。印刷装置1000は、インクカートリッジ(印刷材収容体)が装着されるカートリッジ装着部1100と、回動自在なカバー1200と、操作部1300とを有する。カートリッジ装着部1100を「カートリッジホルダー」又は単に「ホルダー」とも呼ぶ。図1に示す例では、カートリッジ装着部1100には、4つのインクカートリッジが独立に装着可能であり、例えば、ブラック、イエロー、マゼンタ、シアンの4種類のインクカートリッジ(印刷材収容体)100が装着される。カバー1200は省略可能である。操作部1300は、ユーザーが各種の指示や設定を行うための入力装置であり、また、ユーザーに各種の通知を行うための表示部を備えている。
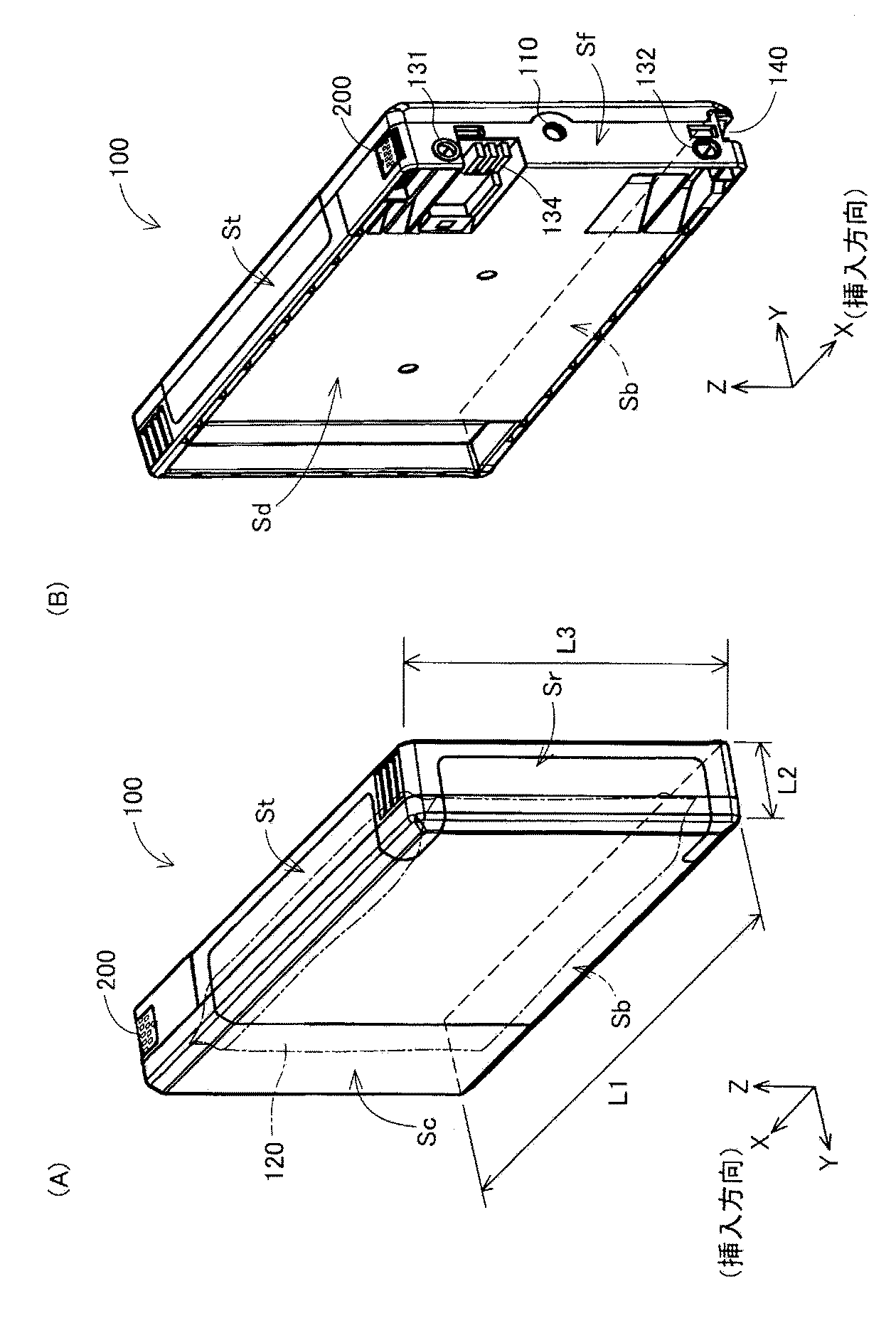
図2(A)、図2(B)は、インクカートリッジ100の外観を示す斜視図である。図2(A)、図2(B)におけるXYZ軸は、図1のXYZ軸に対応している。なお、インクカートリッジを単に「カートリッジ」とも呼ぶ。このカートリッジ100は、扁平な略直方体の外観形状を有しており、3方向の寸法L1、L2、L3のうちで、長さL1(挿入方向のサイズ)が最も大きく、幅L2が最も小さく、高さL3が長さL1と幅L2の中間である。
カートリッジ100は、先端面(第1の面)Sfと、後端面(第2の面)Srと、天井面(第3の面)Stと、底面(第4の面)Sbと、2つの側面(第5及び第6の面)Sc、Sdとを備えている。カートリッジ100の内部には、可撓性材料で形成されたインク収容室120(「インク収容袋」とも呼ぶ)が設けられている。先端面Sfは、2つの位置決め穴131,132と、インク供給口110とを有している。天井面stには、基板200が設けられている。基板200には、インクに関する情報を格納するための不揮発性の記憶素子が搭載されている。第1の側面Scと第2の側面Sdは互いに対向しており、また、先端面Sf、天井面St、後端面Sr、及び、底面Sbと直交する。第2の側面Sdと先端面Sfが交わる位置には、凹凸嵌合部134が配置されている。
図3(A)は、本実施形態における基板200の構成を示している。基板200の表面は、カートリッジ100に基板200が装着されたときに外側に露出している面である。図3(B)は、基板200の側面から見た図を示している。基板200の上端部には、ボス溝201が形成され、基板200の下端部には、ボス穴202が形成されている。
図3(A)における矢印SDは、カートリッジ装着部1100へのカートリッジ100の装着方向を示している。この装着方向SDは、図2に示すカートリッジの装着方向(X方向)と一致する。基板200は、裏面に記憶装置203を有しており、表面には9つの端子からなる端子群が設けられている。図示を省略するが、基板200の表面と裏面には、端子と記憶装置203を接続するための配線やその他の配線、基板表面の配線と基板の裏面の配線を電気的に接続するためのスルーホールが配置されている。記憶装置203は、カートリッジ100に関する情報や、カートリッジ100に収容されているインクに関する情報(例えばインク量情報、インク残量、インク消費量)を格納する。これらの端子は、略矩形状に形成され、装着方向SDと略垂直な列を2列形成するように配置されている。
基板200には、複数の記憶装置用端子RST、SCK、SDA、VDD、VSSと、第1の装着検出端子DT1と、第2の装着検出端子DT2と、第1の短絡検出端子CO1と、第2の短絡検出端子CO2とが設けられる。
2つの列のうち、装着方向SDの手前側の例(図3(A)における上側に位置する列)を上側列A1(第1列)と呼び、装着方向SDの奥側の列(図3(A)における下側に位置する列)を下側列A2(第2列)と呼ぶ。なお、これらの列A1、A2は、複数の端子の接触部cpによって形成される列であると考えることも可能である。複数の端子の接触部cpは、カートリッジが印刷装置に装着されたときに、印刷装置側回路基板と回路基板200を接続するためにホルダー内部に設けられたコネクターが複数の端子と接触する部分である。
上側列A1を形成する端子CO1、RST、SCK、CO2と、下側列A2を形成する端子DT1、VDD、VSS、SDA、DT2は、それぞれ以下の機能(用途)を有する。
<上側列A1>
(1)第1の短絡検出端子CO1
(2)リセット端子RST
(3)クロック端子SCK
(4)第2の短絡検出端子CO2
<下側列A2>
(5)第1の装着検出端子DT1
(6)第1の電源端子(電源端子)VDD
(7)第2の電源端子(接地端子)VSS
(8)データ端子SDA
(9)第2の装着検出端子DT2
第1、第2の装着検出端子DT1、DT2は、後述するように、インクカートリッジ100がカートリッジ装着部1100に正しく装着されているか否かを検出する際に使用される。また、第1、第2の短絡検出端子CO1、CO2は、第1、第2の装着検出端子DT1、DT2との短絡を検出する際に使用されるものである。他の5つの端子RST、SCK、VDD、VSS、SDAは、記憶装置203用の端子であり、「メモリー端子」とも呼ぶ。
各端子は、その中央部に、複数の装置側端子のうちの対応する端子と接触する接触部cpを含んでいる。上側列A1を形成する端子の各接触部cpと、下側列A2を形成する端子の各接触部cpは、互い違いに配置され、いわゆる千鳥状の配置を構成している。また、上側列A1を形成する端子と、下側列A2を形成する端子も、互いの端子中心が装着方向SDに並ばないように、互い違いに配置され、千鳥状の配置を構成している。
上側列A1の第1、第2の短絡検出端子CO1、CO2の各接触部は、上側列A1の両端部、すなわち、上側列A1の最も外側にそれぞれ配置されている。また、下側列A2の第1、第2の装着検出端子DT1、DT2の各接触部は、下側列A2の両端部、すなわち、下側列A2の最も外側に配置されている。メモリー端子RST、SCK、VDD、VSS、SDAの接触部は、9つの端子の全体が配置されている領域内の略中央に集合して配置されている。また、第1、第2の短絡検出端子CO1、CO2及び第1、第2の装着検出端子DT1、DT2の接触部は、メモリー端子RST、SCK、VDD、VSS、SDAの集合の四隅に配置されている。
インクジェットプリンターなどの印刷装置においては、導電性のインク等が基板200の端子側に付着する可能性がある。図3(A)に示したように、第1の短絡検出端子CO1と第1の装着検出端子DT1とは隣り合っており、第2の短絡検出端子CO2と第2の装着検出端子DT2とは隣り合っている。そのために、例えば導電性のインク等が基板200の端子側に付着することで、隣り合っている2つの端子CO1とDT1、或いはCO2とDT2が導電性のインク等によって短絡(リーク)する可能性がある。また、第1の装着検出端子DT1と電源端子VDDとが短絡したり、第2の装着検出端子DT2とデータ端子SDAとが短絡したりする可能性もある。
第1、第2の装着検出端子DT1、DT2は、印刷材収容体100の装着を検出するための端子であるが、この装着検出の際には高電圧(例えば42V)がDT1、DT2に印加される。そのため、DT1又はDT2が他の端子と導電性のインク等によって短絡している場合には、例えば記憶装置203などの回路に高電圧が印加され、回路が破壊されるおそれがある。
以下に説明するように、本実施形態の印刷装置によれば、導電性のインク等による端子間の短絡が生じた場合でも、装着検出時に装着検出端子DT1、DT2に印加される高電圧によって記憶装置203などの回路が破壊されることを防止できる。
図4に、本実施形態の印刷装置における印刷材収容体及び回路基板等の第1の構成例を示す。第1の構成例は、第1の印刷材収容体100−1〜第4(広義には第n(nは2以上の整数))の印刷材収容体100−4、制御部300及び回路基板450を含む。なお、本実施形態の印刷装置は図4の構成に限定されず、その構成要素の一部を省略したり、他の構成要素に置き換えたり、他の構成要素を追加するなどの種々の変形実施が可能である。
印刷材収容体100−1〜100−4は、印刷材情報を記憶する記憶装置203(203−1〜203−4)、複数の記憶装置用端子RST、SCK、VDD、VSS、SDA、装着検出端子DT1、DT2及び短絡検出端子CO1、CO2をそれぞれ有する。DT1とDT2との間には、装着検出用抵抗素子RDが設けられる。CO1、CO2は、印刷材収容体100の内部で配線により電気的に接続されている。
制御部300は、第1〜第4の印刷材収容体100−1〜100−4の複数の記憶装置用端子RST、SCK、VDD、VSS、SDAに接続され、記憶装置203に対してデータの読み出し又は書き込みの制御を行う。
第1〜第4の印刷材収容体100−1〜100−4のうちの第2(広義には第i(iは1<i<n−1である整数))〜第3(広義には第j(jはi<j<nである整数))の印刷材収容体100−2、100−3の各々の複数の記憶装置用端子RST、SCK、VDD、VSS、SDAは、バスMBSにより制御部300と共通接続される。第1の印刷材収容体100−1の複数の記憶装置用端子RST、SCK、VDD、VSS、SDAは、バスMBSと分離されて制御部300と接続される。第4(広義には第n)の印刷材収容体100−4の複数の記憶装置用端子RST、SCK、VDD、VSS、SDAは、バスMBSと分離されて制御部300と接続される。
回路基板450は印刷装置用回路基板であって、制御部300が実装され、第1〜第4(広義には第n)の端子群TG1〜TG4と、バスMBSのバス配線とを有する。第1〜第4の端子群TG1〜TG4は、第1〜第4の印刷材収容体100−1〜100−4が接続される。第1〜第4の端子群TG1〜TG4は、第1〜第4の印刷材収容体100−1〜100−4が有する記憶装置203−1〜203−4にアクセスするための複数の記憶装置用端子RST、SCK、VDD、VSS、SDAをそれぞれ有する。また、第1〜第4の端子群TG1〜TG4は、第1〜第4の印刷材収容体100−1〜100−4の装着を検出するための装着検出端子DT1、DT2をそれぞれ有する。
第1の端子群TG1は、回路基板450の第1の端辺側に配置され、第4(広義には第n)の端子群TG4は、回路基板450の第1の端辺に対向する第2の端辺側に配置される。第1〜第4(広義には第n)の端子群TG1〜TG4のうちの第2(広義には第i(iは1<i<n−1である整数))〜第3(広義には第j(jはi<j<nである整数))の端子群TG2、TG3は、バスMBSのバス配線により制御部300に共通接続される。また、第1の端子群TG1は、バスMBSのバス配線と分離されて制御部300と接続される。また、第4(広義には第n)の端子群TG4は、バスMBSのバス配線と分離されて制御部300と接続される。
図4に示すように、第1の構成例の印刷装置では、回路基板450の第1の端辺側に配置される第1の端子群TG1及び第1の端辺に対向する第2の端辺側に配置される第4の端子群TG4は、バスMBSと分離されて制御部300にそれぞれ接続される。即ち、第1、第4の印刷材収容体100−1、100−4の記憶装置用端子RST、SCK、VDD、VSS、SDAは、他の印刷材収容体100−2、100−3の記憶装置用端子RST、SCK、VDD、VSS、SDAとは分離されて制御部300に接続される。
インクジェット方式の印刷装置などでは、印刷ヘッドからインクが吐出される際にインクの一部が霧状(ミスト)になって空気中に放出される。このインクミストは、回路基板450の端辺側から回り込むから、端辺から離れた印刷材収容体100−2、100−3よりも端辺側にある印刷材収容体100−1、100−4の方がインクミストの付着による端子間の短絡が発生する可能性が大きい。
第1の構成例の印刷装置では、端辺側にある印刷材収容体100−1、100−4に短絡が発生した場合であっても、他の印刷材収容体100−2、100−3と分離されているから、制御部300と他の印刷材収容体の記憶装置203−2、203−3との間の通信に影響を与えることを防止できる。また、装着検出の際に記憶装置203−2、203−3に高電圧が印加されることなどを防止できる。その結果、印刷材収容体100−1〜100−4の装着検出を確実で安全に行うことなどが可能になる。
図5に、本実施形態の印刷装置における印刷材収容体及び回路基板等の第2の構成例を示す。第2の構成例は、第1の印刷材収容体100−1〜第6(広義には第n(nは2以上の整数))の印刷材収容体100−6、制御部300及び回路基板450を含む。なお、本実施形態の印刷装置は図4の構成に限定されず、その構成要素の一部を省略したり、他の構成要素に置き換えたり、他の構成要素を追加するなどの種々の変形実施が可能である。
印刷材収容体100−1〜100−6は、印刷材情報を記憶する記憶装置203(203−1〜203−6)、複数の記憶装置用端子RST、SCK、VDD、VSS、SDA、装着検出端子DT1、DT2及び短絡検出端子CO1、CO2をそれぞれ有する。DT1とDT2との間には、装着検出用抵抗素子RDが設けられる。CO1、CO2は、印刷材収容体100の内部で配線により電気的に接続されている。
制御部300は、第1〜第6の印刷材収容体100−1〜100−6の複数の記憶装置用端子RST、SCK、VDD、VSS、SDAに接続され、記憶装置203に対してデータの読み出し又は書き込みの制御を行う。
第1〜第6の印刷材収容体100−1〜100−6のうちの第2(広義には第i(iは1<i<n−1である整数))〜第5(広義には第j(jはi<j<nである整数))の印刷材収容体100−2〜100−5の各々の複数の記憶装置用端子RST、SCK、VDD、VSS、SDAは、バスMBSにより制御部300と共通接続される。第1の印刷材収容体100−1の複数の記憶装置用端子RST、SCK、VDD、VSS、SDAは、バスMBSと分離されて制御部300と接続される。第6(広義には第n)の印刷材収容体100−6の複数の記憶装置用端子RST、SCK、VDD、VSS、SDAは、バスMBSと分離されて制御部300と接続される。
第2(広義には第i)〜第5(広義には第j)の印刷材収容体100−2〜100−5の装着検出端子DT1、DT2は、制御部300に共通接続される。具体的には、第2(広義には第k(kはi≦k≦j−2である整数))の印刷材収容体100−2の装着検出端子DT1、DT2と第4(広義には第k+2)の印刷材収容体100−2の装着検出端子DT1、DT2とは、制御部300に共通接続される。また、第3の印刷材収容体100−3の装着検出端子DT1、DT2と第5の印刷材収容体100−5の装着検出端子DT1、DT2とは、制御部300に共通接続される。
回路基板450は印刷装置用回路基板であって、制御部300が実装され、第1〜第6(広義には第n)の端子群TG1〜TG6と、バスMBSのバス配線とを有する。第1〜第6の端子群TG1〜TG6は、第1〜第6の印刷材収容体100−1〜100−6が接続される。第1〜第6の端子群TG1〜TG6は、第1〜第6の印刷材収容体100−1〜100−6が有する記憶装置203−1〜203−6にアクセスするための複数の記憶装置用端子RST、SCK、VDD、VSS、SDAをそれぞれ有する。また、第1〜第6の端子群TG1〜TG6は、第1〜第6の印刷材収容体100−1〜100−6の装着を検出するための装着検出端子DT1、DT2をそれぞれ有する。
第1の端子群TG1は、回路基板450の第1の端辺側に配置され、第6(広義には第n)の端子群TG6は、回路基板450の第1の端辺に対向する第2の端辺側に配置される。第1〜第6(広義には第n)の端子群TG1〜TG6のうちの第2(広義には第i(iは1<i<n−1である整数))〜第5(広義には第j(jはi<j<nである整数))の端子群TG2〜TG5は、バスMBSのバス配線により制御部300に共通接続される。また、第1の端子群TG1は、バスMBSのバス配線と分離されて制御部300と接続される。また、第6(広義には第n)の端子群TG6は、バスMBSのバス配線と分離されて制御部300と接続される。
上述した第1の構成例と同様に、第2の構成例の印刷装置では、回路基板450の第1の端辺側に配置される第1の端子群TG1及び第1の端辺に対向する第2の端辺側に配置される第6の端子群TG6は、バスMBSと分離されて制御部300にそれぞれ接続される。即ち、第1、第6の印刷材収容体100−1、100−6の記憶装置用端子RST、SCK、VDD、VSS、SDAは、他の印刷材収容体100−2〜100−5の記憶装置用端子RST、SCK、VDD、VSS、SDAとは分離されて制御部300に接続される。
このようにすることで、インクミスト等により端辺側にある印刷材収容体100−1、100−6に端子間の短絡が発生した場合であっても、他の印刷材収容体100−2〜100−5と分離されているから、制御部300と記憶装置203−2〜203−5との間の通信に影響を与えることを防止できる。また、装着検出の際に記憶装置203−2〜203−5に高電圧が印加されることなどを防止できる。その結果、印刷材収容体100−1〜100−6の装着検出を確実で安全に行うことなどが可能になる。
また、端辺側にある印刷材収容体を除いた印刷材収容体100−2〜100−5については、バスMBSにより制御部300と共通接続されるから、制御部300の回路構成等を簡素にすることができる。
さらに第2の構成例では、端辺側にある印刷材収容体100−1、100−6の装着検出端子DT1、DT2は、他の印刷材収容体100−2〜100−5の装着検出端子DT1、DT2とは分離されて制御部300に接続される。こうすることで、端辺側にある印刷材収容体100−1、100−6の装着検出を確実に行うことができる。
2.回路の構成
図6に、本実施形態における印刷装置の電気的構成の基本的な構成例を示す。本構成例の印刷装置は、印刷材収容体(インクカートリッジ)100、回路基板450、制御部300、主制御部400、低電圧電源441、高電圧電源442、表示部430を含む。制御部300は、短絡検出部310、電圧印加部320、装着検出部330、CO(カートリッジアウト)検出部340及び通信処理部350を含む。なお、本実施形態の印刷装置は図1の構成に限定されず、その構成要素の一部を省略したり、他の構成要素に置き換えたり、他の構成要素を追加するなどの種々の変形実施が可能である。
図6では例として1個の印刷材収容体100について示しているが、本構成例の印刷装置は複数の印刷材収容体100を含むことができる。即ち、印刷装置は、印刷材情報を記憶する記憶装置203と複数の記憶装置用端子RST、SCK、VDD、VSS、SDAとをそれぞれ有する第1〜第n(nは2以上の整数)の印刷材収容体100−1〜100−nを含む。また、第1〜第nの印刷材収容体100−1〜100−の複数の記憶装置用端子に接続され、記憶装置203に対してデータの読み出し又は書き込みの制御を行う制御部300をさらに含む。
回路基板450は、9個の端子を有する端子群及び端子群の各端子と制御部300とを電気的に接続する複数の配線を含む。具体的には、端子群はリセット端子CRST、クロック端子CSCK、電源端子CVDD、接地端子CVSS、データ端子CSDA、第1の装着検出端子CDT1、第2の装着検出端子CDT2、第1の短絡検出端子CCO1、第2の短絡検出端子CCO2を含む。回路基板450には、制御部300が設けられる(実装される)。
制御部300は、通信処理部350を含み、主制御部400と共に記憶装置203に対してデータの読み出し又は書き込みの制御を行う。例えば、主制御部400が記憶装置203に対するデータの書き込み又は読み出しの制御を行う場合に、通信処理部350は、書き込みデータ又は読み出しデータの通信の中継などを行う。また制御部300は、装着検出部330、CO検出部340、短絡検出部310、電圧印加部320、高電圧制御部360を含み、装着検出、CO検出、短絡検出、高電圧の遮断などの処理を行う。制御部300は、例えばCMOSトランジスターなどで構成されるロジック回路で実現することができ、1チップの集積回路装置であってもよい。
主制御部400は、CPU410と、メモリー420とを含み、印刷処理の制御を行う。また、制御部300との間でバスBUSを介して必要な通信を行う。図6に示す構成例では、制御部が主制御部400と制御部300とに分かれているが、1つの制御部として構成してもよい。
表示部430は、ユーザーに印刷装置1000の動作状態やカートリッジの装着状態などの各種の通知を行うためのものである。表示部430は、例えば、図1の操作部1300に設けられる。
低電圧電源441は、低電圧電源電圧(第1の電源電圧)VDDを生成する。第1の電源電圧VDDは、ロジック回路に用いられる通常の電源電圧(定格3.3V)である。高電圧電源442は、高電圧電源電圧(第2の電源電圧)VHVを生成する。第2の電源電圧VHVは、印刷ヘッドを駆動してインクを吐出させるために用いられる高い電圧(例えば定格42V)であり、第1の装着検出端子DT1に印加される装着検出用電圧VHOを生成するためにも用いられる。これらの電圧VDD、VHVは、制御部300に供給され、また、必要に応じて他の回路にも供給される。具体的には、例えば高電圧電源電圧VHVは、高電圧電源442から制御部300の電圧印加部320に供給され、電圧印加部320から出力される装着検出用電圧VHOがインクカートリッジ100の第1の装着検出端子DT1及び装着検出部330に供給される。装着検出用電圧VHOは、記憶装置203に供給される高電位側電源電圧(例えば3.3V)よりも高い。
印刷材収容体100の基板200(図3)に設けられた9つの端子のうち、リセット端子RSTと、クロック端子SCKと、電源端子VDDと、データ端子SDAと、接地端子VSSとは、記憶装置203に電気的に接続されている。記憶装置203は、アドレス端子を持たず、クロック端子SCKから入力されるクロック信号のパルス数と、データ端子SDAから入力されるコマンドデータとに基づいてアクセスするメモリーセルが決定され、クロック信号に同期して、データ端子SDAよりデータを受信し、若しくは、データ端子SDAからデータを送信する不揮発性メモリーである。クロック端子SCKは、制御部300から記憶装置203にクロック信号を供給するために用いられる。
電源端子VDDと接地端子VSSには、印刷装置1000からの記憶装置203を駆動するための電源電圧(例えば3.3V)と接地電圧(0V)がそれぞれ供給されている。この記憶装置203を駆動するための電源電圧は、低電圧電源441をもとに制御部300により生成され供給される。
データ端子SDAは、制御部300と記憶装置203との間で、データ信号をやり取りするために用いられる。リセット端子RSTは、制御部300から記憶装置203にリセット信号を供給するために用いられる。
第1、第2の装着検出端子DT1、DT2は、印刷材収容体100がカートリッジ装着部1100に正しく装着されているか否かを検出する際に使用される。第1の装着検出端子DT1と第2の装着検出端子DT2との間には、装着検出用抵抗素子RDが設けられる。装着検出部330は、電圧印加部320から出力される装着検出用電圧VHOと、装着検出用抵抗素子RDを流れる電流とに基づいて、印刷材収容体100の装着を検出する。具体的には、電圧印加部320から出力される装着検出用電圧VHOが第1の装着検出端子DT1に印加されることで、装着検出用抵抗素子RDに電圧が印加されて電流が流れ、この電流を装着検出部330が検出することで、装着を検出する。この装着検出の方法については、後で詳細に説明する。
第1、第2の短絡検出端子CO1、CO2は、印刷材収容体100(具体的には、基板200)の内部で、配線により電気的に接続されている。CO検出部340は、後述するように、CO1とCO2との間の電気的導通を検出することで、CO1及びCO2がカートリッジ装着部1100の対応する端子にそれぞれ電気的に接触しているか否か、即ち、印刷材収容体100が正しく装着されているか否かを検出することができる。もっとも、本実施形態の印刷装置では、第1、第2の装着検出端子DT1、DT2及び装着検出部330が設けられており、これらを用いることでインクカートリッジ100の装着を検出することができるから、CO検出部340を省略することができる。CO検出部340を省略した場合、或いはCO検出部340を用いた装着検出(カートリッジアウト検出)を実行しない場合には、CO1とCO2とを電気的に接続しなくてもよい。
なお、以下の説明において、装着検出部330による装着検出を「装着検出」と呼び、CO検出部340による装着検出を「カートリッジアウト検出」、又は「CO検出」と呼ぶ。
第1、第2の短絡検出端子CO1、CO2と検出ノードNDとの間にダイオードD1、D2が設けられているが、CO検出(カートリッジアウト検出)を行わない場合には、ダイオードを介さずに、CO1、CO2を検出ノードNDに直接接続してもよい。
短絡検出部310は、第1の短絡検出端子CO1及び第2の短絡検出端子CO2に直接に、又はダイオードD1、D2(広義には所与の回路素子)を介して接続される。そして例えば、第1、第2の短絡検出端子CO1、CO2の少なくとも一方と、第1、第2の装着検出端子DT1、DT2の少なくとも一方との間の短絡により、第1、第2の短絡検出端子CO1、CO2に本来印加されることのない高い電圧が印加されたこと(異常電圧の印加)を、検出ノードNDの電圧と参照電圧との比較に基づいて検出する。即ち、検出ノードNDの電圧が参照電圧より高くなる場合に、短絡(異常電圧)を検出する。短絡検出部310は、短絡を検出すると、高電圧制御部360に対して短絡検出信号VSHTを出力し、高電圧制御部360は、短絡検出信号VSHTに基づいて、電圧印加部320に対して制御信号VCNTを出力する。電圧印加部320は、高電圧制御部360からの制御信号VCNTに基づいて、装着検出用電圧VHOの供給を停止する。
ここで、参照電圧は、上記の短絡が生じた場合に、記憶装置203(或いは、CO検出部340などの回路)が破壊されない電圧値に設定される。こうすることで、短絡検出部310は、検出ノードNDの電圧が記憶装置203などの回路を破壊する電圧値に到達する前に、短絡を検出することができる。
通信処理部350は、出力回路OB1〜OB4及び入出力回路IOBを有する。出力回路OB1〜OB4は、回路基板450に設けられたリセット端子CRST、クロック端子CSCK、電源端子CVDD、接地端子CVSSに信号又は電圧をそれぞれ出力する。また、入出力回路IOBは、回路基板450に設けられたデータ端子CSDAに対してデータ信号の入出力を行う。リセット端子CRST、クロック端子CSCK、電源端子CVDD、接地端子CVSS、データ端子CSDAは、印刷材収容体100に設けられたリセット端子RST、クロック端子SCK、電源端子VDD、接地端子VSS、データ端子SDAにそれぞれ接続される。出力回路OB1〜OB4及び入出力回路IOBの詳細な構成は、後述する。
先に図3(A)に示したように、第1の短絡検出端子CO1と第1の装着検出端子DT1とは隣り合っており、第2の短絡検出端子CO2と第2の装着検出端子DT2とは隣り合っている。そのために、例えば導電性のインク等が基板200の端子側に付着することで、隣り合っている2つの端子CO1とDT1、或いはCO2とDT2が導電性のインク等によって短絡(リーク)する可能性がある。また、第1の装着検出端子DT1と電源端子VDDとが短絡したり、第2の装着検出端子DT2とデータ端子SDAとが短絡したりする可能性もある。
上述したように、装着検出部330による装着検出時には、装着検出用電圧VHOが第1の装着検出端子DT1に印加される。従って、導電性インク等により第1、第2の装着検出端子DT1、DT2と第1、第2の短絡検出端子CO1、CO2とが短絡(リーク)している場合には、装着検出時にCO検出部340に高電圧が印加されるおそれがある。また、第1、第2の装着検出端子DT1、DT2と電源端子VDD又はデータ端子SDAとが短絡している場合には、記憶装置203に高電圧が印加されるおそれがある。
本実施形態の印刷装置によれば、短絡検出部310が端子間に短絡が発生している可能性があることを検出し、短絡が発生している可能性があることが検出された場合には、電圧印加部320が装着検出用電圧VHOの供給を停止することができる。
具体的には、例えば図6のB1に示すように、DT1とCO1とが短絡している場合には、DT1からCO1へ、そしてCO1から検出ノードNDへダイオードD1の順方向電流が流れ、その結果、検出ノードNDの電位が上昇する。また、図6のB2に示すように、DT2とCO2とが短絡している場合には、DT2からCO2へ、そしてCO2から検出ノードNDへダイオードD2の順方向電流が流れ、その結果、検出ノードNDの電位が上昇する。短絡検出部310は、この検出ノードNDの電圧と参照電圧とを比較することで、短絡を検出することができる。
また、本実施形態の印刷装置によれば、制御部300は、電圧印加部320が第1の装着検出端子DT1に装着検出用電圧VHOを印加する際に、複数の記憶装置用端子(メモリー端子)RST、SCK、VDD、VSS、SDAを高インピーダンス状態(フローティング状態)に設定する。こうすることで、例えばDT1とCO1及びVDD、或いはDT2とCO2及びSDAとが短絡している場合であっても、装着検出時に記憶装置203に高電圧が印加される前に、短絡検出部310が過電圧がノードNDに印加されたことを検出し、これに基づき制御部300が装着検出用電圧VHOの供給を停止するので、記憶装置203に、記憶装置203の最大定格以上の電圧が印加されることを防止できる。
主制御部400が、記憶装置203からデータを読み出したり、記憶装置203へデータを書き込んだりする場合には、主制御部400は、制御部300の通信処理部350に対して、アクセス開始前に複数の記憶装置用端子RST、SCK、VDD、VSS、SDAの端子の状態を、高インピーダンス状態から接地レベル(GNDレベル、VSSレベル、広義には一定の電圧レベル)に設定するように指示する。そして、複数の記憶装置用端子が接地レベルに設定された後に、主制御部400は、通信処理部350を介して記憶装置203に対してデータの読み出し又は書き込みを行う。
具体的には、複数の記憶装置用端子を接地レベルに設定した後に、通信処理部350が複数の記憶装置用端子を接地レベルから所定の電圧レベルに制御することにより、主制御部400は記憶装置203に対してデータの読み出し又は書き込みを行う。こうすることで、記憶装置203に対する書き込み又は読み出しを実行する前に、全てのメモリー端子を同一電位に設定することができるから、安定なメモリー動作を得ることができる。ここで所定の電圧レベルとは、データの読み出し又は書き込みを実行するために各記憶装置用端子にそれぞれ印加される電圧レベルである。
記憶装置用端子RST、SCK、VDD、VSS、SDAの高インピーダンス状態又は一定の電圧レベルへの設定は、通信処理部350により行われる。具体的には、出力回路OB1〜OB4及び入出力回路IOBが端子CRST、CSCK、CVDD、CVSS、CSDAを高インピーダンス状態又は一定の電圧レベルに設定することで、記憶装置用端子RST、SCK、VDD、VSS、SDAが高インピーダンス状態又は一定の電圧レベルにそれぞれ設定される。一定の電圧レベルは、例えば接地レベル(GNDレベル、0V)であるが、他の電圧レベルであってもよい。
電圧印加部320は、制御部300が記憶装置203に対してデータの読み出し又は書き込みを行う前に、装着検出用電圧VHOの印加を停止する。こうすることで、記憶装置203に対する読み出し又は書き込みの実行中には、装着検出用電圧VHOが装着検出端子DT1、DT2に印加されないから、VHOに起因するノイズの発生を抑えることができる。その結果、ノイズによる通信エラーやメモリーエラーなどを低減することができる。
また、制御部300が記憶装置203に対してデータの読み出し又は書き込みを終了した後に、複数の記憶装置用端子が接地レベル(広義には一定の電圧レベル)に設定される。そして複数の記憶装置用端子が接地レベルに設定された後に、電圧印加部320が第1の装着検出端子DT1に装着検出用電圧VHOを印加し、複数の記憶装置用端子が高インピーダンス状態に設定される。こうすることで、記憶装置203に対する読み出し又は書き込み以外の時を除き装着検出を行うことができる。
このように、本実施形態の印刷装置によれば、インクなどの印刷材の付着等による端子間の短絡が発生した場合であっても、装着検出時において記憶装置203に高電圧が印加される可能性を少なくすることができる。また、記憶装置203へのアクセス前にメモリー端子を同一電位にし、アクセス中には高電圧の印加を停止することができる。その結果、確実で安全な装着検出及び信頼性の高いメモリーアクセスを実現することなどができる。
図7に、短絡検出及び装着検出に関係する回路の構成例を示す。図7に示す構成例は、4個のインクカートリッジ(印刷材収容体)100−1〜100−4(IC1〜IC4)を含む。なお、インクカートリッジの個数は4個に限定されるものではなく、2個、3個、或いは5個以上であってもよい。
各インクカートリッジIC1〜IC4は、図6に示したものと同様な構成であるから、詳細な説明を省略する。また、制御部300の構成も、図6に示したものと同様である。但し、図7では、説明の便宜上、CO検出部340を、CO検出部(出力側)340aとCO検出部(入力側)340bとに分けて示してある。なお、CO検出部340a、340bは、例えばCMOSトランジスターなどで構成されるロジック回路及びアナログ回路で実現することができる。
印刷装置が複数のインクカートリッジを含む場合には、複数のインクカートリッジ(例えばIC1〜IC4)の各インクカートリッジの第1の短絡検出端子CO1及び第2の短絡検出端子CO2は、複数のダイオード素子(例えばD1〜D5)を介して1つの短絡検出部310の検出ノードNDに接続される。具体的には、例えば図7では、IC1のCO1はダイオードD1を介して、またIC1のCO2とIC2のCO1はダイオードD2を介して、またIC2のCO2とIC3のCO1はダイオードD3を介して、それぞれ検出ノードNDに接続される。各ダイオードのカソード(負極)が検出ノードNDに接続される。このようにすることで、CO検出部340によるカートリッジアウト検出に支障を与えることなく、短絡検出部310が短絡検出を行うことができる。
短絡検出部310は、検出ノードNDの電圧と参照電圧との比較に基づいて検出する。即ち、検出ノードNDの電圧が参照電圧より高くなる場合に、短絡(異常電圧)を検出する。短絡検出部310は、短絡を検出すると、高電圧制御部360に対して短絡検出信号VSHTを出力し、高電圧制御部360は、短絡検出信号VSHTに基づいて、電圧印加部320に対して制御信号VCNTを出力する。電圧印加部320は、高電圧制御部360からの制御信号VCNTに基づいて、装着検出用電圧VHOの供給を停止する。
抵抗素子RB1〜RB4は、装着検出部330による装着検出に用いられるものであって、それぞれ互いに異なる抵抗値を有する。こうすることで、インクカートリッジIC1〜IC4のうちの、どの装着位置にインクカートリッジが非装着であるかを検出することができる。この装着検出の手法については、後で詳細に説明する。
CO検出部340(340a、340b)によるカートリッジアウト検出は、次のように行われる。4個のインクカートリッジが全て装着されている場合には、図7に示すように、IC1の第1の短絡検出端子CO1からIC4の第2の短絡検出端子CO2まで電気的に導通状態となる。従って、CO検出部(出力側)340aから出力された信号DPinsは、CO検出部(入力側)340bにより信号DPresとして検出される。一方、4個のインクカートリッジのうち、いずれか1個でも非装着の場合には、電気的に非導通であるから、CO検出部(入力側)340bは信号DPresを検出しない。このように、CO検出部(入力側)340bが信号DPresを検出するか否かによって、カートリッジアウトを検出することができる。
図8は、本実施形態の印刷装置における装着検出及びメモリーアクセスのフローチャートである。上述したように、本実施形態の印刷装置では、インクカートリッジ100に設けられた記憶装置203にインク情報(例えば、インクカートリッジ内のインク使用量、インクカートリッジの製造情報など)が記憶される。このインク情報は、ヘッドのクリーニングや、印刷実行によりインクカートリッジ内のインクが所定単位量消費される毎に、或いは印刷装置の電源オフ時などに、主制御部400により、制御部300を介して記憶装置203に書き込まれる。また、インク量情報は、印刷装置の電源オン時に、主制御部400の要求により、制御部300を介して、記憶装置203から読み出される。このフローは主制御部400と制御部300の制御により実行される。
メモリーアクセスの時を除き、印刷装置の電源がオンになった以降、主制御部400と制御部300は、メモリー端子を常に高インピーダンス状態に設定している。また、装着検出とCO検出を、常に、若しくは、定期的に実行している。なお、CO検出(カートリッジアウト検出)は、メモリーアクセス中でも実行される。
主制御部400がメモリーアクセスを開始すると、まず、装着検出を停止する。すなわち、VHOを印加して装着検出をする処理を停止する(ステップSP1)。
ステップSP2では、メモリー端子を高インピーダンス状態HZからGNDレベル(接地レベル、VSSレベル)に設定する。このときにCO端子(CO1もしくはCO2)とメモリー端子間例えばCO1−VDD間、CO2−SDA間)に短絡が発生している場合には、CO検出部340が短絡を検出することができる。
ステップSP3では、印刷材収容体100が正常であるか否かを判断する。即ち、印刷材収容体100が適正に装着され、且つ、端子間の短絡が発生していないかどうかを判断する。正常である場合には次のステップSP4に進み、正常でない場合にはエラー処理が実行される。エラー処理は、例えば表示部430にエラーメッセージを表示するなどの処理である。
ステップSP4では、記憶装置203へのメモリーアクセスが行われる。即ち、制御部300が各メモリー端子に必要な信号及び電源電圧を供給して、記憶装置203に対してデータの書き込み処理、若しくは読み出し処理を行う。
ステップSP5では、メモリーアクセスが正常に行われたか否かを判断する。具体的には、書き込み時には、制御部300が記憶装置203に対して、書き込みコマンドと書き込みデータを送信した後の所定のタイミングで、記憶装置203から制御部300に対して書き込み完了信号が送信される。この書き込み完了信号の受信により、制御部300はメモリーアクセスが正常に完了したかどうか判断する。読み出し時には、記憶装置203から読み出され、制御部300に送信されたデータにはパリティビットが付加されているのでパリティチェックを行い、記憶装置203から読み出されたデータが正常であるか否かを判定することができる。メモリーアクセスが正常である場合にはステップSP6に進み、正常でない場合にはエラー処理が実行される。
メモリーアクセスが正常に終了すると、ステップSP6では、メモリー端子をGNDレベルに設定する。ここでCO検出部340によるカートリッジアウト検出を行うことができる。このときに端子間の短絡(例えばCO1−VDD、CO2−SDA)が発生している場合には、CO検出部340が短絡を検出することができる。
ステップSP7では、装着検出用電圧VHOを装着検出端子DT1、DT2に印加して、装着検出を再開する。
ステップSP8では、メモリー端子を高インピーダンス状態HZに設定する。ここで端子間の短絡(例えばDT1−CO1、DT2−CO2)が発生している場合には、短絡検出部310がこれを検出することができる。
図8のフローチャートに示すように、本実施形態の印刷装置によれば、印刷装置が電源オンの時には、常に装着検出とCO検出を実行し、カートリッジが全て装着されているか、カートリッジが正しく装着されているかの検出を行う。メモリーアクセス時には、VHOの印加を停止し、メモリーアクセス時のノイズを低減すると共に、万が一、装着検出端子DT1、DT2とメモリー端子が短絡してもVHOがメモリー端子に印加されることを防止する。
メモリー非アクセス時には、メモリー端子を高インピーダンス状態とすることで、装着検出端子DT1、DT2と短絡検出端子CO1、CO2が短絡すれば、メモリー端子も装着検出端子DT1、DT2と短絡している可能性があるとしてVHOの印加を停止し、記憶装置203にVHOが印加される可能性を低くすることができる。その結果、装着検出を実行しつつ、信頼性の高いメモリーアクセスを実現することなどができる。
なお、詳細は省略するが、インクカートリッジ交換時には、装着検出とカートリッジアウト検出は、常に実行されているが、交換時にインクカートリッジのメモリー端子と印刷装置のVHOを供給する端子が誤って接触する恐れがあるため、主制御部400の指示により制御部300はメモリーの各端子(RST、SCK、SDA、VDD、VSS)を接地レベルに設定することで高電圧でのカートリッジ検出時のメモリーの保護を行う。
図9(A)〜図9(D)に、出力回路OB1〜OB4及び入出力回路IOBの詳細な構成例を示す。図9(A)はOB1、OB2、図9(B)はOB4、図9(C)はOB3、図9(D)はIOBの各構成例である。なお、本実施形態の出力回路OB1〜OB4及び入出力回路IOBは図9(A)〜図9(D)の構成に限定されず、その構成要素の一部を省略したり、他の構成要素に置き換えたり、他の構成要素を追加するなどの種々の変形実施が可能である。
図9(A)に示すように、出力回路OB1、OB2は、P型トランジスターTP1、TP2及びN型トランジスターTN1、TN2、TN3を含む。TP1、TN1は、静電気放電(ESD)による素子破壊(静電破壊)を防止するためのものである。TP2、TN2は、制御信号S1、S2によりそれぞれ制御され、端子CSCK(又はCRST)をHレベル、Lレベル、又は高インピーダンス状態に設定する。具体的には、S1、S2が共にLレベルである場合には端子CSCK(CRST)はHレベルに設定され、S1、S2が共にHレベルである場合にはLレベルに設定され、S1がHレベルでS2がLレベルである場合は高インピーダンス状態に設定される。TN3は制御信号S3により制御され、正常時にはS3はLレベルであるが、例えば高電圧が検出されるなどの異常時にはS3がHレベルになり、端子CSCK(CRST)をLレベルに引き下げるための増幅用バッファーとして動作する。
図9(B)に示すように、出力回路OB4は、制御信号S4により制御されるP型トランジスターTP4及びN型トランジスターTN4を含む。制御信号S4がHレベルである場合には端子CVSSはVSSレベル(接地レベル)に設定され、S4がLレベルである場合には高インピーダンス状態に設定される。TP4は静電破壊防止用素子であり、またTN4は静電破壊防止用素子としても動作する。
図9(C)に示すように、出力回路OB3は、制御信号S5により制御されるP型トランジスターTP5及び制御信号S6により制御されるN型トランジスターTN5を含む。制御信号S5、S6が共にLレベルである場合には端子CVDDはVDDレベルに設定され、S5、S6が共にHレベルである場合には端子CVDDはVSSレベルに設定される。またS5がHレベルでS6がLレベルである場合は高インピーダンス状態に設定される。なお、TP5、TN5は静電破壊防止用素子としても動作する。
図9(D)に示すように、入出力回路IOBは、P型トランジスターTP6、TP7、TP11及びN型トランジスターTN6、TN7、TN8、TN11を含む。TP6、TN6は静電破壊防止用素子である。TP7、TN7は制御信号S7、S8によりそれぞれ制御される。具体的には、S7、S8が共にLレベルである場合には端子CSDAはHレベルに設定され、S7、S8が共にHレベルである場合にはLレベルに設定され、S7がHレベルでS8がLレベルである場合は高インピーダンス状態に設定される。また、TP11及びTN11はトランスミッションゲート(アナログスイッチ)を構成し、制御信号S11、S12によりオン・オフされる。具体的には、端子CSDAが出力端子として用いられる場合には、S11がHレベル、S12がLレベルに設定されてトランスミッションゲートがオフ状態となる。一方、端子CSDAが入力端子として用いられる場合には、S11がLレベル、S12がHレベルに設定されてトランスミッションゲートがオン状態となり、端子CSDAに入力されたデータ信号がトランスミッションゲートを通過することができる。
このように図9(A)〜図9(D)の出力回路OB1〜OB4及び入出力回路IOBにより、メモリー端子RST、SCK、VDD、VSS、SDAを装着検出時には高インピーダンス状態に設定し、メモリーへのアクセス前にはVSSレベル(広義には一定の電圧レベル)に設定することができる。なお、制御信号S1〜S9、S11、S12は、上述した装着検出及びメモリーアクセスのフロー(図8)に従って、制御部300により生成される。
図10に、短絡検出部310及び電圧印加部320の詳細な構成例を示す。短絡検出部310は、コンパレーターCMP及び抵抗素子RSを含む。また、電圧印加部320は、P型トランジスターTPを含む。なお、本実施形態の短絡検出部310及び電圧印加部320は図10の構成に限定されず、その構成要素の一部を省略したり、他の構成要素に置き換えたり、他の構成要素を追加するなどの種々の変形実施が可能である。
上述したように、短絡の発生などにより、短絡検出端子CO1、CO2に異常な電圧が印加されているときには、検出ノードNDには、接地電圧(低電位側電源電圧)VSS(例えば0V)より高い電圧が生じる。検出ノードNDの電圧は、コンパレーターCMPの一方の入力端子(+)に印加される。また、コンパレーターCMPの他方の入力端子(−)には、参照電圧VREFが印加される。
コンパレーターCMPは、入力端子(+)の電圧が参照電圧VREFより低い場合には、短絡検出信号VSHTとしてLレベル(低電位レベル)を出力し、入力端子(+)の電圧が参照電圧VREFより高い場合には、短絡検出信号VSHTとしてHレベル(高電位レベル)を出力する。従って、短絡が発生している場合には、検出ノードNDの電圧が参照電圧VREFより高くなることで、短絡検出信号VSHTはHレベルに設定される。参照電圧VREFは、短絡が生じた場合に、記憶装置203などが破壊されない電圧値に設定される。
高電圧制御部360は、短絡検出部310が短絡を検出した場合、即ち、短絡検出信号VSHTがLレベルからHレベルに変化した場合に、制御信号VCNTをLレベルからHレベルに変化させる。
電圧印加部320のP型トランジスターTPは、ソースが高電圧電源ノードVHVに接続され、ゲートには高電圧制御部360からの制御信号VCNTが入力する。制御信号VCNTがLレベルの場合にはトランジスターTPがオン状態であるから、ドレインから装着検出用電圧VHOが出力される。一方、制御信号VCNTがHレベルの場合、即ち短絡が検出された場合にはトランジスターTPがオフ状態になるから、高電圧の供給が遮断される。従って、短絡検出部310が短絡を検出した場合には、高電圧制御部360からの制御信号VCNTがHレベルに設定され、トランジスターTPがオフ状態になり、その結果、装着検出用電圧VHOの供給は停止される。
装着検出用電圧VHOの供給が停止されると、印刷材収容体100の第1の装着検出端子DT1には高電圧が印加されなくなるから、端子DT1と端子CO1の短絡により検出ノードNDの電圧が高くなっていたときには検出ノードNDの電圧はLレベルに降下する。この場合には、短絡検出信号VSHTは再びLレベルに変化するが、高電圧制御部360は制御信号VCNTをHレベルに保持し続ける。このようにすることで、端子間の短絡が発生した場合に、短絡を検出して、高電圧の供給を停止することができる。
3.装着検出の手法
図11(A)、図11(B)は、本実施形態の印刷装置におけるインクカートリッジ(印刷材収容体)の装着検出の手法を説明する図である。図11(A)では、印刷装置のカートリッジ装着部1100に装着可能なカートリッジIC1〜IC4が全て装着された状態を示している。4つのカートリッジIC1〜IC4の装着検出用抵抗素子RDの抵抗値は、同一の値Rに設定されている。各カートリッジの装着検出用抵抗素子RDとそれぞれ直列接続される抵抗素子RB1〜RB4が設けられている。これらの抵抗素子RB1〜RB4の抵抗値は、互いに異なる値に設定されている。具体的には、これらの抵抗素子RB1〜RB4のうち、n番目(n=1〜4)のカートリッジICnに対応づけられた抵抗素子RBnの抵抗値は、(2−1)R(Rは一定値)に設定されている。この結果、n番目のカートリッジ内の装着検出用抵抗素子RDと、抵抗素子RBnとの直列接続によって、2Rの抵抗値を有する抵抗が形成される。n番目(n=1〜N)のカートリッジに対する2Rの抵抗は、装着検出部330に対して互いに並列に接続される。なお、以下では、装着検出用抵抗素子RDと抵抗素子RB1〜RB4との直列接続により形成される合成抵抗701〜704を単に「抵抗」とも呼ぶ。
装着検出部330で検出される検出電流IDETは、装着検出部330のバイアス電圧をVREFとすると、これらの4つの抵抗701〜704の合成抵抗値Rcで電圧(VHO−VREF)を除した値(VHO−VREF)/Rcである。ここで、カートリッジの個数をNとしたとき、N個のカートリッジが全て装着されている場合には、検出電流IDETは以下の式で与えられる。
Figure 2013094971
Figure 2013094971
1つ以上のカートリッジが未装着であれば、これに応じて合成抵抗値Rcが上昇し、検出電流IDETは低下する。
図11(B)は、カートリッジIC1〜IC4の装着状態と、検出電流IDETとの関係を示している。図の横軸は、16種類の装着状態を示しており、縦軸はこれらの装着状態における検出電流IDETの値を示している。16種類の装着状態は、4つのカートリッジIC1〜IC4から任意に1〜4個を選択することによって得られる16個の組み合わせに対応している。なお、これらの個々の組み合わせを「サブセット」とも呼ぶ。検出電流IDETは、これらの16種類の装着状態を一意に識別可能な電流値となる。換言すれば、4つのカートリッジIC1〜IC4に対応づけられた4つの抵抗701〜704の個々の抵抗値は、4つのカートリッジが取り得る16種類の装着状態が、互いに異なる合成抵抗値Rcを与えるように設定されている。
4つのカートリッジIC1〜IC4が全て装着状態にあれば、検出電流IDETはその最大値Imaxとなる。一方、最も抵抗値の大きな抵抗704に対応づけられたカートリッジIC4のみが未装着の状態では、検出電流IDETは最大値Imaxの0.93倍となる。従って、検出電流IDETが、これらの2つの電流値の間の値として予め設定されたしきい値電流Ithmax以上であるか否かを調べれば、4つのカートリッジIC1〜IC4が全て装着されているか否かを検出することが可能である。なお、装着検出のために、通常のロジック回路の電源電圧(約3.3V)よりも高い電圧VHOを使用する理由は、検出電流IDETのダイナミックレンジを広くとることによって、検出精度を高めるためである。
装着検出部330は、検出電流IDETをデジタル検出信号SIDETに変換して、CPU410(図6)にそのデジタル検出信号SIDETを送信する。CPU410は、このデジタル検出信号SIDETの値から、16種類の装着状態のいずれであるかを判定することが可能である。1つ以上のカートリッジが未装着であると判定された場合には、CPU410は、表示部430にその未装着状態を示す情報(文字や画像)を表示してユーザーに通知する。
上述したカートリッジの装着検出処理は、N個のカートリッジに関する2種類の装着状態に応じて合成抵抗値Rcが一意に決まり、これに応じて検出電流IDETが一意に決まることを利用している。ここで、抵抗701〜704の抵抗値の許容誤差をεと仮定する。また、全カートリッジIC1〜IC4が装着された状態の第1の合成抵抗値をRc1とし、4番目のカートリッジIC4のみが非装着である状態の第2の合成抵抗値をRc2とすると、Rc1<Rc2が成立する(図11(B))。この関係Rc1<Rc2は、各抵抗701〜704の抵抗値が許容誤差±εの範囲内で変動する場合にも成立することが好ましい。このとき、最悪条件は、許容誤差±εを考慮した場合に、第1の合成抵抗値Rc1がその最大値Rc1maxを取り、第2の合成抵抗値Rc2がその最小値Rc2minを取る場合である。これらの合成抵抗値Rc1max、Rc2minを識別できるようにするためには、Rc1max<Rc2minという条件が満足されていれば良い。この条件Rc1max<Rc2minから、以下の式が導かれる。
Figure 2013094971
すなわち、許容誤差±εが(3)式を満足すれば、常にN個のカートリッジの装着状態に応じて合成抵抗値Rcが一意に決まり、これに応じて検出電流IDETが一意に決まることを保証することができる。但し、実際の設計上の抵抗値の許容誤差は、(3)式の右辺の値よりも小さな値に設定することが好ましい。また、上述のような検討を行わずに、抵抗701〜704の抵抗値の許容誤差を十分に小さな値(例えば1%以下の値)に設定するようにしてもよい。
図12は、本実施形態の印刷装置の装着検出部330の詳細な構成例である。装着検出部330は、電流−電圧変換部710と、電圧比較部720と、比較結果記億部730と、電圧補正部740とを含む。なお、本実施形態の装着検出部330は図12の構成に限定されず、その構成要素の一部を省略したり、他の構成要素に置き換えたり、他の構成要素を追加するなどの種々の変形実施が可能である。
電流−電圧変換部710は、オペアンプ712と帰還抵抗R11とで構成される反転増幅回路である。オペアンプ712の出力電圧VDETは、以下の式で与えられる。
Figure 2013094971
ここで、VHOは電圧印加部320(図6)の出力電圧、Rcは4つの抵抗701〜704(図11(A))の合成抵抗である。この出力電圧VDETは、検出電流IDETに対応する電圧値を有する。
なお、(4)式で与えられる電圧VDETは、検出電流IDETによる電圧(IDET・R11)を反転した値を示す。そこで、電流−電圧変換部710に反転増幅器を追加し、この追加の反転増幅器で電圧VDETを反転した電圧を、電流−電圧変換部710の出力電圧として出力してもよい。この追加の反転増幅器の増幅率の絶対値は、1とすることが好ましい。
電圧比較部720は、しきい値電圧生成部722とコンパレーター724(オペアンプ)と切換制御部726とを有している。しきい値電圧生成部722は、参照電圧VREFを複数の抵抗R1〜Rmで分圧して得られる複数のしきい値電圧Vth(j)の一つを、切換スイッチ723で選択して出力する。これらの複数のしきい値電圧Vth(j)は、図11(B)に示した16種類の装着状態における検出電流IDETの値を識別するしきい値に相当する。コンパレーター724は、電流−電圧変換部710の出力電圧VDETと、しきい値電圧生成部722から出力されるしきい値電圧Vth(j)とを比較して、2値の比較結果を出力する。
切換制御部726は、出力電圧VDETとしきい値電圧Vth(j)との比較結果に基づいて、次にしきい値電圧生成部722から出力すべき電圧値Vth(j)を切り換える制御を行う。
比較結果記億部730は、電圧比較部720から出力される2値の比較結果に基づいて、ビットレジスター734内の適切なビット位置にフラグを立てる(例えば1を書き込む)。この切換スイッチ732の切り換えタイミングは、切換制御部726から指定される。ビットレジスター734は、印刷装置に装着可能な個々のカートリッジの装着の有無を示すN個(ここではN=4)のカートリッジ検出ビットと、異常な電流値が検出されたことを示す異常フラグビットとを有している。異常フラグビットは、全てのカートリッジが装着されている状態での電流値Imax(図11(B))に比べて有意に大きな電流が流れている場合にHレベルとなる。但し、異常フラグビットは省略可能である。ビットレジスター734に格納された複数のビット値は、デジタル検出信号SIDET(検出電流信号)として主制御部400のCPU410(図6)に送信される。CPU410は、このデジタル検出信号SIDETのビット値から、個々のカートリッジが装着されているか否かを判定する。前述したように、デジタル検出信号SIDETの4つのビット値は、個々のカートリッジが装着されているか否かを示している。従って、CPU410は、デジタル検出信号SIDETの個々のビット値から、個々のカートリッジが装着されているか否かを直ちに判定することが可能である。
電圧比較部720と比較結果記億部730の両者は、いわゆるA−D変換部を構成している。A−D変換部としては、図12に示した電圧比較部720と比較結果記億部730の代わりに、周知の他の種々の構成を採用することが可能である。
電圧補正部740は、しきい値電圧生成部722で生成される複数のしきい値電圧Vth(j)を、装着検出用電圧VHOの変動に追従して補正するための回路である。電圧補正部740は、オペアンプ742と2つの抵抗R21、R22とを含む反転増幅回路として構成されている。オペアンプ742の反転入力端子には、入力抵抗R22を介して電圧印加部320の出力電圧VHOが入力されており、非反転入力端子には参照電圧VREFが入力されている。このとき、オペアンプ742の出力電圧AGNDは以下の式で与えられる。
Figure 2013094971
この電圧AGNDは、しきい値電圧生成部722の低電圧側の基準電圧AGNDとして使用される。例えば、VREF=2.4V、VHO=42V、R21=20kΩ、R22=400kΩとすれば、AGND=0.42Vとなる。上述した(4)式と、(5)式とを比較すれば理解できるように、しきい値電圧生成部722の低電圧側の基準電圧AGNDは、検出電圧値VDETと同様に、電圧印加部320の出力電圧VHOの値に応じて変化する。これらの2つの電圧AGND、VDETの差異は、抵抗比R21/R22、R11/Rcの差から生じている。このような電圧補正部740を使用すれば、電源電圧VHVが何らかの原因で変動しても、しきい値電圧生成部722で生成される複数のしきい値電圧Vth(j)が、電源電圧VHVの変動に追従して変化する。この結果、検出電圧値VDETと複数のしきい値電圧Vth(j)の両方が、電源電圧VHVの変動に追従して変化するので、電圧比較部720において正確な装着状態を表す比較結果を得ることができる。特に、抵抗比R21/R22と抵抗比R11/Rc1(Rc1は全カートリッジ装着時の合成抵抗値)の値を等しく設定すれば、検出電圧値VDETと複数のしきい値電圧Vth(j)を、電源電圧VHVの変動に対してほぼ同じ変化幅で変化するように正確に追従させることが可能である。但し、電圧補正部740は省略してもよい。
以上説明したように、本実施形態の印刷装置によれば、複数のインクカートリッジを用いる場合において、インクミスト等により回路基板の端辺側にある印刷材収容体に端子間の短絡が発生した場合でも、他の印刷材収容体の記憶装置などに高電圧が印加されることを防止できる。さらにこの装着検出時において、インクカートリッジの端子間で短絡が発生している場合に、その短絡を検出して装着検出用の高電圧の供給を停止することができる。また、記憶装置へのアクセス時に高電圧の印加を停止することができるから、ノイズの発生を抑えることができる。その結果、インクカートリッジの装着検出を確実で安全に行うことができる。
なお、制御部300により実行される制御、例えば装着検出、CO検出、短絡検出、高電圧の遮断などに必要な制御は、主制御部400が実行してもよい。
なお、以上のように本実施形態について詳細に説明したが、本発明の新規事項及び効果から実体的に逸脱しない多くの変形が可能であることは当業者には容易に理解できるであろう。従って、このような変形例は全て本発明の範囲に含まれるものとする。例えば、明細書又は図面において、少なくとも一度、より広義又は同義な異なる用語と共に記載された用語は、明細書又は図面のいかなる箇所においても、その異なる用語に置き換えることができる。また印刷装置及び印刷装置用回路基板の構成、動作も本実施形態で説明したものに限定されず、種々の変形実施が可能である。
100 インクカートリッジ(印刷材収容体)、200 基板、201 ボス溝、
202 ボス穴、203 記憶装置、300 制御部、310 短絡検出部、
320 電圧印加部、330 装着検出部、340 CO検出部、
350 通信処理部、360 高電圧制御部、400 主制御部、410 CPU、
420 メモリー、430 表示部、441 低電圧電源、442 高電圧電源、
450 回路基板、
TG1〜TG6 第1〜第6の端子群、MBS バス、
CO1、CO2 第1、第2の短絡検出端子、
DT1、DT2 第1、第2の装着検出端子、RST リセット端子、
SCK クロック端子、SDA データ端子、VDD 電源端子、
VSS 接地端子、ND 検出ノード

Claims (11)

  1. 印刷材情報を記憶する記憶装置と複数の記憶装置用端子とをそれぞれ有する第1の印刷材収容体〜第n(nは2以上の整数)の印刷材収容体と、
    前記第1の印刷材収容体〜前記第nの印刷材収容体の前記複数の記憶装置用端子に接続され、前記記憶装置に対してデータの読み出し又は書き込みの制御を行う制御部とを含み、
    前記第1の印刷材収容体〜前記第nの印刷材収容体のうちの第i(iは1<i<n−1である整数)の印刷材収容体〜第j(jはi<j<nである整数)の印刷材収容体の各々の前記複数の記憶装置用端子は、バスにより前記制御部と共通接続され、
    前記第1の印刷材収容体の前記複数の記憶装置用端子は、前記バスと分離されて前記制御部と接続され、
    前記第nの印刷材収容体の前記複数の記憶装置用端子は、前記バスと分離されて前記制御部と接続されることを特徴とする印刷装置。
  2. 請求項1において、
    前記制御部が実装され、前記第1の印刷材収容体〜前記第nの印刷材収容体の前記複数の記憶装置用端子が接続される第1の端子群〜第nの端子群と、前記バスのバス配線とを有する回路基板を含み、
    前記第1の端子群は、前記回路基板の第1の端辺側に配置され、
    前記第nの端子群は、前記回路基板の前記第1の端辺に対向する第2の端辺側に配置されることを特徴とする印刷装置。
  3. 請求項1又は2において、
    前記第iの印刷材収容体は、前記第1の印刷材収容体〜前記第nの印刷材収容体のうちの第2の印刷材収容体であり、
    前記第jの印刷材収容体は、前記第1の印刷材収容体〜前記第nの印刷材収容体のうちの第n−1の印刷材収容体であることを特徴とする印刷装置。
  4. 請求項1乃至3のいずれかにおいて、
    前記第iの印刷材収容体〜前記第jの印刷材収容体の前記複数の記憶装置用端子は、クロック端子、データ端子、第1の電源端子及び第2の電源端子をそれぞれ有し、
    前記クロック端子、前記データ端子、前記第1の電源端子及び前記第2の電源端子は、それぞれ前記バスにより前記制御部と共通接続されることを特徴とする印刷装置。
  5. 請求項4において、
    前記第iの印刷材収容体〜前記第jの印刷材収容体の前記複数の記憶装置用端子は、それぞれリセット端子をさらに有することを特徴とする印刷装置。
  6. 請求項1乃至5のいずれかにおいて、
    前記制御部は、前記第1の印刷材収容体〜前記第nの印刷材収容体の装着を検出する装着検出部を有し、
    前記第iの印刷材収容体〜前記第jの印刷材収容体は、装着検出端子をそれぞれ有し、
    前記装着検出端子は、前記制御部に共通接続されることを特徴とする印刷装置。
  7. 請求項6において、
    前記第iの印刷材収容体〜前記第jの印刷材収容体のうちの、第k(kはi≦k≦j−2である整数)の印刷材収容体の前記装着検出端子と第k+2の印刷材収容体の前記装着検出端子とは、前記制御部に共通接続されることを特徴とする印刷装置。
  8. 請求項6又は7のいずれかにおいて、
    前記制御部は、前記装着検出部が前記第1の印刷材収容体〜前記第nの印刷材収容体の装着を検出する際に、前記複数の記憶装置用端子を高インピーダンス状態に設定することを特徴とする印刷装置。
  9. 第1の印刷材収容体〜第n(nは2以上の整数)の印刷材収容体が接続される第1の端子群〜第nの端子群と、
    前記第1の端子群〜前記第nの端子群のうちの第i(iは1<i<n−1である整数)の端子群〜第j(jはi<j<nである整数)の端子群を制御部に共通接続するバス配線とを含み、
    前記第1の端子群は、前記バス配線と分離されて前記制御部と接続され、
    前記第nの端子群は、前記バス配線と分離されて前記制御部と接続されることを特徴とする印刷装置用回路基板。
  10. 請求項9において、
    前記第1の端子群〜前記第nの端子群は、
    前記第1の印刷材収容体〜前記第nの印刷材収容体が有する記憶装置にアクセスするための複数の記憶装置用端子をそれぞれ有することを特徴とする印刷装置用回路基板。
  11. 請求項9又は10において、
    前記第1の端子群〜前記第nの端子群は、
    前記第1の印刷材収容体〜前記第nの印刷材収容体の装着を検出するための装着検出端子をそれぞれ有することを特徴とする印刷装置用回路基板。
JP2011236794A 2011-10-28 2011-10-28 印刷装置及び印刷装置用回路基板 Active JP5884408B2 (ja)

Priority Applications (2)

Application Number Priority Date Filing Date Title
JP2011236794A JP5884408B2 (ja) 2011-10-28 2011-10-28 印刷装置及び印刷装置用回路基板
CN201210431393.2A CN103085490B (zh) 2011-10-28 2012-10-29 印刷装置以及印刷装置用电路基板

Applications Claiming Priority (1)

Application Number Priority Date Filing Date Title
JP2011236794A JP5884408B2 (ja) 2011-10-28 2011-10-28 印刷装置及び印刷装置用回路基板

Publications (2)

Publication Number Publication Date
JP2013094971A true JP2013094971A (ja) 2013-05-20
JP5884408B2 JP5884408B2 (ja) 2016-03-15

Family

ID=48198836

Family Applications (1)

Application Number Title Priority Date Filing Date
JP2011236794A Active JP5884408B2 (ja) 2011-10-28 2011-10-28 印刷装置及び印刷装置用回路基板

Country Status (2)

Country Link
JP (1) JP5884408B2 (ja)
CN (1) CN103085490B (ja)

Cited By (2)

* Cited by examiner, † Cited by third party
Publication number Priority date Publication date Assignee Title
JP2017019167A (ja) * 2015-07-09 2017-01-26 ブラザー工業株式会社 印刷システム及び印刷装置
CN114148092A (zh) * 2018-12-03 2022-03-08 惠普发展公司,有限责任合伙企业 可更换打印装置部件

Citations (2)

* Cited by examiner, † Cited by third party
Publication number Priority date Publication date Assignee Title
JP2000218818A (ja) * 1998-11-26 2000-08-08 Seiko Epson Corp インク容器およびそれを用いる印刷装置
JP2007196664A (ja) * 2005-12-26 2007-08-09 Seiko Epson Corp 印刷材収納体および印刷材収容体に装着される基板

Family Cites Families (6)

* Cited by examiner, † Cited by third party
Publication number Priority date Publication date Assignee Title
JP4081963B2 (ja) * 2000-06-30 2008-04-30 セイコーエプソン株式会社 記憶装置および記憶装置に対するアクセス方法
JP4539654B2 (ja) * 2004-09-01 2010-09-08 セイコーエプソン株式会社 印刷装置
JP5151372B2 (ja) * 2007-10-01 2013-02-27 セイコーエプソン株式会社 液体噴射装置、および、液体噴射装置の制御方法
CN102089153A (zh) * 2008-07-11 2011-06-08 精工爱普生株式会社 液体容器、液体喷射装置以及液体喷射系统
WO2010004743A1 (ja) * 2008-07-11 2010-01-14 セイコーエプソン株式会社 液体容器、液体噴射装置、および、液体噴射システム
JP2011189730A (ja) * 2010-02-22 2011-09-29 Seiko Epson Corp 記憶装置、基板、液体容器、ホスト装置及びシステム

Patent Citations (2)

* Cited by examiner, † Cited by third party
Publication number Priority date Publication date Assignee Title
JP2000218818A (ja) * 1998-11-26 2000-08-08 Seiko Epson Corp インク容器およびそれを用いる印刷装置
JP2007196664A (ja) * 2005-12-26 2007-08-09 Seiko Epson Corp 印刷材収納体および印刷材収容体に装着される基板

Cited By (3)

* Cited by examiner, † Cited by third party
Publication number Priority date Publication date Assignee Title
JP2017019167A (ja) * 2015-07-09 2017-01-26 ブラザー工業株式会社 印刷システム及び印刷装置
CN114148092A (zh) * 2018-12-03 2022-03-08 惠普发展公司,有限责任合伙企业 可更换打印装置部件
CN114148092B (zh) * 2018-12-03 2024-01-30 惠普发展公司,有限责任合伙企业 可更换打印装置部件

Also Published As

Publication number Publication date
CN103085490A (zh) 2013-05-08
JP5884408B2 (ja) 2016-03-15
CN103085490B (zh) 2016-08-31

Similar Documents

Publication Publication Date Title
JP5861313B2 (ja) 印刷装置
CN202053682U (zh) 记录材料供应系统、电路基板、构造体以及墨盒
JP5853436B2 (ja) 印刷装置
US8690280B2 (en) Printing apparatus, printing material cartridge, printing material container adapter, cartridge set, and adapter set
JP5760701B2 (ja) 印刷装置
US8807720B2 (en) Printing material cartridge, cartridge set and printing apparatus
US8616674B2 (en) Printing apparatus
JP5884408B2 (ja) 印刷装置及び印刷装置用回路基板
JP5862319B2 (ja) 回路装置及び印刷装置
JP2012125958A (ja) 印刷装置及び印刷材カートリッジ
JP5915094B2 (ja) 印刷装置
JP5998494B2 (ja) 回路基板、印刷材収容体及び印刷装置
JP5998495B2 (ja) 回路基板、印刷材収容体及び印刷装置

Legal Events

Date Code Title Description
A621 Written request for application examination

Free format text: JAPANESE INTERMEDIATE CODE: A621

Effective date: 20141021

A131 Notification of reasons for refusal

Free format text: JAPANESE INTERMEDIATE CODE: A131

Effective date: 20150811

A977 Report on retrieval

Free format text: JAPANESE INTERMEDIATE CODE: A971007

Effective date: 20150812

A521 Written amendment

Free format text: JAPANESE INTERMEDIATE CODE: A523

Effective date: 20150904

TRDD Decision of grant or rejection written
A01 Written decision to grant a patent or to grant a registration (utility model)

Free format text: JAPANESE INTERMEDIATE CODE: A01

Effective date: 20160112

A61 First payment of annual fees (during grant procedure)

Free format text: JAPANESE INTERMEDIATE CODE: A61

Effective date: 20160125

R150 Certificate of patent or registration of utility model

Ref document number: 5884408

Country of ref document: JP

Free format text: JAPANESE INTERMEDIATE CODE: R150

S531 Written request for registration of change of domicile

Free format text: JAPANESE INTERMEDIATE CODE: R313531

R350 Written notification of registration of transfer

Free format text: JAPANESE INTERMEDIATE CODE: R350