JP2013083347A - Motion device - Google Patents

Motion device Download PDF

Info

Publication number
JP2013083347A
JP2013083347A JP2012184468A JP2012184468A JP2013083347A JP 2013083347 A JP2013083347 A JP 2013083347A JP 2012184468 A JP2012184468 A JP 2012184468A JP 2012184468 A JP2012184468 A JP 2012184468A JP 2013083347 A JP2013083347 A JP 2013083347A
Authority
JP
Japan
Prior art keywords
block
upper plate
collar
exercise device
linear motion
Prior art date
Legal status (The legal status is an assumption and is not a legal conclusion. Google has not performed a legal analysis and makes no representation as to the accuracy of the status listed.)
Pending
Application number
JP2012184468A
Other languages
Japanese (ja)
Inventor
Takeki Shirai
武樹 白井
Tadashi Hirokawa
忠 廣川
Kensho Chikamoto
憲昭 近本
Current Assignee (The listed assignees may be inaccurate. Google has not performed a legal analysis and makes no representation or warranty as to the accuracy of the list.)
THK Co Ltd
Original Assignee
THK Co Ltd
Priority date (The priority date is an assumption and is not a legal conclusion. Google has not performed a legal analysis and makes no representation as to the accuracy of the date listed.)
Filing date
Publication date
Application filed by THK Co Ltd filed Critical THK Co Ltd
Priority to JP2012184468A priority Critical patent/JP2013083347A/en
Publication of JP2013083347A publication Critical patent/JP2013083347A/en
Pending legal-status Critical Current

Links

Images

Landscapes

  • Bearings For Parts Moving Linearly (AREA)

Abstract

PROBLEM TO BE SOLVED: To provide a motion device that can reduce a moment load caused by a difference in an installation surface, and also can adjust and maintain the rigidity when a moment load acts.SOLUTION: The motion device 40 includes: at least one or more track bodies 1; a plurality of moving bodies 2 movable on the track body 1; a mounting body 3 spaced apart from a placement surface 17 of the moving body 2; an elastic body 32 disposed between the moving body 2 and the mounting body 3, and for separating the moving body 2 and the mounting body 3; and a plurality of coupling parts 36 for coupling the moving body 2 and the mounting body 3 such that the relative attitude thereof is variable.

Description

本発明は、軌道体上をその延在方向に沿って移動体が往復移動可能とされた運動装置に関するものである。   The present invention relates to an exercise device in which a moving body can reciprocate on a track body along its extending direction.

従来、直動ガイド等の運動装置は、例えば半導体分野の精密加工装置等に用いられており、近年では、より広い分野で多種多様に用いられるようになった。
このように運動装置が多目的に用いられるに従い、下記のような課題が生じていた。
Conventionally, exercise devices such as linear motion guides have been used in precision processing devices in the semiconductor field, for example, and in recent years, they have been used in a wide variety of fields.
As the exercise apparatus is used for multiple purposes, the following problems have arisen.

すなわち、例えば軌道体を設置する場所に凹凸があったり、設置する装置の剛性が確保されていなかったり、設置場所の温度変化によって変位が生じたりすることによって、運動装置の取り付けや動作に誤差が生じることがあった。
また、この種の運動装置は、1つの軌道体上に該軌道体の延在方向に離間して複数の移動体を備えたり、並行する複数の軌道体上のそれぞれに移動体を備えたりして使用に供されるとともに、各移動体同士が運動させるテーブル等の対象物に連結されるため、前述のような誤差によって互いに力を及ぼし合うなどしてスムースな動作ができなくなったり、運動装置が故障したりするおそれがあった。
In other words, for example, there are irregularities in the place where the track body is installed, the rigidity of the installation device is not secured, or displacement occurs due to the temperature change of the installation location, and there is an error in the installation and operation of the exercise device. It sometimes occurred.
In addition, this type of motion apparatus includes a plurality of moving bodies that are separated from each other in the extending direction of the track body on one track body, and each of the plurality of track bodies in parallel includes a moving body. Since each moving body is connected to a target object such as a table that moves each other, the above-mentioned error causes a force to be applied to each other and smooth operation cannot be performed. Could break down.

例えば、下記特許文献1に示される運動装置は、軌道レール(軌道体)と、軌道レール上を移動可能なブロック(移動体)と、ブロック上に連結されるアッパープレート(取付体)と、を備えている。そして、前述の課題に対応するため、ブロックとアッパープレートとの間に皿バネを配設して、上下方向の高さを調整するようにしている。   For example, an exercise device shown in Patent Literature 1 below includes a track rail (track body), a block (movable body) movable on the track rail, and an upper plate (mounting body) connected to the block. I have. And in order to cope with the above-mentioned subject, the disc spring is arrange | positioned between a block and an upper plate, and the height of an up-down direction is adjusted.

実公昭54−21817号公報Japanese Utility Model Publication No.54-21817

しかしながら、前記従来の運動装置は、ピッチング方向及びローリング方向の加工誤差を吸収できなかった。具体的に、前述のように移動体が複数設けられる使用においては、これら移動体同士が互いに力を及ぼし合わないように、あらゆる方向のモーメント荷重を負荷できることが要求されていた。   However, the conventional exercise device cannot absorb machining errors in the pitching direction and the rolling direction. Specifically, in the use in which a plurality of moving bodies are provided as described above, it is required that moment loads in all directions can be applied so that these moving bodies do not exert forces on each other.

本発明は、このような事情に鑑みてなされたものであって、取付面(軌道体を設置する場所)の誤差によって生じる(移動体に作用する)モーメント荷重を緩和でき、かつ、モーメント荷重の負荷が作用した時に剛性を調整維持できる運動装置を提供することを目的としている。   The present invention has been made in view of such circumstances, and can reduce a moment load (acting on a moving body) caused by an error of a mounting surface (a place where a track body is installed), and the moment load can be reduced. An object of the present invention is to provide an exercise device capable of adjusting and maintaining rigidity when a load is applied.

上記目的を達成するために、本発明は以下の手段を提案している。
本発明に係る運動装置は、少なくとも1つ以上の軌道体と、前記軌道体上を移動可能な複数の移動体と、前記移動体の載置面から離間して配置される取付体と、前記移動体と前記取付体の間に配置されて、前記移動体と前記取付体を離間させる弾性体と、前記移動体と前記取付体の相対姿勢を変更可能に連結する複数の連結部と、を備えることを特徴とする。
In order to achieve the above object, the present invention proposes the following means.
The exercise device according to the present invention includes at least one or more track bodies, a plurality of mobile bodies that are movable on the track bodies, an attachment body that is disposed apart from a mounting surface of the mobile bodies, An elastic body that is disposed between the moving body and the mounting body and separates the moving body and the mounting body; and a plurality of connecting portions that connect the movable body and the mounting body in a changeable relative posture. It is characterized by providing.

本発明に係る運動装置によれば、取付面の誤差によって生じるモーメント荷重を緩和でき、かつ、モーメント荷重の負荷が作用した時に剛性を調整維持できる。   According to the exercise device of the present invention, the moment load caused by the error of the mounting surface can be reduced, and the rigidity can be adjusted and maintained when the moment load is applied.

本発明の第1実施形態に係る運動装置の分解斜視図であり、要部を断面で示す図である。It is a disassembled perspective view of the exercise device which concerns on 1st Embodiment of this invention, and is a figure which shows the principal part in a cross section. 図1の運動装置の正面図であり、要部を断面で示す図である。It is a front view of the exercise device of FIG. 1, and is a figure which shows a principal part in cross section. 図1の運動装置の支承部近傍を拡大して示す断面図である。It is sectional drawing which expands and shows the support part vicinity of the exercise device of FIG. 図1の運動装置の支承部の変形例を示す断面図である。It is sectional drawing which shows the modification of the support part of the exercise device of FIG. 本発明の第2実施形態に係る運動装置を示す部分透過斜視図である。It is a partial see-through perspective view showing an exercise device concerning a 2nd embodiment of the present invention. 図5の運動装置の正断面図である。FIG. 6 is a front sectional view of the exercise device of FIG. 5. 本発明の第3実施形態に係る運動装置の分解斜視図であり、要部を断面で示す図である。It is a disassembled perspective view of the exercise device which concerns on 3rd Embodiment of this invention, and is a figure which shows the principal part in a cross section. 図7の運動装置の要部を説明する正断面図である。FIG. 8 is a front sectional view for explaining a main part of the exercise device of FIG. 7. 本発明の第4実施形態に係る運動装置の要部を断面で示す図である。It is a figure which shows the principal part of the exercise device which concerns on 4th Embodiment of this invention in a cross section. 図9の運動装置の支承部の変形例を示す断面図である。It is sectional drawing which shows the modification of the support part of the exercise device of FIG. 本発明の第5実施形態に係る運動装置の要部を断面で示す図である。It is a figure which shows the principal part of the exercise apparatus which concerns on 5th Embodiment of this invention in a cross section. 本発明の実施例及び比較例を説明する側面図である。It is a side view explaining the Example and comparative example of this invention. 本発明の実施例及び比較例(MA方向転がり抵抗確認試験)を説明する上面図である。It is a top view explaining the Example and comparative example (MA direction rolling resistance confirmation test) of this invention. 本発明の実施例及び比較例(MC方向転がり抵抗確認試験)を説明する上面図である。It is a top view explaining the Example and comparative example (MC direction rolling resistance confirmation test) of this invention. 本発明の実施例及び比較例(MA方向転がり抵抗確認試験)を説明するグラフである。It is a graph explaining the Example and comparative example (MA direction rolling resistance confirmation test) of this invention. 本発明の実施例及び比較例(MC方向転がり抵抗確認試験)を説明するグラフである。It is a graph explaining the Example and comparative example (MC direction rolling resistance confirmation test) of this invention. 本発明の実施例(耐久確認試験)を説明する透過斜視図である。It is a permeation | transmission perspective view explaining the Example (endurance confirmation test) of this invention. 比較例(耐久確認試験)を説明する透過斜視図である。It is a permeation | transmission perspective view explaining a comparative example (endurance confirmation test). 本発明の実施例(負荷分布シミュレーション)を説明する図である。It is a figure explaining the Example (load distribution simulation) of this invention. 比較例(負荷分布シミュレーション)を説明する図である。It is a figure explaining a comparative example (load distribution simulation).

(第1実施形態)
以下、本発明に係る運動装置の第1実施形態である直動ガイド40について、図1〜図4を参照して説明する。
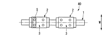
図1、図2に示されるように、直動ガイド40は、少なくとも1つ以上の軌道レール(軌道体)1と、軌道レール1上をその延在方向に沿って移動可能な複数のブロック(移動体)2と、ブロック2上に連結されるアッパープレート(取付体)3と、を備えている。
尚、ブロック2は、1つの軌道レール1上に該軌道レール1の延在方向に離間して複数設けられたり、並行する複数の軌道レール1上のそれぞれに設けられたり、これらの組み合わせで設けられる。図1及び図2では、軌道レール1及びブロック2を各1つずつ示している。
(First embodiment)
Hereinafter, the linear motion guide 40 which is 1st Embodiment of the exercise device which concerns on this invention is demonstrated with reference to FIGS.
As shown in FIGS. 1 and 2, the linear motion guide 40 includes at least one or more track rails (track bodies) 1 and a plurality of blocks (movable on the track rails 1 along the extending direction) ( (Moving body) 2 and an upper plate (attachment body) 3 connected to the block 2.
A plurality of blocks 2 are provided on one track rail 1 so as to be spaced apart from each other in the extending direction of the track rail 1, provided on each of the plurality of parallel track rails 1, or a combination thereof. It is done. 1 and 2, one track rail 1 and one block 2 are shown.

以下の説明においては、軌道レール1、ブロック2及びアッパープレート3が互いに重なり合う方向を高さ方向H(図2における上下方向)と言い、この高さ方向Hのうちアッパープレート3側を上側、軌道レール1側を下側と言う。また、高さ方向Hに垂直な面方向のうち、軌道レール1が延在する方向を長さ方向Lと言い、長さ方向Lに垂直な方向を幅方向W(図2における左右方向)と言う。
尚、本実施形態では、高さ方向Hが鉛直方向となっており、高さ方向Hに垂直な面方向が水平面方向となっている。
In the following description, the direction in which the track rail 1, the block 2, and the upper plate 3 overlap each other is referred to as a height direction H (the vertical direction in FIG. 2). The rail 1 side is called the lower side. Of the surface directions perpendicular to the height direction H, the direction in which the track rail 1 extends is referred to as a length direction L, and the direction perpendicular to the length direction L is referred to as a width direction W (left-right direction in FIG. 2). say.
In the present embodiment, the height direction H is the vertical direction, and the surface direction perpendicular to the height direction H is the horizontal plane direction.

図2において、軌道レール1は、長さ方向Lに垂直な断面が略矩形状をなしている。軌道レール1の外面のうち、高さ方向Hの上側を向く上面4、及び、下側を向く下面5は、研削レスな平面(すなわち仕上げ加工が施されていない平面)となっている。また、軌道レール1の外面のうち、幅方向Wを向く一対の側面6は、その高さ方向Hの中央部が上部及び下部よりも窪まされている。側面6の上部には、長さ方向Lに沿って延びる凹溝状の転動体転走面7が複数形成されている。   In FIG. 2, the track rail 1 has a substantially rectangular cross section perpendicular to the length direction L. Of the outer surface of the track rail 1, the upper surface 4 facing the upper side in the height direction H and the lower surface 5 facing the lower side are flat surfaces that are not ground (that is, flat surfaces that have not been finished). Moreover, the center part of the height direction H of the pair of side surfaces 6 facing the width direction W among the outer surfaces of the track rail 1 is recessed from the upper part and the lower part. A plurality of grooved rolling element rolling surfaces 7 extending along the length direction L are formed in the upper portion of the side surface 6.

軌道レール1には、高さ方向Hに延びるとともに上面4及び下面5に開口する貫通孔8が、長さ方向Lに間隔をあけて複数形成されている。貫通孔8は、軌道レール1を当該直動ガイド40の設置箇所であるベース部(不図示)に取り付ける際に使用されるものであり、設置時においてボルト等が挿通される。また、軌道レール1をベース部に設置することにより、該軌道レール1の下面5がベース部の取付面に当接することから、該下面5は軌道レール1の設置面となる。   A plurality of through-holes 8 extending in the height direction H and opening in the upper surface 4 and the lower surface 5 are formed in the track rail 1 at intervals in the length direction L. The through hole 8 is used when the track rail 1 is attached to a base portion (not shown) where the linear motion guide 40 is installed, and a bolt or the like is inserted at the time of installation. In addition, by installing the track rail 1 on the base portion, the lower surface 5 of the track rail 1 comes into contact with the mounting surface of the base portion, so that the lower surface 5 becomes the installation surface of the track rail 1.

ブロック2は、直方体状のブロック本体9と、ブロック本体9を長さ方向Lの両側から挟むように一対配設される平板状のエンドプレート11と、を備えている。
図2において、ブロック本体9は、長さ方向Lに垂直な断面が下側に向けて開口するC字状又はコ字状をなしており、その長さ方向Lに延在するとともに下側に向けて開口された凹溝状の凹部12に、軌道レール1の上部が収容可能とされている。
The block 2 includes a rectangular parallelepiped block main body 9 and a pair of flat end plates 11 disposed so as to sandwich the block main body 9 from both sides in the length direction L.
In FIG. 2, the block body 9 has a C-shape or a U-shape in which a cross section perpendicular to the length direction L opens downward, extends in the length direction L, and extends downward. The upper part of the track rail 1 can be accommodated in the recessed part 12 having a groove shape that is open.

図4に示されるように、ブロック2の凹部12には、軌道レール1の転動体転走面7に対向するように長さ方向Lに沿って延びる負荷転動体転走面13が複数形成されている。
また、軌道レール1の転動体転走面7と、該転動体転走面7に対向配置される負荷転動体転走面13とにより形成される空間(長さ方向Lに延在する室)が、負荷転動体転走路14となっている。
また、凹部12内において下側を向く奥面16と軌道レール1の上面4との間には、隙間が形成されている。また、凹部12内において幅方向Wを向く内側面37と軌道レール1の側面6との間にも、隙間が形成されている。
As shown in FIG. 4, a plurality of load rolling element rolling surfaces 13 extending along the length direction L are formed in the recess 12 of the block 2 so as to face the rolling element rolling surface 7 of the track rail 1. ing.
Further, a space (a chamber extending in the length direction L) formed by the rolling element rolling surface 7 of the track rail 1 and the loaded rolling element rolling surface 13 disposed to face the rolling element rolling surface 7. However, the load rolling element rolling path 14 is formed.
Further, a gap is formed between the back surface 16 facing downward in the recess 12 and the upper surface 4 of the track rail 1. Further, a gap is also formed between the inner side surface 37 facing the width direction W in the recess 12 and the side surface 6 of the track rail 1.

また、負荷転動体転走路14は、ブロック2内に形成された無端の長円環状又は楕円環状をなす無限循環路において、長さ方向Lに延びる一対の直線状部分のうち一方の直線状部分を形成している。また、無限循環路における他方の直線状部分は転動体戻り通路とされている。また、無限循環路のうち、一対の直線状部分の端部同士を連結する半円弧状の曲線状部分は転動体方向転換路とされており、転動体方向転換路は、無限循環路の長さ方向Lの両端に一対形成されている。尚、図4では、無限循環路のうち負荷転動体転走路14以外の図示を省略している。   Further, the loaded rolling element rolling path 14 is an endless elliptical ring or an elliptical annular path formed in the block 2 and is one linear part of a pair of linear parts extending in the length direction L. Is forming. The other linear part in the infinite circulation path is a rolling element return path. In addition, the semicircular arc-shaped curved portion connecting the ends of the pair of linear portions in the infinite circulation path is a rolling element direction changing path, and the rolling element direction changing path is the length of the infinite circulation path. A pair is formed at both ends in the length direction L. In FIG. 4, illustrations other than the load rolling element rolling path 14 in the infinite circulation path are omitted.

また、ブロック2に形成された無限循環路のうち、負荷転動体転走路14及び前記転動体戻り通路は、ブロック本体9に対応する部位に形成されている。また、前記転動体方向転換路は、エンドプレート11に対応する部位に形成されている。   Of the endless circulation path formed in the block 2, the load rolling element rolling path 14 and the rolling element return path are formed in portions corresponding to the block body 9. Further, the rolling element direction changing path is formed at a portion corresponding to the end plate 11.

また、ブロック2の無限循環路内には、該ブロック2と軌道レール1との間で転走(転動)する複数のボール(転動体)15が保持されている。これらボール15は、前述のように構成された無限循環路内に略隙間無く配設されて、路内を循環自在とされている。そして、これらボール15を介して、軌道レール1上にブロック2が連結されているとともに、ボール15の転走及び循環によって、軌道レール1上をブロック2が往復移動可能とされている。   A plurality of balls (rolling elements) 15 that roll (roll) between the block 2 and the track rail 1 are held in the endless circulation path of the block 2. These balls 15 are arranged in the endless circulation path configured as described above with almost no gap, and can circulate in the path. The block 2 is connected to the track rail 1 through these balls 15, and the block 2 can reciprocate on the track rail 1 by rolling and circulation of the balls 15.

図1において、ブロック2の上面(載置面)17は、矩形状をなしており、その幅方向Wの中央部は両端部よりも一段窪まされた凹部18となっている。また、上面17における前記両端部は、研削レスの平面となっている。図2において、上面17の前記両端部には、該上面17の四隅に位置するようにネジ穴19が4つ穿設されている。尚、ネジ穴19は、上面17に四箇所穿設されていればよく、該上面17の四隅に配置されていなくても構わない。   In FIG. 1, the upper surface (mounting surface) 17 of the block 2 has a rectangular shape, and the central portion in the width direction W is a recess 18 that is recessed by one step from both ends. Moreover, the said both ends in the upper surface 17 become a grinding-less plane. In FIG. 2, four screw holes 19 are formed at both ends of the upper surface 17 so as to be positioned at the four corners of the upper surface 17. It should be noted that the screw holes 19 need only be provided at four locations on the upper surface 17 and may not be disposed at the four corners of the upper surface 17.

また、上面17の凹部18における幅方向Wの両端部には、一対の壁部38が形成されている。壁部38は、幅方向Wに沿う凹部18中央から外側へ向かうに従い漸次上側へ向かって傾斜して形成されている。   In addition, a pair of wall portions 38 are formed at both end portions in the width direction W of the concave portion 18 of the upper surface 17. The wall 38 is formed so as to be gradually inclined upward as it goes outward from the center of the recess 18 along the width direction W.

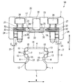
アッパープレート3は、矩形板状のプレート本体23と、プレート本体23の幅方向Wの両端部から垂下して長さ方向Lに沿って延びる帯板状の側面部(取付体側面部)24と、を備えている。   The upper plate 3 includes a rectangular plate-shaped plate main body 23, a belt-plate-shaped side surface portion (attachment body side surface portion) 24 that extends from the both end portions in the width direction W of the plate main body 23 and extends along the length direction L. It is equipped with.

プレート本体23は、ブロック2の上面17から離間して該ブロック2の上方に配設されており、該プレート本体23の下面25とブロック2の上面17との間には、後述するカラー41及び皿バネ32を配設するためのスペースが形成されている。プレート本体23には、高さ方向Hに延びるとともに上面26及び下面25に開口する多段状の貫通孔27が、ブロック2のネジ穴19に対応する位置にそれぞれ形成されている。貫通孔27は、プレート本体23の上面26に開口する大径部分と、プレート本体23の下面25に開口する小径部分と、これら大径部分及び小径部分の間に位置して上方を向く円環状の段部と、を備えている。   The plate body 23 is disposed above the block 2 so as to be separated from the upper surface 17 of the block 2. Between the lower surface 25 of the plate body 23 and the upper surface 17 of the block 2, a later-described collar 41 and A space for disposing the disc spring 32 is formed. In the plate body 23, multi-stage through holes 27 that extend in the height direction H and open to the upper surface 26 and the lower surface 25 are formed at positions corresponding to the screw holes 19 of the block 2. The through hole 27 has a large-diameter portion that opens to the upper surface 26 of the plate body 23, a small-diameter portion that opens to the lower surface 25 of the plate body 23, and an annular shape that is located between these large-diameter portion and small-diameter portion and faces upward. And a step portion.

プレート本体23の4つの貫通孔27には、ボルト(連結部)36がそれぞれ挿通されている。ボルト36は、例えば六角穴等のねじ回し手段が形成された大径のヘッド部と、外周に雄ネジ加工が施された小径の首部と、を備えている。ボルト36は、アッパープレート3を貫通するとともにブロック2のネジ穴19にねじ作用により嵌合されており、これにより、アッパープレート3とブロック2とが連結されている。   Bolts (connection portions) 36 are respectively inserted into the four through holes 27 of the plate body 23. The bolt 36 includes, for example, a large-diameter head portion in which screwing means such as a hexagonal hole is formed, and a small-diameter neck portion whose outer periphery is processed with a male screw. The bolt 36 penetrates the upper plate 3 and is fitted into the screw hole 19 of the block 2 by a screw action, whereby the upper plate 3 and the block 2 are connected.

具体的に、ボルト36のヘッド部は、貫通孔27の大径部分に収容されているとともに、該貫通孔27の段部に上側から当接している。また、ボルト36の首部は、貫通孔27の小径部分に挿通され、その先端部(下端部)がネジ穴19にねじ込まれている。これらボルト36は、ブロック2の上面17の四箇所に配置されており、ネジ穴19へのねじ込み量(締め込み量)が調整されることによって、ブロック2とアッパープレート3の相対姿勢を変更可能に、これらを連結している。   Specifically, the head portion of the bolt 36 is accommodated in the large diameter portion of the through hole 27 and abuts against the step portion of the through hole 27 from above. The neck portion of the bolt 36 is inserted into the small diameter portion of the through hole 27, and the tip end portion (lower end portion) is screwed into the screw hole 19. These bolts 36 are arranged at four locations on the upper surface 17 of the block 2, and the relative posture between the block 2 and the upper plate 3 can be changed by adjusting the screwing amount (tightening amount) into the screw hole 19. These are connected.

また、プレート本体23の貫通孔27の小径部分には、円筒状のカラー45が挿入されている。カラー45内には、ボルト36の首部(ネジが形成された小径部分)が挿入されており、該カラー45の下側部分は、皿バネ32内に挿入されている。また、カラー45の下端面は、ブロック2の上面17に当接しており、カラー45の上端面は、ボルト36のヘッド部(大径部分)の下端面に当接している。すなわち、ボルト36、カラー45及び皿バネ32は、ネジ穴19と共通軸となるように互いに同軸に配設されており、ボルト36及びカラー45は、皿バネ32を貫いて配置されている。   A cylindrical collar 45 is inserted into the small diameter portion of the through hole 27 of the plate body 23. The collar 45 has a neck portion (small-diameter portion where a screw is formed) of the bolt 36 inserted therein, and a lower portion of the collar 45 is inserted into the disc spring 32. Further, the lower end surface of the collar 45 is in contact with the upper surface 17 of the block 2, and the upper end surface of the collar 45 is in contact with the lower end surface of the head portion (large diameter portion) of the bolt 36. That is, the bolt 36, the collar 45 and the disc spring 32 are arranged coaxially with each other so as to be a common axis with the screw hole 19, and the bolt 36 and the collar 45 are arranged through the disc spring 32.

カラー45は、ネジ穴19に対するボルト36のねじ込み量が所定以下(所定範囲)となるように規定しており、図2に示される状態(カラー45の上端面にボルト36のヘッド部が当接し、カラー45の下端面が上面17に当接している状態)で、ボルト36が、ネジ穴19に対してそれ以上ねじ込まれることが規制されている。このようなカラー45によって、製造時やメンテナンス時などにボルト36を締め込んだ際、アッパープレート3がブロック2に対して接近し過ぎないようになっているとともに、ボルト36の締め込み量が簡単に規定されるようになっている。   The collar 45 is defined so that the screwing amount of the bolt 36 into the screw hole 19 is not more than a predetermined value (predetermined range), and the state shown in FIG. 2 (the head portion of the bolt 36 abuts on the upper end surface of the collar 45). In the state where the lower end surface of the collar 45 is in contact with the upper surface 17), the bolt 36 is restricted from being screwed further into the screw hole 19. Such a collar 45 prevents the upper plate 3 from coming too close to the block 2 when the bolt 36 is tightened during manufacturing or maintenance, and the amount of tightening of the bolt 36 is simple. It has come to be specified in.

カラー45は、ブロック2の上面17とアッパープレート3の下面25との距離が所定範囲となるようにボルト36の締め込み量を規制している一方、これら上面17と下面25との相対的な接近・離間を規制してはいない。ブロック2の上面17とアッパープレート3の下面25との相対的な接近は、後述する皿バネ(弾性体)32及びカラー(支承部)41により規制されており、ブロック2の上面17とアッパープレート3の下面25との相対的な離間は、ボルト36により規制されている。つまり、複数のボルト36は、ブロック2とアッパープレート3の最大距離を規定している。   The collar 45 regulates the tightening amount of the bolt 36 so that the distance between the upper surface 17 of the block 2 and the lower surface 25 of the upper plate 3 is within a predetermined range, while the relative relationship between the upper surface 17 and the lower surface 25 is relatively small. It does not regulate approach and separation. The relative approach between the upper surface 17 of the block 2 and the lower surface 25 of the upper plate 3 is regulated by a disc spring (elastic body) 32 and a collar (supporting portion) 41, which will be described later, and the upper surface 17 of the block 2 and the upper plate. 3 is regulated by a bolt 36. That is, the plurality of bolts 36 define the maximum distance between the block 2 and the upper plate 3.

図1において、プレート本体23には、高さ方向Hに延びるとともに少なくとも上面26に開口する取付穴29が複数形成されている。図示の例では、取付穴29は、プレート本体23における貫通孔27の長さ方向Lの両外側に位置するように、計4つ形成されている。これら取付穴29にボルト等が挿入されて、プレート本体23の上面26に運動させるテーブル等の目的部材(対象物)が載置される。
直動ガイド40は、アッパープレート3及びこれを支持するブロック2が軌道レール1上を往復移動することにより、前記目的部材を軌道レール1に沿って案内し、搬送する。
In FIG. 1, a plurality of mounting holes 29 extending in the height direction H and opening at least on the upper surface 26 are formed in the plate body 23. In the illustrated example, a total of four attachment holes 29 are formed so as to be located on both outer sides in the length direction L of the through holes 27 in the plate main body 23. Bolts or the like are inserted into the mounting holes 29, and a target member (object) such as a table to be moved on the upper surface 26 of the plate body 23 is placed.
The linear guide 40 guides and conveys the target member along the track rail 1 as the upper plate 3 and the block 2 supporting the upper plate 3 reciprocate on the track rail 1.

図2において、アッパープレート3の側面部24は、ブロック2の側面21部分を幅方向Wから覆うように形成されている。詳しくは、側面部24は、側面21の上端部に対向するように配置されている。   In FIG. 2, the side surface portion 24 of the upper plate 3 is formed so as to cover the side surface 21 portion of the block 2 from the width direction W. Specifically, the side surface portion 24 is disposed so as to face the upper end portion of the side surface 21.

図2及び図4において、側面21部分(前記側面21の上端部)と側面部24との間には、ブロック2とアッパープレート3との相対的な所定範囲の揺動を許容する隙間Cが形成されている。隙間Cは、前記揺動のうち特にローリング方向やヨーイング方向の揺動を許容可能に設定されている。本実施形態では、アッパープレート3の幅寸法(幅方向Wの外形寸法)が50mm程度であり、これに対して、隙間Cが0.5mm程度となっている。   2 and 4, a gap C that allows the block 2 and the upper plate 3 to swing within a predetermined range is provided between the side surface 21 portion (the upper end portion of the side surface 21) and the side surface portion 24. Is formed. The gap C is set to allow the rocking in the rolling direction and the yawing direction among the rocking. In the present embodiment, the width dimension (outer dimension in the width direction W) of the upper plate 3 is about 50 mm, while the gap C is about 0.5 mm.

そして、ブロック2とアッパープレート3との間には、ブロック2とアッパープレート3とを離間させるカラー(支承部)41及び皿バネ(弾性体)32が配置されている。詳しくは、カラー41は、ブロック2の上面17とアッパープレート3の下面25とが所定間隔以下に接近することを規制するように、上面17と下面25との間に配設されている。カラー41は、ブロック2とアッパープレート3の相対姿勢を変更可能に支持するように、ブロック2とアッパープレート3のいずれか一方に、高さ方向Hに向けて(本実施形態では下方に向けて)突出して形成されている。   Between the block 2 and the upper plate 3, a collar (supporting portion) 41 and a disc spring (elastic body) 32 for separating the block 2 and the upper plate 3 are disposed. Specifically, the collar 41 is disposed between the upper surface 17 and the lower surface 25 so as to restrict the upper surface 17 of the block 2 and the lower surface 25 of the upper plate 3 from approaching a predetermined distance or less. The collar 41 is directed to either the block 2 or the upper plate 3 in the height direction H (in the present embodiment, downward) so as to support the relative posture of the block 2 and the upper plate 3 in a changeable manner. ) Protrusively formed.

図2の例では、カラー41はアッパープレート3と一体に設けられており、図4の例では、カラー41はアッパープレート3と別体に設けられている。具体的に、カラー41において、ブロック2とアッパープレート3とが対向する高さ方向Hのうち一方を向く面(先端面)は、突出形状(凸形状)をなすとともにブロック2及びアッパープレート3のいずれかに当接可能となっている。   In the example of FIG. 2, the collar 41 is provided integrally with the upper plate 3, and in the example of FIG. 4, the collar 41 is provided separately from the upper plate 3. Specifically, in the collar 41, a surface (tip surface) facing one of the height directions H in which the block 2 and the upper plate 3 face each other has a protruding shape (convex shape) and the block 2 and the upper plate 3. It can contact either one.

図2及び図3に示されるように、アッパープレート3のプレート本体23には、下面25から下側へ向けて突出する円柱状のカラー41が、該プレート本体23に一体に形成されている。カラー41とアッパープレート3とは、例えば冷間鍛造により一体に製作されている。そして、カラー41の下面(一方を向く面)42が、突出形状をなすとともに、ブロック2の上面17の凹部18に対して隙間Gをあけて当接可能とされている。   As shown in FIGS. 2 and 3, the plate main body 23 of the upper plate 3 is integrally formed with a columnar collar 41 protruding downward from the lower surface 25. The collar 41 and the upper plate 3 are integrally manufactured by cold forging, for example. The lower surface 42 (the surface facing one side) 42 of the collar 41 has a protruding shape and can contact the concave portion 18 of the upper surface 17 of the block 2 with a gap G.

図3において、カラー41の下面42は、上面17の凹部18に略平行に対向配置された円形状の平面からなる座面42aと、該座面42aを囲むように円環状に形成されたテーパ面42bと、を備えている。テーパ面42bの断面形状は、座面42aから幅方向Wに離間するに従い漸次上側へ向かって傾斜している。
尚、座面42aと凹部18との隙間Gは、皿バネ(弾性体)32の弾性変形にともなって、座面42aと凹部18とが互いに当接可能な所定範囲の寸法に設定されている。
In FIG. 3, the lower surface 42 of the collar 41 includes a seating surface 42 a made up of a circular plane opposed to and substantially parallel to the recess 18 of the upper surface 17, and a taper formed in an annular shape so as to surround the seating surface 42 a. And a surface 42b. The cross-sectional shape of the taper surface 42b is gradually inclined upward as the distance from the seat surface 42a in the width direction W increases.
The gap G between the seating surface 42a and the recess 18 is set to a size within a predetermined range in which the seating surface 42a and the recess 18 can come into contact with each other as the disc spring (elastic body) 32 is elastically deformed. .

図1及び図2において、皿バネ32は、カラー41を中心にその周囲に複数配置されている。皿バネ32は、ブロック2とアッパープレート3の間に配置されて、ブロック2とアッパープレート3を離間させている。皿バネ32は、ブロック2のネジ穴19の位置に対応して、上面17における四箇所に配設されているとともに、それぞれのネジ穴19上において高さ方向Hに複数個ずつ積層されている。   1 and 2, a plurality of disc springs 32 are arranged around the collar 41 around the collar 41. The disc spring 32 is disposed between the block 2 and the upper plate 3 to separate the block 2 from the upper plate 3. The disc springs 32 are arranged at four locations on the upper surface 17 corresponding to the positions of the screw holes 19 of the block 2, and a plurality of disc springs 32 are stacked in the height direction H on each screw hole 19. .

具体的に、皿バネ32は、円環板状をなしているとともに、その外周縁部の位置と内周縁部の位置とが高さ方向H(皿バネ32の中心軸方向)にずらされるようにテーパ状に形成されていて、高さ方向Hに弾性変形可能となっている。そして、高さ方向Hに隣り合う皿バネ32同士は、互いの外周縁部同士及び内周縁部同士を当接させた状態で、互い違いとなるように積層されている。   Specifically, the disc spring 32 has an annular plate shape, and the position of the outer peripheral edge portion and the position of the inner peripheral edge portion are shifted in the height direction H (the central axis direction of the disc spring 32). And is elastically deformable in the height direction H. And the disc springs 32 adjacent to each other in the height direction H are stacked so as to be staggered in a state where the outer peripheral edge portions and the inner peripheral edge portions are in contact with each other.

また、同一のネジ穴19に対応して積層される皿バネ32の数は偶数個とされている。
これにより、積層された皿バネ32のうち、最も上方に位置する皿バネ32の外周縁部がプレート本体23の下面25に当接され、最も下方に位置する皿バネ32の外周縁部がブロック2の上面17に当接されて、下面25及び上面17と皿バネ32との当接範囲が確保される。また、皿バネ32は、カラー45を介して前記ボルト36の首部に貫かれている。
Further, the number of disc springs 32 stacked corresponding to the same screw hole 19 is an even number.
As a result, of the stacked disc springs 32, the outer peripheral edge of the uppermost disc spring 32 is brought into contact with the lower surface 25 of the plate body 23, and the outer peripheral portion of the lowermost disc spring 32 is blocked. 2, the abutting range of the bottom surface 25 and the top surface 17 with the disc spring 32 is ensured. The disc spring 32 is penetrated through the collar 45 through the neck of the bolt 36.

図示の例では、1つのボルト36に対して、4つの皿バネ32が積層状態で配設されている。そして、これら皿バネ32のうち、上端に位置する皿バネ32がアッパープレート3の下面25における貫通孔27の開口縁部に当接し、下端に位置する皿バネ32がブロック2の上面17におけるネジ穴19の開口縁部に当接している。これら皿バネ32には、ボルト36がネジ穴19にねじ込まれることにより予圧が付与されており、アッパープレート3の上方からブロック2に向けて、前記予圧を超える外力が加えられたときにこれら皿バネ32が弾性変形して、ブロック2に対するアッパープレート3の接近を許容するようになっている。   In the illustrated example, four disc springs 32 are disposed in a stacked state with respect to one bolt 36. Of these disc springs 32, the disc spring 32 positioned at the upper end contacts the opening edge of the through hole 27 in the lower surface 25 of the upper plate 3, and the disc spring 32 positioned at the lower end is a screw on the upper surface 17 of the block 2. It is in contact with the opening edge of the hole 19. A preload is applied to these disc springs 32 by screwing bolts 36 into the screw holes 19. When an external force exceeding the preload is applied from above the upper plate 3 toward the block 2, these disc springs 32 are provided with these disc springs. The spring 32 is elastically deformed to allow the upper plate 3 to approach the block 2.

以上説明したように、本実施形態の直動ガイド40によれば、少なくとも1つ以上の軌道レール1に、該軌道レール1上を移動可能な複数のブロック2が設けられているにも係わらず、下記の優れた効果を奏する。
すなわち、本実施形態で説明したように、複数のブロック2がテーブル等の対象物に連結されているとともに、軌道レール1に沿ってこの対象物を一体に搬送する場合においては、軌道レール1の設置場所の凹凸や剛性の有無、設置場所の温度変化などによって、直動ガイドの取り付けや動作に誤差が生じることがある。
As described above, according to the linear motion guide 40 of the present embodiment, although at least one or more track rails 1 are provided with a plurality of blocks 2 that can move on the track rail 1. The following excellent effects are obtained.
That is, as described in the present embodiment, when the plurality of blocks 2 are connected to an object such as a table and the object is transported integrally along the track rail 1, There may be an error in the installation or operation of the linear motion guide due to unevenness or rigidity of the installation location, temperature change of the installation location, and the like.

本実施形態の直動ガイド40によれば、ブロック2とアッパープレート3の相対姿勢を変更可能に連結する複数のボルト36が設けられているので、各ブロック2のアッパープレート3がテーブル等の対象物に連結された状態で、取り付け誤差(ミスアライメント)が生じた場合であっても、これらボルト36のねじ込み量をそれぞれ調整することによって、取り付け誤差を簡単に解消できる。具体的には、ボルト36のヘッド部がカラー45の上端面に当接した状態(締め込み状態)から、必要に応じて、各ボルト36のネジ穴19に対するねじ込み量が浅くなるようにねじを緩めればよい。   According to the linear motion guide 40 of the present embodiment, since the plurality of bolts 36 are provided to connect the relative posture of the block 2 and the upper plate 3 so as to be changeable, the upper plate 3 of each block 2 is an object such as a table. Even when an attachment error (misalignment) occurs in the state of being connected to an object, the attachment error can be easily eliminated by adjusting the screwing amounts of these bolts 36, respectively. Specifically, from the state where the head portion of the bolt 36 is in contact with the upper end surface of the collar 45 (tightened state), the screws are tightened so that the screwing amount of each bolt 36 into the screw hole 19 is shallow as necessary. Loosen.

これにより、ブロック2に対して、アッパープレート3をピッチング方向及びローリング方向に簡単にアライメントできる。また、アッパープレート3をブロック2から離間させたり、カラー45の高さを変更しアッパープレート3をブロック2に接近させたりすることで、ブロック2とアッパープレート3との距離を容易に変更できる。   Thereby, the upper plate 3 can be easily aligned with the block 2 in the pitching direction and the rolling direction. Further, the distance between the block 2 and the upper plate 3 can be easily changed by separating the upper plate 3 from the block 2 or changing the height of the collar 45 to bring the upper plate 3 closer to the block 2.

また、ブロック2とアッパープレート3の間に、これらブロック2とアッパープレート3を離間させる複数の皿バネ32が配置されているので、直動ガイド40の動作に誤差が生じた場合であっても、皿バネ32が弾性変形してアッパープレート3とブロック2とを相対的に揺動させ、このような誤差を簡単に吸収できる。従って、モーメント荷重に起因する装置への負荷を効果的に除去することができ、部品等の故障が防止される。尚、前述したようにボルト36のねじ込み量を浅く調整する際においては、皿バネ32が復元変形することから、その戻り代を十分に確保しておく(予め皿バネ32を十分に弾性変形させておく)ことにより、ボルト36の調整に係わらず皿バネ32に予圧を確実に付与することができ、好ましい。   Further, since a plurality of disc springs 32 for separating the block 2 and the upper plate 3 are disposed between the block 2 and the upper plate 3, even if an error occurs in the operation of the linear guide 40, The disc spring 32 is elastically deformed so that the upper plate 3 and the block 2 are relatively swung, and such an error can be easily absorbed. Therefore, it is possible to effectively remove the load on the apparatus due to the moment load, and it is possible to prevent failure of parts and the like. As described above, when the screwing amount of the bolt 36 is adjusted to be shallow, the disc spring 32 is restored and deformed, so that a sufficient return is ensured (the disc spring 32 is sufficiently elastically deformed in advance). Therefore, it is possible to reliably apply a preload to the disc spring 32 regardless of the adjustment of the bolt 36, which is preferable.

このように、本実施形態の直動ガイド40によれば、装置としての剛性が十分に確保されつつ、ピッチング方向及びローリング方向などのあらゆる方向のモーメント荷重を負荷することができ、誤差を十分に吸収してスムースで安定した動作が確保され、装置寿命の延長が期待できるという優れた効果を奏する。
そして、取付面(軌道レール1を設置する場所)の誤差によって生じる(ブロック2に作用する)モーメント荷重を緩和でき、かつ、モーメント荷重の負荷が作用した時に剛性を調整維持できるのである。
As described above, according to the linear motion guide 40 of the present embodiment, it is possible to load a moment load in all directions such as the pitching direction and the rolling direction while ensuring sufficient rigidity as a device, and to sufficiently prevent errors. Absorbing, smooth and stable operation is ensured, and it is possible to expect an extension of the device life.
The moment load caused by the error of the mounting surface (where the track rail 1 is installed) (acting on the block 2) can be relaxed, and the rigidity can be adjusted and maintained when the moment load is applied.

また、ボルト36は、ブロック2の上面17の四箇所に配置されているので、前述したピッチング方向及びローリング方向のアライメントが、精度よく簡単に行える。すなわち、例えば従来のように、ボルト36が二箇所の場合は、ピッチング方向及びローリング方向のうちいずれか一方向へのアライメントしか行えず、また三箇所の場合は、調整に熟練を要するので、作業が難しい。一方、本実施形態のようにボルト36が四箇所配置されていれば、あらゆる方向へのアライメントが容易に、かつ、高精度に行える。尚、ボルト36が五箇所以上の場合には、調整作業が煩雑となり、また製造費用が嵩むことになる。   In addition, since the bolts 36 are arranged at four locations on the upper surface 17 of the block 2, the alignment in the pitching direction and the rolling direction described above can be easily performed with high accuracy. That is, for example, when there are two bolts 36 as in the prior art, only one of the pitching direction and the rolling direction can be aligned. Is difficult. On the other hand, if the bolts 36 are arranged in four places as in the present embodiment, alignment in any direction can be easily performed with high accuracy. If the number of bolts 36 is five or more, the adjustment work becomes complicated and the manufacturing cost increases.

また、皿バネ32が、アッパープレート3とブロック2とを連結するボルト36に貫かれて配設されているので、該皿バネ32は、アッパープレート3とブロック2とが対向する高さ方向Hに交差する水平面方向に大きく移動してしまうようなことが防止されている。すなわち、この構成によれば、アッパープレート3とブロック2とを連結するためのボルト36を利用して、皿バネ32の位置を所定の位置に安定させることができるので、部品点数の増加を抑えつつ、皿バネ32の効果を長期に亘り安定して得ることができる。   Further, since the disc spring 32 is disposed through the bolt 36 that connects the upper plate 3 and the block 2, the disc spring 32 has a height direction H in which the upper plate 3 and the block 2 face each other. It is possible to prevent a large movement in the horizontal plane direction intersecting with. That is, according to this configuration, the position of the disc spring 32 can be stabilized at a predetermined position by using the bolt 36 for connecting the upper plate 3 and the block 2, so that the increase in the number of parts can be suppressed. On the other hand, the effect of the disc spring 32 can be stably obtained over a long period of time.

また、ブロック2とアッパープレート3の相対姿勢を変更可能に支持するカラー41が設けられており、アッパープレート3は、ブロック2上にカラー41に支承されるように配設されている。また、このカラー41において一方を向く面(下面42)が突出形状とされているとともに、ブロック2に当接可能とされている。これにより、下記の効果を奏する。   Further, a collar 41 that supports the relative posture of the block 2 and the upper plate 3 so as to be changeable is provided, and the upper plate 3 is disposed on the block 2 so as to be supported by the collar 41. In addition, a surface (lower surface 42) facing one side of the collar 41 has a protruding shape and can come into contact with the block 2. As a result, the following effects are obtained.

すなわち、ボルト36及び皿バネ32によって前述した効果を奏しつつ、アッパープレート3にブロック2に向けて所定以上の外力が加わった際には、カラー41の下面42がブロック2の凹部18に当接されて、アッパープレート3とブロック2とが互いに接近し過ぎるようなことが抑制される。また、カラー41がブロック2に当接することによって、該カラー41が外力を受けるとともに、過大な力が皿バネ32にかかることが抑制される。従って、皿バネ32の性能が長期に亘り安定して維持される。さらに、アッパープレート3は、カラー41がブロック2に当接した状態で、該カラー41を中心にブロック2に対して揺動可能とされている。   In other words, the lower surface 42 of the collar 41 abuts against the concave portion 18 of the block 2 when an external force exceeding a predetermined value is applied to the upper plate 3 toward the block 2 while the above-described effects are achieved by the bolt 36 and the disc spring 32. Thus, it is possible to prevent the upper plate 3 and the block 2 from being too close to each other. Further, when the collar 41 abuts against the block 2, the collar 41 receives an external force, and an excessive force is suppressed from being applied to the disc spring 32. Therefore, the performance of the disc spring 32 is stably maintained over a long period. Further, the upper plate 3 can swing with respect to the block 2 around the collar 41 in a state where the collar 41 is in contact with the block 2.

これにより、アッパープレート3は、ブロック2に対してピッチング方向及びローリング方向に揺動可能であるから、例えば軌道レール1を設置する場所(ベース部)に凹凸があったり、剛性が確保されていなかったり、温度変化による変位が生じたりすることによって、直動ガイド40の取り付けや動作に誤差が生じた場合であっても、このような誤差をアッパープレート3とブロック2との相対的な揺動により吸収できる。従って、モーメント荷重に起因する装置への負荷を効果的に除去することができ、部品等の故障が防止される。また、本実施形態の構成によれば、あらゆる方向のモーメント荷重を負荷しつつ、所定以上の外力に対する剛性をも確保しているから、前述の効果が確実に、かつ、長期に亘り安定して得られるのである。   As a result, the upper plate 3 can swing in the pitching direction and the rolling direction with respect to the block 2. For example, the place (base portion) where the track rail 1 is installed has irregularities and the rigidity is not secured. Even if there is an error in the mounting or operation of the linear motion guide 40 due to a displacement due to a temperature change, such an error is caused by the relative oscillation between the upper plate 3 and the block 2. Can be absorbed. Therefore, it is possible to effectively remove the load on the apparatus due to the moment load, and it is possible to prevent failure of parts and the like. In addition, according to the configuration of the present embodiment, since the rigidity with respect to an external force exceeding a predetermined value is ensured while applying a moment load in all directions, the above-described effect is ensured and stable over a long period of time. It is obtained.

さらに、ブロック2とアッパープレート3との間には、カラー41の周辺に皿バネ32が配設されている。これにより、カラー41がブロック2とアッパープレート3との距離を確保するように、水平面方向の中央の負荷を受け、皿バネ32がカラー41の負荷を分散させるように該カラー41回りの負荷を受けるので、前述の揺動を必要最小限に抑えて装置の剛性を確保でき、動作時におけるがたつき等も抑制できる。従って、ブロック2は、軌道レール1上をスムースに安定して移動できる。   Further, a disc spring 32 is disposed around the collar 41 between the block 2 and the upper plate 3. As a result, the collar 41 receives a central load in the horizontal direction so that the distance between the block 2 and the upper plate 3 is secured, and the load around the collar 41 is distributed so that the disc spring 32 distributes the load of the collar 41. Therefore, it is possible to secure the rigidity of the apparatus by minimizing the above-mentioned swinging, and to suppress rattling during operation. Therefore, the block 2 can move smoothly and stably on the track rail 1.

具体的に、この直動ガイド40は、ラジアル方向荷重をプレート本体23中央のカラー41で負荷することにより、剛性を確保している。また、ピッチング方向及びローリング方向のモーメント荷重については、アッパープレート3の側面部24若しくはカラー45を締め込んだボルト36のヘッド部を支持点として荷重を負荷することにより、剛性を確保している。また、水平方向荷重、ヨーイング方向のモーメント荷重については、アッパープレート3の側面部24で荷重を負荷することにより、剛性を確保している。
そして、このように剛性が十分に確保されつつも構成が簡単であるから、製造費用が抑えられる。
Specifically, the linear motion guide 40 ensures rigidity by applying a radial load with a collar 41 at the center of the plate body 23. The moment load in the pitching direction and the rolling direction is ensured by applying a load with the side portion 24 of the upper plate 3 or the head portion of the bolt 36 tightening the collar 45 as a support point. Further, with respect to the horizontal load and the moment load in the yawing direction, rigidity is ensured by applying a load on the side surface portion 24 of the upper plate 3.
And since the structure is simple while the rigidity is sufficiently ensured in this way, the manufacturing cost can be reduced.

また、カラー41が、ブロック2とアッパープレート3との間において水平面方向の中央に位置しているので、モーメント荷重をブロック2中心(水平面方向の中央)で負荷することができる。従って、アッパープレート3に偏荷重(モーメント荷重)が加わった際に、ブロック2を介して軌道レール1に偏荷重が加えられるようなことが防止され、ブロック2と軌道レール1との相対移動が高精度に安定して維持される。   Further, since the collar 41 is located at the center in the horizontal plane direction between the block 2 and the upper plate 3, the moment load can be applied at the center of the block 2 (center in the horizontal plane direction). Accordingly, when an unbalanced load (moment load) is applied to the upper plate 3, it is prevented that an unbalanced load is applied to the track rail 1 via the block 2, and relative movement between the block 2 and the track rail 1 is prevented. Highly stable and stable.

また、カラー41の下面42とブロック2の上面17の凹部18との間に隙間Gが設けられているから、誤差をより吸収しやすい。
また、下面42の座面42aが、凹部18に対して面接触するように形成されているから、モーメント荷重により強くなり、剛性が向上する。
Further, since the gap G is provided between the lower surface 42 of the collar 41 and the concave portion 18 of the upper surface 17 of the block 2, it is easier to absorb errors.
In addition, since the seating surface 42a of the lower surface 42 is formed so as to be in surface contact with the recess 18, the moment load becomes stronger and the rigidity is improved.

また、弾性体として皿バネ32を用いているので、ブロック2とアッパープレート3との間のスペースが小さい場合であっても、大きなバネ定数を確保することができる。よって、装置の剛性を確実に高めることができる。   Further, since the disc spring 32 is used as the elastic body, a large spring constant can be ensured even when the space between the block 2 and the upper plate 3 is small. Therefore, the rigidity of the apparatus can be reliably increased.

また、複数の皿バネ32を積層しているので、剛性と誤差吸収のバランスを簡便に調整可能である。本実施形態では、皿バネ32を積層する構成によって、十分に剛性が確保されつつも、例えば高さ方向Hに0.2mm〜0.3mm程度の大きな誤差を吸収できる。   In addition, since a plurality of disc springs 32 are stacked, the balance between rigidity and error absorption can be easily adjusted. In the present embodiment, the configuration in which the disc springs 32 are stacked can absorb a large error of, for example, about 0.2 mm to 0.3 mm in the height direction H, while ensuring sufficient rigidity.

また、ブロック2の上面17上の同一箇所(同一のネジ穴19上)に積層される皿バネ32の数が、偶数個とされており、これら積層された皿バネ32のうち、最も上方に位置する皿バネ32の外周縁部がプレート本体23の下面25に当接され、最も下方に位置する皿バネ32の外周縁部がブロック2の上面17に当接されて、下面25及び上面17と皿バネ32との当接範囲が広く確保されている。従って、皿バネ32が、アッパープレート3とブロック2との間で力を受けやすく、前述した効果がより確実に得られやすい。   The number of disc springs 32 stacked at the same location (on the same screw hole 19) on the upper surface 17 of the block 2 is an even number, and the uppermost of the stacked disc springs 32 is the uppermost. The outer peripheral edge portion of the disc spring 32 positioned is in contact with the lower surface 25 of the plate body 23, and the outer peripheral edge portion of the disc spring 32 positioned in the lowermost position is in contact with the upper surface 17 of the block 2. And the disc spring 32 are secured in a wide contact range. Accordingly, the disc spring 32 is likely to receive a force between the upper plate 3 and the block 2, and the above-described effects can be more reliably obtained.

また本実施形態のように、軌道レール1とブロック2とが、ボール15を介して相対移動する構成においては、従来では、ボール15、転動体転走面7及び負荷転動体転走面13(負荷転動体転走路14)等の損傷を防止するため、取り付け誤差を多くても数十μm程度になるべく小さく抑える必要があり、よって軌道レール1のブロック2とは反対側を向く設置面(下面5)を仕上げ加工する必要があった。一方、本実施形態の直動ガイド40によれば、前述のように誤差を十分に吸収できるので、軌道レール1の設置面を仕上げ加工する必要がない。よって、軌道レール1の製造が簡便であるとともに、費用削減の効果が得られる。
また同様に、ブロック2の上面17、アッパープレート3の下面25及び上面26についても仕上げ加工を省略可能である。
Moreover, in the structure which the track rail 1 and the block 2 move relatively via the ball | bowl 15 like this embodiment, conventionally, the ball | bowl 15, the rolling-element rolling surface 7, and the load rolling-element rolling surface 13 ( In order to prevent damage to the loaded rolling element rolling path 14) and the like, it is necessary to keep the mounting error as small as possible, at most about several tens of μm. Therefore, the installation surface (lower surface) facing the side opposite to the block 2 of the track rail 1 5) had to be finished. On the other hand, according to the linear motion guide 40 of the present embodiment, the error can be sufficiently absorbed as described above, so that it is not necessary to finish the installation surface of the track rail 1. Therefore, manufacture of the track rail 1 is simple and an effect of cost reduction can be obtained.
Similarly, finishing can be omitted for the upper surface 17 of the block 2, the lower surface 25 and the upper surface 26 of the upper plate 3.

また、前述のように大きな誤差を吸収できることから、直動ガイド40を使用するユーザーが、設置の際、アッパープレート3の上面26に前記目的部材(テーブル等の対象物)を特別な調整なく簡便に装着できる。   Further, since a large error can be absorbed as described above, a user using the linear motion guide 40 can easily place the target member (object such as a table) on the upper surface 26 of the upper plate 3 without special adjustment. Can be attached to.

また、アッパープレート3には、ブロック2の側面21部分を覆うように側面部24が形成され、側面21部分と側面部24との間には、ブロック2とアッパープレート3との相対的な所定範囲の揺動を許容する隙間Cが形成されているので、下記の効果を奏する。   Further, the upper plate 3 is formed with a side surface portion 24 so as to cover the side surface 21 portion of the block 2, and between the side surface 21 portion and the side surface portion 24, a relative predetermined relationship between the block 2 and the upper plate 3 is formed. Since the gap C that allows the swing of the range is formed, the following effects are obtained.

すなわち、ブロック2とアッパープレート3との相対的な揺動(特にローリング方向やヨーイング方向の揺動)が所定範囲内である場合には、この揺動が隙間Cに吸収され、許容される。一方、前記揺動が所定範囲を超える場合には、ブロック2の側面21部分にアッパープレート3の側面部24が当接して、それ以上の揺動を規制するようになっている。これにより、ローリング方向及びヨーイング方向の大きな荷重については、カラー41及び弾性部以外に、剛性の高いブロック2とアッパープレート3との当接により負荷することができる。従って、装置の剛性が向上するとともに、その性能が高精度に安定して維持される。   In other words, when the relative swing between the block 2 and the upper plate 3 (especially in the rolling direction or yawing direction) is within a predetermined range, this swing is absorbed in the gap C and allowed. On the other hand, when the swing exceeds a predetermined range, the side surface portion 24 of the upper plate 3 comes into contact with the side surface 21 of the block 2 to restrict further swing. Thus, a large load in the rolling direction and the yawing direction can be applied by the contact between the high rigidity block 2 and the upper plate 3 in addition to the collar 41 and the elastic portion. Therefore, the rigidity of the apparatus is improved, and the performance is stably maintained with high accuracy.

また、複数のボルト36が、ブロック2とアッパープレート3の最大距離を規定しているので、皿バネ32に確実に予圧を付与することができるとともに、アッパープレート3に対してブロック2に向けて所定以上の外力が加えられた際に、該皿バネ32を弾性変形させることで、誤差を吸収できる。よって、この直動ガイド40は、動作時のがたつきが抑制されつつ、誤差が精度よく吸収されて、動作が安定する。   Further, since the plurality of bolts 36 define the maximum distance between the block 2 and the upper plate 3, it is possible to reliably apply a preload to the disc spring 32 and to the block 2 with respect to the upper plate 3. An error can be absorbed by elastically deforming the disc spring 32 when an external force exceeding a predetermined level is applied. Therefore, the linear motion guide 40 is stable in operation by suppressing the rattling during operation and accurately absorbing errors.

また、ボルト36の締め込み量を規制するカラー45が設けられているので、ボルト36を締め込む際、ブロック2の上面17とアッパープレート3の下面25との距離が所定範囲となるように容易に調整できる。   Further, since the collar 45 that regulates the tightening amount of the bolt 36 is provided, when the bolt 36 is tightened, the distance between the upper surface 17 of the block 2 and the lower surface 25 of the upper plate 3 is easily within a predetermined range. Can be adjusted.

ここで、図4を参照して、直動ガイド40のカラー41の変形例について説明する。
図4に示される例では、アッパープレート3のプレート本体23には、下面25から下側へ向けて突出する突起39が形成されている。また、ブロック2の上面17における幅方向Wの中央部は、前述した凹部18を有さない平面となっている。
Here, a modification of the collar 41 of the linear motion guide 40 will be described with reference to FIG.
In the example shown in FIG. 4, the plate body 23 of the upper plate 3 is formed with a protrusion 39 that protrudes downward from the lower surface 25. Further, the central portion of the upper surface 17 of the block 2 in the width direction W is a flat surface that does not have the concave portion 18 described above.

また、ブロック2とアッパープレート3との間には、ブロック2とアッパープレート3との相対姿勢を変更可能に支持するようにこれらを離間させるとともに、これらブロック2及びアッパープレート3とは別体とされた円板状のカラー41が配設されている。そして、カラー41の高さ方向Hを向く両面のうち、下面(一方を向く面)42が、半球状(突出形状)とされているとともにブロック2の上面17に接して(当接可能とされて)いる。尚、ここで言う前記半球状とは、球面を2等分した半球面の形状のみを意味するものではなく、例えば、球面の一部を切り取ったように形成される曲率の小さな凸曲面状や、緩やかな勾配を有する膨出面状をも含む概念である。図示の例では、半球状の下面42は、下面視円形状をなし、球面の一部を切り欠いたように形成された曲率の小さな凸曲面である。   Further, the block 2 and the upper plate 3 are separated from each other so as to support the relative posture of the block 2 and the upper plate 3 so as to be changeable. A disc-shaped collar 41 is provided. Of the two surfaces facing the height direction H of the collar 41, the lower surface (surface facing one side) 42 is hemispherical (projecting shape) and is in contact with (can be contacted with) the upper surface 17 of the block 2. ing. In addition, the said hemisphere said here does not mean only the shape of the hemisphere which divided the spherical surface into two equal parts, for example, a convex curved surface shape with a small curvature formed by cutting off a part of the spherical surface, The concept includes a bulging surface shape having a gentle gradient. In the illustrated example, the hemispherical lower surface 42 is a convex curved surface having a circular shape in a bottom view and having a small curvature formed by cutting out a part of the spherical surface.

また、カラー41の高さ方向Hを向く両面のうち、上面(他方を向く面)43は、円環状の平面となっているとともに、プレート本体23の下面25に当接している。カラー41の上面43の水平面方向の中央には、円穴44が形成されており、円穴44には、突起39が嵌合されている。   Of the two surfaces facing the height direction H of the collar 41, the upper surface (the surface facing the other) 43 is an annular flat surface and is in contact with the lower surface 25 of the plate body 23. A circular hole 44 is formed in the center of the upper surface 43 of the collar 41 in the horizontal plane direction, and a protrusion 39 is fitted in the circular hole 44.

この変形例によれば、カラー41の半球状の下面42がブロック2の上面17上を転がるように作用して、アッパープレート3はブロック2に対して揺動可能とされている。よって、前述同様の作用効果が得られる。
また、無限循環路の負荷転動体転走面13が形成されるブロック2には、焼き入れ処理が施されていることから、このようにカラー41の下面42が半球状とされて点接触するようにブロック2の上面17に接する場合であっても、該上面17が負荷により変形しにくくなっている。従って、前述の揺動による効果が長期に亘り安定して得られる。
According to this modification, the hemispherical lower surface 42 of the collar 41 acts so as to roll on the upper surface 17 of the block 2 so that the upper plate 3 can swing with respect to the block 2. Therefore, the same effect as described above can be obtained.
Further, since the block 2 where the load rolling element rolling surface 13 of the infinite circulation path is formed is subjected to quenching processing, the lower surface 42 of the collar 41 is made hemispherical in this way and makes point contact. Thus, even when it contacts the upper surface 17 of the block 2, the upper surface 17 is difficult to be deformed by a load. Therefore, the effect by the above-mentioned oscillation can be obtained stably over a long period of time.

(第2実施形態)
次に、本発明に係る運動装置の第2実施形態である直動ガイド50について、図5及び図6を参照して説明する。尚、前述の実施形態と同一部材には同一の符号を付し、その説明を省略する。
(Second Embodiment)
Next, the linear motion guide 50 which is 2nd Embodiment of the exercise device which concerns on this invention is demonstrated with reference to FIG.5 and FIG.6. In addition, the same code | symbol is attached | subjected to the same member as above-mentioned embodiment, and the description is abbreviate | omitted.

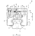
本実施形態の直動ガイド50は、主に下記の点で、前述した直動ガイド40とは異なっている。   The linear motion guide 50 of the present embodiment is different from the linear motion guide 40 described above mainly in the following points.

ブロック2の幅方向Wを向く側面21には、該側面21に開口するとともにネジ穴19に連通する止めネジ穴22が複数形成されている。止めネジ穴22には、不図示のイモネジが配設され、収容される。前記イモネジは、その先端がボルト36の首部に当接することにより、該ボルト36の緩みを防止している。
ブロック2の側面21の上端部、及び、この上端部に開口する止めネジ穴22は、アッパープレート3の側面部24に覆われている。
A plurality of set screw holes 22 that open to the side surface 21 and communicate with the screw hole 19 are formed on the side surface 21 facing the width direction W of the block 2. A set screw (not shown) is disposed in the set screw hole 22 and accommodated. The female screw prevents the bolt 36 from loosening because its tip abuts against the neck of the bolt 36.
The upper end portion of the side surface 21 of the block 2 and the set screw hole 22 opened to the upper end portion are covered with the side surface portion 24 of the upper plate 3.

また、アッパープレート3の貫通孔27には、カラー45は設けられておらず、ボルト36は、ブロック2の上面17とアッパープレート3の下面25との距離が所定範囲となるように締め込まれた後、前記イモネジの作用により固定される。   Further, the collar 45 is not provided in the through hole 27 of the upper plate 3, and the bolt 36 is tightened so that the distance between the upper surface 17 of the block 2 and the lower surface 25 of the upper plate 3 falls within a predetermined range. After that, it is fixed by the action of the imine screw.

また、プレート本体23には、高さ方向Hに延びるとともに上面26及び下面25に開口するピン挿通孔28が、該プレート本体23の水平面方向の中央に形成されている。詳しくは、ピン挿通孔28は、ブロック2の上面17における幅方向W及び長さ方向Lの中央部に対応する位置に形成されている。   In addition, a pin insertion hole 28 that extends in the height direction H and opens to the upper surface 26 and the lower surface 25 is formed in the plate body 23 in the center of the plate body 23 in the horizontal plane direction. Specifically, the pin insertion hole 28 is formed at a position corresponding to the center in the width direction W and the length direction L on the upper surface 17 of the block 2.

ピン挿通孔28には、所定の剛性を有するとともに弾性変形可能な円柱状のピン30が嵌合されている。ピン30の下端部は、プレート本体23の下面25から突出している。   A cylindrical pin 30 having a predetermined rigidity and elastically deformable is fitted in the pin insertion hole 28. The lower end portion of the pin 30 protrudes from the lower surface 25 of the plate body 23.

そして、本実施形態では、ブロック2とアッパープレート3との間には、前述したカラー41の代わりに、ブロック2とアッパープレート3とが対向する高さ方向Hのうち一方(本実施形態では下方)に向けて突出する形状を有するカラー(支承部)31が設けられている。具体的に、カラー31において、高さ方向Hのうち一方を向く面(下面35)が、突出形状をなすとともにブロック2に当接可能とされている。カラー31は、前述のカラー41同様に、ブロック2とアッパープレート3との相対姿勢を変更可能に支持するように、これらを離間させている。   In this embodiment, between the block 2 and the upper plate 3, instead of the collar 41 described above, one of the height directions H in which the block 2 and the upper plate 3 face each other (in this embodiment, the lower side) A collar (supporting portion) 31 having a shape projecting toward) is provided. Specifically, in the collar 31, a surface (lower surface 35) that faces one side in the height direction H forms a protruding shape and can contact the block 2. Like the collar 41 described above, the collar 31 is spaced apart so as to support the relative posture of the block 2 and the upper plate 3 so as to be changeable.

カラー31は、円板状をなしており、その外径が凹部18の幅よりも僅かに小さく設定されている。カラー31は、ピン挿通孔28と同軸に、アッパープレート3の下面25における水平面方向の中央に配置されている。カラー31の外周面における下端部は、凹部18の壁部38に接近して配置されている。   The collar 31 has a disk shape, and its outer diameter is set slightly smaller than the width of the recess 18. The collar 31 is arranged coaxially with the pin insertion hole 28 at the center in the horizontal plane direction on the lower surface 25 of the upper plate 3. The lower end portion of the outer peripheral surface of the collar 31 is disposed close to the wall portion 38 of the recess 18.

本実施形態では、カラー31の高さ方向Hを向く両面のうち、下面35が、半球状とされているとともにブロック2の上面17に接している。図示の例では、半球状の下面35は、球面の一部を切り欠いたように形成された曲率の小さな円形状の凸曲面である。
また、カラー31の高さ方向Hを向く両面のうち、上面34は、円環状の平面となっているとともに、プレート本体23の下面25に当接している。
In the present embodiment, of the both surfaces of the collar 31 facing the height direction H, the lower surface 35 is hemispherical and is in contact with the upper surface 17 of the block 2. In the illustrated example, the hemispherical lower surface 35 is a circular convex curved surface having a small curvature and formed so as to cut out a part of a spherical surface.
Of the two surfaces facing the height direction H of the collar 31, the upper surface 34 is an annular flat surface and is in contact with the lower surface 25 of the plate body 23.

また、カラー31の水平面方向の中央には、その中心軸が高さ方向Hに延びるとともに上面34に開口するピン取付穴33が形成されている。ピン取付穴33には、前記ピン30が嵌合されており、このピン30を介して、カラー31がアッパープレート3に一体とされている。   Further, a pin mounting hole 33 is formed in the center of the collar 31 in the horizontal plane direction, the central axis extending in the height direction H and opening in the upper surface 34. The pin 30 is fitted in the pin mounting hole 33, and the collar 31 is integrated with the upper plate 3 through the pin 30.

本実施形態の直動ガイド50においても、前述した直動ガイド40と同様の作用効果を奏する。   Also in the linear motion guide 50 of this embodiment, there exists an effect similar to the linear motion guide 40 mentioned above.

また、カラー31が、ピン30を介してアッパープレート3に一体とされているので、ブロック2とアッパープレート3との間における該カラー31の位置が水平面方向の中央に精度よく決まる。よって、前述の効果が精度よく得られる。   Further, since the collar 31 is integrated with the upper plate 3 via the pin 30, the position of the collar 31 between the block 2 and the upper plate 3 is accurately determined at the center in the horizontal plane direction. Therefore, the above-described effect can be obtained with high accuracy.

また、カラー31、弾性体(皿バネ32)、及び、ピン30によりアライメント機構を廉価かつ簡単に作製できる。
尚、特に図示しないが、カラー31のピン取付穴33は、該カラー31を高さ方向Hに貫通して形成されていてもよい。この場合、カラー31の下面35のうちピン取付穴33の下端開口縁と、ブロック2の上面17とは、円環状に線接触するように当接することになり、ブロック2から受ける負荷がカラー31の周方向に分散されやすくなり、該カラー31の変形や破損が防止される。
In addition, the alignment mechanism can be manufactured inexpensively and easily by the collar 31, the elastic body (the disc spring 32), and the pin 30.
Although not particularly illustrated, the pin mounting hole 33 of the collar 31 may be formed through the collar 31 in the height direction H. In this case, the lower end opening edge of the pin mounting hole 33 in the lower surface 35 of the collar 31 and the upper surface 17 of the block 2 come into contact with each other so as to make a line contact in an annular shape. The collar 31 is easily dispersed in the circumferential direction, and deformation and breakage of the collar 31 are prevented.

(第3実施形態)
次に、本発明に係る運動装置の第3実施形態である直動ガイド60について、図7及び図8を参照して説明する。尚、前述の実施形態と同一部材には同一の符号を付し、その説明を省略する。
(Third embodiment)
Next, a linear motion guide 60 that is a third embodiment of the exercise device according to the present invention will be described with reference to FIGS. In addition, the same code | symbol is attached | subjected to the same member as above-mentioned embodiment, and the description is abbreviate | omitted.

本実施形態の直動ガイド60は、主に下記の点で、前述した直動ガイド40、50とは異なっている。   The linear motion guide 60 of the present embodiment is different from the linear motion guides 40 and 50 described above mainly in the following points.

この直動ガイド60は、前述の実施形態で説明した支承部であるカラー41、31及びボルト36のカラー45を有していない。   The linear motion guide 60 does not have the collars 41 and 31 and the collar 45 of the bolt 36 which are the support portions described in the above embodiment.

本実施形態の直動ガイド60においても、前述した直動ガイド40、50と同様の作用効果を奏する。
また、この直動ガイド60によれば、ネジ穴19に対するボルト36のねじ込み量の調整範囲を大きくとることができるとともに、アッパープレート3とブロック2との相対姿勢の変更範囲を大きくとれることから、前述の取り付け誤差をより確実に吸収できる。また、動作時においても、アッパープレート3が、支承部に規制されることなくブロック2に対して大きく移動できるから、動作時の誤差についても確実に吸収することができる。
Also in the linear motion guide 60 of this embodiment, there exists an effect similar to the linear motion guides 40 and 50 mentioned above.
Further, according to the linear motion guide 60, the adjustment range of the screwing amount of the bolt 36 with respect to the screw hole 19 can be increased, and the change range of the relative posture between the upper plate 3 and the block 2 can be increased. The above mounting error can be absorbed more reliably. Further, even during operation, the upper plate 3 can be moved largely with respect to the block 2 without being restricted by the support portion, so that errors during operation can be reliably absorbed.

(第4実施形態)
次に、本発明に係る運動装置の第4実施形態である直動ガイド80について、図9を参照して説明する。尚、前述の実施形態と同一部材には同一の符号を付し、その説明を省略する。
(Fourth embodiment)
Next, a linear motion guide 80 which is a fourth embodiment of the exercise device according to the present invention will be described with reference to FIG. In addition, the same code | symbol is attached | subjected to the same member as above-mentioned embodiment, and the description is abbreviate | omitted.

本実施形態の直動ガイド80は、主に下記の点で、前述した直動ガイド40,50,60とは異なっている。   The linear motion guide 80 of the present embodiment is different from the linear motion guides 40, 50, 60 described above mainly in the following points.

この直動ガイド80では、前述の実施形態で説明した皿バネ32が、ボルト36ではなく、ピン(支承部)81に貫かれている。
ピン81には、S45Cなどの焼き入れした材料が用いられる。アッパープレート3のプレート本体23には、下面25から上側へ向うピン穴83が形成され、このピン穴83にピン81が嵌合配置される。そして、ピン81の下面82は、半球形に形成されると共に、プレート本体23よりも下側に突出する。
一方、ピン81の下面82に当接するブロック2の上面17の凹部18には、半球形の穴部84が形成される。つまり、ピン81は、ブロック2の上面17に対して球面軸受(下面82、穴部84)により支持される。
これにより、直動ガイド80は、アッパープレート3に重量物が連結されることによりブロック2に高荷重が加わったとしても、ブロック2とアッパープレート3の相対姿勢を円滑に変更可能である。
In the linear motion guide 80, the disc spring 32 described in the above-described embodiment is penetrated not by the bolt 36 but by a pin (supporting portion) 81.
A hardened material such as S45C is used for the pin 81. A pin hole 83 is formed in the plate body 23 of the upper plate 3 from the lower surface 25 to the upper side, and the pin 81 is fitted and disposed in the pin hole 83. The lower surface 82 of the pin 81 is formed in a hemispherical shape and protrudes below the plate body 23.
On the other hand, a hemispherical hole 84 is formed in the recess 18 of the upper surface 17 of the block 2 that contacts the lower surface 82 of the pin 81. That is, the pin 81 is supported on the upper surface 17 of the block 2 by the spherical bearing (the lower surface 82, the hole portion 84).
As a result, the linear motion guide 80 can smoothly change the relative posture of the block 2 and the upper plate 3 even when a heavy load is applied to the upper plate 3 due to a heavy load being connected to the upper plate 3.

また、直動ガイド80は、アッパープレート3の側面部24を有していない。4本のボルト36により、水平方向荷重、ヨーイング方向のモーメント荷重を支持可能であれば、アッパープレート3の側面部24を省くことができる。   Further, the linear motion guide 80 does not have the side surface portion 24 of the upper plate 3. If the four bolts 36 can support a horizontal load and a moment load in the yawing direction, the side surface 24 of the upper plate 3 can be omitted.

ここで、図10を参照して、直動ガイド80の支承部の変形例について説明する。
図10に示される例では、支承部として六角穴付きボタンボルト85が用いられている。つまり、六角穴付きボタンボルト85のボタン形のヘッド部分が支承部となる。そして、六角穴付きボタンボルト85を用いることにより、コスト低減を図ることが可能となる。なお、この場合には、上面17の凹部18は、平坦であってよい。
また、本実施形態では、支承部として六角穴付きボタンボルト85を用いているが、これと同等の機能を発揮する他の部材に変更してもよい。
Here, with reference to FIG. 10, the modification of the support part of the linear guide 80 is demonstrated.
In the example shown in FIG. 10, a hexagon socket button bolt 85 is used as the support portion. That is, the button-shaped head portion of the hexagon socket button bolt 85 serves as a support portion. And it becomes possible to aim at cost reduction by using the button bolt 85 with a hexagon socket. In this case, the recess 18 on the upper surface 17 may be flat.
Moreover, in this embodiment, although the hexagon socket button bolt 85 is used as a support part, you may change into the other member which exhibits the function equivalent to this.

本実施形態の直動ガイド80においても、前述した直動ガイド40、50、60と同様の作用効果を奏する。
また、この直動ガイド80によれば、アッパープレート3に重量物が連結されることによりブロック2に高荷重が加わったとしても、ブロック2とアッパープレート3の相対姿勢を円滑に変更可能である。また、アッパープレート3の側面部24を省いたり、支承部として六角穴付きボタンボルト85が用いたりすることにより、性能を維持しつつ、コスト低減を図ることができる。
Also in the linear motion guide 80 of this embodiment, there exists an effect similar to the linear motion guides 40, 50, and 60 mentioned above.
Further, according to the linear motion guide 80, even if a heavy load is applied to the upper plate 3 due to a heavy load connected thereto, the relative posture between the block 2 and the upper plate 3 can be changed smoothly. . Further, by omitting the side surface portion 24 of the upper plate 3 or using the hexagon socket button bolt 85 as a support portion, the cost can be reduced while maintaining the performance.

(第5実施形態)
次に、本発明に係る運動装置の第5実施形態である直動ガイド90について、図11を参照して説明する。尚、前述の実施形態と同一部材には同一の符号を付し、その説明を省略する。
(Fifth embodiment)
Next, a linear motion guide 90 which is a fifth embodiment of the exercise device according to the present invention will be described with reference to FIG. In addition, the same code | symbol is attached | subjected to the same member as above-mentioned embodiment, and the description is abbreviate | omitted.

本実施形態の直動ガイド90は、主に下記の点で、前述した直動ガイド40,50,60,80とは異なっている。   The linear motion guide 90 of this embodiment is different from the linear motion guides 40, 50, 60, 80 described above mainly in the following points.

この直動ガイド90は、壁面設置される。
すなわち、軌道レール1、ブロック2及びアッパープレート3が互いに重なり合う高さ方向が、水平面方向W(図11における左右方向)となる。
また、軌道レール1、ブロック2及びアッパープレート3の幅方向が、鉛直方向H(図11における上下方向)となる。
軌道レール1が延在する方向は、長さ方向Lのままである。
The linear motion guide 90 is installed on the wall surface.
That is, the height direction in which the track rail 1, the block 2, and the upper plate 3 overlap each other is the horizontal plane direction W (the left-right direction in FIG. 11).
Moreover, the width direction of the track rail 1, the block 2, and the upper plate 3 is a vertical direction H (up and down direction in FIG. 11).
The direction in which the track rail 1 extends remains in the length direction L.

そして、直動ガイド90では、アッパープレート3は、壁面配置した際の垂直荷重をブロック2で支持するために、ブロック本体9の上側の側面21に当接する垂直荷重支持部91を有している。
垂直荷重支持部91は、上面部92と、上面部92の下面に配置された六角穴付きボタンボルト93とから構成される。
上面部92は、アッパープレート3の上側端から、ブロック本体9の上側の側面21に対向するように形成されている。上面部92とブロック本体9の側面21との間には、隙間が形成される。そして、上面部92の下面に取り付けられた六角穴付きボタンボルト93のボタン形のヘッド部分がブロック本体9の上側の側面21に当接する。
このように、直動ガイド90では、垂直荷重支持部91を設けることにより、アッパープレート3の自重及び及びアッパープレート3に加わる負荷の鉛直方向成分がブロック本体9により直接支持される。これにより、直動ガイド90を壁面設置したとしても、ブロック2とアッパープレート3の相対姿勢を変更可能にすることができる。
In the linear motion guide 90, the upper plate 3 has a vertical load support portion 91 that abuts on the upper side surface 21 of the block body 9 in order to support the vertical load when the wall surface is arranged on the block 2. .
The vertical load support portion 91 includes an upper surface portion 92 and hexagon socket button bolts 93 disposed on the lower surface of the upper surface portion 92.
The upper surface portion 92 is formed so as to face the upper side surface 21 of the block body 9 from the upper end of the upper plate 3. A gap is formed between the upper surface portion 92 and the side surface 21 of the block body 9. The button-shaped head portion of the hexagon socket button bolt 93 attached to the lower surface of the upper surface portion 92 contacts the upper side surface 21 of the block body 9.
Thus, in the linear motion guide 90, by providing the vertical load support portion 91, the weight of the upper plate 3 and the vertical component of the load applied to the upper plate 3 are directly supported by the block body 9. Thereby, even if the linear motion guide 90 is installed on the wall surface, the relative posture of the block 2 and the upper plate 3 can be changed.

本実施形態の直動ガイド90においても、前述した直動ガイド40、50、60,80と同様の作用効果を奏する。
特に、この直動ガイド90によれば、垂直荷重支持部91として、上面部92と六角穴付きボタンボルト93と用いたので、コスト上昇を招くことなく、直動ガイド90の壁面設置を実現できる。
Also in the linear motion guide 90 of this embodiment, there exists an effect similar to the linear motion guide 40, 50, 60, 80 mentioned above.
In particular, according to this linear motion guide 90, since the upper surface portion 92 and the hexagon socket button bolt 93 are used as the vertical load support portion 91, the wall surface of the linear motion guide 90 can be realized without increasing the cost. .

なお、直動ガイド90を設置する壁面は、垂直面に限定されることはなく、傾斜した面であればよい。
また、垂直荷重支持部91は、六角穴付きボタンボルト93を設ける場合に限らない。上面部92の下面に突起部を一体的に形成して、この突起部をブロック本体9の側面21に当接させてもよい。また、上面部92の形状は、平板形に限らず、フック形状等であってもよい。
Note that the wall surface on which the linear motion guide 90 is installed is not limited to a vertical surface, and may be an inclined surface.
Further, the vertical load support portion 91 is not limited to the case where the hexagon socket button bolt 93 is provided. A protrusion may be integrally formed on the lower surface of the upper surface portion 92, and this protrusion may be brought into contact with the side surface 21 of the block body 9. Further, the shape of the upper surface portion 92 is not limited to a flat plate shape, and may be a hook shape or the like.

本発明は、第1から第5実施形態に限定されるものではなく、本発明の趣旨を逸脱しない範囲において種々の変更を加えることが可能である。   The present invention is not limited to the first to fifth embodiments, and various modifications can be made without departing from the spirit of the present invention.

例えば、前述の実施形態では、ブロック2の上面17の四隅にネジ穴19が計4つ穿設されているとともに、これらネジ穴19の位置に対応してボルト36及び皿バネ32がそれぞれ設けられているとしたが、これらの数や位置は限定されない。すなわち、皿バネ32及びボルト36は、上面17における複数個所に設けられていればよく、また上面17の四隅に配置されていなくても構わない。
また、これら皿バネ32とボルト36とは、互いに同一箇所に配置されていなくても構わない。ただし、皿バネ32とボルト36とが同一箇所に配置され、皿バネ32がボルト36に貫かれていることにより、前述の実施形態で説明した効果が得られることから好ましい。
また、前述した実施形態のように、皿バネ32及びボルト36がカラー31、41の周辺を囲むように設けられることにより、取り付け誤差の調整が簡単となるとともに、あらゆる方向のモーメント荷重を負荷しやすくなることから、好ましい。
また、アッパープレート3の取付穴29の数も、前述した実施形態の4つに限定されない。
For example, in the above-described embodiment, a total of four screw holes 19 are formed in the four corners of the upper surface 17 of the block 2, and bolts 36 and disc springs 32 are provided corresponding to the positions of the screw holes 19, respectively. However, the number and position of these are not limited. In other words, the disc spring 32 and the bolt 36 may be provided at a plurality of locations on the upper surface 17, and may not be disposed at the four corners of the upper surface 17.
Further, the disc spring 32 and the bolt 36 may not be disposed at the same location. However, it is preferable that the disc spring 32 and the bolt 36 are disposed at the same place and the disc spring 32 is penetrated by the bolt 36, so that the effects described in the above-described embodiment can be obtained.
Further, as in the above-described embodiment, the disc spring 32 and the bolt 36 are provided so as to surround the periphery of the collars 31 and 41, so that the adjustment of the mounting error becomes easy and a moment load in all directions is applied. Since it becomes easy, it is preferable.
Further, the number of mounting holes 29 of the upper plate 3 is not limited to four in the above-described embodiment.

また、前述の実施形態では、皿バネ32が、アッパープレート3とブロック2とを連結するボルト36に貫かれて配設されているとしたが、ボルト36以外の軸部材に貫かれていても構わない。
つまり、アッパープレート3とブロック2とが、ボルト36以外の軸部材(連結部)によって互いに連結されていてもよい。具体的に、例えば図6において、ボルト36の代わりに、周面にネジ加工が施されていない首部と該首部より大径の頭部とを有する軸部材を用いてもよい。そして、軸部材36の首部(小径部分)をブロック2におけるネジ穴19に代わる穴に挿入した状態で、ネジ穴22に代わるピン穴に打込みピンを嵌合するとともに、該打込みピンの先端を前記首部に当接させる(食い込ませる)ことにより、軸部材36の軸方向への移動を規制するようにしても構わない。
In the above-described embodiment, the disc spring 32 is disposed so as to penetrate the bolt 36 that connects the upper plate 3 and the block 2, but the disc spring 32 may be penetrated by a shaft member other than the bolt 36. I do not care.
That is, the upper plate 3 and the block 2 may be connected to each other by a shaft member (connecting portion) other than the bolt 36. Specifically, for example, in FIG. 6, instead of the bolt 36, a shaft member having a neck portion that is not threaded on the peripheral surface and a head portion that is larger in diameter than the neck portion may be used. Then, with the neck portion (small diameter portion) of the shaft member 36 inserted into the hole in place of the screw hole 19 in the block 2, the driving pin is fitted into the pin hole in place of the screw hole 22, and the tip of the driving pin is attached to the tip of the driving pin You may make it control the movement to the axial direction of the shaft member 36 by making it contact | abut (it bites into) a neck part.

また、前述の実施形態では、弾性体として皿バネ32を用いたが、これに限定されるものではない。すなわち、弾性体は、ブロック2とアッパープレート3の間に配置されて、ブロック2とアッパープレート3を離間させるものであればよく、例えば皿バネ32以外の、弾性を有する板バネ等の金属材料やゴム等の高分子材料であっても構わない。ただし、弾性体として皿バネ32を用いることにより、前述の実施形態で説明した効果が得られることから好ましい。   In the above-described embodiment, the disc spring 32 is used as the elastic body, but the present invention is not limited to this. That is, the elastic body may be any material that is disposed between the block 2 and the upper plate 3 and separates the block 2 and the upper plate 3. For example, a metal material such as an elastic leaf spring other than the disc spring 32 is used. Alternatively, a polymer material such as rubber or rubber may be used. However, it is preferable to use the disc spring 32 as the elastic body because the effects described in the above-described embodiment can be obtained.

また、カラー31、41、81が、ブロック2とアッパープレート3との間において水平面方向の中央に位置していることとしたが、これに限定されるものではなく、例えば水平面方向の中央から偏倚した位置に配置されていてもよい。   In addition, the collars 31, 41, and 81 are positioned at the center in the horizontal plane direction between the block 2 and the upper plate 3, but the present invention is not limited to this. It may be arranged at the position.

また、負荷転動体転走路14は、ブロック2内の無限循環路の一部を形成していることとして説明したが、これに限定されるものではない。すなわち、負荷転動体転走路14は、例えばボール15の循環しない所謂有限形式の循環路の一部であっても構わない。
また、転動体としてボール15を用いて説明したが、これに限定されるものではなく、それ以外の例えば略円柱状のローラ、コロ等の転動体であってもよい。
Moreover, although the load rolling-element rolling path 14 demonstrated as forming a part of infinite circulation path in the block 2, it is not limited to this. That is, the load rolling element rolling path 14 may be a part of a so-called finite type circulation path where the ball 15 does not circulate.
Moreover, although demonstrated using the ball | bowl 15 as a rolling element, it is not limited to this, For example, rolling elements, such as a substantially cylindrical roller and a roller, may be sufficient.

また、前述の実施形態では、運動装置として直動ガイド40、50、60、80、90を例にあげて説明したが、それ以外のボールスプライン、ボールねじ等の運動装置であっても構わない。また、本発明の運動装置は、転動体を含まない単なるスライダ機構からなる案内装置をも含んでいる。   In the above-described embodiment, the linear motion guides 40, 50, 60, 80, and 90 have been described as examples of the exercise device. However, other exercise devices such as a ball spline and a ball screw may be used. . Moreover, the exercise device of the present invention also includes a guide device including a simple slider mechanism that does not include rolling elements.

その他、本発明の前述の実施形態及び変形例で説明した構成要素を、適宜組み合わせても構わない。また、本発明の趣旨を逸脱しない範囲において、前述の構成要素を周知の構成要素に置き換えることも可能である。   In addition, you may combine suitably the component demonstrated in the above-mentioned embodiment and modification of this invention. In addition, the above-described components can be replaced with well-known components without departing from the spirit of the present invention.

以下、本発明を実施例により具体的に説明する。ただし本発明はこの実施例に限定されるものではない。   Hereinafter, the present invention will be specifically described by way of examples. However, the present invention is not limited to this embodiment.

[MA(ピッチング)方向転がり抵抗確認試験]
[実施例1]
本発明の実施例1として、前述の第1実施形態で説明した直動ガイド40を用意した。
そして、図12に示すように、直動ガイド40の軌道レール1上に、長さ方向Lに間隔をあけてブロック2を一対配置した。尚、これらブロック2同士のピッチPは、350mmとした。また、アッパープレート3上に、運動させる目的部材であるテーブルTを固定した。
[MA (pitching) direction rolling resistance confirmation test]
[Example 1]
As Example 1 of the present invention, the linear motion guide 40 described in the first embodiment was prepared.
Then, as shown in FIG. 12, a pair of blocks 2 are arranged on the track rail 1 of the linear motion guide 40 at intervals in the length direction L. The pitch P between these blocks 2 was 350 mm. A table T, which is a target member to be moved, was fixed on the upper plate 3.

図13に示されるように、アッパープレート3とテーブルTとの間に、シムSを挿入した。詳しくは、直動ガイド40にピッチング方向のモーメント荷重が加わりやすくなるように、シムSを配設した。
尚、図15に示すように、シムSの厚さについては、テーブルTの全長400mmに対して、0.0mm(取付誤差:0.0/400、すなわちシムS無し)のものから、1.0mm(取付誤差:1.0/400)のものまでを段階的に用意した。
As shown in FIG. 13, a shim S was inserted between the upper plate 3 and the table T. Specifically, the shim S is disposed so that a moment load in the pitching direction is easily applied to the linear motion guide 40.
As shown in FIG. 15, the thickness of the shim S is from 0.0 mm (mounting error: 0.0 / 400, ie, no shim S) to 1.400 mm in total length of the table T. Up to 0 mm (mounting error: 1.0 / 400) was prepared stepwise.

そして、図12に示されるロードセルLCを用いて、測定速度:5mm/s、ストローク:150mmの条件で、転がり抵抗を測定した。
結果を、図15のグラフに示す。尚、グラフの縦軸は、シムS無しの場合の転がり抵抗を基準(×1)として、該基準に対するシムS有りの場合の転がり抵抗の増加倍率を示している。
Then, using the load cell LC shown in FIG. 12, the rolling resistance was measured under the conditions of a measurement speed: 5 mm / s and a stroke: 150 mm.
The results are shown in the graph of FIG. The vertical axis of the graph shows the increase rate of the rolling resistance when the shim S is present relative to the reference, with the rolling resistance when the shim S is absent as a reference (× 1).

[比較例1]
一方、比較例1として、カラー41、45、皿バネ32及びアッパープレート3を有さない従来の直動ガイドを用意した。そして、ブロック2上にテーブルTを固定し、シムSを、ブロック2とテーブルTとの間に配設した。それ以外は、実施例1と同じ条件として、転がり抵抗を測定した。結果を、図15のグラフに示す。
[Comparative Example 1]
On the other hand, as Comparative Example 1, a conventional linear guide having no collars 41 and 45, a disc spring 32, and an upper plate 3 was prepared. Then, the table T was fixed on the block 2, and the shim S was disposed between the block 2 and the table T. Otherwise, the rolling resistance was measured under the same conditions as in Example 1. The results are shown in the graph of FIG.

[MC(ローリング)方向転がり抵抗確認試験]
[実施例2]
また、本発明の実施例2として、図14に示されるように、直動ガイド40にローリング方向のモーメント荷重が加わりやすくなるように、シムSを配設した。
尚、図16に示すように、シムSの厚さについては、直動ガイド40の幅50mmに対して、0.0mm(取付誤差:0.0/50、すなわちシムS無し)のものから、1.0mm(取付誤差:1.0/50)のものまでを段階的に用意した。それ以外は実施例1と同じ条件として、転がり抵抗を測定した。結果を、図16のグラフに示す。
[MC (rolling) direction rolling resistance confirmation test]
[Example 2]
Further, as Example 2 of the present invention, as shown in FIG. 14, a shim S is disposed so that a moment load in the rolling direction is easily applied to the linear motion guide 40.
As shown in FIG. 16, the thickness of the shim S is from 0.0 mm (mounting error: 0.0 / 50, ie, no shim S) with respect to the width of 50 mm of the linear guide 40. Up to 1.0 mm (mounting error: 1.0 / 50) was prepared stepwise. Otherwise, the rolling resistance was measured under the same conditions as in Example 1. The results are shown in the graph of FIG.

[比較例2]
一方、比較例2として、カラー41、45、皿バネ32及びアッパープレート3を有さない従来の直動ガイドを用意した。そして、ブロック2上にテーブルTを固定し、シムSを、ブロック2とテーブルTとの間に配設した。それ以外は、実施例2と同じ条件として、転がり抵抗を測定した。結果を、図16のグラフに示す。
[Comparative Example 2]
On the other hand, as Comparative Example 2, a conventional linear motion guide having no collars 41 and 45, a disc spring 32, and an upper plate 3 was prepared. Then, the table T was fixed on the block 2, and the shim S was disposed between the block 2 and the table T. Otherwise, the rolling resistance was measured under the same conditions as in Example 2. The results are shown in the graph of FIG.

[評価]
図15及び図16に示される通り、実施例1、2については、シムS厚さが1.0mmに及ぶ場合であっても、転がり抵抗増加倍率が(×10)以下となり、十分に低く抑えられることがわかった。
この結果からわかるように、本実施例の直動ガイド40によれば、例えば軌道レール1を設置する場所に凹凸があったり、設置する装置の剛性が確保されていなかったり、設置場所の温度変化によって変位が生じたりすることによって、取り付けや動作に誤差が生じることがあっても、装置としての剛性が十分に確保されつつ、あらゆる方向のモーメント荷重を負荷することができ、誤差を十分に吸収してスムースで安定した動作が確保され、装置寿命の延長が期待できる。つまり、取付面の誤差によって生じるモーメント荷重を緩和でき、かつ、モーメント荷重の負荷が作用した時に剛性を調整維持できる。
[Evaluation]
As shown in FIGS. 15 and 16, in Examples 1 and 2, even when the shim S thickness reaches 1.0 mm, the rolling resistance increase magnification is (× 10) or less and is kept sufficiently low. I found out that
As can be seen from this result, according to the linear motion guide 40 of the present embodiment, for example, the place where the track rail 1 is installed is uneven, the rigidity of the installation device is not secured, or the temperature change of the installation place Even if there is an error in the installation or operation due to the displacement caused by, the moment can be loaded in all directions while the rigidity of the device is sufficiently secured, and the error is fully absorbed As a result, smooth and stable operation can be ensured and the life of the apparatus can be extended. That is, the moment load generated by the error of the mounting surface can be relaxed, and the rigidity can be adjusted and maintained when the moment load is applied.

[MA方向及びMC方向モーメント荷重負荷による耐久確認試験]
[実施例3]
本発明の実施例3として、軌道レール1上に一対のブロック2を間隔をあけて配置した直動ガイド40を用いて、実施例1、2で説明したMA方向のモーメント荷重及びMC方向のモーメント荷重をそれぞれ所定量負荷した状態で、この直動ガイド40を繰り返し往復移動させて、負荷転動体転走面13の状態(転動(走)面の荒れ)を確認した。結果を、図17に示す。
[Endurance confirmation test by moment load in MA direction and MC direction]
[Example 3]
As a third embodiment of the present invention, using the linear motion guide 40 in which a pair of blocks 2 are arranged on the track rail 1 with a space therebetween, the moment load in the MA direction and the moment in the MC direction described in the first and second embodiments are used. The linear motion guide 40 was repeatedly reciprocated in a state where a predetermined amount of load was applied, and the state of the loaded rolling element rolling surface 13 (roughness of the rolling (running) surface) was confirmed. The results are shown in FIG.

[比較例3]
一方、比較例3として、カラー41、45、皿バネ32及びアッパープレート3を有さない従来の直動ガイドを用意した。それ以外は、実施例3と同じ条件として、この直動ガイドを繰り返し往復移動させて、負荷転動体転走面の状態を確認した。結果を、図18に示す。
[Comparative Example 3]
On the other hand, as Comparative Example 3, a conventional linear motion guide having no collars 41 and 45, a disc spring 32, and an upper plate 3 was prepared. Otherwise, under the same conditions as in Example 3, this linear motion guide was repeatedly reciprocated to confirm the state of the loaded rolling element rolling surface. The results are shown in FIG.

[評価]
図17に示される実施例3では、往復移動の走行距離が1000kmに達した時点において、負荷転動体転走面13の一部に多少の荒れは見受けられるものの、フレーキング等の損傷は見受けられなかった。
一方、図18に示される比較例3では、往復移動の走行距離が109kmに達した時点において、負荷転動体転走面の多くに荒れが見受けられ、フレーキングも複数見受けられた。
[Evaluation]
In Example 3 shown in FIG. 17, when the traveling distance of the reciprocating movement reaches 1000 km, some roughness of the rolling surface of the loaded rolling element 13 is observed, but damage such as flaking is observed. There wasn't.
On the other hand, in Comparative Example 3 shown in FIG. 18, when the travel distance of the reciprocating movement reached 109 km, many of the loaded rolling element rolling surfaces were rough, and a plurality of flakings were also observed.

[MA方向及びMC方向モーメント荷重負荷による負荷分布シミュレーション]
[実施例4]
本発明の実施例4として、軌道レール1上に一対のブロック2を間隔をあけて配置した直動ガイド40を用い、実施例3と同様の条件において、負荷転動体転走面13(負荷転動体転走路14)に配列された各ボール15にかかる負荷分布シミュレーションを行った。結果を、図19(a)〜(c)に示す。
尚、図19(b)(c)において、円弧状の矢印はモーメント荷重の向きを示しており、直線状の矢印のうち、太い矢印はテーブルTから直動ガイドに加えられる外力等の向きを示し、細い矢印はこれらモーメント荷重や外力等により各部材(ボール15やカラー41)に負荷される力の大きさを長さで示している。
[Load distribution simulation by moment load in MA and MC directions]
[Example 4]
As Example 4 of the present invention, using a linear motion guide 40 in which a pair of blocks 2 are spaced apart on a track rail 1, under the same conditions as in Example 3, the rolling elements rolling surface 13 (load rolling A load distribution simulation was performed on each ball 15 arranged on the moving body rolling path 14). The results are shown in FIGS. 19 (a) to 19 (c).
In FIGS. 19B and 19C, the arc-shaped arrow indicates the direction of the moment load. Of the straight arrows, the thick arrow indicates the direction of the external force applied from the table T to the linear guide. The thin arrows indicate the magnitude of the force applied to each member (the ball 15 and the collar 41) by the moment load, the external force, and the like.

[比較例4]
一方、比較例4として、カラー41、45、皿バネ32及びアッパープレート3を有さない従来の直動ガイドを用意した。それ以外は、実施例4と同じ条件として、負荷分布シミュレーションを行った。結果を、図20(a)〜(c)に示す。
尚、図20(b)(c)における矢印の意味は、前述した図19(b)(c)と同様である。
[Comparative Example 4]
On the other hand, as Comparative Example 4, a conventional linear motion guide having no collars 41 and 45, a disc spring 32, and an upper plate 3 was prepared. Other than that, a load distribution simulation was performed under the same conditions as in Example 4. The results are shown in FIGS. 20 (a) to (c).
In addition, the meaning of the arrow in FIG.20 (b) (c) is the same as that of FIG.19 (b) (c) mentioned above.

[評価]
図19(a)〜(c)に示されるように、実施例4においては、各ボール15にかかる荷重が小さく抑えられているとともに、全体に均一な荷重を負荷していることがわかる。
また、モーメント荷重や外力等が大きくなった場合に、カラー41が負荷を受けることで、ボール15にかかる負荷を低減させている。
一方、図20(a)〜(c)に示されるように、比較例4においては、ボール15がモーメント荷重や外力等をそのまま大きく受けているとともに、局所的な集中荷重が発生していることがわかる。
[Evaluation]
As shown in FIGS. 19A to 19C, in Example 4, it can be seen that the load applied to each ball 15 is kept small and a uniform load is applied to the whole.
Further, when the moment load, the external force, or the like becomes large, the load applied to the ball 15 is reduced by receiving the load on the collar 41.
On the other hand, as shown in FIGS. 20 (a) to 20 (c), in Comparative Example 4, the ball 15 receives a large moment load or external force as it is, and a local concentrated load is generated. I understand.

1…軌道レール(軌道体)、 2…ブロック(移動体)、 3…アッパープレート(取付体)、 40,50,60,80,90…直動ガイド(運動装置)、 17…ブロックの上面(載置面)、 24…側面部、 31,41,81…ピン(支承部)、 32…皿バネ(弾性体)、 36…ボルト(連結部)、 91…垂直荷重支持部、 C…隙間   DESCRIPTION OF SYMBOLS 1 ... Track rail (track body), 2 ... Block (moving body), 3 ... Upper plate (mounting body), 40, 50, 60, 80, 90 ... Linear motion guide (exercise device), 17 ... Upper surface of block ( (Mounting surface), 24 ... side face part, 31, 41, 81 ... pin (support part), 32 ... disc spring (elastic body), 36 ... bolt (connecting part), 91 ... vertical load support part, C ... gap

Claims (8)

少なくとも1つ以上の軌道体と、
前記軌道体上を移動可能な複数の移動体と、
前記移動体の載置面から離間して配置される取付体と、
前記移動体と前記取付体の間に配置されて、前記移動体と前記取付体を離間させる弾性体と、
前記移動体と前記取付体の相対姿勢を変更可能に連結する複数の連結部と、
を備えることを特徴とする運動装置。
At least one orbiting body;
A plurality of movable bodies movable on the track body;
A mounting body disposed apart from the mounting surface of the moving body;
An elastic body disposed between the moving body and the mounting body, and separating the moving body and the mounting body;
A plurality of connecting portions for connecting the movable body and the mounting body in a changeable manner; and
An exercise device comprising:
前記複数の連結部は、前記載置面の四箇所に配置されることを特徴とする請求項1に記載の運動装置。   The exercise device according to claim 1, wherein the plurality of connecting portions are arranged at four locations on the placement surface. 前記移動体と前記取付体の相対姿勢を変更可能に支持するように、前記移動体と前記取付体のいずれか一方に突出する支承部と、
を備えることを特徴とする請求項1又は2に記載の運動装置。
A support portion projecting to one of the moving body and the mounting body so as to support the movable body and the mounting body in a changeable relative posture;
The exercise apparatus according to claim 1, further comprising:
前記弾性体は、前記連結部に貫かれることを特徴とする請求項1から3のうちいずれか一項に記載の運動装置。   The exercise device according to any one of claims 1 to 3, wherein the elastic body is penetrated by the connecting portion. 前記弾性体は、前記支承部に貫かれることを特徴とする請求項1から3のうちいずれか一項に記載の運動装置。   The exercise device according to any one of claims 1 to 3, wherein the elastic body penetrates the support portion. 前記取付体は、前記移動体との相対的な所定範囲の揺動を許容する隙間を有する側面部を備えることを特徴とする請求項1から5のうちいずれか一項に記載の運動装置。   The exercise device according to any one of claims 1 to 5, wherein the attachment body includes a side surface portion having a gap that allows rocking within a predetermined range relative to the moving body. 前記複数の連結部は、前記移動体と前記取付体の最大距離を規定することを特徴とする請求項1から6のうちいずれか一項に記載の運動装置。   The exercise device according to claim 1, wherein the plurality of connecting portions define a maximum distance between the moving body and the attachment body. 前記取付体は、壁面配置した際の垂直荷重を前記移動体で支持するために、前記移動体の上面に当接する垂直荷重支持部を備えることを特徴とする請求項1から7のうちいずれか一項に記載の運動装置。   The said attachment body is equipped with the vertical load support part contact | abutted on the upper surface of the said mobile body, in order to support the vertical load at the time of wall-surface arrangement | positioning with the said mobile body. The exercise device according to one item.
JP2012184468A 2011-09-27 2012-08-23 Motion device Pending JP2013083347A (en)

Priority Applications (1)

Application Number Priority Date Filing Date Title
JP2012184468A JP2013083347A (en) 2011-09-27 2012-08-23 Motion device

Applications Claiming Priority (3)

Application Number Priority Date Filing Date Title
JP2011210741 2011-09-27
JP2011210741 2011-09-27
JP2012184468A JP2013083347A (en) 2011-09-27 2012-08-23 Motion device

Publications (1)

Publication Number Publication Date
JP2013083347A true JP2013083347A (en) 2013-05-09

Family

ID=48528726

Family Applications (1)

Application Number Title Priority Date Filing Date
JP2012184468A Pending JP2013083347A (en) 2011-09-27 2012-08-23 Motion device

Country Status (1)

Country Link
JP (1) JP2013083347A (en)

Cited By (1)

* Cited by examiner, † Cited by third party
Publication number Priority date Publication date Assignee Title
WO2026011398A1 (en) * 2024-07-12 2026-01-15 郑红艳 Linear ball slider for linear guide rail

Cited By (1)

* Cited by examiner, † Cited by third party
Publication number Priority date Publication date Assignee Title
WO2026011398A1 (en) * 2024-07-12 2026-01-15 郑红艳 Linear ball slider for linear guide rail

Similar Documents

Publication Publication Date Title
US9382098B2 (en) Elevator device and roller guide assembly
CN102449333B (en) Adjustable preload type linear guide system
JP5733469B2 (en) Single axis actuator
CN101238297B (en) Linear guide
JP6728585B2 (en) Angular contact ball bearing
US9422976B2 (en) Axial-radial rolling contact bearing, in particular for supporting rotor blades on a wind turbine
US12398839B2 (en) Adjustable leveling kit and associated installation method
US11105366B2 (en) Long span lead screw assembly with anti-backlash nut and wear compensated load bearing element
US11268600B2 (en) Linear motion guide device and method for manufacturing linear motion guide device
JP2013083347A (en) Motion device
JPH0416296B2 (en)
US8770849B2 (en) Pivoting ball bearing system
CN102080690B (en) For the spacer element with adjustable length of rolling bearing
JP5324559B2 (en) Exercise equipment
CN104039628A (en) Spindle drive for adjusting the height of an electrically adjustable steering column
KR20130013040A (en) Error compensating bearing screw conveying device
JP5514001B2 (en) Suspension upper mount device
US20080279494A1 (en) Bearing cage with oblong cavities and radial angular-contact ball bearing comprising such a cage
CN220396281U (en) Pre-tightening rolling linear guide rail capable of reducing abrasion
CN112555278A (en) Static pressure platform thrust self-aligning roller combined bearing
CN215805747U (en) Static pressure platform thrust self-aligning roller combined bearing
TWI716538B (en) Combined cylindrical roller bearing
JP5208621B2 (en) Exercise guidance device
JP2010107026A (en) Rolling device
JP4178316B2 (en) Double row eccentric thrust bearing