JP2012251499A - Propeller structure for tidal current power generator - Google Patents

Propeller structure for tidal current power generator Download PDF

Info

Publication number
JP2012251499A
JP2012251499A JP2011125466A JP2011125466A JP2012251499A JP 2012251499 A JP2012251499 A JP 2012251499A JP 2011125466 A JP2011125466 A JP 2011125466A JP 2011125466 A JP2011125466 A JP 2011125466A JP 2012251499 A JP2012251499 A JP 2012251499A
Authority
JP
Japan
Prior art keywords
blade
output shaft
tidal current
shaft
propeller structure
Prior art date
Legal status (The legal status is an assumption and is not a legal conclusion. Google has not performed a legal analysis and makes no representation as to the accuracy of the status listed.)
Pending
Application number
JP2011125466A
Other languages
Japanese (ja)
Inventor
Hisaya Teraoka
久弥 寺岡
Current Assignee (The listed assignees may be inaccurate. Google has not performed a legal analysis and makes no representation or warranty as to the accuracy of the list.)
TERAOKA SHOJI KK
Original Assignee
TERAOKA SHOJI KK
Priority date (The priority date is an assumption and is not a legal conclusion. Google has not performed a legal analysis and makes no representation as to the accuracy of the date listed.)
Filing date
Publication date
Application filed by TERAOKA SHOJI KK filed Critical TERAOKA SHOJI KK
Priority to JP2011125466A priority Critical patent/JP2012251499A/en
Publication of JP2012251499A publication Critical patent/JP2012251499A/en
Pending legal-status Critical Current

Links

Images

Classifications

    • YGENERAL TAGGING OF NEW TECHNOLOGICAL DEVELOPMENTS; GENERAL TAGGING OF CROSS-SECTIONAL TECHNOLOGIES SPANNING OVER SEVERAL SECTIONS OF THE IPC; TECHNICAL SUBJECTS COVERED BY FORMER USPC CROSS-REFERENCE ART COLLECTIONS [XRACs] AND DIGESTS
    • Y02TECHNOLOGIES OR APPLICATIONS FOR MITIGATION OR ADAPTATION AGAINST CLIMATE CHANGE
    • Y02EREDUCTION OF GREENHOUSE GAS [GHG] EMISSIONS, RELATED TO ENERGY GENERATION, TRANSMISSION OR DISTRIBUTION
    • Y02E10/00Energy generation through renewable energy sources
    • Y02E10/20Hydro energy
    • YGENERAL TAGGING OF NEW TECHNOLOGICAL DEVELOPMENTS; GENERAL TAGGING OF CROSS-SECTIONAL TECHNOLOGIES SPANNING OVER SEVERAL SECTIONS OF THE IPC; TECHNICAL SUBJECTS COVERED BY FORMER USPC CROSS-REFERENCE ART COLLECTIONS [XRACs] AND DIGESTS
    • Y02TECHNOLOGIES OR APPLICATIONS FOR MITIGATION OR ADAPTATION AGAINST CLIMATE CHANGE
    • Y02EREDUCTION OF GREENHOUSE GAS [GHG] EMISSIONS, RELATED TO ENERGY GENERATION, TRANSMISSION OR DISTRIBUTION
    • Y02E10/00Energy generation through renewable energy sources
    • Y02E10/30Energy from the sea, e.g. using wave energy or salinity gradient

Landscapes

  • Hydraulic Turbines (AREA)
  • Other Liquid Machine Or Engine Such As Wave Power Use (AREA)

Abstract

PROBLEM TO BE SOLVED: To provide a propeller structure for a tidal current power generation device capable of obtaining a stable power generation amount, by stabilizing rotational acceleration of an output shaft.SOLUTION: This propeller structure 3 for a tidal current power generation device comprises: an output shaft 7 connected to a power generator 5 of the tidal current power generation device 1; and m rotors 9 fixed to the output shaft 7. Each of the m rotors 9 includes n vane parts 11 radially extending from the output shaft 7 and equiangularly fixed to the output shaft 7. Each of the n vane parts 11 includes a blade 13 receiving a tidal current, a support shaft 15 extending in a direction perpendicular to the output shaft 7 and rotatably supporting the blade 13, and a regulation shaft 17 regulating the rotation of the blade 13 while the blade 13 is rotated and a surface of the blade 13 becomes parallel to the output shaft 7. In the m rotors 9, all of the vane parts 11 of the m rotors 9 are arranged at intervals of 360/(mn) degrees about an axis of the shaft relative to the adjacent vane parts 11 when viewed from above.

Description

本発明は、潮流発電機用のプロペラ構造に関する。   The present invention relates to a propeller structure for a tidal current generator.

従来から、潮流エネルギーを用いて発電を行うための潮流発電機用のプロペラ構造として特許文献1に記載されたものが知られている。   Conventionally, what was described in patent document 1 as a propeller structure for tidal power generators for generating power using tidal energy is known.

特開2010−180873号公報JP 2010-180873 A

特許文献1には、互いに回動可能に連結された二枚のブレードで開閉回転羽根を形成し、この開閉回転羽根をシャフト周りに90度間隔で4枚配置したロータを備えたプロペラ構造が記載されている。また、特許文献1には、このようなロータを複数個設けることにより、プロペラ構造による出力トルクを増加させることが記載されている。   Patent Document 1 describes a propeller structure including a rotor in which an opening / closing rotary blade is formed by two blades that are rotatably connected to each other, and four open / close rotary blades are arranged around the shaft at intervals of 90 degrees. Has been. Patent Document 1 describes that the output torque by the propeller structure is increased by providing a plurality of such rotors.

しかしながら、特許文献1のプロペラ構造では、各々のロータにおけるブレードの位置関係について考慮されていないため、例えば、プロペラ構造を出力シャフトの軸線方向に沿ってみたときに、全てのロータのブレードが重なるような位置関係を有している場合には、重なっているブレードが同時に潮流を受けて出力シャフトの回転加速度を増加させる。反対に、隣接するブレード間の角度を二等分した位置にある面が潮流と直交するような位置では、全てのブレードが潮流を受け流してしまうので、出力シャフトの回転加速度を増加させることはできない。このように特許文献1に記載されたプロペラ構造では、出力シャフトの回転加速度を安定させることができず、結果として潮流発電装置による発電量を安定させることができないという問題があった。   However, in the propeller structure of Patent Document 1, since the positional relationship of the blades in each rotor is not considered, for example, when the propeller structure is viewed along the axial direction of the output shaft, the blades of all the rotors overlap. In the case where the positional relations are different, the overlapping blades simultaneously receive a power flow and increase the rotational acceleration of the output shaft. On the other hand, at a position where the angle between adjacent blades bisected is perpendicular to the tidal current, all blades receive the tidal current, so the rotational acceleration of the output shaft cannot be increased. . As described above, the propeller structure described in Patent Document 1 has a problem that the rotational acceleration of the output shaft cannot be stabilized, and as a result, the amount of power generated by the tidal current power generator cannot be stabilized.

そこで本発明は、上述した問題点を解決するためになされたものであり、出力シャフトの回転加速度を安定させることにより、安定した発電量を得ることができる潮流発電装置用のプロペラ構造を提供することを目的とする。   Accordingly, the present invention has been made to solve the above-described problems, and provides a propeller structure for a tidal current power generation device that can obtain a stable power generation amount by stabilizing the rotational acceleration of an output shaft. For the purpose.

上述した課題を解決するために、本発明は、潮流発電装置用のプロペラ構造において、潮流発電装置の発電機に接続される出力シャフトと、この出力シャフトに固定されたm個のロータとを備え、m個のロータの各々は、出力ャフトを中心に放射状に延び、互いに等角度をなして出力シャフトに固定されたn個の翼部を有し、翼部の各々は、潮流を受けるようになったブレードと、出力シャフトと直交方向に延びブレードを回動自在に支持するようになった支持シャフトと、ブレードが回動してブレードの面が出力シャフトと平行になる状態でブレードの回動を規制する規制部材とを有し、ロータは、上面視したときに、m個のロータの全てのブレードが、隣接するブレードに対してシャフトの軸周りに360/(mn)度の間隔をもって配置されていること特徴とする。   In order to solve the above-described problems, the present invention includes, in a propeller structure for a tidal current power generation device, an output shaft connected to a power generator of the tidal current power generation device, and m rotors fixed to the output shaft. Each of the m rotors extends radially about the output shaft and has n wings that are equiangular with each other and secured to the output shaft so that each wing receives a tidal current. Blade, a support shaft that extends in a direction orthogonal to the output shaft and supports the blade in a rotatable manner, and the blade rotates in a state where the blade rotates and the surface of the blade is parallel to the output shaft. When the rotor is viewed from above, all the blades of the m rotors are arranged around the shaft axis with an interval of 360 / (mn) degrees with respect to the adjacent blades. Wherein we are.

このように構成された本発明によれば、出力シャフトと直交する支持シャフトに対して回動可能に支持されたブレードを備えるプロペラ構造における全てのプロペラを、出力シャフトの周囲に、等しい角度間隔で配置することができる。そしてこのように全てのプロペラを等しい角度間隔に配置することによって、潮流を受けて回転するプロペラ構造の回転時の角加速度を常に、ほぼ一定に保つことができる。   According to the present invention configured as described above, all the propellers in the propeller structure including the blades rotatably supported with respect to the support shaft orthogonal to the output shaft are arranged at equal angular intervals around the output shaft. Can be arranged. By arranging all the propellers at equal angular intervals in this way, the angular acceleration during rotation of the propeller structure that rotates in response to the power flow can always be kept substantially constant.

また、本発明において、好ましくは、規制部材は、所定の間隔をもって支持シャフトと平行に延び、出力シャフトと平行な状態にあるブレードと接触して当該ブレードの回動を規制する規制シャフトを備える。
このように構成された本発明によれば、簡単な構造によって、支持シャフトに対するブレードの回動範囲を制限することができる。
In the present invention, it is preferable that the restricting member includes a restricting shaft that extends in parallel with the support shaft at a predetermined interval and contacts the blade in parallel with the output shaft to restrict the rotation of the blade.
According to the present invention configured as described above, the rotation range of the blade relative to the support shaft can be limited with a simple structure.

また、本発明において、好ましくは、規制シャフトは、支持シャフトよりも下側において出力シャフトに固定されており、ブレードの上端近傍が、支持シャフトに回動自在に支持され、ブレードの下端近傍が規制シャフトに接触するようになっている。
このように構成された本発明によれば、潮流を受けて水平状態まで回動したブレードを、簡単な構造を用いて、重力を利用して出力シャフトと平行な状態に戻すことができる。
In the present invention, preferably, the restriction shaft is fixed to the output shaft below the support shaft, the upper end vicinity of the blade is rotatably supported by the support shaft, and the lower end vicinity of the blade is restricted. It comes in contact with the shaft.
According to the present invention configured as described above, the blade rotated to the horizontal state upon receiving the tidal current can be returned to a state parallel to the output shaft using gravity with a simple structure.

また、本発明において好ましくは、規制シャフトとブレードが接触する箇所に設けられた緩衝部材をさらに備える。
このように構成された本発明によれば、緩衝部材によってブレードと規制シャフトとの間の衝撃を低減することができる。
In the present invention, it is preferable to further include a buffer member provided at a location where the regulating shaft and the blade are in contact with each other.
According to the present invention configured as described above, the shock between the blade and the regulating shaft can be reduced by the buffer member.

以上のように、本発明によれば、潮流発電装置用のプロペラ構造において、出力シャフトの回転加速度を安定させることができ、これにより潮流発電装置の発電量を安定させることができる。   As described above, according to the present invention, in the propeller structure for a tidal current power generator, the rotational acceleration of the output shaft can be stabilized, and thereby the power generation amount of the tidal current power generator can be stabilized.

本発明の実施形態によるプロペラ構造を備えた潮流発電装置を載せた台船の側面図である。It is a side view of the trolley which carried the tidal current power generator provided with the propeller structure by the embodiment of the present invention. 本発明の実施形態によるプロペラ構造を備えた潮流発電装置を載せた台船の底面図である。It is a bottom view of a trolley carrying a tidal current power generation device provided with a propeller structure according to an embodiment of the present invention. 本発明の実施形態によるプロペラ構造の立面図である。1 is an elevational view of a propeller structure according to an embodiment of the present invention. 本発明の実施形態によるプロペラ構造の上面図である。It is a top view of the propeller structure by embodiment of this invention. 本発明の実施形態によるプロペラの断面図である。It is sectional drawing of the propeller by embodiment of this invention. 本発明の実施形態によるプロペラ構造のロータの上面図である。It is a top view of the rotor of the propeller structure by embodiment of this invention. 本発明の実施例による、流速0.5m/sで流れる水の中でのプロペラ構造の角速度を示すグラフである。It is a graph which shows the angular velocity of the propeller structure in the water which flows with the flow velocity of 0.5 m / s by the Example of this invention. 本発明の実施例による、流速0.5m/sで流れる水の中でのプロペラ構造の角加速度を示すグラフである。It is a graph which shows the angular acceleration of the propeller structure in the water which flows with the flow velocity of 0.5 m / s by the Example of this invention. 本発明の実施例による、流速1.0m/sで流れる水の中でのプロペラ構造の角速度を示すグラフである。4 is a graph showing the angular velocity of a propeller structure in water flowing at a flow rate of 1.0 m / s according to an embodiment of the present invention. 本発明の実施例による、流速1.0m/sで流れる水の中でのプロペラ構造の角加速度を示すグラフである。It is a graph which shows the angular acceleration of the propeller structure in the water which flows with the flow velocity of 1.0 m / s by the Example of this invention. 本発明の実施例による、流速1.5m/sで流れる水の中でのプロペラ構造の角速度を示すグラフである。4 is a graph showing the angular velocity of a propeller structure in water flowing at a flow rate of 1.5 m / s according to an embodiment of the present invention. 本発明の実施例による、流速1.5m/sで流れる水の中でのプロペラ構造の角加速度を示すグラフである。It is a graph which shows the angular acceleration of the propeller structure in the water which flows at the flow velocity of 1.5 m / s by the Example of this invention. 本発明の実施例による、流速2.0m/sで流れる水の中でのプロペラ構造の角速度を示すグラフである。4 is a graph showing the angular velocity of a propeller structure in water flowing at a flow rate of 2.0 m / s according to an embodiment of the present invention. 本発明の実施例による、流速2.0m/sで流れる水の中でのプロペラ構造の角加速度を示すグラフである。It is a graph which shows the angular acceleration of the propeller structure in the water which flows at the flow velocity of 2.0 m / s by the Example of this invention.

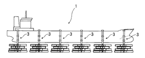
以下、図面を参照して、本発明の実施形態による潮流発電装置用のプロペラ構造について説明する。図1は、本発明の実施形態にかかるプロペラ構造を備えた潮流発電装置を載せた台船の側面図であり、図2は、図1の台船の底面図である。   Hereinafter, a propeller structure for a tidal current power generator according to an embodiment of the present invention will be described with reference to the drawings. FIG. 1 is a side view of a trolley on which a tidal current power generation apparatus having a propeller structure according to an embodiment of the present invention is mounted, and FIG. 2 is a bottom view of the trolley of FIG.

図1及び2に示すように、潮流発電装置1は、複数のプロペラ構造3と、複数の発電機5を備えており、各々のプロペラ構造3で得られたエネルギーを発電機5に伝達して電力を発生させるようになっている。台船上の発電機5は、送電線(図示せず)を介して陸上の変電設備に接続されている。そして潮流発電装置1は、海上において潮流によってプロペラ構造3を回転させて、そのエネルギーを発電機5において電力に変換するようになっている。   As shown in FIGS. 1 and 2, the tidal current power generation device 1 includes a plurality of propeller structures 3 and a plurality of generators 5, and transmits the energy obtained by each propeller structure 3 to the generators 5. It is designed to generate power. The generator 5 on the trolley is connected to a land-based substation facility via a transmission line (not shown). The tidal power generator 1 rotates the propeller structure 3 by the tidal current at sea, and converts the energy into electric power in the generator 5.

台船には、複数のプロペラ構造3が搭載されており、各々のプロペラ構造3は同一の構造を有している。プロペラ構造3は、台船の両側にそれぞれ六個ずつ等間隔で配列されている。   A plurality of propeller structures 3 are mounted on the trolley, and each propeller structure 3 has the same structure. Six propeller structures 3 are arranged at equal intervals on both sides of the carriage.

図3は、プロペラ構造3の立面図であり、図4は、このプロペラ構造3の上面図である。プロペラ構造3は、発電機5に接続される出力シャフト7と、この出力シャフト7に固定された複数のロータ9とを備える。垂直方向に延びる出力シャフト7の上端は、発電機5の回転子を有する軸受けに固定されており、潮流によって回転するロータ9のエネルギーを、回転力として発電機5に伝達するようになっている。また、複数のロータ9は、出力シャフト7の軸線方向に沿って互いに重なるようになっている。   FIG. 3 is an elevation view of the propeller structure 3, and FIG. 4 is a top view of the propeller structure 3. The propeller structure 3 includes an output shaft 7 connected to the generator 5 and a plurality of rotors 9 fixed to the output shaft 7. The upper end of the output shaft 7 extending in the vertical direction is fixed to a bearing having a rotor of the generator 5, and the energy of the rotor 9 that rotates due to the tidal current is transmitted to the generator 5 as a rotational force. . The plurality of rotors 9 overlap each other along the axial direction of the output shaft 7.

ロータ9は、出力シャフト7と直交する方向において、出力シャフト7を中心として放射状に延びる複数の翼部11を有している。一つのロータ9に設けられた複数の翼部11は、互いに等しい角度間隔で出力シャフト7に固定されている。そして本実施形態では、一つのロータ9に、四枚の翼部11が設けられており、一つのロータ9における各翼部11は、隣接する翼部11から出力シャフト7の周方向に90度離れた位置において出力シャフト7に固定されている。そしてロータ9は、後述するように、潮流を受けて回転するようになっており、ロータ9が出力シャフト回りに回転したときの軌跡で形成される円の直径は、例えば7200mm乃至7300mm程度とされる。
尚、本実施形態では、プロペラ構造3が四個のロータ9を備えているものとするが、本発明によるプロペラ構造では、ロータの個数(m:m>1)を適宜変更することができる。また、一つのロータ9に四個の翼部11が設けられているものとするが、本発明によるプロペラ構造では、一つのロータに設けられる翼部の個数(n:n>1)は四個に限られるものではない。
The rotor 9 has a plurality of wing parts 11 extending radially from the output shaft 7 in the direction orthogonal to the output shaft 7. A plurality of wing portions 11 provided in one rotor 9 are fixed to the output shaft 7 at equal angular intervals. In this embodiment, one rotor 9 is provided with four blade portions 11, and each blade portion 11 in one rotor 9 is 90 degrees from the adjacent blade portion 11 in the circumferential direction of the output shaft 7. It is fixed to the output shaft 7 at a remote position. As will be described later, the rotor 9 rotates in response to the power flow, and the diameter of the circle formed by the locus when the rotor 9 rotates around the output shaft is, for example, about 7200 mm to 7300 mm. The
In this embodiment, it is assumed that the propeller structure 3 includes four rotors 9. However, in the propeller structure according to the present invention, the number of rotors (m: m> 1) can be appropriately changed. Further, it is assumed that four blades 11 are provided in one rotor 9, but in the propeller structure according to the present invention, the number of blades (n: n> 1) provided in one rotor is four. It is not limited to.

ロータ9に設けられた四個の翼部11は、全て同一の構造を有しており、各翼部11は、潮流を受けるためのブレード13と、ブレード13を出力シャフト7に対して支持するための支持シャフト15とを備える。支持シャフト15は、一端が出力シャフト7に固定されており、そこから出力シャフト7と直交するように延びている。そして、支持シャフト15の他端側には、ブレード13が支持シャフト15に対して回動可能に支持されている。また、翼部11は、ブレード13の回動を規制するための規制シャフト17を有している。この規制シャフト17は、出力シャフト7から支持シャフト15と平行に且つ出力シャフト7と直交するように延びている。そして規制シャフト17は、支持シャフト15よりも下方において、出力シャフト7に固定されている。また、支持シャフト15と規制シャフト17との間には、複数のリブ部材19がわたされており、これにより支持シャフト15、規制シャフト17、及びリブ部材19によって、梯子状のフレーム21を形成している。   The four wing portions 11 provided in the rotor 9 all have the same structure, and each wing portion 11 supports a blade 13 for receiving a tidal current and the blade 13 with respect to the output shaft 7. Support shaft 15. One end of the support shaft 15 is fixed to the output shaft 7, and extends so as to be orthogonal to the output shaft 7. The blade 13 is supported on the other end side of the support shaft 15 so as to be rotatable with respect to the support shaft 15. Further, the wing part 11 has a regulating shaft 17 for regulating the rotation of the blade 13. The restriction shaft 17 extends from the output shaft 7 in parallel to the support shaft 15 and orthogonal to the output shaft 7. The restriction shaft 17 is fixed to the output shaft 7 below the support shaft 15. In addition, a plurality of rib members 19 are passed between the support shaft 15 and the restriction shaft 17, whereby a ladder-shaped frame 21 is formed by the support shaft 15, the restriction shaft 17, and the rib member 19. ing.

ブレード13は、例えば高さ610mm、長さ2400mm程度の長方形の板状部材によって構成されており、この長方形の面が潮流に対して所定の角度を有するときに潮流を受けて、潮流によるエネルギーを、支持シャフト15を通じて出力シャフト7に伝達するようになっている。また、ブレード13の面によって受けた潮流が出力シャフト7の回転させるモーメントを作り出すことを考慮して、ブレード13の先端と、支持シャフト15(及び規制シャフト17)の先端とを整列させて、出力シャフト7に加わるモーメントを大きくするようにすることが好ましい。   The blade 13 is composed of a rectangular plate-like member having a height of about 610 mm and a length of about 2400 mm, for example. When the rectangular surface has a predetermined angle with respect to the tidal current, the blade 13 receives the tidal current and generates energy from the tidal current. The power is transmitted to the output shaft 7 through the support shaft 15. Further, considering that the tidal current received by the surface of the blade 13 creates a moment to rotate the output shaft 7, the tip of the blade 13 and the tip of the support shaft 15 (and the regulation shaft 17) are aligned and output. It is preferable to increase the moment applied to the shaft 7.

図5は、翼部の断面図である。支持シャフト15の回りには、支持シャフト15の外径よりも大きい内径を有するリング部材23が設けられており、このリング部材23は、ブレード13の上端近傍に固定されている。また、規制シャフト17におけるブレード13と接触する側には、緩衝部材25が設けられており、ブレード13の下端近傍が接触するようになっている。このようなブレード13は、フレーム21に対して、プロペラ構造3の回転の上流側に配置されている。そしてブレード13は、リング部材23を介して支持シャフト15回りを回動するようになっており、ブレード13の面がほぼ垂直(出力シャフトと平行な状態)になったときに、ブレード13の下端が緩衝部材25に接触し、これによりブレード13が支持シャフト15回りにそれ以上回動しないようになっている。   FIG. 5 is a cross-sectional view of the wing portion. A ring member 23 having an inner diameter larger than the outer diameter of the support shaft 15 is provided around the support shaft 15. The ring member 23 is fixed near the upper end of the blade 13. Further, a buffer member 25 is provided on the side of the regulation shaft 17 that contacts the blade 13 so that the vicinity of the lower end of the blade 13 is in contact. Such a blade 13 is arranged on the upstream side of the rotation of the propeller structure 3 with respect to the frame 21. The blade 13 rotates around the support shaft 15 via the ring member 23. When the surface of the blade 13 is substantially vertical (in a state parallel to the output shaft), the lower end of the blade 13 is rotated. Comes into contact with the buffer member 25, so that the blade 13 does not further rotate around the support shaft 15.

本実施形態によるプロペラ構造3は、上述した四個の翼部11を有するロータ9を四つ有する。そして各ロータ9は、互いに、出力シャフト7の軸回りに所定の角度をもって固定されている。従って、プロペラ構造3を上面視した場合、図4に示すように、合計十六個の翼部11が出力シャフト7を中心に放射状に延びるようになっている。そして上面視したときの隣接する翼部11同士の角度は、360/(ロータの個数×ロータ毎の翼部の個数)によって決定される。従って、四個のロータ9がそれぞれ四個の翼部11を有しているプロペラ構造3では、上面視したときに隣接する翼部11同士の角度が22.5度になるように設定される。この角度の調整は、ロータ9を出力シャフト7に固定するときに、上下に隣接するロータ9同士を22.5度ずつずらして固定することで行われる。   The propeller structure 3 according to the present embodiment has four rotors 9 each having the four wing parts 11 described above. The rotors 9 are fixed to each other with a predetermined angle around the axis of the output shaft 7. Therefore, when the propeller structure 3 is viewed from above, a total of sixteen blade portions 11 extend radially around the output shaft 7 as shown in FIG. The angle between the adjacent blade portions 11 when viewed from above is determined by 360 / (number of rotors × number of blade portions for each rotor). Therefore, in the propeller structure 3 in which each of the four rotors 9 has the four blade portions 11, the angle between the adjacent blade portions 11 is set to 22.5 degrees when viewed from above. . This angle adjustment is performed by shifting the rotors 9 adjacent to each other vertically by 22.5 degrees when fixing the rotor 9 to the output shaft 7.

次に、本発明の実施形態によるプロペラ構造の動作について説明する。図6は、プロペラ構造3の一個のロータ9の上面図を示す。同図における直線矢印Aは、潮の流れる方向を示し、曲線矢印Bは、プロペラ構造3の回転方向を示す。また、以下では、説明の便宜状、四個の翼部11を、プロペラ構造3の回転方向上流側から、各々、第一翼部11a、第二翼部11b、第三翼部11c、第四翼部11dと称して説明する。同図では、第一翼部11a及び第三翼部11cのブレード13の面が潮流に対して直交する方向に延びており、第二翼部11b及び第四翼部11dのブレード13が、潮流に対してほぼ平行に延びている。   Next, the operation of the propeller structure according to the embodiment of the present invention will be described. FIG. 6 shows a top view of one rotor 9 of the propeller structure 3. In the figure, a straight arrow A indicates the flow direction of the tide, and a curved arrow B indicates the rotation direction of the propeller structure 3. In the following, for convenience of explanation, the four wing parts 11 are respectively arranged from the upstream side in the rotation direction of the propeller structure 3 with the first wing part 11a, the second wing part 11b, the third wing part 11c, and the fourth wing part. This will be described as the wing part 11d. In the figure, the surfaces of the blades 13 of the first wing part 11a and the third wing part 11c extend in a direction perpendicular to the tidal current, and the blades 13 of the second wing part 11b and the fourth wing part 11d are tidal currents. It extends substantially parallel to.

同図に示す状態では、第一翼部11aのブレード13は、フレーム21に対して潮流の上流側に位置しているので、このブレード13の面に潮流を受けると、ブレード13がフレーム21に押しつけられ、潮流の力によって出力シャフト7を回転させるモーメントが発生する。またこのとき第二翼部11bのブレード13は、潮流に対してほぼ平行方向に延びているので、潮流の影響を受けない。またこのとき第三翼部11cのブレード13は、フレーム21に対して潮流の下流側に位置しているので、このブレード13によって潮流を受けると、ブレード13は支持シャフト17回りに回動して、ほぼ水平状態になる。これにより、潮流はブレード13に当たることなく、フレーム21の開口部を通って下流側に流れる。   In the state shown in the figure, the blade 13 of the first wing part 11a is located on the upstream side of the tidal current with respect to the frame 21, so that when the tidal current is received on the surface of the blade 13, the blade 13 moves to the frame 21. A moment that rotates the output shaft 7 by the force of the tidal current is generated. At this time, since the blade 13 of the second wing portion 11b extends in a direction substantially parallel to the tidal current, it is not affected by the tidal current. At this time, since the blade 13 of the third wing portion 11c is located downstream of the tidal current with respect to the frame 21, when the tidal current is received by the blade 13, the blade 13 rotates around the support shaft 17. , Almost horizontal. Thereby, the tidal current flows downstream through the opening of the frame 21 without hitting the blade 13.

このように一つのプロペラ構造3では、主に、上述した第一翼部11aのように、ブレード13がフレーム21に対して潮流の上流側に位置し、且つ潮流に対して直交方向に延びている翼部11a,11b,11c,11dによって出力シャフト7を回転させるエネルギーを発生させる。そして、一つのプロペラ構造3では、図6に示すように、一個の翼部11のブレード13がフレーム21に対して潮流の上流側に位置し、且つ潮流に対して直交方向に延びている状態にあるときに、出力シャフト7に伝達されるエネルギーが最大となると考えられる。そして、上述したように、複数のロータ9を形成し、プロペラ構造3を上面視したときに、全てのロータ9の全ての翼部11が、隣接する翼部11に対して出力シャフト7の軸周りに360/(mn)度の間隔をもって配置することにより、何れかのロータ9の翼部11のブレード13がフレーム21に対して潮流の上流側に位置し、且つ潮流に対して直行方向に延びている状態を継続的に作り出すことができる。これにより、出力シャフト7に伝達されるエネルギーが比較的多い状態を保つことができる。   Thus, in one propeller structure 3, the blade 13 is located upstream of the tidal current with respect to the frame 21 and extends in a direction orthogonal to the tidal current, as in the first wing part 11a described above. Energy for rotating the output shaft 7 is generated by the wing portions 11a, 11b, 11c, and 11d. And in one propeller structure 3, as shown in FIG. 6, the blade 13 of one wing part 11 is located upstream of the tidal current with respect to the frame 21, and extends in a direction orthogonal to the tidal current. In this case, it is considered that the energy transmitted to the output shaft 7 is maximized. Then, as described above, when the plurality of rotors 9 are formed and the propeller structure 3 is viewed from the top, all the blade parts 11 of all the rotors 9 have the axis of the output shaft 7 with respect to the adjacent blade parts 11. By arranging them at an interval of 360 / (mn) around, the blades 13 of the blades 11 of any of the rotors 9 are located upstream of the tidal current with respect to the frame 21 and are perpendicular to the tidal current. An extended state can be created continuously. As a result, it is possible to maintain a relatively large amount of energy transmitted to the output shaft 7.

以下、本発明の実施例について詳述する。以下では、それぞれ、幅2438mm、高さ610mmのブレードを4個有する4個のロータを備えたプロペラ構造を、所定の流速で流れる水の中に入れた場合における、プロペラ構造の角速度・角加速度を計測した結果を示す。角速度の計測は、水上からプロペラ構造を撮影し、この画像を経時的に解析することにより行った。   Examples of the present invention will be described in detail below. In the following, when the propeller structure including four rotors each having four blades having a width of 2438 mm and a height of 610 mm is placed in water flowing at a predetermined flow velocity, the angular velocity and angular acceleration of the propeller structure are shown. The measured result is shown. The angular velocity was measured by photographing the propeller structure from the water and analyzing this image over time.

図7は、流速0.5m/sで流れる水の中でのプロペラ構造の角速度を示すグラフであり、図8は、該条件におけるプロペラ構造の角加速度を示すグラフである。図9は、流速1.0m/sで流れる水の中でのプロペラ構造の角速度を示すグラフであり、図10は、該条件におけるプロペラ構造の角加速度を示すグラフである。図11は、流速1.5m/sで流れる水の中でのプロペラ構造の角速度を示すグラフであり、図12は、該条件におけるプロペラ構造の角加速度を示すグラフである。図13は、流速2.0m/sで流れる水の中でのプロペラ構造の角速度を示すグラフであり、図14は、該条件におけるプロペラ構造の角加速度を示すグラフである。   FIG. 7 is a graph showing the angular velocity of the propeller structure in water flowing at a flow rate of 0.5 m / s, and FIG. 8 is a graph showing the angular acceleration of the propeller structure under the conditions. FIG. 9 is a graph showing the angular velocity of the propeller structure in water flowing at a flow rate of 1.0 m / s, and FIG. 10 is a graph showing the angular acceleration of the propeller structure under the conditions. FIG. 11 is a graph showing the angular velocity of the propeller structure in water flowing at a flow rate of 1.5 m / s, and FIG. 12 is a graph showing the angular acceleration of the propeller structure under the conditions. FIG. 13 is a graph showing the angular velocity of the propeller structure in water flowing at a flow rate of 2.0 m / s, and FIG. 14 is a graph showing the angular acceleration of the propeller structure under the conditions.

これらの図に示すように、何れの流速においてもプロペラ構造の角加速度の増減は非常に少ないことが分かる。   As shown in these figures, it can be seen that the increase or decrease in the angular acceleration of the propeller structure is very small at any flow rate.

1 潮流発電装置
3 プロペラ構造
5 発電機
7 出力シャフト
9 ロータ
11 翼部
13 ブレード
15 支持シャフト
17 規制シャフト
25 緩衝部材
DESCRIPTION OF SYMBOLS 1 Tidal current power generator 3 Propeller structure 5 Generator 7 Output shaft 9 Rotor 11 Wing | blade part 13 Blade 15 Support shaft 17 Restriction shaft 25 Buffer member

Claims (4)

潮流発電装置用のプロペラ構造において、
前記潮流発電装置の発電機に接続される出力シャフトと、
この出力シャフトに固定されたm個のロータとを備え、
m個のロータの各々は、前記出力ャフトを中心に放射状に延び、互いに等角度をなして前記出力シャフトに固定されたn個の翼部を有し、
前記翼部の各々は、潮流を受けるようになったブレードと、前記出力シャフトと直交方向に延び前記ブレードを回動自在に支持するようになった支持シャフトと、前記ブレードが回動して当該ブレードの面が前記出力シャフトと平行になる状態で前記ブレードの回動を規制する規制部材とを有し、
前記ロータは、上面視したときに、前記m個のロータの全ての前記ブレードが、隣接するブレードに対して前記シャフトの軸周りに360/(mn)度の間隔をもって配置されている、プロペラ構造。
In the propeller structure for tidal current power generators,
An output shaft connected to the generator of the tidal current generator;
M rotors fixed to the output shaft,
each of the m rotors has n wings extending radially about the output shaft and fixed to the output shaft at equal angles to each other;
Each of the wings includes a blade adapted to receive a tidal current, a support shaft extending in a direction orthogonal to the output shaft and configured to rotatably support the blade, and the blade rotating to A regulating member that regulates the rotation of the blade in a state where the surface of the blade is parallel to the output shaft,
The rotor has a propeller structure in which when viewed from above, all the blades of the m rotors are arranged with an interval of 360 / (mn) degrees around the axis of the shaft with respect to adjacent blades. .
前記規制部材は、所定の間隔をもって前記支持シャフトと平行に延び、前記出力シャフトと平行な状態にある前記ブレードと接触して当該ブレードの回動を規制する規制シャフトを備える、請求項1に記載の潮流発電装置用のプロペラ構造。   2. The control member according to claim 1, wherein the control member includes a control shaft that extends in parallel with the support shaft at a predetermined interval and controls the rotation of the blade by contacting the blade in a state parallel to the output shaft. Propeller structure for tidal current power generation equipment. 前記規制シャフトは、前記支持シャフトよりも下側において前記出力シャフトに固定されており、前記ブレードの上端近傍が、前記支持シャフトに回動自在に支持され、前記ブレードの下端近傍が前記規制シャフトに接触するようになっている、請求項2に記載の潮流発電装置用のプロペラ構造。   The restriction shaft is fixed to the output shaft below the support shaft, the upper end vicinity of the blade is rotatably supported by the support shaft, and the lower end vicinity of the blade is supported by the restriction shaft. The propeller structure for a tidal current power generator according to claim 2, wherein the propeller structure is in contact with each other. 前記規制シャフトと前記ブレードが接触する箇所に設けられた緩衝部材をさらに備える、請求項2又は3に記載の潮流発電装置用のプロペラ構造。   The propeller structure for a tidal current power generator according to claim 2 or 3, further comprising a buffer member provided at a location where the restriction shaft and the blade are in contact with each other.
JP2011125466A 2011-06-03 2011-06-03 Propeller structure for tidal current power generator Pending JP2012251499A (en)

Priority Applications (1)

Application Number Priority Date Filing Date Title
JP2011125466A JP2012251499A (en) 2011-06-03 2011-06-03 Propeller structure for tidal current power generator

Applications Claiming Priority (1)

Application Number Priority Date Filing Date Title
JP2011125466A JP2012251499A (en) 2011-06-03 2011-06-03 Propeller structure for tidal current power generator

Publications (1)

Publication Number Publication Date
JP2012251499A true JP2012251499A (en) 2012-12-20

Family

ID=47524530

Family Applications (1)

Application Number Title Priority Date Filing Date
JP2011125466A Pending JP2012251499A (en) 2011-06-03 2011-06-03 Propeller structure for tidal current power generator

Country Status (1)

Country Link
JP (1) JP2012251499A (en)

Cited By (2)

* Cited by examiner, † Cited by third party
Publication number Priority date Publication date Assignee Title
CN106089555A (en) * 2016-08-22 2016-11-09 青岛市机械工业总公司 A kind of marine tidal-current energy generating kenetic energy converting device
JP2024033870A (en) * 2022-08-31 2024-03-13 博人 山崎 Horizontal water wheel hydroelectric power generation device

Citations (4)

* Cited by examiner, † Cited by third party
Publication number Priority date Publication date Assignee Title
JPS5629278U (en) * 1979-08-11 1981-03-19
JPH04137270U (en) * 1991-06-18 1992-12-21 実 伊藤 Variable blade type and rotating blades for wind and hydroelectric generators
JPH0960573A (en) * 1995-08-21 1997-03-04 Hakko Denki Kk Wind power generator
US20080203731A1 (en) * 2005-12-05 2008-08-28 Dulcetti Filho Flavio Francisc Eolic converter

Patent Citations (4)

* Cited by examiner, † Cited by third party
Publication number Priority date Publication date Assignee Title
JPS5629278U (en) * 1979-08-11 1981-03-19
JPH04137270U (en) * 1991-06-18 1992-12-21 実 伊藤 Variable blade type and rotating blades for wind and hydroelectric generators
JPH0960573A (en) * 1995-08-21 1997-03-04 Hakko Denki Kk Wind power generator
US20080203731A1 (en) * 2005-12-05 2008-08-28 Dulcetti Filho Flavio Francisc Eolic converter

Cited By (3)

* Cited by examiner, † Cited by third party
Publication number Priority date Publication date Assignee Title
CN106089555A (en) * 2016-08-22 2016-11-09 青岛市机械工业总公司 A kind of marine tidal-current energy generating kenetic energy converting device
JP2024033870A (en) * 2022-08-31 2024-03-13 博人 山崎 Horizontal water wheel hydroelectric power generation device
JP7730097B2 (en) 2022-08-31 2025-08-27 博人 山崎 Horizontal water turbine hydroelectric power generation equipment

Similar Documents

Publication Publication Date Title
JP5678391B2 (en) Floating offshore wind power generation facility
CN104937262B (en) Tilting rotating vane equipment for vertical generating
KR102448925B1 (en) vertical axis wind turbine
JP2012202264A (en) Water wheel impeller blade type electric power generating apparatus
KR101552808B1 (en) Energy generating device resistance plate structure
JP6759116B2 (en) Hydro power generator
WO2013161566A1 (en) Rotary shaft device and vertical shaft fluid power generator
JP2012251499A (en) Propeller structure for tidal current power generator
KR20100023344A (en) A wind-dynamotor
KR101550040B1 (en) Hydraulic power generating system)
US11572860B2 (en) Wind power plant
KR101034924B1 (en) Wind rotating device that improves rotation efficiency by inclined two rotating shafts
KR101049452B1 (en) Wind power generation system
KR20120115196A (en) Wind power generator with vertical rotor
KR101335337B1 (en) Controllable projected area tidal current power turbine, manufacturing method of same and tidal current power method in using same
KR100613130B1 (en) Turbine for flow generators
KR102065051B1 (en) Fluid Power Generator Capable Of Automatic Height Control
JP2005240632A (en) Windmill for wind power generation device
JP2013217333A (en) Ocean current power generating equipment
JP4945819B2 (en) Wind power generator
EP2832987B1 (en) Energy generation device and energy harvesting device comprising the same
JP5975760B2 (en) Water-circulating hydroelectric generator
JP2004183537A (en) Self-attitude control type savonius wind turbine
JP7180057B2 (en) Magnus type thrust generator, wind power generator, hydraulic power generator, tidal power generator using the Magnus type thrust generator, and wind power generator, water power generator, tidal power generator using the Magnus type thrust generator
JP3200121U (en) Small hydroelectric generator

Legal Events

Date Code Title Description
A621 Written request for application examination

Free format text: JAPANESE INTERMEDIATE CODE: A621

Effective date: 20140327

A131 Notification of reasons for refusal

Free format text: JAPANESE INTERMEDIATE CODE: A131

Effective date: 20141222

A977 Report on retrieval

Free format text: JAPANESE INTERMEDIATE CODE: A971007

Effective date: 20141225

A521 Written amendment

Free format text: JAPANESE INTERMEDIATE CODE: A523

Effective date: 20150220

A131 Notification of reasons for refusal

Free format text: JAPANESE INTERMEDIATE CODE: A131

Effective date: 20150805

A02 Decision of refusal

Free format text: JAPANESE INTERMEDIATE CODE: A02

Effective date: 20160112