JP2012123729A - 車両運転支援システム - Google Patents
車両運転支援システム Download PDFInfo
- Publication number
- JP2012123729A JP2012123729A JP2010275840A JP2010275840A JP2012123729A JP 2012123729 A JP2012123729 A JP 2012123729A JP 2010275840 A JP2010275840 A JP 2010275840A JP 2010275840 A JP2010275840 A JP 2010275840A JP 2012123729 A JP2012123729 A JP 2012123729A
- Authority
- JP
- Japan
- Prior art keywords
- vehicle
- intersection
- information
- oncoming
- area
- Prior art date
- Legal status (The legal status is an assumption and is not a legal conclusion. Google has not performed a legal analysis and makes no representation as to the accuracy of the status listed.)
- Withdrawn
Links
Images
Landscapes
- Traffic Control Systems (AREA)
Abstract
【課題】あらゆる形状の交差点において支援対象を正確に認識可能とする。
【解決手段】XY座標変換部12により、通信機2により取得した自車が進入する交差点から所定の範囲内に存在する他車の情報に基づいて交差点に対する他車の位置を演算し、監視対象エリア演算部13により、記憶装置10に記憶されている交差点の情報に基づいて他車が位置する範囲を監視対象エリアとして交差点からの方向で設定する。そして、交差点に対する他車の位置が監視対象エリア内である場合にのみ当該他車が支援対象であると判定する。
【選択図】図1
【解決手段】XY座標変換部12により、通信機2により取得した自車が進入する交差点から所定の範囲内に存在する他車の情報に基づいて交差点に対する他車の位置を演算し、監視対象エリア演算部13により、記憶装置10に記憶されている交差点の情報に基づいて他車が位置する範囲を監視対象エリアとして交差点からの方向で設定する。そして、交差点に対する他車の位置が監視対象エリア内である場合にのみ当該他車が支援対象であると判定する。
【選択図】図1
Description
本発明は、車両運転支援システムに係り、特に交差点において支援対象を認識する技術に関する。
近年、交差点での車両の衝突事故を防ぐために、各種運転支援システムが開発されている。この運転支援システムは、例えば交差点への侵入前に、当該交差点内あるいは交差点に近い位置にいる他車を早期に認識して運転者に対して警告をすることで、運転者に注意を促すものである。
このように交差点に近い位置にいる他車の認識及び警告を行う運転支援システムは、例えば車車間通信により交差点に進入する車両同士で車両位置等の情報を交換し合い、同時期に交差点に進入する虞のある他車がある場合に、運転者に対して警告するようにしている(特許文献1)。
このように交差点に近い位置にいる他車の認識及び警告を行う運転支援システムは、例えば車車間通信により交差点に進入する車両同士で車両位置等の情報を交換し合い、同時期に交差点に進入する虞のある他車がある場合に、運転者に対して警告するようにしている(特許文献1)。
また、近年では、道路に車両を認識するインフラシステムを設置する技術も開発されており、このインフラシステムと車両とで通信する路車間通信により、インフラシステムを介して交差点に近い位置にいる他車の情報を入手する技術も提案されている。
しかしながら、交差点は交差する道路の数や交差角等が全て同一の形状ではなく、また車線の数や走行路と近接した位置に並走する道路が設けられている場合等があり、単純に交差点に近い位置にいる車両を検出して警告を行うのでは、衝突の危険性の高い支援対象とその他の車両との区別が困難であり、衝突の危険性のない車両まで警告の対象となる虞がある。
したがって、例え上記特許文献1のような車車間通信や、路車間通信を用いて交差点に近い位置にいる車両と確実に情報交換できたとしても、不要な警告の多い使い勝手の悪いシステムとなってしまう。
本発明は、この様な問題を解決するためになされたもので、その目的とするところは、各種形状の交差点において支援対象を正確に認識可能な車両運転支援システムを提供することにある。
本発明は、この様な問題を解決するためになされたもので、その目的とするところは、各種形状の交差点において支援対象を正確に認識可能な車両運転支援システムを提供することにある。
上記の目的を達成するために、請求項1の車両運転支援システムは、自車が進入する交差点から所定の範囲内に位置する他車の情報を取得する通信手段と、交差点の情報を記憶する記憶手段と、通信手段により取得した他車の情報に基づいて、他車の交差点に対する相対的な位置を検出する他車位置検出手段と、記憶手段に記憶されている交差点の情報に基づいて、支援対象が位置する範囲を監視対象エリアとして交差点からの方向で設定するエリア設定手段と、他車位置検出手段により検出された他車の交差点に対する位置が、エリア設定手段により設定された監視対象エリア内である場合に他車が支援対象であると判定し、監視対象エリア外である場合に他車が支援対象でないと判定する判定手段と、を備えたことを特徴とする。
また、請求項2の車両運転支援システムは、請求項1において、通信手段は、他車と通信可能な車車間通信機であることを特徴とする。
また、請求項3の車両運転支援システムは、請求項1において、通信手段は、交差点に設置された通信設備より他車の情報を取得可能な路車間通信機であることを特徴とする。
また、請求項4の車両運転支援システムは、請求項1〜3のいずれか1項において、判別手段により他車が支援対象であることを判定した場合に、自車の運転者に対して警告する警告手段を更に備えたことを特徴とする。
また、請求項3の車両運転支援システムは、請求項1において、通信手段は、交差点に設置された通信設備より他車の情報を取得可能な路車間通信機であることを特徴とする。
また、請求項4の車両運転支援システムは、請求項1〜3のいずれか1項において、判別手段により他車が支援対象であることを判定した場合に、自車の運転者に対して警告する警告手段を更に備えたことを特徴とする。
請求項1の発明によれば、車両の車両運転支援システムでは、交差点の情報と、通信手段により取得した交差点から所定の範囲内に位置する他車の情報に基づいて、他車が支援対象であるか否かを判別する際に、交差点からの方向で監視対象エリアを設定し、他車がこの監視対象エリア内にある場合にのみ支援対象であると判定するので、交差点が複雑な形状であっても、交差点から所定範囲内に位置する他車のうち支援対象を正確に認識することができる。
請求項2の発明によれば、交差点から所定範囲内に位置する他車の情報を車車間通信機により得るので、容易に他車の情報を得ることができ、通信設備を有していない交差点でも支援対象の判定を確実に行うことができる。
請求項3の発明によれば、交差点から所定の範囲内に位置する他車の情報を路車間通信機により得るので、他車が車車間通信機を搭載していなくとも、交差点に車両の位置を検出する装置があれば、他車の情報を得ることができる。したがって、あらゆる車両を支援対象であるか否かの判定対象とすることができ、車両の見落としを防止することができる。
請求項3の発明によれば、交差点から所定の範囲内に位置する他車の情報を路車間通信機により得るので、他車が車車間通信機を搭載していなくとも、交差点に車両の位置を検出する装置があれば、他車の情報を得ることができる。したがって、あらゆる車両を支援対象であるか否かの判定対象とすることができ、車両の見落としを防止することができる。
請求項4の発明によれば、他車が支援対象であることを判定した場合に、運転者に対して警告するので、慎重な運転を促すことが可能となり、交差点での衝突を防止することができる。
以下、本発明の実施の形態を図面に基づき説明する。
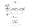
図1は、本発明に係る車両運転支援システムの構成図である。
車両運転支援システム1は、車両に搭載され、図1に示すように通信機2(通信手段)、GPS受信機3、コントロールユニット4及び運転支援装置5(警告手段)により構成されている。
図1は、本発明に係る車両運転支援システムの構成図である。
車両運転支援システム1は、車両に搭載され、図1に示すように通信機2(通信手段)、GPS受信機3、コントロールユニット4及び運転支援装置5(警告手段)により構成されている。
通信機2は、車両に搭載された車車間通信機あるいは路車間通信機である。車車間通信機は、他車に搭載した車車間通信機と通信して車両位置や車速等の情報を交換し合う機能を有する。路車間通信機は、交差点に設置されたインフラシステム(通信設備)と通信可能な装置であり、当該インフラシステムを介して交差点の近辺に位置する車両と車両位置や車速等の情報を相互に交換し合う機能を有する。
GPS受信機3は、GPS信号を受信して、自車の位置及び進行方向を取得する機能を有する。
運転支援装置5は、本システムの出力部に相当し、表示装置や警報装置であって、コントロールユニット4からの制御信号に基づいて作動し、運転者に対して警告の表示、警告音の出力を行って対向車(支援対象)が存在する旨の警告を行う機能を有する。また、警告と合わせてブレーキ装置やアクセルを制御して、車両の速度を低下させるようにしてもよい。
運転支援装置5は、本システムの出力部に相当し、表示装置や警報装置であって、コントロールユニット4からの制御信号に基づいて作動し、運転者に対して警告の表示、警告音の出力を行って対向車(支援対象)が存在する旨の警告を行う機能を有する。また、警告と合わせてブレーキ装置やアクセルを制御して、車両の速度を低下させるようにしてもよい。
コントロールユニット4は、入出力装置、記憶装置10(ROM、RAM、不揮発性RAM等:記憶手段)及び中央演算処理装置(CPU)等を含んで構成され、対向車判定機能を備えている。詳しくは、コントロールユニット4は、記憶装置10、交差点情報読み出し部11、XY座標変換部12(他車位置検出手段)、対向車存在エリア演算部13(エリア設定手段)、対向車判定部14(判定手段)及び運転支援装置制御部15を備えている。
記憶装置10は、地図データ、道路情報及び道路標識情報を記憶している。
交差点情報読み出し部11は、GPS受信機3から入力した自車の位置情報や車両進行方向に基づいて、自車が進入する前方の交差点を特定し、記憶装置10の地図データより前方の交差点の形状(接続する道路の数、接続角度、道路幅等)や隣接路の有無を読み出す。
交差点情報読み出し部11は、GPS受信機3から入力した自車の位置情報や車両進行方向に基づいて、自車が進入する前方の交差点を特定し、記憶装置10の地図データより前方の交差点の形状(接続する道路の数、接続角度、道路幅等)や隣接路の有無を読み出す。
XY座標変換部12は、交差点情報読み出し部11において読み出された交差点の情報と、通信機2から入力した判定対象車(他車)の位置情報とに基づいて、判定対象車の交差点に対する相対位置を演算する。交差点に対する相対位置は、当該交差点の中心を0点として東西方向をY方向に南北方向をX方向としたXY座標で表される。
対向車存在エリア演算部13は、交差点情報読み出し部11において読み出された交差点の情報と、GPS受信機3から入力した自車の位置情報とから対向車存在エリア(監視対象エリア)を求める。対向車存在エリアは、判定対象車を対向車として判定するエリアであり、交差点からの方向によって範囲が設定される。対向車存在エリアは、後述するように道路の接続角度等の交差点の情報によって変更される。
対向車存在エリア演算部13は、交差点情報読み出し部11において読み出された交差点の情報と、GPS受信機3から入力した自車の位置情報とから対向車存在エリア(監視対象エリア)を求める。対向車存在エリアは、判定対象車を対向車として判定するエリアであり、交差点からの方向によって範囲が設定される。対向車存在エリアは、後述するように道路の接続角度等の交差点の情報によって変更される。
対向車判定部14は、XY座標変換部12において求められた判定対象車のXY座標と対向車存在エリア演算部13により求められた対向車存在エリアとに基づいて、判定対象車が対向車であるか否かを判別する機能を有する。詳しくは、判定対象車のXY座標が、対向車存在エリア内(角度範囲内)であるか否かを判別し、対向車存在エリア内である場合には対向車と判定し、対向車存在エリア外である場合には対向車でないと判定する。
運転支援装置制御部15は、対向車判定部14において、判定対象車が対向車であると判定した場合に、対向車が存在する旨の警告等が行われるように、運転支援装置5に作動制御信号を出力する。
図2は、対向車存在エリアの設定手順を示すフローチャートである。以下、図2を用いて、コントロールユニット4における上記対向車存在エリアの設定手順を説明する。
図2は、対向車存在エリアの設定手順を示すフローチャートである。以下、図2を用いて、コントロールユニット4における上記対向車存在エリアの設定手順を説明する。
本ルーチンは、車両電源オン時に繰り返し行われる。
始めに、ステップS10では、通信機2により自車や交差点の近辺にいる他車を対向車か否かを判定する判定対象車として、その車両位置等の情報を入手する。そして、ステップS20に進む。
ステップS20では、交差点情報読み出し部11により、GPS受信機3から入力した自車の位置情報や車両進行方向と、記憶装置10に記憶されている地図データとに基づいて、判定対象となる前方の交差点を特定する。そして、ステップS30に進む。
始めに、ステップS10では、通信機2により自車や交差点の近辺にいる他車を対向車か否かを判定する判定対象車として、その車両位置等の情報を入手する。そして、ステップS20に進む。
ステップS20では、交差点情報読み出し部11により、GPS受信機3から入力した自車の位置情報や車両進行方向と、記憶装置10に記憶されている地図データとに基づいて、判定対象となる前方の交差点を特定する。そして、ステップS30に進む。
ステップS30では、ステップS20において特定された交差点の情報、例えば交差点の形状、隣接した並進路の有無やその位置を記憶装置10から読み出す。そして、ステップS40に進む。
ステップS40では、対向車存在エリア演算部13により、ステップS30において読み出された交差点の情報とGPS受信機3から入力した自車の位置情報に基づき対向車存在エリアを設定する角度範囲θを設定する。なお、角度範囲θは、北を0度として自車の交差点からの方向を示す角度αに対してθ1、θ2を減算した値、即ち(α−θ1〜α−θ2)との間の角度の範囲として設定される。そして、ステップS50に進む。
ステップS40では、対向車存在エリア演算部13により、ステップS30において読み出された交差点の情報とGPS受信機3から入力した自車の位置情報に基づき対向車存在エリアを設定する角度範囲θを設定する。なお、角度範囲θは、北を0度として自車の交差点からの方向を示す角度αに対してθ1、θ2を減算した値、即ち(α−θ1〜α−θ2)との間の角度の範囲として設定される。そして、ステップS50に進む。
ステップS50では、ステップS30において読み出された交差点の情報により、並進路の有無及びその間隔に応じて角度範囲θ(α−θ1〜α−θ2)を補正して、最終的な角度範囲θとして設定する。そして、本ルーチンを終了する。
次に、対向車存在エリアの具体例について説明する。
図3〜5は、対向車存在エリアの一例を示す説明図である。
次に、対向車存在エリアの具体例について説明する。
図3〜5は、対向車存在エリアの一例を示す説明図である。
図3は、十字路、図4は、対向車側の接続路が自車の走行路と一直線ではない場合、図5は、対向車側に隣接する並進路がある場合を示している。
図3〜5のいずれも図中上側が北とし0°とする。自車は図中左側の西方から、角度α(270°)で交差点に進入することとする。図中斜線部が設定した対向車存在エリアを示す。
図3〜5のいずれも図中上側が北とし0°とする。自車は図中左側の西方から、角度α(270°)で交差点に進入することとする。図中斜線部が設定した対向車存在エリアを示す。
図3に示すように、十字路では自車の進入方向と反対側(東側)に所定の角度ずつ広げた範囲、(α−θ1)〜(α−θ2)の角度で示す範囲を対向車と判定する対向車存在エリアに設定する。例えば、上記のように自車の進入角度αが270度である場合、対向車存在エリアの設定角度θをα−θ1(270−210=60°)とα−θ2(270−150=120°)との間に設定し、対向車存在エリアを60度の範囲とする。そして、対向車判定部14において、判定対象車のXY座標から交差点に対する角度βを演算し、この判定対象車の交差点に対する位置を示す角度βが、対向車存在エリアの設定角度θ(α−θ1〜α−θ2)の範囲内である場合には判定対象車が対向車であると判定し、設定角度θ(α−θ1〜α−θ2)の範囲外である場合には判定対象車が対向車でないと判定する。
図4に示すように、対向車側の接続路が自車走行路線と一直線でなく、例えば45度北側に傾いて接続されている場合には、対向車存在エリアの設定角度θ(α−θ3、α−θ4)を図3における設定角度θ(α−θ1〜α−θ2)より、夫々45度少なく補正する。更に、交差点に接続する別の道路が、対向車と認識する道路と角度が近い場合には、対向車存在エリアの範囲を狭くして、隣り合う道路の範囲と重なり合わないようにするとよい。例えば図4のような場合では、対向車存在エリアの設定角θを30度の範囲に設定すればよい。このようにすると、対向車存在エリアの設定角度θ(α−θ3〜α−θ4)を、30度(30°〜60°)の範囲が対向車存在エリアとなり、北側から接続する道路のエリアも−15°から15°まで30度の範囲に設定すれば、重なり合わなくなり、誤認を防止することができる。
対向車側の道路に隣接して並進路が存在する場合、図5(A)に示すように、上記図3と同様に対向車存在エリアを設定すると、対向車側の道路に位置する車両aだけでなく並進路に位置する車両bも対向車存在エリア内に位置するので、車両bを対向車であると誤認する虞がある。そこで、並進路の情報を地図データから読み込み、例えば対向車側の接続路と並進路との道路間隔や道路幅等に基づいて、図5(B)に示すように、対向車存在エリアの範囲θを狭くするように設定すればよい。このようにすれば、車両aは対向車であると判定するとともに、並進路に位置する車両bは対向車存在エリアの範囲θから外れて対向車であると認識されることなく、不要な警告を抑制することができる。
以上のように、本実施形態では、自車が交差点に進入する際に、車車間あるいは路車間通信機により、当該交差点に進入する他車を判定対象車として検出し、判定対象車の位置が対向車側の接続路に位置する場合に対向車が存在するとして運転者に警告する。これにより、対向車の見落としを防止し、交差点での衝突を回避して安全性を高めることができる。
本実施形態では、自車が進入する交差点を特定し、交差点の形状等の情報から対向車が存在するエリアを、交差点からの方向の範囲で設定する。そして、判定対象車の位置が、この対向車存在エリア内にあるか否かで判別するので、判定対象車の位置を追跡して移動を推定するような煩雑な測定を行う必要がなく、容易に対向車であるか否かを判定することができる。
また、対象交差点を特定し、その形状に応じて対向車存在エリアを設定する角度θを変更するので、例えば対向車側の道路が傾いて交差点に接続されている場合や+字路以外の交差点でも誤認することなく、対向車の有無を確実に判定することができる。また、対向車側の道路に並進路が存在する場合でも、対向車存在エリアを設定する角度θを変更することで、並進路を走行する車両を対向車に誤認することなく、不要な警告が防止され、精度の良い対向車の判定を実現させることができる。
なお、本実施形態では、いずれも自車が西方から対象交差点に進入しているが、いずれの方向から進入する場合でも本発明を適用可能である。また、対向車存在エリアだけでなく、側方進入車存在エリア、前方走行車存在エリア、後方走行車存在エリア等も設定し、交差点に進入する他車が対向車であるか、あるいは側方から進入してくる直交車両であるか、前方・後方車両であるか、を判別して、運転者に知らせてもよい。このようにすれば、対向車との衝突だけでなく、交差点での側方衝突、追突、巻き込みなどを防止することができる。
1 車両運転支援システム
2 通信機
4 コントロールユニット
5 運転支援装置
10 記憶装置
12 XY座標変換部
13 対向車存在エリア演算部
14 対向車判定部
2 通信機
4 コントロールユニット
5 運転支援装置
10 記憶装置
12 XY座標変換部
13 対向車存在エリア演算部
14 対向車判定部
Claims (4)
- 自車が進入する交差点から所定の範囲内に位置する他車の情報を取得する通信手段と、
前記交差点の情報を記憶する記憶手段と、
前記通信手段により取得した前記他車の情報に基づいて、前記他車の前記交差点に対する相対的な位置を検出する他車位置検出手段と、
前記記憶手段に記憶されている前記交差点の情報に基づいて、他車が位置する範囲を監視対象エリアとして前記交差点からの方向によって設定するエリア設定手段と、
前記他車位置検出手段により検出された前記他車の前記交差点に対する位置が、前記エリア設定手段により設定された前記監視対象エリア内である場合に前記他車が支援対象であると判定し、前記監視対象エリア外である場合に前記他車が支援対象でないと判定する判定手段と、
を備えたことを特徴とする車両運転支援システム。 - 前記通信手段は、前記他車と通信可能な車車間通信機であることを特徴とする請求項1に記載の車両運転支援システム。
- 前記通信手段は、前記交差点に設置された通信設備より前記他車の情報を取得可能な路車間通信機であることを特徴とする請求項1に記載の車両運転支援システム。
- 前記判別手段により前記他車が支援対象であることを判定した場合に、自車の運転者に対して警告する警告手段を更に備えたことを特徴とする請求項1〜3のいずれか1項に記載の車両運転支援システム。
Priority Applications (1)
| Application Number | Priority Date | Filing Date | Title |
|---|---|---|---|
| JP2010275840A JP2012123729A (ja) | 2010-12-10 | 2010-12-10 | 車両運転支援システム |
Applications Claiming Priority (1)
| Application Number | Priority Date | Filing Date | Title |
|---|---|---|---|
| JP2010275840A JP2012123729A (ja) | 2010-12-10 | 2010-12-10 | 車両運転支援システム |
Publications (1)
| Publication Number | Publication Date |
|---|---|
| JP2012123729A true JP2012123729A (ja) | 2012-06-28 |
Family
ID=46505078
Family Applications (1)
| Application Number | Title | Priority Date | Filing Date |
|---|---|---|---|
| JP2010275840A Withdrawn JP2012123729A (ja) | 2010-12-10 | 2010-12-10 | 車両運転支援システム |
Country Status (1)
| Country | Link |
|---|---|
| JP (1) | JP2012123729A (ja) |
Cited By (3)
| Publication number | Priority date | Publication date | Assignee | Title |
|---|---|---|---|---|
| JP2019070880A (ja) * | 2017-10-05 | 2019-05-09 | クラリオン株式会社 | 車載装置、情報取得方法 |
| JP2019159716A (ja) * | 2018-03-12 | 2019-09-19 | パナソニックIpマネジメント株式会社 | 運転支援装置 |
| US10546498B2 (en) | 2015-03-02 | 2020-01-28 | Denso Corporation | Encounter vehicle determination apparatus |
-
2010
- 2010-12-10 JP JP2010275840A patent/JP2012123729A/ja not_active Withdrawn
Cited By (3)
| Publication number | Priority date | Publication date | Assignee | Title |
|---|---|---|---|---|
| US10546498B2 (en) | 2015-03-02 | 2020-01-28 | Denso Corporation | Encounter vehicle determination apparatus |
| JP2019070880A (ja) * | 2017-10-05 | 2019-05-09 | クラリオン株式会社 | 車載装置、情報取得方法 |
| JP2019159716A (ja) * | 2018-03-12 | 2019-09-19 | パナソニックIpマネジメント株式会社 | 運転支援装置 |
Similar Documents
| Publication | Publication Date | Title |
|---|---|---|
| CN105608927B (zh) | 警告装置 | |
| CN102282599B (zh) | 移动体位置检测装置 | |
| JP6065889B2 (ja) | 運転支援装置 | |
| JP2010086269A (ja) | 車両同定装置及びそれを用いた運転支援装置 | |
| JP6654923B2 (ja) | 地図情報出力装置 | |
| CN113706912A (zh) | 一种车辆的辅助驾驶方法、系统、终端设备及存储介质 | |
| JP2016530642A (ja) | 自動車の誤走行の確実性を検査する方法および制御検出装置 | |
| JP5200568B2 (ja) | 車載装置、車両走行支援システム | |
| JP6512022B2 (ja) | 運転支援装置 | |
| US20170103271A1 (en) | Driving assistance system and driving assistance method for vehicle | |
| KR20240161671A (ko) | 충돌 조기경보 방법, 차량 탑재 단말기 및 저장 매체 | |
| JP2011012965A (ja) | 車線判定装置及びナビゲーションシステム | |
| JP2016062443A (ja) | 運転支援装置 | |
| JP2010072836A (ja) | 周辺監視装置 | |
| JP2011175368A (ja) | 車両制御装置 | |
| JP2008041058A (ja) | 死角移動体を報知するための報知システム、画像処理装置、車載装置及び報知方法 | |
| JP2012123729A (ja) | 車両運転支援システム | |
| JP2012234373A (ja) | 運転支援装置 | |
| JP2011175367A (ja) | 車両制御装置 | |
| JP4900120B2 (ja) | 駐停車判定装置 | |
| JP2015197760A (ja) | 情報処理装置、情報処理方法及び情報処理用プログラム | |
| JP2017102830A (ja) | 運転支援装置、プログラム | |
| JP2012089087A (ja) | 自車の走行レーンを特定する方法 | |
| JP4850531B2 (ja) | 車載レーダ装置 | |
| CN110834626B (zh) | 行车障碍预警方法、装置、车辆和存储介质 |
Legal Events
| Date | Code | Title | Description |
|---|---|---|---|
| A300 | Withdrawal of application because of no request for examination |
Free format text: JAPANESE INTERMEDIATE CODE: A300 Effective date: 20140304 |