JP2011237686A - ランプハウスおよびこれを備えた顕微鏡 - Google Patents
ランプハウスおよびこれを備えた顕微鏡 Download PDFInfo
- Publication number
- JP2011237686A JP2011237686A JP2010110490A JP2010110490A JP2011237686A JP 2011237686 A JP2011237686 A JP 2011237686A JP 2010110490 A JP2010110490 A JP 2010110490A JP 2010110490 A JP2010110490 A JP 2010110490A JP 2011237686 A JP2011237686 A JP 2011237686A
- Authority
- JP
- Japan
- Prior art keywords
- lamp house
- microscope
- light
- power generation
- generation means
- Prior art date
- Legal status (The legal status is an assumption and is not a legal conclusion. Google has not performed a legal analysis and makes no representation as to the accuracy of the status listed.)
- Withdrawn
Links
- 230000003287 optical effect Effects 0.000 claims abstract description 198
- 238000010248 power generation Methods 0.000 claims description 114
- 238000005286 illumination Methods 0.000 claims description 75
- 238000010521 absorption reaction Methods 0.000 claims description 15
- 230000000903 blocking effect Effects 0.000 claims description 5
- 230000001678 irradiating effect Effects 0.000 claims description 3
- 239000000758 substrate Substances 0.000 description 21
- 230000007246 mechanism Effects 0.000 description 14
- 239000000470 constituent Substances 0.000 description 11
- 230000001902 propagating effect Effects 0.000 description 10
- 239000003990 capacitor Substances 0.000 description 9
- 238000003780 insertion Methods 0.000 description 8
- 230000037431 insertion Effects 0.000 description 8
- 238000006243 chemical reaction Methods 0.000 description 7
- 230000007721 medicinal effect Effects 0.000 description 7
- 230000005540 biological transmission Effects 0.000 description 6
- 238000010586 diagram Methods 0.000 description 6
- 102100032768 Complement receptor type 2 Human genes 0.000 description 5
- 101000941929 Homo sapiens Complement receptor type 2 Proteins 0.000 description 5
- 230000007423 decrease Effects 0.000 description 4
- 238000010438 heat treatment Methods 0.000 description 4
- 230000002093 peripheral effect Effects 0.000 description 4
- 238000009423 ventilation Methods 0.000 description 4
- 230000005611 electricity Effects 0.000 description 3
- 238000012423 maintenance Methods 0.000 description 3
- 201000004792 malaria Diseases 0.000 description 3
- 102100038080 B-cell receptor CD22 Human genes 0.000 description 2
- 101000884305 Homo sapiens B-cell receptor CD22 Proteins 0.000 description 2
- 230000008859 change Effects 0.000 description 2
- 238000003745 diagnosis Methods 0.000 description 2
- 230000000694 effects Effects 0.000 description 2
- 229910052736 halogen Inorganic materials 0.000 description 2
- 150000002367 halogens Chemical class 0.000 description 2
- QSHDDOUJBYECFT-UHFFFAOYSA-N mercury Chemical compound [Hg] QSHDDOUJBYECFT-UHFFFAOYSA-N 0.000 description 2
- 229910052753 mercury Inorganic materials 0.000 description 2
- 238000002834 transmittance Methods 0.000 description 2
- 229910052724 xenon Inorganic materials 0.000 description 2
- FHNFHKCVQCLJFQ-UHFFFAOYSA-N xenon atom Chemical compound [Xe] FHNFHKCVQCLJFQ-UHFFFAOYSA-N 0.000 description 2
- 230000015572 biosynthetic process Effects 0.000 description 1
- 238000001816 cooling Methods 0.000 description 1
- 230000036425 denaturation Effects 0.000 description 1
- 238000004925 denaturation Methods 0.000 description 1
- 230000004907 flux Effects 0.000 description 1
- 238000004519 manufacturing process Methods 0.000 description 1
- 230000004048 modification Effects 0.000 description 1
- 238000012986 modification Methods 0.000 description 1
- 230000007935 neutral effect Effects 0.000 description 1
- 244000045947 parasite Species 0.000 description 1
- 239000012466 permeate Substances 0.000 description 1
- 238000000926 separation method Methods 0.000 description 1
- 230000009466 transformation Effects 0.000 description 1
Images
Classifications
-
- Y—GENERAL TAGGING OF NEW TECHNOLOGICAL DEVELOPMENTS; GENERAL TAGGING OF CROSS-SECTIONAL TECHNOLOGIES SPANNING OVER SEVERAL SECTIONS OF THE IPC; TECHNICAL SUBJECTS COVERED BY FORMER USPC CROSS-REFERENCE ART COLLECTIONS [XRACs] AND DIGESTS
- Y02—TECHNOLOGIES OR APPLICATIONS FOR MITIGATION OR ADAPTATION AGAINST CLIMATE CHANGE
- Y02B—CLIMATE CHANGE MITIGATION TECHNOLOGIES RELATED TO BUILDINGS, e.g. HOUSING, HOUSE APPLIANCES OR RELATED END-USER APPLICATIONS
- Y02B10/00—Integration of renewable energy sources in buildings
- Y02B10/10—Photovoltaic [PV]
-
- Y—GENERAL TAGGING OF NEW TECHNOLOGICAL DEVELOPMENTS; GENERAL TAGGING OF CROSS-SECTIONAL TECHNOLOGIES SPANNING OVER SEVERAL SECTIONS OF THE IPC; TECHNICAL SUBJECTS COVERED BY FORMER USPC CROSS-REFERENCE ART COLLECTIONS [XRACs] AND DIGESTS
- Y02—TECHNOLOGIES OR APPLICATIONS FOR MITIGATION OR ADAPTATION AGAINST CLIMATE CHANGE
- Y02E—REDUCTION OF GREENHOUSE GAS [GHG] EMISSIONS, RELATED TO ENERGY GENERATION, TRANSMISSION OR DISTRIBUTION
- Y02E10/00—Energy generation through renewable energy sources
- Y02E10/50—Photovoltaic [PV] energy
- Y02E10/52—PV systems with concentrators
Landscapes
- Microscoopes, Condenser (AREA)
- Photovoltaic Devices (AREA)
Abstract
【課題】光源の点灯時に発電手段に発電させることができると共に、光源の非点灯時でも筐体内に外部光を入射させることで発電手段に効率よく発電させることができるランプハウスを提供すること。
【解決手段】窓部Wを有する筐体21A内に光源LSおよび発電手段が配置され、窓部には光源から放射された光を集光して筐体の外部に出射させる集光レンズCLが配置されたランプハウスを構成するにあたって、太陽電池22の受光面22a等、発電手段の機能面を集光レンズ側に向けて当該発電手段を光レンズの光軸OA21上、かつ集光レンズの光軸OA21に沿って集光レンズ側から筐体内をみたときの光源よりも奥側に配置する。
【選択図】 図2
【解決手段】窓部Wを有する筐体21A内に光源LSおよび発電手段が配置され、窓部には光源から放射された光を集光して筐体の外部に出射させる集光レンズCLが配置されたランプハウスを構成するにあたって、太陽電池22の受光面22a等、発電手段の機能面を集光レンズ側に向けて当該発電手段を光レンズの光軸OA21上、かつ集光レンズの光軸OA21に沿って集光レンズ側から筐体内をみたときの光源よりも奥側に配置する。
【選択図】 図2
Description
本発明は、ランプハウスおよびこれを備えた顕微鏡に関するものである。
被観察物の光学像を顕微鏡観察する際には、顕微鏡の倍率を上げるほど結像に寄与する光量が少なくなって当該光学像が見え難くなるので、通常、被観察物に照明光を照射するための照明機構を備えた顕微鏡が用いられる。この照明機構としては、被観察物が載置されるステージの下方に配置したミラーによって太陽光や室内照明光等の外部光を反射して被観察物に照射する構成のものや、ランプハウスからの出射光を被観察物の下方または上方に導いて被観察物に照射する構成のものが知られている。
ランプハウスを備えた照明機構では、ランプハウス内の光源から放射された光の全てが被観察物に照射されるわけではなく、一部の光のみが被観察物に照射される。このため、近年では、光源から放射された光のうちで被観察物の照明に寄与しない光を光発電手段で電力に変換し、この電力で光源を発光させたり、この電力を蓄電池に蓄えたりして有効利用するランプハウスが提案されている。
例えば図13に示すように、特許文献1に記載されたランプハウス400では、光を出射させるための出射窓401を備えた筐体402内に光源403を配置し、出射窓401に集光レンズ404を設け、集光レンズ404から筐体402内をみたときの光源403の後方に集光反射ミラー405を設け、さらには筐体402の内壁のうちで光源403からみて集光反射ミラー405の陰になる部分以外の領域にソーラーパネル等の光発電手段406a〜406dを設けている。そして、光源403から放射されて出射窓401から出射する光以外の光を各光発電手段406a〜406dによって電力に変換する。また、必要に応じて、光源403から放射された光の一部を筐体401内の不図示の集光レンズで集光して筐体401内の他の光発電手段に照射し、この光発電手段の発電量から光源403の残り寿命を求める残り寿命測定部が設けられる。
顕微鏡は、電源設備が整った屋内においてのみ使用されるものではなく、例えばマラリアの診断等の医療活動のために電力供給網が整備されていない地域や屋外で使用される場合もある。このような場合、外部光をミラーで反射して被観察物に照射する構成の照明機構を備えた顕微鏡では、十分な照度の外部光が得られない天候の日や時間帯には使用することができなくなる。また、マラリア原虫のように、外部光を照射した程度の照度の下では観察が困難な被観察物もある。
一方、ランプハウスからの出射光を被観察物に照射する構成の照明機構を備えた顕微鏡は、ランプハウスで電力を消費するので、電力供給網が整備されていない地域や屋外での医療活動等に使用するときには電源を確保しなければならない。発電機を携行すれば、電力供給網が整備されていない地域や屋外でも電源を確保することができるが、装備が重くなるため、医療活動等の従事者の負担が増える。また、車やモータバイク等のバッテリを電源にすることも可能であるが、バッテリと顕微鏡とを繋ぐケーブルの長さによって顕微鏡の使用可能範囲が制限されるので、医療活動等を行い難くなることがある。
特許文献1に記載されたランプハウスを顕微鏡の照明機構に用いれば、光源で消費された電力を光発電手段による発電で補うことができるので、電力供給網が整備されていない地域や屋外で当該顕微鏡を使用する場合でも、ランプハウスの電源の確保に要する労力が或る程度は低減される。
しかしながら、このランプハウスは、光源で消費された電力の全量を光発電手段による発電で補うことはできないので、ランプハウス内の光発電手段以外に電力供給源がない環境下では使い続けることができない。ランプハウスの非使用時に筐体内に外部光を入射させることで光発電手段に発電を行わせれば、上記の環境下での使用可能時間を延ばすことができるが、このランプハウスでは、集光レンズから筐体内に外部光を入射させたときに当該外部光が集光反射ミラーによって集光レンズ側に反射されてしまうので、各光発電手段に外部光が入射し難く、各光発電手段に効率よく発電を行わせることができない。
また、光発電手段として太陽電池を用いた場合には、ランプハウスの内部に配置された太陽電池は光源の発する強力な光により高熱になるため、電気エネルギーへの変換効率が下がる。一般に太陽電池は、構造上、高温になると禁制帯幅(電子が存在できない領域)が減少し、出力電圧が下がるため、低温域で使用することが好ましい。前述のような太陽電池の使い方では、太陽電池が高温となるので、十分な蓄電量を確保するためには、大きな太陽電池が必要となり、高価になると共にスペースも必要となってしまう。
本発明は、上記の事情に鑑みてなされたものであり、光源の点灯時に発電手段に発電させることができると共に、光源の非点灯時でも筐体内に外部光を入射させることで発電手段に効率よく発電させることができるランプハウス、およびこれを備えた顕微鏡を提供することを目的とする。
上記の目的を達成する本発明のランプハウスは、窓部を有する筐体内に光源および発電手段が配置され、前記窓部には前記光源から放射された光を集光して前記筐体の外部に出射させる集光レンズが配置されたランプハウスにおいて、前記発電手段は、機能面を前記集光レンズ側に向けて前記光軸上、かつ前記集光レンズの光軸に沿って集光レンズ側から前記筐体内をみたときの前記光源よりも奥側に配置されていることを特徴とする。
また、本発明のランプハウスは、上記の発明において、前記発電手段は、前記機能面としての受光面が平面状を呈する太陽電池であり、該太陽電池は、前記受光面を前記集光レンズの光軸と互いに直交させて配置されていることを特徴とする。
また、本発明のランプハウスは、上記の発明において、前記太陽電池は、前記受光面が前記集光レンズの集光位置にくるように配置されていることを特徴とする。
また、本発明のランプハウスは、上記の発明において、前記太陽電池と前記集光レンズとを結ぶ光軸上に熱吸収フィルタを更に備えたことを特徴とする。
また、本発明のランプハウスは、上記の発明において、前記筐体は、前記集光レンズの光軸に沿って前記窓部の周囲から外方に突出形成されて、ランプハウス接続部を有する光学機器の前記ランプハウス接続部と着脱自在に係合する筒状の係合部を更に有し、該係合部の内部空間は、前記光源から放射されて前記集光レンズで集光された光の光路となることを特徴とする。
また、本発明のランプハウスは、上記の発明において、前記発電手段により発電した電力を蓄電する蓄電池を更に備えたことを特徴とする。
一方、上記の目的を達成する本発明の顕微鏡は、被観察物に照明光を照射するための照明光学系を構成する複数の光学素子と前記被観察物の光学像を接眼レンズを介して観察するための観察光学系とを有する顕微鏡本体と、該顕微鏡本体に取り外し可能に装着されて前記複数の光学素子と共に前記照明光学系を構成するランプハウスとを備えた顕微鏡であって、前記ランプハウスは、上記本発明のランプハウスであることを特徴とする。
また、上記の目的を達成する本発明の他の顕微鏡は、顕微鏡の光路に着脱可能なユニットを備えた顕微鏡であって、前記ユニットは、発電手段と前記発電手段により発電した電力を蓄電する蓄電池とを備え、前記ユニットの前記発電手段は、前記顕微鏡の光路に選択的に配置可能であり、前記ユニットの前記発電手段が前記顕微鏡の光路にあって光束の一部に照射された場合と、前記ユニットが前記顕微鏡から外された状態で外光に照射された場合に発電可能であることを特徴とする。
また、本発明の顕微鏡は、上記の発明において、前記ユニットは、前記顕微鏡の光路を選択的に遮断する遮断部を備え、前記ユニットの前記発電手段は、前記遮断部に設けられ、前記顕微鏡の光路を選択的に遮断している場合に発電することを特徴とする。
本発明のランプハウスでは、発電手段がその機能面を集光レンズ側に向けて集光レンズの光軸上、かつ集光レンズの光軸に沿って集光レンズ側から筐体内をみたときの光源よりも奥側に配置されているので、光源の点灯時に発電手段に発電させることができる。また、集光レンズから筐体内に外部光を入射させれば、この外部光が集光レンズによって集光されて発電手段の機能面に入射するので、光源の非点灯時でも筐体内に外部光を入射させることで発電手段に効率よく発電させることができる。
以下、本発明のランプハウスおよび顕微鏡それぞれの実施の形態について、図面を参照して詳細に説明する。なお、下記の各形態は、本発明のランプハウスおよび顕微鏡それぞれの一例を示すものであり、本発明は下記の形態に限定されるものではない。
(実施の形態1)
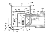
図1は、本発明のランプハウスと、このランプハウスを備えた本発明の顕微鏡それぞれの概略構成を示す側面図である。また、図2は、図1に示したランプハウスの概略構成を示す一部断面側面図であり、図3は、図2に示したランプハウスでの発電手段と熱吸収フィルタとを概略的に示す部分断面図である。そして、図4は、図2に示したランプハウスでの発電手段に外部光を入射させたときの状態を示す模式図である。
図1は、本発明のランプハウスと、このランプハウスを備えた本発明の顕微鏡それぞれの概略構成を示す側面図である。また、図2は、図1に示したランプハウスの概略構成を示す一部断面側面図であり、図3は、図2に示したランプハウスでの発電手段と熱吸収フィルタとを概略的に示す部分断面図である。そして、図4は、図2に示したランプハウスでの発電手段に外部光を入射させたときの状態を示す模式図である。
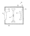
図1に示す顕微鏡1は、ベース11、鏡柱12、鏡筒13、レボルバ14、ステージホルダ15、ステージ16、コンデンサホルダ17、およびコンデンサ18を備えた顕微鏡本体10Aと、顕微鏡本体10Aに取り外し可能に装着されたランプハウス20Aと、ランプハウス20Aに装着された蓄電池30とを備えている。
顕微鏡本体10Aのベース11は、鏡柱12を支える台であり、顕微鏡1の使用時には当該ベース11を下にして顕微鏡本体10Aが机上等に置かれる。このベース11の背面側には、ランプハウス20Aを装着するための筒状のランプハウス接続部11aが設けられている。また、ベース11内には、ステージ16上に載置された被観察物Sにその下方から照明光を照射するための照明光学系LL1を構成する複数個の光学素子が配置されている。これらの光学素子として、図1には、ランプハウス接続部11a内に配置された収束レンズCD1と、その前方に配置された視野絞りFSおよびミラーMと、ミラーMの上方に配置された収束レンズCD2とを示してある。
鏡柱12は、ベース11の奥側から上方に伸びた支柱部12aと、支柱部12aの上端側から前方に張り出した上側アーム部12bとを有しており、上側アーム部12bでの先端側上部に鏡筒13が、また先端側下部にレボルバ14が取り付けられている。支柱部12aの前面側には、ステージホルダ15が上下動自在に設けられている。
鏡筒13は、下端側が上側アーム部12bに固定された鏡筒本体13aと、鏡筒本体13aの上部側に設けられて斜め上方に突出した接眼レンズ装着部13bと、鏡筒本体13a内および接眼レンズ装着部13b内に配置された収束レンズCD11、プリズムP等の複数個の光学素子とを有している。顕微鏡1の使用時には、接眼レンズ装着部13bに接眼レンズEPが装着される。
レボルバ14は、上側アーム部12bの先端側下部に回転自在に取り付けられている。顕微鏡1の使用時には、このレボルバ14に少なくとも一つの対物レンズが装着される。図1には、二つの対物レンズOb1,Ob2が現れている。
レボルバ14を回転させることによって被観察物S上に位置させた対物レンズOb2は、鏡筒13内に配置された各光学素子および接眼レンズ装着部13bに装着された接眼レンズEPと共に、被観察物Sの光学像を観察するための観察光学系OL1を構成する。図1では、観察光学系OL1の光軸OA1を一点鎖線で示している。
ステージホルダ15は、鏡柱12の支柱部12aに上下動自在に設けられて、支柱部12aの前面側に張り出している。このステージホルダ15の上部にはステージ16が着脱可能に水平設置されている。また、ステージホルダ15には、ステージ16の下方に張り出すようにしてコンデンサホルダ17が上下動自在に設けられており、このコンデンサホルダ17によって、ステージ16の下方にコンデンサ18が水平に保持されている。
ステージホルダ15の鉛直方向位置は、ベース11に設けられたフォーカスハンドル15aによって調整可能であり、ステージ16の水平方向位置は、ステージ16の下部に設けられたステージ移動ハンドル16aによって調整可能である。また、コンデンサホルダ17の鉛直方向位置は、ステージホルダ15に設けられたコンデンサハンドル17aによって調整可能である。フォーカスハンドル15aを適宜回転させてステージホルダ15の鉛直方向位置を調整することにより、顕微鏡1の焦点を調整することができる。
なお、コンデンサ18内には、照明光学系LL1を構成する複数個の光学素子が配置されている。これらの光学素子として、図1には、収束レンズCD2の上方に配置された収束レンズCD3と、収束レンズCD3の上方に配置された小径の収束レンズCD4と、収束レンズCD4の下方に配置された開口絞りASとを示してある。被観察物Sは、収束レンズCD4の上方に位置するようにして、ステージ16の上面に載置される。
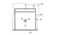
ランプハウス20Aは、筐体21Aと、筐体21A内に配置された光源LS、太陽電池22、熱吸収フィルタ23、および集光レンズCLを備えている。また、光源LSを電源に接続するための電源コード24も備えている。
図2に示すように、筐体21Aは、天板部21aに複数の通風孔V1を有し、一つの側壁部21bに筒状の窓部Wを有し、窓部Wの外側に窓部Wよりも大径の筒状を呈する係合部21cを有し、底板部21dに複数の通風孔V2を有する箱状体である。個々の通風孔V1,V2は、ランプハウス20Aからの漏れ光が顕微鏡観察者の視界に入って被観察物Sの観察の妨げとなるのを防止するために、その長手軸が天板部21aまたは底板部21dの厚さ方向と交差する向きに形成されている。また、係合部21cは、集光レンズCLの光軸OA21に沿って窓部Wの周囲から外方に突出形成されており、当該係合部21cは、図1に示したランプハウス接続部11aに着脱自在に係合する。また、係合部21cの内部空間は、光源LSから放射されて集光レンズCLで集光された光の光路となる。なお、図2では、集光レンズCLの光軸OA21を一点鎖線で示している。
光源LSは、ハロゲンランプ、キセノンランプ、水銀ランプ、または発光ダイオード等を用いて構成されて、被観察物Sを照明するための照明光を放射する。この光源LSは、筐体21Aの底板部21d上に配置された光源保持部25によって保持されている。また、集光レンズCLは、筐体21Aの窓部Wに嵌め込まれて環状のレンズ固定部材26で窓部Wに固定されている。この集光レンズCLは、光源LSから放射された光を集光して筐体21Aの外部に出射させる。
太陽電池22は、機能面としての受光面22aを集光レンズCL側に向けて光軸OA21上、かつ光軸OA21に沿って集光レンズCL側から筐体21A内をみたときの光源LSよりも奥側に配置されている。具体的には、光源LSの周囲に設けられた外側遮光部材27での一つの側壁部27aに、太陽電池22が嵌め込まれている。この太陽電池22は、光源LSから放射された光や外部光を電力に変換する発電手段として機能する。太陽電池22の受光面22aは平面状を呈し、この受光面22aは光軸OA21と互いに直交する。また、受光面22aは集光レンズCLの集光位置、すなわち集光レンズCLで集光された光線束が最も細くなる位置に位置している。受光面22aの大きさは、集光レンズCLをその光軸OA21に沿って正面視したときの集光レンズCLの大きさよりも小さい。
熱吸収フィルタ23は、太陽電池22と光源LSとの間に配置され、光源LSから放射された光から主に赤外領域の波長成分を除去して太陽電池22の受光面22aに入射させる略透明の光学フィルタである。この熱吸収フィルタ23は、具体的には光源LSと外側遮光部材27との間に設けられた内側遮光部材28での一つの側壁部28aに嵌め込まれており、当該熱吸収フィルタ23は、集光レンズCLと互いに対向する。図3に示すように、太陽電池22の受光面22aは四角形を呈し、熱吸収フィルタ23は太陽電池22の受光面22aよりも大径の円形を呈する。このため、太陽電池22の受光面22aは、集光レンズCL側から光軸OA21に沿って筐体21A内をみたときに視認される。
なお、外側遮光部材27は、窓部W側、内側遮光部材28側、および底板部21d側がそれぞれ開口した箱状体であり、内側遮光部材28は、外側遮光部材27よりも高さが低く、かつ窓部W側と底板部21d側がそれぞれ開口した箱状体である。外側遮光部材27と内側遮光部材28とは、互いに同じ幅を有している。外側遮光部材27での窓部W側の開口部27bは内側遮光部材28の上方に開口しており、当該外側遮光部材27は内側遮光部材28の外周面との間に通風路を形成している。また、内側遮光部材28での窓部W側の開口部28bは窓部Wよりも大形であり、当該開口部28bは窓部Wの上方に通風口を形成している。
これらの各構成要素を有するランプハウス20Aは、係合部21cをランプハウス接続部11aに外嵌することで、顕微鏡本体10Aに取り外し可能に装着される。この状態下では、集光レンズCLが顕微鏡本体10A中の収束レンズCD1と対向する。また、集光レンズCLの光軸OA21が収束レンズCD1の光軸と略一致する。光源LSおよび集光レンズCLは、ベース11内に配置された各光学素子と共に照明光学系LL1を構成する。図1中に、照明光学系LL1の光軸OA2を二点鎖線で示してある。
蓄電池30は、図2に示す充電コード31aによって太陽電池22に接続されて、太陽電池22が発電した電力を蓄える。また、図2に示す給電コード31bによって光源保持部25に接続されて、ここから光源LSに電力を供給する。蓄電池30からの電力を光源LSに供給するか、図1に示した電源コード24を介して光源LSに電力を供給するかは、ランプハウス20Aに設けられた不図示の切換えスイッチにより切り換え可能である。
上述の各構成要素を備えた顕微鏡1では、図1に示したステージ16上に被観察物Sを載置し、必要に応じてランプハウス20Aの光源LSを点灯させることにより、接眼レンズEPを介して被観察物Sの光学像を観察することができる。
光源LSを点灯させた場合には、光源LSから放射された光の一部が照明光学系LL1を伝播して、被観察物Sをその下方から照明する。具体的には、光源LSから放射された光の一部が集光レンズCLによって集光されて収束レンズCD1に入射し、収束レンズCD1で略平行な光に変換され、視野絞りFSで絞られた後にミラーMで鉛直上方に反射し、収束レンズCD2、収束レンズCD3で収束され、開口絞りASで絞られた後に、収束レンズCD4に入射する。そして、収束レンズCD4に入射した光は、収束レンズCD4で収束されて被観察物Sをその下方から照明する。照明光学系LL1は、透過照明光学系に相当する。
また、被観察物Sに入射した照明光の多くは被観察物Sを透過して観察光学系OL1に入射し、対物レンズOb2で結像されて、その光学像が接眼レンズEPによって拡大される。結果として、顕微鏡観察者は、被観察物Sの明るい光学像を接眼レンズEPを介して観察することができる。
この間、光源LSから放射された光の他の一部は、熱吸収フィルタ23によって主に赤外領域の波長成分を除去された後に太陽電池22の受光面22aに入射し、太陽電池22によって電力に変換される。すなわち、光源LSの点灯時には、太陽電池22に発電を行わせることができる。太陽電池22で発電された電力は、充電コード31aを介して蓄電池30に送られて蓄電池30に蓄えられる。蓄電池30に蓄えられた電力は、所望の時期に光源LSを発光させるための電力として利用することができる。
したがって、マラリアの診断等の医療活動を電力供給網が整備されていない地域や屋外等、電源コード24を商用電源に接続することができない環境下で行うにあたって顕微鏡1を使用する場合でも、蓄電池30に蓄えられた電力を利用することができるので、光源LSを点灯しての使用可能時間を延ばすことができる。また、電源コード24を商用電源に接続することができずにモータバイクや車のバッテリに接続して顕微鏡1を使用する場合でも、蓄電池30にある程度の電力が蓄えられた後はバッテリとの接続を解除し、所望の場所に顕微鏡1を移動させて使用することができるので、上記の医療活動を臨機応変に行い易い。さらには、太陽電池22と光源LSとの間に熱吸収フィルタ23が設けられているので、熱吸収フィルタ23がない場合に比べて太陽電池22の昇温が抑えられ、結果として昇温に伴う太陽電池22の光電変換効率の低下が抑えられる。そのため、太陽電池22による発電を効率よく行うことができる。
顕微鏡1の非使用時には、図4に示すように、ランプハウス20Aを顕微鏡本体10Aから取り外し、太陽光等の外部光L1が集光レンズCLに入射可能な方向に当該ランプハウス20Aを向けておくことで、太陽電池22に発電を行わせることができる。このとき、集光レンズCLによって外部光L1が集光されて太陽電池22の受光面22aに入射するので、外部光1が微弱なときでも太陽電池22に効率よく発電を行わせることができる。すなわち、光源LSの非点灯時でも、集光レンズCLを通して筐体21A内に外部光L1を入射させることで、太陽電池22に効率よく発電させることができる。また、太陽電池22として小型のものを用いた場合でも比較的多くの発電量を確保することができる。小型の太陽電池22を用いることにより、ランプハウス20Aの製造コストを低減させ易くなる。
(実施の形態2)
本発明のランプハウスでは、外部光を集光レンズ側に集光する凹形状のリフレクタ部を集光レンズの外側に設けることができる。このリフレクタ部は、例えば、集光レンズの一つのレンズ面が当該リフレクタ部の底から露出するように配置される。
本発明のランプハウスでは、外部光を集光レンズ側に集光する凹形状のリフレクタ部を集光レンズの外側に設けることができる。このリフレクタ部は、例えば、集光レンズの一つのレンズ面が当該リフレクタ部の底から露出するように配置される。
図5は、外部光を集光レンズ側に集光する凹形状のリフレクタ部が集光レンズの外側に設けられたランプハウスの概略構成を示す一部断面側面図であり、図6−1は、図5に示したランプハウスによる外部光の集光状態を示す模式図であり、図6−2は、図2に示したランプハウスによる外部光の集光状態を示す模式図である。
図5に示すランプハウス20Bは、図2に示した筐体21Aに代えて筐体21Bを備えるという点を除き、図2に示したランプハウス20Aと同様の構成を有している。また、筐体21Bは、図2に示した係合部21cに代えて係合部21eを備えるという点、およびリフレクタ部29を備えるという点をそれぞれ除き、筐体21Aと同様の構成を有している。図5に示す構成要素のうちで図2に示した構成要素と共通するものについては、図2で用いた参照符号と同じ参照符号を付してその説明を省略する。
ランプハウス20Bでは、集光レンズCLの外側レンズ面Osが窓部Wから外方に突出している。また、係合部21eは、図2に示した係合部21cと同様に、集光レンズCLの光軸OA21に沿って窓部Wの周囲から外方に突出形成された筒状を呈し、当該係合部21eの内部空間は、光源LSから放射されて集光レンズCLで集光された光の光路となる。この係合部21eでの顕微鏡本体10B側の先端部から窓部Wにかけての領域の内周面全体が、外部光L1を集光レンズCL側に集光させる凹形状の反射面になっている。すなわち、ランプハウス20Bでは、係合部21eでの顕微鏡本体10B側の先端部から窓部Wにかけての領域が、外部光L1を集光レンズCL側に集光させる凹形状のリフレクタ部29になっている。
このランプハウス20Bは、係合部21eの先端側を顕微鏡本体10Bのランプハウス接続部11bに係合、具体的には勘合させることで、顕微鏡の顕微鏡本体10Bに取り外し可能に装着される。係合部21eは、ランプハウス接続部11bと着脱自在に係合する。なお、顕微鏡本体10Bは、図2に示したランプハウス接続部11aに代えてランプハウス接続部11bを有するという点を除き、図2に示した顕微鏡本体10Aと同様の構成を有する。ランプハウス接続部11bは、収束レンズCD1を保持する筒状のレンズ保持部LH、およびレンズ保持部LHの外周面とランプハウス接続部11bの外周面との間に環状に形成された溝部Gを有しており、溝部Gに係合部21eの先端部分が挿入される。
上述のように構成されたランプハウス20Bでは、実施の形態1で説明したランプハウス20Aと同様に、光源LSの点灯時に太陽電池22に発電を行わせることができる。また、光源LSの非点灯時でも、集光レンズCLを通して筐体21B内に外部光L1を入射させることで、太陽電池22に効率よく発電させることができる。具体的には、ランプハウス20Bを顕微鏡本体10Bから取り外し、太陽光等の外部光がリフレクタ部29に入射可能な方向に当該ランプハウス20Bを向けておくことで、ランプハウス20Aよりも高効率で太陽電池22に発電を行わせることができる。
すなわち、ランプハウス20Bでは、外部光がリフレクタ部29と集光レンズCLとで集光され、集光レンズCLに直接は入射せずに集光レンズCLの外側でリフレクタ部29の反射面に入射した外部光も集光レンズCLで集光されて太陽電池22の受光面22aに入射するので、図6−1と図6−2との対比から明らかなように、図2に示したランプハウス20Aに比べて集光レンズCLに入射する外部光L1の光量が増大する。結果として、係合部21eの先端側の開口径が図2に示した係合部21cの先端側の開口径より大きい場合は勿論、同じである場合でも、太陽電池22の受光面22aに入射する外部光L1の光量が増大して、図2に示したランプハウス20Aよりも高効率で太陽電池22に発電を行わせることができる。
外部光L1として太陽光を利用する場合には、上記のランプハウス20Aに比べ、集光レンズCLを一定の方向に向けてランプハウス20Bを放置しておいても太陽光が太陽電池22の受光面22aに入射可能な時間帯が長くなるので、少ない手間で太陽電池22に多くの発電を行わせることができる。なお、図6−1および図6−2の各々における参照符号「Su」は太陽を示しており、参照符号「θ1」,「θ2」は、外部光L1である太陽光が集光レンズCLに入射可能な角度範囲を示している。
(実施の形態3)
本発明の顕微鏡では、本発明のランプハウス内の発電手段によって発電することに加えて、光学系を伝播する光、光学系からの漏れ光、または光学系内で発生する熱を発電手段によって電力に変換して発電するように構成することができる。
本発明の顕微鏡では、本発明のランプハウス内の発電手段によって発電することに加えて、光学系を伝播する光、光学系からの漏れ光、または光学系内で発生する熱を発電手段によって電力に変換して発電するように構成することができる。
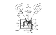
図7は、本発明の顕微鏡のうちで照明光学系内およびその近傍に発電手段を備えたものの概略構成を示す側面図であり、図8は、図7に示した顕微鏡の照明光学系内に配置された発電手段およびその周辺を概略的に示す断面図である。
図7に示す顕微鏡101は、図1に示した顕微鏡本体10Aに代えて顕微鏡本体10Cを備えるという点、および図1に示したランプハウス20Aが顕微鏡本体10C中の投光管19の長手方向の一端に装着されるという点をそれぞれ除き、図1に示した顕微鏡1と同様の構成を有している。また、顕微鏡本体10Cは、鏡柱12の上方に投光管19を備えるという点、および投光管19内のハーフミラーHMが観察光学系OL2の一部を構成するという点をそれぞれ除き、図1に示した顕微鏡本体10Aと同様の構成を有している。図7に示した構成要素のうちで図1に示した構成要素と共通するものについては、図1で用いた参照符号と同じ参照符号を付してその説明を省略する。
投光管19は、鏡柱12の上側アーム部12bの上面に配置されている。この投光管19は、筐体19aと、筐体19a内に配置された収束レンズCD21、開口絞りAS、視野絞りFS、収束レンズCD22、およびハーフミラーHM等の光学素子とを備えた長筒状の部材である。筐体19aの長手方向の一端側には、ランプハウス20Aを装着するための筒状のランプハウス接続部19bが設けられており、その前方には、所望の光学フィルタを必要に応じて筐体19a内に挿入するための二つのフィルタ挿入口19c,19dが設けられている。
投光管19内の各光学素子は、ランプハウス20A内の光源LSおよび集光レンズCLならびに被観察物S上に位置させた対物レンズOb2と共に、照明光学系LL2を構成する。収束レンズCD21は、ランプハウス20Aから投光管19内に入射した光を収束させ、開口絞りASは、収束レンズCD21で収束された光の一部のみを通過させ、視野絞りFSは、開口絞りASにて絞られた光の一部のみを収束させ、ハーフミラーHMは、収束レンズCD22で収束された光の略半量を対物レンズOb2側に反射する。対物レンズOb2を透過した光が被観察物Sに照射される。
この照明光学系LL2では、視野絞りFSを調整することによって観察視野中での照明範囲を調節することができ、開口絞りASを調整することによって照明光学系LL2を伝播する光線束を調節することができる。図7においては、照明光学系LL2の光軸OA12を二点鎖線で示している。ただし、ハーフミラーHMから被観察物Sまでの区間は、照明光学系LL2の光軸OA12と観察光学系OL2の光軸OA11とが互いに重なるので、この区間については、各光軸OA11,OA12を一本の実線で示している。
また、投光管19内には、照明光学系LL2を伝播する光のうちで被観察物Sの照明に寄与しない光、および照明光学系LL2からの漏れ光をそれぞれ電力に変換するための発電手段として、3個の太陽電池122〜124が各々の受光面を集光レンズCL側に向けて、かつ受光面の面法線が光軸OA12と略平行になるように配置されている。太陽電池122は開口絞りASの前面側、すなわちランプハウス20A側(以下同じ)に配置されており、太陽電池123は視野絞りFSの前面側に配置されている。そして、太陽電池124は、ハーフミラーHMの背後に配置されている。
図8に示すように、太陽電池122は、透明基板122aと、透明基板122aの片面上に設けられた複数個の光電変換素子122bとを有しており、各光電変換素子122bは、透明基板122aの表面中央部が露出するように環形状、あるいは多角形枠形状に配置されている。このため、太陽電池122の中央部は、照明光学系LL2を伝播する光L2の透過率が高い光路部LP1として機能する。光路部LP1をランプハウス20A側から正面視したときの外形寸法は、開口絞りASの開口の最大寸法よりも若干大きい。したがって、光路部LP1の周囲に向かう光L2の多くは、小さな入射角で太陽電池122の受光面122cに入射して電力に変換される。
太陽電池123は、太陽電池122と同様に、透明基板123aと、環形状あるいは多角形枠形状に配置された複数個の光電変換素子123bとを有している。この太陽電池123をランプハウス20A側から正面視したときの中央部の光路部LP2の外形寸法は、視野絞りFSの開口の最大寸法よりも若干大きい。したがって、開口絞りASを通過した後に光路部LP2の周囲に向かう光L2の多くは、小さな入射角で太陽電池123の受光面123cに入射して電力に変換される。なお、視野絞りFSでの開口の最大寸法は、開口絞りASでの開口の最大寸法と同等か若干小さくするのが好ましい。図8においては、視野絞りFSでの開口の最大寸法を開口絞りASでの開口の最大寸法よりも若干小さく描いている。
図7に示した太陽電池124は、光の透過率が高い光路部を有しておらず、当該太陽電池124では、透明基板の片面の略全体に光電変換素子が配置されている。この太陽電池124は、照明光学系LL2の光軸OA12の延長線EL上に配置され、照明光学系LL2からの漏れ光、すなわち照明光学系LL2を伝播する光L2のうちでハーフミラーHMを透過した光L2を受光して電力に変換する。なお、図7では、上記の延長線ELを破線で示している。
投光管19内に配置された各太陽電池122〜124は、図7に示した充電コード31cによって蓄電池30に接続されており、個々の太陽電池122〜124が発電した電力は蓄電池30に蓄えられる。
上述の投光管19を備えた顕微鏡101では、投光管19の先端側上部に鏡筒13が設けられており、鏡筒本体13aはハーフミラーHMの上方に位置している。また、レボルバ14はハーフミラーHMの下方に位置している。そして、レボルバ14を回転させることによって被観察物S上に位置させた対物レンズOb2と、ハーフミラーHMと、鏡筒13内に配置された各光学素子と、接眼レンズEPとによって、被観察物Sの光学像を観察するための観察光学系OL2が形成される。図7では、観察光学系OL2の光軸OA11を一点鎖線で示している。
この顕微鏡101では、ステージ16上に被観察物Sを載置し、必要に応じてランプハウス20Aの光源LSを点灯させることにより、接眼レンズEPを介して被観察物Sの光学像を観察することができる。
光源LSを点灯させた場合には、光源LSから放射された光の一部が照明光学系LL2を伝播して、被観察物Sをその上方から照明する。具体的には、光源LSから放射された光の一部が集光レンズCLによって集光されて収束レンズCD21に入射し、収束レンズCD21で収束され、開口絞りASで絞られた後に視野絞りFSで更に絞られてハーフミラーHMに入射し、その略半量が対物レンズOb2側に反射する。そして、対物レンズOb2を透過した光が被観察物Sをその上方から照明する。
被観察物Sで反射した照明光の一部は観察光学系OL2に入射し、対物レンズOb2で結像されて、その光学像が接眼レンズEPによって拡大される。結果として、顕微鏡観察者は、被観察物Sの明るい光学像を接眼レンズEPを介して観察することができる。
この間、光源LSから放射された光の他の一部は、熱吸収フィルタ23によって主に赤外領域の波長成分を除去された後に太陽電池22の受光面に入射し、太陽電池22によって電力に変換される。また、照明光学系LL2を伝播する光L2のうちで太陽電池122の受光面122cに入射した光L2は当該太陽電池122によって電力に変換され、太陽電池123の受光面123cに入射した光L2は当該太陽電池123によって電力に変換される。そして、ハーフミラーHMを透過して照明光学系LL2から漏れ出て太陽電池124の受光面に入射した光L2は、当該太陽電池124によって電力に変換される。これら太陽電池22,122〜124で発電された電力は、充電コード31a,31cを介して蓄電池30に送られて蓄えられ、蓄電池30に蓄えられた電力は、所望の時期に光源LSを発光させるための電力として利用することができる。
したがって、電源コード24を商用電源に接続することができない環境下で蓄電池30を電源にして顕微鏡101を使用する場合には、実施の形態1で説明した顕微鏡1に比べ、光源LSを点灯しての使用可能時間を延ばすことができる。また、実施の形態1で説明した理由と同じ理由から、ランプハウス20Aを投光管19に装着した状態下、および投光管19からランプハウス20Aを取り外して太陽光等の外部光が集光レンズCLに入射可能な方向に向けた状態下のいずれにおいても、太陽電池22による発電を効率よく行うことができると共に、太陽電池22として小型のものを用いた場合でも比較的多くの発電量を確保することができる。
(実施の形態4)
本発明の顕微鏡では、本発明のランプハウス内に設けられた発電手段によって発電することに加えて、光学系に挿抜可能なスライダユニットに発電手段を設け、光学系を伝播する光や光学系内で発生する熱等を当該スライダユニットの発電手段によって電力に変換して発電するように構成することもできる。
本発明の顕微鏡では、本発明のランプハウス内に設けられた発電手段によって発電することに加えて、光学系に挿抜可能なスライダユニットに発電手段を設け、光学系を伝播する光や光学系内で発生する熱等を当該スライダユニットの発電手段によって電力に変換して発電するように構成することもできる。
図9−1は、本発明の顕微鏡の光学系に挿抜可能なスライダユニットの概略構成を示す正面図であり、図9−2は、図9−1に示したスライダユニットの側面図である。これらの図に示すスライダユニット150は、図7に示した顕微鏡101のフィルタ挿入口19cまたはフィルタ挿入口19dから投光管19に挿入されるフィルタスライダであり、基板部151、フィルタ152、発電手段としての太陽電池153、蓄電池154、正負一対の充電線155a,155b、正負一対の給電線156a,156b、正負一対の他の給電線157a,157b、および切換えスイッチ158を備えている。
基板部151は、正面視したときの形状が四角形状を呈する板状部材であり、この基板部151には、透孔部151aと凹部151bとが当該基板部151の長手方向に沿って並設されている。また、V溝Gv1が基板部151の上面側に形成されており、当該V溝Gv1と対をなすV溝Gv2が基板部151の下面側に形成されている。V溝Gv1とV溝Gv2とは、透孔部151aを介して互いに対向する。同様に、V溝Gv11が基板部151の上面側に形成されており、当該V溝Gv11と対をなすV溝Gv12が基板部151の下面側に形成されている。V溝Gc11とV溝Gv12とは、凹部151bを介して互いに対向する。
フィルタ152は、ニュートラルデンシィティ(ND)フィルタ等の光学フィルタであり、透孔部151aに装着されている。また、太陽電池153は、その受光面を外側に向けて凹部151bに装着されている。太陽電池153の受光面の形状および大きさは、凹部151bを正面視したときの凹部151aの形状および大きさと実質的に同じである。
蓄電池154、各充電線155a,155b、および各給電線156a,156b,157a,157bは、いずれも、基板部151に内蔵されている。各充電線155a,155bは、太陽電池153と蓄電池154とを接続する。また、各給電線156a,156bの一端は蓄電池154に接続され、給電線156aの他端はV溝Gv1で、また給電線156bの他端はV溝Gv2でそれぞれ外部に露出している。同様に、各給電線157a,157bの一端は蓄電池154に接続され、給電線157aの他端はV溝Gv11で、また給電線157bの他端はV溝Gv12でそれぞれ外部に露出している。
切換えスイッチ158は、基板部151の側面に配置されて、蓄電池154と各給電線156a,156b,157a,157bとの電気的な接続および分離を制御する。切換えスイッチを入にすると蓄電池154と各給電線156a,156b,157a,157bとが電気的に接続され、切にすると蓄電池154と各給電線156a,156b,157a,157bとが電気的に分離される。
上述の各構成要素を備えたスライダユニット150は、前述のように、図7に示したフィルタ挿入口19cまたはフィルタ挿入口19dから投光管19に挿入される。投光管19内には、スライダユニット150を位置決めするために、上下一対の位置決め部(図示せず)が設けられている。これらの位置決め部は、例えば、スライダユニット150のV溝Gv1,Gv2,Gv11,Gv12を係止可能な所定形状の係止部材を板バネやコイルバネ等の弾性体で投光管19の径方向に突没可能に弾性支持したクリック式の係脱機構等を用いて構成することができる。また、各位置決め部には、例えばランプハウス20A内の光源LSに電気的に接続可能な給電端子が設けられている。
このため、切換えスイッチ158を外側にしてスライダユニット150を投光管19に所定の深さまで挿入すると、各V溝Gv1,Gv2が上記の位置決め部に係合して、フィルタ152の中心が照明光学系LL2の光軸OA12と略一致した状態で当該フィルタ152が照明光学系LL2内の所定箇所に位置決めされる。また、給電線156a,156bが上記の給電端子に接続される。そして、スライダユニット150を投光管19に更に押し込むと、V溝Gv1,Gv2と上記の位置決め部との係合が解けてスライダユニット150が投光管19に更に挿入され、他の一対のV溝Gv11,Gv12が上記の位置決め部に係合して、太陽電池153がその受光面をランプハウス20A内の集光レンズCL側に向けて、かつ受光面の中心を光軸OA12と略一致させた状態で、照明光学系LL2内の所定箇所に位置決めされる。また、給電線157a,157bが上記の給電端子に接続される。
例えば、ランプハウス20A内の光源LSを点灯させた状態で被観察物Sを顕微鏡観察する際には、各V溝Gv1,Gv2を上記の位置決め部に係合させることでフィルタ152を照明光学系LL2内の所定箇所に位置させる。また、光源LSを点灯させてはいるが被観察物の顕微鏡観察を行わないときには、各V溝Gv11,Gv12を上記の位置決め部に係合させることで太陽電池153を照明光学系LL2内の所定箇所に位置させて、当該太陽電池153に発電を行わせる。このとき、照明光学系LL2の光路は、凹部151bによって遮断される。凹部151bは照明光学系LL2の光路を選択的に遮断する遮断部として機能し、太陽電池153は、凹部151bによって照明光学系LL2の光路が遮断されているときに発電することになる。太陽電池153が発電した電力は、蓄電池154に蓄えられる。
一般に、キセノンランプ、ハロゲンランプ、水銀ランプ等を光源とするランプハウスを備えた顕微鏡では、ランプハウスの電源を投入してから光源の発光が安定するまでに比較的時間がかかるので、電源を一旦投入した後は、被観察物の顕微鏡観察を断続的に行う場合でも光源を点灯させたままにする。そして、非観察時には、照明光学系を伝播する光を当該照明光学系の所望箇所で遮断して、照明光の照射に起因する被観察物Sの熱変性や損傷等を防止する。したがって、このような顕微鏡では、非観察時に太陽電池153を照明光学系内の所定箇所に位置させて太陽電池153に発電を行わせることにより、光源LSを非観察時にも点灯させたままにしておくことで無駄に消費される電力を太陽電池153の発電で補うことができる。
スライダユニット150を顕微鏡本体から取り外し、太陽光や室内照明光等の外部光が太陽電池153の受光面に入射するように当該スライダユニット150を所望の場所に置いておけば、太陽電池153が外部光を電力に変換してその電力が蓄電池154に蓄えられる。スライダユニット150の他にスライダユニット150と同様の構成を有する所望数のスライダユニットを揃えて、顕微鏡観察を行っているときでも顕微鏡本体に装着されないスライダユニットが少なくとも1個は生じるようにすれば、顕微鏡本体に装着されたスライダユニットと顕微鏡本体に装着されないスライダユニットの両方で発電を行うことが可能になるので、より多くの発電量を確保してストックしておくことが可能になる。
また、スライダユニット150は構造が比較的単純であるので、安価に提供することができると共に、故障したときの修理や部品交換が容易である。スライダユニット150の形状および大きさを規格化すれば、種々の機種の顕微鏡に当該スライダユニット150を装着することが可能になるので、電力供給網が整備されていない地域や屋外等で複数の研究機関や医療機関等が共同で研究活動あるいは医療活動を行うときでも、活動に参加した機関全体での電源の確保が容易になる。
以上、本発明のランプハウスおよび顕微鏡の各々について実施の形態を挙げて説明したが、前述のように、本発明は上記の形態に限定されるものではない。例えば、本発明のランプハウスにおける発電手段の配置以外の構成は、適宜変更可能である。発電手段としては、機能面としての受光面で光を受光して電力に変換する太陽電池を用いることもできるし、光源から放射された光や熱の照射を受ける加熱面を機能面とし、この加熱面の背面側に設けられて空冷等により冷却される冷却面と加熱面との温度差によって発電する複数の熱電変換素子を備えた熱電モジュールを用いることもできるし、太陽電池と熱電モジュールとを併用することもできる。
発電手段として太陽電池および熱電モジュールのいずれを用いる場合でも、当該発電手段は、機能面を集光レンズ側に向けて集光レンズの光軸上、かつ集光レンズの光軸に沿って集光レンズ側から筐体内をみたときの光源よりも奥側に配置される。ここで、「集光レンズの光軸上に発電手段が配置されている」とは、機能面が集光レンズの光軸と互いに交差するように発電手段が配置されている場合を含むことは勿論、集光レンズの光軸が発電手段に設けられた透孔や光透過部を通るようにして発電手段が配置されている場合を含む。発電手段に上記の透孔や光透過部を設けた場合、機能面は、当該透孔や光透過部の周囲に配置される。
発電手段の小型化という観点からは、発電手段をその機能面が集光レンズの集光位置にくるように配置し、かつ集光レンズによって集光された光線束の径と機能面の大きさとを同程度にすることが好ましいが、当該発電手段の配設位置および機能面の大きさは適宜変更可能である。例えば、集光レンズの集光位置よりも集光レンズ側および集光レンズから離隔する側のいずれかに機能面が位置するように発電手段を配置することもできる。また、機能面の大きさは、集光レンズによって集光された光線束の実質的に全量が入射できるように、発電手段の配設位置および機能面と集光レンズの光軸とがなす角を考慮して選定することができる。発電手段の機能面と集光レンズの光軸とは、互いに直交することが好ましいが、機能面と上記の光軸とが互いに斜めに交差するように発電手段を配置することも可能である。
発電手段として熱電モジュールを用いる場合には、熱電モジュールの機能面に入射する光に赤外領域の波長成分が含まれていた方が好ましいので、実施の形態1で説明した熱吸収フィルタは省略することができる。
集光レンズで集光された外部光の光路中に光源があって発電手段による発電量を多くしたいときには、光源保持部にスライド機構をもたせて、光源を上記の光路の外側に退避可能にしてもよい。
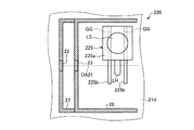
図10−1は、光源保持部にスライド機構をもたせたランプハウスの一例を概略的に示す一部断面側面図であり、図10−2は、図10−1に示したランプハウスを概略的に示す一部断面平面図である。これらの図に示すランプハウス220は、図2に示した光源保持部25に代えて光源保持部225を備えているという点を除き、図2に示したランプハウス20Aと同様の構成を有している。図10−1または図10−2に示す構成要素のうちで図2に示した構成要素と共通するものについては、図2で用いた参照符号と同じ参照符号を付してその説明を省略する。
光源保持部225は、一対のガイド溝GGを有する保持部本体225aと、保持部本体225aをスライド可能に保持する一対のガイド部225bと、保持部本体225aの位置を固定することができるロック部225cとを有している。各ガイド溝GGは、互いに間隔をあけて保持部本体225aの底部に形成されており、各ガイド部225bは、互いに間隔をあけて筐体21Aの底板部21d上に固定配置されている。これらガイド溝GGおよびガイド部225bは、集光レンズCLの光軸OA21と平面視上直交する方向に延在しており、一つのガイド部225bに一つのガイド溝Gが係合している。
また、ロック部225cは、底板部21dの外側から保持部本体225aに螺号するねじを用いて構成されている。底板部21dには、保持部本体225aに緩く螺合したねじがそのままの状態で移動することができるように、一対のガイド部225b間に長孔LHが形成されている。上記のねじの螺入量が少ないときには、保持部本体225aが各ガイド部225b上をスライド可能であり、上記のねじの螺入量が多いときには、保持部本体225aが各ガイド部225bに圧接してその位置が固定される。光源LSは、保持部本体225aに保持されている。
したがって、集光レンズCLで集光された外部光の光路中に光源LSがあって太陽電池22等の発電手段による発電量を多くしたいときには、上記のねじの螺入量を少なくして保持部本体225aを各ガイド部225bに沿ってスライドさせることにより、光源LSを上記の光路の外側に退避させることができる。結果として、光源LSを退避させない場合に比べ、集光レンズCLで集光された外部光の多くを発電手段の機能面に入射させることができるようになるので、発電手段による発電を効率よく行うことができる。
なお、ランプハウスの光源保持部にスライド機構をもたせる場合には、集光レンズで集光された外部光の光路の外側に退避させた光源を集光レンズの光軸上に容易に戻すことができるように、筐体にアライメントマークを設けておくことが好ましい。また、当該スライド機構の構成は上記の構成に限定されるものではなく、適宜選定可能である。
本発明のランプハウスは、顕微鏡の光源装置として用いる他に、ランプハウス接続部を有する種々の光学機器の光源装置として用いることができる。このランプハウスは、筐体での窓部の周囲から外方に突出して光学機器のランプハウス接続部に着脱自在に係合する係合部を有していることが好ましいが、当該係合部は設けずに、光学機器にねじ等のジグで固定する構成や、光学機器本体と一体不可分の構成とすることもできる。また、集光レンズの光軸に沿った窓部の外方にライトガイドを着脱自在に、または取り外し不能に取り付けた構成とすることもできる。
本発明の顕微鏡は、照明光学系の光源装置として本発明のランプハウスを備えたものであればよく、当該顕微鏡におけるランプハウス以外の構成は、実体顕微鏡、光学顕微鏡、暗視野顕微鏡、位相差顕微鏡、微分干渉顕微鏡、偏光顕微鏡、蛍光顕微鏡等、その用途に応じて適宜選定される。また、照明光学系は、透過照明光学系および落射照明光学系のいずれか一方であってもよいし、両方であってもよい。照明光学系を透過照明光学系および落射照明光学系の両方とする場合には、個々の照明光学系における光源装置の少なくとも一方に本発明のランプハウスを用いる。
本発明の顕微鏡での照明光学系内や照明光学系からの漏れ光の光路に発電手段を設けるか否かは、適宜選択可能である。発電手段を設ける場合、当該発電手段は、太陽電池であってもよいし、熱電モジュールであってもよいし、太陽電池と熱電モジュールの両方であってもよい。発電手段は、照明光学系を伝播する光のうちで被観察物の照明に寄与しない光の光路上や、照明光学系を伝播する光が漏れ出る箇所等、所望箇所に配置することができ、その数は適宜設定可能である。視野絞りや開口絞りの前方に発電手段を配置する場合には、絞りの開閉に連動して照明光学系の光路の径を変更する複数枚の羽根を設け、これらの羽根の表面に当該発電手段を設けることもできる。
また、顕微鏡本体に挿抜可能なスライダユニットに発電手段を設ける場合、当該スライダユニットの形状や構成は適宜選定可能である。例えば、当該スライダユニットは、実施の形態4で説明したように光学フィルタと発電手段とを顕微鏡本体に挿抜するためにものであってもよいし、光学フィルタ以外の光学素子、例えば微分干渉(DIC)プリズムや光学レンズ等と発電手段とを顕微鏡本体に挿抜するためにものであってもよいし、発電手段のみを顕微鏡本体に挿抜するためにものであってもよい。一つのスライダユニットに二つ以上の光学素子と一つ以上の発電手段とを保持させることも可能である。
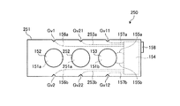
図11は、二つの光学素子と一つの発電手段とを保持したスライダユニットの一例を概略的に示す正面図である。同図に示すスライダユニット250は、図9−1に示したスライダユニット150と同様に、顕微鏡本体のフィルタ挿入口から照明光学系に挿入されるフィルタスライダであり、スライダユニット150の基板部151に代えて基板部251を備えるという点、およびフィルタ152と太陽電池153とに加えてフィルタ252を備えるという点をそれぞれ除き、スライダユニット150と同様の構成を有している。図11に示した構成要素のうちで図9−1に示した構成要素と共通するものについては、図9−1で用いた参照符号と同じ参照符号を付してその説明を省略する。
基板部251は、正面視したときの形状が四角形状を呈する板状部材であり、この基板部251には、透孔部151aと、凹部151bと、これら透孔部151aと凹部151bとの間に位置する透孔部251aとが並設されている。また、基板部251の上面側には、V溝Gv1,Gv11に加えてV溝Gv21が形成されており、基板部251の下面側には、V溝Gv2,Gv12に加えてV溝Gv22が形成されている。V溝Gv21とV溝Gv22とは、透孔部251aを介して互いに対向する。
フィルタ252は光学フィルタであり、透孔部251aに装着されている。また、基板部251内には、蓄電池154、一対の充電線155a,155b、一対の給電線156a,156b、および他の一対の給電線157a,157bに加えて、更に他の一対の給電線253a,253bが設けられている。各給電線253a,253bの一端は蓄電池154に接続され、給電線253aの他端はV溝Gv21で、また給電線253bの他端はV溝Gv22でそれぞれ外部に露出している。
このスライダユニット250は、図9−1に示したスライダユニット150と同様にして使用される。切換えスイッチ158を入にすると蓄電池154と各給電線156a,156b,157a,157b,253a,253bとが電気的に接続され、切にすると蓄電池154と各給電線156a,156b,157a,157b,253a,253bとが電気的に分離される。
本発明のランプハウスおよび顕微鏡の各々では、筐体あるいは顕微鏡本体の外表面に発電手段を設けることもできる。図12は、筐体の外表面に発電手段が設けられたランプハウスの一例の概略構成を示す側面図である。同図に示すランプハウス320は、図2に示したランプハウス20Aでの筐体21Aの外表面に複数個の発電手段を備えるという点を除き、図2に示したランプハウス20Aと同様の構成を有している。図13に示す構成要素のうちで図2に示した構成要素と共通するものについては、図2で用いた参照符号と同じ参照符号を付してその説明を省略する。
このランプハウス320では、筐体21Aでの天板部21a、係合部21cからみた左右の側壁部21f、および背面板部21gそれぞれの外表面に、太陽電池や熱電モジュール等の発電手段が設けられている。図12には、天板部21aの上面に設けられた発電手段321aと、係合部21cからみて左の側壁部21fの外表面に設けられた発電手段321bと、背面板部21gの外表面に設けられた発電手段321cとが現れている。各発電手段321a〜321cが太陽電池である場合、これらの発電手段321a〜321cは、受光面を外側にして筐体21Aの外表面に設けられる。また、各発電手段321a〜321cが熱電モジュールである場合、これらの発電手段321a〜321cは、加熱面を内側にして筐体21Aの外表面に設けられる。各発電手段321a〜321cで発電された電力は、不図示の充電コードを介して蓄電池に蓄えられる。
本発明のランプハウスや本発明の顕微鏡のどこに発電手段が設けられているかに拘わらず、これらの発電手段で発電されて蓄電池に蓄えられた電力は、ランプハウス内の光源の電源として利用する他に、他の用途の電源として利用することもできる。例えば、顕微鏡本体内に電動式の焦点調整機構が設けられている場合には、当該焦点調整機構を構成するモータの電源として利用することもできる。この場合には、蓄電池とモータとが一対の給電線で接続される。
発電手段が設けられた投光管や、発電手段および蓄電池が設けられたスライダユニットは、発電手段が設けられていないランプハウスを備えた顕微鏡の構成部材として用いることもできる。当該投光管や当該スライダユニットのように、顕微鏡の光路に着脱可能でかつ発電手段および蓄電池のうちの少なくとも発電手段を備えたユニットと、このユニットが装着される顕微鏡本体とを備えた顕微鏡も、本発明に含まれる。
本発明のランプハウスおよび顕微鏡の各々については、上述した形態以外にも種々の変形、修飾、組み合わせ等が可能である。なお、本発明のランプハウスや、実施の形態3で説明した顕微鏡における投光管や、実施の形態4等で説明したスライダユニット等は、顕微鏡を構成する他の部材とセットで流通させることもできるし、別個に流通させることもできる。
1,101 顕微鏡
10A,10B,10C 顕微鏡本体
11 ベース
12 鏡柱
13 鏡筒
14 レボルバ
15 ステージホルダ
16 ステージ
17 コンデンサホルダ
18 コンデンサ
20A,20B,220,320 ランプハウス
21A,21B 筐体
21c,21e 係合部
22,122,123,124,153 太陽電池
22a,122c,123c 受光面
23 熱吸収フィルタ
29 リフレクタ部
30 蓄電池
150,250 スライダユニット
W 窓部
LS 光源
CL 集光レンズ
OA21 集光レンズの光軸
S 被観察物
OL1,OL2 観察光学系
LL1,LL2 照明光学系
10A,10B,10C 顕微鏡本体
11 ベース
12 鏡柱
13 鏡筒
14 レボルバ
15 ステージホルダ
16 ステージ
17 コンデンサホルダ
18 コンデンサ
20A,20B,220,320 ランプハウス
21A,21B 筐体
21c,21e 係合部
22,122,123,124,153 太陽電池
22a,122c,123c 受光面
23 熱吸収フィルタ
29 リフレクタ部
30 蓄電池
150,250 スライダユニット
W 窓部
LS 光源
CL 集光レンズ
OA21 集光レンズの光軸
S 被観察物
OL1,OL2 観察光学系
LL1,LL2 照明光学系
Claims (9)
- 窓部を有する筐体内に光源および発電手段が配置され、前記窓部には前記光源から放射された光を集光して前記筐体の外部に出射させる集光レンズが配置されたランプハウスにおいて、
前記発電手段は、機能面を前記集光レンズ側に向けて前記光軸上、かつ前記集光レンズの光軸に沿って集光レンズ側から前記筐体内をみたときの前記光源よりも奥側に配置されていることを特徴とするランプハウス。 - 前記発電手段は、前記機能面としての受光面が平面状を呈する太陽電池であり、該太陽電池は、前記受光面を前記集光レンズの光軸と互いに直交させて配置されていることを特徴とする請求項1に記載のランプハウス。
- 前記太陽電池は、前記受光面が前記集光レンズの集光位置にくるように配置されていることを特徴とする請求項2に記載のランプハウス。
- 前記太陽電池と前記集光レンズとを結ぶ光軸上に熱吸収フィルタを更に備えたことを特徴とする請求項2または3に記載のランプハウス。
- 前記筐体は、前記集光レンズの光軸に沿って前記窓部の周囲から外方に突出形成されて、ランプハウス接続部を有する光学機器の前記ランプハウス接続部と着脱自在に係合する筒状の係合部を更に有し、該係合部の内部空間は、前記光源から放射されて前記集光レンズで集光された光の光路となることを特徴とする請求項1〜4のいずれか一つに記載のランプハウス。
- 前記発電手段により発電した電力を蓄電する蓄電池を更に備えたことを特徴とする請求項1〜5のいずれか一つに記載のランプハウス。
- 被観察物に照明光を照射するための照明光学系を構成する複数の光学素子と前記被観察物の光学像を接眼レンズを介して観察するための観察光学系とを有する顕微鏡本体と、該顕微鏡本体に取り外し可能に装着されて前記複数の光学素子と共に前記照明光学系を構成するランプハウスとを備えた顕微鏡であって、
前記ランプハウスは、請求項1〜6のいずれかに記載のランプハウスであることを特徴とする顕微鏡。 - 顕微鏡の光路に着脱可能なユニットを備えた顕微鏡であって、
前記ユニットは、発電手段と前記発電手段により発電した電力を蓄電する蓄電池とを備え、
前記ユニットの前記発電手段は、前記顕微鏡の光路に選択的に配置可能であり、
前記ユニットの前記発電手段が前記顕微鏡の光路にあって光束の一部に照射された場合と、前記ユニットが前記顕微鏡から外された状態で外光に照射された場合に発電可能であることを特徴とする顕微鏡。 - 前記ユニットは、前記顕微鏡の光路を選択的に遮断する遮断部を備え、
前記ユニットの前記発電手段は、前記遮断部に設けられ、前記顕微鏡の光路を選択的に遮断している場合に発電することを特徴とする請求項8に記載の顕微鏡。
Priority Applications (1)
| Application Number | Priority Date | Filing Date | Title |
|---|---|---|---|
| JP2010110490A JP2011237686A (ja) | 2010-05-12 | 2010-05-12 | ランプハウスおよびこれを備えた顕微鏡 |
Applications Claiming Priority (1)
| Application Number | Priority Date | Filing Date | Title |
|---|---|---|---|
| JP2010110490A JP2011237686A (ja) | 2010-05-12 | 2010-05-12 | ランプハウスおよびこれを備えた顕微鏡 |
Publications (1)
| Publication Number | Publication Date |
|---|---|
| JP2011237686A true JP2011237686A (ja) | 2011-11-24 |
Family
ID=45325713
Family Applications (1)
| Application Number | Title | Priority Date | Filing Date |
|---|---|---|---|
| JP2010110490A Withdrawn JP2011237686A (ja) | 2010-05-12 | 2010-05-12 | ランプハウスおよびこれを備えた顕微鏡 |
Country Status (1)
| Country | Link |
|---|---|
| JP (1) | JP2011237686A (ja) |
-
2010
- 2010-05-12 JP JP2010110490A patent/JP2011237686A/ja not_active Withdrawn
Similar Documents
| Publication | Publication Date | Title |
|---|---|---|
| US6795239B2 (en) | Transmitted light/lighting device for microscopes | |
| EP2136409A1 (en) | Concentration photovoltaic cell system with light guide | |
| WO2007084518A3 (en) | A hybrid primary optical component for optical concentrators | |
| CN202008060U (zh) | 模拟太阳光照射装置 | |
| CN101414056B (zh) | 暗视场照明物镜装置 | |
| US9298037B2 (en) | Sunlight collecting device and liquid crystal display using sunlight as a backlight source | |
| JP4996183B2 (ja) | 顕微鏡およびランプハウス | |
| Vu et al. | New mechanism of a daylighting system using optical-fiber-less design for illumination in multi-storey building | |
| JP2011181298A5 (ja) | ||
| TW201214732A (en) | Light concentrator and solar cell apparatus | |
| CN201355404Y (zh) | 一种暗视场照明物镜装置 | |
| CN111338067A (zh) | 一种微型荧光显微成像模块 | |
| KR100986252B1 (ko) | 자연채광을 위한 태양광 집광장치 | |
| CN107703616A (zh) | 多通道激光输出设备和荧光显微镜 | |
| KR101181668B1 (ko) | 하이브리드 태양광 조명 시스템 | |
| JP2011237686A (ja) | ランプハウスおよびこれを備えた顕微鏡 | |
| US20090320901A1 (en) | Concentration photovoltaic cell system with light guide | |
| JP2013065003A (ja) | クリティカル照明用の透過光照明装置を有する顕微鏡 | |
| KR102585697B1 (ko) | 반사경이 구비된 엘이디 광원장치 | |
| JP2003215461A (ja) | 顕微鏡照明装置とそれを用いた顕微鏡 | |
| US20080041444A1 (en) | Solar CPV cell module and method of safely assembling, installing, and/or maintaining the same | |
| CN207804219U (zh) | 医用内窥镜led冷光源装置及模块 | |
| CN211155673U (zh) | 一种多光谱光源 | |
| CN210401825U (zh) | 一种基于n路的白光led荧光模块的照明装置 | |
| CN100470295C (zh) | 一种光学显微镜透射照明系统及使用它的光学显微镜 |
Legal Events
| Date | Code | Title | Description |
|---|---|---|---|
| A300 | Application deemed to be withdrawn because no request for examination was validly filed |
Free format text: JAPANESE INTERMEDIATE CODE: A300 Effective date: 20130806 |