JP2011125141A - Stator core and method of manufacturing the same - Google Patents

Stator core and method of manufacturing the same Download PDF

Info

Publication number
JP2011125141A
JP2011125141A JP2009280716A JP2009280716A JP2011125141A JP 2011125141 A JP2011125141 A JP 2011125141A JP 2009280716 A JP2009280716 A JP 2009280716A JP 2009280716 A JP2009280716 A JP 2009280716A JP 2011125141 A JP2011125141 A JP 2011125141A
Authority
JP
Japan
Prior art keywords
electromagnetic steel
stator core
caulking
core
laminated
Prior art date
Legal status (The legal status is an assumption and is not a legal conclusion. Google has not performed a legal analysis and makes no representation as to the accuracy of the status listed.)
Pending
Application number
JP2009280716A
Other languages
Japanese (ja)
Inventor
Yukihiko Nakagami
幸彦 中上
Koji Suwa
浩二 諏訪
Noritoshi Tanahashi
文紀 棚橋
Current Assignee (The listed assignees may be inaccurate. Google has not performed a legal analysis and makes no representation or warranty as to the accuracy of the list.)
Toyota Motor Corp
Original Assignee
Toyota Motor Corp
Priority date (The priority date is an assumption and is not a legal conclusion. Google has not performed a legal analysis and makes no representation as to the accuracy of the date listed.)
Filing date
Publication date
Application filed by Toyota Motor Corp filed Critical Toyota Motor Corp
Priority to JP2009280716A priority Critical patent/JP2011125141A/en
Publication of JP2011125141A publication Critical patent/JP2011125141A/en
Pending legal-status Critical Current

Links

Images

Landscapes

  • Manufacture Of Motors, Generators (AREA)
  • Iron Core Of Rotating Electric Machines (AREA)

Abstract

【課題】ステータコアにおいて生じる鉄損を抑えつつ、分割コア端部の座屈・めくれ・浮き等を確実に防止することができる分割構造を有するステータコアおよびその製造方法を提供する。
【解決手段】電磁鋼板片4を所定の枚数だけ板厚方向に積層するとともに、積層方向において隣接する各電磁鋼板片4・4同士をかしめて形成する分割コア5からなり、所定の個数の各分割コア5・5・・・を各電磁鋼板片4・4・・・の積層方向に対して垂直な方向に隣接させつつ円環状に整列させて形成する分割コア集合体6と、分割コア集合体6に外嵌する締結リング7と、を備え、分割コア5は、積層方向の最も端部に位置する電磁鋼板片4を基準として、所定枚数以内の電磁鋼板片4・4・・・(端部5B・5C)のかしめ箇所数(例えば3箇所)が、それ以外の各電磁鋼板片4・4・・・(中央部5A)のかしめ箇所数(例えば1箇所)に比して多いステータコア2とする。
【選択図】図8
A stator core having a split structure that can reliably prevent buckling, turning, floating, and the like of an end portion of a split core while suppressing iron loss that occurs in the stator core, and a method for manufacturing the stator core.
A predetermined number of electromagnetic steel sheet pieces 4 are laminated in the thickness direction and divided cores 5 are formed by caulking the adjacent electromagnetic steel sheet pieces 4 and 4 in the lamination direction. A split core assembly 6 formed by aligning the split cores 5, 5,... Adjacent to each other in a direction perpendicular to the stacking direction of the magnetic steel sheet pieces 4, 4,. And a split ring 5 having a predetermined number of electromagnetic steel sheet pieces 4, 4... (On the basis of the electromagnetic steel sheet piece 4 positioned at the end in the stacking direction. Stator core having a larger number of caulking locations (for example, 3 locations) of the end portions 5B and 5C than the number of caulking locations (for example, 1 location) of the other electromagnetic steel sheet pieces 4, 4. 2.
[Selection] Figure 8

Description

本発明は、モータのステータを構成するステータコアおよびその製造方法の技術に関する。   The present invention relates to a technology of a stator core constituting a stator of a motor and a manufacturing method thereof.

従来、モータのステータを構成し磁束通路を形成するステータコアは、該ステータコアにおいて渦電流が生じて発熱すると、エネルギー損失(鉄損)が生じることが知られており、この鉄損をいかにして低減するかということが、モータ効率の改善を図る上で重要な課題となっている。
そして、ステータコアにおける鉄損の低減を図るためには、電磁鋼板を積層してステータコアを形成するのが有効であることが一般的に知られている。
Conventionally, a stator core that constitutes a stator of a motor and forms a magnetic flux path is known to generate energy loss (iron loss) when eddy current is generated in the stator core and heat is generated. How to reduce this iron loss Whether to do so is an important issue in improving motor efficiency.
In order to reduce iron loss in the stator core, it is generally known that it is effective to form a stator core by laminating electromagnetic steel sheets.

ところで、電磁鋼板を積層してステータコアを形成する場合、電磁鋼板を打ち抜いて円環状の積層部材を生成すると電磁鋼板の材料歩留まりが良くないため、円環形状を周方向に対して所定の角度割で均等に分割した態様の電磁鋼板片を生成しておき、この電磁鋼板片を複数用いてステータコアを形成する方法が広く採用されている。   By the way, when forming a stator core by laminating electromagnetic steel sheets, if the magnetic steel sheets are punched to produce an annular laminated member, the material yield of the electromagnetic steel sheets is not good. A method of forming a stator core by using a plurality of electromagnetic steel sheet pieces in a manner in which the electromagnetic steel sheet pieces are uniformly divided by the above-described method is generated.

このような電磁鋼板片を複数用いてステータコアを形成する方法では、電磁鋼板片を所定枚数だけ板厚方向に積層してサブアッシー部品(以下、分割コアと呼ぶ)を生成しておく。この分割コアは、ステータコアを周方向に対して所定の角度割で均等に分割した態様となっている。また分割コアを生成する場合の電磁鋼板片の積層方法としては、かしめが一般的に広く採用されている。   In such a method of forming a stator core using a plurality of electromagnetic steel plate pieces, a predetermined number of electromagnetic steel plate pieces are laminated in the plate thickness direction to generate a sub-assembly component (hereinafter referred to as a divided core). This divided core has a mode in which the stator core is equally divided at a predetermined angle relative to the circumferential direction. In addition, caulking is generally widely used as a method of laminating electromagnetic steel sheet pieces when generating split cores.

そして、所定個数の分割コアを円環状に整列させることによって分割構造を有するステータコア(以下、分割ステータコアと呼ぶ)を形成することができる。このような分割ステータコアは、従来から知られており、例えば、以下に示す特許文献1にその技術が開示され公知となっている。   A stator core having a divided structure (hereinafter referred to as a divided stator core) can be formed by aligning a predetermined number of divided cores in an annular shape. Such a split stator core has been conventionally known. For example, the technique is disclosed in Patent Document 1 shown below and is publicly known.

特許文献1に開示されている従来技術では、抜きかしめ(第一凹凸部)をコアバック部のみに設け、トゥース部にはエッジ部分がない形状の第二凹凸部を設けて、第二凹凸部により、電磁鋼板片の絶縁層を破壊しない構成とした分割ステータコアが開示されている。
また、第二凹凸部の凹部の半径よりも第二凹凸部の凸部の半径を大きくすることにより、電磁鋼板片を積層したときに、各電磁鋼板片の間に適当な隙間を生じさせることができる構成としている。
In the prior art disclosed in Patent Document 1, the second uneven portion is formed by providing the caulking (first uneven portion) only in the core back portion and providing the tooth portion with the second uneven portion having no edge portion. Thus, a split stator core having a configuration that does not destroy the insulating layer of the electromagnetic steel sheet is disclosed.
In addition, by making the radius of the convex portion of the second concave and convex portion larger than the radius of the concave portion of the second concave and convex portion, when the electromagnetic steel plate pieces are laminated, an appropriate gap is generated between the electromagnetic steel plate pieces. It is set as the structure which can do.

特開2008−43102号公報JP 2008-43102 A

しかしながら、このような分割ステータコアでは、分割コアを円環状に保持するために、各分割コアに締結リングを外嵌する構成が一般的であるが、締結リングによる緊結度を高くすると、隣接する各分割コアのコアバック部同士が当接し合うため、分割コアの端部に積層されている電磁鋼板片が、座屈したり、めくれたり、浮いたりしてしまう場合があった。   However, in such a split stator core, in order to hold the split core in an annular shape, a configuration in which a fastening ring is externally fitted to each split core is generally used. Since the core back portions of the split cores come into contact with each other, the electromagnetic steel sheet pieces laminated on the end portions of the split core may be buckled, turned up, or floated.

このように分割ステータコアを構成している電磁鋼板片に座屈やめくれや浮きが生じると、モータ効率が低下する原因等となるため好ましくない。このため、締結リング等の拘束部材を用いて分割コアを円環状に保持して分割ステータコアを形成する場合には、かしめて積層されている電磁鋼板片の座屈やめくれや浮きを確実に防止する必要があった。   If the magnetic steel sheet pieces constituting the split stator core are thus buckled, turned up, or floated, it is not preferable because the motor efficiency is lowered. For this reason, when a split stator core is formed by holding the split core in an annular shape by using a restraining member such as a fastening ring, it is possible to reliably prevent buckling, turning and floating of the electromagnetic steel sheet pieces that are caulked and laminated. There was a need to do.

本発明は、係る現状の課題を鑑みてなされたものであり、ステータコアにおいて生じる鉄損を抑えつつ、分割コア端部の座屈・めくれ・浮き等を確実に防止することができる分割構造を有するステータコアおよびその製造方法を提供することを目的としている。   The present invention has been made in view of the current problems, and has a split structure that can reliably prevent buckling, turning, floating, and the like of the end of the split core while suppressing iron loss that occurs in the stator core. It aims at providing a stator core and its manufacturing method.

本発明の解決しようとする課題は以上の如くであり、次にこの課題を解決するための手段を説明する。   The problem to be solved by the present invention is as described above. Next, means for solving the problem will be described.

即ち、請求項1においては、板状部材を所定の枚数だけ板厚方向に積層するとともに、積層方向において隣接する前記板状部材同士をかしめて形成する積層部品からなり、所定の個数の前記積層部品を前記板状部材の積層方向に対して垂直な方向に隣接させつつ円環状に整列させて形成する前記積層部品の集合体と、前記積層部品の集合体に外嵌するリング部材と、を備えるステータコアであって、前記積層部品は、積層方向において最も端部に位置する前記板状部材を基準として、所定の枚数以内の前記板状部材のかしめ箇所数が、それ以外の前記板状部材のかしめ箇所数に比して多いものである。   That is, in claim 1, a predetermined number of the plate-like members are laminated in the plate thickness direction, and the laminated members are formed by caulking the plate-like members adjacent in the lamination direction, and the predetermined number of the laminated members. An assembly of the laminated components formed by aligning the components in an annular shape while adjoining the components in a direction perpendicular to the laminating direction of the plate-like member, and a ring member that is externally fitted to the assembly of the laminated components. The laminated component includes the plate-like member in which the number of caulking locations of the plate-like member within a predetermined number of sheets is determined with reference to the plate-like member located at the end in the lamination direction. It is more than the number of caulking points.

請求項2においては、板状部材を所定の枚数だけ板厚方向に積層するとともに、積層方向において隣接する前記板状部材同士をかしめて形成する積層部品からなり、所定の個数の前記積層部品を前記板状部材の積層方向に対して垂直な方向に隣接させつつ円環状に整列させて形成する前記積層部品の集合体と、前記積層部品の集合体に外嵌するリング部材と、を備えるステータコアの製造方法であって、前記積層部品の、積層方向において最も端部に位置する前記板状部材を基準として、所定の枚数以内の前記板状部材のかしめ箇所数を、それ以外の前記板状部材のかしめ箇所数に比して多くするものである。   In claim 2, a predetermined number of the plate-like members are laminated in the plate thickness direction, and the plate-like members are formed by caulking together the plate-like members adjacent in the lamination direction. A stator core comprising: an assembly of the laminated parts formed by being arranged in an annular shape while being adjacent to each other in a direction perpendicular to the laminating direction of the plate-like members; and a ring member that is externally fitted to the aggregate of the laminated parts The number of caulking locations of the plate-like member within a predetermined number with respect to the plate-like member positioned at the end in the laminating direction of the laminated component, and the other plate-like shape The number is increased as compared with the number of caulking portions of the member.

本発明の効果として、以下に示すような効果を奏する。   As effects of the present invention, the following effects can be obtained.

請求項1においては、分割ステータコアにおける鉄損の増大を抑えつつ、積層された板状部材の座屈・めくれ・浮き等を確実に防止することができる。   According to the first aspect of the present invention, it is possible to reliably prevent buckling, turning, floating and the like of the laminated plate-like members while suppressing an increase in iron loss in the divided stator core.

請求項2においては、分割ステータコアにおける鉄損の増大を抑えつつ、積層された板状部材の座屈・めくれ・浮き等を確実に防止することができる。   According to the second aspect of the present invention, it is possible to reliably prevent buckling, turning, floating and the like of the laminated plate-like members while suppressing an increase in iron loss in the divided stator core.

本発明の一実施例に係るステータコアを備えるステータの全体構成を示す平面断面模式図。The plane cross-sectional schematic diagram which shows the whole structure of a stator provided with the stator core which concerns on one Example of this invention. 本発明の一実施例に係るステータコアを構成する電磁鋼板片を示す模式図、(a)各かしめ部のかしめ箇所数が3箇所である場合の平面模式図、(b)斜視模式図、(c)各かしめ部のかしめ箇所数が1箇所である場合の平面模式図。The schematic diagram which shows the electromagnetic steel plate piece which comprises the stator core which concerns on one Example of this invention, (a) The plane schematic diagram in case the number of the crimping location of each crimping part is three, (b) The perspective schematic diagram, (c) ) A schematic plan view when the number of caulking portions of each caulking portion is one. 本発明の一実施例に係るステータコアを構成する分割コアを示す斜視模式図。The perspective schematic diagram which shows the division | segmentation core which comprises the stator core which concerns on one Example of this invention. 本発明の一実施例に係るステータコアを構成する分割コア集合体を示す平面模式図。The plane schematic diagram which shows the division | segmentation core aggregate | assembly which comprises the stator core which concerns on one Example of this invention. 本発明の一実施例に係るステータコアを構成する締結リングを示す平面模式図。The plane schematic diagram which shows the fastening ring which comprises the stator core which concerns on one Example of this invention. 本発明の一実施例に係るステータコアを示す平面模式図。1 is a schematic plan view showing a stator core according to an embodiment of the present invention. 本発明の一実施例に係るステータコアを示す側面断面模式図。The side surface cross-sectional schematic diagram which shows the stator core which concerns on one Example of this invention. 本発明の一実施例に係るステータコアの製造方法の流れを示すフロー図。The flowchart which shows the flow of the manufacturing method of the stator core which concerns on one Example of this invention. 本発明の一実施例に係るステータコアを構成する分割コアのかしめによる積層状態を示す側面断面模式図。The side surface cross-sectional schematic diagram which shows the lamination | stacking state by caulking of the split core which comprises the stator core which concerns on one Example of this invention. 本発明の一実施例に係るステータコアを示す部分的に拡大した平面断面模式図、(a)かしめ部のかしめ箇所数が3箇所である部位における平面断面模式図、(b)かしめ部のかしめ箇所数が1箇所である部位における平面断面模式図。FIG. 1 is a partially enlarged schematic plan view showing a stator core according to an embodiment of the present invention, (a) a schematic plan view of a section where the number of caulking portions is three, and (b) a caulking portion of the caulking portion. The plane cross-sectional schematic diagram in the site | part whose number is one place. 本発明の一実施例に係るステータコアの製造方法における締結リングの外嵌状況を示す側面断面模式図、(a)焼嵌めの場合を示す側面断面模式図、(b)圧入の場合を示す側面断面模式図。The side cross-sectional schematic diagram which shows the external fitting condition of the fastening ring in the manufacturing method of the stator core which concerns on one Example of this invention, (a) The side cross-sectional schematic diagram which shows the case of shrink fitting, (b) The side cross-section which shows the case of press-fit Pattern diagram.

次に、発明の実施の形態を説明する。   Next, embodiments of the invention will be described.

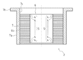
まず始めに、本発明の一実施例に係るステータコアを備えるステータの全体構成について、図1を用いて説明をする。尚、図1はステータコアを構成する分割コアのかしめ部のかしめ箇所数が3箇所である部位におけるステータの平面断面を示す図である。   First, an overall configuration of a stator including a stator core according to an embodiment of the present invention will be described with reference to FIG. FIG. 1 is a view showing a planar cross section of the stator at a portion where the number of caulking portions of the caulking portions of the divided cores constituting the stator core is three.

図1に示す如く、ステータ(固定子)1は、モータを構成する部品の一つであり、図示しないロータ(回転子)と一対で用いられるものである。
本実施例で示すステータ1は、本発明の一実施例に係るステータコア2とステータコイル3等により構成されている。
As shown in FIG. 1, the stator (stator) 1 is one of the components constituting the motor, and is used as a pair with a rotor (rotor) (not shown).
A stator 1 shown in this embodiment is composed of a stator core 2 and a stator coil 3 according to an embodiment of the present invention.

ステータコア2は、複数の電磁鋼板片4・4・・・を積層してなる複数の分割コア5・5・・・によって形成する分割コア集合体6と、締結リング7により構成しており、分割コア集合体6に締結リング7を外嵌して一体化することによって、ステータコア2を形成する構成としている。つまり、本発明の一実施例に係るステータコア2は分割構造を有するステータコア(所謂分割ステータコア)である。   The stator core 2 is composed of a divided core assembly 6 formed by a plurality of divided cores 5, 5... Formed by laminating a plurality of electromagnetic steel plate pieces 4. The stator core 2 is formed by externally fitting and fastening the fastening ring 7 to the core assembly 6. That is, the stator core 2 according to one embodiment of the present invention is a stator core having a divided structure (so-called divided stator core).

ここで、電磁鋼板片4について、図2を用いて説明をする。
図2(a)・(b)に示す如く、電磁鋼板片4は、電磁鋼板を打ち抜き等によって所定の形状に切り出して生成される板状部材であり、所定の曲率半径を有する円弧部4aに沿って形成される略扇形のコアバック部4bと、コアバック部4bから円弧部4aの半径方向内側に向けて突設されるトゥース部4cを備えている。また、コアバック部4bの円弧部4aの周方向端部には各当接部4d・4dを形成している。
そして、本実施例で示す電磁鋼板片4では、対面する各当接部4d・4dが成す角度θを20°としている。
Here, the electromagnetic steel sheet piece 4 will be described with reference to FIG.
As shown in FIGS. 2 (a) and 2 (b), the electromagnetic steel sheet piece 4 is a plate-like member generated by cutting the electromagnetic steel sheet into a predetermined shape by punching or the like, and is formed on the arc portion 4a having a predetermined radius of curvature. A substantially fan-shaped core back portion 4b formed along the core portion 4c and a tooth portion 4c projecting from the core back portion 4b toward the inside of the arc portion 4a in the radial direction. Further, contact portions 4d and 4d are formed at the circumferential end of the arc portion 4a of the core back portion 4b.
And in the electromagnetic steel plate piece 4 shown in a present Example, angle (theta) 1 which each contact part 4d * 4d which opposes makes is 20 degrees.

各当接部4d・4dの近傍のコアバック部4bには、かしめ部8・8を形成しており、また、トゥース部4cの端部近傍においても、かしめ部9を形成している。
本実施例に示すステータコア2では、図2(a)に示すような、各かしめ部8・8・9のかしめ箇所数をそれぞれ3箇所とする電磁鋼板片4や、図2(c)に示すような各かしめ部8・8・9のかしめ箇所数をそれぞれ1箇所とする電磁鋼板片4等を積層部位に応じて使い分けるようにしている。
尚、本実施例では、各かしめ部8・8・9のかしめ形状が略矩形状である場合を例示しているが、本発明に係る電磁鋼板片に形成するかしめ部のかしめ形状をこれに限定するものではなく、例えば、円形状や楕円形状等の種々のかしめ形状を採用することができる。
Caulking portions 8 and 8 are formed in the core back portion 4b in the vicinity of the contact portions 4d and 4d, and a caulking portion 9 is also formed in the vicinity of the end portion of the tooth portion 4c.
In the stator core 2 shown in the present embodiment, as shown in FIG. 2 (a), the electromagnetic steel sheet pieces 4 each having three caulking portions of the caulking portions 8, 8, 9 are shown in FIG. 2 (c). The electromagnetic steel sheet pieces 4 and the like, each having one caulking portion of each of the caulking portions 8, 8, and 9, are used depending on the laminated portion.
In the present embodiment, the case where the caulking shape of each caulking portion 8, 8, 9 is substantially rectangular is illustrated, but the caulking shape of the caulking portion formed on the electromagnetic steel sheet piece according to the present invention is illustrated here. For example, various caulking shapes such as a circular shape and an elliptical shape can be adopted.

ここで、分割コア5について、図3を用いて説明をする。
図3に示す如く、分割コア5は、電磁鋼板片4を複数枚積層して形成される積層部材であり、電磁鋼板片4のコアバック部4b(図2参照)を積層して形成するコアバック部5aと、電磁鋼板片4のトゥース部4c(図2参照)を積層して形成するトゥース部5bを備えており、また、積層する各電磁鋼板片4・4・・・・の各当接部4d・4d・・・(図2参照)により、コアバック部5aの周方向両端部に各当接面5c・5cを形成している。
各当接面5c・5cは、電磁鋼板片4の各当接部4d・4dを連続させることにより形成する部位であるため、各当接面5c・5cが成す角度θは角度θと同じく20°となる。
Here, the split core 5 will be described with reference to FIG.
As shown in FIG. 3, the divided core 5 is a laminated member formed by laminating a plurality of electromagnetic steel plate pieces 4, and a core formed by laminating the core back portion 4 b (see FIG. 2) of the electromagnetic steel plate pieces 4. A back portion 5a and a tooth portion 5b formed by laminating a tooth portion 4c (see FIG. 2) of the electromagnetic steel plate pieces 4 are provided. Each contact surface 5c and 5c is formed in the circumferential direction both ends of the core back part 5a by contact part 4d * 4d ... (refer FIG. 2).
Each abutment surface 5c · 5c are the sites to form by continuously the contact portions 4d · 4d of the electromagnetic steel plate pieces 4, the angle theta 2 formed by the respective abutting surfaces 5c · 5c angle theta 1 and Similarly, it becomes 20 °.

そして、本実施例で示す分割コア5では、各当接面5c・5cが成す角度θを20°としているため、18個の分割コア5・5・・・を用いて、各分割コア5・5・・・の各当接面5c・5c・・・を互いに当接させて配置することにより、円環状の分割コア集合体6を形成することができる。 Then, the divided core 5 in this embodiment, since the angle theta 2 formed by the respective abutting surfaces 5c-5c and 20 °, using 18 pieces of divided cores 5, 5, ..., each divided core 5 The annular divided core assembly 6 can be formed by arranging the abutting surfaces 5c, 5c,.

ここで、分割コア集合体6について、図4を用いて説明をする。
図4に示す如く、分割コア集合体6は、18個の分割コア5・5・・・を円環状に配置することによって形成されるものである。
分割コア集合体6は、18個の分割コア5・5・・・の各コアバック部5aを円環状に整列させることによってコアバック部6aを形成しており、コアバック部6aの外周部に締結リング7を外嵌する外周面6bを形成している。
また分割コア集合体6では、各分割コア5・5・・・の各トゥース部5b・5b・・・がそのまま分割コア集合体6のトゥース部となっており、各トゥース部5b・5b・・・の間に形成される空間を、ステータコイル3・3・・・を配置するための各スロット部としている。
Here, the split core assembly 6 will be described with reference to FIG.
As shown in FIG. 4, the divided core assembly 6 is formed by arranging 18 divided cores 5, 5... In an annular shape.
The divided core assembly 6 forms the core back portion 6a by aligning the core back portions 5a of the 18 divided cores 5, 5... In an annular shape, and is formed on the outer periphery of the core back portion 6a. An outer peripheral surface 6b for externally fitting the fastening ring 7 is formed.
In the split core assembly 6, the tooth portions 5 b, 5 b... Of the split cores 5, 5... Serve as the tooth portions of the split core assembly 6, and the tooth portions 5 b, 5 b. ... Are formed as slots for arranging the stator coils 3.

尚、本実施例では、各分割コア5・5・・・が、20°の角度割で均等に(即ち、18個に)分割した態様である場合を例示しているが、本発明に係るステータコアを構成する分割コアの分割態様をこれに限定するものではなく、各分割コアの角度割を何度にするか(即ち、周方向に均等に幾つに分割した態様とするか)は、モータの極数等に応じて適宜設定することができる。   In the present embodiment, the case where each of the divided cores 5, 5... Is equally divided (ie, divided into 18 pieces) at an angle of 20 ° is illustrated. The division mode of the divided cores constituting the stator core is not limited to this, and the number of angular divisions of each divided core (that is, the number of divisions equally in the circumferential direction) is determined by the motor. It can be set as appropriate according to the number of poles.

ここで、締結リング7について、図5および図6を用いて説明をする。
図5に示す如く、締結リング7は、円柱状の本体部7aと、該本体部7aの軸方向端部に形成する半径方向外側に突設される鍔部7bを備える円環状のリング部材であり、本体部7aの内径(即ち、内周面7cの直径)を、分割コア集合体6の外径(即ち、外周面6bの直径)に比して小さくしている。
そして、分割コア集合体6の外周面6bに締結リング7の内周面7cが接するように、分割コア集合体6に締結リング7を外嵌することによって、図6に示すようなステータコア2を形成する構成としている。
Here, the fastening ring 7 will be described with reference to FIGS. 5 and 6.
As shown in FIG. 5, the fastening ring 7 is an annular ring member including a columnar main body portion 7 a and a flange portion 7 b that is formed on the axial end of the main body portion 7 a and protrudes radially outward. In addition, the inner diameter of the main body 7a (that is, the diameter of the inner peripheral surface 7c) is made smaller than the outer diameter of the divided core assembly 6 (that is, the diameter of the outer peripheral surface 6b).
Then, by fitting the fastening ring 7 to the split core assembly 6 so that the inner peripheral surface 7c of the fastening ring 7 is in contact with the outer peripheral surface 6b of the split core assembly 6, the stator core 2 as shown in FIG. It is set as the structure to form.

ここで、ステータコア2について、図6および図7を用いて説明をする。
図6および図7に示す如く、本発明の一実施例に係るステータコアであるステータコア2は、分割コア集合体6に締結リング7を外嵌することによって形成される。そして、ステータコア2においては、各分割コア5・5・・・の各当接面5c・5cには、各当接面5c・5c同士が押し合う応力を作用させている。
これにより、各分割コア5・5・・・同士の密着力を増大させて、ステータコア2における鉄損の低減を図るとともに、分割コア集合体6にモータの回転トルクに耐えうる緊結力を付与する構成としている。
分割コア集合体6に対して締結リング7を外嵌する方法としては、焼き嵌めや圧入等の方法を採用することができる。
Here, the stator core 2 will be described with reference to FIGS. 6 and 7.
As shown in FIGS. 6 and 7, the stator core 2, which is a stator core according to an embodiment of the present invention, is formed by fitting a fastening ring 7 to the split core assembly 6. In the stator core 2, stress is applied to the contact surfaces 5 c, 5 c of the divided cores 5, 5.
As a result, the adhesion between the split cores 5, 5... Is increased to reduce the iron loss in the stator core 2, and a binding force capable of withstanding the rotational torque of the motor is applied to the split core assembly 6. It is configured.
As a method of externally fitting the fastening ring 7 to the split core assembly 6, a method such as shrink fitting or press fitting can be employed.

そして、このようにして形成されるステータコア2において、分割コア集合体6が備える各トゥース部5b・5b・・・にステータコイル3を巻回することにより、図1に示すようなステータ1を構成する。   Then, in the stator core 2 formed in this way, the stator 1 as shown in FIG. 1 is configured by winding the stator coil 3 around each of the tooth portions 5b, 5b... Provided in the divided core assembly 6. To do.

次に、本発明の一実施例に係るステータコアの製造方法について、図8〜図11を用いて説明をする。
図8に示す如く、本発明の一実施例に係るステータコア2の製造方法では、まず始めに、所定枚数の電磁鋼板片4・4・・・を、外形形状を合致させつつ積層するとともに、積層方向において隣接する各電磁鋼板片4・4の各かしめ部8・8・9をかしめて、分割コア5を生成する(STEP−1)。
分割コア5は、円環状の分割コア集合体6を生成するのに必要な個数を生成する。本実施例では、18個を一単位として複数の分割コア5・5・・・を生成する。
Next, a method for manufacturing a stator core according to an embodiment of the present invention will be described with reference to FIGS.
As shown in FIG. 8, in the manufacturing method of the stator core 2 according to one embodiment of the present invention, first, a predetermined number of electromagnetic steel plate pieces 4, 4. The divided cores 5 are generated by caulking the caulking portions 8, 8, 9 of the electromagnetic steel sheet pieces 4, 4 adjacent in the direction (STEP-1).
The divided cores 5 generate the number necessary to generate the annular divided core assembly 6. In the present embodiment, a plurality of divided cores 5, 5,... Are generated with 18 as one unit.

ここで、分割コア5における電磁鋼板片4の積層方法について説明をする。尚、ここではかしめ部8のかしめ状況を例示して積層方法を説明しているが、かしめ部9のかしめ状況も同様となる。
図9に示す如く、本発明の一実施例に係るステータコア2を構成する各電磁鋼板片4・4・・・は、かしめ部8の態様が異なる2種類の電磁鋼板片4(以下において説明する第一電磁鋼板片4A、第二電磁鋼板片4B)に分類することができる。
Here, the lamination | stacking method of the electromagnetic steel plate piece 4 in the division | segmentation core 5 is demonstrated. Here, the laminating method is described by illustrating the caulking state of the caulking portion 8, but the caulking state of the caulking portion 9 is the same.
As shown in FIG. 9, each of the electromagnetic steel plate pieces 4, 4... Constituting the stator core 2 according to one embodiment of the present invention has two types of electromagnetic steel plate pieces 4 having different aspects of the caulking portion 8 (described below). The first electromagnetic steel plate piece 4A and the second electromagnetic steel plate piece 4B) can be classified.

第一の態様の電磁鋼板片4である第一電磁鋼板片4Aは、一方の面(表面)に凸部8aが1個形成されるとともに、他方の面(裏面)の表面の凸部8aと同じ平面配置となる位置に凹部8bが1個形成される態様である第一の態様のかしめ部8Aが形成されるものである。   The first electromagnetic steel sheet piece 4A, which is the electromagnetic steel sheet piece 4 of the first aspect, has one convex portion 8a formed on one surface (front surface) and the convex portion 8a on the surface of the other surface (back surface). The caulking portion 8A of the first aspect, which is an aspect in which one concave portion 8b is formed at a position having the same planar arrangement, is formed.

ここで、凸部8aと凹部8bは互いに嵌合しあう形状を有しているため、隣接する各第一電磁鋼板片4A・4A・・・の各凸部8a・8a・・・および各凹部8b・8b・・・を嵌合させることによって、各第一電磁鋼板片4A・4A・・・をかしめて積層することができる。
そして、第一電磁鋼板片4Aを積層方向の上下に所定枚数だけかしめて積層することによって、分割コア5の積層方向に対する中央の部位である中央部5Aを形成している。
Here, since the convex portion 8a and the concave portion 8b have shapes that fit with each other, the convex portions 8a, 8a,... And the concave portions of the adjacent first electromagnetic steel sheet pieces 4A, 4A,. The first electromagnetic steel plate pieces 4A, 4A,... Can be caulked and stacked by fitting 8b, 8b,.
Then, a central portion 5A, which is a central portion with respect to the stacking direction of the divided cores 5, is formed by caulking and stacking a predetermined number of first electromagnetic steel plate pieces 4A vertically.

本実施例で示す中央部5Aは、その中央の部位において積層方向を上下反転させており、この中央の反転位置では各第一電磁鋼板片4A・4Aをかしめていないが、締結リング7をステータコア2に外嵌することによって各第一電磁鋼板片4A・4Aの積層状態を保持する構成としている。
尚、ここで説明した中央部5Aの積層方法は例示であり、本発明に係るステータコアの構成を、中央部の積層構造および積層方法によって限定するものではない。
The central portion 5A shown in this embodiment has the stacking direction turned upside down at the center portion, and the first electromagnetic steel plate pieces 4A and 4A are not caulked at the center turning position, but the fastening ring 7 is connected to the stator core. 2, the laminated state of the first electromagnetic steel plate pieces 4A and 4A is maintained.
In addition, the lamination | stacking method of center part 5A demonstrated here is an illustration, and the structure of the stator core which concerns on this invention is not limited with the lamination | stacking structure and lamination | stacking method of a center part.

第二の態様の電磁鋼板片4である第二電磁鋼板片4Bは、一方の面(表面)に凸部8aが3個形成されるとともに、他方の面(裏面)の表面の凸部8aと同じ平面配置となる位置に凹部8bが3個形成される態様である第二の態様のかしめ部8Bが形成されるものである。このため、隣接する各第二電磁鋼板片4B・4B・・・の各凸部8a・8a・・・および各凹部8b・8b・・・を嵌合させることによって、各第二電磁鋼板片4B・4B・・・をかしめて積層することができる。また、第二電磁鋼板片4Bは、第一電磁鋼板片4Aに連続してかしめて積層することもできる。   The second electromagnetic steel plate piece 4B, which is the electromagnetic steel plate piece 4 of the second aspect, has three convex portions 8a formed on one surface (front surface) and the convex portions 8a on the surface of the other surface (back surface). The caulking portion 8B according to the second aspect, which is an aspect in which three recesses 8b are formed at the same planar arrangement, is formed. For this reason, each 2nd electromagnetic steel plate piece 4B is fitted by fitting each convex part 8a * 8a ... and each recessed part 8b * 8b ... of each adjacent 2nd electromagnetic steel plate piece 4B * 4B ....・ 4B can be caulked and laminated. Moreover, the 2nd electromagnetic steel plate piece 4B can also be caulked and laminated | stacked continuously with the 1st electromagnetic steel plate piece 4A.

そして、中央部5Aの両端部の各第一電磁鋼板片4A・4Aに第二電磁鋼板片4Bをそれぞれ3枚ずつ隣接させて、各凸部8a・8a・・・および各凹部8b・8b・・・を嵌合させることにより、中央部5Aを中心として、第二電磁鋼板片4Bを積層方向の上下にそれぞれ3枚ずつかしめて積層する。
これにより、各第二電磁鋼板片4B・4B・・・によって、分割コア5の積層方向に対する両端の部位である端部5B・5Cを形成している。
Then, each of the first electromagnetic steel plate pieces 4A and 4A at both ends of the central portion 5A is adjacent to each of the third electromagnetic steel plate pieces 4B, and the respective convex portions 8a, 8a,... And the concave portions 8b, 8b,. .. Are fitted, and the second electromagnetic steel sheet pieces 4B are caulked and stacked three by three in the stacking direction around the central portion 5A.
Thereby, edge part 5B * 5C which is a site | part of the both ends with respect to the lamination direction of the division | segmentation core 5 is formed by each 2nd electromagnetic steel plate piece 4B * 4B ....

尚、本実施例では、分割コア5の中央部5Aを形成する第一電磁鋼板片4Aのかしめ部8Aは、凸部8aあるいは凹部8b(即ち、かしめ箇所)が1箇所ずつ形成されており、分割コア5の端部5B・5Cを形成する第二電磁鋼板片4Bのかしめ部8Bは、凸部8aあるいは凹部8b(即ち、かしめ箇所)が3箇所ずつ形成される場合を例示しているが、端部のかしめ部のかしめ箇所数が、それ以外の部位のかしめ部のかしめ箇所数に比して多い構成であればよく、本発明に係るステータコアにおいて、各電磁鋼板片に形成するかしめ部のかしめ箇所数を本実施例のかしめ箇所数(端部が3箇所に対してそれ以外が1箇所の場合)に限定するものではない。   In the present embodiment, the caulking portion 8A of the first electromagnetic steel sheet piece 4A that forms the central portion 5A of the split core 5 is formed with convex portions 8a or concave portions 8b (that is, caulking portions) one by one, Although the caulking portion 8B of the second electromagnetic steel plate piece 4B forming the end portions 5B and 5C of the split core 5 is illustrated as an example in which the convex portion 8a or the concave portion 8b (that is, the caulking portion) is formed in three places. In the stator core according to the present invention, the number of caulking portions of the end caulking portions may be larger than the number of caulking locations of the other portions, and the caulking portions formed on each electromagnetic steel sheet piece The number of caulking locations is not limited to the number of caulking locations in the present embodiment (when the number of end portions is 3 with respect to 1 other portion).

そして、第一および第二の各電磁鋼板片4A・4Bを用いて、分割コア5をかしめて積層することにより、分割コア5の中央部5Aに比して、端部5B・5Cのかしめ箇所数を多くする構成としている。
これにより、分割コア5の中央部5Aに比して、端部5B・5Cにおける各電磁鋼板片4・4・・・の密着力を増大させている。
And, by using the first and second electromagnetic steel sheet pieces 4A and 4B, the divided cores 5 are caulked and laminated, so that the caulked portions of the end portions 5B and 5C are compared with the central portion 5A of the divided core 5. The configuration increases the number.
Thereby, compared with the center part 5A of the division | segmentation core 5, the adhesive force of each electromagnetic steel plate piece 4,4 ... in edge part 5B * 5C is increased.

次に、図8に示す如く、本発明の一実施例に係るステータコア2の製造方法では、所定個数の分割コア5・5・・・を円環状に整列させて、分割コア集合体6を生成する(STEP−2)。本実施例で示す分割コア集合体6は、18個の分割コア5・5・・・を円環状に整列させることにより生成している。   Next, as shown in FIG. 8, in the method for manufacturing the stator core 2 according to one embodiment of the present invention, a predetermined number of the divided cores 5, 5. (STEP-2). The divided core assembly 6 shown in the present embodiment is generated by aligning 18 divided cores 5... In an annular shape.

次に、本発明の一実施例に係るステータコア2の製造方法では、分割コア集合体6に締結リング7を外嵌する(STEP−3)。
これにより、分割コア集合体6を精度良く円環状に保持するようにしている。
Next, in the method for manufacturing the stator core 2 according to one embodiment of the present invention, the fastening ring 7 is externally fitted to the divided core assembly 6 (STEP-3).
Thereby, the divided core assembly 6 is held in an annular shape with high accuracy.

ここで、図10に示すように、分割コア集合体6に締結リング7を外嵌する方法としては、図10(a)に示すような締結リング7を焼嵌めする方法や、あるいは、図10(b)に示すような締結リング7を圧入する方法等が採用できる。   Here, as shown in FIG. 10, as a method of externally fitting the fastening ring 7 to the split core assembly 6, a method of shrink fitting the fastening ring 7 as shown in FIG. A method of press-fitting the fastening ring 7 as shown in FIG.

例えば、図10(a)に示すような焼嵌めする方法では、締結リング7を加熱することによって、締結リング7を膨張させて直径を大きくしておき、締結リング7に分割コア集合体6を挿通するとともに、その後締結リング7を冷却して、締結リング7を定常状態の直径に復元(収縮)することにより、分割コア集合体6に締結リング7を外嵌することができる。   For example, in the method of shrink fitting as shown in FIG. 10A, the fastening ring 7 is heated to expand the fastening ring 7 to increase the diameter, and the split core assembly 6 is attached to the fastening ring 7. The fastening ring 7 can be externally fitted to the split core assembly 6 by being inserted and then cooled by cooling the fastening ring 7 to restore (shrink) the fastening ring 7 to a steady state diameter.

この場合、締結リング7の直径が定常状態に復元(収縮)するときに、各分割コア5・5・・・は締結リング7の内周面7cによって半径方向内側に押圧される。そしてこの結果、各分割コア5・5・・・には、隣接する各当接面5c・5c・・・が互いに押圧し合う力が作用する。この押圧力に起因して、分割コア5の特に端部5B・5Cに位置する各電磁鋼板片4・4・・・(各第二電磁鋼板片4B・4B・・・)の点X・Y近傍において、座屈・めくれ・浮き等が起こりやすい状況が生じる。   In this case, when the diameter of the fastening ring 7 is restored (contracted) to a steady state, each of the divided cores 5, 5... Is pressed radially inward by the inner peripheral surface 7c of the fastening ring 7. As a result, the force that the adjacent contact surfaces 5c, 5c,... Due to this pressing force, the points X and Y of the electromagnetic steel plate pieces 4, 4... (Each of the second electromagnetic steel plate pieces 4B, 4B...) Located particularly at the end portions 5B and 5C of the split core 5. There are situations where buckling, turning over, floating, etc. are likely to occur in the vicinity.

また例えば、図10(b)に示すような圧入する方法では、分割コア集合体6の直径に比して直径が小さい締結リング7に分割コア集合体6を軸方向に圧入して、分割コア集合体6に締結リング7を外嵌することができる。   Further, for example, in the method of press-fitting as shown in FIG. 10B, the split core assembly 6 is press-fitted in the axial direction into the fastening ring 7 having a diameter smaller than the diameter of the split core assembly 6, thereby dividing the split core. The fastening ring 7 can be fitted on the assembly 6.

この場合、締結リング7を圧入することにより、焼嵌めの場合と同様に、各分割コア5・5・・・は締結リング7の内周面7cによって半径方向内側に押圧される。そしてこの結果、各分割コア5・5・・・には、隣接する各当接面5c・5c・・・が互いに押圧し合う力が作用する。この押圧力に起因して、分割コア5の特に端部5B・5Cに位置する各電磁鋼板片4・4・・・(各第二電磁鋼板片4B・4B・・・)の点X・Y近傍において、座屈・めくれ・浮き等が起こりやすい状況が生じる。   In this case, when the fastening ring 7 is press-fitted, each of the divided cores 5, 5... Is pressed radially inward by the inner peripheral surface 7 c of the fastening ring 7 as in the case of shrink fitting. As a result, the force that the adjacent contact surfaces 5c, 5c,... Due to this pressing force, the points X and Y of the electromagnetic steel plate pieces 4, 4... (Each of the second electromagnetic steel plate pieces 4B, 4B...) Located particularly at the end portions 5B and 5C of the split core 5. There are situations where buckling, turning over, floating, etc. are likely to occur in the vicinity.

また、締結リング7を圧入するときには、分割コア集合体6の圧入終端側に位置する各電磁鋼板片4・4・・・(各第二電磁鋼板片4B・4B・・・)は、締結リング7との間で生じる摩擦力により圧入方向(軸方向)に引きずられるため、点Y近傍において、座屈・めくれ・浮き等が起こりやすい状況が生じる。   Further, when the fastening ring 7 is press-fitted, the electromagnetic steel plate pieces 4, 4... (Each second electromagnetic steel plate piece 4B, 4B...) Located on the press-fitting end side of the split core assembly 6 7 is dragged in the press-fitting direction (axial direction) due to the frictional force generated between the two and the like, and in the vicinity of the point Y, a situation in which buckling, turning over, floating, etc. are likely to occur occurs.

しかしながら、このような座屈・めくれ・浮き等が生じやすい状況においても、本発明の一実施例に係るステータコア2では、図11(a)に示すように分割コア5の端部5B・5Cにおけるかしめ箇所数(本実施例では3箇所)を、図11(b)に示すように分割コア5の中央部5Aにおけるかしめ箇所数(本実施例では1箇所)に比して多くして、端部5B・5Cに位置する各電磁鋼板片4・4・・・(各第二電磁鋼板片4B・4B・・・)の密着力を増大させているため、座屈・めくれ・浮き等を確実に防止することができる。   However, even in a situation where such buckling, turning, floating, etc. are likely to occur, in the stator core 2 according to one embodiment of the present invention, the end portions 5B and 5C of the split core 5 as shown in FIG. As shown in FIG. 11B, the number of caulking locations (three in this embodiment) is increased compared to the number of caulking locations in the central portion 5A of the split core 5 (one in this embodiment). Since the adhesive strength of each electromagnetic steel sheet piece 4 · 4 ··· (each second electromagnetic steel plate piece 4B · 4B ···) located in the part 5B · 5C is increased, buckling, turning, floating, etc. are ensured Can be prevented.

また、本発明の一実施例に係るステータコア2では、図11(b)に示すように分割コア5の中央部5Aにおけるかしめ箇所数は増大させておらず、従来のかしめ状態と同様であるため、かしめ箇所数の増大に伴うステータコア2における鉄損の悪化を最小限に留めるようにしている。
このような構成により、ステータコア2における鉄損の悪化を最小限に抑えつつ、分割コア5の端部5B・5Cにおける各電磁鋼板片4・4・・・の座屈・めくれ・浮き等を確実に防止するようにしている。
Further, in the stator core 2 according to one embodiment of the present invention, as shown in FIG. 11 (b), the number of caulking locations in the central portion 5A of the split core 5 is not increased and is the same as in the conventional caulking state. The deterioration of the iron loss in the stator core 2 accompanying the increase in the number of caulking locations is kept to a minimum.
With such a configuration, the deterioration of the iron loss in the stator core 2 is minimized, and the electromagnetic steel plate pieces 4, 4... Try to prevent.

尚、本実施例では、分割コア5の端部5B・5Cを、最も端に積層される電磁鋼板片4を基準として3層目までの各電磁鋼板片4・4・4によって形成する場合を例示しているが、最も端から何層目までの電磁鋼板片を端部として扱うかについては、電磁鋼板片の仕様(厚さ・材質等)や締結リングの外嵌によって電磁鋼板片に生じる周方向や回転軸方向への応力の大きさ等に応じて適宜設定するべきものであり、本発明に係るステータコアにおいて、端部として扱う電磁鋼板片の積層数を、最も端に積層される電磁鋼板片を基準として3層目までとする場合に限定するものではない。   In this embodiment, the end portions 5B and 5C of the split core 5 are formed by the respective electromagnetic steel plate pieces 4, 4 and 4 up to the third layer with reference to the electromagnetic steel plate piece 4 laminated at the end. As an example, the number of layers from the end to the most magnetic steel sheet piece is treated as an end, and the magnetic steel sheet pieces are generated by the specifications (thickness, material, etc.) of the magnetic steel sheet pieces and the external fitting of the fastening ring It should be set appropriately according to the magnitude of the stress in the circumferential direction and the rotational axis direction, etc., and in the stator core according to the present invention, the number of electromagnetic steel sheet pieces to be handled as the end is set to the electromagnetic layer stacked at the end. The present invention is not limited to the case where the steel sheet piece is used as a reference up to the third layer.

即ち、本発明の一実施例に係るステータコア2は、板状部材である電磁鋼板片4を所定の枚数だけ板厚方向に積層するとともに、積層方向において隣接する各電磁鋼板片4・4同士をかしめて形成する積層部品である分割コア5からなり、所定の個数(本実施例では18個)の各分割コア5・5・・・を各電磁鋼板片4・4・・・の積層方向に対して垂直な方向に隣接させつつ円環状に整列させて形成する分割コア5の集合体である分割コア集合体6と、分割コア集合体6に外嵌するリング部材である締結リング7と、を備えるものであって、分割コア5は、積層方向において最も端部に位置する電磁鋼板片4を基準として、所定の枚数(本実施例では3枚)以内の電磁鋼板片4・4・・・(即ち、端部5B・5C)のかしめ箇所数(本実施例では3箇所)が、それ以外の各電磁鋼板片4・4・・・(即ち、中央部5A)のかしめ箇所数(本実施例では1箇所)に比して多いものである。   That is, the stator core 2 according to one embodiment of the present invention stacks a predetermined number of electromagnetic steel plate pieces 4 that are plate-shaped members in the plate thickness direction, and connects the adjacent electromagnetic steel plate pieces 4 and 4 in the stacking direction. It consists of divided cores 5 that are formed by caulking, and a predetermined number (18 in this embodiment) of each of the divided cores 5, 5. A split core assembly 6 that is an assembly of split cores 5 that are arranged in an annular shape while being adjacent to each other in a perpendicular direction; a fastening ring 7 that is a ring member that is fitted around the split core assembly 6; The split core 5 has a predetermined number (three in this embodiment) of electrical steel sheet pieces 4, 4... With respect to the electrical steel sheet piece 4 positioned at the end in the stacking direction.・ The number of caulking points (that is, end portions 5B and 5C) (this implementation In places 3), the other of each electromagnetic steel plate pieces 4-4 (i.e., in the caulking portion number (in this embodiment the central portion 5A) are those more than one place).

また、本発明の一実施例に係るステータコアの製造方法は、板状部材である電磁鋼板片4を所定の枚数だけ板厚方向に積層するとともに、積層方向において隣接する各電磁鋼板片4・4同士をかしめて形成する積層部品である分割コア5からなり、所定の個数(本実施例では18個)の各分割コア5・5・・・を各電磁鋼板片4・4・・・の積層方向に対して垂直な方向に隣接させつつ円環状に整列させて形成する分割コア5の集合体である分割コア集合体6と、分割コア集合体6に外嵌するリング部材である締結リング7と、を備えるステータコア2の製造方法であって、分割コア5の、積層方向において最も端部に位置する電磁鋼板片4を基準として、所定の枚数(本実施例では3枚)以内の各電磁鋼板片4・4・・・(即ち、端部5B・5C)のかしめ箇所数(本実施例では3箇所)を、それ以外の各電磁鋼板片4・4・・・(即ち、中央部5A)のかしめ箇所数(本実施例では1箇所)に比して多くするものである。   In the stator core manufacturing method according to an embodiment of the present invention, a predetermined number of electromagnetic steel plate pieces 4 which are plate-like members are laminated in the plate thickness direction, and the adjacent electromagnetic steel plate pieces 4 and 4 which are adjacent in the lamination direction. It is composed of divided cores 5 which are laminated parts formed by caulking each other, and a predetermined number (18 in this embodiment) of each of the divided cores 5, 5. A split core assembly 6 that is an assembly of split cores 5 formed adjacent to each other in a direction perpendicular to the direction, and a fastening ring 7 that is a ring member that fits around the split core assembly 6 Each of the divided cores 5 within a predetermined number (three in the present embodiment) based on the electromagnetic steel sheet piece 4 positioned at the end in the stacking direction. Steel plate pieces 4 · 4 (ie, end portion 5B) 5C) is compared with the number of caulking locations (3 locations in this embodiment) to the number of caulking locations (ie, 1 location in this embodiment) of each of the other electromagnetic steel sheet pieces 4. And more.

このような構成により、分割構造を有するステータコア2における鉄損の増大を抑えつつ、積層された各電磁鋼板片4・4・・・の座屈・めくれ・浮き等を確実に防止することができる。   With such a configuration, it is possible to reliably prevent buckling, turning, floating, and the like of each of the laminated electromagnetic steel plate pieces 4 ····· while suppressing an increase in iron loss in the stator core 2 having a divided structure. .

1 ステータ
2 ステータコア
4 電磁鋼板片
5 分割コア
5c 当接面
5A 中央部
5B 端部
5C 端部
6 分割コア集合体
7 締結リング
8 かしめ部
DESCRIPTION OF SYMBOLS 1 Stator 2 Stator core 4 Magnetic steel sheet piece 5 Divided core 5c Contact surface 5A Center part 5B End part 5C End part 6 Divided core assembly 7 Fastening ring 8 Caulking part

Claims (2)

板状部材を所定の枚数だけ板厚方向に積層するとともに、積層方向において隣接する前記板状部材同士をかしめて形成する積層部品からなり、所定の個数の前記積層部品を前記板状部材の積層方向に対して垂直な方向に隣接させつつ円環状に整列させて形成する前記積層部品の集合体と、
前記積層部品の集合体に外嵌するリング部材と、
を備えるステータコアであって、
前記積層部品は、
積層方向において最も端部に位置する前記板状部材を基準として、所定の枚数以内の前記板状部材のかしめ箇所数が、
それ以外の前記板状部材のかしめ箇所数に比して多い、
ことを特徴とするステータコア。
A predetermined number of plate-like members are laminated in the plate thickness direction, and the plate-like members are laminated components formed by caulking the plate-like members adjacent in the lamination direction, and a predetermined number of the laminated components are laminated on the plate-like members. An assembly of the laminated parts formed to be arranged in an annular shape adjacent to each other in a direction perpendicular to the direction;
A ring member externally fitted to the assembly of the laminated parts;
A stator core comprising:
The laminated component is
Based on the plate-like member located at the end in the stacking direction, the number of caulking locations of the plate-like member within a predetermined number is
More than the number of caulking locations of the other plate-like members other than that,
A stator core characterized by that.
板状部材を所定の枚数だけ板厚方向に積層するとともに、積層方向において隣接する前記板状部材同士をかしめて形成する積層部品からなり、所定の個数の前記積層部品を前記板状部材の積層方向に対して垂直な方向に隣接させつつ円環状に整列させて形成する前記積層部品の集合体と、
前記積層部品の集合体に外嵌するリング部材と、
を備えるステータコアの製造方法であって、
前記積層部品の、積層方向において最も端部に位置する前記板状部材を基準として、所定の枚数以内の前記板状部材のかしめ箇所数を、
それ以外の前記板状部材のかしめ箇所数に比して多くする、
ことを特徴とするステータコアの製造方法。
A predetermined number of plate-like members are laminated in the plate thickness direction, and the plate-like members are laminated components formed by caulking the plate-like members adjacent in the lamination direction, and a predetermined number of the laminated components are laminated on the plate-like members. An assembly of the laminated parts formed to be arranged in an annular shape adjacent to each other in a direction perpendicular to the direction;
A ring member externally fitted to the assembly of the laminated parts;
A stator core manufacturing method comprising:
Based on the plate-like member located at the end in the lamination direction of the laminated component, the number of caulking locations of the plate-like member within a predetermined number of sheets,
Increase compared to the number of caulking locations of the other plate-like members,
A stator core manufacturing method characterized by the above.
JP2009280716A 2009-12-10 2009-12-10 Stator core and method of manufacturing the same Pending JP2011125141A (en)

Priority Applications (1)

Application Number Priority Date Filing Date Title
JP2009280716A JP2011125141A (en) 2009-12-10 2009-12-10 Stator core and method of manufacturing the same

Applications Claiming Priority (1)

Application Number Priority Date Filing Date Title
JP2009280716A JP2011125141A (en) 2009-12-10 2009-12-10 Stator core and method of manufacturing the same

Publications (1)

Publication Number Publication Date
JP2011125141A true JP2011125141A (en) 2011-06-23

Family

ID=44288459

Family Applications (1)

Application Number Title Priority Date Filing Date
JP2009280716A Pending JP2011125141A (en) 2009-12-10 2009-12-10 Stator core and method of manufacturing the same

Country Status (1)

Country Link
JP (1) JP2011125141A (en)

Cited By (6)

* Cited by examiner, † Cited by third party
Publication number Priority date Publication date Assignee Title
JP2013034285A (en) * 2011-08-01 2013-02-14 Denso Corp Stator core for rotating electric machine
CN104901442A (en) * 2014-03-06 2015-09-09 株式会社电装 Stator for electric rotating machine
CN110138156A (en) * 2019-05-22 2019-08-16 浙江信戈制冷设备科技有限公司 It is a kind of to manufacture discrete piece electric machine iron core method in the way of waste paper self-clinching
CN110492630A (en) * 2018-05-15 2019-11-22 三菱电机株式会社 Rotating electric machine
CN112636554A (en) * 2019-10-07 2021-04-09 三菱电机株式会社 Rotating electrical machine
JPWO2022196359A1 (en) * 2021-03-15 2022-09-22

Cited By (11)

* Cited by examiner, † Cited by third party
Publication number Priority date Publication date Assignee Title
JP2013034285A (en) * 2011-08-01 2013-02-14 Denso Corp Stator core for rotating electric machine
CN104901442A (en) * 2014-03-06 2015-09-09 株式会社电装 Stator for electric rotating machine
JP2015171202A (en) * 2014-03-06 2015-09-28 株式会社デンソー Stator of rotary electric machine
US10158262B2 (en) 2014-03-06 2018-12-18 Denso Corporation Stator for electric rotating machine
CN110492630A (en) * 2018-05-15 2019-11-22 三菱电机株式会社 Rotating electric machine
CN110138156A (en) * 2019-05-22 2019-08-16 浙江信戈制冷设备科技有限公司 It is a kind of to manufacture discrete piece electric machine iron core method in the way of waste paper self-clinching
CN112636554A (en) * 2019-10-07 2021-04-09 三菱电机株式会社 Rotating electrical machine
JP2021061677A (en) * 2019-10-07 2021-04-15 三菱電機株式会社 Rotary electric machine
JPWO2022196359A1 (en) * 2021-03-15 2022-09-22
WO2022196359A1 (en) * 2021-03-15 2022-09-22 日本発條株式会社 Laminated iron core manufacturing method and laminated iron core
JP7464740B2 (en) 2021-03-15 2024-04-09 日本発條株式会社 Manufacturing method of laminated iron core and laminated iron core

Similar Documents

Publication Publication Date Title
CN113169594B (en) Laminated iron core and rotating electrical machine
JP5740436B2 (en) Rotating electric machine stator core
JP5239200B2 (en) Permanent magnet rotating electric machine
JP2007159332A (en) Rotating electric machine
CN105684264B (en) Rotors for rotating electrical machines
JP2011125141A (en) Stator core and method of manufacturing the same
JP5258190B2 (en) Laminated iron core structure of stepping motor
JP5326642B2 (en) Rotating electric machine and method of manufacturing rotating electric machine
JP4110146B2 (en) Magnetic material, rotor, electric motor
US20230208215A1 (en) Rotating electrical machine
WO2017195498A1 (en) Rotor and rotary electric machine
JP2013070494A (en) Stator core and motor
JP2015220875A (en) Rotating electric machine stator
JP5181994B2 (en) Split stator and motor
JP2010017003A (en) Stator core of rotating electric machine
WO2012110874A2 (en) Split core and stator core
JP5659770B2 (en) Rotating electric machine core and method of manufacturing rotating electric machine core
JP2013143805A (en) Rotor of rotary electric machine, and rotary electric machine with the same
JP5900180B2 (en) Rotor core of rotating electrical machine
JP5462643B2 (en) Laminated iron core and method for manufacturing the same
JP2014045641A (en) Stator core of dynamo-electric machine
WO2014136145A1 (en) Stator core of rotating machine, rotating machine and method for manufacturing same
JP6091409B2 (en) Rotor core and method of manufacturing rotor core
JP6327757B2 (en) Stator
JP5653298B2 (en) Rotor of permanent magnet embedded motor