JP2011007441A - 衝撃波利用捕鯨用銛先 - Google Patents
衝撃波利用捕鯨用銛先 Download PDFInfo
- Publication number
- JP2011007441A JP2011007441A JP2009152663A JP2009152663A JP2011007441A JP 2011007441 A JP2011007441 A JP 2011007441A JP 2009152663 A JP2009152663 A JP 2009152663A JP 2009152663 A JP2009152663 A JP 2009152663A JP 2011007441 A JP2011007441 A JP 2011007441A
- Authority
- JP
- Japan
- Prior art keywords
- tip
- whaling
- detonator
- ammonium nitrate
- detonation
- Prior art date
- Legal status (The legal status is an assumption and is not a legal conclusion. Google has not performed a legal analysis and makes no representation as to the accuracy of the status listed.)
- Pending
Links
- 239000002360 explosive Substances 0.000 claims abstract description 67
- PAWQVTBBRAZDMG-UHFFFAOYSA-N 2-(3-bromo-2-fluorophenyl)acetic acid Chemical compound OC(=O)CC1=CC=CC(Br)=C1F PAWQVTBBRAZDMG-UHFFFAOYSA-N 0.000 claims abstract description 42
- 230000035939 shock Effects 0.000 claims abstract description 41
- 238000005474 detonation Methods 0.000 claims abstract description 36
- 239000000203 mixture Substances 0.000 claims abstract description 35
- XLYOFNOQVPJJNP-UHFFFAOYSA-N water Substances O XLYOFNOQVPJJNP-UHFFFAOYSA-N 0.000 claims description 12
- 238000007654 immersion Methods 0.000 claims description 8
- 238000004804 winding Methods 0.000 claims description 2
- 241000283153 Cetacea Species 0.000 abstract description 27
- 239000013535 sea water Substances 0.000 abstract description 15
- 238000004880 explosion Methods 0.000 abstract description 10
- 238000004519 manufacturing process Methods 0.000 abstract description 2
- 239000011347 resin Substances 0.000 description 12
- 229920005989 resin Polymers 0.000 description 12
- 239000000843 powder Substances 0.000 description 7
- 229910000831 Steel Inorganic materials 0.000 description 4
- 230000000052 comparative effect Effects 0.000 description 4
- 229920013716 polyethylene resin Polymers 0.000 description 4
- 239000010959 steel Substances 0.000 description 4
- 238000003780 insertion Methods 0.000 description 3
- 230000037431 insertion Effects 0.000 description 3
- WABPQHHGFIMREM-UHFFFAOYSA-N lead(0) Chemical compound [Pb] WABPQHHGFIMREM-UHFFFAOYSA-N 0.000 description 3
- 238000011084 recovery Methods 0.000 description 3
- 239000002250 absorbent Substances 0.000 description 2
- 239000004745 nonwoven fabric Substances 0.000 description 2
- BZHJMEDXRYGGRV-UHFFFAOYSA-N Vinyl chloride Chemical compound ClC=C BZHJMEDXRYGGRV-UHFFFAOYSA-N 0.000 description 1
- 230000002745 absorbent Effects 0.000 description 1
- 230000005540 biological transmission Effects 0.000 description 1
- 238000005422 blasting Methods 0.000 description 1
- 210000001124 body fluid Anatomy 0.000 description 1
- 239000010839 body fluid Substances 0.000 description 1
- 238000000586 desensitisation Methods 0.000 description 1
- 230000001066 destructive effect Effects 0.000 description 1
- 230000001627 detrimental effect Effects 0.000 description 1
- 239000003814 drug Substances 0.000 description 1
- 229940079593 drug Drugs 0.000 description 1
- 230000000694 effects Effects 0.000 description 1
- 230000001771 impaired effect Effects 0.000 description 1
- 230000000977 initiatory effect Effects 0.000 description 1
- 239000003562 lightweight material Substances 0.000 description 1
- 239000000463 material Substances 0.000 description 1
- 239000002184 metal Substances 0.000 description 1
- 230000035945 sensitivity Effects 0.000 description 1
Images
Landscapes
- Revetment (AREA)
Abstract
【課題】製造工程がより簡便で、かつ、鯨体に命中したときには、導爆線へ確実に伝爆でき、一方、不命中時には、導爆線への伝爆が妨げられ、作業者が安全に回収することができる衝撃波利用捕鯨用銛先を提供する。
【解決手段】導爆線4の先端部と雷管7底部との間に硝酸アンモニウム系爆薬組成物6が具備された衝撃波利用捕鯨用銛先は鯨命中時には雷管7の起爆によって発生した衝撃波と、その衝撃波によって起爆した硝酸アンモニウム系爆薬の衝撃波との両方を導爆線4の起爆に利用でき確実に導爆線4に伝爆する。一方、鯨体不命中時には、海水流入孔15内から容器内に浸水し、硝酸アンモニウム系爆薬組成物6が溶解するため、事後的に雷管7が暴発した場合でも、導爆線4には伝爆せず、安全に回収することができる。
【選択図】図1
【解決手段】導爆線4の先端部と雷管7底部との間に硝酸アンモニウム系爆薬組成物6が具備された衝撃波利用捕鯨用銛先は鯨命中時には雷管7の起爆によって発生した衝撃波と、その衝撃波によって起爆した硝酸アンモニウム系爆薬の衝撃波との両方を導爆線4の起爆に利用でき確実に導爆線4に伝爆する。一方、鯨体不命中時には、海水流入孔15内から容器内に浸水し、硝酸アンモニウム系爆薬組成物6が溶解するため、事後的に雷管7が暴発した場合でも、導爆線4には伝爆せず、安全に回収することができる。
【選択図】図1
Description
本発明は、鯨体命中時に確実に起爆し、不命中時には安全に回収できる衝撃波利用捕鯨用銛先に関する。
導爆線の衝撃波を利用した捕鯨用銛先には、通常、さく薬としてペンスリット等の高性能爆薬を心薬とする高爆速の導爆線を充填したものが知られている。(例えば、特許文献1参照)
衝撃波利用捕鯨用銛先は、鯨体不命中時にこの銛先を海中より回収する際、雷管の不慮の爆発によって導爆線に伝爆するという危険性を有する。
特許文献2及び3に、導爆線を装填した捕鯨用銛先において、該導爆線を起爆する雷管の底部と、これに対向する導爆線の先端との間に空隙部を設け、その空隙部に海水を吸収して膨潤する吸水性樹脂を介在させたものが開示されている。そのような構造にすることで、鯨に不命中になった銛先の雷管が不慮に爆発しても、海水にて膨潤した吸水性樹脂の存在により該雷管の起爆力が弱められ、導爆線には伝爆せず不爆となり、安全に回収できるようにしている。
そのような衝撃波利用捕鯨用銛先において空隙部に吸水性樹脂を介在させる際には従来、導爆線導入パイプ内の空隙部に、(イ)所定量の粉末状吸水性樹脂を不織布で包んだものを充填し金網で蓋をする、(ロ)粉末状吸水性樹脂を充填し不織布で蓋をする、(ハ)吸水性のシートを折りたたみ充填する等の手段を用いていた。
しかし、それら空隙部に吸水性樹脂を充填する構造の衝撃波利用捕鯨用銛先においては、該空隙部と、該空隙部に充填させる吸水性樹脂と、の位置的関係、量的関係の調整に精度が求められ、使用する導爆線あるいは対象とする鯨体に適合させた種々の大きさの銛先に応じ、その都度、最適量、最適充填形態を試行錯誤により探索する必要があり、その設計が非常に困難である。
すなわち、空隙部を大きく採るほど安全性が向上するが、命中時の導爆線への確実な伝爆性が損なわれる。一方、伝爆性を重視し、空隙部をより小さくすると安全性が低下し、取扱が困難になる。このように、従来の衝撃波利用捕鯨用銛先は、不命中時の回収安全性を担保するために、空隙部と吸水性樹脂等とのギャップを設けていた。
該空隙部の大きさを可能な限り小さくすることが、より小型かつ軽量で簡便な衝撃波利用捕鯨用銛先の製造に資するものと考えられるが、従来の導爆線利用捕鯨用銛先は安全性を確保するためにこの空隙部を大きく選択することを余儀なくされており、確実な伝爆性を両立することが困難であった。
そのため、新規な構造を有する捕鯨用銛先が求められていた。
該空隙部の大きさを可能な限り小さくすることが、より小型かつ軽量で簡便な衝撃波利用捕鯨用銛先の製造に資するものと考えられるが、従来の導爆線利用捕鯨用銛先は安全性を確保するためにこの空隙部を大きく選択することを余儀なくされており、確実な伝爆性を両立することが困難であった。
そのため、新規な構造を有する捕鯨用銛先が求められていた。
本発明の目的は、上記した課題に鑑みなされたものであり、雷管底部と導爆線先端部との間の空隙部及び吸水性樹脂等のギャップを設けることなく、鯨体に命中したときには、導爆線へ確実に伝爆でき、一方、不命中時には、導爆線への伝爆が妨げられ、作業者が安全に回収することができる衝撃波利用捕鯨用銛先を提供することである。
本発明は以下の(1)及び(2)に示すものである。
(1)導爆線巻装具に巻装された導爆線と、該導爆線に伝爆するための雷管と、を少なくとも具備する衝撃波利用捕鯨用銛先であって、
該導爆線の先端部と、該雷管の底部とが、対向配置されてなる衝撃波利用捕鯨用銛先において、
前記導爆線の先端部と前記雷管の底部との間に、硝酸アンモニウム系爆薬組成物が具備されていることを特徴とする衝撃波利用捕鯨用銛先。
該導爆線の先端部と、該雷管の底部とが、対向配置されてなる衝撃波利用捕鯨用銛先において、
前記導爆線の先端部と前記雷管の底部との間に、硝酸アンモニウム系爆薬組成物が具備されていることを特徴とする衝撃波利用捕鯨用銛先。
(2)前記硝酸アンモニウム系爆薬組成物が、浸水孔を設けた容器に充填されていることを特徴とする(1)に記載の衝撃波利用捕鯨用銛先。
導爆線の先端部と雷管底部との間に硝酸アンモニウム系爆薬組成物を具備した衝撃波利用捕鯨用銛先は鯨命中時には雷管の起爆によって発生した衝撃波と、その衝撃波によって起爆した硝酸アンモニウム系爆薬の衝撃波との両方を導爆線の起爆に利用でき確実に導爆線に伝爆させることができる。
すなわち、雷管と硝酸アンモニウム系爆薬組成物が、導爆線の起爆性を確実にする作用を有する。
一方、鯨体不命中時には、浸水孔内から容器内に浸水し、硝酸アンモニウム系爆薬組成物が溶解するため、不爆となるため、この硝酸アンモニウム系爆薬組成物部分が空隙部及び吸水性樹脂のようなギャップとして機能し、事後的に雷管が暴発した場合でも、導爆線には伝爆せず、安全に回収することができる。
すなわち、雷管と硝酸アンモニウム系爆薬組成物が、導爆線の起爆性を確実にする作用を有する。
一方、鯨体不命中時には、浸水孔内から容器内に浸水し、硝酸アンモニウム系爆薬組成物が溶解するため、不爆となるため、この硝酸アンモニウム系爆薬組成物部分が空隙部及び吸水性樹脂のようなギャップとして機能し、事後的に雷管が暴発した場合でも、導爆線には伝爆せず、安全に回収することができる。
さらに、硝酸アンモニウム系爆薬組成物は、鯨の体液程度の浸水では不爆にならないため、鯨命中時において、雷管が起爆すれば、導爆線には完全に伝爆する。
このように、前記硝酸アンモニウム系爆薬組成物は、伝爆性向上剤及び安全装置の両方の機能を有している。
以下、本発明を図面に基づいて説明する。
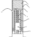
図1は本発明の衝撃波利用捕鯨用銛先の銛頭部にネジ込み装着した縦断面図である。先端に飛しょう状態のバランスを調節する銛先前蓋1を有する鋼製外筒2の内部には、紙筒3にコイル状に巻かれた導爆線4が収納されている。この導爆線4の先端は、コイルの中心軸に沿って設けられた導爆線導入パイプ5に挿入され、その導爆線先端部と硝酸アンモニウム系爆薬組成物6と雷管7とが対向するよう配置されている。
本発明の衝撃波利用捕鯨用銛先は、特開2007−333333号公報、図1に記されている如き、通常、銛先が銛頭部にネジによって固定されている。心管部は、雷管7と、摩子棒及び摩子薬よりなり、鯨命中時に引き抜かれる摩子棒は摩子薬中を貫通しており、また、摩子薬の端面は雷管7と同一軸上で対向している。
この衝撃波利用捕鯨用銛先を装着した銛が鯨体に発射され命中すると同時にワイヤーにより摩子棒が引っ張られ、その摩擦により摩子薬が発火し、雷管7がその火を受けて爆発し、その衝撃波により硝酸アンモニウム系爆薬組成物6が爆発し、対向する導爆線4を起爆させる。
この衝撃波利用捕鯨用銛先を装着した銛が鯨体に発射され命中すると同時にワイヤーにより摩子棒が引っ張られ、その摩擦により摩子薬が発火し、雷管7がその火を受けて爆発し、その衝撃波により硝酸アンモニウム系爆薬組成物6が爆発し、対向する導爆線4を起爆させる。
導爆線4の爆発により、鋼製外筒は鯨体内において破壊されるが、高爆速(6000〜7000m/s)の導爆線により発せられる衝撃波の作用によって、鯨を即死せしめることができる。一方、不命中により海水に没した場合は、鋼製外筒2に穿設した海水流入孔15を通って海水が銛先中に流入する。一般に銛は高速度で打出されるために、飛しょう中に銛先内部は減圧状態となり、水没すると銛先に海水が速やかに浸入し、硝酸アンモニウム系爆薬組成物6にまで到達する。
本発明は、上記した衝撃波利用捕鯨用銛先に係るものであり、導爆線が充填され、該導爆線を起爆する雷管の底部と導爆線の先端との間に硝酸アンモニウム系爆薬組成物が具備されていることを特徴とした衝撃波利用捕鯨用銛先である。
前記硝酸アンモニウム系爆薬組成物としては、鯨不命中時の安全性を担保することを目的に、水に溶解する硝酸アンモニウム粉末を主成分とするものであれば特に制限されないが、銛先の回収時間を考慮し、水中へ没してから1分程度で浸水できる硝酸アンモニウム系爆薬組成物であることが好ましい。
そのような硝酸アンモニウム系爆薬組成物としては、公知の硝安油剤爆薬、粉状硝酸アンモニウムを用いた硝安爆薬等、粉体状の爆薬組成物が好ましい。
そのような硝酸アンモニウム系爆薬組成物としては、公知の硝安油剤爆薬、粉状硝酸アンモニウムを用いた硝安爆薬等、粉体状の爆薬組成物が好ましい。
さらに本発明は、前記硝酸アンモニウム系爆薬組成物が浸水孔を設けた容器に装填されていることを特徴とした衝撃波利用捕鯨用銛先である。
前記硝酸アンモニウム系爆薬組成物に用いられる硝酸アンモニウムの好ましい形状は粉体であるため、容器に装填しないと固定しにくい。
一方、衝撃波利用捕鯨用銛先は鯨不命中時に不爆になる必要があり、本構造では硝酸アンモニウム系爆薬組成物が不爆となる程度まで溶解できることが好ましい。したがって浸水孔を設けた容器に装填することが好ましい。
一方、衝撃波利用捕鯨用銛先は鯨不命中時に不爆になる必要があり、本構造では硝酸アンモニウム系爆薬組成物が不爆となる程度まで溶解できることが好ましい。したがって浸水孔を設けた容器に装填することが好ましい。
前記浸水孔を設けた容器は、海水が浸水でき、且つ海水に耐えうる容器もしくは袋であれば特に制限されないが、作業性の面から軽量の材質のものが好ましい。そのような材質にはポリエチレン系樹脂や塩化ビニル樹脂等が挙げられる。
前記、浸水孔を設けた容器の孔径は鯨不命中時の銛先回収の間に海水が浸水できるようになっている。前記浸水孔の大きさは、作製する捕鯨用銛先の大きさによって適宜設計することができ、特に制限されないが、少なくとも直径2mm以上であることが好ましい。
また爆薬組成物は一般的に径が大きくなると起爆感度が上昇する。したがって、硝酸アンモニウム系爆薬組成物6を装填する容器もしくは袋は紙筒3の径に合わせると最大になるためそのように装填することが好ましい。
また硝酸アンモニウム系爆薬組成物6の量が多くなると高威力となり、鯨に命中し起爆すると、損傷が大きすぎるおそれがある。したがって、鯨命中時には、確実に導爆線に伝爆でき、不命中時には、確実に導爆線を不伝爆にできる中で、最小量であることが好ましい。鯨体の大きな損傷を防止する観点から、当該硝酸アンモニウム系爆薬組成物の装填爆薬量は50g以下であることが好ましい。
さらに硝酸アンモニウム系爆薬組成物6の爆発により確実に導爆線を伝爆させるために、導爆線の先端部を固定することが好ましい。固定のために導爆線挿入パイプ5に挿入することが好ましい。そして、該パイプ先端部と導爆線の先端部とを揃え、より確実に伝爆出来るように配置させることが好ましい。
以下、本発明の実施例を挙げより詳細に説明する。なお、本発明は実施例によって何ら制限されるものではない。
実施例1
硝酸アンモニウム系爆薬組成物6には硝安油剤爆薬組成物を用いた。内径2mmの浸水孔を設けた外径25mm、内径24mmのポリエチレン系樹脂製容器に硝安油剤爆薬組成物を装填し、一端を雷管底部にその反対側に導爆線を挿入した導爆線挿入パイプ6を接触させ、衝撃波利用捕鯨用銛先を完成させた。
硝酸アンモニウム系爆薬組成物6には硝安油剤爆薬組成物を用いた。内径2mmの浸水孔を設けた外径25mm、内径24mmのポリエチレン系樹脂製容器に硝安油剤爆薬組成物を装填し、一端を雷管底部にその反対側に導爆線を挿入した導爆線挿入パイプ6を接触させ、衝撃波利用捕鯨用銛先を完成させた。
実施例2
硝酸アンモニウム系爆薬組成物6には粉状硝安を含む硝安爆薬を用いた。内径2mmの浸水孔を設けた外径25mm、内径24mmのポリエチレン系樹脂製容器に硝安爆薬組成物を装填し、一端を雷管底部にその反対側に導爆線を挿入した導爆線挿入パイプ6を接触させ、衝撃波利用捕鯨用銛先を完成させた。
硝酸アンモニウム系爆薬組成物6には粉状硝安を含む硝安爆薬を用いた。内径2mmの浸水孔を設けた外径25mm、内径24mmのポリエチレン系樹脂製容器に硝安爆薬組成物を装填し、一端を雷管底部にその反対側に導爆線を挿入した導爆線挿入パイプ6を接触させ、衝撃波利用捕鯨用銛先を完成させた。
実施例1、2の衝撃波利用捕鯨用銛先において、鯨命中後を想定し、海水に浸さなかったサンプルの起爆試験を行った結果、導爆線4には全て伝爆した。また鯨不命中時を想定し、1分及び5分間海水に浸した後、起爆試験を行った結果、硝酸アンモニウム系爆薬6に浸水し溶解したため、雷管7が起爆しても導爆線4には全て伝爆しなかった。
比較例1
実施例1、2の硝酸アンモニウム系爆薬組成物の代わりに空隙部を10mm設け、さらに吸水性樹脂を装填し、それ以外は実施例1と同様に衝撃波利用捕鯨用銛先を完成させた。
実施例1、2の硝酸アンモニウム系爆薬組成物の代わりに空隙部を10mm設け、さらに吸水性樹脂を装填し、それ以外は実施例1と同様に衝撃波利用捕鯨用銛先を完成させた。
比較例2
実施例1、2の硝酸アンモニウム系爆薬組成物の代わりに空隙部を40mm設け、さらに吸水性樹脂を装填し、それ以外は実施例1と同様に衝撃波利用捕鯨用銛先を完成させた。
実施例1、2の硝酸アンモニウム系爆薬組成物の代わりに空隙部を40mm設け、さらに吸水性樹脂を装填し、それ以外は実施例1と同様に衝撃波利用捕鯨用銛先を完成させた。
比較例1の衝撃波利用捕鯨用銛先において、鯨不命中時を想定し、1分及び5分間海水に浸した後、起爆試験を行った結果、雷管7が起爆すると導爆線4に完全に不爆化とならず、一部起爆した。また、比較例2の衝撃波利用捕鯨用銛先において鯨命中後を想定し、海水に浸さなかったサンプルの起爆試験を行った結果、一部導爆線に伝爆しなかった。
1 銛先前蓋
2 鋼製外筒
3 紙筒
4 導爆線
5 導爆線導入パイプ
6 硝酸アンモニウム系爆薬組成物
7 雷管
15 海水流入孔
2 鋼製外筒
3 紙筒
4 導爆線
5 導爆線導入パイプ
6 硝酸アンモニウム系爆薬組成物
7 雷管
15 海水流入孔
Claims (2)
- 導爆線巻装具に巻装された導爆線と、該導爆線に伝爆するための雷管と、を少なくとも具備する衝撃波利用捕鯨用銛先であって、
該導爆線の先端部と、該雷管の底部が、対向配置されてなる衝撃波利用捕鯨用銛先において、
前記導爆線の先端部と前記雷管の底部との間に
硝酸アンモニウム系爆薬組成物が具備されていることを特徴とする
衝撃波利用捕鯨用銛先。 - 前記硝酸アンモニウム系爆薬組成物が、
浸水孔を設けた容器に充填されていることを特徴とする請求項1に記載の衝撃波利用捕鯨用銛先。
Priority Applications (1)
| Application Number | Priority Date | Filing Date | Title |
|---|---|---|---|
| JP2009152663A JP2011007441A (ja) | 2009-06-26 | 2009-06-26 | 衝撃波利用捕鯨用銛先 |
Applications Claiming Priority (1)
| Application Number | Priority Date | Filing Date | Title |
|---|---|---|---|
| JP2009152663A JP2011007441A (ja) | 2009-06-26 | 2009-06-26 | 衝撃波利用捕鯨用銛先 |
Publications (1)
| Publication Number | Publication Date |
|---|---|
| JP2011007441A true JP2011007441A (ja) | 2011-01-13 |
Family
ID=43564311
Family Applications (1)
| Application Number | Title | Priority Date | Filing Date |
|---|---|---|---|
| JP2009152663A Pending JP2011007441A (ja) | 2009-06-26 | 2009-06-26 | 衝撃波利用捕鯨用銛先 |
Country Status (1)
| Country | Link |
|---|---|
| JP (1) | JP2011007441A (ja) |
-
2009
- 2009-06-26 JP JP2009152663A patent/JP2011007441A/ja active Pending
Similar Documents
| Publication | Publication Date | Title |
|---|---|---|
| US4527481A (en) | Impact sensitive high temperature detonator | |
| EP1476712B1 (en) | Device for the disruption of explosive ordnance | |
| US10066916B1 (en) | Low impact threat rupture device for explosive ordnance disruptor | |
| EP2416108A1 (en) | Blasting treatment method and blasting treatment device | |
| JP5095656B2 (ja) | 爆破処理方法および爆破処理装置 | |
| CN111457794B (zh) | 一种适用于300m/s落速的二次起爆型云爆战斗部 | |
| EP2410286B1 (en) | Blast treatment method and blast treatment device | |
| CN103399138A (zh) | 一种水下炸药殉爆距离测定方法 | |
| CN206772142U (zh) | 一种双球缺复合药型罩聚能装药结构 | |
| KR102448409B1 (ko) | 파이로테크닉 장약을 갖는 발사체 | |
| JP2011007441A (ja) | 衝撃波利用捕鯨用銛先 | |
| AU588019B2 (en) | Shotgun cartridge with explosive shell | |
| JP5234593B2 (ja) | 衝撃波利用捕鯨用銛先 | |
| GB2606722A (en) | Improved explosive charge device and assembly | |
| CA1331935C (en) | Multi-directional initiator for explosives | |
| EP2113733A1 (en) | Weapon with IM-characteristics | |
| CA3031356A1 (en) | A method of and a cartridge for disarming an unexploded blasting charge in a drill hole | |
| KR101878983B1 (ko) | 발화스프링을 갖는 안전고리를 이용한 점화식 폭음통 | |
| RU135790U1 (ru) | Боевая часть проникающего действия | |
| RU2314482C1 (ru) | Противолодочная авиабомба | |
| RU2597924C2 (ru) | Детонирующий шнур | |
| JP2007333333A (ja) | 衝撃波利用捕鯨用銛先 | |
| JP2009293810A (ja) | 衝撃波利用捕鯨用銛先 | |
| KR0139880B1 (ko) | 40mm 고속연습유탄용 탄두결합체 | |
| US2335527A (en) | Marine torpedo |