JP2010196936A - On-vehicle cooling cabinet - Google Patents

On-vehicle cooling cabinet Download PDF

Info

Publication number
JP2010196936A
JP2010196936A JP2009040522A JP2009040522A JP2010196936A JP 2010196936 A JP2010196936 A JP 2010196936A JP 2009040522 A JP2009040522 A JP 2009040522A JP 2009040522 A JP2009040522 A JP 2009040522A JP 2010196936 A JP2010196936 A JP 2010196936A
Authority
JP
Japan
Prior art keywords
cold storage
storage plate
cooling
cool storage
vehicle
Prior art date
Legal status (The legal status is an assumption and is not a legal conclusion. Google has not performed a legal analysis and makes no representation as to the accuracy of the status listed.)
Pending
Application number
JP2009040522A
Other languages
Japanese (ja)
Inventor
Hirofumi Kawaguchi
廣文 河口
Kazuma Yokoyama
一磨 横山
Hiroyuki Akine
裕幸 秋子
Current Assignee (The listed assignees may be inaccurate. Google has not performed a legal analysis and makes no representation or warranty as to the accuracy of the list.)
Nakano Refrigerators Co Ltd
Original Assignee
Nakano Refrigerators Co Ltd
Priority date (The priority date is an assumption and is not a legal conclusion. Google has not performed a legal analysis and makes no representation as to the accuracy of the date listed.)
Filing date
Publication date
Application filed by Nakano Refrigerators Co Ltd filed Critical Nakano Refrigerators Co Ltd
Priority to JP2009040522A priority Critical patent/JP2010196936A/en
Publication of JP2010196936A publication Critical patent/JP2010196936A/en
Pending legal-status Critical Current

Links

Images

Classifications

    • FMECHANICAL ENGINEERING; LIGHTING; HEATING; WEAPONS; BLASTING
    • F25REFRIGERATION OR COOLING; COMBINED HEATING AND REFRIGERATION SYSTEMS; HEAT PUMP SYSTEMS; MANUFACTURE OR STORAGE OF ICE; LIQUEFACTION SOLIDIFICATION OF GASES
    • F25DREFRIGERATORS; COLD ROOMS; ICE-BOXES; COOLING OR FREEZING APPARATUS NOT OTHERWISE PROVIDED FOR
    • F25D11/00Self-contained movable devices, e.g. domestic refrigerators
    • F25D11/003Transport containers
    • FMECHANICAL ENGINEERING; LIGHTING; HEATING; WEAPONS; BLASTING
    • F25REFRIGERATION OR COOLING; COMBINED HEATING AND REFRIGERATION SYSTEMS; HEAT PUMP SYSTEMS; MANUFACTURE OR STORAGE OF ICE; LIQUEFACTION SOLIDIFICATION OF GASES
    • F25DREFRIGERATORS; COLD ROOMS; ICE-BOXES; COOLING OR FREEZING APPARATUS NOT OTHERWISE PROVIDED FOR
    • F25D2331/00Details or arrangements of other cooling or freezing apparatus not provided for in other groups of this subclass
    • F25D2331/80Type of cooled receptacles
    • F25D2331/809Holders

Landscapes

  • Engineering & Computer Science (AREA)
  • Chemical & Material Sciences (AREA)
  • Combustion & Propulsion (AREA)
  • Physics & Mathematics (AREA)
  • Mechanical Engineering (AREA)
  • Thermal Sciences (AREA)
  • General Engineering & Computer Science (AREA)
  • Refrigerator Housings (AREA)

Abstract

<P>PROBLEM TO BE SOLVED: To provide an on-vehicle cooling cabinet having a simple configuration and efficiently and inexpensively cooling stored articles. <P>SOLUTION: Inside of a heat insulating casing 2 including opening/closing lids 10, 11 on the upper opening is partitioned into a refrigerating chamber 4 and a freezing chamber 5. A cool storage plate holding part 7 for holding cool storage plates 6 is provided within the freezing chamber 5, and a fan 8 for supplying cold air within the freezing chamber 5 to the refrigerating chamber 4 is provided. The cool storage plate holding part 7 includes a plurality of air-permeable cool storage plate holding compartments formed to hold the plurality of cool storage plates 6 with the same shape. The cool storage plates 6 are cooled by a cooling facility using nighttime electric power. <P>COPYRIGHT: (C)2010,JPO&INPIT

Description

本発明は、車載冷却キャビネットに関し、詳しくは、食品等を低温に保持して配送する際に好適な車載冷却キャビネットに関する。   The present invention relates to an in-vehicle cooling cabinet, and more particularly to an in-vehicle cooling cabinet suitable for delivering food or the like while keeping it at a low temperature.

例えば、配送センターから販売店又は宅配便の個人宅に小口の食品を低温状態を保持した状態で配送する際には、一般に、車載用の冷却キャビネットを搭載した小型配送車が多く用いられている。車載用冷却キャビネットとして、エンジンやバッテリーで駆動する車載冷凍機によりキャビネット内を冷却するものでは、車載冷凍機の重量だけでなく、バッテリーも大型で重いため、大量の燃費を消費したり、バッテリーに大きな負荷が掛かってバッテリーの寿命を著しく縮めたりするという問題がある。また、車の排気ガスによる大気汚染や地球温暖化を防止する一環で、荷物の積み降ろしを行う駐停車時にエンジンを止める方法(いわゆるアイドリングストップ)が実践されている。しかし、エンジンと共に車載冷凍機も停止させてしまうため、荷物の積み降ろしを頻繁に行う配送車ではキャビネット内を低い温度で一定に保つことが難しくなった。
そのため、近年は、キャビネット内に冷却源となるドライアイス粒を投入してキャビネット内を冷却することが行われている(例えば、特許文献1参照)。
For example, when a small food is delivered from a distribution center to a store or a personal home of a courier while maintaining a low temperature state, a small delivery vehicle equipped with an in-vehicle cooling cabinet is generally used. . In-vehicle cooling cabinets that cool the interior of an in-vehicle refrigerator driven by an engine or battery, not only the weight of the in-vehicle refrigerator, but also the battery is large and heavy. There is a problem that a large load is applied and the life of the battery is remarkably shortened. In addition, as a part of preventing air pollution and global warming due to vehicle exhaust gas, a method of stopping the engine at the time of parking and stopping when loading and unloading luggage (so-called idling stop) is practiced. However, since the on-vehicle refrigerator is also stopped together with the engine, it has become difficult to keep the inside of the cabinet constant at a low temperature in a delivery vehicle that frequently loads and unloads luggage.
Therefore, in recent years, it has been performed to cool the inside of the cabinet by introducing dry ice grains as a cooling source into the cabinet (for example, see Patent Document 1).

特開2000−106858号公報JP 2000-106858 A

しかしながら、ドライアイス粒を冷却源として使用した場合、毎回新しいドライアイス粒を使用することから、配送センターに大量のドライアイス粒を低温状態を維持して用意しておかなければならず、ドライアイス粒の消費コストだけでなく、設備コストやエネルギーコストにも問題があった。   However, when dry ice grains are used as a cooling source, new dry ice grains are used every time, so a large amount of dry ice grains must be kept in a low temperature state in the distribution center. In addition to the grain consumption cost, there were also problems in equipment cost and energy cost.

そこで本発明は、簡単な構成で、かつ、収納した物品を低コストで効率よく冷却することができる車載冷却キャビネットを提供することを目的としている。   Therefore, an object of the present invention is to provide an in-vehicle cooling cabinet that has a simple configuration and can efficiently cool stored articles at low cost.

上記目的を達成するため、本発明の車載冷却キャビネットは、上面開口に開閉蓋を備えた断熱箱内を冷蔵室と冷凍室とに区画し、前記冷凍室内に、蓄冷材を板状に形成した蓄冷板を保持する蓄冷板保持部を設けるとともに、該冷凍室内の冷気を前記冷蔵室に供給するファンを設けたことを特徴としている。   In order to achieve the above object, the in-vehicle cooling cabinet of the present invention partitions the inside of a heat insulation box having an open / close lid on the top opening into a refrigerator compartment and a freezer compartment, and a cold storage material is formed in a plate shape in the freezer compartment. A cold storage plate holding unit for holding the cold storage plate is provided, and a fan for supplying cold air in the freezer compartment to the refrigerator compartment is provided.

さらに、本発明の車載冷却キャビネットにおける前記蓄冷板保持部は、同一形状の蓄冷板を保持可能で、かつ、通気性を有する複数の蓄冷板保持区画を有することが好ましく、また、前記蓄冷板は、夜間電力を用いた配送センターの冷却設備で冷却されることが好ましい。   Furthermore, it is preferable that the cold storage plate holding part in the in-vehicle cooling cabinet of the present invention has a plurality of cold storage plate holding sections capable of holding the same shape of the cold storage plate and having air permeability, and the cold storage plate is It is preferable that the power is cooled by a cooling facility in a distribution center using nighttime power.

本発明の車載冷却キャビネットによれば、冷却対象となる物品の量や温度、冷却時間等の条件に応じて蓄冷板保持部に保持させる蓄冷板の量を選択することにより、キャビネット内に収納した物品を所定時間、所定温度に冷却した状態にすることができる。
例えば冷凍冷蔵食品は、個人宅への宅配を行う小型配送車ではお盆や暮れ時に配送量が極端に増え、年間を通して一定でないため車載冷凍機による冷却では無駄が多かったが、本発明の蓄冷板による冷却であれば周囲温度負荷や配送する量に対して適切に応じることが可能となる。
また、冷蔵室と冷凍室とに区画しているので、冷蔵品と冷凍品とを一つの車載冷却キャビネットによって同時に配送することができる。さらに、ファンによって冷凍室内の冷気を適当量だけ冷蔵室に供給することにより、使用する蓄冷板の所用数を少なくすることができるとともに、電力消費量が少ないファンを駆動するだけであるから、配送車のバッテリーに大きな負担をかけずに冷凍室及び冷蔵室を所定温度に冷却することができる。また、蓄冷板保持部を、同一形状の蓄冷板を保持可能で、かつ、通気性を有する複数の蓄冷板保持区画を有する形状とすることにより、必要十分な量の蓄冷板を容易にキャビネット内に設置することができる。さらに、蓄冷板の冷却を夜間電力を用いた配送センターの冷却設備で冷却することにより、冷却に要するコストを削減することができる。
According to the in-vehicle cooling cabinet of the present invention, the amount of the cold storage plate to be held in the cold storage plate holding portion is selected according to the conditions such as the amount of articles to be cooled, the temperature, the cooling time, etc., and stored in the cabinet. The article can be cooled to a predetermined temperature for a predetermined time.
For example, in the case of small-sized delivery vehicles that deliver products to private homes, the amount of delivery of frozen and refrigerated foods is extremely large during trays and at the end of the day. If it is cooling by, it becomes possible to respond appropriately to the ambient temperature load and the amount to be delivered.
Moreover, since it divides into the refrigerator compartment and the freezer compartment, a refrigerator and frozen goods can be delivered simultaneously by one vehicle-mounted cooling cabinet. Furthermore, by supplying an appropriate amount of cold air in the freezer compartment to the refrigerator compartment, the number of cold storage plates to be used can be reduced, and only the fans that consume less power are driven. The freezer compartment and the refrigerator compartment can be cooled to a predetermined temperature without imposing a heavy burden on the car battery. In addition, by making the cold storage plate holding portion into a shape that can hold the same shape of the cold storage plate and has a plurality of cold storage plate holding sections having air permeability, a necessary and sufficient amount of the cold storage plate can be easily installed in the cabinet. Can be installed. Furthermore, the cost required for cooling can be reduced by cooling the regenerator plate with the cooling facility of the distribution center using nighttime power.

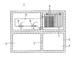
本発明の車載冷却キャビネットの一形態例を示す断面正面図である。It is a cross-sectional front view which shows one example of the vehicle-mounted cooling cabinet of this invention. 同じく平面図である。It is also a plan view. 同じく側面図である。It is a side view similarly. 蓄冷板保持部の一例を示す斜視図である。It is a perspective view which shows an example of a cool storage board holding | maintenance part.

本形態例に示す車載冷却キャビネット1は、上面に開口を有する断熱箱2の内部を前後方向の仕切板3によって図1において左側の冷蔵室4と右側の冷凍室5とに区画し、冷凍室5内に蓄冷板6を保持する蓄冷板保持部7を設けるとともに、冷凍室5内の冷気の一部を冷蔵室4に供給するためのファン8を備えたダクト9を設けたものである。   The in-vehicle cooling cabinet 1 shown in the present embodiment divides the inside of a heat insulating box 2 having an opening on the upper surface into a left refrigerator compartment 4 and a right freezer compartment 5 in FIG. 5 is provided with a cold storage plate holder 7 for holding the cold storage plate 6 and a duct 9 provided with a fan 8 for supplying a part of the cold air in the freezer compartment 5 to the refrigerator compartment 4.

蓄冷板6は、周知の固体の蓄冷材を板状に形成したものや、周知の液体の蓄冷材を偏平な容器内に封入して板状とした同一形状のものを使用することができる。蓄冷材の種類や蓄冷板6の各寸法は、断熱箱2の大きさや必要とする冷却能力に応じて適宜設定することができる。この蓄冷板6を保持する蓄冷板保持部7は、図4に示すように、多数の通気孔を有する板材や網状体のような通気性を有する部材からなる複数の区画部材7aと底部材7b及び背部材7cとによって複数の蓄冷板保持区画を形成したものであって、複数枚の蓄冷板6を保持可能な形状で、蓄冷板保持部7の上部や前面部から蓄冷板6を着脱できるように形成している。   The cold storage plate 6 may be a plate formed of a known solid cold storage material or a plate having the same shape as a plate formed by enclosing a known liquid cold storage material in a flat container. The kind of the regenerator material and each dimension of the regenerator plate 6 can be appropriately set according to the size of the heat insulating box 2 and the required cooling capacity. As shown in FIG. 4, the cold storage plate holding portion 7 for holding the cold storage plate 6 includes a plurality of partition members 7a and a bottom member 7b made of a plate member having a large number of air holes or a member having air permeability such as a net-like body. And the back member 7c form a plurality of cold storage plate holding sections, and the shape of the cold storage plate 6 can be held, and the cold storage plate 6 can be attached to and detached from the upper part or front surface of the cold storage plate holding part 7. It is formed as follows.

ダクト9は、基部を仕切板3の上部に開口させた筒状のものであって、ダクト9の前面部には、配送車のバッテリーや他の任意の電源によって駆動される2個のファン8が設けられている。このファン8を回転させることにより、蓄冷板6によって所定の冷凍温度に冷却されている冷凍室5内の冷気の一部が冷蔵室4に供給され、冷蔵室4内が所定の冷蔵温度に冷却される。なお、ファン8は常時回転するのではなく、冷蔵室の温度が所定の温度になれば停止する。   The duct 9 has a cylindrical shape whose base is opened at the top of the partition plate 3, and two fans 8 driven by a battery of a delivery vehicle or other arbitrary power source are provided on the front surface of the duct 9. Is provided. By rotating the fan 8, a part of the cold air in the freezer compartment 5 cooled to a predetermined freezing temperature by the cold storage plate 6 is supplied to the refrigerating room 4, and the inside of the refrigerating room 4 is cooled to a predetermined refrigerating temperature. Is done. The fan 8 does not always rotate, but stops when the temperature of the refrigerator compartment reaches a predetermined temperature.

断熱箱2の上面開口には、前方に冷蔵室4及び冷凍室5の内部に収納した物品を出し入れするための物品用開閉蓋10が設けられ、後方には蓄冷板保持部7に蓄冷板6を出し入れするための蓄冷板用開閉蓋11が設けられている。各蓋10,11は、冷蔵室4側と冷凍室5側とが独立して開閉するものであってもよく、両室全体を開閉できるものであってもよく、さらに、1枚の蓋で物品と蓄冷板とを出し入れできるようにしたものであってもよい。また、開閉方式もヒンジによる開閉の他、引き戸形式にしてもよく、任意である。   At the top opening of the heat insulating box 2, an article opening / closing lid 10 for taking in and out articles stored in the inside of the refrigerator compartment 4 and the freezer compartment 5 is provided in the front. A cold storage plate opening / closing lid 11 is provided. Each of the lids 10 and 11 may be capable of opening and closing the refrigerator compartment 4 side and the freezer compartment 5 side independently, or may be capable of opening and closing both chambers as a whole. An article and a cold storage plate may be taken in and out. The opening / closing method may be a sliding door type in addition to opening / closing by a hinge, and is arbitrary.

このように形成した車載冷却キャビネットを使用して、例えば配送センターから複数の販売店又は宅配便の個人宅へ冷凍食品や低温保存食品のような物品をそれぞれ配送する場合には、まず、蓄冷板6を、あらかじめ夜間電力を利用した配送センターの冷却設備で所定温度に冷却した状態とする。次に、冷蔵室4及び冷凍室5に収納する物品の量及び冷却温度、配送に要する時間といった各種条件から、蓄冷板6の使用枚数を選択して蓄冷板保持部7に所要枚数の蓄冷板6を設置する。   When using the vehicle-mounted cooling cabinet formed in this way, for example, when delivering articles such as frozen foods or cryopreserved foods from a distribution center to a plurality of stores or courier personal homes, first, a cold storage plate 6 is in a state of being cooled to a predetermined temperature in advance by a cooling facility of a distribution center using nighttime power. Next, from the various conditions such as the amount of articles stored in the refrigerator compartment 4 and the freezer compartment 5, the cooling temperature, and the time required for delivery, the number of the cold storage plates 6 used is selected and the required number of cold storage plates is stored in the cold storage plate holder 7. 6 is installed.

所定の物品を冷蔵室4及び冷凍室5にそれぞれ収納した後、各販売店又は宅配便の個人宅への配送を行う。各販売店又は宅配便の個人宅への移動中は、エンジンにはまったく負担が掛からず、また、車載冷凍機に比べて軽量であることから、燃費を悪化させるようなことはない。各販売店又は宅配便の個人宅での配送作業は、通常は短時間で終了するため、配送車のバッテリーでファン8を駆動したままの状態にしておいてもバッテリーへの負担はほとんどなく、また、短時間であればファン8を停止させても冷蔵室4内の温度が許容温度以上に上昇することはほとんどない。   After a predetermined article is stored in the refrigerator compartment 4 and the freezer compartment 5, delivery to each store or home delivery is performed. During the movement of each dealer or courier to a private home, the engine is not burdened at all, and it is lighter than an in-vehicle refrigerator, so that the fuel consumption is not deteriorated. Since the delivery work at each store or courier's private home is usually completed in a short time, there is almost no burden on the battery even if the fan 8 is driven with the battery of the delivery vehicle. Moreover, even if the fan 8 is stopped for a short time, the temperature in the refrigerator compartment 4 hardly rises above the allowable temperature.

小型の配送車を利用した配送では、遠距離で長時間の配送を行うことはほとんどないため、蓄冷板6の冷却能力は数時間程度継続できれば十分であり、1回の配送、例えば午前中の配送を終えた後、配送センターに戻って蓄冷板保持部7に設置した蓄冷板6を、前記配送センターの冷却設備で所定温度に冷却された状態に保管されている所定枚数の蓄冷板6に交換して次の配送、例えば午後の配送を行う。一日の配送を終了したら、すべての蓄冷板6を蓄冷板保持部7から取り出し、前記配送センターの冷却設備で夜間電力を利用して所定温度に冷却し、翌日の配送に繰り返し使用する。   In delivery using a small delivery vehicle, it is rare to deliver for a long time at a long distance. Therefore, it is sufficient that the cooling capacity of the cold storage plate 6 can be continued for several hours. One delivery, for example, in the morning After the delivery is completed, the cool storage plate 6 installed in the cool storage plate holding unit 7 after returning to the delivery center is replaced with a predetermined number of cool storage plates 6 stored in a state cooled to a predetermined temperature by the cooling facility of the delivery center. Exchange the next delivery, for example, the afternoon delivery. When the delivery of one day is completed, all the cold storage plates 6 are taken out from the cold storage plate holding unit 7, cooled to a predetermined temperature using the nighttime power in the cooling facility of the distribution center, and repeatedly used for the next day's delivery.

このように、断熱箱2の内部を冷蔵室4と冷凍室5とに区画し、冷凍室5の冷気をファンで供給することで冷蔵室4を冷却するように形成しているので、保管温度が異なる物品、例えば飲料とアイスクリームとを一つの車載冷却キャビネットによって同時に配送することができ、冷蔵用、冷凍用の二種類の車載冷却キャビネットを用いたり、2台の配送車を用いたりする場合に比べて大幅なコストダウンが図れる。さらに、繰り返し使用が可能な蓄冷板6を車載冷却キャビネットの冷却源として使用することにより、車載冷凍機や大型のバッテリーが不要となり、配送車の重量を軽減することができ、燃費の改善を図れる。また、販売店又は宅配便の個人宅での配送作業中にエンジンを停止させても冷蔵室4及び冷凍室5の温度上昇はほとんどなく、安定した冷却状態を維持することができる。特に、霜取りが必要な冷却器を用いていないため、温度変動が少ない安定した冷却状態が得られる。   Thus, since the inside of the heat insulation box 2 is divided into the refrigerator compartment 4 and the freezer compartment 5, and it forms so that the refrigerator compartment 4 may be cooled by supplying the cold air of the refrigerator compartment 5 with a fan, storage temperature When different goods such as beverages and ice cream can be delivered simultaneously by a single on-board cooling cabinet, two types of on-vehicle cooling cabinets for refrigeration and freezing are used, or two delivery vehicles are used. The cost can be greatly reduced compared to. Furthermore, by using the regenerator plate 6 that can be used repeatedly as a cooling source for the in-vehicle cooling cabinet, an in-vehicle refrigerator and a large battery become unnecessary, the weight of the delivery vehicle can be reduced, and fuel consumption can be improved. . Further, even if the engine is stopped during the delivery work at the store or the personal delivery home delivery, the temperature of the refrigerator compartment 4 and the freezer compartment 5 hardly increases, and a stable cooling state can be maintained. In particular, since a cooler that requires defrosting is not used, a stable cooling state with little temperature fluctuation can be obtained.

さらに、配送センターに設置した冷却設備で、安価な夜間電力を利用して蓄冷板6を冷却することにより、冷却に要するランニングコストの低減を図れる。加えて、配送時の走行距離や時間、冷蔵室4及び冷凍室5に収納する物品量や物品温度に応じて蓄冷板6の使用枚数を選択することができるので、無駄がなく、冷却設備を含めた全体的な冷却エネルギーの有効利用を図れる。また、古くなって冷却能力が低下した蓄冷板6は、回収して再生することが可能であることから、資源の有効利用を図れるとともに、地球環境にも優しいシステムとすることができる。   Furthermore, the cooling cost installed in the distribution center can be used to cool the cold storage plate 6 using cheap nighttime power, thereby reducing the running cost required for cooling. In addition, since the number of sheets used for the cold storage plates 6 can be selected according to the travel distance and time during delivery, the amount of articles stored in the refrigerator compartment 4 and the freezer compartment 5 and the article temperature, there is no waste and the cooling equipment Effective use of the entire cooling energy, including it, can be achieved. In addition, since the cold storage plate 6 whose cooling capacity has decreased due to aging can be recovered and regenerated, it is possible to effectively use resources and to make the system friendly to the global environment.

なお、冷蔵室内にも補助的な蓄冷板保持部を設け、必要に応じて冷蔵室内を蓄冷板により直接冷却するように形成することもでき、例えば、休み明けで温度上昇している冷蔵室内の蓄冷板保持部に蓄冷板を設置することにより、冷蔵室内を蓄冷板によって直接冷却することができるので、所定温度への冷却を短時間で終了することができる。また、ファンは仕切板に設けることもできる。   In addition, an auxiliary cold storage plate holding part is also provided in the refrigerator compartment, and if necessary, the refrigerator compartment can be directly cooled by the cold storage plate, for example, in the refrigerator compartment where the temperature is rising at the end of the day off. By installing the cold storage plate in the cold storage plate holding part, the refrigerator compartment can be directly cooled by the cold storage plate, so that the cooling to the predetermined temperature can be completed in a short time. The fan can also be provided on the partition plate.

1 車載冷却キャビネット
2 断熱箱
3 仕切板
4 冷蔵室
5 冷凍室
6 蓄冷板
7 蓄冷板保持部
7a 区画部材
7b 底部材
7c 背部材
8 ファン
9 ダクト
10 物品用開閉蓋
11 蓄冷板用開閉蓋
DESCRIPTION OF SYMBOLS 1 In-vehicle cooling cabinet 2 Heat insulation box 3 Partition plate 4 Cold storage room 5 Freezing room 6 Cold storage board 7 Cold storage board holding | maintenance part 7a Partition member 7b Bottom member 7c Back member 8 Fan 9 Duct 10 Open / close cover for goods 11 Open / close cover for cold storage board

Claims (3)

上面開口に開閉蓋を備えた断熱箱内を冷蔵室と冷凍室とに区画し、前記冷凍室内に、蓄冷材を板状に形成した蓄冷板を保持する蓄冷板保持部を設けるとともに、該冷凍室内の冷気を前記冷蔵室に供給するファンを設けたことを特徴とする車載冷却キャビネット。   The inside of the heat insulation box provided with an open / close lid on the top opening is partitioned into a refrigerator compartment and a freezer compartment, and a regenerator plate holder for holding a regenerator plate in which a regenerator material is formed in a plate shape is provided in the freezer compartment. An on-vehicle cooling cabinet provided with a fan for supplying indoor cold air to the refrigerator compartment. 前記蓄冷板保持部は、同一形状の蓄冷板を保持可能で、かつ、通気性を有する複数の蓄冷板保持区画を有することを特徴とする請求項1記載の車載冷却キャビネット。   The in-vehicle cooling cabinet according to claim 1, wherein the cold storage plate holding section includes a plurality of cold storage plate holding sections that are capable of holding a cold storage plate having the same shape and have air permeability. 前記蓄冷板は、夜間電力を用いた冷却設備で冷却されることを特徴とする請求項1又は2記載の車載冷却キャビネット。   The in-vehicle cooling cabinet according to claim 1 or 2, wherein the cold storage plate is cooled by a cooling facility using nighttime electric power.
JP2009040522A 2009-02-24 2009-02-24 On-vehicle cooling cabinet Pending JP2010196936A (en)

Priority Applications (1)

Application Number Priority Date Filing Date Title
JP2009040522A JP2010196936A (en) 2009-02-24 2009-02-24 On-vehicle cooling cabinet

Applications Claiming Priority (1)

Application Number Priority Date Filing Date Title
JP2009040522A JP2010196936A (en) 2009-02-24 2009-02-24 On-vehicle cooling cabinet

Publications (1)

Publication Number Publication Date
JP2010196936A true JP2010196936A (en) 2010-09-09

Family

ID=42821850

Family Applications (1)

Application Number Title Priority Date Filing Date
JP2009040522A Pending JP2010196936A (en) 2009-02-24 2009-02-24 On-vehicle cooling cabinet

Country Status (1)

Country Link
JP (1) JP2010196936A (en)

Cited By (3)

* Cited by examiner, † Cited by third party
Publication number Priority date Publication date Assignee Title
EP3650781A1 (en) * 2018-11-06 2020-05-13 va-Q-tec AG Temperature-controllable container with vacuum insulation elements
CN117287904A (en) * 2023-11-02 2023-12-26 广州佰优电器有限公司 Multifunctional fresh-keeping quick-freezing cabinet
WO2025195524A1 (en) * 2024-03-22 2025-09-25 北京新实亚科技有限公司 Double-temperature zone multi-mode logistics intelligent refrigerator

Citations (9)

* Cited by examiner, † Cited by third party
Publication number Priority date Publication date Assignee Title
JPH02137678U (en) * 1989-04-21 1990-11-16
JP2001055271A (en) * 1999-08-11 2001-02-27 Aibikkusu Kk Case for delivery
JP2002181425A (en) * 2000-12-08 2002-06-26 Masao Umemoto Cold-storage structured basket
JP2003065667A (en) * 2001-08-23 2003-03-05 Sanden Corp Cold storage agent housing basket for cooling container
JP2004012059A (en) * 2002-06-10 2004-01-15 Nippon Fruehauf Co Ltd Freezer/refrigerator temperature management vehicle by regenerator plate system
JP2004053227A (en) * 2002-05-31 2004-02-19 Sanyo Electric Co Ltd Cooling storage
JP2005104567A (en) * 2003-10-01 2005-04-21 Kaneka Corp Cold-keeping container having multiple divisions
JP2006329524A (en) * 2005-05-26 2006-12-07 Isao Oka Cold air generator
JP2008264411A (en) * 2007-04-25 2008-11-06 Isao Oka Cool air generator

Patent Citations (9)

* Cited by examiner, † Cited by third party
Publication number Priority date Publication date Assignee Title
JPH02137678U (en) * 1989-04-21 1990-11-16
JP2001055271A (en) * 1999-08-11 2001-02-27 Aibikkusu Kk Case for delivery
JP2002181425A (en) * 2000-12-08 2002-06-26 Masao Umemoto Cold-storage structured basket
JP2003065667A (en) * 2001-08-23 2003-03-05 Sanden Corp Cold storage agent housing basket for cooling container
JP2004053227A (en) * 2002-05-31 2004-02-19 Sanyo Electric Co Ltd Cooling storage
JP2004012059A (en) * 2002-06-10 2004-01-15 Nippon Fruehauf Co Ltd Freezer/refrigerator temperature management vehicle by regenerator plate system
JP2005104567A (en) * 2003-10-01 2005-04-21 Kaneka Corp Cold-keeping container having multiple divisions
JP2006329524A (en) * 2005-05-26 2006-12-07 Isao Oka Cold air generator
JP2008264411A (en) * 2007-04-25 2008-11-06 Isao Oka Cool air generator

Cited By (5)

* Cited by examiner, † Cited by third party
Publication number Priority date Publication date Assignee Title
EP3650781A1 (en) * 2018-11-06 2020-05-13 va-Q-tec AG Temperature-controllable container with vacuum insulation elements
US11629911B2 (en) 2018-11-06 2023-04-18 Va-Q-Tec Ag Temperature-controllable container with vacuum insulation elements
CN117287904A (en) * 2023-11-02 2023-12-26 广州佰优电器有限公司 Multifunctional fresh-keeping quick-freezing cabinet
CN117287904B (en) * 2023-11-02 2024-05-24 广州佰优电器有限公司 Multifunctional fresh-keeping quick-freezing cabinet
WO2025195524A1 (en) * 2024-03-22 2025-09-25 北京新实亚科技有限公司 Double-temperature zone multi-mode logistics intelligent refrigerator

Similar Documents

Publication Publication Date Title
EP3481657B1 (en) Dual compressor transportation refrigeration unit
JP6141238B2 (en) Truck loading / cooling container and temperature-holding box
CN104340020B (en) Electronic cold insulation car
US20150314671A1 (en) Integrated charging unit for passive refrigeration system
US7174736B2 (en) Low-temperature delivery vehicle
CN114761745A (en) Container for storing and serving frozen desserts
JP2010196936A (en) On-vehicle cooling cabinet
JP2020134024A (en) Cold insulating container
JP3502219B2 (en) Insulated refrigerator
CN215638188U (en) Multi-mode phase-change cold-charging energy-saving temperature control device for thermal insulation container
US2016377A (en) Refrigerated vehicle
KR101383300B1 (en) Refrigerated Vehicle with PCM Module using Solar Energy and Control method thereof
CN219406659U (en) Multi-temperature-zone refrigerator carriage and refrigerator car
CN120129914A (en) Thermal management for actively cooled totes in last-mile food delivery
JP2013083398A (en) On-vehicle type cool box, refrigerator truck for home delivery and cooling system equipped with the same, and cooling method of on-vehicle type cool box using the cooling system
WO2007042162A1 (en) Refrigerator vehicle and process for distributing food products
JP2003214752A (en) Refrigeration vehicle and physical distributing container for refrigerating vehicle
KR20130100489A (en) Air circulation cooling p.c.m heat storage system using many number of brine circulating heat exchanger coil
WO2001066382A1 (en) A method of distributing cooled or frozen goods to customers by means of a plurality of vehicles, and a vehicle for such use
JPH0510202Y2 (en)
US11592227B2 (en) Self-sustainable multiple-tank cooler with energy storage and chamber for temperature compensation
CN214730637U (en) Unit distribution box and logistics distribution vehicle with same
JP3254718U (en) Cooler boxes and vehicles containing cooler boxes
CN218967461U (en) Logistics transport tool with variable multi-temperature zones
KR102796202B1 (en) cold-storage container device by use of PCM cooling

Legal Events

Date Code Title Description
A621 Written request for application examination

Free format text: JAPANESE INTERMEDIATE CODE: A621

Effective date: 20120110

A977 Report on retrieval

Free format text: JAPANESE INTERMEDIATE CODE: A971007

Effective date: 20130208

A131 Notification of reasons for refusal

Free format text: JAPANESE INTERMEDIATE CODE: A131

Effective date: 20130213

A02 Decision of refusal

Free format text: JAPANESE INTERMEDIATE CODE: A02

Effective date: 20130618