JP2010143768A - テープ台 - Google Patents
テープ台 Download PDFInfo
- Publication number
- JP2010143768A JP2010143768A JP2010044679A JP2010044679A JP2010143768A JP 2010143768 A JP2010143768 A JP 2010143768A JP 2010044679 A JP2010044679 A JP 2010044679A JP 2010044679 A JP2010044679 A JP 2010044679A JP 2010143768 A JP2010143768 A JP 2010143768A
- Authority
- JP
- Japan
- Prior art keywords
- tape
- folded
- adhesive surface
- folding
- sensitive adhesive
- Prior art date
- Legal status (The legal status is an assumption and is not a legal conclusion. Google has not performed a legal analysis and makes no representation as to the accuracy of the status listed.)
- Pending
Links
- 229920000298 Cellophane Polymers 0.000 claims 1
- 239000004820 Pressure-sensitive adhesive Substances 0.000 abstract 3
- 239000000853 adhesive Substances 0.000 description 7
- 230000001070 adhesive effect Effects 0.000 description 7
- 238000010586 diagram Methods 0.000 description 4
- 230000000694 effects Effects 0.000 description 1
- 238000000034 method Methods 0.000 description 1
- 230000000717 retained effect Effects 0.000 description 1
Images
Landscapes
- Unwinding Webs (AREA)
- Adhesive Tapes (AREA)
Abstract
【課題】従来のテープ台ではテープの末端は折りたたまれることはない。末端が折りたたまれていなく、全面を対象物に粘着させるため、剥がす場合には取掛かり部が存在せず容易に剥がすことはできない。また、貼り付ける場合も手に粘着面を一度触れるため、皮膚へも負荷をかけることとなっている。本発明はこの課題を解消するものである。
【解決の手段】テープ台のテープ切断時にテープの末端を留め置きする箇所を2箇所に設置する。この箇所は可動し、テープ粘着面を中に末端部を折りたたむ。折りたたみが完了後、折りたたみ部を引き出すことで粘着面を持つことなくテープを扱うことが可能となる。また、この折りたたみ部分を剥がす場合の取掛かり部として利用することで簡便に剥がすことが可能となる。
【選択図】図1
【解決の手段】テープ台のテープ切断時にテープの末端を留め置きする箇所を2箇所に設置する。この箇所は可動し、テープ粘着面を中に末端部を折りたたむ。折りたたみが完了後、折りたたみ部を引き出すことで粘着面を持つことなくテープを扱うことが可能となる。また、この折りたたみ部分を剥がす場合の取掛かり部として利用することで簡便に剥がすことが可能となる。
【選択図】図1
Description
本発明は、折り込む操作を実施することでテープ粘着面に触れることなく、テープの末端を折り返すことができる。
従来のテープ台ではテープの末端は折りたたまれることはない。末端が折りたたまれていなく、全面を対象物に粘着させるため、剥がす場合には取掛かり部が存在せず容易に剥がすことはできない。また、貼り付ける場合も手に粘着面を一度触れるため、皮膚へも負荷をかけることとなっている。本発明はこの課題を解消するものである。
テープ台のテープ切断時にテープの末端を留め置きする箇所を2箇所に設置する。この箇所は可動し、テープ粘着面を中に末端部を折りたたむ。折りたたみが完了後、折りたたみ部を引き出すことで粘着面を持つことなくテープを扱うことが可能となる。また、この折りたたみ部分を剥がす場合の取掛かり部として利用することで簡便に剥がすことが可能となる。
従来のテープのみで使用可能であり、従来のテープ台と同等の使用方法で簡便に剥がすことができる。また、直接粘着面と触れないことで肌をいためることがなくなる。
テープの仮置きをする面を2箇所持ち、その一方、または両方を可動させることでテープの粘着面を接合することができる。
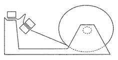
図1は、テープを使用する前の状態の図である。
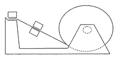
図2は、テープの仮置きをし、テープを105、107にて押さえた状態の図である。
図3は、テープを押さえた105、106を可動させている状態の図である。
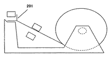
図4は、105、107によってテープが折りたたまれた状態の図である。
図5は、105、107にてテープを押さえたままテープの仮置き場所である106をテープから離した後の図である。
図6は、テープの使用準備ができた状態の図である。
図2は、テープの仮置きをし、テープを105、107にて押さえた状態の図である。
図3は、テープを押さえた105、106を可動させている状態の図である。
図4は、105、107によってテープが折りたたまれた状態の図である。
図5は、105、107にてテープを押さえたままテープの仮置き場所である106をテープから離した後の図である。
図6は、テープの使用準備ができた状態の図である。
通常使用時は107のテープの押さえは、テープの動線にないことが望ましい。折りたたみ操作時にテープの動線上にセットされるほうが使い勝手が良いと考えられる。
折りたたみ操作をすることによって、105、106によって、テープが仮置きの場所に固定される。
この仮置きをしている105、106が角度をつけて移動することによって、テープを折り返す。
そして、テープの押さえである105,107によって完全に折りたたむと同時にテープの仮置きの場所である106からテープをスムーズに剥離させる時に押さえとして機能する。
これによって、テープに折りたたみ部分が作成でき、そこを持つことで、テープの粘着面に指を触れることなくテープを扱えるため、指への負担軽減、また綺麗に扱うことが可能となる。
折りたたみ操作をすることによって、105、106によって、テープが仮置きの場所に固定される。
この仮置きをしている105、106が角度をつけて移動することによって、テープを折り返す。
そして、テープの押さえである105,107によって完全に折りたたむと同時にテープの仮置きの場所である106からテープをスムーズに剥離させる時に押さえとして機能する。
これによって、テープに折りたたみ部分が作成でき、そこを持つことで、テープの粘着面に指を触れることなくテープを扱えるため、指への負担軽減、また綺麗に扱うことが可能となる。
101 テープホルダー、及びテープ
102 テープ台
103 カッター
104 テープ
105 テープの仮置きの押さえ
106 テープの仮置きのための場所
107 テープの仮置きの押さえ
201 折り返されたテープ
102 テープ台
103 カッター
104 テープ
105 テープの仮置きの押さえ
106 テープの仮置きのための場所
107 テープの仮置きの押さえ
201 折り返されたテープ
Claims (1)
- セロハンテープの末端を折り返す機能を持ったテープ台。
Priority Applications (1)
| Application Number | Priority Date | Filing Date | Title |
|---|---|---|---|
| JP2010044679A JP2010143768A (ja) | 2010-02-09 | 2010-02-09 | テープ台 |
Applications Claiming Priority (1)
| Application Number | Priority Date | Filing Date | Title |
|---|---|---|---|
| JP2010044679A JP2010143768A (ja) | 2010-02-09 | 2010-02-09 | テープ台 |
Publications (1)
| Publication Number | Publication Date |
|---|---|
| JP2010143768A true JP2010143768A (ja) | 2010-07-01 |
Family
ID=42564589
Family Applications (1)
| Application Number | Title | Priority Date | Filing Date |
|---|---|---|---|
| JP2010044679A Pending JP2010143768A (ja) | 2010-02-09 | 2010-02-09 | テープ台 |
Country Status (1)
| Country | Link |
|---|---|
| JP (1) | JP2010143768A (ja) |
Cited By (1)
| Publication number | Priority date | Publication date | Assignee | Title |
|---|---|---|---|---|
| USD671989S1 (en) | 2011-10-07 | 2012-12-04 | 3M Innovative Properties Company | Tape dispenser |
-
2010
- 2010-02-09 JP JP2010044679A patent/JP2010143768A/ja active Pending
Cited By (1)
| Publication number | Priority date | Publication date | Assignee | Title |
|---|---|---|---|---|
| USD671989S1 (en) | 2011-10-07 | 2012-12-04 | 3M Innovative Properties Company | Tape dispenser |
Similar Documents
| Publication | Publication Date | Title |
|---|---|---|
| KR101056989B1 (ko) | 개봉이 용이한 일회용 반창고 | |
| TWI268572B (en) | Film peeling method and film peeling device | |
| JP2011023612A5 (ja) | ||
| JP2009022592A (ja) | 二重まぶた形成用粘着シート及び二重まぶたの形成方法 | |
| JP2019520911A5 (ja) | ||
| JP2010143768A (ja) | テープ台 | |
| JP2013000394A (ja) | 二重瞼形成用シート | |
| KR100997089B1 (ko) | 양면테이프 제조방법 | |
| JP5940969B2 (ja) | 湿布貼り補助具 | |
| JP2012239869A (ja) | ジェルネイルオフ具 | |
| MX343728B (es) | Dispositivo de retencion. | |
| JP2015203110A (ja) | 剥離紙剥し器 | |
| CN201276520Y (zh) | 方便胶带 | |
| CN204022074U (zh) | 便捷胶带切断器 | |
| CN202858186U (zh) | 除去皱纹装置 | |
| JP4989283B2 (ja) | 貼付剤 | |
| CN110820426A (zh) | 铝箔离型纸 | |
| JP3201045U (ja) | テープ貼りクリップカッター | |
| JP2016047768A (ja) | テープ貼りクリップカッター | |
| CN204072483U (zh) | 一种可单手操作的创可贴 | |
| JP3194448U (ja) | ヘアカラー付着防止テープ | |
| JP2017035581A (ja) | 剥離フィルム付き貼付剤の貼付用補助具 | |
| CN204147172U (zh) | 水胶敷贴 | |
| JP3199472U (ja) | 両縁無接着ラベル | |
| JP2007023247A (ja) | 耳付き粘着テープができる間欠粘着テープ |