JP2010092082A - コンテンツ情報処理方法、コンテンツ情報処理プログラム、及びコンテンツ情報処理装置 - Google Patents

コンテンツ情報処理方法、コンテンツ情報処理プログラム、及びコンテンツ情報処理装置 Download PDF

Info

Publication number
JP2010092082A
JP2010092082A JP2008249991A JP2008249991A JP2010092082A JP 2010092082 A JP2010092082 A JP 2010092082A JP 2008249991 A JP2008249991 A JP 2008249991A JP 2008249991 A JP2008249991 A JP 2008249991A JP 2010092082 A JP2010092082 A JP 2010092082A
Authority
JP
Japan
Prior art keywords
entity
event handler
content information
information processing
virtual
Prior art date
Legal status (The legal status is an assumption and is not a legal conclusion. Google has not performed a legal analysis and makes no representation as to the accuracy of the status listed.)
Granted
Application number
JP2008249991A
Other languages
English (en)
Other versions
JP5237031B2 (ja
Inventor
Tat Jhetson
タット ジェットソン
Yumi Sawada
裕美 澤田
Current Assignee (The listed assignees may be inaccurate. Google has not performed a legal analysis and makes no representation or warranty as to the accuracy of the list.)
Access Co Ltd
Original Assignee
Access Co Ltd
Priority date (The priority date is an assumption and is not a legal conclusion. Google has not performed a legal analysis and makes no representation as to the accuracy of the date listed.)
Filing date
Publication date
Application filed by Access Co Ltd filed Critical Access Co Ltd
Priority to JP2008249991A priority Critical patent/JP5237031B2/ja
Publication of JP2010092082A publication Critical patent/JP2010092082A/ja
Application granted granted Critical
Publication of JP5237031B2 publication Critical patent/JP5237031B2/ja
Expired - Fee Related legal-status Critical Current
Anticipated expiration legal-status Critical

Links

Images

Landscapes

  • Document Processing Apparatus (AREA)
  • User Interface Of Digital Computer (AREA)

Abstract

【課題】キー入力を想定して作成された双方向デジタルコンテンツの振る舞いをタッチパネル等のポインティングデバイスによる入力に適したものに最適化する。
【解決手段】マークアップ文書を構文解析して第1のドキュメントツリーを生成するステップと、実体となり得る所定の種類のイベントハンドラが設定された要素を第1のドキュメントツリーから検出するステップと、マークアップ文書に基づく第2のドキュメントツリーを生成するステップと、所定の種類のイベントハンドラの実行によって他の要素の表示が変化したときに、イベントハンドラが設定された要素を実体と判定し、表示が変化した要素を実体に関連付けられた仮想体と判定するステップと、実体に関連付けられた仮想体が所定のポインタ操作を受けたときに実体をフォーカスするための処理を行うステップを含むコンテンツ情報処理方法。
【選択図】図6

Description

本発明は、コンテンツ情報処理方法、コンテンツ情報処理プログラム、及びコンテンツ情報処理装置に関する。
近年、地上デジタル放送網の整備に伴い、家庭用の固定型デジタルテレビ受像機のみならず、地上デジタル放送の一形態であるワンセグ放送の受信機能を備えた携帯電話等の携帯端末が急速に普及しつつある。デジタル放送の主な特徴として、映像・音声信号による従来型の放送番組の提供に加えて、データ放送信号によりマルチメディアコンテンツが提供される点が挙げられる。デジタル放送におけるマルチメディアコンテンツのフォーマットはWeb技術をベースに規定されているため、放送とインターネットとをシームレスに連携したサービスの提供が可能になっている。
日本におけるデータ放送のコンテンツは、XML(Extensible Markup Language)ベースのマークアップ言語であるBML(Broadcast Markup Language)により記述される。BMLの仕様は、社団法人電波産業会(ARIB:The Association of Radio Industries and Businesses)が策定したARIB STD−B24において規定されている。この仕様は、固定型デジタルテレビのリモコンや、従来の多くの携帯端末に搭載されている十字キー等の方向キーを使用したユーザ入力を前提に規定されており、また各データ放送コンテンツも方向キーによるユーザ入力を想定して制作されている。
また、最近はデジタルテレビチューナーを搭載したPC(Personal Computer)が増えており、マウス等のポインティングデバイスを使用してBMLコンテンツを閲覧する上で有効な技術が検討されている(特許文献1)。また、携帯端末においては、タッチパネル等のポインティングデバイスを搭載したものが増えており、ポインティングデバイスを使用してデータ放送コンテンツを閲覧する機会が多くなっている。
ところで、通常のブラウザには、フォーカスされている要素を破線や太線で囲んだりシャドーを掛けたりする等の表示変更を行い、その要素がフォーカスされていることを明示する仕組みが備わっている。しかし、要素がフォーカスされた際の表示変更の態様はブラウザの種類や設定に依存してまちまちであり、コンテンツのデザインの統一性を損なう一因になっている。また、マウス等のポインティングデバイスによるユーザ入力、すなわちポインタ操作が想定されていない通常のBMLブラウザでは、画面にポインタが表示されないため、フォーカス中の要素を細い点線で囲って表示するような設定がなされている場合には、何れの要素がフォーカスされているのかが分かり難いという問題もある。
そのため、多くのデータ放送コンテンツ制作者は、要素がフォーカスされた際のデザイン性と視認性を向上させるため、図4に示されるような特殊な構造のBML文書を制作している。すなわち、object要素等の実際のフォーカス対象S1〜S4を目立たない態様で表示させる(あるいは表示が見えないようにする)一方で、フォーカス対象S1〜S4のフォーカス状態(フォーカスされているか否か)に連動して変化する画像V1〜V4を目立つ態様で表示させる仕組みをBML文書に取り入れている。なお、以下の説明においては、S1〜S4のようなユーザが視認し難い(あるいは視認できない)態様で表示される実際のフォーカス対象を「実体」、V1〜V4のような実体のフォーカス状態に連動して表示が変化する要素を「仮想体」と呼ぶ。また、実体及び仮想体を含むコンテンツを「実体/仮想体コンテンツ」と呼ぶ。
図4では、S1がフォーカスされており、S1に対応する画像V1が強調表示の画像となっている。また、フォーカスされていないS2〜S4に対応する画像V2〜V4は、通常表示の画像となっている。ここで、ユーザが十字キーを下側に押すと、フォーカスがS1の一つ下に配置されたS2に移り、S1に対応する画像V1が通常表示のものに、S2に対応する画像V2が強調表示のものに切り替わる(図5)。こうして十字キーの操作に連動して画像V1、V2が変化したことにより、フォーカスが「今日のおすすめ」(V1)から「注目の新番組」(V2)に移ったとユーザは認識する。すなわち、ユーザは、目立たない(あるいは見えない)表示態様のために実際のフォーカス対象S1〜S4の存在には気づかず、また十字キーの操作に連動して画像V1〜V4の表示が変化したことから、画像V1〜V4がフォーカス対象であると錯覚する。このようなコンテンツ構成により、機種に依存しないフォーカス時の優れた視覚効果を実現している。
特開2002−232371号公報
コンテンツ制作者の思惑通りにユーザが仮想体を真のフォーカス対象であると錯覚しても、コンテンツ制作者が想定した通りに方向キーを使用してユーザ入力がなされる限りは、ユーザが意図した通りにフォーカスが制御されるため何ら問題が生じることはない。しかし、ポインティングデバイスを使用して実体/仮想体コンテンツを閲覧する場合には、この錯覚が操作上の不都合を引き起こす。すなわち、仮想体はフォーカス対象ではなく単なる表示に過ぎないため、マウスやタッチパネル等のポインティングデバイスを使用したポインタ操作によって仮想体を選択しようとしても選択することができず、実体/仮想体コンテンツに対して所望のユーザ入力を行うことができないという問題がある。更に、ユーザが存在に気づいていない実体に偶然にポインティングデバイスが重なり、予想外のイベントが発生するという問題もある。
本発明は上記の事情に鑑みてなされたものであり、その目的とするところは、方向キー入力を想定して作成されたデジタルコンテンツの振る舞いをタッチパネルやマウス等のポインティングデバイスによる入力に適したものに最適化する方法、プログラム及び装置を提供することである。
上記の課題を解決するために、本発明により、ポインティングデバイスによる操作を受付可能な情報処理装置において、マークアップ言語で記述された文書に基づいてコンテンツをディスプレイにインタラクティブに表示するため処理を行う方法が提供される。本発明により提供されるコンテンツ情報処理方法は、文書を構文解析して第1のドキュメントツリーを生成するステップと、フォーカスされたときに他の要素である仮想体の表示を変化させる実体となり得る所定の種類のイベントハンドラが設定された要素を、第1のドキュメントツリーから検出するステップと、文書に基づく第2のドキュメントツリーを生成するステップと、第2のドキュメントツリーに対して、検出された実体となり得る要素の各々について、設定された所定の種類のイベントハンドラの各々を実行するステップと、所定の種類のイベントハンドラの実行によって他の要素の表示が変化したときに、該イベントハンドラが設定された要素を実体と判定し、該表示が変化した要素を該実体に関連付けられた仮想体と判定するステップと、実体に関連付けられた仮想体が所定のポインタ操作を受けたときに該実体をフォーカスするための処理を行うステップとを含んでいる。
このような方法によりコンテンツをインタラクティブに表示するためのデータを最適化すれば、上記の実体/仮想体コンテンツもマウスやタッチパネル等のポインティングデバイスを使用して適切に操作することができるようになる。なお、ここで「コンテンツをインタラクティブに表示する」とは、表示されるコンテンツに含まれる要素に対してポインティングデイス等を使用したユーザ操作を行うことが可能な態様でコンテンツを表示することをいう。
第2のドキュメントツリーは、元のマークアップ文書を構文解析して生成してもよいが、第1のドキュメントツリーを複製して生成してもよい。第1のドキュメントツリーを複製して生成すれば、再び構文解析を行う必要がないため、CPUの負担が軽減され、処理速度が改善する。
実体をフォーカスするための処理を行うステップは、実体に関連付けられた仮想体上にポインタが位置しているときに実体をフォーカスするメソッドを実行するイベントハンドラを仮想体に設定するステップを含むことが望ましい。仮想体に対するポインタ操作に対応して実体の状態を変化させる仕組みには幾つか考えられるが、仮想体にイベントハンドラを設定する方法が最も簡単な方法の一つである。例えば、仮想体に対するポインタ操作に応じて実体がフォーカスされるような仕組みを追加する場合、実体に関連付けられた仮想体上にポインタが位置しているとき(言い換えれば、仮想体の表示にポインタの表示が重なっているとき)に実体をフォーカスするメソッドを実行するイベントハンドラを仮想体に設定することが考えられる。このとき、仮想体に設定されるイベントハンドラには例えばonmouseoverイベントハンドラが含まれ、実体をフォーカスするメソッドには例えばfocusメソッドが含まれる。また、このようなイベントハンドラを設定する場合、ブラウザ等のソフトウェアの内部処理としてイベントハンドラの設定を保持し、機能させることも可能である。しかしながら、設定されたイベントハンドラを含む中間データ(ドキュメントツリー、エレメントツリー、レイアウトツリー等に相当する、マークアップ文書から描画オブジェクトを生成するまでの中間過程で作られるデータ)を生成してもよい。すなわち、実体をフォーカスするための処理を行うステップは、設定されるイベントハンドラを含む中間データを生成するステップを含んでいてもよい。このような構成にすれば、ブラウザ等のソフトウェアの構造を大幅に変更することなく、本発明を比較的容易に実施することが可能になる。
同様に、上記のコンテンツ情報処理方法は、実体に関連付けられた仮想体が所定のポインタ操作を受けたときに実体をクリックするための処理を行うステップを更に含んでいてもよい。この場合、実体をクリックするための処理を行うステップは、実体に関連付けられた仮想体がクリックされたときに、実体をクリックするメソッドを実行するイベントハンドラを仮想体に設定するステップを含むことが望ましい。また、このとき実体をクリックするための処理を行うステップにおいて仮想体に設定されるイベントハンドラには例えばonclickイベントハンドラが含まれ、実体をクリックするメソッドには例えばclickメソッドが含まれる。このような構成によれば、仮想体に対するクリックに対応するポインタ操作が行われたときに、実体をクリックした効果が容易に実現される。
上記の方法は、一つの実体に関連付けられた仮想体が複数存在する場合に、複数の仮想体の各々が互いに包含関係にあるか否かを判定するステップを更に含んでいてもよい。この場合において、他の仮想体に包含された仮想体については、仮想体が所定のポインタ操作を受けたときに実体をフォーカスするための処理を行わないように構成されることが好ましい。このような構成にすれば、上記方法を実行するために必要な処理量を軽減させることができ、コンテンツ表示のレスポンスが向上する。
また、第2のドキュメントツリーを生成するステップは、所定の種類のイベントハンドラが設定された要素が第1のドキュメントツリーから検出されたときに実行されることが好ましい。第2のドキュメントツリーを使用して行われる本願発明に係る各種の処理は、仮想体に対するユーザ操作を有効にするためのものである。従って、仮想体となり得る所定の種類のイベントハンドラが設定された要素が第1のドキュメントツリーから検出されない場合には、そもそも本願発明に係る各種の処理は行われる必要が無い。したがって、このような構成にすれば、CPCが無用な処理を行うことが無くなり、処理速度を向上させることができる。
また、本発明により、上記方法の各ステップをコンピュータに実行させるためのプログラムも提供される。
また、本発明により、マークアップ言語で記述された文書に基づいてコンテンツをディスプレイにインタラクティブに表示するため処理を行う情報処理装置が提供される。本発明により提供される情報処理装置は、ポインティングデバイスによる入力操作を受け付けるポインティングデバイス入力受付手段と、文書を取得する手段と、文書を構文解析して第1のドキュメントツリーを生成する第1ドキュメントツリー生成手段と、フォーカスされたときに他の要素である仮想体の表示を変化させる実体となり得る所定の種類のイベントハンドラが設定された要素を、第1のドキュメントツリーから検出する実体候補検出手段と、文書に基づく第2のドキュメントツリーを生成する第2ドキュメントツリー生成手段と、第2のドキュメントツリーに対して、前記検出された実体となり得る要素の各々に
ついて、設定された前記所定の種類のイベントハンドラの各々を実行するイベントハンドラ実行手段と、所定の種類のイベントハンドラの実行によって他の要素の表示が変化したときに、該イベントハンドラが設定された要素を実体と判定し、該表示が変化した要素を該実体に関連付けられた仮想体と判定する実体/仮想体関係判定手段と、実体に関連付けられた仮想体が所定のポインタ操作を受けたときに該実体をフォーカスするための処理を行うフォーカス処理手段とを備えている。
また、第2ドキュメントツリー生成手段は、第1のドキュメントツリーの複製によって第2のドキュメントツリーを生成するように構成されていることが好ましい。
また、フォーカス処理手段は、実体に関連付けられた仮想体上にポインタが位置しているときに実体をフォーカスするメソッドを実行するイベントハンドラを仮想体に設定する第1イベントハンドラ設定手段を含んでいることが好ましい。
また、フォーカス処理手段は、第1イベントハンドラ設定手段によって設定されるイベントハンドラを含む中間データを生成する中間データ生成手段を含んでいてもよい。第1イベントハンドラ設定手段によって設定されるイベントハンドラには例えばonmouseoverイベントハンドラが含まれ、実体をフォーカスするメソッドには例えばfocusメソッドが含まれる。
上記の情報処理装置は、実体に関連付けられた仮想体が所定のポインタ操作を受けたときに実体をクリックするための処理を行うクリック処理手段を更に備えていてもよい。
このクリック処理手段は、実体に関連付けられた仮想体がクリックされたときに、実体をクリックするメソッドを実行するイベントハンドラを仮想体に設定する第2イベントハンドラ設定手段を含んでいることが好ましい。第2イベントハンドラ設定手段によって設定されるイベントハンドラには例えばonclickイベントハンドラが含まれ、実体をクリックするメソッドには例えばclickメソッドが含まれる。
コンテンツ情報処理装置は、一つの実体に関連付けられた仮想体が複数存在する場合に複数の仮想体の各々が互いに包含関係にあるか否かを判定する手段を更に備えていてもよい。この場合において、フォーカス処理手段は、一つの実体に関連付けられた複数の仮想体に包含関係が存在する場合に、他の仮想体に包含された仮想体については仮想体が所定のポインタ操作を受けたときに実体をフォーカスするための処理を行わないように構成されていることが好ましい。
本発明によれば、十字キー等のポインティングデバイス以外のユーザ入力手段の使用を想定して作成されたコンテンツの振る舞いを、ポインティングデバイスを使用した入力に適したものに最適化するコンテンツ情報処理方法、コンテンツ情報処理プログラム、及びコンテンツ情報処理装置が提供される。
以下、図面を参照しながら、本発明の実施形態について説明する。
図1は、本発明の実施形態である端末装置10の外観図である。図1(a)は上面、(b)は下面を示す。また、図2は、端末装置10の概略構成を示すブロック図である。なお、本実施形態において端末装置10は携帯電話端末であるが、例えばPDA(Personal Digital Assistants)や、PHS(Personal Handy phone System)、携帯ゲーム機、家電、デスクトップPC、ラップトップPC、デジタルテレビ受像機等の、Webブラウザやデジタルデータ放送用ブラウザ等の各種デジタルコンテンツ用ブラウザを実装した別形態の端末にも置換可能である。
図2に示されるように、端末装置10は、装置全体の制御を統括的に実行するCPU(Central Processing Unit)103を有している。端末装置10を構成する各要素は、システムバス119を介してCPU103と相互に接続されている。端末装置10を構成する各要素には、ROM(Read Only Memory)105、RAM(Random Access Memory)107、無線通信部108、タッチパネルセンサ109、ディスプレイ110、スピーカ111、マイク112、VRAM(Video Random Access Memory)115、及び電源部116等がある。なお、システムバス119はデータラインの他に電源ラインも備えている。また、タッチパネルセンサ109は、ディスプレイ110の表示画面を構成する透明基板上に該基板と一体に形成されており、ディスプレイ110と共にタッチパネルディスプレイを構成する。CPU103を始めとする端末装置10の各要素には、バッテリを備えた電源部116から電源ラインを介して電源供給が行われる。電源部116からの給電は電源On/Offキー117によって制御される。
ROM105は、フラッシュメモリ等の不揮発性の半導体メモリであり、携帯端末用OS(Operating System)1050の他に、ブラウザ1051等の各種アプリケーションプログラムや各種の設定用データ等が記憶される補助記憶装置である。ブラウザ1051は、HTML(Hypertext Transfer Protocol)やXHTML(eXtensible HyperText Markup Language)等で記述されたWebコンテンツの他、BML(Broadcast Markup Language)等で記述されたデータ放送コンテンツの閲覧を可能にするアプリケーションプログラムである。なお、BMLは、社団法人電波産業会によって策定されたXML(Extensible Markup Language)ベースのデータ放送用記述言語である。
CPU103は、端末装置10の電源投入後、システムバス119を介して必要なハードウェアにアクセスする。例えば端末装置10の電源投入直後、CPU103は、ROM105にアクセスしてOS(Operating System)1050を読み出して、RAM107にロードして起動する。これにより、各要素がOS1050によるリソースおよびプロセスの管理下で連係動作して各種処理を実行する。
例えばタッチパネルセンサ109へのフィンガータッチによりブラウザ1051を起動させる操作が行われたとき、OS1050は、ブラウザ1051をOS1050上で動作させるため、ブラウザ1051をRAM107にロードして起動する。OS1050により起動されたブラウザ1051は、ユーザによるWebコンテンツへのアクセスやデータ放送受信の操作等に応じてCPU103等のハードウェアと協働して処理を行う。かかる処理の結果として、ユーザは、ディスプレイ110を通じてWebコンテンツの閲覧やデータ放送等の視聴をすることができる。
無線通信部108は、アンテナ108aによって受信された電波から所定の周波数の信号を抽出してベースバンド信号に変換するチューナ部、ベースバンド信号をAD変換、OFDM(Orthogonal Frequency Division Multiplexing)復調および誤り訂正を行って放送局が送信するMPEG−2 TS(MPEG-2 Transport Stream)ストリームを出力する復調部と、MPEG−2 TSストリームから映像・音声・データの各信号(ES:Elementary Stream)を分離及びデコードして出力するデコード部を有している。無線通信部108から供給される映像、音声およびデータの各ESを用いてブラウザ1051は各種放送をディスプレイ110に表示し、スピーカ111から音声信号を出力する。
ディスプレイ110は、有機EL(Electro-Luminescence)ディスプレイの表面に静電容量方式のタッチパネルが形成されたものである。ユーザが、指先やスタイラスでタッチパネルディスプレイ110(109)の表示を触れると、それによる静電容量の変化が発生したタッチパネルディスプレイ上の位置が検出され、この入力位置情報がタッチパネルセンサ109から出力される。OS1050(CPU103)は、ディスプレイ110に表示されている各要素の表示位置情報と、タッチパネルセンサ109によって検出された入力位置情報及びその時間変化に基づいてユーザ入力を解釈し、解釈結果に基づいた処理を行う。例えば、待ち受け画面上にデータ放送受信機能に対応するアイコンが表示されているときに、ユーザがアイコンに一瞬だけ指先を触れて離したとする。タッチパネルセンサ109は、ユーザのフィンガータッチによってタッチパネルの静電容量が低下している間だけ、静電容量が低下した位置、すなわちユーザ入力の位置情報をCPU103に送る。OS1050は、受け取った入力位置情報に基づいて、タッチパネルセンサ109の入力位置に対応するディスプレイ110の表示位置に表示されている要素(データ放送受信機能のアイコン)を判定する。また、OS1050は、ユーザ入力位置が変化せず、短時間で終了していることから、ユーザ入力が「クリック」に対応するものであると判定する。従って、OS1050は、ユーザ入力がデータ放送受信開始の指令であると解釈し、ブラウザ1051を起動してデータ放送の受信を開始するよう指令する。このようにして、ユーザはタッチパネル機能付きディスプレイ110(109)に表示された要素を指先やスタイラスで触れることにより、要素の選択や要素に関連付けられた指示の入力、手書き文字入力や図形入力等のユーザ入力を直感的に行うことができる。
なお、ディスプレイ110の表示デバイスの方式は有機EL方式に限らず、液晶ディスプレイ等の別の表示方式であってもよい。タッチパネルの方式も、静電容量方式に限らず、抵抗膜方式や表面弾性波方式等の別の方式であってもよい。また、タッチパネルに限らず、タッチパッド、ポインティング・スティック、トラックボール、マウス等の別の種類のポインティングデバイスであってもよい。
さらに、端末装置10は、ジャイロセンサ、加速度センサ、ジャークセンサ等の運動センサから構成されるユーザ入力デバイスを備えていてもよい。この場合、例えばCPU103が各種センサの出力を監視して端末装置10本体の傾斜角度、角速度、加速度、躍度(加速度の時間変化率)等を測定し、その測定値に応じた画面スクロールがCPU103とブラウザ1051との連係動作によって実現される。例えばユーザが端末装置10本体を上下左右に移動や傾斜をさせたとき、その移動方向や速度、傾斜角度等に応じた画面スクロールが行われる。そのため、ユーザは、コンテンツの表示領域をより直感的にスクロールさせることができる。
次にブラウザ1051の機能、特に、ブラウザ1051の基本的な構成要素であるブラウザエンジン30について詳しく説明する。図3は、ブラウザエンジン30の機能ブロック図である。図3に示されるように、ブラウザエンジン30は、パーサ31、ページメーカ32、ページエディタ33、及び後述する本発明の実施形態に特徴的な仮想体処理機能部34の各機能ブロックから構成されている。
データ放送視聴を開始する操作、例えばディスプレイ110の待ち受け画面に表示されたデータ放送受信機能を示すアイコンが、マウスのクリック操作に対応する上述のフィンガータッチを受けると、ブラウザ1051が起動して、無線通信部108が供給する放送信号の読み取りを開始する。データ放送信号は、起動ファイル、ファイル一覧表(DII)及びデータ放送コンテンツの各ページを構成するBMLで記述されたマークアップ文書21並びに各モノメディアファイル(例えばPNG形式の画像ファイル等)からなるモジュールから構成される1単位のデータが繰り返される、ARIB規格に準拠したDSM−CC(Digital Storage Media Command and Control)カールーセル伝送方式のデータストリームである。ブラウザ1051は、データ放送信号(放送信号中のデータES)の1単位(1周期分)を読み取ると、所定のデータフォーマットに基づいてマークアップ文書21及び各モノメディアファイルを抽出する。
パーサ31は、ESから抽出されたマークアップ文書21を構文解析して、その解析結果からマークアップ文書21の論理構造をツリー構造で表現したドキュメントツリー23(例えばDOM(Document Object model)ツリー)を生成してRAM107に展開する。なお、ドキュメントツリー23は、マークアップ文書21を構成する各要素をノードにもつ、マークアップ文書21のアウトラインを表すデータである。ドキュメントツリー23は、マークアップ文書21の論理構造を表現するのみであり、ドキュメントの表現に関する情報までは含んでいない。
ページメーカ32は、ドキュメントツリー23を基に、各タグで決められた表示スタイル(p, div, span等)の情報を含むエレメントツリー25を生成して、マークアップ文書21内で指定されている画像のリクエストやイベント処理の登録等を行い、RAM107に格納する。エレメントツリー25は、p, div, span 等の要素がどのような順序や包含関係で存在しているかを表現しているが、これらの要素が画面のどこにどのような幅と高さで表示されるか、テキストがどこで折り返されるか等のレイアウトに関する情報までは含んでいない。
ページエディタ33は、設定されている表示倍率や表示モードにしたがって、エレメントツリー25の各ノード(要素)のレイアウト(つまり各要素のテキストの折り返しや、画面上の位置、幅、高さ等)や色等を一つずつ決定し、各要素のレイアウトを表現するレイアウトツリー27を生成する。
レイアウトが決定された要素は逐次、ページエディタ33によりRAM107の所定領域に作成されたイメージバッファ1071にレンダリングされる。イメージバッファ1071には、ディスプレイ110への表示が予定される領域およびその周辺領域に存在する要素がレンダリングされる。すなわち、ページエディタ33によりレンダリングされたイメージバッファ1071の全領域のレンダリング結果(描画オブジェクト)は一画面に表示されるわけではない。ディスプレイ110には、ブラウザ1051が指定するイメージバッファ1071上の、コンテンツを表示するウィンドウに対応した領域(以下、当該領域を「指定領域」と記す。)のレンダリング結果が表示される。
VRAM115は、ディスプレイ110に直接表示される内容を保持するメモリであり、ディスプレイ110の画面サイズに対応するイメージ領域を有している。VRAM115には、ツールバー等の画像とともにイメージバッファ1071の指定領域にレンダリングされた内容が書き込まれる。そのため、レイアウトが決定された要素がイメージバッファ1071に逐次レンダリングされたとき、そのレンダリング結果がVRAM115に逐次書き込まれていく。これにより、コンテンツの各要素がディスプレイ110に次々と表示される。ブラウザ1051による以上の処理を経て、コンテンツがディスプレイ110に表示される。
以上が通常のコンテンツを表示する際に必要なブラウザ1051の要素と動作である。本実施形態のブラウザ1051は、実体/仮想体コンテンツの振る舞いをタッチパネル入力に適したものに最適化するための処理を行う仮想体処理機能部34を更に有している。以下に、本実施形態のブラウザ1051が実体/仮想体コンテンツを表示する際に行う特徴的な処理について詳細に説明する。
まず、実体/仮想体コンテンツであるマークアップ文書21の構成を説明する。図4に、マークアップ文書21の画面表示例21’を示す。マークアップ文書21は、データ放送コンテンツを記述するBMLファイルである。表示画面21’の左端に並ぶ微小の矩形表示S1〜S4は、それぞれ「実体」としてのobject要素の表示である。実体S1〜S4は、例えば、できるだけ小さく(例えば1ピクセル×1ピクセルのサイズで)表示されるように設定されたり、画面の端に配置されたり、あるいは背景と同系色で表示されるなどして、ユーザに気づかれ難い目立たない態様で表示されるようになっている。また、実体S1〜S4は、ユーザが視認できないように、他の要素の裏側に隠れるように配置される場合もある。
一方、画面中央に並ぶ「今日のおすすめ」、「注目の新番組」、「ニュース速報」及び「天気」の各表示V1〜V4は、それぞれ実体S1〜S4に対応する「仮想体」としてのimg要素の表示である。object要素S1〜S4にはonfocusイベントハンドラ(onfocus属性)が設定されており、object要素S1〜S4がフォーカスされている間は対応する仮想体V1〜V4のイメージファイルを別ファイル(強調表示のイメージファイル)に差し替えるスクリプトが実行されるようになっている。
また、マークアップ文書21は、デフォルトでobject要素S1がフォーカスされるように構成されている。また、本実施形態においては、フォーカスされている要素の周囲に太線が表示されるようにブラウザ1051が設定されている。そのため、図4では、フォーカスされているobject要素S1が太線で囲まれて表示されている。また、object要素S1〜S4にはonfocusイベントハンドラが設定されており、object要素がフォーカスされている間は仮想体V1〜V4の表示を通常表示画像(図4におけるV2〜4の表示パターン)から強調表示画像(図4におけるV1の表示パターン)に切り替えるスクリプトが実行されるようになっている。object要素S1〜S4には更にonclickイベントハンドラが設定されており、例えば固定式テレビ受像機のリモコンの決定キーの押下操作等、マウスのクリック操作に相当するイベントの発生をトリガーとして、イベントハンドラにより設定された所定の処理が実行されるようになっている。マークアップ文書21は、onclickイベントハンドラが実行されると、表示V1〜V4の示す項目に対応するページに画面表示が遷移するように構成されている。
上記のデータ放送コンテンツを固定式テレビ受像機等で視聴する場合、図4の表示がされているときにリモコンの十字キーの下方向キーを押すと、画面表示は図5の状態に遷移する。すなわち、フォーカスがobject要素S1からS1の下方に配置されたobject要素S2に移り、これに伴い仮想体V1の表示が強調表示画像から通常表示画像に、仮想体V2の表示が通常表示画像から強調表示画像に切り替えられている。しかし、仮想体V1〜V4はフォーカス対象ではなく単なる表示に過ぎないため、後述する本発明に特徴的な処理を行わなければ、タッチパネル機能付きディスプレイ110に表示された仮想体V1〜V4にポインタを合わせても仮想体V1〜V4を強調表示させる(すなわち、仮想体V1〜V4に対応する実体S1〜S4にフォーカスを移す)ことはできない。
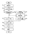
図6は、本実施形態のブラウザ1051がデータ放送コンテンツを表示する際の処理を示すフローチャートである。また、図7は、図6のフローチャートにおけるステップ5(仮想体検出処理)の処理の詳細を示したものでる。なお、以下の説明及び図面において、処理の各ステップをSTと略記する。
データ放送の視聴開始を指示するユーザ入力等をトリガーとして図6の処理が開始する。図6の処理が開始すると、ブラウザ1051は無線通信部108から提供されるデータ放送のESを取得し、ESからマークアップ文書21を抽出して取得する(ST1)。次に、ブラウザ1051のパーサ31がマークアップ文書21の構文を解析(パージング)して、ドキュメントツリー23を作成し、RAM107に展開する(ST2)。
次に、仮想体処理機能部34はドキュメントツリー23を検索して、仮想体の表示を変化させる実体となり得る所定の要素(実体候補)を検出する(ST3)。本実施形態では、所定の要素としてonfocusのみ又はonfocus 及びonclickの両方のイベントハンドラを含むobject要素が検出される。しかし、所定の要素として適切なものは、これらの要素に限定されるものではなく、またマークアップ文書21を記述する言語にも依存する。例えば、マークアップ文書がHTMLで記述されたものである場合は、フォーカス可能な要素としてはobject要素以外にもa要素やinput要素も存在し、これらの要素は仮想体を伴う実体となり得る。ドキュメントツリー23から所定の要素が含まれていなければ(ST3:NO)、従来のブラウザと同様の処理を行ってマークアップ文書21によって記述されたコンテンツをディスプレイ110に表示する。すなわち、ブラウザ1051は、エレメントツリー25の作成(ST7)、レイアウトツリー27の作成(ST8)及びレンダリング(ST9)の一連の処理によって描画オブジェクトを生成して、コンテンツをディスプレイ110に表示する(ST10)。
一方、ドキュメントツリー23に所定の要素が含まれている、すなわち仮想体を伴う実体が存在する可能性が高いと判断されると(ST3:YES)、ブラウザ1051は、コンテンツ内の仮想体を検出する処理(以下、「仮想体検出処理」という。)を行うために使用するドキュメントツリー23の複製(以下、「仮想体検出用ドキュメントツリー24」という。)を生成して、RAM107内のドキュメントツリー23とは別の領域に展開する(ST4)。そして、ブラウザ1051の仮想体処理機能部34は、この複製した仮想体検出用ドキュメントツリー24を用いて、次に説明する仮想体検出処理を行う(ST5)。
次に、図7を参照しながら本実施形態の仮想体検出処理ST5の詳細を説明する。仮想体検出処理S5において、仮想体処理機能部34は、まず実際に仮想体に関連付けられたフォーカスポイントである実体を検出する(ST51)。この作業をコレクション(collection)という。具体的には、ST3の処理において検出した所定の要素(本実施形態ではonfocusのみ又はonfocus 及びonclickの両方のイベントハンドラを含むobject要素)の各々についてonfocus(及びonclick)イベントハンドラを実行し、これによって仮想体検出用ドキュメントツリー24が変更されるかどうかを確認する。イベントハンドラの実行によって変化した要素があれば、その要素が仮想体であると判定される。
仮想体が検出されなければ(ST52:NO)、処理は図6のST7へ進み、従来のブラウザと同様の処理に戻る。また、仮想体が検出されると(ST52:YES)、次に仮想体の親子関係の整理(ST53)、すなわち共通の実体に関連付けられた仮想体が包含関係をもつ場合に最上位の仮想体以外の実体/仮想体関係を無効にする処理へ進む。親子関係の整理の詳細は後述する。
仮想体検出用ドキュメントツリー24を対象とする仮想体検出処理ST5が終わると、次に画面表示用のドキュメントツリー23に対する処理に移る。仮想体処理機能部34は、まずページメーカ32と協働して、ドキュメントツリー23及び仮想体検出処理ST5において検出された実体/仮想体の関係(処理ST53において無効にされた関係を除く)に基づいて、エレメントツリー25を作成する(ST6)。本処理ST6と通常のエレメントツリー作成処理ST7との相違は、検出された実体/仮想体の関係に基づいて仮想体に付加的な各種イベントハンドラが設定される点にある。本実施形態においては、仮想体と判定された要素にonmouseover、onclick、onmousedownの各イベントハンドラが設定される。まず、仮想体にonmouseoverイベントハンドラを設定して、ポインタが仮想体の上に位置しているときに実体にフォーカスを移す(具体的には、例えばfocus()メソッドを実行する)ように設定する。また、仮想体にonclickイベントハンドラを設定して、ポインタによって仮想体がクリックされたときに実体をクリックする(すなわちclick()メソッドを実行する)ように設定する。更に、仮想体にonmousedownイベントハンドラを設定する。これにより、mousedownイベントがキャンセルされ、想定外のフォーカス移動等を抑止することができる。ST6における各種イベントハンドラの設定により、仮想体に対するポインタ操作が可能になり、タッチパネル等のポインティングデバイスを使用して実体/仮想体コンテンツに対して所望のユーザ入力を行うことができるようになる。
エレメントツリー25を作成した後は、従来のブラウザと同様の処理ST8〜ST10が実行され、ポインティングデバイスによるポインタ操作が可能になった実体/仮想体コンテンツがディスプレイ110に表示される。
次に、上述した親子関係の整理(ST53)について詳しく説明する。図8は、仮想体の親子関係の整理を説明するためのドキュメントツリーの例である。図8(a)は親子関係を整理する前のドキュメントツリー、図8(b)は親子関係を整理した後のドキュメントツリーの概略構成を示す。また、図8に示されるコンテンツの画面表示例を図9に示す。div要素等は、複数の要素を包含してグループ化することができる(ここで、包含する要素を「親要素」、包含される要素を「子(孫)要素」、包含関係を「親子関係」と呼ぶ)。この包含関係は、図8に示されるように表示領域の包含関係も与える。すなわち、親要素(div要素等)によってグループ化される各要素(子要素、孫要素・・・)は、親要素の表示領域内に配置される。
図8(a)に示す例では、要素E4〜E6、E8、E9及びE11が要素E3(実体A)の仮想体となっている。このうち、要素E4〜E6は互いに親子関係にある。また、要素E8とE9、E8とE11も互いに親子関係にある。また、要素E13は要素E12(実体B)の仮想体である。
まず、親子関係にある要素E4〜E6について考える。要素E4は要素E3(実体A)の仮想体であるため、処理ST6において要素E4にonmouseover、onclick、onmousedownの各イベントハンドラが設定される。すなわち、図9における要素E4の枠内にポインタが位置するときに、対応する実体Aがフォーカスされ、また、このときに行われるポインティングデバイスによるポインタ操作に応じて対応するメソッドが実体Aに対して実行されるようにイベントハンドラが設定される。なお、要素E4の子要素E5や孫要素E6は要素E4の表示領域内に表示されるため、要素E4について設定された上記のイベントハンドラは、子要素E5や孫要素E6の表示領域内にポインタが位置しているときにも実行される。
親子関係の整理(ST53)が行われなければ、子要素E5や孫要素E6に対してもイベントハンドラの設定(ST6)が行われる。しかしながら、子要素E5や孫要素E6等の下位の要素に対してはイベントハンドラの設定を行わなくても、親要素E4に対するイベントハンドラさえ設定すれば、上述したように同じ効果が実現される。そこで、親子関係の整理(ST53)においては、同じ実体と関連付けられた仮想体のうち、互いに親子関係にあるものを検出し、その中で最も上位(親)の仮想体以外については、実体/仮想体関係を無効にする(あるいは消去する)処理を行う。これにより、処理ST6において親子関係を有する下位の要素(子要素E5や孫要素E6)に不要なイベントハンドラが設定されることがなくなり、したがってCPUの処理量が削減され、処理時間の短縮やメモリ使用量の低減が実現される。
なお、整理される仮想体の親子関係は、要素E4〜E6のように直接連鎖したものである必要は無い。例えば要素E8とE11との関係のように、要素E10等の仮想体ではない要素を介した間接的な親子関係(包含関係)も含まれる。また、要素E4とE8との関係のように、同じ実体に関連付けられた仮想体同士であっても、親子関係にない要素は整理の対象とはならない。
以上が本発明の実施形態の説明である。上記に説明した実施形態は本発明の実施の形態の一例に過ぎない。すなわち、本発明は、上記実施形態の具体的態様に限定されるものではなく、本発明の技術的思想の範囲において様々な変形が可能である。例えば、上記の実施形態はBMLで記述されたデータ放送コンテンツを視聴する例であるが、本発明の効果が発揮されるコンテンツはBMLで記述されたものに限定されず、HTML、Compact HTML、MML(Mobile Markup Language)、HDML(Handheld Device Markup Language)、WML(Wireless Markup Language)、XHTML、XML、SGML(Standard Generalized Markup Language)等の各種マークアップ言語で記述されたコンテンツの閲覧において本発明は有効である。また、コンテンツの種類もデータ放送コンテンツに限らず、Webコンテンツ、電子マニュアル、電子辞書、その他の様々なデジタルコンテンツに対して本発明は有効である。また、上記の実施形態においては、エレメントツリーを生成する段階でイベントハンドラの設定が行われているが、イベントハンドラを設定する段階はエレメントツリーの生成ステップに限定されない。例えば、BML文書やHTML文書等のマークアップ文書(もしくはマークアップ文書に付随するスクリプト)自体にイベントハンドラを設定してもよく、あるいはドキュメントツリーやエレメントツリー、レイアウトツリー等の他の中間データを生成する際に、又は一度生成された中間データを加工する形式でイベントハンドラを設定してもよい。また、上記実施形態のように、ドキュメントツリーやエレメントツリー等のコンテンツの中間データに対して直接イベントハンドラを設定する(すなわち、コンテンツのデータ自体を変更する)のではなく、ブラウザの内部処理として、任意の要素のイベントハンドラを追加する構成にすることもできる。
また、図6のフローチャートに示されるように、上記の実施形態において実体/仮想体コンテンツを閲覧する場合は、仮想体検出処理ST5やイベントハンドラの設定ST6等の一連の処理を行った後で初めてコンテンツが表示される。しかし、処理ST5やST6は一定の負荷を端末に掛ける。このため、処理能力の低い端末でこのような処理を行うと、ユーザによる指示からコンテンツ表示までの待ち時間が長くなるため、ユーザがストレスを感じたり、正常に動作していないものと誤認してユーザ入力による指示を繰り返すことにより一層処理が遅延したりするという問題が生じる。そこで、処理能力の低い端末において本発明を実施する場合には、最初に従来のブラウザと同様の処理(すなわち、ST1、ST2及びST7〜ST10の処理)を行って一旦画面表示を行うと同時にユーザ入力の受け付けを停止し、その間に改めて図6に示す一連の処理を行って、処理後のコンテンツを改めて表示すると同時にユーザ入力の受け付けを再開するように構成してもよい。このような処理を行うことにより、画面表示までの待ち時間を短時間に抑えることが可能になるため、ユーザの感じるストレスや不要なユーザ入力を抑制しつつ、ポインティングデバイスによる実体/仮想体コンテンツに対する直感的なユーザ入力が可能になる。
本発明の実施形態による端末装置の外観を示した図である。 本発明の実施形態による端末装置の概略構成を示したブロック図である。 本発明の実施形態によるブラウザに含まれるブラウザエンジンの機能ブロック図である。 本発明の実施形態の説明に用いるデータ放送コンテンツの表示例を示す図である。 本発明の実施形態の説明に用いるデータ放送コンテンツの表示例を示す図である。 本発明の実施形態によるコンテンツの最適化処理を説明するフローチャートである。 図6のフローチャートにおける処理ST5の詳細を示すフローチャートである。 親子関係の整理を説明するためのドキュメントツリー例の概略を示す図である。 図8のドキュメントツリーで表現されるコンテンツの表示例を示す図である。
符号の説明
10 端末装置
21 マークアップ文書
23 ドキュメントツリー
24 仮想体検出用ドキュメントツリー
25 エレメントツリー
27 レイアウトツリー
30 ブラウザエンジン
31 パーサ
32 ページメーカ
33 ページエディタ
34 仮想体処理機能部
103 CPU
105 ROM
107 RAM
108 無線通信部
109 タッチパネルセンサ
110 ディスプレイ
111 スピーカ
112 マイク
115 VRAM
116 電源部
117 電源On/Offキー
1050 OS
1051 ブラウザ
1071 イメージバッファ

Claims (23)

  1. ポインティングデバイスによる操作を受付可能な情報処理装置において、マークアップ言語で記述された文書に基づいてコンテンツをディスプレイにインタラクティブに表示するため処理を行う方法であって、
    前記文書を構文解析して第1のドキュメントツリーを生成するステップと、
    フォーカスされたときに他の要素である仮想体の表示を変化させる実体となり得る所定の種類のイベントハンドラが設定された要素を、前記第1のドキュメントツリーから検出するステップと、
    前記文書に基づく第2のドキュメントツリーを生成するステップと、
    前記第2のドキュメントツリーに対して、前記検出された実体となり得る要素の各々について、設定された前記所定の種類のイベントハンドラの各々を実行するステップと、
    前記所定の種類のイベントハンドラの実行によって他の要素の表示が変化したときに、該イベントハンドラが設定された要素を実体と判定し、該表示が変化した要素を該実体に関連付けられた仮想体と判定するステップと、
    前記実体に関連付けられた仮想体が所定のポインタ操作を受けたときに該実体をフォーカスするための処理を行うステップと
    を含むコンテンツ情報処理方法。
  2. 前記第2のドキュメントツリーは、前記第1のドキュメントツリーの複製によって生成される
    ことを特徴とする請求項1に記載のコンテンツ情報処理方法。
  3. 前記実体をフォーカスするための処理を行うステップは、前記実体に関連付けられた仮想体上にポインタが位置しているときに該実体をフォーカスするメソッドを実行するイベントハンドラを仮想体に設定するステップを含む
    ことを特徴とする請求項1又は2に記載のコンテンツ情報処理方法。
  4. 前記実体をフォーカスするための処理を行うステップにおいて、前記仮想体に設定されるイベントハンドラはonmouseoverイベントハンドラを含み、前記実体をフォーカスするメソッドはfocusメソッドを含む
    ことを特徴とする請求項3に記載のコンテンツ情報処理方法。
  5. 前記実体をフォーカスするための処理を行うステップは、該ステップにおいて設定されるイベントハンドラを含む中間データを生成するステップを含む
    ことを特徴とする請求項3または4に記載のコンテンツ情報処理方法。
  6. 前記実体に関連付けられた仮想体が所定のポインタ操作を受けたときに該実体をクリックするための処理を行うステップを更に含む
    ことを特徴とする請求項1から5のいずれかに記載のコンテンツ情報処理方法。
  7. 前記実体をクリックするための処理を行うステップは、前記実体に関連付けられた仮想体がクリックされたときに、該実体をクリックするメソッドを実行するイベントハンドラを仮想体に設定するステップを含む
    ことを特徴とする請求項6に記載のコンテンツ情報処理方法。
  8. 前記実体をクリックするための処理を行うステップにおいて、前記仮想体に設定されるイベントハンドラはonclickイベントハンドラを含み、前記実体をクリックするメソッドはclickメソッドを含む
    ことを特徴とする請求項7に記載のコンテンツ情報処理方法。
  9. 一つの前記実体に関連付けられた前記仮想体が複数存在する場合において、該複数の仮想体の各々が互いに包含関係にあるか否かを判定するステップを更に含む
    ことを特徴とする請求項1から8に記載のコンテンツ情報処理方法。
  10. 前記一つの実体に関連付けられた複数の仮想体に包含関係がある場合に、他の仮想体に包含された仮想体については、該仮想体が所定のポインタ操作を受けたときに該実体をフォーカスするための処理を行わない
    ことを特徴とする請求項9に記載のコンテンツ情報処理方法。
  11. 前記第2のドキュメントツリーを生成するステップは、前記所定の種類のイベントハンドラが設定された要素が前記第1のドキュメントツリーから検出されたときに実行されることを特徴とする請求項1から10のいずれかに記載のコンテンツ情報処理方法。
  12. 請求項1から11の何れかに記載の方法の各ステップをコンピュータに実行させるためのコンピュータプログラム。
  13. マークアップ言語で記述された文書に基づいてコンテンツをディスプレイにインタラクティブに表示するため処理を行う情報処理装置であって、
    ポインティングデバイスによる入力操作を受け付けるポインティングデバイス入力受付手段と、
    前記文書を取得する手段と、
    前記文書を構文解析して第1のドキュメントツリーを生成する第1ドキュメントツリー生成手段と、
    フォーカスされたときに他の要素である仮想体の表示を変化させる実体となり得る所定の種類のイベントハンドラが設定された要素を、前記第1のドキュメントツリーから検出する実体候補検出手段と、
    前記文書に基づく第2のドキュメントツリーを生成する第2ドキュメントツリー生成手段と、
    前記第2のドキュメントツリーに対して、前記検出された実体となり得る要素の各々に
    ついて、設定された前記所定の種類のイベントハンドラの各々を実行するイベントハンドラ実行手段と、
    前記所定の種類のイベントハンドラの実行によって他の要素の表示が変化したときに、該イベントハンドラが設定された要素を実体と判定し、該表示が変化した要素を該実体に関連付けられた仮想体と判定する実体/仮想体関係判定手段と、
    前記実体に関連付けられた仮想体が所定のポインタ操作を受けたときに該実体をフォーカスするための処理を行うフォーカス処理手段と
    を備えたコンテンツ情報処理装置。
  14. 第2ドキュメントツリー生成手段は、前記第1のドキュメントツリーの複製によって前記第2のドキュメントツリーを生成する
    ことを特徴とする請求項13に記載のコンテンツ情報処理装置。
  15. 前記フォーカス処理手段は、前記実体に関連付けられた仮想体上にポインタが位置しているときに該実体をフォーカスするメソッドを実行するイベントハンドラを仮想体に設定する第1イベントハンドラ設定手段を含む
    ことを特徴とする請求項13又は14に記載のコンテンツ情報処理装置。
  16. 前記フォーカス処理手段は、第1イベントハンドラ設定手段によって設定されるイベントハンドラを含む中間データを生成する中間データ生成手段を含む
    ことを特徴とする請求項15に記載のコンテンツ情報処理装置。
  17. 前記第1イベントハンドラ設定手段によって設定されるイベントハンドラはonmouseoverイベントハンドラを含み、前記実体をフォーカスするメソッドはfocusメソッドを含む
    ことを特徴とする請求項15または16に記載のコンテンツ情報処理装置。
  18. 前記実体に関連付けられた仮想体が所定のポインタ操作を受けたときに該実体をクリックするための処理を行うクリック処理手段を更に備える
    ことを特徴とする請求項13から17のいずれかに記載のコンテンツ情報処理装置。
  19. 前記クリック処理手段は、前記実体に関連付けられた仮想体がクリックされたときに、該実体をクリックするメソッドを実行するイベントハンドラを仮想体に設定する第2イベントハンドラ設定手段を含む
    ことを特徴とする請求項18に記載のコンテンツ情報処理装置。
  20. 前記第2イベントハンドラ設定手段によって設定されるイベントハンドラはonclickイベントハンドラを含み、前記実体をクリックするメソッドはclickメソッドを含む
    ことを特徴とする請求項19に記載のコンテンツ情報処理装置。
  21. 一つの前記実体に関連付けられた前記仮想体が複数存在する場合において、該複数の仮想体の各々が互いに包含関係にあるか否かを判定する手段を更に備える
    ことを特徴とする請求項13から20のいずれかに記載のコンテンツ情報処理装置。
  22. 前記フォーカス処理手段は、前記一つの実体に関連付けられた複数の仮想体に包含関係が存在する場合に、他の仮想体に包含された仮想体については、該仮想体が所定のポインタ操作を受けたときに該実体をフォーカスするための処理を行わない
    ことを特徴とする請求項21に記載のコンテンツ情報処理装置。
  23. 前記第2のドキュメントツリーは、前記所定の種類のイベントハンドラが設定された要素が前記第1のドキュメントツリーから検出されたときに実行されることを特徴とする請求項13から22のいずれかに記載のコンテンツ情報処理装置。

JP2008249991A 2008-09-12 2008-09-29 コンテンツ情報処理方法、コンテンツ情報処理プログラム、及びコンテンツ情報処理装置 Expired - Fee Related JP5237031B2 (ja)

Priority Applications (1)

Application Number Priority Date Filing Date Title
JP2008249991A JP5237031B2 (ja) 2008-09-12 2008-09-29 コンテンツ情報処理方法、コンテンツ情報処理プログラム、及びコンテンツ情報処理装置

Applications Claiming Priority (3)

Application Number Priority Date Filing Date Title
JP2008235738 2008-09-12
JP2008235738 2008-09-12
JP2008249991A JP5237031B2 (ja) 2008-09-12 2008-09-29 コンテンツ情報処理方法、コンテンツ情報処理プログラム、及びコンテンツ情報処理装置

Publications (2)

Publication Number Publication Date
JP2010092082A true JP2010092082A (ja) 2010-04-22
JP5237031B2 JP5237031B2 (ja) 2013-07-17

Family

ID=42254772

Family Applications (1)

Application Number Title Priority Date Filing Date
JP2008249991A Expired - Fee Related JP5237031B2 (ja) 2008-09-12 2008-09-29 コンテンツ情報処理方法、コンテンツ情報処理プログラム、及びコンテンツ情報処理装置

Country Status (1)

Country Link
JP (1) JP5237031B2 (ja)

Cited By (2)

* Cited by examiner, † Cited by third party
Publication number Priority date Publication date Assignee Title
JP2012079090A (ja) * 2010-10-01 2012-04-19 Sony Corp 情報処理装置、情報処理方法
JP2017194970A (ja) * 2016-03-31 2017-10-26 株式会社インフォシティ 文書閲覧装置

Citations (4)

* Cited by examiner, † Cited by third party
Publication number Priority date Publication date Assignee Title
JPH04319732A (ja) * 1991-04-18 1992-11-10 Fuji Xerox Co Ltd データ処理装置
JP2003060593A (ja) * 2001-08-20 2003-02-28 Sony Corp データ放送受信装置及びそのコンポーネント選択方法
JP2004242284A (ja) * 2002-12-04 2004-08-26 Canon Inc 情報処理装置、情報処理方法、記憶媒体、およびプログラム
JP2009223655A (ja) * 2008-03-17 2009-10-01 Sanyo Electric Co Ltd 表示制御装置および表示制御プログラム

Patent Citations (4)

* Cited by examiner, † Cited by third party
Publication number Priority date Publication date Assignee Title
JPH04319732A (ja) * 1991-04-18 1992-11-10 Fuji Xerox Co Ltd データ処理装置
JP2003060593A (ja) * 2001-08-20 2003-02-28 Sony Corp データ放送受信装置及びそのコンポーネント選択方法
JP2004242284A (ja) * 2002-12-04 2004-08-26 Canon Inc 情報処理装置、情報処理方法、記憶媒体、およびプログラム
JP2009223655A (ja) * 2008-03-17 2009-10-01 Sanyo Electric Co Ltd 表示制御装置および表示制御プログラム

Cited By (2)

* Cited by examiner, † Cited by third party
Publication number Priority date Publication date Assignee Title
JP2012079090A (ja) * 2010-10-01 2012-04-19 Sony Corp 情報処理装置、情報処理方法
JP2017194970A (ja) * 2016-03-31 2017-10-26 株式会社インフォシティ 文書閲覧装置

Also Published As

Publication number Publication date
JP5237031B2 (ja) 2013-07-17

Similar Documents

Publication Publication Date Title
KR101065644B1 (ko) 정보 피드들을 브라우징하기 위한 방법 및 디바이스
US9066137B2 (en) Providing a search service convertible between a search window and an image display window
JP5172169B2 (ja) コンテンツ表示装置、テレビジョン受像機、コンテンツ表示方法、コンテンツ表示制御プログラム、および記録媒体
CN102591954B (zh) 一种浏览器用数据加载方法及装置
CN102081647B (zh) 显示弹出式广告的方法和设备
JP5235671B2 (ja) 端末装置、コンテンツ表示方法、およびコンテンツ表示プログラム
US10762278B2 (en) Web page display apparatus and web page display method
JP2010504588A (ja) 電子ドキュメント内の関心領域を選択し、表示するための方法とデバイス
US20110066983A1 (en) Electronic device and method for providing shortcut interface
US20140359408A1 (en) Invoking an Application from a Web Page or other Application
KR20120054948A (ko) 휴대단말기의 웹 페이지 표시 방법
JP5069520B2 (ja) 表示装置におけるコンテンツの表示方法、コンテンツ表示プログラム、及び表示装置
US20120066584A1 (en) Host apparatus and method of displaying content by the same
WO2008013128A1 (en) Terminal device, content display method, and content display program
WO2008013127A1 (en) Terminal device, content display method, and content display program
JP5237031B2 (ja) コンテンツ情報処理方法、コンテンツ情報処理プログラム、及びコンテンツ情報処理装置
JP6091231B2 (ja) 情報処理装置、コンピュータプログラム
WO2012108129A1 (ja) 端末移行システム
JP2009169883A (ja) Webブラウザの簡易操作方法
JP2012173946A (ja) ウェブページ表示装置およびフォーカス制御方法
CN116263635A (zh) 卡片调整方法及相关设备
CN1953540A (zh) 通过电视的动态用户操作界面实现快速搜索的方法
US20150074530A1 (en) Method for controlling content in mobile electronic device
JP2011253301A (ja) ウェブサイト閲覧システム、サーバ及びサーバ用プログラム
JP5849003B2 (ja) 表示装置、携帯端末、表示方法および表示プログラム

Legal Events

Date Code Title Description
A621 Written request for application examination

Free format text: JAPANESE INTERMEDIATE CODE: A621

Effective date: 20110817

A977 Report on retrieval

Free format text: JAPANESE INTERMEDIATE CODE: A971007

Effective date: 20130117

A131 Notification of reasons for refusal

Free format text: JAPANESE INTERMEDIATE CODE: A131

Effective date: 20130123

A521 Request for written amendment filed

Free format text: JAPANESE INTERMEDIATE CODE: A523

Effective date: 20130306

TRDD Decision of grant or rejection written
A01 Written decision to grant a patent or to grant a registration (utility model)

Free format text: JAPANESE INTERMEDIATE CODE: A01

Effective date: 20130322

A61 First payment of annual fees (during grant procedure)

Free format text: JAPANESE INTERMEDIATE CODE: A61

Effective date: 20130328

R150 Certificate of patent or registration of utility model

Free format text: JAPANESE INTERMEDIATE CODE: R150

FPAY Renewal fee payment (event date is renewal date of database)

Free format text: PAYMENT UNTIL: 20160405

Year of fee payment: 3

LAPS Cancellation because of no payment of annual fees