JP2010090754A - 回転体の歳差運動と地球の回転との回転差によるエネルギー取り出し方法およびその装置 - Google Patents

回転体の歳差運動と地球の回転との回転差によるエネルギー取り出し方法およびその装置 Download PDF

Info

Publication number
JP2010090754A
JP2010090754A JP2008259649A JP2008259649A JP2010090754A JP 2010090754 A JP2010090754 A JP 2010090754A JP 2008259649 A JP2008259649 A JP 2008259649A JP 2008259649 A JP2008259649 A JP 2008259649A JP 2010090754 A JP2010090754 A JP 2010090754A
Authority
JP
Japan
Prior art keywords
rotation
precession
earth
energy
rotating body
Prior art date
Legal status (The legal status is an assumption and is not a legal conclusion. Google has not performed a legal analysis and makes no representation as to the accuracy of the status listed.)
Granted
Application number
JP2008259649A
Other languages
English (en)
Other versions
JP5184289B2 (ja
Inventor
Noriyuki Irie
紀之 入江
Current Assignee (The listed assignees may be inaccurate. Google has not performed a legal analysis and makes no representation or warranty as to the accuracy of the list.)
Individual
Original Assignee
Individual
Priority date (The priority date is an assumption and is not a legal conclusion. Google has not performed a legal analysis and makes no representation as to the accuracy of the date listed.)
Filing date
Publication date
Application filed by Individual filed Critical Individual
Priority to JP2008259649A priority Critical patent/JP5184289B2/ja
Publication of JP2010090754A publication Critical patent/JP2010090754A/ja
Application granted granted Critical
Publication of JP5184289B2 publication Critical patent/JP5184289B2/ja
Expired - Fee Related legal-status Critical Current
Anticipated expiration legal-status Critical

Links

Images

Landscapes

  • Connection Of Motors, Electrical Generators, Mechanical Devices, And The Like (AREA)

Abstract

【課題】構造を簡単にしてフリクションロスが少なく、実施化ならびに実用化の可能な回転体の歳差運動と地球の回転との回転差によるエネルギー取り出し方法およびその装置を提供できるようにする。
【解決手段】駆動手段で回転駆動されることにより歳差運動する回転体と、地球の回転を伝動する伝動体と、上記回転体の歳差運動と伝動体との回転差を増幅する増幅手段、及びエネルギー取り出し手段を設けたエネルギー取り出しケースとからなり、前記増幅手段は、回転体の歳差運動保持機構と伝動体との回転差を増幅してエネルギー取り出し手段に伝動する増速機構とで構成した。
【選択図】図1

Description

本発明は、回転体の歳差運動と地球の回転との回転差によるエネルギー取り出し装置およびその方法に関するものである。
現在、使用されているエネルギー源としては、電力が主要なエネルギー源となっているが、こうした電力の発電は主として火力により発電されており、この原料は化石燃料である石油が使用されている。
この化石燃料は、有限であることからこれに代わるものとして、原子力発電及びその開発が世界各国で行われている。
しかしながら、原子力発電に使用される核燃料は保存や管理、特に使用済みの核燃料の廃棄等に危険性や困難性が伴ううえ、IAEA(国際原子力機関)による制約等もあり広く普及させることができないという問題があった。
そこで、こうした危険性や困難性を伴わない自然法則を利用したエネルギー取り出し装置として特許文献1に示すようなジャイロの歳差運動等を利用したものが先に提案されている。
このジャイロの歳差運動等を利用したエネルギー取り出し装置は、回転するジャイロのローターおよび外部ジンバルの地球との相対的な回転運動からパワーを発生するために、ジャイロスコープのプリセッション(歳差運動)トルクから生ずる対抗反作用トルクと結合するようにしたもので、その回転慣性質量ならびに速度と、地球の回転慣性エネルギーを使用するものである。
そのために、ジャイロスコープは地球に固定される外部ハウジングを有し、このハウジングの内部には、軸受けにより、地球の極性軸線に平行な軸線周囲に回転可能な外部ジンバル(物体を回転させる回転台)が配置され、外部ジンバルには軸受けで軸線の周囲に回転する内部ジンバルが設けられている。
内部ジンバルにはシャフト部材で支承される回転ローターを装着されており、前記回転ローターは、エネルギー取り出し装置からの出力により駆動されるために低電力型モータからなる駆動手段で駆動されるようになっている。
また、内部ジンバルフレームが順次、外部ジンバル上の軸受け支持部材内のシャフト部材により回転可能に保持されている。
外部ジンバルは、適当な軸受内のシャフト部材上での回転運動のために配置されて構成されている。
ところが、こうしたものでは、構造が複雑となり、フリクション(摩擦)ロス等が高く、実施ないし実用化することができないのが現状である。
特表平08−503768号公報
本発明は上記問題点に鑑み提案されたもので、構造を簡単にしてフリクションロスが少なく、実施化ならびに実用化の可能な回転体の歳差運動と地球の回転との回転差によるエネルギー取り出し方法およびその装置を提供できるようにすることを目的とするものである。
上記目的を達成するために、本発明にかかる回転体の歳差運動と地球の回転との回転差によるエネルギー取り出し装置は、駆動手段で回転駆動されることにより歳差運動する回転体と、地球の回転を伝動する伝動体と、上記回転体の歳差運動と伝動体との回転差を増幅する増幅手段、及びエネルギー取り出し手段を設けたエネルギー取り出しケースとからなり、前記増幅手段は、回転体の歳差運動による回転と伝動体の回転との回転差を増幅してエネルギー取り出し手段に伝動するように構成したことを最も主要な特徴とするものである。
次に、本発明にかかる回転体の歳差運動と地球の回転との回転差によるエネルギー取り出し方法は、歳差軸で支持された回転体を駆動手段で回転駆動し、歳差運動保持機構で回転体が歳差運動する姿勢に保持させるとともに、この歳差運動する作動軸の回転と、地球の回転を伝動する伝動体の回転差を増幅手段で増幅し、増幅された回転からエネルギー取り出し手段でエネルギーを取り出すようにしたことを最も主要な特徴とするものである。
本発明によれば、駆動手段で回転駆動されることにより歳差運動する回転体と、地球の回転を伝動する伝動体と、上記回転体の歳差運動と伝動体との回転差を増幅する増幅手段、及びエネルギー取り出し手段を設けたエネルギー取り出しケースとからなり、前記増幅手段は、回転体の歳差運動保持機構と伝動体との回転差を増幅してエネルギー取り出し手段に伝動する増速機構とで構成し、歳差軸で支持された回転体を駆動手段で回転駆動し、歳差運動保持機構で回転体が歳差運動する姿勢に保持させるとともに、この歳差運動する作動軸の回転と、地球の回転を伝動する伝動体の回転差を増幅手段で増幅し、増幅された回転からエネルギー取り出し手段でエネルギーを取り出すようにしてある。
これにより、先の提案にかかるものに比べて、構造が簡単で済み、その分、フリクションロスも少ないことから、十分に実施化ならびに実用化することができる利点がある。
本発明の実施ならびに実用化を図ることにより、安全でクリーンな省エネルギーを実現することができるものである。
以下、本発明にかかる回転体の歳差運動と地球の回転との回転差によるエネルギー取り出し方法およびその装置について、その最も好ましい実施の一形態を図面に基づいて説明する。
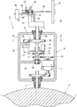
図1は回転体の歳差運動と地球の回転との回転差によるエネルギー取り出し方法を実施するための装置、図2は平面図、図3は側面図、図4は図1におけるA―A線断面図、であって、図中、符号1は回転体の歳差運動と地球の回転との回転差によるエネルギー取り出し装置を全体的に示す。
この回転体の歳差運動と地球の回転との回転差によるエネルギー取り出し装置1は、地球2の回転軸芯31に合わせて設置される支軸(伝動体)3と、当該支軸3に相対回転可能に設けられたエネルギー取り出しケース4と、このエネルギー取り出しケース4の上部に当該ケース4とは相対回転可能に取り付けられている枢支軸(作動軸)5に支えられて歳差運動する回転体6とを備えてなる。
上記エネルギー取り出しケース4内には、エネルギー取り出しケース4と支軸3との回転差が増速機(増速手段)7を介して伝えられる第一ジェネレータ(エネルギー取り出し手段)8と、歳差運動で回転する回転体6の回転を歯車伝導機構9および増速ギア10を解して第二ジェネレータ11とが設けられている。
そして、前記第一ジェネレータ8と第二ジェネレータ11はエネルギーを取り出すと同時にフライホイール25の位置や回転等の歳差運動をコントロールするための歳差運動保持機構となっている。
上記第一ジェネレータ8は、歳差運動する回転体6を支持する枢支軸5の下端に取り付けられた取り付けプレート12に設けられ、その入力軸13に取り付けられた小径のギア14が前記増速機7で増速回転される大径のギア15から駆動軸16を介して増速回転する大径の駆動ギア17にかみ合わされることにより回転駆動されるようになっている。
上記駆動軸16は、エネルギー取り出しケース4の側壁から内方に突出させた支持ブラケット18に軸受19を介して回転自在に取り付けられている。
また、上記回転体6は、エネルギー取り出しケース4の上辺に設けられた軸受け20で回転自在に支持された枢支軸5の上端にL形ブラケットを取り付け、このL形ブラケット21の上端部分に俯・仰機構22を介して回転軸23を取り付け、枢支軸のL形ブラケット側端部の回転軸23部分に駆動用モータ(駆動手段)24を取り付けるとともに、駆動モータ24とは反対側の回転軸23の端部には質量の大きな円盤状のフライホイール25を設けて構成されている。
俯・仰機構22は、回転軸23の軸心に直交する軸26で構成され、この軸26を中心にフライホイール25が上下に昇降揺動可能になっている。
また、上記回転体6には、地球2の中心方向、つまり求心方向に働く引力が作用することから、これのバランスさせるために図1に示すようにバランスウェイト40とこれにつりあう引っ張りバネ41からなるバランサ装置42が俯・仰機構22に設けてある。
フライホイール25は、回転検出器27でその回転が検出され、その回転が低下したときには駆動用モータ24で補正される。これによりフライホイール25は常時、設定された一定の回転速度が保たれている。
尚、上記バランサ装置42は、地球2の中心方向の求心方向に働く引力に対応するものであることから、図5に示すように北極点もしくは南極点(図示せず)に本発明装置1を設置する場合は、このバランサ装置42は不要である。
フライホイール25の俯角・仰角の制御は、角度検出機構30によりその角度がリアルタイムに検出されて図外の制御装置にフィードバックされ、駆動用モータ24の回転が補正されることにより、フライホイール25の歳差運動が一定速度で行われるようになっている。
また、枢支軸5の中間部分には、第二ジェネレータ11のギア28にかみ合う大径のギア29が設けられている。
因みに、上記支軸3、駆動軸16及び枢支軸5は同軸線上に設けられている。
上記のように構成された回転体の歳差運動と地球の回転との回転差によるエネルギー取り出し装置1の作用を次に説明する。
まず、本発明の回転体6の歳差運動と地球2の回転との回転差によるエネルギー取り出し装置1を図5に示すように、支軸3を、地球2の回転軸芯31上もしくは回転軸芯31とほぼ平行になるように設置する。
次に、駆動用モータ24でフライホイール25を予め設定された回転速度で回転させると、この一定の回転速度で回転するフライホイール25には地球の引力が作用することから、フライホイール25は所定の高さ位置で、平面視において時計回りに歳差運動(回転運動)する。
フライホイール25の歳差運動により、枢支軸5が平面視において時計回りに回転する。
この枢支軸5の回転は大径のギア29からこれにかみ合うギア28、及び増速機10を介して第二ジェネレータ11が回転駆動され、発電が開始される。
第二ジェネレータ11の発電による負荷により枢支軸5に負荷がかかり、一定の回転速度で回転しているフライホイール25は、平面視で時計周り方向に溶け歳差運動しながら俯・仰機構30の軸26を中心にフライホイール25が下方に揺動しようとする。
一方、第二ジェネレータ11の発電による負荷により、エネルギー取り出しケース4は歳差回転方向にとも回りしようとする。
その結果、当該エネルギー取り出しケース4を支え、地球2の自転(図に示すように北極側から見て反時計回り方向に回転)を伝達する支軸3との間に回転差を生じる。
このエネルギー取り出しケース4と支軸3との間の回転差は、増速機7を介して第一ジェネレータ8を回転駆動してエネルギーとなる発電をする。
第一ジェネレータ8の発電量(使用量)が多く、負荷が高いときは、当該第一ジェネレータ8のトルクが高くなる結果、取り付けプレート12を介して、フライホイール25を支持する枢支軸5に伝えられ、当該枢支軸5を時計回り方向に回転させようとする。
この枢支軸5の時計回り方向の回転により、前述のようにして歳差運動しながら落下しようとするフライホイール25を立ち上がらせるので、フライホイール25は所定の位置で歳差運動しながら回転することになる。
したがって、第一ジェネレータ8を回転駆動させる回転力の大小によっては、フライホイール25の歳差回転速度は影響されない。
因みに、理論上ではフライホイール25の回転速度は変化しないものとして説明してあるが、実際には空気抵抗や軸受の摩擦等によってその回転速度が徐々に低下するのであるが、上述したようにフライホイールの回転が低下したのを回転検出器27でその回転低下が検出すると、制御装置からの信号により駆動用モータ24でその回転が補正される。
この補正に要する駆動用モータ24の駆動に必要な電力は本発明装置1により発生させた電力の1部を使用する。
畢竟するに上記実施の形態では、回転体6の歳差運動と地球2の回転との回転差によるエネルギー取り出し装置1を、フライホイール25の歳差運動と地球2の自転との二方向から独立した回転力が入力され、フライホイール25からの歳差運動による回転差をエネルギーとして取り出し、その1部をフライホイール25の回転駆動用にフィードバックすることにより、当該本発明にかかる装置1を連続して駆動できるようにしたものである。
また、上述したように、フライホイール25で発生させた歳差運動による回転力は主としてエネルギー取り出しケース4の回転制御として使用し、地球の自転力は制御されたエネルギー取り出しケース4との間の回転差を利用してエネルギー取り出し用に使用している。
因みに、第二ジェネレータ11から取り出す電力が大きくなると、歳差運動で回転する枢支軸5の負担が大きくなって、フライホイール25の落下が大きくなる。
これと同時にエネルギー取り出しケース4の回転速度は、歳差運動の回転速度に近づき、支軸3との回転差がおおきくなり、その結果、第一ジェネレータ8の駆動回転速度は速くなるので、第一ジェネレータ8の出力も大きなものとなる。
逆に、第二ジェネレータ11から取り出す電力を小さくするとフライホイール25の落下を防止できるので、この釣り合いを考慮して本発明の回転体6の歳差運動と地球2の回転との回転差によるエネルギー取り出し装置1における取出し出力が設定され、エネルギーの取り出しが連続して継続されるのである。
尚、本発明にかかる回転体の歳差運動と地球の回転との回転差によるエネルギー取り出し装置1におけるフライホイール25の回転方向は、上記実施の形態に示した回転方向に限られるものではなく、逆回転にすることができる。
また、本発明にかかる回転体の歳差運動と地球の回転との回転差によるエネルギー取り出し装置1はフライホイール25の回転慣性力と地球2の引力又はバランサ装置42の引っ張りバネ41の張力によって生じたフライホイール25の歳差運動は各部の摩擦や電力の抽出によって減衰するが、上述したように本発明装置1と地球2との回転差で発生するエネルギーの一部を枢支軸(作動軸)5の回転方向にトルクを与えてその回転を助ける方向にフィードバックすることにより、回転体6の歳差運動は継続される。
要するに歳差運動による回転と地球の回転との回転差があれば本発明を実施することができるものである。
は本発明にかかる回転体の歳差運動と地球の回転との回転差によるエネルギー取り出し装置の概略構成図である。 は本発明にかかる回転体の歳差運動と地球の回転との回転差によるエネルギー取り出し装置の側面図である。 は本発明にかかる回転体の歳差運動と地球の回転との回転差によるエネルギー取り出し装置の平面図である。 は本発明にかかる回転体の歳差運動と地球の回転との回転差によるエネルギー取り出し装置の図1におけるA―A線断面図である。 は本発明にかかる回転体の歳差運動と地球の回転との回転差によるエネルギー取り出し装置の使用説明図である。
符号の説明
1・・・回転体の歳差運動と地球の回転との回転差によるエネルギー取り出装置
2・・・地球
3・・・伝動体(支軸)
4・・・エネルギー取り出しケース
5・・・作動軸(枢支軸)
6・・・回転体(フライホイール25)
7・・・増幅手段(増速機)
8・・・エネルギー取り出し手段(第一ジェネレータ)
11・・・作動運動保持機構(第二ジェネレータ)
24・・・駆動手段(駆動用モータ)

Claims (2)

  1. 駆動手段で回転駆動されることにより歳差運動する回転体と、地球の回転を伝動する伝動体と、上記回転体の歳差運動と伝動体との回転差を増幅する増幅手段、及びエネルギー取り出し手段を設けたエネルギー取り出しケースとからなり、前記増幅手段は、回転体の歳差運動による回転と伝動体の回転との回転差を増幅してエネルギー取り出し手段に伝動するように構成したことを特徴とする回転体の歳差運動と地球の回転との回転差によるエネルギー取り出し装置。
  2. 歳差軸で支持された回転体を駆動手段で回転駆動し、歳差運動保持機構で回転体が歳差運動する姿勢に保持させるとともに、この歳差運動する作動軸の回転と、地球の回転を伝動する伝動体の回転差を増幅手段で増幅し、増幅された回転からエネルギー取り出し手段でエネルギーを取り出すようにしたことを特徴とする回転体の歳差運動と地球の回転との回転差によるエネルギー取り出し方法。
JP2008259649A 2008-10-06 2008-10-06 回転体の歳差運動と地球の回転との回転差によるエネルギー取り出し装置 Expired - Fee Related JP5184289B2 (ja)

Priority Applications (1)

Application Number Priority Date Filing Date Title
JP2008259649A JP5184289B2 (ja) 2008-10-06 2008-10-06 回転体の歳差運動と地球の回転との回転差によるエネルギー取り出し装置

Applications Claiming Priority (1)

Application Number Priority Date Filing Date Title
JP2008259649A JP5184289B2 (ja) 2008-10-06 2008-10-06 回転体の歳差運動と地球の回転との回転差によるエネルギー取り出し装置

Publications (2)

Publication Number Publication Date
JP2010090754A true JP2010090754A (ja) 2010-04-22
JP5184289B2 JP5184289B2 (ja) 2013-04-17

Family

ID=42253722

Family Applications (1)

Application Number Title Priority Date Filing Date
JP2008259649A Expired - Fee Related JP5184289B2 (ja) 2008-10-06 2008-10-06 回転体の歳差運動と地球の回転との回転差によるエネルギー取り出し装置

Country Status (1)

Country Link
JP (1) JP5184289B2 (ja)

Citations (3)

* Cited by examiner, † Cited by third party
Publication number Priority date Publication date Assignee Title
JPS5359152A (en) * 1976-11-06 1978-05-27 Masaaki Kusano Energy convertor
JPS59163508A (ja) * 1983-03-08 1984-09-14 Kawasaki Heavy Ind Ltd 船舶用ジヤイロコンパスの指北静定方法およびその制御装置
JPH08503768A (ja) * 1992-09-08 1996-04-23 シー. フィンボルド,ロジャー 地球/ジャイロパワー変換装置

Patent Citations (3)

* Cited by examiner, † Cited by third party
Publication number Priority date Publication date Assignee Title
JPS5359152A (en) * 1976-11-06 1978-05-27 Masaaki Kusano Energy convertor
JPS59163508A (ja) * 1983-03-08 1984-09-14 Kawasaki Heavy Ind Ltd 船舶用ジヤイロコンパスの指北静定方法およびその制御装置
JPH08503768A (ja) * 1992-09-08 1996-04-23 シー. フィンボルド,ロジャー 地球/ジャイロパワー変換装置

Non-Patent Citations (1)

* Cited by examiner, † Cited by third party
Title
JPN6012066840; 石井智裕、後藤裕治、小川達也、保坂 寛: 'ジャイロ型振動発電機の研究' 精密工学会誌 vol.74,No.7,2008, 200807, 764-768ページ *

Also Published As

Publication number Publication date
JP5184289B2 (ja) 2013-04-17

Similar Documents

Publication Publication Date Title
NO760480L (no) Vindkraftverk.
US20040216538A1 (en) Precessional device and method
CN1256218C (zh) 走钢丝机器人
EP2265843B1 (en) Gear device and method for providing a rotary motion
JP2004337851A (ja) 遠心分離機ロータの故障発生可能性を低減させるためのモータトルク制御
CN108519087A (zh) 基于mems陀螺的跟踪平台装置及跟踪方法
JP5184289B2 (ja) 回転体の歳差運動と地球の回転との回転差によるエネルギー取り出し装置
CN201420658Y (zh) 风力发电机的偏航传动机构
JP2003056446A (ja) 風力発電装置
MY170175A (en) Operating apparatus for solar radiation shielding device
CN206965836U (zh) 一种齿轮式行星球磨机
WO2014104938A1 (ru) Устройство для выработки электроэнергии
CN102069691A (zh) 一种陀螺稳定式水陆两栖行驶器
JP2010136601A (ja) 発電装置
WO2021255834A1 (ja) 発電装置
JP4269022B1 (ja) 回転体用発電装置
CN109263744B (zh) 一种足式机器人抗扰平衡装置及其控制方法
WO2025260424A1 (zh) 悬浮回旋吸收地球自转角动能的发电装置及其控制方法
KR200445993Y1 (ko) 태양 광 발전 집광판의 회전 각도 조절 장치
PT2038172E (pt) Aparelho giroscópico
JP3200446U (ja) 家庭用発電装置
JPH0666249A (ja) 重力回転機構の発電装置
KR101319714B1 (ko) 리액션휠을 이용한 진동제거장치
CN221163144U (zh) 一种两轮车及其自平衡装置
CN112901432A (zh) 陀螺进动发电装置、系统及其控制方法

Legal Events

Date Code Title Description
A621 Written request for application examination

Free format text: JAPANESE INTERMEDIATE CODE: A621

Effective date: 20110512

A131 Notification of reasons for refusal

Free format text: JAPANESE INTERMEDIATE CODE: A131

Effective date: 20120710

A521 Written amendment

Free format text: JAPANESE INTERMEDIATE CODE: A523

Effective date: 20120824

TRDD Decision of grant or rejection written
A01 Written decision to grant a patent or to grant a registration (utility model)

Free format text: JAPANESE INTERMEDIATE CODE: A01

Effective date: 20121225

A61 First payment of annual fees (during grant procedure)

Free format text: JAPANESE INTERMEDIATE CODE: A61

Effective date: 20130116

R150 Certificate of patent or registration of utility model

Ref document number: 5184289

Country of ref document: JP

Free format text: JAPANESE INTERMEDIATE CODE: R150

Free format text: JAPANESE INTERMEDIATE CODE: R150

FPAY Renewal fee payment (event date is renewal date of database)

Free format text: PAYMENT UNTIL: 20160125

Year of fee payment: 3

R250 Receipt of annual fees

Free format text: JAPANESE INTERMEDIATE CODE: R250

R250 Receipt of annual fees

Free format text: JAPANESE INTERMEDIATE CODE: R250

LAPS Cancellation because of no payment of annual fees