JP2010090689A - 水路の漏水測定方法 - Google Patents

水路の漏水測定方法 Download PDF

Info

Publication number
JP2010090689A
JP2010090689A JP2009164255A JP2009164255A JP2010090689A JP 2010090689 A JP2010090689 A JP 2010090689A JP 2009164255 A JP2009164255 A JP 2009164255A JP 2009164255 A JP2009164255 A JP 2009164255A JP 2010090689 A JP2010090689 A JP 2010090689A
Authority
JP
Japan
Prior art keywords
water
water supply
wall surface
gap
waterway
Prior art date
Legal status (The legal status is an assumption and is not a legal conclusion. Google has not performed a legal analysis and makes no representation as to the accuracy of the status listed.)
Granted
Application number
JP2009164255A
Other languages
English (en)
Other versions
JP5083996B2 (ja
Inventor
Manabu Hayashi
学 林
Tomomi Shiono
智美 塩野
Koji Murakami
幸司 村上
Masanori Sugizaki
雅則 杉崎
Masami Nakamaru
政美 仲丸
Current Assignee (The listed assignees may be inaccurate. Google has not performed a legal analysis and makes no representation or warranty as to the accuracy of the list.)
HOKURIKU REGIONAL AGRICULTURAL ADMINISTRATION OFFICE MAFF
PRODUCT GIKEN Inc
Daiichi Kensetsu Corp
Original Assignee
HOKURIKU REGIONAL AGRICULTURAL ADMINISTRATION OFFICE MAFF
PRODUCT GIKEN Inc
Daiichi Kensetsu Corp
Priority date (The priority date is an assumption and is not a legal conclusion. Google has not performed a legal analysis and makes no representation as to the accuracy of the date listed.)
Filing date
Publication date
Application filed by HOKURIKU REGIONAL AGRICULTURAL ADMINISTRATION OFFICE MAFF, PRODUCT GIKEN Inc, Daiichi Kensetsu Corp filed Critical HOKURIKU REGIONAL AGRICULTURAL ADMINISTRATION OFFICE MAFF
Priority to JP2009164255A priority Critical patent/JP5083996B2/ja
Publication of JP2010090689A publication Critical patent/JP2010090689A/ja
Application granted granted Critical
Publication of JP5083996B2 publication Critical patent/JP5083996B2/ja
Active legal-status Critical Current
Anticipated expiration legal-status Critical

Links

Images

Landscapes

  • Examining Or Testing Airtightness (AREA)

Abstract

【課題】現場にて簡単に水路用コンクリートブロックからの漏水量や、継ぎ目の目地材からの漏水量を測定可能となる水路の漏水測定方法を提供すること。
【解決手段】水路用コンクリートブロック1を多数並設状態に継合連結して成る水路の漏水測定方法であって、前記水路用コンクリートブロック1の内壁面2に、この内壁面2を被覆して内壁面2との間に給水用間隙3を形成し得る給水口4を備えた被覆体5を配設すると共に、この被覆体5を前記内壁面2に固定して前記給水用間隙3を止水状態とし、この止水した給水用間隙3に前記給水口4から給水して所定時間放置後、この給水用間隙3での減水量を測定する。
【選択図】図1

Description

本発明は、水路用コンクリートブロックからの漏水量や、水路用コンクリートブロックの継ぎ目に配される目地材からの漏水量を測定する水路の漏水測定方法に関するものである。
例えば、農業用の用水路などは、断面U字状のコンクリート製水路用コンクリートブロックを多数並設状態に継合連結して構成されているが、従来、このような水路での水路用コンクリートブロック自体の漏水量や、水路用コンクリートブロックの継ぎ目に配された目地部からの漏水量を測定する方法は確立されていない。
本発明は、現場にて簡単に水路用コンクリートブロックからの漏水量や、水路用コンクリートブロックの継ぎ目の目地材からの漏水量を測定可能となる画期的な水路の漏水測定方法を提供するものである。
添付図面を参照して本発明の要旨を説明する。
水路用コンクリートブロック1を多数並設状態に継合連結して成る水路の漏水測定方法であって、前記水路用コンクリートブロック1の内壁面2に、この内壁面2を被覆して内壁面2との間に給水用間隙3を形成し得る給水口4を備えた被覆体5を配設すると共に、この被覆体5を前記内壁面2に固定して前記給水用間隙3を止水状態とし、この止水した給水用間隙3に前記給水口4から給水して所定時間放置後、この給水用間隙3での減水量を測定することを特徴とする水路の漏水測定方法に係るものである。
また、水路用コンクリートブロック1を多数並設状態に継合連結して成る水路の漏水測定方法であって、前記水路用コンクリートブロック1の内壁面2に、この内壁面2を被覆して内壁面2との間に給水用間隙3を形成し得る給水口4を備えた被覆体5を、水路用コンクリートブロック1の継ぎ目に介在された目地材6に沿ってこの目地材6を覆うように配設すると共に、この被覆体5を前記内壁面2に固定して前記給水用間隙3を止水状態とし、この止水した給水用間隙3に前記給水口4から給水して所定時間放置後、この給水用間隙3での減水量を測定することを特徴とする水路の漏水測定方法に係るものである。
また、前記給水用間隙3に給水した後、加圧ポンプ7を用いてこの給水用間隙3内を加圧して、この給水用間隙3に臨設する前記水路用コンクリートブロック1の内壁面2若しくは前記目地材6に均等な水圧を付与し、この加圧状態のまま所定時間放置後、この給水用間隙3の減水量を測定することを特徴とする請求項1,2のいずれか1項に記載の水路の漏水測定方法に係るものである。
また、半筒状の前記被覆体5を採用し、この被覆体5を前記水路用コンクリートブロック1の内壁面2に配設して接着固定若しくは圧着固定することにより、この被覆体5に覆われた前記給水用間隙3を形成することを特徴とする請求項1〜3のいずれか1項に記載の水路の漏水測定方法に係るものである。
また、柔軟性を有するシート状の前記被覆体5を採用し、この被覆体5を、その中央部を弛ませた状態で両側部を前記水路用コンクリートブロック1の内壁面2に接着固定若しくは圧着固定することで、この被覆体5の中央部と水路用コンクリートブロック1の内壁面2との間に前記給水用間隙3を形成することを特徴とする請求項1〜3のいずれか1項に記載の水路の漏水測定方法に係るものである。
本発明は上述のように構成したから、現場で簡単に測定設備を設置して水路用コンクリートブロックの内壁面からの漏水量あるいは水路用コンクリートブロックの継ぎ目に介在された目地材からの漏水量を極めて容易に測定できる極めて実用性に秀れた画期的な水路の漏水測定方法となる。
また、請求項3記載の発明においては、より正確な漏水量を測定可能となる極めて実用性に秀れた水路の漏水測定方法となる。
また、請求項4,5記載の発明においては、前記作用・効果を確実に発揮する被覆体を簡易に設計実現可能となる一層実用性に秀れた水路の漏水測定方法となる。
実施例1の測定設備の完成状態を示す概略説明図である。 実施例1の被覆体を目地材に沿って配設しようとする状態を示す説明斜視図である。 実施例1の要部を示す拡大説明平面図である。 実施例2の要部を示す拡大説明平面図である。 実施例3の測定設備の完成状態を示す概略説明図である。 実施例3の被覆体を目地材に沿って配設した状態を示す説明斜視図である。 実施例3の要部を示す拡大説明平面図である。
好適と考える本発明の実施形態(発明をどのように実施するか)を、図面に基づいて本発明の作用を示して簡単に説明する。
水路用コンクリートブロック1の内壁面2に被覆体5を配設すると、この被覆体5が内壁面2を被覆して内壁面2との間に給水用間隙3が形成される。
次いで、この被覆体5を内壁面2に固定して前記給水用間隙3を止水状態とし、この止水した給水用間隙3に給水口4から給水して所定時間放置する。
放置後、この給水用間隙3の減水量を測定することで、水路用コンクリートブロック1の内壁面2を介して漏れた(水路用コンクリートブロック1に浸透して漏出した)水の量を確認できる。
また、同様にして、被覆体5を、水路用コンクリートブロック1の継ぎ目に介在された目地材6に沿ってこの目地材6を覆うように配設し、この被覆体5を水路用コンクリートブロック1の内壁面2に固定して給水用間隙3を止水状態とし、この止水した給水用間隙3に給水して所定時間放置後、この給水用間隙3での減水量を測定することで、目地材6を介して漏出した水の量を確認できる。
従って、実質的に被覆体5を水路用コンクリートブロック1に固定するだけで測定設備が完成するので、現場でも簡単に測定設備を設置できるし、設置後、被覆体5によって形成された給水用間隙3に水を入れるだけで簡単に測定を開始できて、後は所定時間放置しておくだけで良いので、水路用コンクリートブロック1の内壁面2を介して漏出した水の量あるいは水路用コンクリートブロック1の継ぎ目に介在された目地材6を介して漏出した水の量を極めて容易に測定できることとなる。
また、例えば、前記給水用間隙3に給水した後、加圧ポンプ7を用いてこの給水用間隙3内を加圧して、この給水用間隙3に臨設する前記水路用コンクリートブロック1の内壁面2若しくは前記目地材6に対して均等な水圧を付与し、この加圧状態のまま所定時間放置後、この給水用間隙3の減水量を測定することとすれば、給水用間隙3に臨設する内壁面2若しくは目地材6(測定箇所)の全域で均等な水圧が付与されるので、測定箇所の水深などの違いによる漏水量のムラが出にくく、より正確な測定結果(漏水量)を確認できることになる。
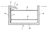
本発明の具体的な実施例1について図1〜図3に基づいて説明する。
本実施例は、底壁部1Bの両側に側壁部1Aが立設する断面U字状若しくは断面コ字状の水路用コンクリートブロック1を多数並設状態に接続して構成される水路の漏水測定方法に係るものであり、図面は、並設する水路用コンクリートブロック1の継ぎ目に介在された目地材6からの漏水量を測定する場合を示している。
具体的には、図2,図3に示すように、先ず、前記水路用コンクリートブロック1の一方の側壁部1Aの内壁面2に、この水路用コンクリートブロック1の継ぎ目に介在された目地材6に沿ってこの目地材6を覆うように、且つ並設する水路用コンクリートブロック1の各側壁部1Aの端部を跨ぐように半筒状の被覆体5を縦設状態に当接する。
すると、この被覆体5が、目地材6とこれに隣接する側壁部1Aの内壁面2の端部とを被覆して、この目地材6及び側壁部1Aとの間に断面半円状の給水用間隙3が形成される(図3参照。)。
また、本実施例の被覆体5は、長さが1800mmで直径100mmの塩ビ製パイプを半割にしたものを採用している。
次いで、図1に示すように、被覆体5と、水路用コンクリートブロック1の他方の側壁部1Aの内壁面2との間に単管などで構成した複数(図面では二本)の押え体8を架設配設して突っ張ることで被覆体5を前記縦設当接状態に保持し、被覆体5が給水用間隙3に入れた水14の水圧により変位しないように補強する。
次いで、この被覆体5を、例えばエポキシ系接着剤や急結セメントなどの接着剤10を用いて水路用コンクリートブロック1の側壁部1Aの内壁面2に接着して、この縦設した被覆体5の上部を除いた左右側端部と底側端部との内壁面2並びに目地材6との隙間を埋め、被覆体5上部の開口部を給水口4としてこの給水口4から被覆体5内面と側壁部1Aの内壁面2との間に形成される給水用間隙3に給水し得るようにする。そして給水された状態では、水14が水路用コンクリートブロック1の内壁面2や目地材6に浸込むようにしか漏出しないように構成している。尚、接着剤10は、水路用コンクリートブロック1へのダメージを考慮して選定することが望ましい。
次いで、この止水した給水用間隙3に、メスシリンダー11を用いて被覆体5の天端付近まで給水した後、24時間放置する。尚、この給水用間隙3内の水14の蒸発を防ぐために油を加えても良い。
24時間経過後に、再度メスシリンダー11で給水を行い、この際の給水量を測定することで、24時間の減少水量(漏水量)がわかる。測定開始時の給水用間隙3内の水位と、測定終了後の給水用間隙3内の水位との差から、24時間の減水量を求めるようにしても良い。
また、測定中、給水用間隙3が常に満水状態となるように給水を行い、この給水量を測定するようにしても良く、このようにして測定を行うと、給水用間隙3内での水圧が常に一定に保たれるので、より正確な減水量を求めることができると考えられる。
また、例えば、給水用間隙3に給水し24時間以上放置するなどして、水路用コンクリートブロック1に予め水14を浸込ませ、この測定箇所が水14の浸込む余地のない水分飽和状態となるようにしてから、改めて給水用間隙3に給水して減水量を測定するようにしても良く、このようにして測定を行うと、水路用コンクリートブロック1への水分の浸込みを考慮せずとも良いため、より正確な目地材6からの減水量を求めることできると考えられる。
この結果得られた減水量値から、一時間あたりの漏水量を算定する。例えば、本実施例では、(減水量)÷((測定時間)×(給水用間隙3の内壁面2並びに目地材6への接触面積))という計算式で算定しているが、この漏水量の算定については、その他にも色々な算定方法が考えられるので、適宜設計変更可能である。
また、この漏水量の測定を複数箇所で行い、漏水量の平均値を求めるようにしても良い。
測定終了後は、被覆体5を内壁面2から取り外す。
尚、本実施例では、図示していないが、被覆体5で水路用コンクリートブロック1の側壁部1Aの内壁面2の一部を被覆して上記同様に漏水測定を行えば、水路用コンクリートブロック1の側壁部1Aからの漏水量(浸込み量)を測定することができる。
また、図示していないが、被覆体5を、水路用コンクリートブロック1の底壁部1Bに固定若しくは底壁部1B間の目地材6を覆うように固定して、底壁部1Bの内壁面2の漏水量若しくは底壁部1B間の目地材6からの漏水量を測定することもできる。
本発明の具体的な実施例2について図4に基づいて説明する。
本実施例は、前記実施例1において、水路用コンクリートブロック1内壁面2への、被覆体5の固定方法を異ならせた場合である。
具体的には、被覆体5の左右側端部及び底側端部と、内壁面2(側壁部1A)との間に帯状の漏止用バックアップ材12を配設し、被覆体5と水路用コンクリートブロック1の他方側の側壁部1Aの内壁面2との間に複数の押え体8(伸縮構造を有するものでも良い。)を架設配設して突っ張ることで、被覆体5を(バックアップ材12を介して)前記側壁部1Aに縦設状態にして圧着固定した場合を示している。
また、本実施例では、このバックアップ材12に沿ってこのバックアップ材12の外側から止水材13を盛設することで、縦設した被覆体5の上部を除いた左右側端部及び底側端部と、側壁部1Aの内壁面2及び目地材6との隙間を確実に埋めて止水状態としている。
その他は前記実施例1と同様である。
本発明の具体的な実施例3について図5〜図7に基づいて説明する。
本実施例は、図5に示すように、水路用コンクリートブロック1の継ぎ目に配される目地材6に沿って、一方の側壁部1Aの上部から底壁部1Bを介して他方の側壁部1Aの上部に至るまでの範囲で目地材6を被覆体5で覆って、漏水量を測定した場合を示している。
具体的には、本実施例の被覆体5は、柔軟性を有する帯状の硬質ビニールシートを採用して構成し、この被覆体5を目地材6に沿って配設すると共にこの被覆体5の長さ方向の中央部を側壁部1Aの内側に弛ませた上で、両側部を目地材6に隣接する側壁部1A及び底壁部1Bの内壁面2に接着剤10を用いて接着固定し、この被覆体5の弛ませた中央部の内側面と目地材6との間の間隙を給水用間隙3としている。尚、例えば、被覆体5の両側部を前記実施例2のようにして圧着固定したり、他の固定手段で固定しても良い。
この給水用間隙3の一端を止水すると共に、この給水用間隙3の他端を給水口4としてこの給水口4から給水した後、この給水口4に連結管9を介して加圧ポンプ7を接続し、この加圧ポンプ7により給水用間隙3内に給水して給水用間隙3内を均等に加圧し、この給水用間隙3に臨設する前記水路用コンクリートブロック1の内壁面2と目地材6とに水圧を均等に作用させる。
この加圧状態のまま24時間放置し、その後、加圧ポンプ7での給水量を測定することで、24時間の減少水量(漏水量)がわかる。
本実施例においては、測定箇所の全域に均等な水圧を加えるために、測定箇所の水深などの違いによる漏水量のムラが出にくく、より正確な測定結果(漏水量)を確認できることになる。
尚、本実施例では、一方の側壁部1Aの上部から底壁部1Bを介して他方の側壁部1Aの上部に至るまでの範囲全てに被覆体5を被覆し、この範囲の漏水を一括で測定した場合を示したが、側壁部1Aの内壁面2と底壁部1Bの内壁面2との連設部(傾斜箇所)への被覆体5の固定にやや難があることを考慮して、側壁部1Aと底壁部1Bとに別々の被覆体5を被覆して夫々の測定箇所で漏水量を測定するようにしても良い。
また、本実施例で示した加圧測定方法は、前記実施例1,2に適用しても良い。
また、この加圧測定方法は、強度のない測定対象には不適と考えられるので、測定対象の劣化状況や下地処理の有無などを考慮して行うことが望ましい。
尚、本発明は、実施例1〜3に限られるものではなく、各構成要件の具体的構成は適宜設計し得るものである。
1 水路用コンクリートブロック
2 内壁面
3 給水用間隙
4 給水口
5 被覆体
6 目地材
7 加圧ポンプ

Claims (5)

  1. 水路用コンクリートブロックを多数並設状態に継合連結して成る水路の漏水測定方法であって、前記水路用コンクリートブロックの内壁面に、この内壁面を被覆して内壁面との間に給水用間隙を形成し得る給水口を備えた被覆体を配設すると共に、この被覆体を前記内壁面に固定して前記給水用間隙を止水状態とし、この止水した給水用間隙に前記給水口から給水して所定時間放置後、この給水用間隙での減水量を測定することを特徴とする水路の漏水測定方法。
  2. 水路用コンクリートブロックを多数並設状態に継合連結して成る水路の漏水測定方法であって、前記水路用コンクリートブロックの内壁面に、この内壁面を被覆して内壁面との間に給水用間隙を形成し得る給水口を備えた被覆体を、水路用コンクリートブロックの継ぎ目に介在された目地材に沿ってこの目地材を覆うように配設すると共に、この被覆体を前記内壁面に固定して前記給水用間隙を止水状態とし、この止水した給水用間隙に前記給水口から給水して所定時間放置後、この給水用間隙での減水量を測定することを特徴とする水路の漏水測定方法。
  3. 前記給水用間隙に給水した後、加圧ポンプを用いてこの給水用間隙内を加圧して、この給水用間隙に臨設する前記水路用コンクリートブロックの内壁面若しくは前記目地材に均等な水圧を付与し、この加圧状態のまま所定時間放置後、この給水用間隙の減水量を測定することを特徴とする請求項1,2のいずれか1項に記載の水路の漏水測定方法。
  4. 半筒状の前記被覆体を採用し、この被覆体を前記水路用コンクリートブロックの内壁面に配設して接着固定若しくは圧着固定することにより、この被覆体に覆われた前記給水用間隙を形成することを特徴とする請求項1〜3のいずれか1項に記載の水路の漏水測定方法。
  5. 柔軟性を有するシート状の前記被覆体を採用し、この被覆体を、その中央部を弛ませた状態で両側部を前記水路用コンクリートブロックの内壁面に接着固定若しくは圧着固定することで、この被覆体の中央部と水路用コンクリートブロックの内壁面との間に前記給水用間隙を形成することを特徴とする請求項1〜3のいずれか1項に記載の水路の漏水測定方法。
JP2009164255A 2009-07-10 2009-07-10 水路の漏水測定方法 Active JP5083996B2 (ja)

Priority Applications (1)

Application Number Priority Date Filing Date Title
JP2009164255A JP5083996B2 (ja) 2009-07-10 2009-07-10 水路の漏水測定方法

Applications Claiming Priority (1)

Application Number Priority Date Filing Date Title
JP2009164255A JP5083996B2 (ja) 2009-07-10 2009-07-10 水路の漏水測定方法

Publications (2)

Publication Number Publication Date
JP2010090689A true JP2010090689A (ja) 2010-04-22
JP5083996B2 JP5083996B2 (ja) 2012-11-28

Family

ID=42253662

Family Applications (1)

Application Number Title Priority Date Filing Date
JP2009164255A Active JP5083996B2 (ja) 2009-07-10 2009-07-10 水路の漏水測定方法

Country Status (1)

Country Link
JP (1) JP5083996B2 (ja)

Cited By (6)

* Cited by examiner, † Cited by third party
Publication number Priority date Publication date Assignee Title
CN102966075A (zh) * 2012-12-07 2013-03-13 顾青林 自进式砼管道衬砌机
CN104674765A (zh) * 2015-03-10 2015-06-03 扬州大学 一种内嵌陶粒的自锁生态混凝土沟渠护坡
CN105568928A (zh) * 2015-12-30 2016-05-11 中国电建集团北京勘测设计研究院有限公司 一种复合土工膜面板坝止水缝的施工方法
CN105672204A (zh) * 2016-03-24 2016-06-15 中水北方勘测设计研究有限责任公司 用于混凝土结构缝的防渗结构
RU2671103C2 (ru) * 2016-05-16 2018-10-29 Федеральное государственное бюджетное научное учреждение "Федеральный научный центр агроэкологии, комплексных мелиораций и защитного лесоразведения Российской академии наук" Противофильтрационная облицовка канала мелиоративного сооружения из составных блоков-лотков
JP2019197014A (ja) * 2018-05-11 2019-11-14 株式会社大林組 試験装置及び、試験方法

Citations (4)

* Cited by examiner, † Cited by third party
Publication number Priority date Publication date Assignee Title
JPH07224416A (ja) * 1994-02-15 1995-08-22 Nippon Road Co Ltd:The 堰堤等の目地部補修部材
JPH09108644A (ja) * 1995-10-13 1997-04-28 Taisei Corp 遮水構造物の補修工法
JP2000078734A (ja) * 1998-08-28 2000-03-14 Furukawa Electric Co Ltd:The 地中埋設容器の管路導入壁組立部材
JP2001031948A (ja) * 1999-07-23 2001-02-06 Nippon Kayaku Co Ltd 漏水防止剤及び漏水防止方法

Patent Citations (4)

* Cited by examiner, † Cited by third party
Publication number Priority date Publication date Assignee Title
JPH07224416A (ja) * 1994-02-15 1995-08-22 Nippon Road Co Ltd:The 堰堤等の目地部補修部材
JPH09108644A (ja) * 1995-10-13 1997-04-28 Taisei Corp 遮水構造物の補修工法
JP2000078734A (ja) * 1998-08-28 2000-03-14 Furukawa Electric Co Ltd:The 地中埋設容器の管路導入壁組立部材
JP2001031948A (ja) * 1999-07-23 2001-02-06 Nippon Kayaku Co Ltd 漏水防止剤及び漏水防止方法

Cited By (7)

* Cited by examiner, † Cited by third party
Publication number Priority date Publication date Assignee Title
CN102966075A (zh) * 2012-12-07 2013-03-13 顾青林 自进式砼管道衬砌机
CN104674765A (zh) * 2015-03-10 2015-06-03 扬州大学 一种内嵌陶粒的自锁生态混凝土沟渠护坡
CN105568928A (zh) * 2015-12-30 2016-05-11 中国电建集团北京勘测设计研究院有限公司 一种复合土工膜面板坝止水缝的施工方法
CN105672204A (zh) * 2016-03-24 2016-06-15 中水北方勘测设计研究有限责任公司 用于混凝土结构缝的防渗结构
RU2671103C2 (ru) * 2016-05-16 2018-10-29 Федеральное государственное бюджетное научное учреждение "Федеральный научный центр агроэкологии, комплексных мелиораций и защитного лесоразведения Российской академии наук" Противофильтрационная облицовка канала мелиоративного сооружения из составных блоков-лотков
JP2019197014A (ja) * 2018-05-11 2019-11-14 株式会社大林組 試験装置及び、試験方法
JP7110524B2 (ja) 2018-05-11 2022-08-02 株式会社大林組 試験装置及び、試験方法

Also Published As

Publication number Publication date
JP5083996B2 (ja) 2012-11-28

Similar Documents

Publication Publication Date Title
JP5083996B2 (ja) 水路の漏水測定方法
JP5097634B2 (ja) トンネル防水構造およびその施工方法
CN106088364B (zh) 一种地下室防渗漏连接结构及其施工方法
US5916406A (en) Branch pipe liner bag and pipe lining method
HRP20010435A2 (en) Method and device for the waterproofing of joints and cracks in hydraulic works, concrete and masonry structures
CN101449008B (zh) 用于安装后原位形成阻挡层的设备及其应用方法
CN112922425B (zh) 无底螺栓连接式水罐防渗漏施工方法
CA2870715A1 (en) System and method for waterproofing below-grade wall structures
KR101245258B1 (ko) 하수관의 본관과 가지관이 연결된 부위를 보수하기 위한 비굴착 하수관 보수 방법 및 장치
JPH09254259A (ja) マンホール用ライニング材及びマンホールライニング工法
KR101267432B1 (ko) 하수관의 본관과 가지관이 연결된 부위를 보수하기 위한 비굴착 하수관 보수 방법 및 장치
JP2008531883A5 (ja)
JP2016050388A (ja) 原位置不飽和透水試験装置
CN106801768A (zh) 已安装pccp管道插口环与钢筒焊缝微渗漏处理工艺
CN110763609B (zh) 测试接缝形式嵌缝防水性能的试验装置及方法
CN112969576A (zh) 具有间隙间隔物的双重蒙皮结构
CN107700540B (zh) 一种用于检测沉管半刚性节段接头防水体系的水密检漏方法
KR101245259B1 (ko) 하수관의 본관과 가지관이 연결된 부위를 보수하기 위한 비굴착 하수관 보수 방법 및 장치
CN219319706U (zh) 一种桩头防水密封性的试验装置
KR20060134754A (ko) 부분 도막방수 터널 및 그 시공방법
CN205875426U (zh) 一种新型地下室防渗漏连接结构
JP2001159136A (ja) 山留壁面の防水工法
CN110906058B (zh) 热固性树脂管道在沙漠土质中的施工方法
JP6489741B2 (ja) 壁体構造
KR100756437B1 (ko) 경화형 도관 보수공법

Legal Events

Date Code Title Description
A521 Request for written amendment filed

Free format text: JAPANESE INTERMEDIATE CODE: A821

Effective date: 20100217

A621 Written request for application examination

Free format text: JAPANESE INTERMEDIATE CODE: A621

Effective date: 20100427

A977 Report on retrieval

Free format text: JAPANESE INTERMEDIATE CODE: A971007

Effective date: 20111129

A131 Notification of reasons for refusal

Free format text: JAPANESE INTERMEDIATE CODE: A131

Effective date: 20111201

A521 Request for written amendment filed

Free format text: JAPANESE INTERMEDIATE CODE: A523

Effective date: 20120127

TRDD Decision of grant or rejection written
A01 Written decision to grant a patent or to grant a registration (utility model)

Free format text: JAPANESE INTERMEDIATE CODE: A01

Effective date: 20120802

A01 Written decision to grant a patent or to grant a registration (utility model)

Free format text: JAPANESE INTERMEDIATE CODE: A01

A61 First payment of annual fees (during grant procedure)

Free format text: JAPANESE INTERMEDIATE CODE: A61

Effective date: 20120901

R150 Certificate of patent or registration of utility model

Free format text: JAPANESE INTERMEDIATE CODE: R150

Ref document number: 5083996

Country of ref document: JP

Free format text: JAPANESE INTERMEDIATE CODE: R150

FPAY Renewal fee payment (event date is renewal date of database)

Free format text: PAYMENT UNTIL: 20150914

Year of fee payment: 3

R250 Receipt of annual fees

Free format text: JAPANESE INTERMEDIATE CODE: R250

R250 Receipt of annual fees

Free format text: JAPANESE INTERMEDIATE CODE: R250

R250 Receipt of annual fees

Free format text: JAPANESE INTERMEDIATE CODE: R250

R250 Receipt of annual fees

Free format text: JAPANESE INTERMEDIATE CODE: R250

R250 Receipt of annual fees

Free format text: JAPANESE INTERMEDIATE CODE: R250

R250 Receipt of annual fees

Free format text: JAPANESE INTERMEDIATE CODE: R250

R250 Receipt of annual fees

Free format text: JAPANESE INTERMEDIATE CODE: R250

R250 Receipt of annual fees

Free format text: JAPANESE INTERMEDIATE CODE: R250

R250 Receipt of annual fees

Free format text: JAPANESE INTERMEDIATE CODE: R250

R250 Receipt of annual fees

Free format text: JAPANESE INTERMEDIATE CODE: R250

R250 Receipt of annual fees

Free format text: JAPANESE INTERMEDIATE CODE: R250