JP2010082427A - ペルチェ素子を用いた身体冷暖房装置 - Google Patents

ペルチェ素子を用いた身体冷暖房装置 Download PDF

Info

Publication number
JP2010082427A
JP2010082427A JP2009187644A JP2009187644A JP2010082427A JP 2010082427 A JP2010082427 A JP 2010082427A JP 2009187644 A JP2009187644 A JP 2009187644A JP 2009187644 A JP2009187644 A JP 2009187644A JP 2010082427 A JP2010082427 A JP 2010082427A
Authority
JP
Japan
Prior art keywords
cooling
peltier element
coolant
heat
peltier
Prior art date
Legal status (The legal status is an assumption and is not a legal conclusion. Google has not performed a legal analysis and makes no representation as to the accuracy of the status listed.)
Granted
Application number
JP2009187644A
Other languages
English (en)
Other versions
JP5264648B2 (ja
Inventor
Kaoru Kikko
薫 橘高
Current Assignee (The listed assignees may be inaccurate. Google has not performed a legal analysis and makes no representation or warranty as to the accuracy of the list.)
Sun S Co Ltd
Original Assignee
Sun S Co Ltd
Priority date (The priority date is an assumption and is not a legal conclusion. Google has not performed a legal analysis and makes no representation as to the accuracy of the date listed.)
Filing date
Publication date
Application filed by Sun S Co Ltd filed Critical Sun S Co Ltd
Priority to JP2009187644A priority Critical patent/JP5264648B2/ja
Publication of JP2010082427A publication Critical patent/JP2010082427A/ja
Application granted granted Critical
Publication of JP5264648B2 publication Critical patent/JP5264648B2/ja
Active legal-status Critical Current
Anticipated expiration legal-status Critical

Links

Images

Landscapes

  • Thermotherapy And Cooling Therapy Devices (AREA)

Abstract

【課題】血液の温度を上げ下げするペルチェ素子を用いた身体冷暖房装置に関するものである。
【解決手段】ぺルチェ素子を使用した身体冷暖房装置は、一対の当接面111、111’と、水あるいはクーラントを循環させる循環部と、前記水あるいはクーラントを冷却または加熱する熱交換部と、前記一対のペルチェ素子11、11’に電力を供給する電源部13とから少なくとも構成されている。前記一対の当接面は、少なくとも一部がペルチェ素子から構成される熱伝導性の良い冷却面(発熱面)となっている。また、前記一対の当接面は、身体表面、特に、首の周囲の半周以上の皮膚に当接させる。前記一対の当接部は、身体表面に当接する面の反対側におけるペルチェ素子の発熱面(冷却面)に、水あるいはクーラントを循環させる循環部が設けられる。前記水あるいはクーラントは、循環中に熱交換部によって冷却または温められる。
【選択図】図1

Description

本発明は、ペルチェ素子を用いて身体を冷暖房する身体冷暖房装置に関するものである。特に、本発明の身体冷暖房装置は、身体表面の近い所を通る太い血管の近傍の皮膚(たとえば、首の周り等)に当接面を当てることにより、血液の温度を下げる(上げる)ペルチェ素子を用いた身体冷暖房装置に関するものである。本発明は、携帯に都合の良い小型の身体冷暖房装置に関するものである。
ペルチェ素子を用いた冷暖房服は、たとえば、特開2004−263325号公報に記載されている。衣服用温度可変ユニット、および前記ユニットを備えた温度可変服は、たとえば、特開2008−031581号公報に記載されている。前記従来の冷暖房服は、ペルチェ素子の冷却面(発熱面)を身体に密着させることが難しく、効果的な冷暖房を行なうことができないという問題があった。
また、前記冷暖房服は、直接肌に当てるものではなく、下着を介する場合、エネルギー効率が悪いという問題があった。また、前記冷暖房服は、ペルチェ素子を仮に身体に密着させることができたとしても、背中や腹部には太い血管がなく、皮膚表面温度を部分的に下げる(上げる)だけであり、身体全体の体温を短時間にコントロールすることが困難であった。
首の周囲全体は、太い血管近傍を冷却する機能を損なうことなく、ひんやり感を瞬時に得ることができる。首の後ろ側には、体温調整を司る動静脈吻合血管(AVA)のスイッチがあると言われている(雑学読本 NHK ためしてガッテン 7 「冷え 血行を促進するスイッチを見つけた」参照)。前記首の後ろを冷暖房することは、前記動静脈吻合血管(AVA)を開閉し、血液循環による冷暖房効果を高めることができる。
前記身体冷暖房装置は、リザーブタンクを設け、冷却水およびクーラント内の空気を分離し、追い出す必要があった。図13は従来例のリザーブタンクを説明するための図である。前記リザーブタンク151は、たとえば、図13に示すように、栓152と、入口153と、出口154を備えた筐体からなる。前記リザーブタンク151は、入口153から入った冷却水あるいはクーラントが内部に設けられた板156に衝突し、内部の空気155が上方に浮上させるため、流路157で示すように、出口154から空気が混入しない冷却水あるいはクーラントとなって出る。
特開2004−263325号公報 特開2008−031581号公報
身体冷暖房装置は、身体に携帯するものであるため、重量が軽いことが重要である。熱伝導性金属シートは、厚みが厚いほど、熱の伝導が良くなるが、厚みが0.3mmを超えると柔軟性に欠け、首の形状に合わせて成形する必要がある。しかし、首の断面形状は、個人差があり、オーダーメードが必要になるという欠点がある。柔軟性があり、熱伝導率のよい素材としては、グラファイトシートが知られている。前記グラファイトシートは、脆く、剥離し易く、特に、厚み方向の機械的強度が弱い。
また、前記グラファイトシートは、脆く、剥離し易い性質があるため、ペルチェ素子と結合させる構造とした場合、機械的結合強度の不足と内部で破断するという問題があった。さらに、前記グラファイトシートは、熱伝導性金属シートと密着させる必要があるが、凹凸部のために、空気層が存在し、熱伝導性を悪くするとうい問題があった。
冷却水あるいはクーラントを循環させる循環部は、蒸発した分を補充するためのリザーブタンクが必要である。また、前記リザーブタンクは、前記補充した冷却水あるいはクーラントに含む気泡を排除する必要がある。前記リザーブタンクは、前記冷却水あるいはクーラントを補充するためのねじ込み式のキャップが必要であった。さらに、前記リザーブタンクは、前記冷却水あるいはクーラントの漏洩を防止する必要があった。さらに、前記リザーブタンクは、大きさが大きく嵩張るため、身体冷暖房装置として身体に取り付けることとができなかった。
前記リザーブタンクは、内部に気泡が入った場合、気泡の浮力よりも、流速の方が早くなり、流速に乗って気泡がポンプ側に入ってしまうという問題があった。前記問題を防止するために、従来のリザーブタンクは、出口付近に、気泡をブロックする遮蔽板(たとえば、図13における符号157)を設けていた。しかし、前記遮蔽板は、効果に限界があり、流速を完全に殺して蛇行させるために、大きな筐体が必要であった。
以上のような課題を解決するために、本発明は、ペルチェ素子の冷却面(発熱面)を備えた当接面が身体表面に近い所を通る太い血管の皮膚表面に当てることにより、血液を積極的に冷却させて体全体を効率的に冷却(発熱)するペルチェ素子を用いた身体冷暖房装置を提供することを目的とする。本発明は、単なる冷暖房装置以外に、熱中症等のように早く体温を下げたい場合、あるいは溺れかかって体温が極端に下がった状態、または冬山における凍傷になりそうな状態で早く体温を上げたい場合、その他の医療上必要な場合に便利なペルチェ素子を用いた身体冷暖房装置を提供することを目的とする。
本発明は、熱伝導性の優れたグラファイトシートと金属シートとを組み合わせることにより、首の周囲に合わせ易い薄さで、柔軟性に富んだ冷却面を有する身体冷暖房装置を提供することを目的とする。本発明は、漏れ防止の弁機構を設け、冷却水あるいはクーラント内の気泡を容易に排除できるとともに、小型で携帯に便利な身体冷暖房装置を提供することを目的とする。
(第1発明)
第1発明の身体冷暖房装置は、ペルチェ素子を使用したものであり、身体表面に近い所を通る太い血管の近傍の皮膚に当接するペルチェ素子から少なくとも一部が構成される熱伝導性の良い冷却面(発熱面)となる一対の当接面と、前記一対のペルチェ素子の発熱面(冷却面)に、水あるいはクーラントを循環させる循環部と、前記循環部に供給される水あるいはクーラントを冷却または加熱する熱交換部と、前記ペルチェ素子に電力を供給する電源部とから少なくとも構成されている。
(第2発明)
第2発明の身体冷暖房装置は、当接面の表面温度が冷房時に、5℃〜25℃に設定することを特徴とする。
(第3発明)
第3発明の身体冷暖房装置は、当接面が粘着テープによって装着されることを特徴とする。
(第4発明)
第4発明の身体冷暖房装置は、水あるいはクーラントを循環させる循環部を、弾性を有するパイプから少なくとも構成されていることを特徴とする。
(第5発明)
第5発明の身体冷暖房装置は、ペルチェ素子の冷却面(発熱面)または当接面が長方形、長楕円形、あるいは放物線を有する長円形であることを特徴とする。
(第6発明)
第6発明の身体冷暖房装置は、ペルチェ素子を使用したものであり、首の周囲における少なくとも半周以上の皮膚に当接する金属シートと、前記金属シートの両端部近傍に設けられた一対のペルチェ素子と、前記一対のペルチェ素子の発熱面(冷却面)に、冷却水あるいはクーラントを循環させる循環部と、前記循環部に供給される冷却水あるいはクーラントを冷却または加熱する熱交換部と、前記ペルチェ素子に電力を供給する電源部とから少なくとも構成されていることを特徴とする。
(第7発明)
第7発明の身体冷暖房装置において、前記ペルチェ素子は、熱伝導性金属シートとグラファイトシートとにより一体になっていることを特徴とする。
(第8発明)
第8発明の身体冷暖房装置において、前記グラファイトシートは、ペルチェ素子と前記熱伝導性金属シートの間に挟まれて接合され、外側部で水冷ジャケットと熱伝導性金属シートで強固に接合されていることを特徴とする。
(第9発明)
第9発明の身体冷暖房装置において、前記グラファイトシートと前記熱伝導性金属シートとは、ペルチェ素子の接する範囲外に、熱伝導性の良い粘体を封入したことを特徴とする。
(第10発明)
第10発明の身体冷暖房装置は、前記熱交換部に冷却水あるいはクーラントを補充できるとともに、ポンピングが可能な外部タンクと、前記外部タンクの下部に設置された第1弁機構と、前記第1弁機構を介して結合する第2弁機構を備えたリザーブタンクと、前記外部タンクのポンピングにより、リザーブタンク内部の空気を外部タンクに移動させることを特徴とする。
(第11発明)
第11発明の身体冷暖房装置において、前記リザーブタンクは、内部に気泡よりも目の細かいメッシュを入れたことを特徴とする。
(第12発明)
第12発明の身体冷暖房装置において、前記ペルチェ素子は、発熱面に配置された断面コ字状の金属製フィンと、前記金属製フィンおよび発熱面を覆った樹脂製水冷ジャケットとから構成されていることを特徴とする。
本発明によれば、身体冷暖房装置における当接面を直接、身体表面に近い所を通る太い血管の近傍の皮膚に当接または装着することで、少ないエネルギーによって効率の良い冷暖房装置とすることができる。
本発明によれば、身体冷暖房装置における当接面を直接、身体表面に近い所を通る太い血管の近傍の皮膚に当接または装着することで、血液を介して、体温を上げ下げできるため、熱中症等、緊急時における身体温度を改善することができる。
本発明によれば、水あるいはクーラントを循環させる循環部、熱交換部、電源部をコンパクトにすることができ、携帯に便利である。
本発明によれば、循環部を合成樹脂製パイプとすることで弾性を持たせ、前記当接面を身体の必要箇所に容易に装着することができる。
本発明によれば、身体における太い血管を流れる血液を効果的に冷却(発熱)するために、ペルチェ素子の冷却面または伝熱導板のような当接面をできるだけ血管に沿えるような長方形、長楕円形、放物線を有する長円形にする。
本発明によれば、頸動脈部分を冷暖房すると同時に、首の周囲全体の温度をコントロールすることができるため、血液の冷却(加熱)と冷房時の首の周囲のひんやり感、あるいは暖房時の動静脈吻合血管(AVA)の拡張という機能が得られる。
本発明によれば、熱伝導のための熱伝導性金属シートとグラファイトシートを併用することにより、熱伝導性金属シートを薄くしても、高い熱伝導効率を得ることができるので、金属シート単体の物と比較して、より薄く、柔軟性があり、首の断面形状にフィットし易い形状に加工でき、熱効率を向上させることができる。
本発明によれば、熱伝導性金属シートとグラファイトシートの結合、およびグラファイトシートとペルチェ素子との結合に、熱伝導率のきわめて高い接着剤を使用して結合し、グラファイトシートの外側でペルチェ素子と熱伝導性金属シートを機械的に強度の優れたエポキシ樹脂系接着剤で結合することにより、熱伝導性を損なうことなく、高い接合強度が得られる。
本発明によれば、熱伝導性金属シートとグラファイトシートとペルチェ素子との接合部分以外の部分で、熱伝導性金属シートとグラファイトシートの間に熱伝導グリスを封入することにより、熱伝導性金属シートとグラファイトシートの間の空気を追い出すことができ、優れた熱伝導性が得られる。
本発明によれば、リザーブタンクと外部タンクに、漏れ防止機構を備えた弁機構を装着し、柔軟な外部タンクを握り締めたり、離したりするポンピング動作により、短時間で確実に空気抜きを行うことができる。
本発明によれば、外部タンクでポンピングができるようにするとともに、外部タンクに弁機構を介して結合したリザーブタンクに設けた気泡より目の細かいメッシュを設けることにより、気泡をキャッチすることができる。
本発明の第1実施例であり、身体冷暖房装置を説明するための概念斜視図である。(実施例1) 本発明の第1実施例における一方の当接面を構成する部分を説明するための斜視図である。 本発明の第1実施例であり、ペルチェ素子、ポンプ、およびファンに対する電源回路を説明するための図である。 本発明の第2実施例で、熱交換部である放熱板を服の背中部分に取り付けた例を説明するための図である。(実施例2) 本発明の第3実施例を説明するための図である。(実施例3) 本発明の第4実施例であり、金属シートの上にペルチェ素子と熱交換部を設けた例を説明するための図である。(実施例4) 本発明の第5実施例であり、熱伝導性金属シートの上にグラファイトシートを介してペルチェ素子と熱交換部を設けた例を説明するための図である。(実施例5) 本発明の身体冷暖房装置を実際に身体に付けた状態を説明するための図である。 (イ)は本発明の第6実施例である外部タンクとリザーブタンクとが結合した状態を説明するための図で、(ロ)は外部タンクとリザーブタンクとが分離した状態を説明するための図である。(実施例6) 本発明の第7実施例であり、水冷ジャケットの一例を説明するための図である。(実施例7) 本発明の第7実施例の他の例であり、水冷ジャケットを説明するための図である。 本発明の第7実施例における水冷ジャケット近傍を説明するための断面図である。 従来例のリザーブタンクを説明するための図である。
(第1発明)
第1発明におけるペルチェ素子を使用した身体冷暖房装置は、一対の当接面と、冷却水あるいはクーラントを循環させる循環部と、前記冷却水あるいはクーラントを冷却または加熱する熱交換部と、前記一対のペルチェ素子に電力を供給する電源部とから少なくとも構成されている。前記一対の当接面は、少なくとも一部がペルチェ素子から構成される熱伝導性の良い冷却面(発熱面)となっている。また、前記一対の当接面は、身体表面に近い所を通る太い血管の近傍の皮膚に当接される。
身体表面に近い所を通る太い血管は、たとえば、頸動脈、鎖骨下静脈血管、鎖骨下動脈血管、その他、腕、太股等にある動脈または静脈がある。前記一対の当接部は、身体表面に当接する面の反対側におけるペルチェ素子の発熱面(冷却面)に、冷却水あるいはクーラントを循環させる循環部が設けられる。前記冷却水あるいはクーラントは、循環中に熱交換部によって冷却または温められる。また、前記電源部は、前記ペルチェ素子におけるペルチェ効果を発揮するために電力を供給する。
前記一対の当接面は、全部をペルチェ素子としたもの、前記ペルチェ素子の全面に熱伝導性金属シートを抱き合わせたもの、前記ペルチェ素子と熱伝導性金属シートとから構成されたもの等がある。
(第2発明)
第2発明の身体冷暖房装置は、前記ペルチェ素子の表面温度を冷房時、5℃〜25℃に設定することができる。前記身体冷暖房装置において、ペルチェ素子に対する電力の供給、循環部における冷却水あるいはクーラントの循環、冷却または発熱される熱交換部の制御は、制御装置におけるマイコン等によって適宜行なわれる。
(第3発明)
第3発明の身体冷暖房装置における熱伝導性の良い冷却面(発熱面)から構成された一対のペルチェ素子は、粘着テープによって所望の身体表面に装着される。前記一対のペルチェ素子は、身体冷暖房装置であるため、通常使用されている安価な粘着テープによって身体の一部に容易に取り付けることができる。
(第4発明)
第4発明の身体冷暖房装置において、冷却水あるいはクーラントは、一方のペルチェ素子から他方のペルチェ素子に循環する循環部を備えている。前記循環部は、前記冷却水あるいはクーラントを循環する合成樹脂製パイプによって一対のペルチェ素子を繋いでいる。前記冷却水あるいはクーラントを循環させるパイプは、弾性を持たせることにより身体に装着することが容易になる。すなわち、前記パイプは、冷却水あるいはクーラントを循環させると同時に、身体に密接して装着させることができる。また、前記循環部は、弾性を有するバンド部材と、冷却水あるいはクーラントを循環させるパイプを抱き合わせることもできる。
(第5発明)
第5発明の身体冷暖房装置は、前記ペルチェ素子の冷却面(発熱面)または当接面を長方形、長楕円形、あるいは放物線を有する長円形とすることで、太い血管に沿って装着することができ、身体を急速に冷却または発熱させることができる。また、前記長方形または楕円形は、前記血管に沿って装着できるようにできるだけ長細くすると都合が良い。
(第6発明)
第6発明の身体冷暖房装置は、熱伝導性金属シートと、ペルチェ素子と、循環部と、熱交換部と、電源部とから構成されている。前記熱伝導性金属シートは、首の周囲における少なくとも半周以上の皮膚に当接できる形状からなる。前記ペルチェ素子は、前記熱伝導性金属シートの両端部近傍に一対が設けられている。すなわち、前記熱伝導性金属シートは、ペルチェ素子による発熱面(冷却面)の熱が全体に伝達するようになっている。前記熱伝導性金属シートは、たとえば、銅またはアルミニウムが適しており、板金加工あるいは押し出し加工により、作製される。
前記熱交換部は、冷却水あるいはクーラントを、たとえば、樹脂製の可撓性パイプを介して、前記一対のペルチェ素子の発熱面(冷却面)に循環させる。前記熱交換部は、前記首から離れた身体の一部に取り付けられた前記循環部に供給される冷却水あるいはクーラントを冷却または加熱して、熱交換を行う。前記電源部は、前記ペルチェ素子に電力を供給するとともに、前記冷却水あるいはクーラントの循環を制御する。
(第7発明)
第7発明の身体冷暖房装置において、前記ペルチェ素子は、熱伝導性金属シートとグラファイトシートとにより一体に構成されている。前記グラファイトシートは、熱伝導性が良いため、前記熱伝導性金属シートを薄く、柔軟性を持たせても、熱伝導性が良く、首の形状にフィットするように作製される。
(第8発明)
第8発明の身体冷暖房装置において、前記グラファイトシートは、ペルチェ素子と前記熱伝導性金属シートの間に挟まれた構造になっている。前記グラファイトシートは、厚み方向の機械的強度が弱く、雲母のように層状に剥離し易い欠点がある。また、前記グラファイトシートは、単純に表面のみを強固に接着しても、外力が加わると破壊してしまう。本発明の構造は、水冷ジャケットと前記熱伝導性金属シートをエポキシ系接着剤等で強固に接着することにより、十分な機械的強度を持たせることができる。
(第9発明)
第9発明の身体冷暖房装置において、ペルチェ素子に接する面は、熱伝導率がきわめて高い熱伝導性接着剤(銀ペースト等)を使用する。しかし、熱伝導率がきわめて高い接着剤は、粘性が高く、薄く均一に塗布する事が難しい。そこで、ペルチェ素子と接する以外の場所において、前記グラファイトシートと前記熱伝導性金属シートとの間には、中程度の熱伝導性の良い粘体(熱伝導率1W/mK程度)、たとえば、熱伝導グリスを封入して一体にする。
前記グラファイトシートおよび金属シートは、首に沿って巻き付けられた場合、内側と外側で距離の差を生じる。前記熱伝導グリスは巻き付け距離の差を吸収し、しわの発生を防止する滑りを持つとともに、前記グラファイトシートの凹凸部にある空気層を追い出すこともできる。また、前記熱伝導性の良い粘体は、たとえば、熱伝導ペーストを封入することもできる。前記熱伝導ペーストは、塗布時にはクリーム状の粘体でありながら時間経過とともにゴム状に硬化して漏れ出す事も無く、理想的な面接触に近い状態を得ることができる。
(第10発明)
第10発明の身体冷暖房装置において、前記熱交換部は、リザーブタンクと、前記リザーブタンクに接続できる外部タンクを備えている。前記外部タンクは、前記熱交換部に冷却水あるいはクーラントを補充できるとともに、ポンピングが可能なように薄い構造となっている。また、前記外部タンクは、下部に第1弁機構が設置されている。前記リザーブタンクは、前記第1弁機構を介して結合する第2弁機構を備えている。前記外部タンクは、握り締め、あるいは離すことによるポンピング作用と、前記第1弁機構および第2弁機構を介して、リザーブタンク内部の空気を外部タンクに移動させることができる。
(第11発明)
第11発明の身体冷暖房装置において、前記リザーブタンクは、内部に気泡よりも目の細かいメッシュを設ける。前記メッシュは、気泡より目が細かいため、気泡をリザーブタンク内部にとどめて、ポンプへの気泡の吸い込みを防止することができる。
(第12発明)
第12発明の身体冷暖房装置において、前記ペルチェ素子は、金属製フィンと樹脂製水冷ジャケットとを備えている。前記金属製フィンは、断面をコ字状にしたものが発熱面に複数個、配置されている。また、前記金属製フィンは、前記コ字状の代わりに波状にしたものとすることができる。前記樹脂製水冷ジャケットは、前記金属製フィンおよび発熱面を覆った構造からなる。冷却水あるいはクーラントは、前記樹脂製水冷ジャケットの一方から入り、断面コ字状の複数個からなる金属製フィンの間を通過して、他方から出るようになっている。
前記金属製フィンは、銅またはアルミニウムとして、板金の折り曲げ、または押し出し加工により、簡単に作製することができる。また、前記金属製フィンは、熱伝導性接着剤、あるいはハンダ付け、または銀ペーストによって固定することもできる。前記樹脂製水冷ジャケットは、内部を機械加工によりくり抜いて、冷却水路を設け、軽量化することができる。また、前記樹脂製水冷ジャケットは、ペルチェ素子にゴム系接着剤で接着し、水漏れを同時に防止することができる。
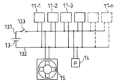
図1は本発明の第1実施例であり、身体冷暖房装置を説明するための概念斜視図である。図1において、身体冷暖房装置は、一対のペルチェ素子11、11′と、前記ペルチェ素子11、11′と一体になっている一対の当接面111、111′と、水あるいはクーラントを循環させる循環部112、112′、113と、前記水あるいはクーラントを冷却または加熱する熱交換部12、121、14、15と、前記一対のペルチェ素子11、11′に電力を供給する電源部13とから少なくとも構成されている。前記身体冷暖房装置は、前記各構成がコンパクトで携帯に便利なようになっている。
前記一対の当接面111、111′は、少なくとも一部、または全部がペルチェ素子11、11′からなり、また、ペルチェ素子11、11′の一部または全部が伝熱導板として構成される熱伝導性の良い冷却面(発熱面)となっている。また、前記一対の当接面111、111′は、身体表面に近い所の血管、たとえば、頸動脈、鎖骨下静脈血管、鎖骨下動脈血管、その他、腕、太股等にある動脈および/または静脈の近傍に当接される。
前記一対の当接部111、111′は、身体表面に当接する面の反対側におけるペルチェ素子11、11′の発熱面(冷却面)に、水あるいはクーラントを循環させる循環部112、112′、113が設けられる。前記水あるいはクーラントは、循環中に熱交換部、たとえば、ラジエータ12、前記ラジエータ12のフィン121、ポンプ14、ファン15によって冷却される。また、前記電源部13は、おけるペルチェ効果を発揮するために、ワイヤハーネス131、132によって前記ペルチェ素子11、11′に電力を供給する充電可能な蓄電池から構成される。
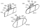
図2(イ)から(ハ)は本発明の第1実施例における一方の当接面を構成する伝熱導板を説明するための斜視図である。図2(イ)から(ハ)において、前記当接面111、111−1(ロ)、111−2(ハ)は、たとえば、冷却面を少なくともペルチェ素子11によって構成され、反対側の発熱面に水あるいはクーラントを循環させる循環部112が設けられている。また、前記ペルチェ素子11は、電源部13およびワイヤハーネス131、131′を介して電力が供給される。さらに、前記当接面111は、前記ペルチェ素子11のみの場合、あるいは前記ペルチェ素子11と熱伝導性の良い伝熱導板を抱き合わせることにより、所望の大きさ、形状にすることができる。
図2(ロ)に示す伝熱導板111−1は、細長い長円形からなり、血管に沿って装着または粘着テープによって貼り付けることができる。図2(ハ)に示す伝熱導板111−2は、放物線を有する円形からなり、血管に沿って装着または粘着テープによって貼り付けことができる。図2(イ)から(ハ)に示す伝熱導板は、図に示されているより、さらに細く、血管の幅により太め程度にすることもできる。前記伝熱導板は、また、弾性を有する金属板からなり、予め湾曲するように記憶させておき、所望の部分に嵌めるようにすることもできる。
図3は本発明の第1実施例であり、ペルチェ素子、ポンプ、およびファンに対する電源回路を説明するための図である。図3において、電源部13は、充電可能な蓄電池からなる直流電源であり、たとえば、ペルチェ素子11−1、11−2、11−3、・・・、11−n、ポンプ14、ファン15、スイッチ133、図示されていない制御回路等を介して、直列または並列に接続されている。
前記身体冷暖房装置は、前記ペルチェ素子の表面温度を冷房時、たとえば、5℃〜25℃に設定することにより、身体を冷やす場合に効果を上げた。前記身体冷暖房装置は、ペルチェ素子に対する電力の供給、循環部における水あるいはクーラントの循環、冷却または発熱される熱交換部の制御を、図示されていないマイコン等の制御装置により適宜行なわれる。
前記身体冷暖房装置は、当接面を身体の所望の箇所に粘着テープによって装着することができる。前記粘着テープは、通常医療用に使用されるものにより、身体の一部に容易に取り付けることができる。
前記身体冷暖房装置は、当接面を連結していると同時に、水あるいはクーラントを循環させるパイプに弾性を持たせている。前記パイプは、弾性を有するプラスチック製からなり、身体に容易に装着することができる。前記水あるいはクーラントは、ポンプ14により循環し、ラジエータ12で熱交換して大気中に放熱する。冷却水は、水道水でも、プロピレングリコールなどのクーラントを使用しても良い。
ペルチェ素子の冷却面を有する当接面111、111′は、たとえば、頸動脈部分にヘッドホンのような構造の弾性パイプ113によって、身体の所望部分に直接押しつける。鎖骨下部分や脇の下、足の付け根部分の太い血管が体表面に近い部分に装着する当接面111、111′は、医療用粘着テープなどで貼り付けて固定し冷却すると、皮膚表面が低温になる。皮膚の表面温度が下がると、皮膚内部も、通常の体温よりは低温になる。
太い血管の内部を流れる血液は、深部体温と等しい37℃前後であるので、低温になった皮膚内部と血液で熱交換が行われる。前記身体冷暖房装置によって冷やされた血液は、数秒間で全身を回るので、全身を冷却するのと同じ効果を期待することができる。なお、ペルチェ素子は、電流を流す方向を逆にすると、冷却面と発熱面が入れ替わるので、冷房だけでなく、暖房用としても使用できる。
図4は本発明の第2実施例で、熱交換部である放熱板を服の背中部分に取り付けた例を説明するための図である。図4において、第2実施例の身体冷暖房装置は、ペルチェ素子11が頸動脈の近傍に設けられている。前記一対(図示されていない)の当接面111、111′は、水あるいはクーラントを循環させる循環部31とともに装着されている。前記循環部31は、弾性を有するパイプ等によって、首に巻き付けるようにするとともに、放熱板122に取り付けられる。
前記放熱板122は、前記パイプの熱交換効率が上がるように配置されるとともに、前記水あるいはクーラントを供給できるポンプ14が設けられている。前記身体冷暖房装置は、放熱板122を衣服に付けることにより熱交換を行なっている。
図5は本発明の第3実施例を説明するための図である。図5において、第3実施例の身体冷暖房装置は、実施例2における循環部31、31′が設けられている。前記循環部31、31′の一方のペルチェ素子11は、頸動脈の近傍に、他方のペルチェ素子11′は、鎖骨下動脈(静脈)血管の近傍に装着することにより、体の温度をより急速に降下(上昇)させることができる。また、前記循環部31は、バネ性を有するパイプと熱交換部が設けられている。さらに、前記循環部31′は、ペルチェ素子11′を医療用粘着テープ等により肌に貼り付けている。前記熱交換部は、背中側あるいは首の後部に設けられた前記循環部と共に設けられている。
また、図4および図5における循環部および熱交換部は、血管の近傍に沿った皮膚との接触面積を増加する構造とすることができる。また、前記当接面は、皮膚表面をピンポイントで強く冷やすと、血管内部の血液との熱交換が間に合わず、皮膚表面温度が下がりすぎる場合がある。また、熱交換部における伝熱板は、装着すると皮膚表面との熱交換の面積が増えて、温度を下げ過ぎること無く、快適な熱交換ができるような面積にすることができる。伝熱板は、熱伝導率の良いアルミニウム、銅などが適している。
たとえば、冷房時のペルチェ素子の表面温度と快適性は、実験により次の関係が得られた。
5 ℃以下 5 〜10℃ 10 〜20℃ 20〜25℃ 25℃以上
凍傷の危険あり 痛みを伴う 快適温度 物足りない 効果無し
前記実験において、伝熱板を使用した場合でも、頸動脈部分で熱交換できるのは一ヶ所に付き10wから20w程度で、それ以上の冷却を行なうと低温になり過ぎて痛みや凍傷の危険性を伴う。さらに、冷却には、ペルチェ素子の数を増やして頸動脈以外の鎖骨下、脇の下、足の付け根などの太い血管が皮膚表面近くにある部分を複数ヶ所冷却すると冷却能力を上げることができる。
図6は本発明の第4実施例であり、金属シートの上にペルチェ素子と熱交換部を設けた例を説明するための図である。図6において、第4実施例の身体冷暖房装置は、熱伝導性金属シート61と、ペルチェ素子64と、熱交換部66とから構成されている。前記身体冷暖房装置は、循環部および電源部等が省略されている。前記熱伝導性金属シート61は、たとえば、銅またはアルミニウム等からなり、0.3mm以下の薄さに、たとえば、圧延し、高い柔軟性を有するとともに、高い熱伝導性を持たせる。前記熱伝導性金属シート61は、高い柔軟性を有するため、首の半周以上にフィットすることにより、携帯用の身体冷暖房装置として、冷暖房を効率良く行うことができる。
図7は本発明の第5実施例であり、熱伝導性金属シートの上にグラファイトシートを介してペルチェ素子と熱交換部を設けた例を説明するための図である。図7において、左半分は組み立て図であり、右半分は組み立てられた後の図である。熱伝導性金属シート61は、厚さ0.3mm程度の薄さの銅またはアルミニウムからなり、首の周囲における少なくとも半周以上の皮膚に当接できる形状からなる。ペルチェ素子64は、前記熱伝導性金属シート61の両端部近傍に一対が設けられており、水冷ジャケット1010の内部に収容されている。
前記熱伝導性金属シート61は、ペルチェ素子64による発熱面(冷却面)の熱が全体に伝達するようになっている。前記熱伝導性金属シート61は、熱伝導性接着剤62を介してグラファイトシート63が接着されている。前記グラファイトシート63は、その上にペルチェ素子64が、たとえば、熱伝導性接着剤を介して取り付けられている。また、前記ペルチェ素子64は、上部に熱交換部66が設けられた状態で水冷ジャケット1010内に収容されている。
接着テープ65、65′は、前記グラファイトシート63を覆うようにして前記熱伝導性金属シート61に接着する。ペルチェ素子64および熱交換部66は、図7の左側の例が別体となった例で、右側が一体になった例の概略図である。なお、前記ペルチェ素子64、熱交換部66、水冷ジャケット1010等は、図12に詳細が示されている。
前記熱交換部66は、冷却水あるいはクーラントを、たとえば、樹脂製の可撓性パイプを介して、前記一対のペルチェ素子66の発熱面(冷却面)に循環させる。前記熱交換部66は、前記首から離れた身体の一部に取り付けられた前記循環部に供給される冷却水あるいはクーラントを冷却または加熱して、熱交換を行う。
図8は本発明の身体冷暖房装置を実際に身体に付けた状態を説明するための図である。図8において、たとえば、図7に示すペルチェ素子64を備えた冷却(暖房)部は、首87の周囲の半分以上を覆っている。電源部84は、配線83、制御部82、可撓性パイプ81を介して、前記ペルチェ素子64に電力を供給し、また、前記冷却水あるいはクーラントを循環させる動力源となる。身体86は、たとえば、腰にベルト85を付け、前記ベルト85に、前記制御部82および電源部84を取り付け、本発明の身体冷暖房装置の携帯性を良好にしている。
図9(イ)は本発明の第6実施例である外部タンクとリザーブタンクとが結合した状態を説明するための図で、(ロ)は外部タンクとリザーブタンクとが分離した状態を説明するための図である。図9(イ)および(ロ)において、外部タンク91は、前記熱交換部66(図7参照)に供給する冷却水あるいはクーラントから気泡を除去するためのものである。外部タンク91は、たとえば、薄い樹脂部材等からなり、ポンピングが可能な構造となっている。
また、前記外部タンク91は、下部に第1弁機構92が設置されている。前記リザーブタンク95は、前記外部タンク91に設けられた第1弁機構92を介して結合する第2弁機構96を備えている。前記外部タンク91は、握り締め、あるいは離すことによるポンピング作用と、前記第1弁機構92および第2弁機構96を介して、リザーブタンク95内部の気泡98を外部タンク91に移動させることができる。また、第1弁機構92は、バネ支え921により、バネを支えており、同様に、第2弁機構96は、バネ支え961により、バネを支えている。前記弁機構およびバネは、外部タンク91とリザーブタンク95を容易に着脱が可能な構造になっている。
図9において、リザーブタンク95は、下部にメッシュ93が設けられている。前記メッシュ93は、気泡98より目を細かくしておく。前記リザーブタンク95は、内部に気泡98がある場合、前記気泡98より目が細かいメッシュ93により、前記気泡98をリザーブタンク95の内部にとどめて、ポンプへの気泡98の吸い込みを防止することができる。
図10は本発明の第7実施例であり、水冷ジャケットの一例を説明するための図である。図10において、水冷ジャケット1010は、熱伝導性金属シート、グラファイトシート、およびペルチェ素子からなる基板1011と、前記基板1011の上に熱伝導性接着剤を介して取り付けられた複数個の断面コ字状の金属製フィン1012と、中央遮蔽壁1013と、パイプからなる入口1015と、同じく出口1016とから構成されている。
前記入口1015から入った冷却水あるいはクーラントは、複数個の金属製フィン1012、前記金属製フィン1012の間の流通路1014、これらの流通路の端部流通路1014′、金属製フィン1012′を通り、出口1016から外部に出る。前記金属製フィン1012、前記金属製フィンの流通路1014′からなる水冷ジャケット1010は、前記ペルチェ素子を冷却(暖房)する。
前記金属製フィン1012は、銅またはアルミニウムとして、板金の折り曲げ、または押し出し加工により、簡単に作製することができる。また、前記金属製フィン1012は、熱伝導性接着剤あるいはハンダ付け、または銀ペーストによって固定することもできる。前記水冷ジャケット1010は、樹脂製とし、内部を機械加工によりくり抜いて、冷却水路を設け、軽量化することができる。また、前記水冷ジャケット1010は、ペルチェ素子にゴム系接着剤で接着し、水漏れを同時に防止することができる。
図11は本発明の第7実施例の他の例であり、水冷ジャケットを説明するための図である。図11において、水冷ジャケット1010は、断面コ字状の波状金属製部材1111からできている点でのみ異なり、他の点で、図10の実施例と同じである。
図12は本発明の第7実施例における水冷ジャケット近傍を説明するための断面図である。グラファイトシート1021は、ペルチェ素子1022と、熱伝導性金属シート1011の間に挟まれた構造になっている。前記グラファイトシート1021は、厚み方向の機械的強度が弱く、雲母のように層状に剥離し易い欠点がある。また、前記グラファイトシート1021は、単純に表面のみを強固に接着しても、外力が加わると破壊してしまう。
そこで、水冷ジャケット1010は、前記熱伝導性金属シート1011上にグラファイトシート1021を設け、その側部をエポキシ系接着剤1023、1023′あるいは銀ペーストにより固着される。前記水冷ジャケット1010は、樹脂製の場合、内部を射出成形により水路を形成し、金属製フィン1012を設け、軽量化することができる。また、前記水冷ジャケット1010は、樹脂製水冷ジャケット1010は、ペルチェ素子1022にゴム系接着剤で接着し、水漏れを同時に防止することができる。
前記ペルチェ素子1022に接する面は、熱伝導率がきわめて高い熱伝導性接着剤(銀ペースト等)を使用する。しかし、熱伝導率がきわめて高い接着剤は、粘性が高く、薄く均一に塗布する事が難しい。そこで、ペルチェ素子1022と接する以外の場所において、前記グラファイトシート1021と前記熱伝導性金属シート1011との間には、中程度の熱伝導性の良い粘体(熱伝導率1W/mK程度)、たとえば、熱伝導グリスを封入して一体にすることができる。
前記グラファイトシート1021および熱伝導性金属シート1011は、首に沿って巻き付けられた場合、内側と外側で距離の差を生じる。前記熱伝導グリスは、巻き付け距離の差を吸収し、しわの発生を防止する滑りを持つとともに、前記グラファイトシート1021の凹凸部にある空気層を追い出すこともできる。また、前記熱伝導性の良い粘体は、たとえば、熱伝導ペーストを封入することもできる。前記熱伝導ペーストは、塗布時にはクリーム状の粘体でありながら時間経過とともにゴム状に硬化して漏れ出す事も無く、理想的な面接触に近い状態を得ることができる。
以上、本発明の実施例を詳述したが、本発明は、前記実施例に限定されるものではない。そして、本発明は、特許請求の範囲に記載された事項を逸脱することがなければ、種々の設計変更を行うことが可能である。たとえば、ペルチェ素子、パイプ、放熱板等の材質は、公知または周知のものが使用できる。また、ポンプ、ラジエータ、ファン、蓄電池は、公知または周知のものを使用することができる。さらに、外部タンク、リザーブタンク、熱伝導性接着剤、熱伝導性金属シート、弁機構等は、公知または周知のものを使用することができる。
11、11′・・・ペルチェ素子
111、111′、111−1、111−2・・・当接面
112、112′・・・循環部
113・・・パイプ
12・・・ラジエータ
13・・・電源
131、132・・・ワイヤーハーネス
133・・・スイッチ
14・・・ポンプ
15・・・ファン
61・・・熱伝導性金属シート
62・・・熱伝導性接着剤
63・・・グラファイトシート
64・・・ペルチェ素子
65・・・接着テープ
66・・・熱交換部
81・・・可撓性パイプ
82・・・制御部
83・・・配線
84・・・電源部
85・・・ベルト
86・・・身体
87・・・首
91・・・外部タンク
92・・・第1弁機構
93・・・メッシュ
94・・・冷却水あるいはクーラント
95・・・リザーブタンク
96・・・第2弁機構
97・・・経路
98・・・気泡

Claims (12)

  1. ペルチェ素子を使用した身体冷暖房装置において、
    身体表面に近い所を通る太い血管の近傍の皮膚に当接するペルチェ素子から少なくとも一部が構成される熱伝導性の良い冷却面(発熱面)となる一対の当接面と、
    前記一対のペルチェ素子の発熱面(冷却面)に、冷却水あるいはクーラントを循環させる循環部と、
    前記循環部に供給される冷却水あるいはクーラントを冷却または加熱する熱交換部と、
    前記ペルチェ素子に電力を供給する電源部と、
    から少なくとも構成された身体冷暖房装置。
  2. 前記当接面の表面温度は、冷房時、5℃〜25℃に設定することを特徴とする請求項1に記載された身体冷暖房装置。
  3. 前記当接面は、粘着テープによって装着されることを特徴とする請求項1に記載された身体冷暖房装置。
  4. 前記冷却水あるいはクーラントを循環させる循環部は、弾性を有するパイプから少なくとも構成されていることを特徴とする請求項1から請求項3のいずれか1項に記載された身体冷暖房装置。
  5. 前記ペルチェ素子の冷却面(発熱面)または当接面は、長方形、長楕円形、あるいは放物線を有する長円形であることを特徴とする請求項1から請求項4のいずれか1項に記載された身体冷暖房装置。
  6. ペルチェ素子を使用した身体冷暖房装置において、
    首の周囲における少なくとも半周以上の皮膚に当接する金属シートと、
    前記金属シートの両端部近傍に設けられた一対のペルチェ素子と、
    前記一対のペルチェ素子の発熱面(冷却面)に、冷却水あるいはクーラントを循環させる循環部と、
    前記循環部に供給される冷却水あるいはクーラントを冷却または加熱する熱交換部と、
    前記ペルチェ素子に電力を供給する電源部と、
    から少なくとも構成されていることを特徴とする身体冷暖房装置。
  7. 前記ペルチェ素子は、熱伝導性金属シートとグラファイトシートとにより一体になっていることを特徴とする請求項6に記載された身体冷暖房装置。
  8. 前記グラファイトシートは、ペルチェ素子と前記熱伝導性金属シートの間に挟まれて接合され、外側部で水冷ジャケットと熱伝導性金属シートで強固に接合されていることを特徴とする請求項6に記載された身体冷暖房装置。
  9. 前記グラファイトシートと前記熱伝導性金属シートとは、ペルチェ素子の接する範囲外に、熱伝導性の良い粘体を封入したことを特徴とする請求項6から請求項8のいずれか1項に記載された身体冷暖房装置。
  10. 前記熱交換部に冷却水あるいはクーラントを補充できるとともに、ポンピングが可能な外部タンクと、
    前記外部タンクの下部に設置された第1弁機構と、
    前記第1弁機構を介して結合する第2弁機構を備えたリザーブタンクと、
    前記外部タンクのポンピングにより、リザーブタンク内部の空気を外部タンクに移動させることを特徴とする請求項1から請求項9のいずれか1項に記載された身体冷暖房装置。
  11. 前記リザーブタンクは、内部に気泡よりも目の細かいメッシュを入れたことを特徴とする請求項10に記載された身体冷暖房装置。
  12. 前記ペルチェ素子は、
    発熱面に配置された断面コ字状の金属製フィンと、
    前記金属製フィンおよび発熱面を覆った樹脂製水冷ジャケットと、
    から構成されていることを特徴とする請求項1から請求項11のいずれか1項に記載された身体冷暖房装置。
JP2009187644A 2008-09-03 2009-08-13 ペルチェ素子を用いた身体冷暖房装置 Active JP5264648B2 (ja)

Priority Applications (1)

Application Number Priority Date Filing Date Title
JP2009187644A JP5264648B2 (ja) 2008-09-03 2009-08-13 ペルチェ素子を用いた身体冷暖房装置

Applications Claiming Priority (3)

Application Number Priority Date Filing Date Title
JP2008225782 2008-09-03
JP2008225782 2008-09-03
JP2009187644A JP5264648B2 (ja) 2008-09-03 2009-08-13 ペルチェ素子を用いた身体冷暖房装置

Related Child Applications (1)

Application Number Title Priority Date Filing Date
JP2013046424A Division JP2013154181A (ja) 2008-09-03 2013-03-08 ペルチェ素子を用いた身体冷暖房装置

Publications (2)

Publication Number Publication Date
JP2010082427A true JP2010082427A (ja) 2010-04-15
JP5264648B2 JP5264648B2 (ja) 2013-08-14

Family

ID=42246948

Family Applications (2)

Application Number Title Priority Date Filing Date
JP2009187644A Active JP5264648B2 (ja) 2008-09-03 2009-08-13 ペルチェ素子を用いた身体冷暖房装置
JP2013046424A Pending JP2013154181A (ja) 2008-09-03 2013-03-08 ペルチェ素子を用いた身体冷暖房装置

Family Applications After (1)

Application Number Title Priority Date Filing Date
JP2013046424A Pending JP2013154181A (ja) 2008-09-03 2013-03-08 ペルチェ素子を用いた身体冷暖房装置

Country Status (1)

Country Link
JP (2) JP5264648B2 (ja)

Cited By (30)

* Cited by examiner, † Cited by third party
Publication number Priority date Publication date Assignee Title
JP2012161446A (ja) * 2011-02-07 2012-08-30 Advanced Inst Of Wearable Environmental Information Networks 身体冷暖房装置
KR101190056B1 (ko) * 2012-01-17 2012-10-12 김진수 열전소자로 흡열과 발열을 하는 버프 장치
WO2013114680A1 (ja) * 2012-02-04 2013-08-08 NAKANISHI Yuzou 身体装着体用の冷却装置ユニット
JP2015100489A (ja) * 2013-11-23 2015-06-04 特定非営利活動法人ウェアラブル環境情報ネット推進機構 深部体温調節装置
WO2017193617A1 (zh) * 2016-05-07 2017-11-16 深圳市前海康启源科技有限公司 便携式人体物理降温装置
WO2019172143A1 (ja) 2018-03-05 2019-09-12 特定非営利活動法人ウェアラブル環境情報ネット推進機構 電子冷暖房衣服および衣服に着脱可能な電子冷暖房装置
WO2020075864A1 (ja) * 2018-10-12 2020-04-16 株式会社富士通ゼネラル 身体温冷装置
WO2020075863A1 (ja) * 2018-10-12 2020-04-16 株式会社富士通ゼネラル 身体温冷装置
IT201800009486A1 (it) 2018-10-17 2020-04-17 Luca Gentilini Indumento termoregolatore
EP2906157B1 (en) * 2012-10-10 2020-08-05 Neuron Guard S.r.l. A therapeutic collar
CN112220610A (zh) * 2020-12-21 2021-01-15 锐可医疗科技(上海)有限公司 一种康复系统
JP2021023438A (ja) * 2019-07-31 2021-02-22 株式会社富士通ゼネラル 身体温冷装置
JP2021023428A (ja) * 2019-07-31 2021-02-22 株式会社富士通ゼネラル 身体温冷装置
JP2021023353A (ja) * 2019-07-31 2021-02-22 株式会社富士通ゼネラル 身体温冷装置
JP2021023439A (ja) * 2019-07-31 2021-02-22 株式会社富士通ゼネラル 身体温冷装置
JP2021023437A (ja) * 2019-07-31 2021-02-22 株式会社富士通ゼネラル 身体温冷装置
JP2021023352A (ja) * 2019-07-31 2021-02-22 株式会社富士通ゼネラル 身体温冷装置
JP2021133180A (ja) * 2020-02-28 2021-09-13 株式会社富士通ゼネラル 身体温冷装置
JP2021133176A (ja) * 2020-02-28 2021-09-13 株式会社富士通ゼネラル 身体温冷装置
JP2021133179A (ja) * 2020-02-28 2021-09-13 株式会社富士通ゼネラル 身体温冷装置
JP2021133177A (ja) * 2020-02-28 2021-09-13 株式会社富士通ゼネラル 身体温冷装置
JP2021133178A (ja) * 2020-02-28 2021-09-13 株式会社富士通ゼネラル 身体温冷装置
WO2022083519A1 (zh) * 2020-10-20 2022-04-28 深圳市蓝禾技术有限公司 脖戴风扇
JP2022136883A (ja) * 2021-03-08 2022-09-21 株式会社富士通ゼネラル 身体温冷装置
JP2022136882A (ja) * 2021-03-08 2022-09-21 株式会社富士通ゼネラル 身体温冷装置
JP2022136884A (ja) * 2021-03-08 2022-09-21 株式会社富士通ゼネラル 身体温冷装置
JP2022154424A (ja) * 2021-03-30 2022-10-13 株式会社富士通ゼネラル 身体温冷装置
JP2022154423A (ja) * 2021-03-30 2022-10-13 株式会社富士通ゼネラル 補助冷却装置および身体温冷装置
WO2023070124A1 (en) * 2021-10-22 2023-04-27 Sunbeam Products, Inc. Contrast therapy device
JP2023133985A (ja) * 2022-03-14 2023-09-27 株式会社アールエスタイチ 身体装着型冷却システム

Families Citing this family (9)

* Cited by examiner, † Cited by third party
Publication number Priority date Publication date Assignee Title
GB2542849B (en) * 2015-10-02 2020-12-16 Cheng Chuan Yang Cooling and warming protector
KR101840279B1 (ko) * 2016-05-03 2018-03-20 강명호 찜질사우나마스크
CN205683186U (zh) * 2016-05-07 2016-11-16 深圳市前海康启源科技有限公司 可穿戴式头部物理降温装置
KR102444417B1 (ko) * 2016-08-31 2022-09-16 한국전기연구원 열전모듈을 이용한 안면 냉온 찜질 장치
CZ307567B6 (cs) * 2016-12-09 2018-12-12 Vysoká Škola Báňská-Technická Univerzita Ostrava Univerzální zařízení pro lokální aplikaci hypotermie na oblasti zejména kolenního kloubu
KR102202348B1 (ko) * 2018-11-20 2021-01-13 주식회사 디자인넥스트 목 냉각 밴드
JP6858944B2 (ja) * 2018-03-31 2021-04-14 中松 義郎 エリクールビズ
JP2021108668A (ja) * 2019-12-31 2021-08-02 品川通信工業株式会社 温度制御装置
CN114795642B (zh) * 2022-06-24 2022-10-18 浙江省肿瘤医院 一种冷疗温度控制方法和装置

Citations (3)

* Cited by examiner, † Cited by third party
Publication number Priority date Publication date Assignee Title
JPS6151825U (ja) * 1984-09-11 1986-04-08
JPH04120721U (ja) * 1991-04-17 1992-10-28 弘二 森谷 温冷帯
JP2001061879A (ja) * 1999-08-09 2001-03-13 Eishun Tei 冷・温マッサージ器

Family Cites Families (4)

* Cited by examiner, † Cited by third party
Publication number Priority date Publication date Assignee Title
JPH08140735A (ja) * 1994-11-18 1996-06-04 Meisei Denshi Kogyo Kk 美容バンド
JP2000130908A (ja) * 1998-10-28 2000-05-12 Sanyo Electric Co Ltd 冷却装置
JP3857895B2 (ja) * 2001-09-04 2006-12-13 古河電気工業株式会社 避雷器
JP2005124609A (ja) * 2003-10-21 2005-05-19 Sumitomo Rubber Ind Ltd 電子枕

Patent Citations (3)

* Cited by examiner, † Cited by third party
Publication number Priority date Publication date Assignee Title
JPS6151825U (ja) * 1984-09-11 1986-04-08
JPH04120721U (ja) * 1991-04-17 1992-10-28 弘二 森谷 温冷帯
JP2001061879A (ja) * 1999-08-09 2001-03-13 Eishun Tei 冷・温マッサージ器

Cited By (37)

* Cited by examiner, † Cited by third party
Publication number Priority date Publication date Assignee Title
JP2012161446A (ja) * 2011-02-07 2012-08-30 Advanced Inst Of Wearable Environmental Information Networks 身体冷暖房装置
KR101190056B1 (ko) * 2012-01-17 2012-10-12 김진수 열전소자로 흡열과 발열을 하는 버프 장치
WO2013114680A1 (ja) * 2012-02-04 2013-08-08 NAKANISHI Yuzou 身体装着体用の冷却装置ユニット
JPWO2013114680A1 (ja) * 2012-02-04 2015-05-11 雄三 中西 身体装着体用の冷却装置ユニット
EP2906157B1 (en) * 2012-10-10 2020-08-05 Neuron Guard S.r.l. A therapeutic collar
JP2015100489A (ja) * 2013-11-23 2015-06-04 特定非営利活動法人ウェアラブル環境情報ネット推進機構 深部体温調節装置
WO2017193617A1 (zh) * 2016-05-07 2017-11-16 深圳市前海康启源科技有限公司 便携式人体物理降温装置
WO2019172143A1 (ja) 2018-03-05 2019-09-12 特定非営利活動法人ウェアラブル環境情報ネット推進機構 電子冷暖房衣服および衣服に着脱可能な電子冷暖房装置
KR20200128048A (ko) 2018-03-05 2020-11-11 도쿠테이 히에이리 가츠도 호우진 웨어러블 간쿄 조호 네트 스이신 기코 전자 냉난방 의복 및 의복에 탈착 가능한 전자 냉난방 장치
US11963559B2 (en) 2018-03-05 2024-04-23 WIN Human Recorder Co., Ltd. Electronic heating/cooling garment and electronic heating/cooling device attachable to/detachable from garment
WO2020075863A1 (ja) * 2018-10-12 2020-04-16 株式会社富士通ゼネラル 身体温冷装置
JP2020058741A (ja) * 2018-10-12 2020-04-16 株式会社富士通ゼネラル 身体温冷装置
JP2020058738A (ja) * 2018-10-12 2020-04-16 株式会社富士通ゼネラル 身体温冷装置
WO2020075864A1 (ja) * 2018-10-12 2020-04-16 株式会社富士通ゼネラル 身体温冷装置
IT201800009486A1 (it) 2018-10-17 2020-04-17 Luca Gentilini Indumento termoregolatore
JP2021023439A (ja) * 2019-07-31 2021-02-22 株式会社富士通ゼネラル 身体温冷装置
JP2021023353A (ja) * 2019-07-31 2021-02-22 株式会社富士通ゼネラル 身体温冷装置
JP2021023438A (ja) * 2019-07-31 2021-02-22 株式会社富士通ゼネラル 身体温冷装置
JP2021023437A (ja) * 2019-07-31 2021-02-22 株式会社富士通ゼネラル 身体温冷装置
JP2021023352A (ja) * 2019-07-31 2021-02-22 株式会社富士通ゼネラル 身体温冷装置
JP2021023428A (ja) * 2019-07-31 2021-02-22 株式会社富士通ゼネラル 身体温冷装置
JP7428011B2 (ja) 2020-02-28 2024-02-06 株式会社富士通ゼネラル 身体温冷装置
JP2021133180A (ja) * 2020-02-28 2021-09-13 株式会社富士通ゼネラル 身体温冷装置
JP2021133176A (ja) * 2020-02-28 2021-09-13 株式会社富士通ゼネラル 身体温冷装置
JP2021133179A (ja) * 2020-02-28 2021-09-13 株式会社富士通ゼネラル 身体温冷装置
JP2021133177A (ja) * 2020-02-28 2021-09-13 株式会社富士通ゼネラル 身体温冷装置
JP2021133178A (ja) * 2020-02-28 2021-09-13 株式会社富士通ゼネラル 身体温冷装置
JP7447548B2 (ja) 2020-02-28 2024-03-12 株式会社富士通ゼネラル 身体温冷装置
WO2022083519A1 (zh) * 2020-10-20 2022-04-28 深圳市蓝禾技术有限公司 脖戴风扇
CN112220610A (zh) * 2020-12-21 2021-01-15 锐可医疗科技(上海)有限公司 一种康复系统
JP2022136884A (ja) * 2021-03-08 2022-09-21 株式会社富士通ゼネラル 身体温冷装置
JP2022136882A (ja) * 2021-03-08 2022-09-21 株式会社富士通ゼネラル 身体温冷装置
JP2022136883A (ja) * 2021-03-08 2022-09-21 株式会社富士通ゼネラル 身体温冷装置
JP2022154424A (ja) * 2021-03-30 2022-10-13 株式会社富士通ゼネラル 身体温冷装置
JP2022154423A (ja) * 2021-03-30 2022-10-13 株式会社富士通ゼネラル 補助冷却装置および身体温冷装置
WO2023070124A1 (en) * 2021-10-22 2023-04-27 Sunbeam Products, Inc. Contrast therapy device
JP2023133985A (ja) * 2022-03-14 2023-09-27 株式会社アールエスタイチ 身体装着型冷却システム

Also Published As

Publication number Publication date
JP5264648B2 (ja) 2013-08-14
JP2013154181A (ja) 2013-08-15

Similar Documents

Publication Publication Date Title
JP5264648B2 (ja) ペルチェ素子を用いた身体冷暖房装置
US11903872B2 (en) Heat exchange module, system and method
JP5854376B2 (ja) 身体冷暖房装置
KR102726587B1 (ko) 전자 냉난방 의복 및 의복에 탈착 가능한 전자 냉난방 장치
US11419754B2 (en) Heat exchange module and system for medical applications
CA1155028A (en) Therapeutic device
US10350108B1 (en) Heating/cooling therapy system
JP6644747B2 (ja) 拡大した流水面積を有するハイブリッド医療用冷却パッド
US5653741A (en) Heating and cooling pad
US20130281893A1 (en) Hot and cold eye treatment apparatus
US20090228082A1 (en) Patient heat transfer device
US3154926A (en) Cooling blanket
JP2004524938A (ja) 局部的な身体冷却/加熱装置及び方法
KR102444417B1 (ko) 열전모듈을 이용한 안면 냉온 찜질 장치
CN107613914A (zh) 医用亚低温治疗仪
JP2017018409A (ja) 冷温装具
TWM612803U (zh) 可撓性冷熱敷帶
US20180071138A1 (en) Thermo electric cooling systems for hypothermia therapy treatment
TWI795190B (zh) 可高效冷熱轉換及快速置換敷帶之冷熱敷裝置
JP2008025052A (ja) 電子冷暖房服
TW202231256A (zh) 可撓性冷熱敷帶
JP2002058694A (ja) 生体用冷却・加熱装置
CN223586119U (zh) 一种便携式静音冷热敷机
CN223826517U (zh) 一种双流道柔性水冷片以及制冷机
CN215131415U (zh) 一种柔性接触式冷敷仪

Legal Events

Date Code Title Description
A621 Written request for application examination

Free format text: JAPANESE INTERMEDIATE CODE: A621

Effective date: 20110901

A977 Report on retrieval

Free format text: JAPANESE INTERMEDIATE CODE: A971007

Effective date: 20121130

A131 Notification of reasons for refusal

Free format text: JAPANESE INTERMEDIATE CODE: A131

Effective date: 20130108

A521 Request for written amendment filed

Free format text: JAPANESE INTERMEDIATE CODE: A523

Effective date: 20130308

TRDD Decision of grant or rejection written
A521 Request for written amendment filed

Free format text: JAPANESE INTERMEDIATE CODE: A821

Effective date: 20130326

A711 Notification of change in applicant

Free format text: JAPANESE INTERMEDIATE CODE: A711

Effective date: 20130326

A01 Written decision to grant a patent or to grant a registration (utility model)

Free format text: JAPANESE INTERMEDIATE CODE: A01

Effective date: 20130402

A521 Request for written amendment filed

Free format text: JAPANESE INTERMEDIATE CODE: A821

Effective date: 20130326

A61 First payment of annual fees (during grant procedure)

Free format text: JAPANESE INTERMEDIATE CODE: A61

Effective date: 20130430

R150 Certificate of patent or registration of utility model

Free format text: JAPANESE INTERMEDIATE CODE: R150

Ref document number: 5264648

Country of ref document: JP

Free format text: JAPANESE INTERMEDIATE CODE: R150

R250 Receipt of annual fees

Free format text: JAPANESE INTERMEDIATE CODE: R250

R250 Receipt of annual fees

Free format text: JAPANESE INTERMEDIATE CODE: R250

R250 Receipt of annual fees

Free format text: JAPANESE INTERMEDIATE CODE: R250

R250 Receipt of annual fees

Free format text: JAPANESE INTERMEDIATE CODE: R250

R250 Receipt of annual fees

Free format text: JAPANESE INTERMEDIATE CODE: R250

R250 Receipt of annual fees

Free format text: JAPANESE INTERMEDIATE CODE: R250

R250 Receipt of annual fees

Free format text: JAPANESE INTERMEDIATE CODE: R250

R250 Receipt of annual fees

Free format text: JAPANESE INTERMEDIATE CODE: R250

R250 Receipt of annual fees

Free format text: JAPANESE INTERMEDIATE CODE: R250

R250 Receipt of annual fees

Free format text: JAPANESE INTERMEDIATE CODE: R250