JP2010081757A - バッテリ、バッテリの制御方法、充電器、電気機器、充電制御システム、及び、放電制御システム - Google Patents

バッテリ、バッテリの制御方法、充電器、電気機器、充電制御システム、及び、放電制御システム Download PDF

Info

Publication number
JP2010081757A
JP2010081757A JP2008248700A JP2008248700A JP2010081757A JP 2010081757 A JP2010081757 A JP 2010081757A JP 2008248700 A JP2008248700 A JP 2008248700A JP 2008248700 A JP2008248700 A JP 2008248700A JP 2010081757 A JP2010081757 A JP 2010081757A
Authority
JP
Japan
Prior art keywords
temperature
battery
battery cell
circuit
discharge
Prior art date
Legal status (The legal status is an assumption and is not a legal conclusion. Google has not performed a legal analysis and makes no representation as to the accuracy of the status listed.)
Granted
Application number
JP2008248700A
Other languages
English (en)
Other versions
JP5422955B2 (ja
Inventor
Osamu Nagashima
修 長島
Current Assignee (The listed assignees may be inaccurate. Google has not performed a legal analysis and makes no representation or warranty as to the accuracy of the list.)
Sony Corp
Original Assignee
Sony Corp
Priority date (The priority date is an assumption and is not a legal conclusion. Google has not performed a legal analysis and makes no representation as to the accuracy of the date listed.)
Filing date
Publication date
Application filed by Sony Corp filed Critical Sony Corp
Priority to JP2008248700A priority Critical patent/JP5422955B2/ja
Publication of JP2010081757A publication Critical patent/JP2010081757A/ja
Application granted granted Critical
Publication of JP5422955B2 publication Critical patent/JP5422955B2/ja
Expired - Fee Related legal-status Critical Current
Anticipated expiration legal-status Critical

Links

Images

Classifications

    • YGENERAL TAGGING OF NEW TECHNOLOGICAL DEVELOPMENTS; GENERAL TAGGING OF CROSS-SECTIONAL TECHNOLOGIES SPANNING OVER SEVERAL SECTIONS OF THE IPC; TECHNICAL SUBJECTS COVERED BY FORMER USPC CROSS-REFERENCE ART COLLECTIONS [XRACs] AND DIGESTS
    • Y02TECHNOLOGIES OR APPLICATIONS FOR MITIGATION OR ADAPTATION AGAINST CLIMATE CHANGE
    • Y02EREDUCTION OF GREENHOUSE GAS [GHG] EMISSIONS, RELATED TO ENERGY GENERATION, TRANSMISSION OR DISTRIBUTION
    • Y02E60/00Enabling technologies; Technologies with a potential or indirect contribution to GHG emissions mitigation
    • Y02E60/10Energy storage using batteries

Landscapes

  • Protection Of Static Devices (AREA)
  • Charge And Discharge Circuits For Batteries Or The Like (AREA)
  • Secondary Cells (AREA)

Abstract

【課題】確実にバッテリセルが過剰な発熱が起きないようにして、充電又は放電動作を行うことが可能なバッテリを提供する。
【解決手段】バッテリセル11と、バッテリセル11を外部機器20と電気的に接続する充放電回路12と、バッテリセル11等の温度を検出する温度検出部13と、外部機器20と通信を行う通信部14と、温度検出部13により検出されるバッテリセル11等の温度が所定の温度を超えたとき、このバッテリセル11等の温度情報を送信するように通信部14を制御し、外部機器20から動作停止を示す停止情報が送信されてきたとき、この外部機器20との電気的な接続を遮断するように充放電回路12を制御する制御回路15とを備える。
【選択図】 図1

Description

本発明は、外部機器との間で充放電動作を行うバッテリ、このバッテリの制御方法、このバッテリの充電を行う充電器、このバッテリの放電電力により駆動する電気機器、充電制御システム、及び、放電制御システムに関するものである。
リチウムイオン2次電池などをバッテリセルとして使用するバッテリーパックを充放電する際に温度検出は非常に重要である。特に、バッテリーパックを充電中においてバッテリセルの許容電流以上の充電電流で充電を継続すると、バッテリセルが過剰に発熱するため、従来のバッテリの充電動作や放電動作では、バッテリセルの温度がある閾値を超えた場合、充電器からの充電電流を停止またはバッテリーの充電経路をオフにしている。
例えば、特許文献1には、バッテリの温度と、このバッテリの温度上昇の影響の少ない部位における温度との差分の時間変化に基づいて、バッテリの充電を停止制御することにより、温度を基準にした充電の制御において満充電を精度良く検出する充電回路が記載されている。
特開2004―242459号公報
上述したようにバッテリセルの温度がある上限値を超えるのを防止する必要がある。しかしながら、従来の充放電動作では、バッテリーパック側で上限値となる温度を検出しても、バッテリーパックだけが充放電の動作を停止するため、バッテリパックに接続された充電器や電気機器側が依然として充放電可能な動作状態となっている。このため、例えばバッテリーパック側で充放電動作を停止しても、その後バッテリセルの温度が低下することで充放電動作が開始されてしまい、バッテリセルの温度が再び発熱してしまう場合があった。
本発明は、このような実情に鑑みて提案されたものであり、バッテリとの間で充電又は放電動作を行うシステム全体で温度管理をすることで、より確実にバッテリセルが過剰な発熱が起きないようにして、充電又は放電動作を行うことが可能なバッテリ、このバッテリの制御方法、このバッテリの充電を行う充電器、このバッテリの放電電力により駆動する電気機器、充電制御システム、及び、放電制御システムを提供することを目的とする。
上述した課題を解決するための手段として、本発明に係るバッテリは、バッテリセルと、バッテリセルを外部機器と電気的に接続する充放電回路と、バッテリセルの温度を検出する温度検出部と、外部機器と通信を行う通信部と、温度検出部により検出されるバッテリセルの温度が所定の温度を超えたとき、このバッテリセルの温度情報を送信するように通信部を制御し、外部機器から動作停止を示す停止情報が送信されてきたとき、この外部機器との電気的な接続を遮断するように充放電回路を制御する制御部とを備える。
また、本発明に係るバッテリの制御方法は、バッテリセルの温度を検出する検出ステップと、検出ステップにより検出されるバッテリセルの温度が所定の温度を超えたとき、このバッテリセルの温度情報を、このバッテリセルと充放電回路を介して電気的に接続される外部機器に送信する送信ステップと、外部機器から動作停止を示す停止情報が送信されてきたとき、この外部機器との電気的な接続を遮断するように充放電回路を制御する遮断ステップとを有する。
また、本発明に係る充電器は、バッテリが備えるバッテリセルに、充電電流を供給する充電回路と、充電回路の温度を検出する温度検出部と、バッテリと通信を行う通信部と、バッテリセルが所定の温度を超えたことを示す温度情報が通信部に送信されてきたとき、又は、温度検出部により検出される充電回路の温度が所定の温度を超えたとき、バッテリとの電気的な接続を遮断するように充電回路を制御した後、この充電回路の充電動作が停止したことを示す停止情報を送信するように通信部を制御する制御部とを備える。
また、本発明に係る電気機器は、バッテリから供給される放電電力により駆動する負荷回路と、負荷回路の温度を検出する温度検出部と、バッテリと通信を行う通信部と、バッテリセルが所定の温度を超えたことを示す温度情報が通信部に送信されてきたとき、又は、温度検出部により検出される負荷回路の温度が所定の温度を超えたとき、バッテリとの電気的な接続を遮断するように負荷回路を制御した後、この負荷回路による放電動作が停止したことを示す停止情報を送信するように通信部を制御する制御部とを備える。
また、本発明に係る充電制御システムは、バッテリと、バッテリの充電を行う充電器とを備え、バッテリは、バッテリセルと、このバッテリセルと充電器とを電気的に接続する充電回路と、このバッテリセルの温度を検出する温度検出部と、この充電器と通信を行う通信部と、この温度検出部により検出されるバッテリセルの温度が所定の温度を超えたとき、このバッテリセルの温度情報を送信するようにこの通信部を制御し、この充電器から充電動作の停止を示す停止情報が送信されてきたとき、この充電器との電気的な接続を遮断するようにこの充電回路を制御する制御部とを有し、充電器は、バッテリに充電電流を供給する充電回路と、この充電回路の温度を検出する温度検出部と、このバッテリと通信を行う通信部と、このバッテリのバッテリセルが所定の温度を超えたことを示す温度情報がこの通信部に送信されてきたとき、又は、この温度検出部により検出される充電回路の温度が所定の温度を超えたとき、このバッテリとの電気的な接続を遮断するようにこの充電回路を制御した後、停止情報を送信するようにこの通信部を制御する制御部とを有する。
また、本発明に係る放電制御システムは、バッテリと、バッテリから放電電力が供給される電気機器とを備え、バッテリは、バッテリセルと、このバッテリセルと電気機器とを電気的に接続する放電回路と、このバッテリセルの温度を検出する温度検出部と、この電気機器と通信を行う通信部と、この温度検出部により検出されるバッテリセルの温度が所定の温度を超えたとき、このバッテリセルの温度情報を送信するようにこの通信部を制御し、この電気機器から放電動作の停止を示す停止情報が送信されてきたとき、この電気機器との電気的な接続を遮断するようにこの放電回路を制御する制御部とを有し、電気機器は、バッテリから供給される放電電力により駆動する負荷回路と、この負荷回路の温度を検出する温度検出部と、このバッテリと通信を行う通信部と、このバッテリのバッテリセルが所定の温度を超えたことを示す温度情報がこの通信部に送信されてきたとき、又は、この温度検出部により検出される負荷回路の温度が所定の温度を超えたとき、このバッテリとの電気的な接続を遮断するようにこの負荷回路を制御した後、停止情報を送信するようにこの通信部を制御する制御部とを有する。
本発明によれば、バッテリと外部機器とがそれぞれ温度検出を行い、一方の検出結果を他方に送信することにより温度情報を共有して充放電経路の電気的な接続を遮断するので、より確実にバッテリセルが過剰な発熱が起きないようにして、充電又は放電動作を行うことができる。
以下、本発明を実施するための最良の形態について、図面を参照しながら詳細に説明する。なお、本発明は、以下の実施形態のみに限定されるものではなく、本発明の要旨を逸脱しない範囲内において種々の変更が可能であることは勿論である。
本発明が適用された充放電制御システムは、バッテリと、バッテリと接続される外部機器との間で充放電動作を行うシステムである。なお、説明は以下の順序で行う。
1.全体構成
2.温度管理
3.復帰処理
<1.全体構成>
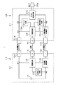
まず、図1に示すような、本発明が適用されたバッテリパック10と、このバッテリパック10を充電する充電器20とからなる充電制御システム1について説明する。
バッテリパック10は、図1に示すように、リチウムイオン二次電池などのバッテリセル11と、バッテリセル11を充電器20などの外部機器と電気的に接続する充放電回路12と、バッテリセル11の温度を検出する温度検出回路13とを備える。また、バッテリパック10は、充電器20などの外部機器と通信を行う通信部14と、バッテリセル11の動作を制御する制御回路15とを備える。
バッテリセル11は、例えばリチウムイオン二次電池などの充放電可能な電池であって、充放電回路12と接続され、後述する充放電制御部12cによって充電器20などの外部機器と電気的に接続される。
充放電回路12は、バッテリセル11を充電器20などの外部機器と電気的に接続する回路であって、具体的には次のような構成からなる。すなわち、充放電回路12は、バッテリセル11の正極端及び負極端と、それぞれ接点P11、P12により電気的に接続されている。また、充放電回路12は、バッテリセル11の正極端と外部機器とを電気的に接続する正極端子12aと、バッテリセル11の負極端と外部機器とを電気的に接続する負極端子12bと、回路内の電気的な接続を制御する充放電制御部12cとからなる。
正極端子12aは、バッテリセル11の正極端と外部機器とを電気的に接続する端子であって、図1に示すように後述する充電器20の正極端子21aと接続される。
負極端子12bは、バッテリセル11の負極端と外部機器とを電気的に接続する端子であって、図1に示すように後述する充電器20の負極端子21bと接続される。
充放電制御部12cは、図2に示すように、充電制御素子121と、放電制御素子122とからなり、回路内の電気的な接続を制御するため、具体的には各素子が次のように接続されることで実現される。
充電制御素子121は、外部機器からバッテリセル11に充電電流が流れる充電経路の電気的な接続と遮断とを切り換える。例えば、図2に示すように、充電制御素子121は、nチャネルのMOSFETからなり、ゲート端子、ソース端子、ドレイン端子が、それぞれ制御回路15、負極端子12b、放電制御素子122と接続されている。
放電制御素子122は、バッテリセル11から外部機器に放電電流が流れる放電経路の電気的な接続と遮断とを切り換える。例えば、放電制御素子122は、nチャネルのMOSFETからなり、ゲート端子、ソース端子、ドレイン端子が、それぞれ制御回路15、バッテリセル11の負極端子、充電制御素子121のドレイン端子と接続されている。
このような構成からなる充放電制御部12cでは、制御回路15により、充電制御素子121のゲート電圧が制御されることでドレイン−ソース間が導通することで充電経路が電気的に接続される。ここで、充電経路では、放電制御素子122のドレイン−ソース間を介して充電電流が流れることとなる。また、充放電制御部12cでは、制御回路15により、放電制御素子122のゲート電圧が制御されることでドレイン−ソース間が導通することで放電経路が電気的に接続される。ここで、放電経路では、充電制御素子121のドレイン−ソース間を介して放電電流が流れることとなる。
温度検出回路13は、バッテリセル11等の温度を検出するため、例えば素子の温度変化に応じて抵抗値が変化するサーミスタなどの抵抗素子からなり、図1に示すように制御回路15と接点P12と接続される。温度検出回路13は、バッテリセル11等の温度を検出し、検出結果を電圧に変換して制御回路15に通知する。
通信部14は、外部機器と通信を行う。具体的に通信部14は、後述する充電器20の制御回路24と接続され、制御回路15から供給される情報を充電器20に送信したり、充電器20から情報を受信して制御回路15に供給する。
制御回路15は、温度検出回路13による検出結果に応じて、充放電回路12及び通信部14の動作を制御する。
以上のような構成からなるバッテリパック10に対して充電を行う充電器20は、次のような構成を有している。すなわち、充電器20は、バッテリパック10が備えるバッテリセル11に充電電力を供給する充電回路21と、充電回路21の温度を検出する温度検出回路22と、バッテリと通信を行う通信部23と、充電回路21の充電動作を制御する制御回路24とを備える。また、充電器20には、商用の交流電源であるコンセントと接続されるACコード20aが設けられている。
充電回路21は、正極端子21aと、負極端子21bと、ACコード20aにより供給された交流電源電圧を直流電源電圧に変換するAC/DC変換回路21cと、回路内の電流の流れを制御する充電電流制御部21dとからなる。
正極端子21aは、バッテリパック10の正極端子12aと電気的に接続される端子である。
負極端子21bは、バッテリパック10の負極端子12bと電気的に接続される端子である。
AC/DC変換回路21cは、ACコード20aにより供給される交流電源電圧を直流電源電圧に変換する回路であって、接点P21、P22を介して正極端子21aと電気的に接続され、接点P23を介して充電電流制御部21dと電気的に接続される。
充電電流制御部21dは、回路内の電流の流れを制御するため、例えばnチャネルのMOSFETからなり、ゲート端子、ソース端子、ドレイン端子が、それぞれ制御回路24、接点P23を介してAC/DC変換回路21c、負極端子21bと接続されている。充電電流制御部21dは、制御回路24によりゲート電圧が制御されることでドレイン−ソース間が導通することで充電経路が電気的に接続される。
温度検出回路22は、充電回路21の温度を検出するため、例えば素子の温度変化に応じて抵抗値が変化するサーミスタなどの抵抗素子からなり、図1に示すように制御回路24と接点P23と接続される。温度検出回路22は、充電回路21の温度を検出し、検出結果を電圧に変換して制御回路24に通知する。
通信部23は、バッテリパック10の通信部14と電気的に接続され、制御回路24から供給される情報をバッテリパック10に送信したり、バッテリパック10から情報を受信して制御回路24に供給する。
制御回路24は、温度検出回路22による検出結果に応じて、充電回路21及び通信部23の動作を制御する。
以上のような構成からなる充電器20と電気的に接続されることで充電されるバッテリパック10は、図3に示すような電気機器30と接続されることで放電動作が行われることとなる。図3は、バッテリパック10と、バッテリパック10からの放電電力の供給により駆動する電気機器30とからなる放電制御システム2の全体構成を示す図である。
電気機器30は、バッテリパック10から供給される放電電力によって駆動するビデオカメラなどの携帯型の電気機器であって、図3に示すように、バッテリパック10から供給される放電電力により駆動する負荷回路31と、負荷回路31の温度を検出する温度検出回路32と、バッテリパック10と通信を行う通信部33と、負荷回路31による放電動作を制御する制御回路34とを備える。
負荷回路31は、正極端子31aと、負極端子31bと、電源スイッチ31cと、当該電気機器30の主要な機能を実現する駆動部311に直流電圧を供給するDC/DC変換回路31dと、回路内の電流の流れを制御する放電電流制御部31eとからなる。
正極端子31aは、バッテリパック10の正極端子12aと電気的に接続される端子である。
負極端子31bは、バッテリパック10の負極端子12bと電気的に接続される端子である。
DC/DC変換回路31dは、バッテリパック10から供給された直流電源電圧を昇圧して、昇圧した直流電圧を駆動部311に供給する変換回路であり、接点P31、P32を介して電源スイッチ31cと接続され、接点P33を介して放電電流制御部31eと接続される。
電源スイッチ31cは、一端が正極端子31aと接続され、他端が、接点P31を介してそれぞれDC/DC変換回路31d、制御回路34と接続される。電源スイッチ31cは、例えばユーザからの押圧動作によって、正極端子31aに対して、DC/DC変換回路31dと、制御回路34とをそれぞれ電気的に接続したり遮断したりする。
放電電流制御部31eは、回路内の電流の流れを制御するため、例えばnチャネルのMOSFETからなり、ゲート端子、ソース端子、ドレイン端子が、それぞれ制御回路34、負極端子31b、接点P33を介してDC/DC変換回路31dと接続される。放電電流制御部31eは、制御回路34によりゲート電圧が制御されることでドレイン−ソース間が導通することで放電経路が電気的に接続される。
温度検出回路32は、負荷回路31の温度を検出するため、例えば素子の温度変化に応じて抵抗値が変化するサーミスタなどの抵抗素子からなり、図3に示すように制御回路34と接点P33と接続される。温度検出回路32は、負荷回路31の温度を検出し、検出結果を電圧に変換して制御回路34に通知する。
通信部33は、バッテリパック10の通信部14と電気的に接続され、制御回路34から供給される情報をバッテリパック10に送信したり、バッテリから情報を受信して制御回路34に供給する。
制御回路34は、温度検出回路32による検出結果に応じて、負荷回路31及び通信部33の動作を制御する。
次に、電気機器30の駆動部311の具体例を図4に示す。図4は、駆動部311の具体例として、被写体を撮像する撮像装置の構成を示す図である。すなわち、駆動部311は、図4に示すように、撮像素子101と画像処理部102と書込処理部103と不揮発性記録媒体104とからなり、これらの処理部がDC/DC変換回路31dにより供給される直流電圧によって駆動するものである。
撮像素子101は、被写体を撮像して撮像信号を画像処理部102に供給する。画像処理部102は、撮像素子101により供給される撮像信号に対して、ゲイン補正、ホワイトバランスなどの画像信号処理を施して、書込処理部103に供給する。書込処理部103は、画像処理部102から供給される画像情報を、ハードディスクなどの不揮発性記録媒体104に書き込む処理を行う。
<2.温度管理>
以上のような構成からなる充電制御システム1及び放電制御システム2では、次のような処理を行うことによって、システム全体で温度管理をすることで、より確実にバッテリセル11が過剰な発熱が起きないようにする。
まず、充電器20で充電中にバッテリパック10のバッテリセル11等の温度が所定の温度を超えたときに充電を停止する充電制御システム1に係る動作例について、図5のフローチャートを参照して説明する。
まず、本処理の前提として、充電制御システム1では、バッテリパック10と充電器20とが接続されて充電動作を行っているものとする。
ステップS11において、バッテリパック10の温度検出回路13は、バッテリセル11等が所定の温度を超えたことを検出して、この検出結果を電圧に変換して制御回路15に通知する。
ステップS12において、バッテリパック10の制御回路15は、温度検出回路13により検出されたバッテリセル11等の温度情報を送信するように、通信部14を制御する。
ステップS13において、充電器20の通信部23は、バッテリパック10から送信されてくるバッテリセル11等の温度情報を受信して、制御回路24に通知する。
ステップS14において、充電器20の制御回路24は、通信部23により受信したバッテリセル11等の温度情報に応じて、バッテリパック10との電気的な接続を遮断して充電動作を停止するように充電回路21の充電電流制御部21dを制御する。
ステップS15において、充電器20の制御回路24は、充電回路21の充電動作が停止したことを示す停止情報をバッテリパック10に送信するように通信部23を制御する。
ステップS16において、バッテリパック10では、通信部14により充電器20から送信されてくる停止情報を受信すると、制御回路15が、充電器20との電気的な接続を遮断するように充放電回路12の充放電制御部12cを制御する。すなわち、制御回路15は、充放電制御部12cの充電制御素子121が電気的に遮断するようにオフ状態にする。
以上のようにして、充電制御システム1では、バッテリセル11等の温度が所定の温度を超えたことが通知された充電器20側で充電動作を停止して、充電器20側で充電動作を停止した後にバッテリパック10が充放電回路12の充電動作を停止する。このように、充電制御システム1では、バッテリと充電器20とがそれぞれ温度検出を行い、一方の検出結果を他方に送信することにより温度情報を共有して充放電経路の電気的な接続を遮断するので、より確実にバッテリセル11等が過剰な発熱が起きないようにして、充電動作を制御することができる。より具体的には、バッテリ側で充電動作を停止しても、充電器側が充電可能状態が維持されることで、その後バッテリセルの温度が低下することで充電動作が開始されてバッテリセル等の温度が再び発熱してしまうことを防止することができる。
次に、充電器20で充電中に充電回路21の温度が所定の温度を超えたときに充電を停止する充電制御システム1に係る動作例について、図6のフローチャートを参照して説明する。
まず、本処理の前提として、充電制御システム1では、バッテリパック10と充電器20とが接続され充電動作を行っているものとする。
ステップS21において、充電器20の温度検出回路22は、充電回路21の温度が所定の温度を超えたことを検出して、この検出結果を電圧に変換して制御回路24に通知する。
ステップS22において、充電器20の制御回路24は、温度検出回路22による検出結果に応じて、バッテリパック10との電気的な接続を遮断して充電動作を停止するように充電回路21の充電電流制御部21dを制御する。すなわち、制御回路24は、充電電流制御部21dが充電経路を電気的に遮断するようにオフ状態にする。
ステップS23において、充電器20の制御回路24は、充電回路21の充電動作が停止したことを示す停止情報をバッテリパック10に送信するように通信部23を制御する。
ステップS24において、バッテリパック10では、通信部14により充電器20から送信されてくる停止情報を受信すると、制御回路15が、充電器20との電気的な接続を遮断するように充放電回路12の充放電制御部12cを制御する。すなわち、制御回路15は、充放電制御部12cの充電制御素子121が電気的に遮断するようにオフ状態にする。
以上のようにして、充電制御システム1では、充電回路21の温度が所定の温度を超えたことに応じて充電器20側で充電動作を停止して、充電器20側で充電動作を停止した後にバッテリパック10が充放電回路12の充電動作を停止する。このように、充電制御システム1では、バッテリと充電器20とがそれぞれ温度検出を行い、一方の検出結果を他方に送信することにより温度情報を共有して充放電経路の電気的な接続を遮断するので、より確実にバッテリセル11等が過剰な発熱が起きないようにして、充電動作を行うことができる。より具体的には、充電器側で充電動作を停止しても、バッテリ側が充電可能状態が維持されることで、その後充電器の温度が低下することで充電動作が開始されて充電器の温度が再び発熱してしまうことを防止することができる。
次に、電気機器30と接続されたバッテリパック10が放電動作中に、バッテリセル11等の温度が所定の温度を超えたときに放電動作を停止する放電制御システム2に係る動作例について、図7のフローチャートを参照して説明する。
まず、本処理の前提として、放電制御システム2では、バッテリパック10と電気機器30とが接続されて放電動作を行っているものとする。
ステップS31において、バッテリパック10の温度検出回路13は、バッテリセル11等の温度が所定の温度を超えたことを検出して、この検出結果を電圧に変換して制御回路15に通知する。
ステップS32において、バッテリパック10の制御回路15は、温度検出回路13により検出されたバッテリセル11等の温度情報を送信するように、通信部14を制御する。
ステップS33において、電気機器30の通信部33は、バッテリパック10から送信されてくるバッテリセル11等の温度情報を受信して、制御回路34に通知する。
ステップS34において、電気機器30の制御回路34は、通信部33により受信したバッテリセル11等の温度情報に応じて、バッテリパック10との電気的な接続を遮断して放電動作を停止するように負荷回路31の放電電流制御部31eを制御する。
具体的に、制御回路34は、駆動部311において書込処理部103が書込動作中のときは書込動作が終了してから、放電電流制御部31eによる電気的な接続を遮断するように制御する。このようにすることで、電気機器30は、不揮発性記録媒体104への書込動作が完了せずに電源がオフになってしまうことを防止することができる。
また、電気機器30では、この駆動部311の終了動作を、例えば当該機器に設けられたディスプレイやスピーカにより、ユーザに告知するようにしてもよく、このようにすることで、ユーザが意図しない動作の停止を事前に告知することができる。
また、電気機器30は、バッテリパック10からバッテリセルの温度情報を受信してから所定の時間内に書込処理を停止できない場合には、書込処理の完了を待つことなく書込処理部103の動作を停止してもよい。このようにすることで、バッテリセル11等が高温状態に長時間維持されることを防止することができる。
また、放電制御システム2においては、バッテリセル11等の温度が第1の温度を超えたときと、この第1の温度より高い第2の温度を超えたときにそれぞれバッテリパック10から電気機器30側にバッテリセル11等の温度情報を通知するようにしてもよい。そして電気機器30では、第1の温度を示すバッテリセル等の温度情報を受けたときは、書込処理を停止してから放電動作を停止するようにし、第2の温度を示すバッテリセル等の温度情報を受けたときは、書込処理を停止することなく放電動作を停止する。このようにして温度情報に応じて段階的に制御することで、バッテリセル11等が高温状態に長時間維持されることを防止することができる。
ステップS35において、電気機器30の制御回路34は、負荷回路31の放電動作が停止したことを示す停止情報をバッテリパック10に送信するように通信部33を制御する。
ステップS36において、バッテリパック10では、通信部14により電気機器30から送信されてくる停止情報を受信すると、制御回路15が、電気機器30との電気的な接続を遮断するように充放電回路12の充放電制御部12cを制御する。すなわち、制御回路15は、充放電制御部12cの放電制御素子122が電気的に遮断するようにオフ状態にする。
以上のようにして、放電制御システム2では、バッテリセル11等の温度が所定の温度を超えたことが通知された電気機器30側で放電動作を停止して、電気機器30側で放電動作を停止した後にバッテリパック10が充放電回路12の放電動作を停止する。このように、放電制御システム2では、バッテリパック10との間で放電動作を行うシステム全体で温度管理をすることで、より確実にバッテリセル11が過剰な発熱が起きないようにして、放電動作を行うことができる。より具体的には、バッテリ側で放電動作を停止しても、電気機器側が放電可能状態が維持されることで、その後バッテリセル等の温度が低下することで放電動作が開始されてバッテリセル等の温度が再び発熱してしまうことを防止することができる。
次に、電気機器30と接続されたバッテリパック10が放電動作中に、電気機器30の負荷回路31の温度が所定の温度を超えたときに放電を停止する放電制御システム2に係る動作例について、図8のフローチャートを参照して説明する。
まず、本処理の前提として、放電制御システム2では、バッテリパック10と電気機器30とが接続され放電動作を行っているものとする。
ステップS41において、電気機器30の温度検出回路32は、負荷回路31の温度が所定の温度を超えたことを検出して、この検出結果を電圧に変換して制御回路34に通知する。
ステップS42において、電気機器30の制御回路34は、温度検出回路32による検出結果に応じて、バッテリパック10との電気的な接続を遮断して放電動作を停止するように負荷回路31の放電電流制御部31eを制御する。
具体的に、制御回路34は、駆動部311において書込処理部103が書込動作中のときは書込動作が終了してから、放電電流制御部31eによる電気的な接続を遮断するように制御する。このようにすることで、電気機器30は、不揮発性記録媒体104への書込動作が完了せずに電源がオフ状態になってしまうことを防止することができる。
また、電気機器30では、この駆動部311の終了動作を、例えば当該機器に設けられたディスプレイやスピーカにより、ユーザに告知するようにしてもよく、このようにすることで、ユーザが意図しない動作を事前に告知することができる。
また、電気機器30は、所定の時間内に書込処理を停止できない場合には、書込処理の完了を待つことなく書込処理部103の書込動作を停止してもよい。このようにすることで、負荷回路31が高温状態に長時間維持されることを防止することができる。
また、電気機器30は、負荷回路31の温度が第1の温度を超えたことと、この第1の温度より高い第2の温度を超えたこととをそれぞれ温度検出回路33により検出して、制御回路34に通知するようにしてもよい。電気機器20では、第1の温度を示す負荷回路の温度情報を受けたときは、書込処理を停止してから放電動作を停止するようにし、第2の温度を示す負荷回路の温度情報を受けたときは、書込処理を停止することなく放電動作を停止する。このように温度情報に応じて段階的に制御することで、負荷回路31が高温状態に長時間維持されることを防止することができる。
ステップS43において、電気機器30の制御回路34は、負荷回路31による放電動作が停止したことを示す停止情報をバッテリパック10に送信するように通信部33を制御する。
ステップS44において、バッテリパック10では、通信部33により電気機器30から送信されてくる停止情報を受信すると、制御回路15が、電気機器30との電気的な接続を遮断するように充放電回路12の充放電制御部12cを制御する。すなわち、制御回路15は、充放電制御部12cの放電制御素子122が電気的に遮断するようにオフ状態にする。
以上のようにして、放電制御システム2では、負荷回路31の温度が所定の温度を超えたことに応じて電気機器30側で放電動作を停止して、電気機器30側で放電動作を停止した後にバッテリパック10が充放電回路12の放電動作を停止する。このように、放電制御システム2では、バッテリパック10との間で充電又は放電動作を行うシステム全体で温度管理をすることで、より確実に負荷回路31が過剰な発熱が起きないようにして、放電動作を行うことができる。より具体的には、電気機器側で放電動作を停止しても、バッテリ側が放電可能状態が維持されることで、その後電気機器の温度が低下することで放電動作が開始されて電気機器の温度が再び発熱してしまうことを防止することができる。
<3.復帰処理>
上述した停止動作によって、バッテリパック10が充電制御素子121をオフ状態にして充電経路を電気的に遮断している状態を維持している場合、バッテリセル11等の温度が正常範囲に戻っても充電経路が電気的に遮断されるため、充電動作を行うことができない。そこで、バッテリパック10は、次の図9に示すような処理を行うことで充電禁止状態から充電可能状態に復帰する。
まず、本処理の前提として、バッテリパック10は、充電禁止状態、すなわち、充放電回路12の充電経路を電気的に遮断しているものとする。
ステップS51において、バッテリパック10は、バッテリセル11の放電電力により駆動する電気機器30と接続される。
ステップS52において、バッテリパック10と接続された電気機器30は、負荷回路31の電源スイッチ31cがオン状態にされることで、放電動作を開始する。
ステップS53において、バッテリパック10は、充放電回路12においてバッテリセル11から電気機器30に放電電流が流れると、充電制御素子121により、この充電経路を電気的に接続するように切り換える。ここで、充電制御素子121は、充放電回路12において放電経路に電流が流れるのをトリガーとして、又は、制御回路15による制御によって充電経路を電気的に接続するように切り換える。
以上のようにして、バッテリパック10は、放電動作に応じて、充電経路を充電禁止状態から充電可能状態に復帰する。すなわち、バッテリパック10は、バッテリセル11等の温度が下がったときと別の条件で復帰処理を行うことにより、バッテリセル11が過剰に発熱するのを防止しつつ、充電経路を充電禁止状態から充電可能状態に復帰することができる。
また、バッテリパック10が放電制御素子122をオフ状態にして放電経路を電気的に遮断している状態を維持している場合、バッテリセル11等の温度が正常範囲に戻っても放電経路が電気的に遮断されるため、放電動作を行うことができない。そこで、バッテリパック10は、次の図10に示すような処理を行うことで放電禁止状態から放電可能状態に復帰する。
まず、本処理の前提として、バッテリパック10は、放電禁止状態、すなわち、充放電回路12の放電経路を電気的に遮断しているものとする。
ステップS61において、バッテリパック10は、バッテリセル11に充電電流を供給する充電器20と接続される。
ステップS62において、バッテリパック10と接続された充電器20は、充電回路21の充電動作を開始する。
ステップS63において、バッテリパック10は、充放電回路12においてバッテリセル11に充電器20から供給される充電電流が流れると、放電制御素子122により、この放電経路を電気的に接続するように切り換える。ここで、放電制御素子122は、充放電回路12において放電経路に電流が流れるのをトリガーとして、又は、制御回路15による制御によって、放電経路を電気的に接続するように切り換える。
以上のようにして、バッテリパック10は、充電動作に応じて、放電経路を放電禁止状態から放電可能状態に復帰する。すなわち、バッテリパック10は、バッテリセル11の温度が下がったときと別の条件で復帰処理を行うことにより、バッテリセル11が過剰に発熱するのを防止しつつ、放電経路を放電禁止状態から放電可能状態に復帰することができる。
バッテリパック10の充電動作時において、充電器自体の異常発熱を検出して充電動作を停止した充電器は、この停止状態を維持しているため、充電回路21の温度が正常範囲に戻っても、この停止状態から復帰しない。そこで、充電器20は、次の図11に示すような処理を行うことで充電禁止状態から充電可能状態に復帰する。
まず、本処理の前提として、充電器20は、充電禁止状態、すなわち、充電回路21の充電経路を電気的に遮断しているものとする。
ステップS71において、充電器20は、ACコード20aからの商用電源の供給が遮断される。
ステップS72において、充電器20は、充電回路21の温度が正常範囲に戻る。
ステップS73において、充電器20は、ACコード20aからの商用電源の供給を受けると、電流の流れ等をリセット回路24aが検出して、この検出結果に応じて制御回路24が充電電流制御部21dを制御して充電可能状態に復帰する。
以上のようにして、充電器20は、充電回路21の温度が正常範囲に戻り、ACコード20aがコンセントに再投入されて商用電源の供給を受けると、充電禁止状態から充電可能状態に復帰する。このようにして、充電器20は、充電回路21が過剰に発熱するのを防止しつつ、充電禁止状態から充電可能状態に復帰することができる。
また、バッテリパック10の放電動作時において、電気機器自体の異常発熱を検出して放電動作を停止した電気機器30は、この停止状態を維持しているため、負荷回路31の温度が正常範囲に戻っても、この停止状態から復帰しない。そこで、電気機器30は、図12に示すような処理を行うことで放電禁止状態から放電可能状態に復帰する。
まず、本処理の前提として、電気機器30は、放電禁止状態、すなわち、負荷回路31の放電経路を電気的に遮断しているものとする。
ステップS81において、電気機器30は、電源スイッチ31cが遮断される。
ステップS82において、電気機器30は、負荷回路31の温度が正常範囲に戻る。
ステップS83において、電気機器30は、電源スイッチ31cがオン状態になると、電流の流れ等をリセット回路34aが検出して、この動作に応じて制御回路34が放電電流制御部31eを制御して放電可能状態に復帰する。
以上のようにして、電気機器30は、負荷回路31の温度が正常範囲に戻り、電源スイッチ31cが再投入されると、放電禁止状態から放電可能状態に復帰する。このようにして、電気機器30は、負荷回路31が過剰に発熱するのを防止しつつ、放電禁止状態から放電可能状態に復帰することができる。
本発明が適用された充電制御システムの全体構成を示す図である。 本発明が適用されたバッテリの充放電制御部の具体的な回路構成を示す図である。 本発明が適用された放電制御システムの全体構成を示す図である。 電気機器の駆動部の具体例を示す図である。 バッテリセルの温度が所定の温度を超えたときに充電を停止する充電制御システムに係る動作例について説明するための図である。 充電器の充電回路の温度が所定の温度を超えたときに充電を停止する充電制御システムに係る動作例について説明するための図である。 バッテリセルの温度が所定の温度を超えたときに放電動作を停止する放電制御システムに係る動作例について説明するための図である。 電気機器の負荷回路の温度が所定の温度を超えたときに放電を停止する放電制御システムに係る動作例について説明するための図である。 バッテリに係る充電禁止状態から充電可能状態に復帰する復帰処理について説明するための図である。 バッテリに係る放電禁止状態から放電可能状態に復帰する復帰処理について説明するための図である。 充電器に係る充電禁止状態から充電可能状態に復帰する復帰処理について説明するための図である。 電気機器に係る放電禁止状態から放電可能状態に復帰する復帰処理について説明するための図である。
符号の説明
1 充電制御システム、2 放電制御システム、10 バッテリパック、11 バッテリセル、20 電気機器、12 充放電回路、12a、21a、31a 正極端子、12b、21b、31b 負極端子、12c 充放電制御部、121 充電制御素子、122 放電制御素子、13、22、32 温度検出回路、14、23、33 通信部、15、24、34 制御回路、20 充電器、20a ACコード、21 充電回路、21c AC/DC変換回路、21d 充電電流制御部、24aリセット回路、30 電気機器、31 負荷回路、31c 電源スイッチ、31d DC/DC変換回路、31e 放電電流制御部、311 駆動部、101 撮像素子、102 画像処理部、103 書込処理部、104 不揮発性記録媒体

Claims (10)

  1. バッテリセルと、
    上記バッテリセルを外部機器と電気的に接続する充放電回路と、
    上記バッテリセルの温度を検出する温度検出部と、
    上記外部機器と通信を行う通信部と、
    上記温度検出部により検出されるバッテリセルの温度が所定の温度を超えたとき、このバッテリセルの温度情報を送信するように上記通信部を制御し、上記外部機器から動作停止を示す停止情報が送信されてきたとき、この外部機器との電気的な接続を遮断するように上記充放電回路を制御する制御部とを備えるバッテリ。
  2. 上記充放電回路には、上記制御部により、上記外部機器から上記バッテリセルに充電電流が流れる充電経路の電気的な接続と遮断とが切り換えられる充電制御素子が接続されており、
    上記充電制御素子は、上記充電経路を電気的に遮断しているとき、上記充放電回路において上記バッテリセルから上記外部機器に放電電流が流れると、この充電経路を電気的に接続するように切り換える請求項1記載のバッテリ。
  3. 上記充放電回路には、上記制御部により、上記バッテリセルから上記外部機器に放電電流が流れる放電経路の電気的な接続と遮断とが切り換えられる放電制御素子が接続されており、
    上記放電制御素子は、上記放電経路を電気的に遮断しているとき、上記充放電回路において上記外部機器から上記バッテリセルに充電電流が流れると、この放電経路を電気的に接続するように切り換える請求項1記載のバッテリ。
  4. バッテリセルの温度を検出する検出ステップと、
    上記検出ステップにより検出されるバッテリセルの温度が所定の温度を超えたとき、このバッテリセルの温度情報を、このバッテリセルと充放電回路を介して電気的に接続される外部機器に送信する送信ステップと、
    上記外部機器から動作停止を示す停止情報が送信されてきたとき、この外部機器との電気的な接続を遮断するように上記充放電回路を制御する遮断ステップとを有するバッテリの制御方法。
  5. バッテリが備えるバッテリセルに、充電電流を供給する充電回路と、
    上記充電回路の温度を検出する温度検出部と、
    上記バッテリと通信を行う通信部と、
    上記バッテリセルが所定の温度を超えたことを示す温度情報が上記通信部に送信されてきたとき、又は、上記温度検出部により検出される充電回路の温度が所定の温度を超えたとき、上記バッテリとの電気的な接続を遮断するように上記充電回路を制御した後、この充電回路の充電動作が停止したことを示す停止情報を送信するように上記通信部を制御する制御部とを備える充電器。
  6. バッテリから供給される放電電力により駆動する負荷回路と、
    上記負荷回路の温度を検出する温度検出部と、
    上記バッテリと通信を行う通信部と、
    上記バッテリセルが所定の温度を超えたことを示す温度情報が上記通信部に送信されてきたとき、又は、上記温度検出部により検出される負荷回路の温度が所定の温度を超えたとき、上記バッテリとの電気的な接続を遮断するように上記負荷回路を制御した後、この負荷回路による放電動作が停止したことを示す停止情報を送信するように上記通信部を制御する制御部とを備える電気機器。
  7. 上記負荷回路は、不揮発性記憶媒体に情報の書き込みを行う書込処理部を有し、
    上記制御部は、上記温度検出部により検出される負荷回路の温度が第1の温度を超えたとき、上記書込処理部に不揮発性記憶媒体への情報の書込処理を終了させて、上記バッテリとの電気的な接続を遮断するように上記負荷回路を制御した後、この負荷回路による放電動作が停止したことを示す停止情報を送信するように上記通信部を制御する請求項6記載の電気機器。
  8. 上記制御部は、上記温度検出部により検出される負荷回路の温度が上記第1の温度よりも高温である第2の温度を超えたとき、上記書込処理部に不揮発性記憶媒体への情報の書込処理を終了させることなく、上記バッテリとの電気的な接続を遮断するように上記負荷回路を制御した後、この負荷回路による放電動作が停止したことを示す停止情報を送信するように上記通信部を制御する請求項7記載の電気機器。
  9. バッテリと、
    上記バッテリの充電を行う充電器とを備え、
    上記バッテリは、バッテリセルと、このバッテリセルと上記充電器とを電気的に接続する充電回路と、このバッテリセルの温度を検出する温度検出部と、この充電器と通信を行う通信部と、この温度検出部により検出されるバッテリセルの温度が所定の温度を超えたとき、このバッテリセルの温度情報を送信するようにこの通信部を制御し、この充電器から充電動作の停止を示す停止情報が送信されてきたとき、この充電器との電気的な接続を遮断するようにこの充電回路を制御する制御部とを有し、
    上記充電器は、上記バッテリに充電電流を供給する充電回路と、この充電回路の温度を検出する温度検出部と、このバッテリと通信を行う通信部と、このバッテリのバッテリセルが所定の温度を超えたことを示す温度情報がこの通信部に送信されてきたとき、又は、この温度検出部により検出される充電回路の温度が所定の温度を超えたとき、このバッテリとの電気的な接続を遮断するようにこの充電回路を制御した後、上記停止情報を送信するようにこの通信部を制御する制御部とを有する充電制御システム。
  10. バッテリと、
    上記バッテリから放電電流が供給される電気機器とを備え、
    上記バッテリは、バッテリセルと、このバッテリセルと上記電気機器とを電気的に接続する放電回路と、このバッテリセルの温度を検出する温度検出部と、この電気機器と通信を行う通信部と、この温度検出部により検出されるバッテリセルの温度が所定の温度を超えたとき、このバッテリセルの温度情報を送信するようにこの通信部を制御し、この電気機器から放電動作の停止を示す停止情報が送信されてきたとき、この電気機器との電気的な接続を遮断するようにこの放電回路を制御する制御部とを有し、
    上記電気機器は、上記バッテリから供給される放電電力により駆動する負荷回路と、この負荷回路の温度を検出する温度検出部と、このバッテリと通信を行う通信部と、このバッテリのバッテリセルが所定の温度を超えたことを示す温度情報がこの通信部に送信されてきたとき、又は、この温度検出部により検出される負荷回路の温度が所定の温度を超えたとき、このバッテリとの電気的な接続を遮断するようにこの負荷回路を制御した後、上記停止情報を送信するようにこの通信部を制御する制御部とを有する放電制御システム。
JP2008248700A 2008-09-26 2008-09-26 バッテリ、バッテリの制御方法、充電器、電気機器、充電制御システム、及び、放電制御システム Expired - Fee Related JP5422955B2 (ja)

Priority Applications (1)

Application Number Priority Date Filing Date Title
JP2008248700A JP5422955B2 (ja) 2008-09-26 2008-09-26 バッテリ、バッテリの制御方法、充電器、電気機器、充電制御システム、及び、放電制御システム

Applications Claiming Priority (1)

Application Number Priority Date Filing Date Title
JP2008248700A JP5422955B2 (ja) 2008-09-26 2008-09-26 バッテリ、バッテリの制御方法、充電器、電気機器、充電制御システム、及び、放電制御システム

Publications (2)

Publication Number Publication Date
JP2010081757A true JP2010081757A (ja) 2010-04-08
JP5422955B2 JP5422955B2 (ja) 2014-02-19

Family

ID=42211542

Family Applications (1)

Application Number Title Priority Date Filing Date
JP2008248700A Expired - Fee Related JP5422955B2 (ja) 2008-09-26 2008-09-26 バッテリ、バッテリの制御方法、充電器、電気機器、充電制御システム、及び、放電制御システム

Country Status (1)

Country Link
JP (1) JP5422955B2 (ja)

Cited By (6)

* Cited by examiner, † Cited by third party
Publication number Priority date Publication date Assignee Title
US20150362383A1 (en) * 2012-04-26 2015-12-17 Toyota Jidosha Kabushiki Kaisha Gas filling system and vehicle
KR101663579B1 (ko) * 2015-06-23 2016-10-07 주식회사 비엠일렉텍 배터리 모니터링 장치 및 이를 이용한 배터리 모니터링 시스템
KR20160133427A (ko) * 2014-01-28 2016-11-22 광동 오포 모바일 텔레커뮤니케이션즈 코포레이션 리미티드 쾌속 충전 제어 방법 및 시스템
JP2020162411A (ja) * 2011-04-28 2020-10-01 ゾール サーキュレイション インコーポレイテッドZOLL Circulation,Inc. リチウム電力セルの制御のためのバッテリー管理システム
JP2021069157A (ja) * 2019-10-18 2021-04-30 ミツミ電機株式会社 二次電池保護回路、二次電池保護装置、電池パック及び温度検出回路
DE102021204358A1 (de) 2021-04-30 2022-11-03 Robert Bosch Gesellschaft mit beschränkter Haftung Verfahren zum Steuern einer Vorrichtung und Schaltungsvorrichtung

Citations (4)

* Cited by examiner, † Cited by third party
Publication number Priority date Publication date Assignee Title
JP2003174720A (ja) * 2001-09-28 2003-06-20 Mitsumi Electric Co Ltd 二次電池の保護回路及び保護回路用ic
JP2007018761A (ja) * 2005-07-05 2007-01-25 Ricoh Co Ltd 2次電池の充電システム装置
JP2007115472A (ja) * 2005-10-19 2007-05-10 Matsushita Electric Ind Co Ltd 電池パック、充電器、充電システムおよび充電異常検出方法
JP2007141572A (ja) * 2005-11-16 2007-06-07 Matsushita Electric Ind Co Ltd 電池パック

Patent Citations (4)

* Cited by examiner, † Cited by third party
Publication number Priority date Publication date Assignee Title
JP2003174720A (ja) * 2001-09-28 2003-06-20 Mitsumi Electric Co Ltd 二次電池の保護回路及び保護回路用ic
JP2007018761A (ja) * 2005-07-05 2007-01-25 Ricoh Co Ltd 2次電池の充電システム装置
JP2007115472A (ja) * 2005-10-19 2007-05-10 Matsushita Electric Ind Co Ltd 電池パック、充電器、充電システムおよび充電異常検出方法
JP2007141572A (ja) * 2005-11-16 2007-06-07 Matsushita Electric Ind Co Ltd 電池パック

Cited By (13)

* Cited by examiner, † Cited by third party
Publication number Priority date Publication date Assignee Title
JP2020162411A (ja) * 2011-04-28 2020-10-01 ゾール サーキュレイション インコーポレイテッドZOLL Circulation,Inc. リチウム電力セルの制御のためのバッテリー管理システム
US10371587B2 (en) * 2012-04-26 2019-08-06 Toyota Jidosha Kabushiki Kaisha Gas filling system and vehicle
US20150362383A1 (en) * 2012-04-26 2015-12-17 Toyota Jidosha Kabushiki Kaisha Gas filling system and vehicle
KR102093676B1 (ko) * 2014-01-28 2020-03-27 광동 오포 모바일 텔레커뮤니케이션즈 코포레이션 리미티드 쾌속 충전 제어 방법 및 시스템
US10110028B2 (en) 2014-01-28 2018-10-23 Guangdong Oppo Mobile Telecommunications Corp., Ltd. Quick-charging control method and system
JP2017509294A (ja) * 2014-01-28 2017-03-30 グァンドン オッポ モバイル テレコミュニケーションズ コーポレーション リミテッド 急速充電制御方法及びシステム
KR20160133427A (ko) * 2014-01-28 2016-11-22 광동 오포 모바일 텔레커뮤니케이션즈 코포레이션 리미티드 쾌속 충전 제어 방법 및 시스템
US10714950B2 (en) 2014-01-28 2020-07-14 Guangdong Oppo Mobile Telecommunications Corp., Ltd. Charging control method and charging device
KR101663579B1 (ko) * 2015-06-23 2016-10-07 주식회사 비엠일렉텍 배터리 모니터링 장치 및 이를 이용한 배터리 모니터링 시스템
JP2021069157A (ja) * 2019-10-18 2021-04-30 ミツミ電機株式会社 二次電池保護回路、二次電池保護装置、電池パック及び温度検出回路
JP7323800B2 (ja) 2019-10-18 2023-08-09 ミツミ電機株式会社 二次電池保護回路、二次電池保護装置、電池パック及び温度検出回路
DE102021204358A1 (de) 2021-04-30 2022-11-03 Robert Bosch Gesellschaft mit beschränkter Haftung Verfahren zum Steuern einer Vorrichtung und Schaltungsvorrichtung
WO2022229149A1 (de) 2021-04-30 2022-11-03 Robert Bosch Gmbh Verfahren zum steuern einer vorrichtung und schaltungsvorrichtung

Also Published As

Publication number Publication date
JP5422955B2 (ja) 2014-02-19

Similar Documents

Publication Publication Date Title
KR102390394B1 (ko) 메인 배터리와 서브 배터리를 제어하기 위한 장치 및 방법
JP3749538B2 (ja) 電池ユニット及び電池ユニットを使用する装置
KR101413251B1 (ko) 2차 전지 관리 장치
US8953293B2 (en) Battery protection circuit
US9680303B2 (en) Power storage system and power source system
US9118198B2 (en) Balancing of battery cells connected in parallel
JP5422955B2 (ja) バッテリ、バッテリの制御方法、充電器、電気機器、充電制御システム、及び、放電制御システム
CN107894567A (zh) 电池包以及电池包接口状态的检测系统和检测方法
KR20190128913A (ko) 배터리 제어 장치 및 이를 포함하는 에너지 저장 시스템
CN102195318B (zh) 电池状态监视电路以及电池装置
WO2018133537A1 (zh) 一种电子设备及基于电子设备的充电控制方法
TW200937800A (en) Charging apparatus and charging method
CN107276145B (zh) 电子系统与充电方法
WO2017060773A1 (en) Low temperature battery systems and methods
CN103282786A (zh) 电池系统和接地检测装置
JP3981893B2 (ja) バッテリパック、充電器、および充電システム、並びに充電方法
JP2010233358A (ja) 電池保護回路、電池保護方法、電源装置およびプログラム
KR20120036046A (ko) 전자 기기의 배터리 충전 장치 및 그 충전 제어 방법
KR20110047747A (ko) 배터리 팩 및 그의 구동 방법
JP2011187227A (ja) バッテリーパック、電子機器、機器システム、バッテリーパック冷却部の制御方法及びプログラム
KR20170051062A (ko) 배터리 팩의 직병렬 동작 제어 장치
US6429626B1 (en) Battery pack
JP2008125199A (ja) パック電池の制御方法
JP5203270B2 (ja) 二次電池容量試験システム及び二次電池容量試験方法
KR101969389B1 (ko) 배터리 팩의 직병렬 동작 제어 방법

Legal Events

Date Code Title Description
A621 Written request for application examination

Free format text: JAPANESE INTERMEDIATE CODE: A621

Effective date: 20110906

A977 Report on retrieval

Free format text: JAPANESE INTERMEDIATE CODE: A971007

Effective date: 20130425

A131 Notification of reasons for refusal

Free format text: JAPANESE INTERMEDIATE CODE: A131

Effective date: 20130507

A521 Written amendment

Free format text: JAPANESE INTERMEDIATE CODE: A523

Effective date: 20130625

A131 Notification of reasons for refusal

Free format text: JAPANESE INTERMEDIATE CODE: A131

Effective date: 20130723

A521 Written amendment

Free format text: JAPANESE INTERMEDIATE CODE: A523

Effective date: 20130917

TRDD Decision of grant or rejection written
A01 Written decision to grant a patent or to grant a registration (utility model)

Free format text: JAPANESE INTERMEDIATE CODE: A01

Effective date: 20131029

A61 First payment of annual fees (during grant procedure)

Free format text: JAPANESE INTERMEDIATE CODE: A61

Effective date: 20131111

LAPS Cancellation because of no payment of annual fees