JP2010080089A - 照明装置 - Google Patents

照明装置 Download PDF

Info

Publication number
JP2010080089A
JP2010080089A JP2008243911A JP2008243911A JP2010080089A JP 2010080089 A JP2010080089 A JP 2010080089A JP 2008243911 A JP2008243911 A JP 2008243911A JP 2008243911 A JP2008243911 A JP 2008243911A JP 2010080089 A JP2010080089 A JP 2010080089A
Authority
JP
Japan
Prior art keywords
lighting device
shelf
magnet
light source
shelf board
Prior art date
Legal status (The legal status is an assumption and is not a legal conclusion. Google has not performed a legal analysis and makes no representation as to the accuracy of the status listed.)
Granted
Application number
JP2008243911A
Other languages
English (en)
Other versions
JP5417784B2 (ja
Inventor
Masanobu Sato
正伸 佐藤
Current Assignee (The listed assignees may be inaccurate. Google has not performed a legal analysis and makes no representation or warranty as to the accuracy of the list.)
Dai Nippon Printing Co Ltd
Original Assignee
Dai Nippon Printing Co Ltd
Priority date (The priority date is an assumption and is not a legal conclusion. Google has not performed a legal analysis and makes no representation as to the accuracy of the date listed.)
Filing date
Publication date
Application filed by Dai Nippon Printing Co Ltd filed Critical Dai Nippon Printing Co Ltd
Priority to JP2008243911A priority Critical patent/JP5417784B2/ja
Publication of JP2010080089A publication Critical patent/JP2010080089A/ja
Application granted granted Critical
Publication of JP5417784B2 publication Critical patent/JP5417784B2/ja
Expired - Fee Related legal-status Critical Current
Anticipated expiration legal-status Critical

Links

Images

Landscapes

  • Arrangement Of Elements, Cooling, Sealing, Or The Like Of Lighting Devices (AREA)

Abstract

【課題】陳列棚などの什器に容易に取付け可能で、かつ、安価な照明装置を提供する。
【解決手段】本発明に係わる照明装置1は、一枚のシートが折り畳みされることで形成されるシート状の本体部10とPOPパネル部11を有する。本体部10には、LED120が実装されたフィルム基板121が挟み込まれ、更に、本体部10の天パネル100には、棚板20の前垂下部材200とチャネル部材201で形成されるコ字形空間202に収まるボックス103が形成され、更に、棚板20に照明装置1を固定するためのマグネット104a、b、cが設けられる。
【選択図】図3

Description

本発明は、陳列棚などの什器に設置する照明装置に係わる。
コンビニエンスストアや大型店などの店舗では数多くの商品を効率良く陳列するために、什器(例えば、陳列棚)を用いて商品を陳列することが一般的であるが、陳列棚の下の方に陳列された商品には、天井に設置された照明の光が届きにくく、陳列棚の下の方に陳列された商品を消費者に十分にアピールすることができなかった。
そこで、近年では、店舗の雰囲気をより華やかにする効果も含め、照明が備えられた什器も開発されているが、コンビニエンスストアや大型店などの店舗では全ての什器を更新することはコスト的に難しく、店舗では、既存の什器に取り付け可能な照明装置に対する要求がある。
既存の什器に取り付け可能な照明装置に係わる発明としては、例えば、長手方向に延びる断面コ字状の本体の中央板状部下面あるいは下方に長手方向に発行ダイオードを並べ、中央板状部の上面に薄板状の磁石を設けることで、鉄製の棚板直下を照明するように、既存の什器に取り付け可能な照明装置が特許文献1で開示されている。
特開2007−26720号公報
しかしながら、特許文献1で開示されているような照明装置の本体は、アルミなどの金属で成型されているため安価ではなく、また、既存の什器に既に商品が陳列されている場合は、該商品のすべて或いは一部を取り出してから、既存の什器に照明装置を設置しなければならず、照明装置を設置する作業負荷も大きくなってしまう問題がある。
そこで、本発明は、既存の什器に取り付け可能な照明装置であって、照明装置を比較的に安価に製造することができ、更に、既存の什器に陳列されている商品を取り出す作業をすることなく、什器に設置可能な照明装置を提供することを目的とする。
上述した課題を解決する第1の発明は、什器の棚板に設置される照明装置であって、一枚のシートが折り畳みされることで形成されるシート状の本体部と、前記本体部に挟み込まれた第1の光源を備え、前記本体部の天パネルには、前記棚板の前垂下部材とチャネル部材で形成されるコ字形空間に収まるボックスが形成され、更に、前記天パネルには、前記棚板の前垂下部材、コ字形空間の上面およびチャネル部材につくマグネットが設けられていることを特徴とする照明装置である。
上述した第1の発明によれば、画用紙程度の厚みの用紙や、卵パックに利用されるPET材などの母材でできた1枚のシートを折り畳み前記本体部を形成することで、前記照明装置の製造コストを安価にでき、更に、前記照明装置に柔軟性を持たせることができる。
商品が既に什器に陳列され、該商品と前記棚板の隙間が前記照明装置の高さよりも短い場合でも、前記照明装置に柔軟性があると、前記照明装置を変形させながら、該商品と前記棚板の隙間に前記照明装置を入れることができ、陳列されている該商品を降ろす作業を実行することなく、前記棚板に前記照明装置を設置することができるようになる。
なお、前記照明装置の前記第1の光源としては、小発熱や小消費電力からしてLEDが好適である。
更に、第2の発明は、第1の発明に記載の照明装置であって、前記照明装置には、前記照明装置の前記本体部と連接し、商品に係わる文字や絵柄が印刷されるPOPパネル部が備えられていることを特徴とする照明装置である。
上述した第2の発明によれば、前記第1の光源に加え、広告が印刷される前記POPパネル部を前記照明装置が備えることで、前記棚板に設置される商品をより消費者にアピールできる。
更に、第3の発明は、第1の発明または第2の発明に記載の照明装置であって、前記照明装置は、前記マグネットとして、前記前垂下部材につく第1のマグネット、前記コ字形空間につく第2のマグネット、および、前記チャネル部材につく第3のマグネットを備えていることを特徴とする照明装置である。
更に、第4の発明は、第3の発明に記載の照明装置であって、前記第1のマグネットおよび前記第2のマグネットの形状を、前記棚板の幅方向が長手の長方形とし、前記第3のマグネットの形状を、前記棚板の奥行き方向が長手の長方形とすることを特徴とする照明装置である。
上述した第3の発明によれば、前記照明装置が、前記マグネットとして、前記第1のマグネット、前記第2のマグネット、および、前記第3のマグネットを備えることで、前記天パネルの各面が前記棚板に固定されることになる。
更に、第4の発明によれば、前記照明装置を設置する前記棚板の奥行き寸法が変わると、前記棚板のチャネル部材と前記照明装置の相対位置が変わるが、前記棚板のチャネル部材につく前記第3のマグネットの形状を、前記棚板の奥行き方向が長手の長方形とすることで、前記棚板のチャネル部材と前記照明装置の相対位置が変わっても、前記照明装置を前記棚板のチャネル部材につくようにすることができる。
なお、前記第1のマグネットおよび前記第2のマグネットの形状を、幅方向が長手の長方形とすることで、前記照明装置と前記棚板との固定強度を高められる。
更に、第5の発明は、第1の発明から第4の発明のいずれか一つに記載の照明装置であって、前記照明装置には、照度を検出する照度センサと、前記照度センサのセンシング信号に従い、前記第1の光源をOn/Offする回路が備えられていることを特徴とする照明装置である。
上述した第5の発明によれば、前記照明装置に前記照度センサを備えさせ、前記什器が設置されている部屋が暗くなったときに前記第1の光源をOffにし、該部屋が明るくなったときに前記第1の光源をOnにすることで、前記什器が設置されている店舗の営業時間に合わせて、前記第1の光源をOn/Offすることができ、前記照明装置に要する電力を抑えることができるようになる。
更に、第6の発明は、第1の発明から第5の発明のいずれか一つに記載の照明装置であって、前記照明装置に備えられた前記第1の光源は、LEDが点滅するLEDイルミネーションであることを特徴とする照明装置である。
上述した第6の発明によれば、前記第1の光源をLEDが点滅するLEDイルミネーションとすることで、消費者に商品をよりアピールすることができるようになる。
更に、第7の発明は、第1の発明から第6の発明のいずれか一つに記載の照明装置であって、前記棚板の前面に対して側壁となり、前記POPパネル部と連接する側壁パネル部と、前記棚板の上側を照射する第2の光源を備え、前記第2の光源は前記側壁パネル部に備えられていることを特徴とする照明装置である。
上述した第7の発明によれば、前記照明装置が前記側壁パネル部と前記第2の光源を備えることで、一つの前記照明装置で、前記照明装置が設置される前記棚板の上側と下側に光を照射することができるようになる。
更に、第8の発明は、第1の発明から第7の発明に記載の照明装置であって、前記POPパネル部はラウンドシェープに形成されていることを特徴とする照明装置である。
上述した第8の発明によれば、ラウンドシェープに形成した前記POPパネル部を前記照明装置とすることで、消費者に商品をよりアピールすることができるようになる。
このように、上述した本発明によれば、既存の什器に取り付け可能な照明装置であって、照明装置を比較的に安価に製造することができ、更に、既存の什器に陳列されている商品を取り出す作業をすることなく、什器に設置可能な照明装置を提供できる。
ここから、本発明に係わる照明装置1について、図を参照しながら詳細に説明する。本発明に係わる照明装置1は、様々な種類の什器に利用できるが、ここでは、什器を陳列棚2としたときの実施形態について説明する。
図1は、本発明に係わる照明装置1の効果を説明する第1図である。図1で図示した陳列棚2は2つの棚板20a、bによって、上段、中段および下段の合計3段に区切られ、上から2段目の棚板20bの裏側に、上から2段目の棚板20の下を照らす光源を備えた照明装置1が設置されている。
なお、今後、それぞれの棚板20を区別して表記する必要がないとき、単に棚板20と記すことにする。
図1に図示したように、本発明に係わる照明装置1を、陳列棚2の棚板20bに、商品3を陳列する横間隔に合わせて設置することで、天井に設置される照明の光が届きにくい陳列棚2の下段に陳列された商品3に対して、十分な光を当てることができ、陳列棚2の下段に陳列された商品3をより消費者にアピールできるようになる。
また、図1で図示した照明装置1は、照明装置1が設置される棚板20bの下を照らす光源に加え、広告が印刷されるPOPパネル部を備え、陳列棚2に設置される商品3をより消費者にアピールできる工夫が施されている。
様々なメーカから陳列棚2が市販されているが、陳列棚2の構造や寸法には共通している箇所があるため、商品3を並べる横間隔に合わせて照明装置1を設計することで、汎用的に利用可能な照明装置1の製作は可能である。
また、当然のことながら、照明装置1を設置する陳列棚2の仕様に合わせて、照明装置1を特注で設計することも可能である。照明装置1を設置する陳列棚2の仕様に合わせて特注に設計すると、照明装置1は高価になると思われるかも知れないが、これから述べるように、照明装置1は、菓子箱と同じように、図4で図示したシート1aが折りたたまれて成型されるため、照明装置1の仕様変更は容易であり、かつ、照明装置1を安価に製造できる。
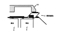
図2は、一般的な陳列棚2の構造を説明する図で、図2の左図は陳列棚2の断面図で、図2の右図は陳列棚2の正面図である。図2で図示した陳列棚2の構造は、コンビエンスストアなどで広く普及されている棚の構造である。
図2の左図に図示したように、陳列棚2に設けられる棚板20の裏面の手前に前垂下部材200が延設され、更に、陳列棚2に設けられる棚板20の裏面の中央にチャネル部材201が延設され、前垂下部材200とチャネル部材201によって、棚板20の裏面にはコ字形空間202が形成されている。また、棚板20の両端には、棚板20を支える側板203が設けられている。
図3は、図2で説明した陳列棚2の構造に合わせて設計された照明装置1を説明する図で、図4は、照明装置1の製造に利用されるシート1aを説明する図である。
図3(a)は、照明装置1の斜視図、図3(b)は、照明装置1の断面図で、本発明に係わる照明装置1は、天パネル100、内パネル101および地パネル102とからなる本体部10と、本体部10と連接するPOPパネル部11とから構成される。
本発明に係わる照明装置1の少なくとも本体部10は、アルミなどの金属成型ではなく、図4で図示したシート1aが折りたたまれて形成される装置で、図4で図示したシート1aが折りたたまれるとき、LED120が実装されたフィルム基板121が地パネル102と内パネル102間に挟み込まれる。
また、照明装置1の天パネル100には、棚板20のコ字形空間202に収まるボックス103が形成され、LED120に電力を供給する電池ボックス123がこのボックス103の内部に収められる。
本実施形態では、LED120に電力を供給するための電池ボックス123を照明装置1は内蔵しているが、LED120に電力を供給する手段は電池ボックス123に限らず、LED120に電力を供給するコンセントを照明装置1に設けさせてもよい。
照明装置1の本体部10の幅方向の長さは、一つの商品3を陳列するときの横間隔の長さで、例えば、200mmで、奥行き方向の長さは、図2で図示した長さDよりも短く設計され、例えば、200mmである。
照明装置1の天パネル100の奥面100aの奥行き方向の長さは、例えば、115mmで、手前面100bの奥行き方向の長さは、棚板20の前垂下部材200の幅dとほぼ同一に設計され、例えば、25mmである。
照明装置1の天パネル100に形成されるボックス103の奥行き方向の長さは、例えば、60mmで、ボックス103の高さは、図2で図示した長さHに合わせて設計され、例えば、30mmである。
照明装置1が棚板20に取り付けために、照明装置1の天パネル100の奥面100aには、奥行き方向が長手の長方形のマグネット104aが設けられ、天パネル100のボックス103の上面および天地パネル100の手前面100bには、幅方向が長手の長方形のマグネット104b、cが設けられている。
図3(b)に図示したように、照明装置1が棚板20に取り付けられたとき、マグネット104aは棚板20のチャネル部材201の下面と、マグネット104bは棚板20のコ字形空間202の上面と、マグネット104cは棚板20の前垂下部材200の下面とそれぞれつき、照明装置1は棚板20に固定される。
照明装置1の天パネル100の奥面100aに設けられるマグネット104aの形状を奥行き方向が長手の長方形としているのは、照明装置1が取り付けられる棚2の先端からチャネル部材201までの長さが異なっていても、マグネット104aとチャネル部材201がつくようにするためである。
図3(b)からもわかるように、照明装置1は、棚板20の先端を基準として取り付けられるため、マグネット104aの形状を奥行き方向が長手の長方形とすることで、棚2の先端からチャネル部材201までの長さが異なっていても、マグネット100aが棚板20のチャネル部材201につくようになる。
なお、照明装置1の天パネル100のボックス103の上面および手間面100bに設けられるマグネット104b、cの形状を幅方向が長手の長方形とすることで、マグネット104b、cのつく面積を広く取り、照明装置1と棚板20との固定強度を高めている。
ここから、図4で図示したシート1aを利用して照明装置1を形成する内容について説明する。図4で図示したように、照明装置1を形成するために必要な部品は、例えば、画用紙程度の厚みの用紙や、卵パックに利用されるPET材など、折りたたみ可能な材質でできたシート1aと、棚板20に照明装置1を取り付けるためのマグネット104a、bおよびcと、そして、複数のLED120を有する光源回路12である。
図4で図示したシート1aは、例えば、画用紙程度の厚みの用紙や、卵パックに利用されるPET材などの母材に、POPパネル部11の箇所に広告が印刷された後、シート1aの形状に母材が打ち抜かれることで製造される。
シート1aの形状に母材が打ち抜かれるとき、打ち抜きと同時に、折り線・ミシン線と、LED120を嵌め込むためのパンチ穴102aが母材に加工される。そして、所定の形状に打ち抜かれたシート1aの所定位置に、定められた形状のマグネット104a、bおよびcを両面テープなどで貼り、更に、ボックス103を形成するときに利用する両面テープ105を貼ることで、図4で図示したシート1aが製造される。なお、図4においては、折り線は細い実線で、ミシン線は細い点線で図示している。
複数のLED120を有する光源回路12は、複数のLED120(ここでは3つ)が配列されたフィルム基板121(ここでは、3枚)と、それぞれのフィルム基板121とジョイント122を介して配線された電池ボックス123から構成され、電池ボックス123にはOn/Offのスイッチが備えられている。
図5は、照明装置1を形成する内容を説明する図である。照明装置1を形成するとき、まず、図4で図示したシート1aを、地パネル102と内パネル101間の折り線に沿って内側に折りたたみする(図5(a))。なお、該折り線に沿って内側に折りたたみする時、パンチ穴102aに、フィルム基板121に実装されたLED120を嵌め込み、地パネル102と内パネル101の間に光源回路12のフィルム基板121を挟み込む。
そして、該折り線に沿って内側に折りたたみされたシート1aを、内パネル101と天パネル100間の折り線に沿って外側に折りたたみし(図5(b))、更に、天パネル100のミシン目に沿って切れ目を入れ、照明装置1の天パネルのボックス103を形成する(図5(c))。なお、照明装置1のボックス103を形成するとき、光源回路12の電池ボックス123が、ボックス103の内部に収納される。
図6は、本発明に係わる照明装置1の効果を説明する第2図である。
上述したように、画用紙程度の厚みの用紙や、卵パックに利用されるPET材などの母材でできたシート1aを折りたたみ照明装置1を成型することで、照明装置1の本体に柔軟性を持たせることができる。
商品3が既に陳列棚2に陳列され、商品3と棚板20の隙間が照明装置1の本体の高さよりも短い場合でも、照明装置1の本体に柔軟性があると、図6に図示した用に、照明装置1の本体を変形させながら、商品3と棚板20の隙間に照明装置1を入れることができ、陳列されている商品3を降ろす作業を実行することなく、棚板20に照明装置1を設置することができるようになる。
逆に、照明装置1の本体に剛性があると、照明装置1の本体は変形しないため、棚板20に照明装置1を設置するときに、陳列されている商品3のすべて或いは一部を陳列棚2から降ろす作業が必要になってしまう。
なお、本発明は、これまで説明した実施の形態に限定されることなく、種々の変形や変更が可能である。ここから、各変形例について、これまで説明した照明装置1との差についてする。
例えば、照明装置に実装される電気系統やPOPパネル部の形状を変更することで、新たな効果を照明装置に持たせることができる。
(変形例1)
変形例1に係わる照明装置は照度センサを備え、照度センサのセンシング信号に応じて、照明装置の光源のスイッチのOn/Offを行う形態で、陳列棚2が設置されている店舗の照明が落ちたときに光源(例えば、LED120)をOffにし、該照明が入ったときに光源をOnにすることで、前記什器が設置されている店舗の営業時間に合わせて、光源をOn/Offすることができ、照明装置4の省電力化が図られる。
図7は、変形例1の照明装置4を説明する図で、図7で図示した照明装置4のPOPパネル部41には照度センサ40が備えられている。照度センサ40を利用して、照明をOn/Offする技術は広く普及しているため詳細な説明は省くが、この照度センサ40は、照明装置4に内蔵される光源回路に接続され、該光源回路には、照度センサ40から出力されるセンシング信号に従い、光源(例えば、図4の光源回路12のフィルム基板121)へ供給する電力をOn/Offする回路が内蔵される。
なお、変形例1において、光源回路にタイマーを備えさせれば、陳列棚2が設置されている店舗の照明が落ちてから一定時間経過後(例えば、1時間後)に光源(例えば、LED120)をOffにし、該照明が入ってから一定時間経過後(例えば、1時間後)に光源をOnにすることができるようになる。
(変形例2)
変形例2は、照明装置の照明効果をより高めるために、照明装置に備えられる光源を、LEDが点滅するLEDイルミネーションとした形態で、例えば、照明装置1に備えられるLED120を点滅させることで、陳列棚2の照明効果を高め、消費者により商品3をアピールすることができるようなる。
LEDが点滅するLEDイルミネーションは、街頭のショウアップに広く普及しているため詳細な説明は省くが、例えば、照明装置1に備えられた光源回路12のフィルム基板121に、LED120を点滅させるための回路を実装することで実現される。
なお、照明装置に備えられる光源を、LEDが点滅するLEDイルミネーションとした形態においても、変形例1のように、照明装置に照度センサを備えさせることもできる。
(変形例3)
変形例3は、新たなる照明効果を得るために、棚板20の上側を照らす光源を照明装置が備えた形態である。棚板20の上側を照射する光源を新たに照明装置に設けることで、一台の照明装置で、照明装置が設置された棚板20の下側のみでなく、該棚板20の上側をも照射することができるようになる。
図8は、変形例3の照明装置5を説明する図である。図8(a)は、棚板20の上側に光を照射する照明装置5の斜視図、図8(b)は、棚板20の上側に光を照射する照明装置5の断面図である。
図8(a)で図示した照明装置5には、照明装置1が設置される棚板20の上側を照らす光源(例えば、LED)が実装される側壁パネル部50が設けられ、側壁パネル部50にPOPパネル部51が連接されている。
図8(b)に図示したように、側壁パネル部50の裏面にはマグネット52が設けられ、棚板20の前垂下部材200の下面にマグネット52がつくことで、側壁パネル部50が高さ方向にほぼ垂直に設置された状態で、前垂下部材200に固定される。
図9は、変形例3の照明装置5の効果を説明する図である。図9で図示したように、棚板20の上側・下側に光を照射する光源を設けた照明装置5を、陳列棚2の棚板20bに設置することで、陳列棚2の下段に陳列された商品3に加え、陳列棚2の中段に陳列された商品3をも照らすことができるようになる。
図10は、変形例3に係わる照明装置5の形成に利用されるシート5aと光源回路53を説明する図である。図10で図示したシート5aにおいて、棚板20の上側を照らすLED54を有するフィルム基板55を実装するための側壁パネル部50が、照明装置5の天パネル56とPOPパネル部51間に設けられ、この側壁パネル部50には、棚板20の前垂下部材200とつくマグネット52が配置され、このマグネット52の形状は、幅方向が長手の長方形である。更に、側壁パネル部50には、LED54を嵌め込むためのパンチ穴50aが開けられている。
変形例1の光源回路53には、棚板20の上側を照らすためのフィルム基板55に加え、棚板20の下側を照らすためのLED58が実装されたフィルム基板57を有し、これらのフィルム基板55、57が、On/Offのスイッチを備えた電池ボックス59に接続されている。
変形例3の照明装置5は、図10のシート5aが折り畳みされて成型され、詳しくは、図5を用いて説明した手順で、図10のシート5aを成型した後、天パネル56と側壁パネル部50間の折り線に沿って側壁パネル部50を内側に折り、更に、側壁パネル部50とPOPパネル部56間の折り線に沿ってPOPパネル部56を外側に折ることで成型される。
なお、当然のことながら、変形例3の照明装置5においても、照明装置5に照度センサを備えさせることもできるし、LEDが点滅するLEDイルミネーションに光源を変更することもできる。
(変形例4)
変形例4は、新たなるアピール効果を得るために、照明装置のPOPパネル部の形状をラウンドシェープにした形態である。
図11は、変形例4に係わる照明装置6の効果を説明する図である。照明装置6のPOPパネル部60の形状はラウンドシェープに形成され、消費者により商品3をアピールすることができるようになる。
図12は、変形例4の照明装置6を説明する図で、図12(a)は、照明装置6の斜視図、図12(b)は、照明装置6の断面図である。図12(a)および図12(b)を参照すればわかるように、POPパネル部60がラウンドシェープに成型されている以外は、図8を用いて説明した照明装置5と相違点はない。
また、変形例3に係わる照明装置6を成型するときに利用されるシートは、図10で図示したシート5aのPOPパネル部56の箇所が、ラウンドシェープに成型するために加工されたシートになる。
なお、当然のことながら、変形例3の照明装置6においても、照明装置6に照度センサを備えさせることもできるし、LEDを点滅させるLEDイルミネーションに光源をすることもできる。また、図1で図示した照明装置1のPOPパネル部11をラウンドシェープに形成した形態も考えられる。
照明装置の効果を説明する第1図。 陳列棚の構造を説明する図。 照明装置を説明する図。 照明装置の製造に利用されるシートを説明する図。 照明装置を形成する内容を説明する図。 照明装置の効果を説明する第2図。 変形例1の照明装置を説明する図。 変形例3の照明装置を説明する図。 変形例3の照明装置の効果を説明する図。 変形例3のシートと光源回路を説明する図。 変形例4に係わる照明装置の効果を説明する図。 変形例4の照明装置を説明する図。
符号の説明
1、4、5,6 照明装置
10 本体部
100 天パネル
101 内パネル
102 地パネル
103 ボックス
104a、b、c マグネット
11 POPパネル部
12 光源回路
120 LED
121 フィルム基板
123 電池ボックス
2 陳列棚
20 棚板
200 前垂下部材
201 チャネル部材
202 コ字形空間
40 照度センサ
50 側壁パネル部
54 棚板の上側を照らすLED
58 棚板の下側を照らすLED
60 ラウンドシェープの形成されたPOPパネル部

Claims (8)

  1. 什器の棚板に設置される照明装置であって、一枚のシートが折り畳みされることで形成されるシート状の本体部と、前記本体部に挟み込まれた第1の光源を備え、前記本体部の天パネルには、前記棚板の前垂下部材とチャネル部材で形成されるコ字形空間に収まるボックスが形成され、更に、前記天パネルには、前記棚板の前垂下部材、コ字形空間の上面およびチャネル部材につくマグネットが設けられていることを特徴とする照明装置。
  2. 請求項1に記載の照明装置であって、前記照明装置には、前記照明装置の前記本体部と連接し、商品に係わる文字や絵柄が印刷されるPOPパネル部が備えられていることを特徴とする照明装置。
  3. 請求項1または請求項2に記載の照明装置であって、前記照明装置は、前記マグネットとして、前記前垂下部材につく第1のマグネット、前記コ字形空間につく第2のマグネット、および、前記チャネル部材につく第3のマグネットを備えていることを特徴とする照明装置。
  4. 請求項3に記載の照明装置であって、前記第1のマグネットおよび前記第2のマグネットの形状を、前記棚板の幅方向が長手の長方形とし、前記第3のマグネットの形状を、前記棚板の奥行き方向が長手の長方形とすることを特徴とする照明装置。
  5. 請求項1から請求項4のいずれか一つに記載の照明装置であって、前記照明装置には、人体を検出する照度センサと、前記照度センサのセンシング信号に従い、前記第1の光源をOn/Offする回路が備えられていることを特徴とする照明装置。
  6. 請求項1から請求項5のいずれか一つに記載の照明装置であって、前記照明装置に備えられた前記第1の光源は、LEDが点滅するLEDイルミネーションであることを特徴とする照明装置。
  7. 請求項1から請求項6のいずれか一つに記載の照明装置であって、前記棚板の前面に対して側壁となり、前記POPパネル部と連接する側壁パネル部と、前記棚板の上側を照射する第2の光源を備え、前記第2の光源は前記側壁パネル部に備えられていることを特徴とする照明装置。
  8. 請求項1から請求項7に記載の照明装置であって、前記POPパネル部はラウンドシェープに形成されていることを特徴とする照明装置。
JP2008243911A 2008-09-24 2008-09-24 照明装置 Expired - Fee Related JP5417784B2 (ja)

Priority Applications (1)

Application Number Priority Date Filing Date Title
JP2008243911A JP5417784B2 (ja) 2008-09-24 2008-09-24 照明装置

Applications Claiming Priority (1)

Application Number Priority Date Filing Date Title
JP2008243911A JP5417784B2 (ja) 2008-09-24 2008-09-24 照明装置

Publications (2)

Publication Number Publication Date
JP2010080089A true JP2010080089A (ja) 2010-04-08
JP5417784B2 JP5417784B2 (ja) 2014-02-19

Family

ID=42210309

Family Applications (1)

Application Number Title Priority Date Filing Date
JP2008243911A Expired - Fee Related JP5417784B2 (ja) 2008-09-24 2008-09-24 照明装置

Country Status (1)

Country Link
JP (1) JP5417784B2 (ja)

Cited By (1)

* Cited by examiner, † Cited by third party
Publication number Priority date Publication date Assignee Title
JP2017073335A (ja) * 2015-10-09 2017-04-13 Fkk株式会社 棚用led照明装置

Citations (6)

* Cited by examiner, † Cited by third party
Publication number Priority date Publication date Assignee Title
JPH11329056A (ja) * 1998-05-15 1999-11-30 C I Kasei Co Ltd 商品陳列棚の照明装置
JP2003178892A (ja) * 2001-12-07 2003-06-27 Yamashita Engineering:Kk 照明用電力の節電システム
JP2005191520A (ja) * 2003-06-30 2005-07-14 Fujisaki Denki Kk 照明装置と発光ダイオード用の電源供給装置及びこの電源供給装置に使用する導電ボード
JP2005285701A (ja) * 2004-03-30 2005-10-13 B Ii Denshi Kogyo Kk 商品陳列棚構造
JP2008109030A (ja) * 2006-10-27 2008-05-08 Aoshima Bunka Kyozaisha:Kk 発光ユニット及び発光装置
WO2008090643A1 (ja) * 2007-01-22 2008-07-31 Sharp Kabushiki Kaisha 光源モジュール及びバックライト光源

Patent Citations (6)

* Cited by examiner, † Cited by third party
Publication number Priority date Publication date Assignee Title
JPH11329056A (ja) * 1998-05-15 1999-11-30 C I Kasei Co Ltd 商品陳列棚の照明装置
JP2003178892A (ja) * 2001-12-07 2003-06-27 Yamashita Engineering:Kk 照明用電力の節電システム
JP2005191520A (ja) * 2003-06-30 2005-07-14 Fujisaki Denki Kk 照明装置と発光ダイオード用の電源供給装置及びこの電源供給装置に使用する導電ボード
JP2005285701A (ja) * 2004-03-30 2005-10-13 B Ii Denshi Kogyo Kk 商品陳列棚構造
JP2008109030A (ja) * 2006-10-27 2008-05-08 Aoshima Bunka Kyozaisha:Kk 発光ユニット及び発光装置
WO2008090643A1 (ja) * 2007-01-22 2008-07-31 Sharp Kabushiki Kaisha 光源モジュール及びバックライト光源

Cited By (1)

* Cited by examiner, † Cited by third party
Publication number Priority date Publication date Assignee Title
JP2017073335A (ja) * 2015-10-09 2017-04-13 Fkk株式会社 棚用led照明装置

Also Published As

Publication number Publication date
JP5417784B2 (ja) 2014-02-19

Similar Documents

Publication Publication Date Title
USD566259S1 (en) Combined ceiling fan and globe light
USD580445S1 (en) Mounting bracket for flat panel display
USD590489S1 (en) Combined ceiling fan and light
USD562967S1 (en) Ceiling fan housing
JP2008305737A (ja) 給電レール、給電システム、及び陳列棚
USD563399S1 (en) Table mount for flat panel electronic display
CA123616S (en) Vehicle ceiling panel for lighting and air-conditioning
USD590235S1 (en) Universal support bracket for electrical junction box
KR200457486Y1 (ko) 광고 패널이 탈부착 가능한 이동식 광고 차량
USD557344S1 (en) Sign stand
US7584561B2 (en) Light box display
US20150332616A1 (en) Shelf display
USD639415S1 (en) Combination ceiling fan and light fixture, combining upper and downward lighting
JP5417784B2 (ja) 照明装置
USD549814S1 (en) Combination ceiling fan and light fixture
USD619299S1 (en) LED lamp support
USD549315S1 (en) Combination ceiling fan and light fixture
USD551335S1 (en) Combination ceiling fan and light fixture
USD586034S1 (en) Light fixture support
BE1026256B1 (nl) Verlichtingsstructuur
USD563398S1 (en) Table mount for flat panel electronic display
JP3126054U (ja) 表示装置
JP2010078250A (ja) ショーケース
CN101574213A (zh) 一种用于展示的照明货架
KR20190005458A (ko) 광고대로 사용가능한 충전식 상품진열대

Legal Events

Date Code Title Description
A621 Written request for application examination

Free format text: JAPANESE INTERMEDIATE CODE: A621

Effective date: 20110623

A131 Notification of reasons for refusal

Free format text: JAPANESE INTERMEDIATE CODE: A131

Effective date: 20121225

A521 Request for written amendment filed

Free format text: JAPANESE INTERMEDIATE CODE: A523

Effective date: 20130225

A131 Notification of reasons for refusal

Free format text: JAPANESE INTERMEDIATE CODE: A131

Effective date: 20130806

RD01 Notification of change of attorney

Free format text: JAPANESE INTERMEDIATE CODE: A7421

Effective date: 20130826

A521 Request for written amendment filed

Free format text: JAPANESE INTERMEDIATE CODE: A523

Effective date: 20131003

TRDD Decision of grant or rejection written
A01 Written decision to grant a patent or to grant a registration (utility model)

Free format text: JAPANESE INTERMEDIATE CODE: A01

Effective date: 20131022

A61 First payment of annual fees (during grant procedure)

Free format text: JAPANESE INTERMEDIATE CODE: A61

Effective date: 20131104

R150 Certificate of patent or registration of utility model

Ref document number: 5417784

Country of ref document: JP

Free format text: JAPANESE INTERMEDIATE CODE: R150

LAPS Cancellation because of no payment of annual fees