JP2010080079A - 車両用灯具 - Google Patents

車両用灯具 Download PDF

Info

Publication number
JP2010080079A
JP2010080079A JP2008243736A JP2008243736A JP2010080079A JP 2010080079 A JP2010080079 A JP 2010080079A JP 2008243736 A JP2008243736 A JP 2008243736A JP 2008243736 A JP2008243736 A JP 2008243736A JP 2010080079 A JP2010080079 A JP 2010080079A
Authority
JP
Japan
Prior art keywords
light source
semiconductor
type light
mounting surface
heat sink
Prior art date
Legal status (The legal status is an assumption and is not a legal conclusion. Google has not performed a legal analysis and makes no representation as to the accuracy of the status listed.)
Granted
Application number
JP2008243736A
Other languages
English (en)
Other versions
JP5035564B2 (ja
Inventor
Hiroto Tokunaga
裕人 徳永
Current Assignee (The listed assignees may be inaccurate. Google has not performed a legal analysis and makes no representation or warranty as to the accuracy of the list.)
Ichikoh Industries Ltd
Original Assignee
Ichikoh Industries Ltd
Priority date (The priority date is an assumption and is not a legal conclusion. Google has not performed a legal analysis and makes no representation as to the accuracy of the date listed.)
Filing date
Publication date
Application filed by Ichikoh Industries Ltd filed Critical Ichikoh Industries Ltd
Priority to JP2008243736A priority Critical patent/JP5035564B2/ja
Publication of JP2010080079A publication Critical patent/JP2010080079A/ja
Application granted granted Critical
Publication of JP5035564B2 publication Critical patent/JP5035564B2/ja
Expired - Fee Related legal-status Critical Current
Anticipated expiration legal-status Critical

Links

Images

Landscapes

  • Non-Portable Lighting Devices Or Systems Thereof (AREA)

Abstract

【課題】半導体型光源をヒートシンク部材の光源取付面上に精度良く組付けることができる車両用灯具の提供を図る。
【解決手段】半導体型光源10は、その基板10Aがヒートシンク部材20の光源取付面21上で、該光源取付面21に突設した後部ストッパー30RとU字状の板ばね31とにより前後方向に挟圧されて位置決めされる。板ばね31は光源取付面21の嵌合孔28に自体の弾性で圧入され、前側のばね片31aの上端末が半導体型光源10を上方から押え付けて固定する給電部材40の下面に係止して抜け止め固定される。
【選択図】図1

Description

本発明は、自動車のヘッドランプを始めとして、リヤコンビネーションランプやフォグランプ等に用いられる車両用灯具に関する。
従来、車両用灯具として例えば特許文献1に示されているように、光源として発光ダイオード(LED)等の半導体型光源を用い、これをリフレクタと共にヒートシンク部材(固定部材)に組付けて、半導体型光源の発熱を該ヒートシンク部材により拡散して放熱するようにしたものが知られている。
特開2006−302714号公報
前記従来の車両用灯具にあっては、半導体型光源は給電アタッチメント部材に位置決めして固定配置され、この給電アタッチメント部材をヒートシンク部材に嵌挿固定することにより、該半導体型光源がヒートシンク部材の所定部位に配置されるようにしている。
このため、半導体型光源と給電アタッチメント部材との組付誤差、および給電アタッチメント部材とヒートシンク部材との組付誤差が集積されて、半導体型光源とリフレクタ,シェード,投影レンズ等との光学的位置関係に狂いが生じて、配光性能に悪影響と及ぼしてしまうことは否めない。
一方、前記半導体型光源の背面とヒートシンク部材の光源取付面とに、相互に係合するロケートピンとロケート孔とを設けて、これらロケートピンとロケート孔との係合により半導体型光源を位置決めして、直接、前記光源取付面に固定することも行われてはいるが、前記ロケートピンとロケート孔の加工精度管理が困難で、この場合も半導体型光源と他の光学系部材との位置関係に微妙な狂いを生じてしまう。
そこで、本発明は半導体型光源をヒートシンク部材の取付面上に精度良く組付けることができて、配光性能を向上することができる車両用灯具を提供するものである。
本発明の車両用灯具にあっては、半導体型光源と、該半導体型光源の出射光の一部を所定の方向に向けて反射するリフレクタと、これら半導体型光源およびリフレクタ等の光学系部材を集約的に配置したヒートシンク部材と、を備え、前記半導体型光源は、前記ヒートシンク部材の光源取付面上に突設されたストッパーと、該ストッパーと対峙して配設されたばね部材との対向的な挟圧により位置決めされ、前記ばね部材はU字状の板ばねで構成され、該板ばねが前記光源取付面に形成された嵌合孔に自体の弾性により圧入配置され、その一側ばね片が前記半導体型光源の一側端面に弾接し、他側ばね片の端末が前記半導体型光源をその上方から押え付けて固定する給電部材の背面に係止して抜け止め固定されていることを主要な特徴としている。
前記半導体型光源は、その背面をヒートシンク部材の光源取付面に重合して、該半導体型光源の一側端面を該取付面上に突設されたストッパーに面接触して当接係止することにより、該半導体型光源の配設基準位置が定められる。そして、該半導体型光源の他側端面を前記ばね部材により前記ストッパー側に向けて押圧することによって、該半導体型光源の配設位置が確定される。
前記ばね部材として用いられるU字状の板ばねは、前記光源取付面に形成された嵌合孔に自体の弾性により圧入配置され、その一側ばね片が前記半導体型光源のストッパーと面接触した側とは反対側の端面に弾接して、他側ばね片の端末が半導体型光源をその上方から押え付けて固定されているため、車両振動等による該板ばねの脱落およびガタツキが防止される。
本発明によれば、ヒートシンク部材の光源取付面上に突設したストッパーに半導体型光源の一側端面を突当てて面接触させることにより、該取付面上における半導体型光源の配設基準位置が定められ、このストッパーとばね部材との対向的な挟圧によって該半導体型光源の配設位置が確定されるので、前記従来の給電アタッチメント部材の如き中間媒体がなく、半導体型光源の組付精度を高めることができる。
しかも、前記ストッパーと半導体型光源の相互の接触面の精度を出せばよいので、加工精度管理が容易で半導体型光源の位置決めを正確に行えて、他のリフレクタ等との光学的位置関係に狂いを生じることがなく、これにより配光性能を向上することができる。
また、前記ばね部材はU字状の板ばねで構成されていて、自体の弾性により光源取付面に形成された嵌合孔に圧入配置され、半導体型光源の端面に弾接した一側ばね片とは反対側の他側ばね片の端末が、該半導体型光源をその上方から押え付けて固定する給電部材の背面に係止して抜け止め固定されているので、車両振動等による脱落やガタツキを生じることがなく、板ばねが半導体型光源およびリフレクタの配光経路内に突出して配光が部分的に遮断されたり、乱反射を発生する事態が回避されて品質感および信頼性を高めることができる。

以下、本発明の一実施形態を車両用ヘッドランプを例に採って図面と共に詳述する。
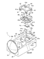
図1は本発明に係るヘッドランプにおける灯具ユニットを示す分解斜視図、図2は灯具ユニットの断面図、図3は半導体型光源の位置決め状態を示す斜視図、図4はばね部材の組付け状態を示す斜視図、図5は給電部材の組付け状態を示す斜視図、図6は固定フレームの組付状態を示す斜視図である。
図1〜図6に示すヘッドランプの灯具ユニット1はプロジェクタタイプとして構成され、半導体型光源10と、半導体型光源10から射出された光の一部を反射する凹型の反射面11aを有するリフレクタ11と、半導体型光源10の直射光および前記リフレクタ11の反射光を集光して灯具前方に向けて照射する投影レンズ12と、これら半導体型光源10と、リフレクタ11と、投影レンズ12とが光学的に集約して配設されるヒートシンク部材20と、を備えている。
この灯具ユニット1が図外のランプハウジングと素通しのアウターレンズとで形成される灯室内に配設されて、ヘッドランプが構成される。
前記リフレクタ11の反射面11aは、楕円または楕円を基本とする反射面、例えば、回転楕円面または楕円を基本とした自由曲面からなる。図2の鉛直断面において、リフレクタ11の反射面11aは、例えば楕円をその長軸に沿って半分にした半楕円の形状を有し、反射面11aの前端部側は半円柱状のフード部11Aとされている。
このリフレクタ11は、例えば光不透過性の合成樹脂材で形成され、リフレクタ11の内面にアルミ蒸着や銀塗装を施して前記反射面11aが形成される。
前記リフレクタ11の反射面11aは第1焦点F1と第2焦点F2とを備え、この第1焦点F1またはその近傍に前記半導体型光源10の発光部10aが配設される。これにより、半導体型光源10から射出される光のうち、リフレクタ11の反射面11aにより反射された光は、該リフレクタ11の第2焦点F2またはその近傍に集光される。
前記半導体型光源10は、例えば発光ダイオード(LED)や有機ELおよび無機ELを含むエレクトロルミネッセンス(EL)など、半導体に電圧を印加することによって得られるルミネッセンス(発光現像)を利用した光源である。
この半導体型光源10は、平面方形の基板10Aを有し、該基板10Aの左右両側上面に端子10bが設けられ、また、前記発光部10aを覆って透明なドーム状カバー10c
が付設されている。
前記投影レンズ12は、少なくとも何れか一方の側面が球面または略球面の形状を有する凸レンズである。本実施形態では、投影レンズ12の両側面が凸型の略球面形状を有し、灯具前方側の側面(前面)は灯具後方側の側面(後面)に比べて曲率半径が小さい。投影レンズ12の形状はこれに限らず、レンズ光軸方向の厚みが中心から外周にかけて薄くなる凸レンズであればよく、例えば、灯具後方側の側面(後面)が略平坦な面とされた平凸レンズであってもよい。
この投影レンズ12は、水平または略水平なレンズ光軸Z1を有し、前記リフレクタ11の第1焦点F1および第2焦点F2はこのレンズ光軸Z1上に設定される。これにより、リフレクタ11の第2焦点F2またはその近傍に集束した光は、投影レンズ12を透過する際にレンズ光軸Z1に対して平行もしくは略平行な光束に集光されて灯具前方へ投射される。
なお、前記半導体型光源10はハロゲンランプやHIDランプ(高輝度放電ランプ)に比べて発熱量が小さいため、投影レンズ12としてガラスレンズよりも軽量な合成樹脂製のレンズ、例えばアクリル製レンズが使用される。
前記ヒートシンク部材20は、熱伝導率が高い金属材料、例えばアルミダイカスト製からなる。このヒートシンク部材20は下側が開放した略方形ボックス状に形成され、下側に複数枚の縦型フィン20aが車幅方向に適宜等間隔に列設されている。
このヒートシンク部材20は、前記半導体型光源10、リフレクタ11および投影レンズ12を前述のように光学的に集約して配置する基台を兼ねて、前記半導体型光源10で発生した熱を放熱するもので、その上面は平坦に形成されて、前記半導体型光源10の取付面21とリフレクタ11の取付面22とが形成されている。
前記半導体型光源10は後述するように、この光源取付面21に発光部10aを上向きにしてその発光中心が前記リフレクタ11の第1焦点F1の位置またはその近傍の位置となる定位置に略水平に固定配置され、従って、この光源取付面21は、リフレクタ取付面22に対して、前記半導体型光源10の発光中心をレンズ光軸Z1上に採り得る深さに一段低く有段成形されている。
一方、前記リフレクタ11は、前記リフレクタ取付面22に半導体型光源10の上方および後方を覆ってビス等により上方より締結固定され、このリフレクタ取付面22を含むヒートシンク部材20の一般上面は、前記レンズ光軸Z1上に略整合する平坦面として形成されている。
本実施形態では、前記ヒートシンク部材20の一般上面の前端縁はシェード23を構成しており、このシェード23は、前記半導体型光源10から射出されてリフレクタ11の反射面11aで反射された反射光の一部を遮断して、残りの反射光でカットオフラインを有する所定の配光パターン、例えば、すれ違い用配光パターン(ロービーム)を形成するものである。
また、前記ヒートシンク部材20の一般上面の前記シェード23の後方平坦面は、前記リフレクタ11の反射面11aを第1反射面とした場合に、該第1反射面11aで前記シェード23よりも灯具後方位置に反射された反射光を、投影レンズ12の上方部分に向けて斜め上向き方向に反射させる第2反射面24として形成されている。
一方、前記リフレクタ11のフード部11Aの前端部上側部位には、前記半導体型光源10から射出される光の一部を、前記シェード23の直前位置に向けて反射させる第3反射面25が形成されている。この第3反射面25は、前記フード部11Aの前端部上側部位に、内側に向けて断面逆三角形状に突出する膨出部11Aを形成することにより、その内側の後方の前傾した斜面で形成される。
また、前記シェード23の直前部位には、前記第3反射面25で反射された反射光を、投影レンズ12の上側部に向けて反射させる第4反射面26が形成されている。この第4反射面26は斜め下方に傾斜した傾斜面として形成され、これら第3,第4反射面25,26は、前記ロービーム配光パターンよりも上方位置に配光パターンを形成するオーバーヘッドサイン用の反射面を構成するものである。
前記ヒートシンク部材20側の第2反射面24および第4反射面26は、リフレクタ11の第1反射面11aおよび第3反射面25と同様に、アルミ蒸着や銀塗装を施して形成される他、該ヒートシンク部材20を構成するアルミダイカストの研削面を研磨加工により鏡面仕上げすることによっても容易に得られる。
また、前記投影レンズ12は、その周縁部がレンズホルダーによって抱持固定されるが、本実施形態にあっては、前記ヒートシンク部材20の前端部にレンズホルダー部27を一体に形成して、該レンズホルダー部27によって投影レンズ12を抱持固定するようにしている。
このレンズホルダー部27は、ヒートシンク部材20の前端面から左右側壁と底壁とを持つ延長部として一体成形され、その内周面は凹型の半円状に形成されている。レンズホルダー部27の前端内周の下側中央部には溝部27aが段付き形成されている。そして、前記投影レンズ12は、その周縁下部に沿設した下側係止突起12aをこの溝部27aに嵌合して定置され、周縁上部に沿設した上側係止突起12bに図外の半円リング状のリテーナを係合して、該リテーナをレンズホルダー部27の左右側壁の前端面にビス等により締結して固定される。
また、前記レンズホルダー部27の底壁中央部には、開口面積が比較的に大きな通気窓27bが形成され、レンズホルダー部27の底部に熱が籠もることがないようにされている。
ここで、前記半導体型光源10は、前述のようにヒートシンク部材20の光源取付面21上に固定配置されるが、該半導体型光源10はストッパー30と、ばね部材としてのU字状の板ばね31とからなる位置決め手段によって正確に位置決めして固定配置される。
前記ストッパー30は、前記光源取付面21上に突設されて半導体型光源10の基板10Aの後端面が係止する後部ストッパー30Rと、該基板10Aの左右の側端面後部が係止する左右一対の側部ストッパー30Sとから成る。
後部ストッパー30Rは、左右方向に延在する縦壁状に立設され、側部ストッパー30Sは四角柱状に立設されて、前記基板10Aの後端面と側端面に面接触するようにされている。また、これらストッパー30R,30Sは、何れも前記基板10Aの上面よりも若干低い高さ位置となるように立設されている。
本実施形態にあっては、前記半導体型光源10は、ヒートシンク部材20と同質金属材からなる台座32上に載置されて該台座32と共にストッパー30と板ばね31とにより位置決めされる。
前記台座32は、前記基板10Aの投影平面形状に整合する方形に形成され、その底面中央部には少なくとも前端面が台座32の前端面と面一な四角柱状の脚部32aを一体に備えている。
一方、前記光源取付面21には前記板ばね31のU字状底部が底付きする所定深さの平面方形の嵌合孔28が形成されている。この嵌合孔28は前記板ばね31と共に台座32の脚部32aを嵌合配置するもので、脚部32aの前後寸法よりも大きく設定され、脚部32aの前側に残余部28aが形成されるようにしている。
前記後部ストッパー30Rおよび側部ストッパー30Sは、前記嵌合孔28の後縁および左右側縁に沿って立設されている。
そして、前記台座32はその脚部32aを前記嵌合孔28に上方より嵌入し、台座32の後端面および側端面を前記後部ストッパー30Rおよび側部ストッパー30Sに面接触させて係止し、該嵌合孔28にサブアッセンブリされる。
半導体型光源10は、このように嵌合孔28にサブアッセンブリされた台座32上に基板10Aを載置し、該基板10Aの後端面と左右側端面とを前記後部ストッパー30Rと側部ストッパー30Sとに面接触させて係止した状態で、前記嵌合孔28の前側の残余部28aに板ばね31を差し込むことにより、基板10Aが台座32と共に後部ストッパー30Rと板ばね31とにより前後方向に挟圧されて前後方向の位置決めが行われ、かつ、左右の側部ストッパー30Sにより左右方向の位置決めが行われる。
このとき、前記U字状の板ばね31の前側のばね片31aの上端縁が前記取付面21とほぼ面一に整合する長さに、および後側のばね片31bの上端縁が前記基板10Aの上面と面一もしくは若干上方に突出する長さに設定されている。また、この板ばね31の後側のばね片31bの上端末は若干前側に向けて傾斜したガイド片31cとして曲折成形され、先に該板ばね31を前記嵌合孔28の残余部28aに差し込んで自体の弾性作用により係着させておき、後から半導体型光源10の基板10Aを前記ストッパー30とガイド片31cとの間に上方から差し込んで係着が可能となるようにされている。
このように、ヒートシンク部材20の光源取付面21上に、ストッパー30と板ばね31とによって正確に位置決めして配設された半導体型光源10は、該半導体型光源10と電気的に接続される給電部材40と、固定フレーム50とによってヒートシンク部材20にしっかりと固定される。
給電部材40は適宜の合成樹脂材からなり、前記半導体型光源10の周縁部、具体的には前記基板10Aの周縁部を上方から押え付けるホルダー部41と、該ホルダー部41の一側端に一体的に外方に向けて突設されて、図外の電源側コネクタが接続されるコネクタ部42と、を備えている。
前記ホルダー部41は平面方形に形成され、その周縁部に一段低く一体に有段成形されて前記ヒートシンク部材20の光源取付面21に重合されるフランジ部41aを備えている。このホルダー部41の中央部には、前記半導体型光源10のドーム状カバー10cおよび板ばね31の後側のばね片31bが露出可能な平面方形の開窓部41bが形成されている。また、この開窓部41bの左右側縁部には、前記半導体型光源10の基板10Aの上面の左右側縁部に設けた光源側端子10bに電気的に導通可能な各一対の板ばね端子41cを備えている。
前記フランジ部41の左右側部の裏面には、前記光源取付面21に設けられたロケート孔21aに嵌合するロケートピン41dが一体に突設されている。
前記コネクタ部42は、前記フランジ部41の後端中央部に灯具後方に向けて直状に突設されている。このコネクタ部42はその上面がフランジ部41の上面と面一な四角柱状に形成され、従って、該コネクタ部42はフランジ部41の下面よりも下方に突出している。
一方、前記光源取付面21には、前記コネクタ部42に対応する位置に、該コネクタ部42の略下半部が嵌合する角形溝部29が形成されている。
この給電部材40は、前記ホルダー部41を半導体型光源10の基板10Aの周縁部上に被冠し、フランジ部41aのロケートピン41dを前記光源取付面21のロケート孔21aに圧入嵌合すると共に、コネクタ部42を該光源取付面21の角形溝部29に圧入嵌合することにより該光源取付面21に仮固定される。このとき、前記半導体型光源10は、その基板10Aの端子10bに、ホルダー部41のばね端子41cが弾接することによって電気的な接続が行われると共に、該ばね端子41cの押え付けにより光源取付面21に固定される。また、前記板ばね31は、その前側のばね片31aの上端縁がフランジ部41aの前部下面に当接して固定される。一方、前記コネクタ部42は角形溝部29からヒートシンク部材20の灯具後方に突出して配置される。
前記固定フレーム50は、所要の剛性を有する金属板材をもって前記給電部材40のホルダー部41の外周縁に外嵌してフランジ部41a上に重合する平面方形の枠形状に形成されている。
この固定フレーム50の前,後両側縁の左右側部には、脚片51が下向きに略直角に曲折成形されている。各脚片51の下側部には、それぞれ外側に斜め上向きに突出する係止フック51aが切り起し成形されている。
一方、ヒートシンク部材20の光源取付面21には、前記固定フレーム50の脚片51に対応して上下方向に貫通するスリット21bが形成されている。
従って、前記固定フレーム50は、上方よりその脚片51を光源取付面21のスリット21bに差し込んで、係止フック51aがスリット21bの途中に形成された顎部21cをくぐり抜けて該顎部21cに係合することによって、給電部材40のフランジ部41a上に装着される。この係止フック51aとスリット21bの顎部21cとの係合を確実に行わせるため、固定フレーム50の左右両側部の中央部分に下側に凸となる湾曲したばね部52が形成され、このばね部52が給電部材40のフランジ部41a面に弾接して撓み変形することによって、前記係止フック51aがスリット21bの顎部21cと係合する方向の付勢力が得られるようにしている。これにより、前記給電部材40と半導体型光源10の光源取付面21上への本固定が行われる。
前記半導体型光源10のヒートシンク部材20への組付けは次のようにして行われる。
先ず、半導体型光源10をその発光部10aを上向きにして、光源取付面21の嵌合孔28にサブアッセンブリされた台座32の上面に載置し、基板10Aを該台座32上で摺動して、該基板10Aの後端面と左右の側部端面とを、後部ストッパー30Rと側部ストッパー30Sとにそれぞれ面接触により当接してセットする(図3参照)。
次に、嵌合孔28の前側の残余部28aに上方からU字状の板ばね31を、その弾性を利用して該板ばね31が嵌合孔28に底付きするまで圧入する。これにより、前記基板10Aの前端面に板ばね31の後側のばね片31bが弾接して、該基板10Aは前記後部ストッパー30Rと板ばね31とにより前後方向に挟圧されて、光源取付面21上での前後方向の取付位置が規定されると共に、左右の側部ストッパー30Sによって左右方向の取付位置が規定される(図4参照)。
前記半導体型光源10と板ばね31の組付工順は逆であってもよい。即ち、先に板ばね31を嵌合孔28の前側部に圧入して後側のばね片31bを台座32の前端面に弾接させて該嵌合孔28にサブアッセンブリしておき、半導体型光源10の基板10Aを、後部ストッパー30Rと左右ストッパー30Sと板ばね31の後側のばね片31bのガイド片31cとで囲まれた部分に、基板10Aの前端で該ガイド片31cを前方へ押し退けるようにして挿入しても、前述と同様に基板10Aの前後方向および左右方向の組付け位置が正確に定められる。
このようにして半導体型光源10の位置決めを行った後、給電部材40をそのホルダー部41を前記半導体型光源10の基板10Aの周縁部上に上方から宛ってドーム状カバー10cを開窓部41bにくぐらせ、該ホルダー部41を前記基板10Aの周縁部に被冠した状態で、コネクタ部42を光源取付面21の角形溝部29に圧入嵌合すると共に、ホルダー部41の下面のロケートピン41dを該光源取付面21のロケート孔21aに圧入嵌合する。これにより、ホルダー部41のばね端子41cが前記基板10Aの端子10b上に弾接して給電部材40と半導体型光源10とが電気的に導通すると共に、該基板10Aが光源取付面21上に押え付けられて、半導体型光源10と給電部材40との仮固定が行われる(図5参照)。
そこで、固定フレーム50を前述のようにその脚片51を光源取付面21のスリット21bに上方より差し込んで、給電部材40のフランジ部41a上に装着して半導体型光源10と給電部材40とを本固定することによって、該半導体型光源10を光源取付面21上に正確に位置決めした状態で、ヒートシンク部材20に対する組付けが終了する(図6参照)。
前記リフレクタ11は、以上のようにして半導体型光源10をヒートシンク部材20に組付けた後、前記リフレクタ取付面22上にビス等により締結固定し、もしくはロケートピンとロケート孔とによる位置決め手段の圧入嵌合等によって組付けられる。
以上の構成からなる本実施形態のヘッドランプによれば、ヒートシンク部材20の光源取付面21上に突設したストッパー30に半導体型光源10の一側端面を突当てて面接触させることにより、該光源取付面21上における半導体型光源10の配設基準位置が定められ、このストッパー30と板ばね31との対向的な挟圧によって該半導体型光源10の配設位置が確定されるので、前記従来の給電アタッチメント部材の如き中間媒体がなく、半導体型光源10の組付精度を高めることができる。
しかも、前記ストッパー30と半導体型光源10の一側端面との相互接触面の精度を出せばよいので、加工精度管理が容易で半導体型光源10の位置決めを正確に行えて、他のリフレクタ11等との光学的位置関係に狂いを生じることがなく、これにより配光性能を向上することができる。
ここで、特に本実施形態にあっては、前記ストッパー30を、半導体型光源10の基板10Aの後側端面が面接触して当接する後部ストッパー30Rと、該基板10Aの左右の側端面が面接触して当接する一対の側部ストッパー30Sとで構成してあって、これらストッパー30R,30Sに囲まれた部分に前記基板10Aを挿入,載置し、ばね部材としてU字状の板ばね31を、光源取付面21の嵌合孔28(余剰部28a)に嵌挿圧入して、基板10Aを後部ストッパー30Rと板ばね31とにより前後方向に挟圧定置するようにしている。従って、ヒートシンク部材20に形成されたシェード23と、半導体型光源10との前後方向の位置精度を高められることは勿論、左右の側部ストッパー30Sによって左右方向の位置精度も高められ、シェード23と半導体型光源10およびリフレクタ11との光学的な位置関係を設計通りに行えて、配光性能を一段と向上することができる。
また、前記U字状の板ばね31は自体の弾性により光源取付面21に形成された嵌合孔28に圧入配置され、半導体型光源10の基板10Aの前側端面に弾接した後側のばね片31bとは反対側の前側のばね片31aの上端末が、該半導体型光源10をその上方から押え付けて固定する給電部材40の下面(背面)に係止して抜け止め固定されているので、車両振動等による脱落やガタツキを生じることがなく、板ばね31が半導体型光源10およびリフレクタ11の配光経路内に突出して配光が部分的に遮断されたり、乱反射を発生する事態が回避されて品質感および信頼性を高めることができる。
一方、この板ばね31の前記基板10Aの前側端面に弾接した後側のばね片31bの上端末は、半導体型光源10の直接光路およびリフレクタ11の反射光路から外れた高さ位置に設定されているため、常態にあってこの後側のばね片31bの上端末が前記配光経路内に存在することがなく、配光性能に些かも影響を及ぼすことはない。
そして、この半導体型光源10の前記光源取付面21上への固定は前述のように半導体型光源10と電気的に接続される給電部材40によって行われ、該給電部材40は、半導体型光源10の上方から押え付ける平板状のホルダー部41の後側端に一体に突設したコネクタ部42を四角柱状として、これを前記光源取付面21に形成した角形溝部29に圧入嵌合してあるので、該コネクタ部42を角形溝部29で補剛できて、電源側コネクタ43の着脱時におけるコネクタ部42の変形または破損を防止できて、品質感を高めることができる。しかも、該コネクタ部42の後端部は、ヒートシンク部材20の後方に突出して配置してあるため、前記電源側コネクタ43の着脱作業を灯具後方から容易に行えて作業性を高められると共に、該電源側コネクタ43の振動等による脱落を回避することもできて、より一層品質感および信頼性を高めることができる。
更に、前記実施形態のように、ヒートシンク部材20の光源取付面21上への半導体型光源10,板ばね31,給電部材40,および固定フレーム50の組付けを、順次上方からの挿入または圧入操作で行えて締結部材を不要とすることができるため、組付作業を簡素化して作業性を向上できることは勿論、ロボットによる組付けの自動化を容易にすることができる利点がある。
なお、前記実施形態では、半導体型光源10の出射光を1つのリフレクタ11で灯具前方に向けて反射させる構造を例示したが、複数個のリフレクタにより灯具前方に向けて多段に反射させる構造であってもよく、また、プロジェクタタイプ以外の灯具構成にも適用することが可能である。
また、本発明は前記ヘッドランプの他、リヤコンビネーションランプあるいはフォグランプに適用することができる。
本発明の一実施形態における灯具ユニットを示す分解斜視図。 灯具ユニットの断面図。 半導体型光源の位置決め状態を示す斜視図。 ばね部材の組付け状態を示す斜視図。 給電部材の組付け状態を示す斜視図。 固定フレームの組付け状態を示す斜視図。
符号の説明
1 灯具ユニット
10 半導体型光源
11 リフレクタ
12 投影レンズ
20 ヒートシンク部材
21 光源取付面
22 リフレクタ取付面
23 シェード
28 嵌合孔
30 ストッパー
30R 後部ストッパー
30S 側部ストッパー
31 板ばね
31a 前側のばね片
30b 後側のばね片
40 給電部材
50 固定フレーム

Claims (2)

  1. 半導体型光源と、該半導体型光源の出射光の一部を所定の方向に向けて反射するリフレクタと、これら半導体型光源およびリフレクタ等の光学系部材を集約的に配置したヒートシンク部材と、を備え、
    前記半導体型光源は、前記ヒートシンク部材の光源取付面上に突設されたストッパーと、該ストッパーと対峙して配設されたばね部材との対向的な挟圧により位置決めされ、
    前記ばね部材はU字状の板ばねで構成され、該板ばねが前記光源取付面に形成された嵌合孔に自体の弾性により圧入配置され、その一側ばね片が前記半導体型光源の一側端面に弾接し、他側ばね片の端末が前記半導体型光源をその上方から押え付けて固定する給電部材の背面に係止して抜け止め固定されていることを特徴とする車両用灯具。
  2. 前記半導体型光源の一側端面に弾接した板ばねの一側ばね片は、その端末が半導体型光源の直接光路およびリフレクタの反射光路から外れた高さ位置に設定されていることを特徴とする請求項1に記載の車両用灯具。
JP2008243736A 2008-09-24 2008-09-24 車両用灯具 Expired - Fee Related JP5035564B2 (ja)

Priority Applications (1)

Application Number Priority Date Filing Date Title
JP2008243736A JP5035564B2 (ja) 2008-09-24 2008-09-24 車両用灯具

Applications Claiming Priority (1)

Application Number Priority Date Filing Date Title
JP2008243736A JP5035564B2 (ja) 2008-09-24 2008-09-24 車両用灯具

Publications (2)

Publication Number Publication Date
JP2010080079A true JP2010080079A (ja) 2010-04-08
JP5035564B2 JP5035564B2 (ja) 2012-09-26

Family

ID=42210302

Family Applications (1)

Application Number Title Priority Date Filing Date
JP2008243736A Expired - Fee Related JP5035564B2 (ja) 2008-09-24 2008-09-24 車両用灯具

Country Status (1)

Country Link
JP (1) JP5035564B2 (ja)

Cited By (2)

* Cited by examiner, † Cited by third party
Publication number Priority date Publication date Assignee Title
CN102335818A (zh) * 2010-07-21 2012-02-01 富士迈半导体精密工业(上海)有限公司 压合治具
KR20160000647U (ko) * 2014-08-18 2016-02-26 에스엘 주식회사 차량용 램프 어셈블리

Citations (3)

* Cited by examiner, † Cited by third party
Publication number Priority date Publication date Assignee Title
JPS61129207U (ja) * 1985-02-01 1986-08-13
JP2005209536A (ja) * 2004-01-23 2005-08-04 Koito Mfg Co Ltd 灯具
JP2005243407A (ja) * 2004-02-26 2005-09-08 Harison Toshiba Lighting Corp ランプ装置および表示装置

Patent Citations (3)

* Cited by examiner, † Cited by third party
Publication number Priority date Publication date Assignee Title
JPS61129207U (ja) * 1985-02-01 1986-08-13
JP2005209536A (ja) * 2004-01-23 2005-08-04 Koito Mfg Co Ltd 灯具
JP2005243407A (ja) * 2004-02-26 2005-09-08 Harison Toshiba Lighting Corp ランプ装置および表示装置

Cited By (3)

* Cited by examiner, † Cited by third party
Publication number Priority date Publication date Assignee Title
CN102335818A (zh) * 2010-07-21 2012-02-01 富士迈半导体精密工业(上海)有限公司 压合治具
KR20160000647U (ko) * 2014-08-18 2016-02-26 에스엘 주식회사 차량용 램프 어셈블리
KR200480827Y1 (ko) 2014-08-18 2016-07-12 에스엘 주식회사 차량용 램프 어셈블리

Also Published As

Publication number Publication date
JP5035564B2 (ja) 2012-09-26

Similar Documents

Publication Publication Date Title
JP4500273B2 (ja) 車両用前照灯
CN109477631B (zh) 照明装置
JP2010080075A (ja) 車両用灯具
JP4492637B2 (ja) 車両用前照灯
CN101676609A (zh) 车辆用灯具
JP2010170836A (ja) プロジェクタ型車両用前照灯
JP2011528162A (ja) 少なくとも1つの光学的なエレメントを備えた保持フレーム
JP5195461B2 (ja) 車両用灯具
JP2009295552A (ja) リング状発光体を用いた照明装置
US11346517B2 (en) Lens holding structure and vehicular lamp fitting
JP2011243502A (ja) 車両用灯具
US8632232B2 (en) Vehicular headlamp having a columnar light guide
JP2010080072A (ja) 車両用灯具
JP2009016301A (ja) 車両用灯具
JP5142085B2 (ja) 車両用灯具
JP4677971B2 (ja) 車両用灯具
JP5035564B2 (ja) 車両用灯具
JP5195460B2 (ja) 車両用灯具
JP4835605B2 (ja) 車両用灯具
JP2010123519A (ja) 車両用灯具
JP5277990B2 (ja) 車両用灯具
JP5277989B2 (ja) 車両用灯具
JP2009199780A (ja) 車両用灯具
JP2010073429A (ja) 車両用灯具
JP2010176859A (ja) 車両用灯具

Legal Events

Date Code Title Description
A621 Written request for application examination

Free format text: JAPANESE INTERMEDIATE CODE: A621

Effective date: 20110106

A977 Report on retrieval

Free format text: JAPANESE INTERMEDIATE CODE: A971007

Effective date: 20120531

TRDD Decision of grant or rejection written
A01 Written decision to grant a patent or to grant a registration (utility model)

Free format text: JAPANESE INTERMEDIATE CODE: A01

Effective date: 20120606

A01 Written decision to grant a patent or to grant a registration (utility model)

Free format text: JAPANESE INTERMEDIATE CODE: A01

A61 First payment of annual fees (during grant procedure)

Free format text: JAPANESE INTERMEDIATE CODE: A61

Effective date: 20120619

FPAY Renewal fee payment (event date is renewal date of database)

Free format text: PAYMENT UNTIL: 20150713

Year of fee payment: 3

R150 Certificate of patent or registration of utility model

Ref document number: 5035564

Country of ref document: JP

Free format text: JAPANESE INTERMEDIATE CODE: R150

Free format text: JAPANESE INTERMEDIATE CODE: R150

R250 Receipt of annual fees

Free format text: JAPANESE INTERMEDIATE CODE: R250

R250 Receipt of annual fees

Free format text: JAPANESE INTERMEDIATE CODE: R250

R250 Receipt of annual fees

Free format text: JAPANESE INTERMEDIATE CODE: R250

R250 Receipt of annual fees

Free format text: JAPANESE INTERMEDIATE CODE: R250

R250 Receipt of annual fees

Free format text: JAPANESE INTERMEDIATE CODE: R250

R250 Receipt of annual fees

Free format text: JAPANESE INTERMEDIATE CODE: R250

LAPS Cancellation because of no payment of annual fees