JP2010069335A - 遊技機 - Google Patents

遊技機 Download PDF

Info

Publication number
JP2010069335A
JP2010069335A JP2010001428A JP2010001428A JP2010069335A JP 2010069335 A JP2010069335 A JP 2010069335A JP 2010001428 A JP2010001428 A JP 2010001428A JP 2010001428 A JP2010001428 A JP 2010001428A JP 2010069335 A JP2010069335 A JP 2010069335A
Authority
JP
Japan
Prior art keywords
display
symbol
display control
special symbol
control means
Prior art date
Legal status (The legal status is an assumption and is not a legal conclusion. Google has not performed a legal analysis and makes no representation as to the accuracy of the status listed.)
Granted
Application number
JP2010001428A
Other languages
English (en)
Other versions
JP2010069335A5 (ja
JP4913218B2 (ja
Inventor
Shohachi Ugawa
詔八 鵜川
Current Assignee (The listed assignees may be inaccurate. Google has not performed a legal analysis and makes no representation or warranty as to the accuracy of the list.)
Sankyo Co Ltd
Original Assignee
Sankyo Co Ltd
Priority date (The priority date is an assumption and is not a legal conclusion. Google has not performed a legal analysis and makes no representation as to the accuracy of the date listed.)
Filing date
Publication date
Application filed by Sankyo Co Ltd filed Critical Sankyo Co Ltd
Priority to JP2010001428A priority Critical patent/JP4913218B2/ja
Publication of JP2010069335A publication Critical patent/JP2010069335A/ja
Publication of JP2010069335A5 publication Critical patent/JP2010069335A5/ja
Application granted granted Critical
Publication of JP4913218B2 publication Critical patent/JP4913218B2/ja
Anticipated expiration legal-status Critical
Expired - Fee Related legal-status Critical Current

Links

Images

Landscapes

  • Pinball Game Machines (AREA)
  • Display Devices Of Pinball Game Machines (AREA)

Abstract

【課題】特別図柄および装飾図柄を可変表示する可変表示部を有し、表示演出を豊富にしても遊技制御手段から表示制御手段に送出されるコマンド数が増加しないようにする。
【解決手段】はずれ時には、特別図柄表示エリア9Aにはずれ図柄が表示され、飾り図柄表示エリア9Bには左右中図柄が一致していない確定図柄が表示される。また、大当り時には、特別図柄表示エリア9Aに当り図柄が表示され、飾り図柄表示エリア9Bには左右中図柄が一致している確定図柄が表示される。遊技制御手段から表示制御手段には、可変表示パターンと当り/はずれを示す情報が送出される。また、遊技制御手段から表示制御手段へのコマンドは、遊技制御基板上の不可逆性出力手段および表示制御基板上の不可逆性入力手段を介して伝達される。
【選択図】図35

Description

本発明は、パチンコ遊技機やコイン遊技機等の遊技機に関し、特に、表示状態が変化可能な可変表示装置を含み、可変表示装置における表示結果があらかじめ定められた特定の表示態様となった場合に所定の遊技価値が付与可能となる遊技機に関する。
遊技機として、表示状態が変化可能な可変表示部を有する可変表示装置が設けられ、可変表示部の表示結果があらかじめ定められた特定の表示態様となった場合に遊技者に有利となる大当り遊技状態に移行するように構成されたものがある。可変表示装置には複数の可変表示部があり、通常、複数の可変表示部の表示結果を時期を異ならせて表示するように構成されている。可変表示部には、例えば、図柄等の複数の識別情報(特別図柄)が可変表示される。可変表示部の表示結果があらかじめ定められた特定の表示態様の組合せとなることを、通常、「大当り」という。なお、遊技価値とは、遊技機の遊技領域に設けられた可変入賞球装置の状態が打球が入賞しやすい遊技者にとって有利な状態になることや、遊技者にとって有利な状態となるための権利を発生させたりすることである。
大当りが発生すると、例えば、大入賞口が所定回数開放して打球が入賞しやすい大当り遊技状態に移行する。そして、各開放期間において、所定個(例えば10個)の大入賞口への入賞があると大入賞口は閉成する。そして、大入賞口の開放回数は、所定回数(例えば16ラウンド)に固定されている。なお、各開放について開放時間(例えば29.5秒)が決められ、入賞数が所定個に達しなくても開放時間が経過すると大入賞口は閉成する。また、大入賞口が閉成した時点で所定の条件(例えば、大入賞口内に設けられているVゾーンへの入賞)が成立していない場合には、所定回数に達していなくても大当り遊技状態は終了する。
また、「大当り」の組合せ以外の「はずれ」の表示態様の組合せのうち、複数の可変表示部の表示結果のうちの一部が未だに導出表示されていない段階において、既に表示結果が導出表示されている可変表示部の表示態様が特定の表示態様の組合せとなる表示条件を満たしている状態を「リーチ」という。遊技者は、大当りをいかにして発生させるかを楽しみつつ遊技を行う。
遊技機として、簡易な特別図柄を可変表示する可変表示部に加えて装飾図柄等を可変表示する装飾図柄表示部を備えたものも知られている。そのような遊技機では、特別図柄の総図柄数は、装飾図柄の総図柄数よりも少ない。よって、特別図柄の可変表示に関する制御負荷が軽減されている。そして、特別図柄の図柄数が少ないことによる遊技演出効果の低下を防止するために、装飾図柄による表示演出をバリエーションに富んだものにしている。
遊技機における遊技進行はマイクロコンピュータ等による遊技制御手段によって制御される。可変表示装置に表示される画像情報は、遊技制御手段からの表示制御コマンドデータに従って動作する表示制御手段によって制御される。可変表示装置に表示される画像情報は、一般に、表示制御用のマイクロコンピュータとマイクロコンピュータの指示に応じて画像データを生成して可変表示装置側に転送するビデオディスプレイプロセッサ(VDP)とによって制御されるが、表示制御用のマイクロコンピュータのプログラム容量は大きい。従って、プログラム容量に制限のある遊技制御手段のマイクロコンピュータで可変表示装置に表示される識別情報等を制御することはできず、遊技制御手段のマイクロコンピュータとは別の表示制御用のマイクロコンピュータ(表示制御手段)が用いられる。
従って、遊技の進行を制御する遊技制御手段は、表示制御手段に対して表示制御のためのコマンドを送信する必要がある。図柄等の画像データの生成は表示制御手段によって行われるが、画面内における変動中の図柄の時々刻々の表示位置は、遊技の進行を制御する遊技制御手段が行った方がよいという観点から、遊技制御手段によって決定される。よって、遊技制御手段は、適当なタイミング毎に図柄の表示位置を決定し、表示位置を表示制御手段に伝達する。
しかし、遊技制御手段が変動中の図柄の表示位置を決定するように構成した場合には、遊技制御手段の図柄表示に関する制御の負担が大きく、遊技制御手段において、他の遊技制御のために費やすことができる処理時間が制限されるという課題がある。そのような課題を解決するには、例えば、遊技制御手段が表示制御手段に図柄の速度変化時点(変動開始および変動停止を含む)送信し、表示制御手段が受信した速度に応じて図柄の表示位置を決定することが考えられる。しかし、そのような図柄変動制御によっても、1回の変動中に何回も遊技制御手段から表示制御手段にコマンドが送信されるので、やはり、遊技制御手段の図柄表示に関する制御の負担は大きい。なお、このことは、表示制御手段が特別図柄の表示制御を行う場合のみならず、表示制御手段が上述した装飾図柄を表示制御するように構成されている場合にも、同様にいえることである。また、大当りが発生すると遊技者に極めて有利な状態になるので、不正に大当りを発生させる不正行為が行われる可能性がある。不正行為は、遊技機の表側からだけでなく、遊技機裏面に設置されている各種回路基板に不正改造を行うことによってなされる可能性もある。
そこで、本発明は、特別図柄および装飾図柄を可変表示する可変表示部を有する遊技機であって、表示演出を豊富にするとともに、表示演出を豊富にしても遊技制御手段から表示制御手段に送出されるコマンド数が増加することがなく、併せて、不正行為を効果的に防止して不正行為を受けにくくすることができる遊技機を提供することを目的とする。
本発明による遊技機は、特別図柄表示部に可変表示される特別図柄の表示結果があらかじめ定められた特定表示態様となったことを条件として遊技者に有利な遊技状態に制御可能な遊技機であって、遊技の進行を制御する遊技制御手段と、少なくとも特別図柄表示部と装飾図柄を表示する装飾図柄表示部とを有する可変表示装置と、可変表示装置の表示状態を制御する可変表示制御手段とを備え、可変表示制御手段が、特別図柄表示部に特別図柄を可変表示する制御を行う特別図柄表示制御手段と、特別図柄表示部に表示可能な表示内容よりも多い種類の表示内容を装飾図柄表示部に表示可能な装飾図柄表示制御手段とを含み、遊技制御手段が、可変表示開始の条件の成立にもとづいて特別図柄の可変表示に関するコマンドを、情報を一方向にのみ伝達可能な不可逆性出力手段を介して可変表示制御手段に送出し、可変表示制御手段が、情報を一方向にのみ伝達可能な不可逆性入力手段を介して遊技制御手段からの特別図柄の可変表示に関するコマンドを受信し、特別図柄表示制御手段を用いて特別図柄を可変表示させるとともに装飾図柄表示制御手段を用いて装飾図柄を可変表示させ、特別図柄表示部の表示結果と装飾図柄表示部の表示結果とが整合するように可変表示制御するように構成されている。
本発明によれば、遊技機を、遊技制御手段が、特別図柄の可変表示に関するコマンドを、情報を一方向にのみ伝達可能な不可逆性出力手段を介して可変表示制御手段に送出し、可変表示制御手段が、情報を一方向にのみ伝達可能な不可逆性入力手段を介して特別図柄の可変表示に関するコマンドを受信し、特別図柄表示制御手段を用いて特別図柄を可変表示させるとともに装飾図柄表示制御手段を用いて装飾図柄を可変表示させ、特別図柄表示部の表示結果と装飾図柄表示部の表示結果とが整合するように可変表示制御するように構成したので、表示演出を豊富にするとともに、表示演出を豊富にしても遊技制御手段から可変表示制御手段に送出されるコマンド数が増加することのない遊技機を提供できる効果がある。また、不正行為を効果的に防止して不正行為を受けにくくすることができる効果がある。
パチンコ遊技機を正面からみた正面図である。 パチンコ遊技機の内部構造を示す全体背面図である。 パチンコ遊技機の遊技盤を背面からみた背面図である。 主基板における回路構成の一例を示すブロック図である。 表示制御基板の回路構成を示すブロック図である。 基本回路のメイン処理を示すフローチャートである。 各乱数を示す説明図である。 打球が始動入賞口に入賞したことを判定する処理を示すフローチャートである。 図柄の変動方法を決定する処理を示すフローチャートである。 大当たり判定の処理を示すフローチャートである。 特別図柄プロセス処理を示すフローチャートである。 可変表示部に表示される特別図柄の例を示す説明図である。 可変表示部に表示される飾り図柄の左右中図柄の例を示す説明図である。 可変表示部の図柄変動中の表示例を示す説明図である。 表示制御コマンド例を示す説明図である。 主基板から表示制御基板に送信される表示制御コマンドを示す説明図である。 表示制御コマンドデータの送出タイミングの一例を示すタイミング図である。 リーチとしないはずれ時の図柄の変動の一例を示すタイミング図である。 リーチ時の図柄の変動の例を示すタイミング図である。 特別図柄プロセス処理における全図柄変動開始処理を示すフローチャートである。 特別図柄プロセス処理における全図柄停止待ち処理を示すフローチャートである。 表示制御データ設定処理の動作例を示すフローチャートである。 表示制御データ出力処理を示すフローチャートである。 表示制御用CPUのメイン処理を示すフローチャートである。 表示制御用CPUのタイマ割込処理を示すフローチャートである。 表示制御用CPUのIRQ2割込処理を示すフローチャートである。 表示制御プロセス処理を示すフローチャートである。 変動開始プロセス処理の表示制御コマンド受信待ち処理を示すフローチャートである。 表示制御用CPUが使用する乱数を示す説明図である。 飾り図柄の停止図柄決定処理を示すフローチャートである。 表示制御プロセス処理の全図柄変動開始処理を示すフローチャートである。 表示制御プロセステーブルの構成例を示す説明図である。 表示制御プロセス処理の図柄変動中処理を示すフローチャートである。 表示制御プロセス処理の全図柄停止処理を示すフローチャートである。 図柄確定時の可変表示部の表示例を示す説明図である。 確変大当りであるか否かを示す情報が付加された表示制御コマンド構成例を示す説明図である。 飾り図柄の停止図柄決定処理を示すフローチャートである。 確変でない大当りの場合と確変大当りの場合の図柄確定時の表示例を示す説明図である。 図柄の変動の様子を示す説明図である。 特別図柄を示す説明図である。
以下、本発明の一実施形態を図面を参照して説明する。
まず、遊技機の一例であるパチンコ遊技機の全体の構成について説明する。図1はパチンコ遊技機1を正面からみた正面図、図2はパチンコ遊技機1の内部構造を示す全体背面図、図3はパチンコ遊技機1の遊技盤を背面からみた背面図である。なお、ここでは、遊技機の一例としてパチンコ遊技機を示すが、本発明はパチンコ遊技機に限られず、例えばコイン遊技機等であってもよい。
図1に示すように、パチンコ遊技機1は、額縁状に形成されたガラス扉枠2を有する。ガラス扉枠2の下部表面には打球供給皿3がある。打球供給皿3の下部には、打球供給皿3からあふれた景品玉を貯留する余剰玉受皿4と打球を発射する打球操作ハンドル(操作ノブ)5が設けられている。ガラス扉枠2の後方には、遊技盤6が着脱可能に取り付けられている。また、遊技盤6の前面には遊技領域7が設けられている。
遊技領域7の中央付近には、複数種類の図柄を可変表示するための可変表示部9と7セグメントLEDによる可変表示器10とを含む可変表示装置8が設けられている。この実施の形態では、可変表示部9には、特別図柄を可変表示する特別図柄表示エリアと、飾り図柄を可変表示する飾り図柄表示エリアとがある。
可変表示装置8の側部には、打球を導く通過ゲート11が設けられている。通過ゲート11を通過した打球は、玉出口13を経て始動入賞口14の方に導かれる。通過ゲート11と玉出口13との間の通路には、通過ゲート11を通過した打球を検出するゲートスイッチ12がある。また、始動入賞口14に入った入賞球は、遊技盤6の背面に導かれ、始動口スイッチ17によって検出される。また、始動入賞口14の下部には開閉動作を行う可変入賞球装置15が設けられている。可変入賞球装置15は、ソレノイド16によって開状態とされる。
可変入賞球装置15の下部には、特定遊技状態(大当り状態)においてソレノイド21によって開状態とされる開閉板20が設けられている。この実施の形態では、開閉板20が大入賞口を開閉する手段となる。開閉板20から遊技盤6の背面に導かれた入賞球のうち一方(Vゾーン)に入った入賞球はVカウントスイッチ22で検出される。また、開閉板20からの入賞球はカウントスイッチ23で検出される。
可変表示装置8の下部には、始動入賞口14に入った入賞球数を表示する4個の表示部を有する始動入賞記憶表示器18が設けられている。この例では、4個を上限として、始動入賞がある毎に、始動入賞記憶表示器18は点灯している表示部を1つずつ増やす。そして、可変表示部9の特別図柄の可変表示が開始される毎に、点灯している表示部を1つ減らす。
遊技盤6には、複数の入賞口19,24が設けられている。遊技領域7の左右周辺には、遊技中に点滅表示される装飾ランプ25が設けられ、下部には、入賞しなかった打球を吸収するアウト口26がある。また、遊技領域7の外側の左右上部には、効果音を発する2つのスピーカ27が設けられている。遊技領域7の外周には、遊技効果LED28aおよび遊技効果ランプ28b,28cが設けられている。そして、この例では、一方のスピーカ27の近傍に、景品玉払出時に点灯する賞球ランプ51が設けられ、他方のスピーカ27の近傍に、補給玉が切れたときに点灯する玉切れランプ52が設けられている。さらに、図1には、パチンコ遊技台1に隣接して設置され、プリペイドカードが挿入されることによって玉貸しを可能にするカードユニット50も示されている。
打球発射装置から発射された打球は、打球レールを通って遊技領域7に入り、その後、遊技領域7を下りてくる。打球が通過ゲート11を通ってゲートスイッチ12で検出されると、可変表示器10の表示数字(普通図柄)が連続的に変化する状態になる。
また、打球が始動入賞口14に入り始動口スイッチ17で検出されると、図柄の変動を開始できる状態であれば、可変表示部9内の特別図柄が回転を始める。特別図柄の変動を開始できる状態でなければ、始動入賞記憶を1増やす。なお、始動入賞記憶については、後で詳しく説明する。可変表示部9内の特別図柄の可変表示は、一定時間が経過したときに停止する。
停止時の特別図柄の表示状態が大当り図柄の表示状態であると、大当り遊技状態に移行する。すなわち、開閉板20が、一定時間経過するまで、または、所定個数(例えば10個)の打球が入賞するまで開放する。そして、開閉板20の開放中に打球が特定入賞領域に入賞しVカウントスイッチ22で検出されると、継続権が発生し開閉板20の開放が再度行われる。この継続権の発生は、所定回数(例えば15ラウンド)許容される。
また、可変表示器10における停止図柄が所定の図柄(当り図柄)である場合に、可変入賞球装置15が所定時間だけ開状態になる。さらに、高確率状態では、可変表示器10における停止図柄が当り図柄になる確率が高められるとともに、可変入賞球装置15の開放時間と開放回数が高められる。
次に、パチンコ遊技機1の裏面の構造について図2を参照して説明する。
可変表示装置8の背面では、図2に示すように、機構板36の上部に景品玉タンク38が設けられ、パチンコ遊技機1が遊技機設置島に設置された状態でその上方から景品玉が景品玉タンク38に供給される。景品玉タンク38内の景品玉は、誘導樋39を通って玉払出装置に至る。
機構板36には、中継基板30を介して可変表示部9を制御する可変表示制御ユニット29、基板ケース32に覆われ遊技制御用マイクロコンピュータ等が搭載された遊技制御基板(主基板)31、可変表示制御ユニット29と遊技制御基板31との間の信号を中継するための中継基板33、および景品玉の払出制御を行う払出制御用マイクロコンピュータ等が搭載された賞球基板37が設置されている。さらに、機構板36には、モータの回転力を利用して打球を遊技領域7に発射する打球発射装置34と、スピーカ27および遊技効果ランプ・LED28a,28b,28cに信号を送るためのランプ制御基板35が設置されている。
また、図3はパチンコ遊技機1の遊技盤を背面からみた背面図である。遊技盤6の裏面には、図3に示すように、各入賞口および入賞球装置に入賞した入賞玉を所定の入賞経路に沿って導く入賞玉集合カバー40が設けられている。入賞玉集合カバー40に導かれる入賞玉のうち、開閉板20を経て入賞したものは、玉払出装置97が相対的に多い景品玉数(例えば15個)を払い出すように制御される。始動入賞口14を経て入賞したものは、玉払出装置(図3において図示せず)が相対的に少ない景品玉数(例えば6個)を払い出すように制御される。そして、その他の入賞口24および入賞球装置を経て入賞したものは、玉払出装置が相対的に中程度の景品玉数(例えば10個)を払い出すように制御される。なお、図3には、中継基板33が例示されている。
賞球払出制御を行うために、入賞球検出スイッチ99、始動口スイッチ17およびVカウントスイッチ22からの信号が、主基板31に送られる。主基板31に入賞球検出スイッチ99のオン信号が送られると、主基板31から賞球基板37に賞球個数信号が送られる。入賞があったことは入賞球検出スイッチ99で検出されるが、その場合に、主基板31から、賞球基板37に賞球個数信号が与えられる。例えば、始動口スイッチ17のオンに対応して入賞球検出スイッチ99がオンすると、賞球個数信号に「6」が出力され、カウントスイッチ23またはVカウントスイッチ22のオンに対応して入賞球検出スイッチ99がオンすると、賞球個数信号に「15」が出力される。そして、それらのスイッチがオンしない場合に入賞球検出スイッチ99がオンすると、賞球個数信号に「10」が出力される。
図4は、主基板31における回路構成の一例を示すブロック図である。なお、図4には、賞球基板37、ランプ制御基板35、音声制御基板70、発射制御基板91および表示制御基板80も示されている。主基板31には、プログラムに従ってパチンコ遊技機1を制御する基本回路53と、ゲートスイッチ12、始動口スイッチ17、Vカウントスイッチ22、カウントスイッチ23および入賞球検出スイッチ99からの信号を基本回路53に与えるスイッチ回路58と、可変入賞球装置15を開閉するソレノイド16および開閉板20を開閉するソレノイド21を基本回路53からの指令に従って駆動するソレノイド回路59と、始動記憶表示器18の点灯および滅灯を行うとともに7セグメントLEDによる可変表示器10と装飾ランプ25とを駆動するランプ・LED回路60とを含む。
また、基本回路53から与えられるデータに従って、大当りの発生を示す大当り情報、可変表示部9の特別図柄変動表示開始に利用された始動入賞球の個数を示す有効始動情報、確率変動が生じたことを示す確変情報等をホール管理コンピュータ等のホストコンピュータに対して出力する情報出力回路64を含む。
基本回路53は、ゲーム制御用のプログラム等を記憶するROM54、ワークメモリとして使用されるRAM55、制御用のプログラムに従って制御動作を行うCPU56およびI/Oポート部57を含む。なお、ROM54,RAM55はCPU56に内蔵されている場合もある。
さらに、主基板31には、電源投入時に基本回路53をリセットするための初期リセット回路65と、定期的(例えば、2ms毎)に基本回路53にリセットパルスを与えてゲーム制御用のプログラムを先頭から再度実行させるための定期リセット回路66と、基本回路53から与えられるアドレス信号をデコードしてI/Oポート部57のうちのいずれかのI/Oポートを選択するための信号を出力するアドレスデコード回路67とが設けられている。
なお、玉払出装置97から主基板31に入力されるスイッチ情報もあるが、図4ではそれらは省略されている。
遊技球を打撃して発射する打球発射装置は発射制御基板91上の回路によって制御される駆動モータ94で駆動される。そして、駆動モータ94の駆動力は、操作ノブ5の操作量に従って調整される。すなわち、発射制御基板91上の回路によって、操作ノブ5の操作量に応じた速度で打球が発射されるように制御される。
図5は、表示制御基板80内の回路構成を、可変表示部9の一実現例であるCRT82および主基板31の出力バッファ回路63とともに示すブロック図である。表示制御用CPU101は、制御データROM102に格納されたプログラムに従って動作し、主基板31からノイズフィルタ107および入力バッファ回路105を介してストローブ信号が入力されると、入力バッファ回路105を介して表示制御コマンドを受信する。
そして、表示制御用CPU101は、受信した表示制御コマンドに従って、CRT82に表示される画面の表示制御を行う。具体的には、表示制御コマンドに応じた指令をVDP103に与える。VDP103は、キャラクタROM86から必要なデータを読み出す。VDP103は、入力したデータに従ってCRT82に表示するための画像データを生成し、その画像データをVRAM87に格納する。そして、VRAM87内の画像データは、R,G,B信号に変換され、D−A変換回路104でアナログ信号に変換されてCRT82に出力される。
なお、図5には、VDP103をリセットするためのリセット回路83、VDP103に動作クロックを与えるための発振回路85、および使用頻度の高い画像データを格納するキャラクタROM86も示されている。キャラクタROM86に格納される使用頻度の高い画像データとは、例えば、CRT82に表示される人物、動物、または、文字、図形もしくは記号等からなる画像などである。
表示制御基板80における入力バッファ回路105は、主基板31から表示制御基板80へ向かう方向にのみ信号を通過させることができる。従って、表示制御基板80側から主基板31側に信号が伝わる余地はない。表示制御基板80内の回路に不正改造が加えられても、不正改造によって出力される信号が主基板31側に伝わることはない。高周波信号を遮断するノイズフィルタ107として、例えば3端子コンデンサやフェライトビーズが使用されるが、ノイズフィルタ107の存在によって、表示制御コマンドに基板間でノイズが乗ったとしても、その影響は除去される。
また、主基板31において、表示制御コマンド送出のための出力ポート571,572の出力をそのまま表示制御基板80に出力してもよいが、単方向にのみ信号伝達可能な出力バッファ回路63を設けることによって、信号の出力部が2段構成になり、主基板31から表示制御基板80への一方向性の信号伝達をより確実にすることができる。
次に遊技機の動作について説明する。
図6は、主基板31における基本回路53の動作を示すフローチャートである。上述したように、この処理は、定期リセット回路66が発するリセットパルスによって、例えば2ms毎に起動される。基本回路53が起動されると、基本回路53は、まず、クロックモニタ制御を動作可能状態にするために、CPU56に内蔵されているクロックモニタレジスタをクロックモニタイネーブル状態に設定する(ステップS1)。なお、クロックモニタ制御とは、入力されるクロック信号の低下または停止を検出すると、CPU56の内部で自動的にリセットを発生する制御である。
次いで、CPU56は、スタックポインタの指定アドレスをセットするためのスタックセット処理を行う(ステップS2)。この例では、スタックポインタに00FFHが設定される。そして、システムチェック処理を行う(ステップS3)。システムチェック処理では、CPU56は、RAM55にエラーが含まれているか判定し、エラーが含まれている場合には、RAM55を初期化するなどの処理を行う。
次に、表示制御基板80に送出されるコマンドデータをRAM55の所定の領域に設定する処理を行った後に(表示制御データ設定処理:ステップS4)、コマンドデータを表示制御コマンドデータとして出力する処理を行う(表示制御データ出力処理:ステップS5)。
次いで、各種出力データの格納領域の内容を各出力ポートに出力する処理を行う(データ出力処理:ステップS6)。また、ランプタイマを1減ずる処理を行い、ランプタイマがタイムアウトしたら(=0になったら)、ランプデータポインタを更新するとともに新たな値をランプタイマに設定する(ランプタイマ処理:ステップS7)。
また、ランプデータポインタが示すアドレスのデータ、ホール管理用コンピュータに出力される大当り情報、始動情報、確率変動情報などの出力データを格納領域に設定する出力データ設定処理を行う(ステップS8)。さらに、パチンコ遊技機1の内部に備えられている自己診断機能によって種々の異常診断処理が行われ、その結果に応じて必要ならば警報が発せられる(エラー処理:ステップS9)。
次に、遊技制御に用いられる大当り判定用乱数等の各判定用乱数を示す各カウンタを更新する処理を行う(ステップS10)。
図7は、各乱数を示す説明図である。各乱数は、以下のように使用される。
(1)ランダム1:大当りを発生させるか否か決定する(大当り判定用)
(2)ランダム4:はずれ時にリーチするか否か決定する(リーチ判定用)
(3)ランダム6:リーチの種類を決定する(リーチ種類決定用)
(4)ランダム7:確変判定用(高確率状態:大当りを生じさせる確率が向上している状態とするか否かの決定用)
なお、遊技効果を高めるために、上記(1)〜(4)の乱数以外の乱数も用いられている。
ステップS10では、CPU56は、(1)の大当たり判定用乱数および(4)の確変判定用乱数を生成するためのカウンタのカウントアップ(1加算)を行う。すなわち、それらが判定用乱数である。
次に、CPU56は、特別図柄プロセス処理を行う(ステップS11)。特別図柄プロセス制御では、遊技状態に応じてパチンコ遊技機1を所定の順序で制御するための特別図柄プロセスフラグに従って該当する処理が選び出されて実行される。そして、特別図柄プロセスフラグの値は、遊技状態に応じて各処理中に更新される。また、普通図柄プロセス処理を行う(ステップS12)。普通図柄プロセス処理では、7セグメントLEDによる可変表示器10を所定の順序で制御するための普通図柄プロセスフラグに従って該当する処理が選び出されて実行される。そして、普通図柄プロセスフラグの値は、遊技状態に応じて各処理中に更新される。
さらに、CPU56は、スイッチ回路58を介して、各スイッチの状態を入力し、スイッチ状態に応じて必要な処理を行う(スイッチ処理:ステップS13)。また、後述するプロセスデータ中の音声データを音声制御基板70に送出する処理を行う(音声処理:ステップS14)。
基本回路53は、さらに、表示用乱数を更新する処理を行う(ステップS15)。すなわち、ランダム4,6を生成するためのカウンタのカウントアップ(1加算)を行う。
また、基本回路53は、賞球基板37との間の信号処理を行う(ステップS16)。すなわち、所定の条件が成立すると賞球基板37に賞球個数を示す賞球制御コマンドを出力する。賞球基板37に搭載されている賞球制御用CPUは、受信した賞球個数に応じて玉払出装置97を駆動する。
その後、基本回路53は、次に定期リセット回路66からリセットパルスが与えられるまで、ステップS17の表示用乱数更新処理を繰り返す。
次に、始動入賞口14への入賞にもとづいて可変表示部9に可変表示される図柄の変動開始処理について図8〜図10のフローチャートを参照して説明する。図8は打球が始動入賞口14に入賞したことを判定する処理を示し、図9は図柄の変動方法を決定する処理を示す。図10は、大当りとするか否かを決定する処理を示すフローチャートである。
打球が遊技盤6に設けられている始動入賞口14に入賞すると、始動口センサ17がオンする。メイン処理のステップS8の特別図柄プロセス処理において、図8に示すように、CPU56は、スイッチ回路58を介して始動口センサ17がオンしたことを判定すると(ステップS41)、始動入賞記憶数が最大値である4に達しているかどうか確認する(ステップS42)。始動入賞記憶数が4に達していなければ、始動入賞記憶数を1増やし(ステップS43)、大当り判定用乱数の値を抽出する。そして、それを始動入賞記憶数の値に対応した乱数値格納エリアに格納する(ステップS44)。なお、始動入賞記憶数が4に達している場合には、始動入賞記憶数を増やす処理を行わない。すなわち、この実施の形態では、最大4個の始動入賞口17に入賞した打球数が記憶可能である。
図9に示すように、CPU56は、ステップS8の特別図柄プロセス処理において始動入賞記憶数の値を確認する(ステップS50)。始動入賞記憶数が0でなければ、始動入賞記憶数=1に対応する乱数値格納エリアに格納されている値を読み出すとともに(ステップS51)、始動入賞記憶数の値を1減らし、かつ、各乱数値格納エリアの値をシフトする(ステップS52)。すなわち、始動入賞記憶数=n(n=2,3,4)に対応する乱数値格納エリアに格納されている値を、始動入賞記憶数=n−1に対応する乱数値格納エリアに格納する。
そして、CPU56は、ステップS51で読み出した値、すなわち抽出されている大当り判定用乱数の値にもとづいて当たり/はずれを決定する(ステップS53)。ここでは、大当り判定用乱数は0〜299の範囲の値をとることにする。図10に示すように、低確率時には例えばその値が「3」である場合に「大当り」と決定し、それ以外の値である場合には「はずれ」と決定する。高確率時には例えばその値が「3」,「7」,「79」,「103」,「107」のいずれかである場合に「大当り」と決定し、それ以外の値である場合には「はずれ」と決定する。
大当たりと判定されたときには、確変判定用乱数(ランダム7)を抽出し、その値が奇数であるならば高確率状態とすることに決定する(ステップS68)。また、リーチ種類決定用乱数(ランダム6)を抽出しその値にもとづいてリーチ種類を決定する(ステップS57)。
はずれと判定された場合には、CPU56は、リーチとするか否か判定する(ステップS58)。例えば、リーチ判定用の乱数であるランダム4の値が「105」〜「1530」のいずれかである場合には、リーチとしないと決定する。そして、リーチ判定用乱数の値が「0」〜「104」のいずれかである場合にはリーチとすることを決定する。リーチとすることを決定したときには、CPU56は、リーチ種類の決定を行う(ステップS57)。
ステップS58において、リーチしないことに決定された場合には、高確率状態であるならば特別図柄の変動期間を通常期間とするのか短縮期間とするのか決定する(ステップS67)。なお、その決定は、例えば乱数を用いて行われる。
なお、高確率状態では、次に大当たりとなる確率が上昇するとともに、7セグメントLEDによる可変表示器10の可変表示の確定までの時間が短縮され、かつ、可変表示器10の可変表示結果にもとづく当たり時の可変入賞球装置15の開放回数および開放時間が高められるようにパチンコ遊技機1が構成されていてもよいし、可変表示器10の可変表示結果にもとづく当たりの確率が高くなるように構成されていてもよい。また、それらのうちのいずれか一つまたは複数の状態のみが生ずるパチンコ遊技機1においても本発明は適用可能である。
また、この実施の形態で用いられた乱数および乱数値の範囲は一例であって、どのような乱数を用いてもよいし、範囲設定も任意である。
図11は、CPU56が実行する特別図柄プロセス処理のプログラムの一例を示すフローチャートである。図11に示す特別図柄プロセス処理は、図6のフローチャートにおけるステップS11の具体的な処理である。CPU56は、特別図柄プロセス処理を行う際に、その内部状態に応じて、図11に示すステップS300〜S309のうちのいずれかの処理を行う。各処理において、以下のような処理が実行される。
特別図柄変動待ち処理(ステップS300):始動入賞口14(この実施の形態では可変入賞球装置15の入賞口)に打球入賞して始動口センサ17がオンするのを待つ。始動口センサ17がオンすると、始動入賞記憶数が満タンでなければ、始動入賞記憶数を+1するとともに大当り決定用乱数を抽出する。すなわち、図8に示された処理が実行される。
特別図柄判定処理(ステップS301):特別図柄の可変表示が開始できる状態になると、始動入賞記憶数を確認する。始動入賞記憶数が0でなければ、抽出されている大当り判定用乱数の値に応じて大当たりとするかはずれとするかを決定する。すなわち、図9に示された処理の前半が実行される。
リーチ動作設定処理(ステップS303):リーチ判定用乱数の値に応じてリーチ動作するか否か決定するとともに、リーチ種類決定用乱数の値に応じてリーチの可変表示パターンを決定する。すなわち、図9に示された処理の後半が実行される。
全図柄変動開始処理(ステップS304):可変表示部9において特別図柄および飾り図柄の全図柄が変動開始されるように制御する。このとき、表示制御基板80に対して、可変表示パターンと大当りとするか否かを指令する情報とが送信される。
全図柄停止待ち処理(ステップS305):所定時間が経過すると、可変表示部9において表示される特別図柄および飾り図柄が停止されるように制御する。
大当たり表示処理(ステップS306):大当りとすることに決定されている場合には、内部状態(プロセスフラグ)をステップS307に移行するように更新する。そうでない場合には、内部状態をステップS309に移行するように更新する。
大入賞口開放開始処理(ステップS307):大入賞口を開放する制御を開始する。具体的には、カウンタやフラグを初期化するとともに、ソレノイド21を駆動して大入賞口を開放する。
大入賞口開放中処理(ステップS308):大入賞口ラウンド表示の表示制御コマンドデータが表示制御基板80に送出する制御や大入賞口の閉成条件の成立を確認する処理等を行う。大入賞口の閉成条件が成立したら、大当り遊技状態の終了条件が成立していなければ内部状態をステップS307に移行するように更新する。大当り遊技状態の終了条件が成立していれば、内部状態をステップS309に移行するように更新する。
大当たり終了処理(ステップS309):大当たり遊技状態が終了したことを遊技者に報知するための表示を行う。その表示が終了したら、内部フラグ等を初期状態に戻し、内部状態をステップS300に移行するように更新する。
上述したように、始動入賞口14に打球が入賞すると、基本回路53は、ステップS11(図6参照)の特別図柄プロセス処理において、大当たりとするかはずれとするか、および可変表示パターンを決定するが、その決定に応じた表示制御コマンドを表示制御基板80の表示制御用CPU101に与える。表示制御用CPU101は、主基板31からの表示制御コマンドに応じて可変表示部9の表示制御を行う。
次に、図柄の変動を具体例を用いて説明する。
図12は、この実施の形態で用いられる特別図柄を示す説明図である。この実施の形態では、特別図柄は2種類あるとする。一方は当り図柄であり、他方ははずれ図柄である。変動に際して、可変表示部9の特別図柄表示エリアには、当たり図柄とはずれ図柄とが交互に切替表示される。切替速度は常に同じである。そして、変動(切替表示)の終了時に当り図柄が表示されると、大当りとなって大当り遊技状態が開始される。また、変動の終了時にはずれ図柄が表示されるとはずれである。つまり、大当り発生時には当り図柄が停止図柄となり、はずれ時にははずれ図柄が停止図柄となる。
図13は、この実施の形態で用いられる左右中の飾り図柄の例を示す説明図である。この実施の形態では、可変表示部9の飾り図柄表示エリアには左右中の3つの表示領域がある。そして、図13に示すように、左右中の飾り図柄として表示される各図柄は、左右中で同一の12図柄である。図柄番号12の図柄が表示されると、次に、図柄番号1の図柄が表示される。そして、特別図柄の停止図柄が当り図柄である場合すなわち大当たり発生時には、左右中図柄が同一図柄で停止する。
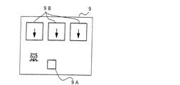
図14は、可変表示部9の図柄変動中の表示例を示す説明図である。(A)は特別図柄表示エリア9Aにおいて特別図柄が変動中であり、飾り図柄表示エリア9Bにおいて飾り図柄が変動中であって、かつ、特別図柄表示エリア9Aにはずれ図柄が現れている状態を示す。(B)は同様の状態において特別図柄表示エリア9Aに大当り図柄が現れている状態を示す。なお、図14に示された例では、可変表示部9においてキャラクタも表示されている。また、以下、飾り図柄とキャラクタとを併せて装飾図柄ということもある。
図15は、この実施の形態で用いられる主基板31から表示制御基板80に送信される表示制御コマンド例を示す説明図である。この例では、1つの表示制御コマンドは2バイト(CMD1,CMD2)で構成される。
図15に示すように、この実施の形態では、図柄の可変表示期間を特定可能な表示制御コマンドすなわち可変表示パターンを特定可能な表示制御コマンドおよび全図柄の停止を指示する表示制御コマンドと、特別図柄による当り/はずれを示す表示制御コマンドとがある。図15(A)に示すように、この例では、可変表示期間を特定可能な表示制御コマンドとして、「はずれ」、「確変時変動」、「リーチ1」、「リーチ2」および「リーチ3」がある。
図16は、主基板31から表示制御基板80に送信される表示制御コマンドを示す説明図である。図16に示すように、この実施の形態では、表示制御コマンドは、表示制御信号CD0〜CD7の8本の信号線で主基板31から表示制御基板80に送信される。また、主基板31と表示制御基板80との間には、ストローブ信号を送信するための表示制御信号INTの信号線、表示制御基板80の電源となる+5V,+12Vの供給線、および接地レベルを供給するための信号線も配線されている。
図17は、主基板31から遊技制御基板80に与えられる表示制御コマンドの送出タイミングの例を示すタイミング図である。この例では、表示制御コマンドデータを構成する2バイトの表示制御データは、図17に示すように、2ms毎に送出される。そして、各表示制御データに同期してストローブ信号(表示制御信号INT)が出力される。表示制御用CPU101には、ストローブ信号の立ち上がりで割込がかかるので、表示制御用CPU101は、割込処理プログラムによって各表示制御データを取り込むことができる。
以下、図18〜図19を参照して特別図柄および飾り図柄の変動パターンの例について説明する。図18は、リーチとしないはずれ時の図柄の変動の一例を示すタイミング図である。また、図19は、リーチ時(大当りの場合および大当りとしない場合)の図柄の変動の一例を示すタイミング図である。
この実施の形態では、主基板31から「はずれ」を示す表示制御コマンドを受信した場合には、表示制御用CPU101は、図18(A)に示すように、特別図柄および飾り図柄を7秒間可変表示する。ただし、この実施の形態では、飾り図柄については、左図柄、右図柄、中図柄の順に停止し、その後、左図柄および右図柄は暫く揺れ変動する。揺れ変動とは、図柄が上下や左右に揺れるような表示がなされることをいう。揺れ変動は、最終停止図柄(確定図柄)が表示されるまで行われる。
そして、主基板31から「全図柄停止」を示す表示制御コマンドを受信すると、特別図柄および左右中の飾り図柄は最終的に停止(確定)する。すなわち、飾り図柄については、左右の飾り図柄の揺れ変動状態を終了させて左右中図柄が動かない確定状態になる。なお、中飾り図柄も、パターンc(減速)による変動の後に揺れ動作を行い、その後確定状態になるようにしてもよい。また、この場合には、特別図柄の確定図柄ははずれ図柄であり、左右中の飾り図柄の確定図柄は、左図柄と右図柄とが一致しないようなものである。
主基板31から「確変時変動」を示す表示制御コマンドを受信した場合には、表示制御用CPU101は、図18(B)に示すように、特別図柄および飾り図柄を4秒間可変表示する。この場合には、特別図柄および飾り図柄は同時に停止する。また、特別図柄の確定図柄ははずれ図柄であり、左右中の飾り図柄の確定図柄は、左図柄と右図柄とが一致しないようなものである。
なお、図18(A)または(B)に示された変動が行われる場合には、主基板31から表示制御基板80に対して、図柄の変動に関して、「はずれ」または「確変時変動」を示す表示制御コマンドと「全図柄確定」を示す表示制御コマンドのみが送出される。
図柄が変動している間、表示制御用CPU101は、所定の背景が表示されるように表示制御を行うとともに、画面中に所定のキャラクタを表示して適宜キャラクタを運動させるように表示制御を行う。具体的には、背景およびキャラクタをVDP103に通知する。すると、VDP103は、指示された背景の画像データを作成する。また、指示されたキャラクタの画像データを作成し背景画像と合成する。さらに、VDP103は、合成画像に、特別図柄の画像データおよび左右中の飾り図柄の画像データを合成する。VDP103は、キャラクタが運動するような表示制御および図柄が変動するような表示制御も行う。すなわち、あらかじめ決められている運動パターンに従ってキャラクタの形状および表示位置を変える。また、表示制御用CPU101から通知される変動速度に応じて図柄表示位置を変えていく。
また、表示制御用CPU101は、左右中の飾り図柄表示エリアにおいて、左右図柄が一致しない各飾り図柄で確定させるために、所定のタイミングで確定図柄の数図柄前の図柄に差し替え表示制御する。
図19(A)は、主基板31から「リーチ1」の表示制御コマンドが送出されたときに表示される変動パターンの例を示す。表示制御用CPU101は、リーチ1が通知されると、特別図柄および飾り図柄を15秒間可変表示する。飾り図柄については、左図柄、右図柄、中図柄の順に停止し、その後、左図柄および右図柄は暫く揺れ変動する。揺れ変動は、最終停止図柄(確定図柄)が表示されるまで行われる。
主基板31から「全図柄停止」を示す表示制御コマンドを受信すると、特別図柄および左右中の飾り図柄は確定する。すなわち、左右の飾り図柄の揺れ変動状態を終了させて左右中図柄が動かない確定状態になる。
図19(B)は、主基板31から「リーチ2」の表示制御コマンドが送出されたときに表示される変動パターンの例を示す。表示制御用CPU101は、リーチ2が通知されると、特別図柄および飾り図柄を29秒間可変表示する。飾り図柄については、やはり、左図柄、右図柄、中図柄の順に停止し、その後、左図柄および右図柄は暫く揺れ変動する。そして、主基板31から「全図柄停止」を示す表示制御コマンドを受信すると、特別図柄および左右中の飾り図柄は最終的に確定する。
図19(C)は、主基板31から「リーチ3」の表示制御コマンドが送出されたときに表示される変動パターンの例を示す。表示制御用CPU101は、リーチ3が通知されると、特別図柄および飾り図柄を40秒間可変表示する。飾り図柄については、やはり、左図柄、右図柄、中図柄の順に停止し、その後、左図柄および右図柄は暫く揺れ変動する。そして、主基板31から「全図柄停止」を示す表示制御コマンドを受信すると、特別図柄および左右中の飾り図柄は最終的に確定する。
図19(A)〜(C)に示された図柄の変動が行われる場合には、主基板31から表示制御基板80に対して、図柄の変動に関して、「リーチ1」、「リーチ2」または「リーチ3」の表示制御コマンドと、特別図柄を「はずれ」または「当り」で停止することを示す表示制御コマンドと、「全図柄停止」を示す表示制御コマンドとが送出される。
特別図柄を「当り」で停止することを示す表示制御コマンドを受信した場合には、表示制御用CPU101は、特別図柄の確定図柄を当り図柄とするとともに、飾り図柄の確定図柄を左右中揃ったものとする。また、特別図柄を「はずれ」で停止することを示す表示制御コマンドを受信した場合には、表示制御用CPU101は、特別図柄の確定図柄をはずれ図柄とするとともに、飾り図柄の確定図柄を左右揃ったものとする。
なお、図19には、それぞれのリーチについて各1種類の可変表示パターンが示されたが、それぞれのリーチについて、複数種類の可変表示パターンを用いてもよい。その場合には、表示制御用CPU101は、所定の乱数等を用いて、どの可変表示パターンを用いるのか決定する。
以上のように、この実施の形態では、大当りとするか否かを決めるための特別図柄として、「当り」と「はずれ」の2種類のみが用いられる。そして、それらの図柄は、どの可変表示パターンでも同様に一定速変動(一定速切替表示)する。しかし、特別図柄の図柄数よりも多い図柄数が定義されている飾り図柄が様々な変動パターンで可変表示されるので、遊技を効果的に演出することができ遊技の興趣を損なうということはない。
さらに、特別図柄の変動に同期して飾り図柄が変動し、かつ、特別図柄の確定図柄が当り図柄である場合には、左右中の飾り図柄が揃ったものとなる。また、特別図柄の確定図柄がはずれ図柄である場合には、左右中の飾り図柄が揃ったものとはならない。そして、リーチ動作(リーチ1、2または3による変動)が行われた場合には、特別図柄の確定図柄がはずれ図柄であるときには、左右の飾り図柄が揃ったものとなる。よって、比較的簡略化された特別図柄によって大当りとするのかはずれとするのかが決まるのであるが、遊技者は、特別図柄の表示結果と整合した飾り図柄の表示結果によって大当りとなったのか否かを判断することができる。飾り図柄の変動パターンを豊富なものとすることができるので、遊技者にとって遊技の興趣が減退するということはない。
また、飾り図柄による遊技演出を豊富にしても、図15に示されたように、主基板31から表示制御基板80に送出されるコマンド数はごく少数でよい。
以下、上述した表示例を実現するための遊技制御手段および表示制御手段の制御について説明する。
図20は、図11に示された特別図柄プロセス処理における全図柄変動開始処理(ステップS304)を示すフローチャートである。ステップS303のリーチ動作設定処理において大当りとするか否かと可変表示パターンが決定されると、それらを指示するための表示制御コマンドの送出制御が行われるのであるが、ステップS304では、CPU56は、まず、コマンドの送出完了を待つ(ステップS304a)。なお、コマンド送出完了は、メイン処理(図6参照)中の表示制御データ出力処理(ステップS5)から通知される。
この実施の形態では、CPU56は、図柄の変動を開始させるときに、図15(A)に示された可変表示パターンを特定可能なコマンドを表示制御基板80に送出する。また、リーチする場合には、続けて、特別図柄を「はずれ」で停止させるのか「当り」で停止させるのかを示す表示制御コマンドを表示制御基板80に送出する。よって、ステップS304aのコマンド送信完了処理では、それら全てのコマンドの送出が完了したか否かが確認される。
表示制御コマンドの送出が完了すると、CPU56は、表示制御基板80に通知した変動時間を測定するための変動時間タイマをスタートする(ステップS304b)。そして、ステップS305に移行するように、特別図柄プロセスフラグを更新する(ステップS304c)。
図21は、図11に示された特別図柄プロセス処理における全図柄停止待ち処理(ステップS305)を示すフローチャートである。ステップS305では、CPU56は、変動時間タイマがタイムアップしたか否か確認する(ステップS305a)。タイムアップしたら、全図柄停止を指示する表示制御コマンドを設定する(ステップS305b)。そして、表示制御コマンドデータ送出要求をセットし(ステップS305c)、ステップS306に移行するように、特別図柄プロセスフラグを更新する(ステップS305d)。なお、表示制御コマンドデータ送出要求は、メイン処理(図6参照)中の表示制御データ設定処理(ステップS4)で参照される。
以上のように、特別図柄プロセス処理において、CPU56は、変動の開始時に可変表示パターンを特定可能な情報と特別図柄による当り/はずれを指示する情報とを表示制御基板80に送出し、変動時間タイマがタイムアップしたら、すなわち指示した変動時間が終了したら、全図柄変動を指示する情報を表示制御基板80に送出する。その間、CPU56は、表示制御基板80に図柄変動に関する表示制御コマンドを送出しない。従って、主基板31のCPU56の表示制御に要する負荷は大きく低減されている。
図22は、表示制御データ設定処理(図6に示されたメイン処理におけるステップS4)の動作例を示すフローチャートである。表示制御データ設定処理において、CPU56は、まず、データ送出中フラグがセットされているか否か確認する(ステップS411)。セットされていなければ、表示制御コマンドデータの送出要求フラグがセットされているか否か確認する(ステップS412)。送出要求フラグがセットされていれば、送出要求フラグをリセットする(ステップS413)。また、送出すべき表示制御コマンドデータを出力データ格納領域に設定するとともに(ステップS414)、ポート出力要求をセットする(ステップS416)。なお、表示制御コマンドデータの送出要求フラグは、特別図柄プロセス処理においてセットされる。また、データ送出中フラグは、後述する表示制御データ出力処理においてセットされる。
図23は、図6に示されたメイン処理における表示制御データ出力処理(ステップS5)を示すフローチャートである。表示制御データ出力処理において、CPU56は、ポート出力要求がセットされているか否か判定する(ステップS421)。ポート出力要求がセットされている場合には、ポート出力要求をリセットし(ステップS422)、ポート格納領域の内容(表示制御コマンドの1バイト目)を表示制御コマンド送出用の出力ポートに出力する(ステップS423)。そして、ポート出力カウンタを+1する(ステップS424)。さらに、INT信号をローレベル(オン状態)にし(ステップS425)、データ送出中フラグをオンする(ステップS426)。
ポート出力要求がセットされていない場合には、ポート出力カウンタの値が0であるか否か判定する(ステップS431)。ポート出力カウンタの値が0でない場合には、ポート出力カウンタの値が1であるか否か確認する(ステップS432)。ポート出力カウンタの値が1である場合には、表示制御コマンドの1バイト目に関するINT信号オフタイミングになっているので、INT信号をオフ(=1)にする(ステップS433)。また、ポート出力カウンタの値を1増やす(ステップS434)。
ポート出力カウンタの値が2である場合には(ステップS435)、表示制御コマンドの2バイト目の出力タイミングになっているので、ポート格納領域の内容(表示制御コマンドの2バイト目)を出力ポートに出力する(ステップS436)。そして、ポート出力カウンタを+1する(ステップS437)。さらに、INT信号をローレベルにする(ステップS438)。
そして、ポート出力カウンタの値が2でない場合には、すなわち3である場合には、表示制御コマンドの2バイト目に関するINT信号オフタイミングになっているので、ポート出力カウンタの値をクリアするとともに(ステップS441)、INT信号をオフ(ハイレベル)にする(ステップS442)。また、データ送出中フラグをオフする(ステップS443)。
この実施の形態では、図23に示された表示制御データ出力処理は2msに1回実行される。従って、図23に示されたデータ出力処理によって、図17に示されたように、2ms毎に1バイトのデータが出力される。
次に、表示制御用CPU101の動作を説明する。
図24は、表示制御用CPU101のメイン処理を示すフローチャートである。メイン処理では、表示制御用CPU101は、まず、RAM、I/OポートおよびVDP103等を初期化する(ステップS701)。そして、可変表示部9に初期画面が出現するように表示制御する(ステップS702)。その後、乱数更新処理(乱数を生成するカウンタの更新処理)を繰り返し実行する(ステップS703)。
この実施の形態では、実際の変動制御等は、タイマ割込処理によって行われる。タイマ割込は、例えば2ms毎に発生する。図25に示すように、タイマ割込処理では、表示制御用CPU101は、表示制御プロセス処理(ステップS711)を実行する。表示制御プロセス処理では、表示制御プロセスフラグの値に応じた表示制御処理が行われる。
主基板31からの表示制御コマンドは、IRQ2割込によって表示制御用CPU101に受信される。図26は、表示制御用CPU101のIRQ2割込処理を示すフローチャートである。IRQ2割込処理において、表示制御用CPU101は、まず、データ受信中フラグがセットされているか否か確認する(ステップS601)。セットされていなければ、この割込が表示制御コマンドデータにおける第1バイトの表示制御データ送出による割込である。そこで、ポインタをクリアするとともに(ステップS602)、データ受信中フラグをセットする(ステップS603)。そして、ステップS604に移行する。ポインタは、表示制御用CPU101が内蔵しているRAMにおける表示制御コマンドデータ格納エリアにおける何バイト目に受信データを格納するか指し示すものである。
データ受信中フラグがセットされている場合には、ストローブ信号がオフしたら(ステップS604)、表示制御用CPU101は、入力ポートからデータを入力し、表示制御コマンドデータ格納エリアにおいてポインタによって示されているアドレスに、入力データを格納する(ステップS605)。
そして、表示制御用CPU101は、ポインタの値を+1する(ステップS606)。そして、ポインタの値が2になった場合には(ステップS607)、2バイトで構成される表示制御コマンドデータの受信が完了したことになるので、データ受信完了フラグをセットするとともに、データ受信中フラグをリセットする(ステップS608,S609)。以上のような処理によって、表示制御データCMD1,CMD2が、表示制御基板80において受信される。
図27は、図25に示されたタイマ割込処理における表示制御プロセス処理(ステップS711)を示すフローチャートである。表示制御プロセス処理では、表示制御プロセスフラグの値に応じてステップS720〜S870のうちのいずれかの処理が行われる。各処理において、以下のような処理が実行される。
変動開始コマンド受信待ち処理(ステップS720):IRQ2割込処理によって、可変表示パターンを特定可能な表示制御コマンドを受信したか否か確認する。
飾り図柄の停止図柄決定処理(ステップS750):所定の乱数にもとづいて左右中の飾り図柄の確定図柄を決定する。各リーチ(リーチ1、リーチ2およびリーチ3)のそれぞれについて複数の変動パターンが用意されている場合、リーチ1、リーチ2またはリーチ3の表示制御コマンドを受信したときにどのパターンを使用するのかも決定する。
全図柄変動開始処理(ステップS780):特別図柄および飾り図柄の左右中図柄の変動が開始されるように制御する。
図柄変動中処理(ステップS810):変動パターンを構成する各変動状態(変動速度や背景、キャラクタ)の切替タイミングを制御するとともに、変動時間の終了を監視する。また、飾り図柄の左右図柄の停止制御(揺れ変動開始制御)を行う。
全図柄停止待ち設定処理(ステップS840):変動時間の終了時に、全図柄停止を指示する表示制御コマンドを受信していたら、特別図柄および飾り図柄の変動を停止し最終停止図柄(確定図柄)を表示する制御を行う。
大当り表示処理(ステップS870):変動時間の終了後、確変大当り表示または通常大当り表示の制御を行う。
図28は、変動開始コマンド受信待ち処理(ステップS720)を示すフローチャートである。変動開始コマンド受信待ち処理において、表示制御用CPU101は、まず、可変表示パターンを特定可能な表示制御コマンドを受信したか否か確認する(ステップS721)。可変表示パターンを特定可能な表示制御コマンドは、図15(A)に示されたように、CMD1が80HであってCMD2が01H、2H、03H、04Hまたは05Hのコマンドである。可変表示パターンを特定可能な表示制御コマンドを受信した場合には、表示制御プロセスフラグの値を飾り図柄の停止図柄決定処理(ステップS750)に対応した値に変更する(ステップS722)とともに、監視タイマをスタートする(ステップS723)。監視タイマは、「全図柄停止」の表示制御コマンドを受信するか否かを監視するためのタイマである。
図29は、表示制御用CPU101が使用する乱数を示す説明図である。この実施の形態では、表示制御用CPU101は、ランダム10〜13を使用する。ランダム10は、特別図柄による大当りを生じさせる場合に、飾り図柄の左右中確定図柄を決定するためのものである。ランダム11〜13は、特別図柄による大当りを生じさせない場合に、飾り図柄の左右中確定図柄を決定するためのものである。
図30は、飾り図柄の停止図柄決定処理(ステップS750)を示すフローチャートである。飾り図柄の停止図柄決定処理において、表示制御用CPU101は、まず、「はずれ」または「確変時変動」の表示制御コマンドを受信した否か確認する(ステップS751)。いずれかを受信していた場合には、ランダム11〜13の値を抽出し抽出した値にもとづいて飾り図柄の左右中確定図柄を決定する(ステップS752)。具体的には、ランダム11の値に対応した図柄番号の飾り図柄を左確定図柄とし、ランダム12の値に対応した図柄番号の飾り図柄を中確定図柄とし、ランダム13の値に対応した図柄番号の飾り図柄を右確定図柄とする(図13参照)。なお、左右の確定図柄が同じものとなった場合には、右確定図柄を1図柄ずらす。
ステップS751で「はずれ」および「確変時変動」を受信しなかったことを確認した場合には、表示制御用CPU101は、特別図柄を「当り」で停止することを示す表示制御コマンドを受信した否か確認する(ステップS753)。「当り」で停止することを示す表示制御コマンドを受信した場合には、ランダム10の値を抽出し抽出した値にもとづいて飾り図柄の左右中確定図柄を決定する(ステップS754)。
ステップS753において「はずれ」で停止することを示す表示制御コマンドを受信した場合には、表示制御用CPU101は、ランダム11の値を抽出し抽出した値にもとづいて飾り図柄の左右の確定図柄を決定する(ステップS755)。また、ランダム12の値を抽出し抽出した値にもとづいて飾り図柄の中確定図柄を決定する(ステップS756)。ここで、左右中の確定図柄が同じものとなった場合には、中確定図柄を1図柄ずらす。
飾り図柄の確定図柄が決定されると、表示制御用CPU101は、表示制御プロセスフラグの値を全図柄変動開始処理(ステップS780)に対応した値に変更する(ステップS767)。
以上のように、この実施の形態では、左右中の飾り図柄の確定図柄は、表示制御手段において決定される。よって、特別図柄の図柄数を少ないものとしつつ飾り図柄の図柄数を多くして遊技演出を豊富にするように構成しても、遊技制御手段の表示制御に関する負荷が増大するということはない。また、飾り図柄の確定図柄を決定する際に、特別図柄が当り図柄で確定するときには大当りを想起させる図柄の組合せで確定し、特別図柄がはずれ図柄で確定するときにははずれを想起させる図柄の組合せで確定する。よって、遊技者は、飾り図柄の表示結果によって、容易に大当たりとなったのかはずれとなったのかを認識することができる。
図31は、全図柄変動開始処理(ステップS780)を示すフローチャートである。全図柄変動開始処理において、表示制御用CPU101は、使用する可変表示パターンに応じたプロセステーブルを用いることに決定する(ステップS781)。プロセステーブルには、その可変表示パターン中の各変動状態(変動速度やその速度での変動期間等)が設定されている。また、プロセステーブルはROMに設定されている。
そして、プロセステーブルの最初に設定されているプロセスタイマ値でタイマをスタートさせる(ステップS782)。また、3バイト目に設定されている変動状態を示すデータにもとづいて図柄変動制御、背景およびキャラクタの表示制御を開始する(ステップS783)。そして、表示制御プロセスフラグの値を図柄変動中処理(ステップS810)に対応した値に変更する(ステップS784)。
図32は、プロセステーブルの構成例を示す説明図である。それぞれの可変表示パターンに対応した各プロセステーブルには、時系列的に、飾り図柄の変動速度やその速度での変動期間、背景やキャラクタの切替タイミング等が設定されている。また、ある速度での変動期間を決めるためのプロセスタイマ値も設定されている。また、各プロセステーブルは、複数の3バイト単位のプロセスデータで構成されている。
例えば、図18(A)に示された可変表示パターンに対応したプロセステーブルにおいて、最初のプロセスデータ(3バイト)には、特別図柄の変動を開始すること、飾り図柄の左右中図柄を低速で変動させること、および、次の表示状態切り替えタイミングまでの時間を示すプロセスタイマ値が設定されている。最初の変動はパターンaによる変動(加速)であって、まず、低速変動を開始すべきだからである。
以降、表示状態をどのように切り替えるのかと、次の表示状態切り替えタイミングまでの時間を示すプロセスタイマ値とが順次設定されている。なお、表示状態切り替えタイミングとは、特別図柄の表示図柄切替タイミングと飾り図柄の左右中図柄のいずれかの変動速度を切り替えるタイミングとであるが、さらに、背景およびキャラクタの切り替えタイミングや図柄の差し替えをすべきタイミングも含まれる。
よって、表示制御用CPU101は、プロセスタイマのタイムアップによって何らかの表示状態を変更しなければならないことを知ることができる。そして、変更すべき表示状態は、プロセステーブルにおける次のプロセスデータの3バイト目の設定値から知ることができる。
図33は、図柄変動中処理(ステップS810)を示すフローチャートである。図柄変動中処理において、表示制御用CPU101は、プロセスタイマがタイムアウトしたか否か確認する(ステップS811)。プロセスタイマがタイムアウトした場合には、プロセステーブル中のデータを示すポインタを+3する(ステップS812)。そして、ポインタが指す領域のデータが終了コードであるか否か確認する(ステップS813)。終了コードでなければ、ポインタが指すプロセスデータの3バイト目に設定されている変動状態を示すデータにもとづいて図柄変動制御、背景およびキャラクタの表示制御を変更するとともに(ステップS814)、1,2バイト目に設定されているプロセスタイマ値でタイマをスタートさせる(ステップS815)。
ステップS813で、終了コードであれば、表示制御プロセスフラグの値を全図柄停止待ち処理(ステップS840)に対応した値に変更する(ステップS816)。
図34は、全図柄停止待ち処理(ステップS840)を示すフローチャートである。全図柄停止待ち処理において、表示制御用CPU101は、「全図柄停止」を指示する表示制御コマンドを受信しているか否か確認する(ステップS841)。全図柄停止を指示する表示制御コマンドを受信していれば、決定されている確定図柄で左右中の飾り図柄を停止させる制御を行う(ステップS842)。また、特別図柄を確定図柄で停止させる制御を行う(ステップS843)。そして、表示制御プロセスフラグの値を大当り表示処理(ステップS870)に対応した値に設定する(ステップS844)。
「全図柄停止」を指定する表示制御コマンドを受信していない場合には、監視タイマがタイムアウトしているかどうか確認する(ステップS845)。タイムアウトした場合には、何らかの異常が発生したと判断して、可変表示部9にエラー画面を表示する制御を行う(ステップS846)。
図35は、図柄確定時の可変表示部9の表示例を示す説明図である。(A)ははずれの場合を示し、(B)は当りの場合を示す。 図35(A)に示すように、特別図柄表示エリア9Aにははずれ図柄が表示され、飾り図柄表示エリア9Bには左右中図柄が一致していない確定図柄が表示されている。また、図35(B)に示すように、特別図柄表示エリア9Aに当り図柄が表示される場合には、飾り図柄表示エリア9Bには左右中図柄が一致している確定図柄が表示される。
なお、主基板31のCPU56が確変大当りとすることに決定した場合には、そのことを遊技者に報知するために、例えば、遊技盤上に専用の表示手段を設け、その表示手段に確変大当りが生じたことを表示してもよい。
また、主基板31から表示制御基板80に送出される表示制御コマンドに確変大当りであるか否かを示す情報を付加してもよい。図36は、確変大当りであるか否かを示す情報が付加された表示制御コマンド構成例を示す説明図である。なお、可変表示パターンを示すコマンドと「全図柄停止」を示すコマンドは、図15(A)に示された通りである。
この場合には、図9に示された処理において、主基板31のCPU56は、確変大当りとすることに決定すると(ステップS68)、図36に示されたコマンド[8BH,03H]を表示制御基板80に送出する。そうでない場合には、コマンド[8BH,02H]を表示制御基板80に送出する。
この例では、確変大当りの場合には、飾り図柄の確定図柄を「一」、「三」、「五」、「七」、「九」または「下駄」とする。また、確変としない大当りの場合には、飾り図柄の確定図柄をその他の図柄とする。
図37は、この例での飾り図柄の停止図柄決定処理(ステップS750)を示すフローチャートである。この場合には、コマンド[8BH,03H]を受信した場合にはランダム10の値に従って飾り図柄(確変用)の図柄テーブルを用いて飾り図柄の左右中確定図柄を決定する(ステップS753,S761,S762)。コマンド[8BH,02H]を受信した場合にはランダム10の値に従って飾り図柄(非確変用)の図柄テーブルを用いて飾り図柄の左右中確定図柄を決定する(ステップS753,S761,S763)。
飾り図柄(確変用)の図柄テーブルには、ランダム10がとりうる各値と飾り図柄「一」、「三」、「五」、「七」、「九」、「下駄」との対応関係が設定されている。また、飾り図柄(非確変用)の図柄テーブルには、ランダム10がとりうる各値と飾り図柄「二」、「四」、「六」、「八」、「十」、「おにぎり」との対応関係が設定されている。よって、確変大当りとなるときには、左右中の飾り図柄の確定図柄は、「一」、「三」、「五」、「七」、「九」、「下駄」のいずれかとなり、確変大当りとならないときには、左右中の飾り図柄の確定図柄は、「二」、「四」、「六」、「八」、「十」、「おにぎり」のいずれかとなる。
図38は、確変でない大当りの場合と確変大当りの場合の図柄確定時の表示例を示す説明図である。図38(A)に示すように、確変大当りでない場合には、特別図柄表示エリア9Aには当り図柄が表示され、飾り図柄表示エリアには、飾り図柄の確定図柄として例えば「二」が表示されている。また、図38(B)に示すように、確変大当りの場合には、特別図柄表示エリア9Aには当り図柄が表示され、飾り図柄表示エリアには、飾り図柄の確定図柄として例えば「七」が表示されている。
同時に、可変表示部9には確変表示エリア9Cが表示され、確変大当りでない場合には確変表示エリア9Cが消灯しているような表示がなされ、確変大当りの場合には確変表示エリア9Cが点灯しているような表示がなされる。
このように、確変大当りとそうでない場合とで飾り図柄の確定図柄を異ならせるようにしておけば、遊技者は、容易に確変大当りが生じたの否かを確認することができる。そして、このような飾り図柄の表示制御を行う場合でも、遊技制御手段は飾り図柄決定処理を行わず、表示制御手段の側で飾り図柄の確定図柄の決定を行う。よって、遊技制御手段の表示制御に要する負荷が増大することはない。
なお、この例では、飾り図柄を異ならせるとともに確変表示エリア9Cで確変大当りか否かを報知するようにしたが、飾り図柄を異ならせるのみ、または、確変表示エリア9Cで確変大当りか否かを報知するようするのみでも、遊技者に確変大当りか否かを報知することができる。
上記の各実施の形態では、特別図柄として当り図柄とはずれ図柄の2種類が用いられたが、装飾図柄の総図柄数よりも少ない範囲でさらに多くしてもよい。図39に示す可変表示部9の表示例では、特別図柄表示エリア9Aに、例えば、図40に示すような8種類の特別図柄が可変表示される。可変表示における図柄の切替速度は一定である。そして、例えば「3」を当り図柄とする。
表示制御用CPU101は、主基板31からリーチ動作の可変表示パターンを示す表示制御コマンドを受信すると特別図柄および飾り図柄の変動を開始し、特別図柄を「当り」で停止する表示制御コマンドを受信した場合には、特別図柄の可変表示を「3」で停止させる。このとき、飾り図柄の確定図柄は左右中揃ったものである。また、特別図柄を「はずれ」で停止する表示制御コマンドを受信した場合には、特別図柄の可変表示を「3」以外で停止させる。このとき、飾り図柄の確定図柄は左右揃ったものである。
このような構成においても、確変大当りに対応したコマンド[8BH,03H]と、そうでないコマンド[8BH,02H]とを分けてもよい。そして、例えば、コマンド[8BH,03H]を受信した場合には特別図柄の確定図柄を「7」とし、コマンド[8BH,02H]を受信した場合には特別図柄の確定図柄を「3」と分けるようにしてもよい。
上記の実施の形態には、以下のような遊技機も開示されている。
遊技制御手段は、全ての図柄を確定させるのに関連した時期に確定を示す情報を送出可能である遊技機。
そのような構成によれば、可変表示制御手段が図柄確定時期を通知されることによって、図柄をより確実に確定させることができる。
可変表示制御手段は、確定を示す情報が入力されるまで既に停止した図柄を揺れ表示するように構成されている遊技機。
そのような構成によれば、遊技者が、図柄が確定していないことを容易に認識できる効果がある。
特別図柄の変動方法は、例えば1種類である遊技機。
そのような構成によれば、特別図柄の可変表示に要する負荷が低減される効果がある。
装飾図柄の変動方法は、複数種類ある遊技機。
そのような構成によれば、特別図柄の数や変動方法の種類を少なくしても、全体として遊技演出を豊富にすることができ、遊技の興趣を損なうことがないという効果がある。
遊技制御手段の不可逆性出力手段は、2段階構成とされている遊技機。
そのような構成によれば、遊技制御手段に不正な信号が入力されることをさらに確実に防止できる効果がある。
可変表示制御手段の不可逆性入力手段は、ノイズフィルタを備えた構成である遊技機。
そのような構成によれば、基板間でコマンドにノイズが乗ったような場合でもその影響は除去され、コマンドが確実に可変表示手段に伝わる効果がある。
9 可変表示部
9A 特別図柄表示エリア
9B 飾り図柄表示エリア
31 遊技制御基板(主基板)
53 基本回路
56 CPU
63 出力バッファ回路
80 表示制御基板
101 表示制御用CPU
103 VDP

Claims (1)

  1. 特別図柄表示部に可変表示される特別図柄の表示結果があらかじめ定められた特定表示態様となったことを条件として遊技者に有利な遊技状態に制御可能な遊技機であって、
    遊技の進行を制御する遊技制御手段と、少なくとも前記特別図柄表示部と装飾図柄を表示する装飾図柄表示部とを有する可変表示装置と、前記可変表示装置の表示状態を制御する可変表示制御手段とを備え、
    前記可変表示制御手段は、前記特別図柄表示部に特別図柄を可変表示する制御を行う特別図柄表示制御手段と、前記特別図柄表示部に表示可能な表示内容よりも多い種類の表示内容を前記装飾図柄表示部に表示可能な装飾図柄表示制御手段とを含み、
    前記遊技制御手段は、可変表示開始の条件の成立にもとづいて特別図柄の可変表示に関するコマンドを、情報を一方向にのみ伝達可能な不可逆性出力手段を介して前記可変表示制御手段に送出し、
    前記可変表示制御手段は、情報を一方向にのみ伝達可能な不可逆性入力手段を介して前記遊技制御手段からの前記コマンドを受信し、前記特別図柄表示制御手段を用いて特別図柄を可変表示させるとともに前記装飾図柄表示制御手段を用いて装飾図柄を可変表示させ、前記特別図柄表示部の表示結果と前記装飾図柄表示部の表示結果とが整合するように可変表示制御する
    ことを特徴とする遊技機。
JP2010001428A 2010-01-06 2010-01-06 遊技機 Expired - Fee Related JP4913218B2 (ja)

Priority Applications (1)

Application Number Priority Date Filing Date Title
JP2010001428A JP4913218B2 (ja) 2010-01-06 2010-01-06 遊技機

Applications Claiming Priority (1)

Application Number Priority Date Filing Date Title
JP2010001428A JP4913218B2 (ja) 2010-01-06 2010-01-06 遊技機

Related Parent Applications (1)

Application Number Title Priority Date Filing Date
JP13788599A Division JP4680335B2 (ja) 1999-05-18 1999-05-18 遊技機

Related Child Applications (3)

Application Number Title Priority Date Filing Date
JP2010167251A Division JP4913237B2 (ja) 2010-07-26 2010-07-26 遊技機
JP2010167250A Division JP4913236B2 (ja) 2010-07-26 2010-07-26 遊技機
JP2010167249A Division JP4913235B2 (ja) 2010-07-26 2010-07-26 遊技機

Publications (3)

Publication Number Publication Date
JP2010069335A true JP2010069335A (ja) 2010-04-02
JP2010069335A5 JP2010069335A5 (ja) 2011-08-04
JP4913218B2 JP4913218B2 (ja) 2012-04-11

Family

ID=42201616

Family Applications (1)

Application Number Title Priority Date Filing Date
JP2010001428A Expired - Fee Related JP4913218B2 (ja) 2010-01-06 2010-01-06 遊技機

Country Status (1)

Country Link
JP (1) JP4913218B2 (ja)

Cited By (3)

* Cited by examiner, † Cited by third party
Publication number Priority date Publication date Assignee Title
JP2011217828A (ja) * 2010-04-06 2011-11-04 Sophia Co Ltd 遊技機
CN103962062A (zh) * 2013-01-30 2014-08-06 中国石油化工股份有限公司 等温反应器催化剂的装填方法
CN104226350A (zh) * 2013-06-17 2014-12-24 中国石油化工股份有限公司 铁系尖晶石复合氧化物催化剂及其用途

Citations (4)

* Cited by examiner, † Cited by third party
Publication number Priority date Publication date Assignee Title
JPH08224339A (ja) * 1995-02-23 1996-09-03 Daiichi Shokai Co Ltd パチンコ機におけるデータ伝送装置
JPH0956890A (ja) * 1995-08-22 1997-03-04 Taiyo Elec Kk 図柄表示装置
JPH09299565A (ja) * 1996-05-14 1997-11-25 Sankyo Kk 遊技機
JPH1170224A (ja) * 1997-08-29 1999-03-16 Daiichi Shokai Co Ltd 遊技機

Patent Citations (4)

* Cited by examiner, † Cited by third party
Publication number Priority date Publication date Assignee Title
JPH08224339A (ja) * 1995-02-23 1996-09-03 Daiichi Shokai Co Ltd パチンコ機におけるデータ伝送装置
JPH0956890A (ja) * 1995-08-22 1997-03-04 Taiyo Elec Kk 図柄表示装置
JPH09299565A (ja) * 1996-05-14 1997-11-25 Sankyo Kk 遊技機
JPH1170224A (ja) * 1997-08-29 1999-03-16 Daiichi Shokai Co Ltd 遊技機

Cited By (3)

* Cited by examiner, † Cited by third party
Publication number Priority date Publication date Assignee Title
JP2011217828A (ja) * 2010-04-06 2011-11-04 Sophia Co Ltd 遊技機
CN103962062A (zh) * 2013-01-30 2014-08-06 中国石油化工股份有限公司 等温反应器催化剂的装填方法
CN104226350A (zh) * 2013-06-17 2014-12-24 中国石油化工股份有限公司 铁系尖晶石复合氧化物催化剂及其用途

Also Published As

Publication number Publication date
JP4913218B2 (ja) 2012-04-11

Similar Documents

Publication Publication Date Title
JP4137263B2 (ja) 遊技機
JP3664911B2 (ja) 遊技機
JP4443670B2 (ja) 遊技機
JP4408985B2 (ja) 遊技機
JP3789664B2 (ja) 遊技機
JP4401480B2 (ja) 遊技機
JP4680335B2 (ja) 遊技機
JP4043635B2 (ja) 遊技機
JP4255569B2 (ja) 遊技機
JP4913218B2 (ja) 遊技機
JP4236762B2 (ja) 遊技機
JP4658212B2 (ja) 遊技機
JP4913236B2 (ja) 遊技機
JP4913237B2 (ja) 遊技機
JP4913235B2 (ja) 遊技機
JP5090513B2 (ja) 遊技機
JP4637928B2 (ja) 遊技機
JP4658213B2 (ja) 遊技機
JP4637929B2 (ja) 遊技機
JP4658211B2 (ja) 遊技機
JP4658214B2 (ja) 遊技機
JP4741695B2 (ja) 遊技機
JP3789882B2 (ja) 遊技機
JP4723007B2 (ja) 遊技機
JP4846860B2 (ja) 遊技機

Legal Events

Date Code Title Description
A621 Written request for application examination

Free format text: JAPANESE INTERMEDIATE CODE: A621

Effective date: 20100106

A521 Written amendment

Free format text: JAPANESE INTERMEDIATE CODE: A523

Effective date: 20110620

A131 Notification of reasons for refusal

Free format text: JAPANESE INTERMEDIATE CODE: A131

Effective date: 20110712

A521 Written amendment

Free format text: JAPANESE INTERMEDIATE CODE: A523

Effective date: 20110905

TRDD Decision of grant or rejection written
A01 Written decision to grant a patent or to grant a registration (utility model)

Free format text: JAPANESE INTERMEDIATE CODE: A01

Effective date: 20120117

A01 Written decision to grant a patent or to grant a registration (utility model)

Free format text: JAPANESE INTERMEDIATE CODE: A01

A61 First payment of annual fees (during grant procedure)

Free format text: JAPANESE INTERMEDIATE CODE: A61

Effective date: 20120118

R150 Certificate of patent or registration of utility model

Ref document number: 4913218

Country of ref document: JP

Free format text: JAPANESE INTERMEDIATE CODE: R150

Free format text: JAPANESE INTERMEDIATE CODE: R150

FPAY Renewal fee payment (event date is renewal date of database)

Free format text: PAYMENT UNTIL: 20150127

Year of fee payment: 3

R250 Receipt of annual fees

Free format text: JAPANESE INTERMEDIATE CODE: R250

R250 Receipt of annual fees

Free format text: JAPANESE INTERMEDIATE CODE: R250

R250 Receipt of annual fees

Free format text: JAPANESE INTERMEDIATE CODE: R250

R250 Receipt of annual fees

Free format text: JAPANESE INTERMEDIATE CODE: R250

LAPS Cancellation because of no payment of annual fees