JP2010068841A - 携帯用箸、およびこれを用いたアクセサリー - Google Patents

携帯用箸、およびこれを用いたアクセサリー Download PDF

Info

Publication number
JP2010068841A
JP2010068841A JP2008236248A JP2008236248A JP2010068841A JP 2010068841 A JP2010068841 A JP 2010068841A JP 2008236248 A JP2008236248 A JP 2008236248A JP 2008236248 A JP2008236248 A JP 2008236248A JP 2010068841 A JP2010068841 A JP 2010068841A
Authority
JP
Japan
Prior art keywords
chopsticks
chopstick
cylindrical
upper half
lid
Prior art date
Legal status (The legal status is an assumption and is not a legal conclusion. Google has not performed a legal analysis and makes no representation as to the accuracy of the status listed.)
Granted
Application number
JP2008236248A
Other languages
English (en)
Other versions
JP5322546B2 (ja
Inventor
Koji Hirakawa
幸治 平川
Current Assignee (The listed assignees may be inaccurate. Google has not performed a legal analysis and makes no representation or warranty as to the accuracy of the list.)
HIRAKAWA INDUSTRY CO Ltd
Original Assignee
HIRAKAWA INDUSTRY CO Ltd
Priority date (The priority date is an assumption and is not a legal conclusion. Google has not performed a legal analysis and makes no representation as to the accuracy of the date listed.)
Filing date
Publication date
Application filed by HIRAKAWA INDUSTRY CO Ltd filed Critical HIRAKAWA INDUSTRY CO Ltd
Priority to JP2008236248A priority Critical patent/JP5322546B2/ja
Publication of JP2010068841A publication Critical patent/JP2010068841A/ja
Application granted granted Critical
Publication of JP5322546B2 publication Critical patent/JP5322546B2/ja
Expired - Fee Related legal-status Critical Current
Anticipated expiration legal-status Critical

Links

Images

Landscapes

  • Table Equipment (AREA)

Abstract

【課題】 携帯に非常に便利であり、しかも箸を伸縮させる操作を簡単に行なうことができ、また斬新なアクセサリーとして使用することができる信頼性の高い、使い勝手のよい携帯用箸、およびこれを用いたアクセサリーを提供する。
【解決手段】 携帯用箸の各箸A,Bは、円筒状箸上半体1と、これの内部に納められるテーパ状の箸下半体2と、円筒状箸上半体1の上端部1aに被せ止められる栓体3と、円筒状箸上半体1の下端部1bに被せ止められる蓋体20とよりなり、箸使用時には、各箸A,Bの蓋体20が取り除かれ、円筒状箸上半体1より箸下半体2が振り出されて、両者が結合手段により一体に結合され、1本の長い箸が形成される。携帯用箸を用いたアクセサリーは、携帯用の一対の箸A,Bと、これらを吊り下げるための箸吊下げ部材30と、ホルダー具40とを具備し、キーホルダー、ヘンダント・トップ、または携帯用ストラップなどに用いられる。
【選択図】 図13

Description

本発明は、携帯用箸、およびこれを用いたアクセサリー、さらに詳しくは、携帯の際には、箸の長さを短くすることができるとともに、非常に斬新なアクセサリーとして使用することができ、箸の使用時には、通常の長い箸長とすることができ、しかも箸の長さを変えて、箸を伸縮させる操作を、非常に簡単に行なうことができるうえに、携帯時に、内側の箸部材が勝手に振り出されて外側に出てくるようなことが全くない、使い勝手の良い携帯用箸、およびこれを用いたアクセサリーに関するものである。
一般に、自宅で食事をする際には、自分専用の箸があり、箸の衛生管理をすることは容易であるが、外出先のレストランや食堂で食事をする際には、箸の衛生管理を自ら行なうことができず、このようなことから、レストランや食堂には、木製の割り箸を備えていることが多い。また、店頭で売られている弁当などにも木製の割り箸が付帯されている。従って、このような割り箸を使い捨てることにより、森林伐採が進み、自然が破壊されるという問題があった。
また、使用後の割り箸は、ゴミとして焼却処分されるため、それによって炭酸ガスの発生を招き、大気が汚染されるという問題があった。
このような従来の問題を解決する手段として、木製割り箸の使い捨てを少なくするため、レストランや食堂では、樹脂製の箸を繰り返し使用することが行なわれている。しかしながら、レストランや食堂において、見知らぬ多くの人が使用する箸を用いて食事をすることは、感覚としてあまり好ましくないという問題がある。
そこで、従来、個人がそれぞれ自分の箸を携帯するという考え方から、従来より各種の携帯用箸が提案されている。
下記の特許文献1に開示されている携帯用箸は、伸縮式であり、一対の箸のうちのそれぞれの箸が、長い筒状の箸上半部と、これの内部に納められかつ細い箸先端部を有する箸下半部と具備しており、箸の携帯時には、箸下半部が、長い筒状箸上半部内に納められ、箸の使用時には、箸下半部が筒状箸上半部より振り出されて、携帯用箸が、全体として長くなるようになされていた。
そして、筒状箸上半部の下端接続部の外周長さが短く、逆に、箸下半部の上端接続部の外周長さが長くなされているため、箸の使用時には、筒状箸上半部内において、箸下半部の上端接続部が、筒状箸上半部の下端接続部に引っ掛かり、両接続部は、互いに箸素材の摩擦によって止められているものであった。
特開2006−271954号公報
しかしながら、上記特許文献1に記載の従来の携帯用箸では、筒状箸上半部の内側に箸下半部が納められた箸の不使用時に、筒状箸上半部の下端開口部を下向きにして振ると、内側の箸下半部(箸部材)が勝手に振り出されて外側に出てくることがあり、このため、従来の携帯用箸には、別の収納ケース(箸入れ)が用意されていて、一対の箸がこの収納ケース内に納められていた。
しかし、これでは、携帯用箸とは別に、収納ケースを作製しなければならず、それだけコストが高くつくし、携帯用箸を収納ケースに納めて所持することは、単に、箸の長さが短くなっただけで、従来の一般の収納ケース入り箸を所持する場合とあまり変わりがなく、使い勝手がさほど向上していないし、斬新性にも劣るという問題があった。
また、特許文献1に記載の従来の携帯用箸によれば、箸の使用時には、筒状箸上半部内において、箸下半部の上端接続部が、筒状箸上半部の下端接続部に引っ掛かり、両接続部は、単に箸素材の摩擦によって止められているだけであるため、箸の使用時に、例えば箸を下向きに強く押えると、箸素材の摩擦による係合が解け、箸下半部が、筒状箸上半部内に入り込んで、箸長が、いきなり短くなって縮んだりするトラブルを生じるおそれがあるという問題があった。
また、例えば食事の料理に含まれているオイルなどの摩擦を低減してしまう液体が、筒状箸上半部と箸下半部との接続部に滲み込んだような場合には、箸下半部の上端接続部を箸素材の摩擦によって止めることはできず、このため、信頼性に劣り、場合によっては、使い勝手が悪いという問題があった。
本発明の目的は、上記の従来技術の問題を解決し、携帯用箸について、従来のような別の収納ケース(箸入れ)を必要とせず、しかも携帯時に、内側の箸部材が勝手に振り出されて外側に出てくるようなことが全くなく、携帯に非常に便利であり、しかも箸の長さを変えて、箸を伸縮させる操作を、非常に簡単に行なうことができるとともに、非常に斬新なアクセサリーとして使用することができ、また、箸の使用時に、箸長が、いきなり短くなって縮んだりするトラブルを生じるようなことが全くない、非常に信頼性の高い、使い勝手の良い携帯用箸、およびこれを用いたアクセサリーを提供しようとすることにある。
上記の目的を達成するために、請求項1の発明は、携帯用の一対の箸であって、各箸は、所要長さを有する円筒状の箸上半体と、これの内部に納められるテーパ状の箸下半体と、円筒状箸上半体の上端部に被せ止められる栓体と、円筒状箸上半体の下端部に被せ止められる蓋体とよりなり、箸の使用時には、各箸の蓋体が取り除かれ、円筒状箸上半体より箸下半体が振り出されて、両者が結合手段により一体に結合され、1本の長い箸が形成されるようになされていることを特徴としている。
請求項2の発明は、請求項1に記載の携帯用箸であって、各箸のテーパ状箸下半体とテーパ状の箸下半体との結合手段が、テーパ状箸下半体の上端部に設けられかつ円筒状箸上半体の下端部の内径より若干小さい外径を有する接続用径大部と、接続用径大部の外周面に設けられた右ねじまたは左ねじ方向の螺旋溝と、円筒状箸上半体の下端寄り部分の内面に設けられかつ上記螺旋溝に嵌まり合う内方凸起とによって構成され、螺旋溝の底壁の深さは、接続用径大部下縁より下方に向かって開口した始端部から終端部に至るほど漸次浅いものとなされており、箸の使用時には、円筒状箸上半体に対して箸下半体が下方に振り出されて、円筒状箸上半体の下端寄り部分の内方凸起が、箸下半体上端部の接続用径大部下縁の段部に当たり、ついで、箸上半体および/または箸下半体を右回りまたは左回りに回転させることにより、箸上半体の内方凸起が螺旋溝内にその始端部より入り込み、さらに、箸上半体および/または箸下半体を同方向に回転させることにより、内方凸起が螺旋溝内を進んで、遂には内方凸起の先端が溝終端部に近い底壁に係り合って、箸上半体と箸下半体とが一体に結合され、箸の使用後には、箸上半体および/または箸下半体を上記とは逆方向に回転させることにより、内方凸起の先端と螺旋溝の底壁との係合が外れ、内方凸起が螺旋溝内を上記とは逆方向に進んで、遂には内方凸起が溝始端部より出て、箸下半体が円筒状箸上半体の内部に納められるようになされていることを特徴としている。
請求項3の発明は、請求項1または2に記載の携帯用箸であって、各箸の蓋体に、円筒状箸上半体の下端部の内径より若干小さい外径を有する筒状差込み部が設けられ、筒状差込み部の外周面に右ねじまたは左ねじ方向の螺旋溝が設けられ、螺旋溝の底壁の深さは、筒状差込み部下縁より下方に向かって開口した始端部から終端部に至るほど漸次浅いものとなされ、円筒状箸上半体の下端寄り部分の内面に、螺旋溝に嵌まり合う内方凸起が設けられており、箸の不使用時には、箸下半体が内部に納められた円筒状箸上半体の下端部に蓋体の筒状差込み部が差し込まれて、蓋体の筒状差込み部の先端部が、円筒状箸上半体の下端寄り部分の内方凸起に当たり、ついで、蓋体を右回りまたは左回りに回転させることにより、円筒状箸上半体の内方凸起が、筒状差込み部外面の螺旋溝内にその始端部より入り込み、さらに、蓋体を同方向に回転させることにより、内方凸起が螺旋溝内を進んで、遂には内方凸起の先端が溝終端部に近い底壁に係り合って、円筒状箸上半体の下端部に蓋体が取り付けられ、箸の使用の際には、蓋体を上記とは逆方向に回転させることにより、円筒状箸上半体下端寄り部分の内方凸起の先端と、蓋体の筒状差込み部外面の螺旋溝の底壁との係合が外れ、内方凸起が筒状差込み部外面の螺旋溝内を上記とは逆方向に進んで、遂には内方凸起が溝始端部より出て、蓋体が取り外されるようになされていることを特徴としている。
請求項4の発明は、携帯用箸を用いたアクセサリーであって、請求項1〜3のうちのいずれか一項に記載の携帯用の一対の箸と、これらを吊り下げるための箸吊下げ部材とを具備し、箸吊下げ部材は、箸吊下げ用長尺材とホルダー具とを有していて、箸吊下げ用長尺材の一端部に、一対の箸の蓋体が連結され、同吊下げ用長尺材の他端部に、ホルダー具が取り付けられていることを特徴としている。
請求項5の発明は、請求項4に記載の携帯用箸を用いたアクセサリーであって、さらに、箸保持用長尺材がスライド式連結具を介して箸吊下げ用長尺材に連結され、箸保持用長尺材の先端部には、一対の箸の円筒状箸上半体の外径の合計より若干大きい目の内径を有する箸まとめ用リングが取り付けられており、箸の吊下げ時には、箸吊下げ用長尺材によって垂下状かつ互いに平行状に吊り下げられた箸に対して箸まとめ用リングが嵌め被せられて、該箸まとめ用リングが、箸の円筒状箸上半体の高さの中間部分に保持されるようになされていることを特徴としている。
請求項6の発明は、請求項4または5に記載の携帯用箸を用いたアクセサリーであって、アクセサリーが、キーホルダー、ヘンダント・トップ、または携帯用ストラップであることを特徴としている。
請求項7の発明は、請求項4〜6のうちのいずれか一項に記載の携帯用箸を用いたアクセサリーであって、箸吊下げ用長尺材および箸保持用長尺材が、チェーン、金属製ワイヤ、紐、糸、または金属製もしくは合成樹脂製の線材であることを特徴としている。
請求項1の発明は、携帯用の一対の箸であって、各箸は、所要長さを有する円筒状の箸上半体と、これの内部に納められるテーパ状の箸下半体と、円筒状箸上半体の上端部に被せ止められる栓体と、円筒状箸上半体の下端部に被せ止められる蓋体とよりなり、箸の使用時には、各箸の蓋体が取り除かれ、円筒状箸上半体より箸下半体が振り出されて、両者が結合手段により一体に結合され、1本の長い箸が形成されるようになされているもので、請求項1に記載の携帯用箸によれば、従来のような別の収納ケース(箸入れ)を必要とせず、しかも携帯時に、内側の箸部材が勝手に振り出されて外側に出てくるようなことが全くなく、携帯に非常に便利であり、しかも箸の長さを変えて、箸を伸縮させる操作を、非常に簡単に行なうことができるという効果を奏する。
また、本発明の携帯用箸は、円筒状箸上半体に対し、テーパ状の箸下半体を出入れする際に、箸下半体を、その自重によるゆったりと下降させることができ、このようなテーパ状箸下半体の出入れの操作は、非常に優雅でさえあり、携帯用箸の使用者にとって、楽しさを感じ、かつ満足のいくもので、非常に使い勝手の良いものであるという効果を奏する。
請求項2の発明は、請求項1に記載の携帯用箸であって、各箸のテーパ状箸下半体とテーパ状の箸下半体との結合手段が、テーパ状箸下半体の上端部に設けられかつ円筒状箸上半体の下端部の内径より若干小さい外径を有する接続用径大部と、接続用径大部の外周面に設けられた右ねじまたは左ねじ方向の螺旋溝と、円筒状箸上半体の下端寄り部分の内面に設けられかつ上記螺旋溝に嵌まり合う内方凸起とによって構成され、螺旋溝の底壁の深さは、接続用径大部下縁より下方に向かって開口した始端部から終端部に至るほど漸次浅いものとなされており、箸の使用時には、円筒状箸上半体に対して箸下半体が下方に振り出されて、円筒状箸上半体の下端寄り部分の内方凸起が、箸下半体上端部の接続用径大部下縁の段部に当たり、ついで、箸上半体および/または箸下半体を右回りまたは左回りに回転させることにより、箸上半体の内方凸起が螺旋溝内にその始端部より入り込み、さらに、箸上半体および/または箸下半体を同方向に回転させることにより、内方凸起が螺旋溝内を進んで、遂には内方凸起の先端が溝終端部に近い底壁に係り合って、箸上半体と箸下半体とが一体に結合され、箸の使用後には、箸上半体および/または箸下半体を上記とは逆方向に回転させることにより、内方凸起の先端と螺旋溝の底壁との係合が外れ、内方凸起が螺旋溝内を上記とは逆方向に進んで、遂には内方凸起が溝始端部より出て、箸下半体が円筒状箸上半体の内部に納められるようになされているもので、請求項2の発明によれば、従来のような別の収納ケース(箸入れ)を必要とせず、しかも携帯時に、内側の箸部材が勝手に振り出されて外側に出てくるようなことが全くなく、携帯に非常に便利であり、しかも箸の長さを変えて、箸を伸縮させる操作を、非常に簡単に行なうことができるうえ、箸の使用時に、箸長が、いきなり短くなって縮んだりするトラブルを生じるようなことが全くない、非常に信頼性が高く、使い勝手が良いという効果を奏する。
請求項3の発明は、請求項1または2に記載の携帯用箸であって、各箸の蓋体に、円筒状箸上半体の下端部の内径より若干小さい外径を有する筒状差込み部が設けられ、筒状差込み部の外周面に右ねじまたは左ねじ方向の螺旋溝が設けられ、螺旋溝の底壁の深さは、筒状差込み部下縁より下方に向かって開口した始端部から終端部に至るほど漸次浅いものとなされ、円筒状箸上半体の下端寄り部分の内面に、螺旋溝に嵌まり合う内方凸起が設けられており、箸の不使用時には、箸下半体が内部に納められた円筒状箸上半体の下端部に蓋体の筒状差込み部が差し込まれて、蓋体の筒状差込み部の先端部が、円筒状箸上半体の下端寄り部分の内方凸起に当たり、ついで、蓋体を右回りまたは左回りに回転させることにより、円筒状箸上半体の内方凸起が、筒状差込み部外面の螺旋溝内にその始端部より入り込み、さらに、蓋体を同方向に回転させることにより、内方凸起が螺旋溝内を進んで、遂には内方凸起の先端が溝終端部に近い底壁に係り合って、円筒状箸上半体の下端部に蓋体が取り付けられ、箸の使用の際には、蓋体を上記とは逆方向に回転させることにより、円筒状箸上半体下端寄り部分の内方凸起の先端と、蓋体の筒状差込み部外面の螺旋溝の底壁との係合が外れ、内方凸起が筒状差込み部外面の螺旋溝内を上記とは逆方向に進んで、遂には内方凸起が溝始端部より出て、蓋体が取り外されるようになされているもので、請求項3の発明によれば、携帯用箸について、従来のような別の収納ケース(箸入れ)を必要とせず、しかも携帯時に、内側の箸部材が勝手に振り出されて外側に出てくるようなことが全くなく、携帯に非常に便利であり、しかも蓋体の取り付け・取り外しの操作を、非常に簡単に行なうことができ、使い勝手が良いという効果を奏する。
請求項4の発明は、携帯用箸を用いたアクセサリーであって、請求項1〜3のうちのいずれか一項に記載の携帯用の一対の箸と、これらを吊り下げるための箸吊下げ部材とを具備し、箸吊下げ部材は、箸吊下げ用長尺材とホルダー具とを有していて、箸吊下げ用長尺材の一端部に、一対の箸の蓋体が連結され、同吊下げ用長尺材の他端部に、ホルダー具が取り付けられているもので、請求項4の発明によれば、従来のような別の収納ケース(箸入れ)を必要とせず、しかも携帯時に、内側の箸部材が勝手に振り出されて外側に出てくるようなことが全くなく、携帯に非常に便利であり、しかも非常に斬新なアクセサリーとして使用することができるという効果を奏する。
請求項5の発明は、請求項4に記載の携帯用箸を用いたアクセサリーであって、さらに、箸保持用長尺材がスライド式連結具を介して箸吊下げ用長尺材に連結され、箸保持用長尺材の先端部には、一対の箸の円筒状箸上半体の外径の合計より若干大きい目の内径を有する箸まとめ用リングが取り付けられており、箸の吊下げ時には、箸吊下げ用長尺材によって垂下状かつ互いに平行状に吊り下げられた箸に対して箸まとめ用リングが嵌め被せられて、該箸まとめ用リングが、箸の円筒状箸上半体の高さの中間部分に保持されるようになされているもので、請求項5の発明によれば、従来のような別の収納ケース(箸入れ)を必要とせず、しかも携帯時に、内側の箸部材が勝手に振り出されて外側に出てくるようなことが全くなく、携帯に非常に便利であり、しかも一対の箸を吊り下げ状態で、しっかりとまとめることができて、非常に斬新なアクセサリーとして使用することができるという効果を奏する。
請求項6の発明は、請求項4または5に記載の携帯用箸を用いたアクセサリーであって、アクセサリーが、キーホルダー、ヘンダント・トップ、または携帯用ストラップである。
請求項7の発明は、請求項4〜6のうちのいずれか一項に記載の携帯用箸を用いたアクセサリーであって、箸吊下げ用長尺材および箸保持用長尺材が、チェーン、金属製ワイヤ、紐、糸、または金属製もしくは合成樹脂製の線材である。
つぎに、本発明の実施の形態を、図面を参照して説明するが、本発明はこれらに限定されるものではない。
この明細書において、上下は図5を基準とし、上とは図5の上側、下とは同下側をいゝ、また左右は下方に向かっていうものとする。
なお、本発明による携帯用箸の一対の箸は、互いに同じ構造を有しているため、図1〜図12では、その一方の箸のみが図示されている。図13〜図15は、本発明による携帯用箸を用いたアクセサリーを示すもので、一対の箸の両方が図示されている。
まず、図1は、本発明による携帯用箸の実施形態を示す縦断面図、図2は、拡大分解斜視図である。
図1と図2を参照すると、携帯用の一対の箸(A)(B)は、例えばアルミニウム製であり、各箸(A)(B)は、所要長さを有する円筒状の箸上半体(1)と、これの内部に納められるテーパ状の箸下半体(2)と、円筒状箸上半体(1)の上端部(1a)に被せ止められる栓体(3)と、円筒状箸上半体(1)の下端部(1b)に被せ止められる蓋体(20)とよりなる。
箸(A)(B)の使用時には、各箸(A)(B)の蓋体(20a)(20b)が取り除かれ、円筒状箸上半体(1)よりテーパ状箸下半体(2)が振り出されて、両者が結合手段により一体に結合され、1本の長い箸が形成されるようになされている。
図1と図2に示すように、円筒状の箸上半体(1)の上端部(1a)よりテーパ状の箸下半体(2)が、その先細端部(2b)より挿入されて、円筒状箸上半体(1)内部に納められ、その後、円筒状の箸上半体(1)の上端部(1a)に栓体(3)が被せ止められている。また、箸上半体(1)の下端部(1b)には蓋体(20)が被せ止められている。
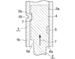
本発明の携帯用箸(A)(B)のテーパ状箸下半体(2)の上端部(2a)には、円筒状箸上半体(1)の下端部(1b)の内径より若干小さい外径を有する接続用径大部(4)が設けられ、接続用径大部(4)の外周面に右ねじ方向の螺旋溝(5)が設けられている。この螺旋溝(5)の底壁(6)の深さは、図7の展開図と、図8の展開断面図に示すように、接続用径大部(4)下縁より下方に向かって開口した始端部(5a)から終端部(5b)に至るほど漸次浅いものとなされている。
一方、円筒状箸上半体(1)の下端寄り部分の内面に、螺旋溝(5)に嵌まり合う内方凸起(10)が設けられている。
また、図9に示すように、円筒状箸上半体(1)の上端部(1a)の内面には、雌ねじ部(11)が設けられている。
栓体(3)は、円筒状箸上半体(1)の上端部(1a)の外径と略同じ外径を有するとともに、栓体(3)の外周面にはローレット部(15)が設けられ、また栓体(3)は、箸上半体上端部(1a)内に差し込まれる差込み部(13)を有していて、該差込み部(13)の外周面に雄ねじ部(14)が設けられている。
そして、円筒状箸上半体(1)上端部内面の雌ねじ部(11)に、栓体(3)の差込み部(13)の雄ねじ部(14)がねじ込まれて、円筒状箸上半体(1)の上端部(1a)に栓体(3)が被せ止められている。
また、箸上半体(1)の下端部(1b)に被せ止められた蓋体(20)の取付け構造として、円筒状箸上半体(1)および箸下半体(2)の結合手段と、同じ構造が採用されているが、これについては、後述する。
本発明による携帯用箸(A)(B)の使用時には、図2に示す円筒状箸上半体(1)の内部にテーパ状箸下半体(2)が納められた状態から、まず、蓋体(20a)(20b)が取り除かれ、円筒状箸上半体(1)を例えば一方の手(右手)で持って、箸下半体(2)の先細端部(2b)を下側に向ける。すると、図3に示すように、箸下半体(2)は、その自重により速やかに、かつ静かに下降し、箸下半体(2)上端部の接続用径大部(4)下縁の段部(4a)が、円筒状箸上半体(1)の下端寄り部分の内方凸起(10)に当たる。
この場合の箸下半体(2)の下降速度は、比較的ゆるやかであり、本発明による携帯用箸(A)(B)を、例えばアルミニウム製とした場合、箸下半体(2)の下降開始から終了までには、約0.8秒かかる。
というのは、図1に示すように、円筒状箸上半体(1)の内部にテーパ状箸下半体(2)が納められた状態では、テーパ状箸下半体(2)上端と栓体(3)の差込み部(13)先端との間には、空間部が存在していないため、箸下半体(2)が下降するにつれて大きく形成されるテーパ状箸下半体(2)上端と栓体(3)の差込み部(13)先端との間の空間部は、いわゆる負圧となる。その圧力差を補うため、円筒状箸上半体(1)の内周面と、箸下半体(2)上端部の接続用径大部(4)との間のわずかな間隙から空気(外気)が流入する。従って、円筒状箸上半体(1)を例えば一方の手(右手)で持って、箸下半体(2)の先細端部(2b)を下側に向けても、箸下半体(2)は、一気には落下しない。
つぎに、こうして、振り出されたテーパ状箸下半体(2)の先細端部(2b)を他方の手(左手)で持つとともに、箸上半体(1)を、図4に示すように、上面よりみて左回りの方向(反時計回りの方向)にゆっくりと回すと、箸上半体(1)の内方凸起(10)が螺旋溝(5)内にその始端部(5a)より入り込み、さらに、箸上半体(1)を同方向に回転させることにより、内方凸起(10)が螺旋溝(5)内を進んで、遂には内方凸起(10)の先端が溝終端部(5b)に近い底壁(6)に圧接させられて係り合い、箸上半体(1)と箸下半体(2)とが一体に結合されて、1本の長い箸(A)(B)が形成されるものである。
なお、図5は、箸上半体(1)の内方凸起(10)の先端が、箸下半体(2)の螺旋溝(5)の底壁(6)に係り合って、箸上半体(1)と箸下半体(2)とが1本に結合された箸(A)(B)の使用状態を示す要部拡大縦断面図である。図6は、図5における箸上半体(1)の内方凸起(10)の先端が、箸下半体(2)の螺旋溝(5)の底壁(6)に係り合っている部分を示す部分拡大縦断面図である。
図7は、箸下半体(2)の螺旋溝(5)の拡大展開図で、箸上半体(1)と箸下半体(2)とが一体に結合された際の箸上半体(1)の内方凸起(10)の位置が一緒に示されている。図8は、図7のAーA線に沿うもので、箸下半体(2)の螺旋溝(5)の拡大展開図である。
また、図9は、図5における箸上半体(1)の上端部(1a)に栓体(3)が取り付けられている部分を示す拡大縦断面図である。
そして、箸(A)(B)の使用後には、例えば箸上半体(1)を、上記とは逆方向(時計回りの方向)に回転させることにより、内方凸起(10)の先端と螺旋溝(5)の底壁(6)との係合が外れ、内方凸起(10)が螺旋溝(5)内を上記とは逆方向に進んで、遂には内方凸起(10)が溝始端部(5a)より出る。
この状態から、今度は、円筒状箸上半体(1)に対し、テーパ状箸下半体(2)を上方に向ける。すると、箸下半体(2)は、その自重により速やかに、かつ静かに下降して、円筒状箸上半体(1)の内部に入り込んで、図1に示す格納状態となるものである。この場合も、箸下半体(2)の下降速度は、比較的ゆるやかであり、本発明による携帯用箸(A)(B)を、例えばアルミニウム製とした場合、箸下半体(2)の下降開始から終了までには、約0.9秒かかる。
というのは、円筒状箸上半体(1)に対し、箸下半体(2)を上方に向けたときには、テーパ状箸下半体(2)側の接続用径大部(4)の先端と、円筒状箸上半体(1)側の栓体(3)の差込み部(13)先端との間には、大きな空間部が存在しており、箸下半体(2)が下降する際には、この空間部内の空気を押圧しながら下降するために、箸下半体(2)は円筒状箸上半体(1)内を、一気には下降せず、空間部内の空気は箸下半体(2)によって押圧されて、円筒状箸上半体(1)の内周面と、箸下半体(2)上端部の接続用径大部(4)との間のわずかな間隙から外部に漸次流出し、最終的に、箸下半体(2)は、その自重により速やかに円筒状箸上半体(1)の内部に格納されるものである。
なお、箸上半体(1)と箸下半体(2)の回転は、相対的なものであるので、箸(A)(B)の使用時に、円筒状箸上半体(1)からテーパ状箸下半体(2)を振り出した状態で、箸上半体(1)の内方凸起(10)を、箸下半体(2)の接続用径大部(4)の螺旋溝(5)内に入り込ませるには、箸上半体(1)および箸下半体(2)のうちの一方、または両方を、右回りまたは左回りに回転させればよい。
すなわち、図4に示すように、例えば右手で、一方の円筒状箸上半体(1)を、上面よりみて左回りの方向(反時計回りの方向)にゆっくりと回してもよいし、また左手で、他方のテーパ状箸下半体(2)を、上面よりみて右回りの方向(時計回りの方向)にゆっくりと回してもよい。あるいはまたこの両方の操作を右手と左手とで同時に行なってもよいものである。
また、同様に、箸(A)(B)の使用後には、箸上半体(1)および箸下半体(2)のうちのいずれか一方、または両方を、上記の場合とは逆方向に回転させることにより、内方凸起(10)の先端と螺旋溝(5)の底壁(6)との係合が外れて、内方凸起(10)が、螺旋溝(5)内を逆方向に進んで、遂には内方凸起(10)が溝始端部(5a)より下方に出て、箸下半体(2)を円筒状箸上半体(1)の内部に納めることができる。
なお、上記の本発明の実施形態では、箸下半体(2)の接続用径大部(4)の螺旋溝(5)として、いわゆる右ねじの螺旋形状を有するものが図示されているが、螺旋溝(5)としては、いわゆる左ねじの螺旋形状を有するものであってもよく、その場合には、箸(A)(B)の使用時の円筒状箸上半体(1)に対する箸下半体(2)の引き出し操作において、箸上半体(1)および/または箸下半体(2)の回転方向は、上記実施形態の場合と逆方向にすればよい。
本発明の上記の実施形態では、例えば、円筒状の箸上半体(1)の長さは115mm、外径は8mm、肉厚は0.5mmである。
一方、円筒状箸上半体(1)これの内部に納められるテーパ状の箸下半体(2)の長さは107mmであり、これの上端部(2a)の接続用径大部(4)の外径は6.9mmで、これは、円筒状箸上半体(1)の下端部(1b)の内径より若干小さいものとなされている。接続用径大部(4)の長さ(高さ)は10mmである。
そして、この接続用径大部(4)の外周面に設けられた右ねじ方向の螺旋溝(5)の幅は、2mmであり、接続用径大部(4)下端の段部(4a)において開口する溝始端部(5a)の幅は、接続用径大部(4)の周方向に、溝幅の2倍程度に広いものとなされており、従って、円筒状箸上半体(1)に対して箸下半体(2)が振り出された状態で、両者を引っ張りながら、その一方もしくは両方を回転させると、箸上半体(1)の内方凸起(10)が、溝始端部(5a)より螺旋溝(5)の内部に簡単に入り込むことができる。
円筒状箸上半体(1)側の内方凸起(10)の直径は1.2mmで、円筒状箸上半体(1)の内面からの内方凸起(10)の高さは、0.5mm程度である。この内方凸起(10)は、円筒状箸上半体(1)の下端より6mmの位置に、プレス成形により内方突出状に設けられている。
螺旋溝(5)の深さは、溝始端部(5a)においては内方凸起(10)の高さよりも深く、内方凸起(10)が螺旋溝(5)内に入り込み得る深さである。そして、螺旋溝(5)の深さは、螺旋溝の回転方向に従って次第に浅くなって、遂には溝終端部(5b)において底壁(6)の深さがゼロとなされている。つまり、接続用径大部(4)の外周面と面一となされている。
なお、内方凸起(10)の先端は、螺旋溝(5)の終端部(5b)近くにおいて底壁(6)に圧接させられて係り合せられ、内方凸起(10)が停止させられるものである。
また、円筒状箸上半体(1)の上端部に被せ止められる栓体(3)の外径は、円筒状箸上半体(1)の外径と同じく8mmである。
なお、本発明の実施形態の携帯用箸(A)(B)についての上記のような寸法は、1つの例示であって、本発明による携帯用箸(A)(B)の寸法・大きさ、また円筒状箸上半体(1)に対し、テーパ状箸下半体(2)が自重により下降して、出入れされる際の下降速度などは、上記のものに限定されるものではない。
また、上記実施形態の本発明の携帯用箸(A)(B)を構成する円筒状箸上半体(1)は、例えば金属パイプを所要長さに切断して、円筒状箸上半体(1)の下端部(1b)の内面に内方凸起(10)を、プレス形成により内方突出状に設けることにより、製作することができる。そして、他方のテーパ状箸下半体(2)、これの上端部(2a)の接続用径大部(4)、および接続用径大部(4)の外周面の螺旋溝(5)は、例えばコンピュータ制御による金属切削加工により、非常に生産性よく、製作することができ、本発明の携帯用箸(A)(B)は、安価に市場に提供し得るものである。
ところで、上記のように、本発明の実施形態においては、各箸(A)(B)のテーパ状箸下半体(2)とテーパ状の箸下半体(2)との結合手段が、テーパ状箸下半体(2)の上端部(2a)に設けられかつ円筒状箸上半体(1)の下端部(1b)の内径より若干小さい外径を有する接続用径大部(4)と、接続用径大部(4)の外周面に設けられた右ねじまたは左ねじ方向の螺旋溝(5)と、円筒状箸上半体(1)の下端寄り部分の内面に設けられかつ上記螺旋溝(5)に嵌まり合う内方凸起(10)とによって構成され、螺旋溝(5)の底壁(6)の深さは、接続用径大部(4)下縁より下方に向かって開口した始端部(5a)から終端部(5b)に至るほど漸次浅いものとなされている。
また、本発明の図示の実施形態では、各箸(A)(B)の蓋体(20a)(20b)の取付け構造として、円筒状箸上半体(1)および箸下半体(2)の結合手段と、同じ構造が採用されている。
図10は、図1における箸上半体(2)の内方凸起(10)の先端が、蓋体(20)の螺旋溝(22)の底壁(26)に係り合っている部分を示す部分拡大縦断面図である。図11は、蓋体(20)の螺旋溝(22)の拡大展開図で、箸上半体(2)の下端部に蓋体(20)が結合された際の箸上半体(2)の内方凸起(10)の位置が一緒に示されている。図12は、図11のBーB線に沿う拡大縦断面図である。
図1〇〜図12を参照すると、各箸(A)(B)の蓋体(20)に、円筒状箸上半体(1)の下端部(1b)の内径より若干小さい外径を有する筒状差込み部(21)が設けられ、筒状差込み部(21)の外周面に右ねじ方向の螺旋溝(22)が設けられている。また、蓋体(20)の径大の頭部外周面には、ローレット部(23)が設けられている。
蓋体(20)の螺旋溝(22)の底壁(26)の深さは、筒状差込み部(21)下縁より下方に向かって開口した始端部(22a)から終端部(22b)に至るほど漸次浅いものとなされている。また、円筒状箸上半体(1)の下端寄り部分の内面には、上記のように、螺旋溝(22)に嵌まり合う内方凸起(10)が設けられている。
箸(A)(B)の不使用時には、箸下半体(2)が内部に納められた円筒状箸上半体(1)の下端部(1b)に蓋体(20)の筒状差込み部(21)が差し込まれて、蓋体(20)の筒状差込み部(21)の先端部が、円筒状箸上半体(1)の下端寄り部分の内方凸起(10)に当たり、ついで、蓋体(20)を円筒状箸上半体(1)に対して右回りに回転させることにより、円筒状箸上半体(1)の内方凸起(10)が、筒状差込み部(21)外面の螺旋溝(22)内にその始端部(22a)より入り込み、さらに、蓋体(20)を同方向に回転させることにより、内方凸起(10)が螺旋溝(22)内を進んで、遂には内方凸起(10)の先端が溝終端部(22b)に近い底壁(26)に係り合って、円筒状箸上半体(1)の下端部(1b)に蓋体(20)が取り付けられるものである。
これに対し、箸(A)(B)の使用時には、蓋体(20a)(20b)を上記とは逆方向に回転させることにより、円筒状箸上半体(1)下端寄り部分の内方凸起(10)の先端と、蓋体(20)の筒状差込み部(21)外面の螺旋溝(22)の底壁(26)との係合が外れ、内方凸起(10)が筒状差込み部(21)外面の螺旋溝(22)内を上記とは逆方向に進んで、遂には内方凸起(10)が溝始端部(22a)より出て、蓋体(20a)(20b)が取り外される。
なお、箸(A)(B)の蓋体(20a)(20b)の取付け構造は、図示のものに限定されず、その他の構造であってもよい。
ここで、上記実施形態の本発明の携帯用箸(A)(B)は、アルミニウム製であるが、これは、その他の金属、あるいはまたプラスチック、木材、竹等の素材によりつくられていてもよいものである。
また、円筒状箸上半体(1)の上端部(1a)に被せ止められる栓体(3)の構造は、上記実施形態のものに、もちろん限定されるものではない。
このように、本発明の携帯用箸によれば、携帯に非常に便利であり、しかも各箸(A)(B)の長さを変えて、箸(A)(B)を伸縮させる操作を、非常に簡単に行なうことができる。
また、例えば箸(A)(B)の使用時に、箸(A)(B)のテーパ状箸下半体(2)の先細端部が、料理皿(図示略)に突き当たって、図5と図6に示すように、箸下半体(2)に、これを円筒状箸上半体(1)の内部に押し込むような矢印(イ)方向の力が作用した場合にも、内方凸起(10)は、螺旋溝(5)の下側壁部(7)に当たって係合するために、箸下半体(2)が円筒状箸上半体(1)の内部に押し込まれるようなことがなく、従って、箸長が、いきなり短くなって縮んだりするトラブルを生じるようなことが全くないものであり、非常に信頼性の高く、使い勝手が良いものである。
そして、本発明による携帯用箸(A)(B)の使用時には、円筒状箸上半体(1)の内部にテーパ状箸下半体(2)が納められた状態から、円筒状箸上半体(1)を例えば一方の手(右手)で持って、箸下半体(2)の先細端部(2b)を下側に向ける。すると、箸下半体(2)は、その自重により速やかに、かつ静かに下降し、箸下半体(2)が振り出される。つぎに、この状態で、箸上半体(1)を、例えば左回りの方向にゆっくりと回して、箸上半体(1)の内方凸起(10)を螺旋溝(5)内に入り込ませて、内方凸起(10)の先端を溝終端部(5b)に近い底壁(6)に圧接させて係り合わせ、箸上半体(1)と箸下半体(2)とが一体に結合された1本の長い箸(A)(B)とする。
また、箸(A)(B)の使用後には、まず箸上半体(1)を、上記とは逆方向(時計回りの方向)に回転させることにより、内方凸起(10)の先端と螺旋溝(5)の底壁(6)との係合が外れ、内方凸起(10)が螺旋溝(5)内を上記とは逆方向に進んで、遂には内方凸起(10)が溝始端部(5a)より出る。
つぎに、この状態から、今度は、円筒状箸上半体(1)に対し、箸下半体(2)を上方に向けるだけでよい。これにより、箸下半体(2)は、その自重により速やかに、かつ静かに下降して、円筒状箸上半体(1)の内部に入り込んで、格納状態となるものである。この場合も、箸下半体(2)の下降速度は、比較的ゆるやかである。
このように、本発明の携帯用箸(A)(B)は、円筒状箸上半体(1)に対し、箸下半体(2)を出入れする際の、箸下半体(2)の自重による下降は、ゆったりとしていて、非常に優雅でさえあり、携帯用箸(A)(B)の使用者にとって、楽しさを感じ、かつ満足のいくもので、非常に使い勝手の良いものである。
さらに、本発明の携帯用箸(A)(B)によれば、例えば食事の料理に含まれているオイルなどの摩擦を低減してしまうような液体が、箸上半体(1)と箸下半体(2)との結合部分(接続部)に入り込んだような場合でも、箸上半体(1)に対し、箸下半体(2)がその内部に入り込んでしまうようなことが全くないものである。
というのは、上記のように、箸下半体(2)に、これを円筒状箸上半体(1)の内部に押し込むような図5と図6に示す矢印(イ)方向の力が作用した場合にも、内方凸起(10)は、その停止箇所近傍の螺旋溝(5)の下側壁部(7)に当たって係合するために、箸下半体(2)が円筒状箸上半体(1)の内部に押し込まれるようなことがなく、従って、オイルなどの摩擦を低減してしまうような液体が、箸上半体(1)と箸下半体(2)との結合部分(接続部)に入り込んだような場合でも、箸長が、いきなり短くなって縮んだりするトラブルを生じるようなことがないものである。
これに対し、従来の携帯用箸によれば、箸の使用時には、箸下半部の上端接続部と、筒状箸上半部の下端接続部とは、単に箸素材の摩擦によって止められているだけであるため、例えば箸下半部の先細端部が、料理皿などに突き当たって、箸下半部に、これを円筒状箸上半部の内部に押し込むような力が作用すると、箸素材の摩擦による係合が解け、箸下半部が、筒状箸上半部内に入り込んで、箸長が、いきなり短くなって縮んだりするトラブルを生じるおそれがある。
また、従来の携帯用箸によれば、例えば食事の料理に含まれているオイルなどの摩擦を低減してしまう液体が、筒状箸上半部と箸下半部との接続部に滲み込んだような場合には、箸下半部の上端接続部を箸素材の摩擦によって止めることはできず、このため、使い勝手が悪いものであった。
つぎに、本発明による携帯用箸を用いたアクセサリーについて、説明する。
図13は、図1〜図12に記載の携帯用箸(A)(B)を用いた本発明によるアクセサリーの分解正面図で、一対の携帯用箸(A)(B)の蓋体(20)、並びに該蓋体(20)に連結された箸吊下げ部材(30)および箸まとめ用装飾リング(33)を取り外し、各箸(A)(B)の円筒状箸上半体(1)の内部からテーパ状箸下半体(2)を振り出した状態を示している。
図14は、同本発明によるアクセサリーの正面図で、蓋体(20)および箸吊下げ部材(30)が取り付けられた一対の携帯用箸(A)(B)に対し、箸まとめ用装飾リング(33)が外れている状態を示している。
図15は、同本発明によるアクセサリーの使用状態の正面図で、一対の携帯用箸(A)(B)に対し、箸まとめ用装飾リング(33)が嵌め被せられた状態を示している。
図13〜図15において、本発明による携帯用箸を用いたアクセサリーは、上記図1〜図12の携帯用の一対の箸(A)(B)と、これらを吊り下げるための箸吊下げ部材(30)とを具備している。なお、アクセサリーとしての使用時、一対の携帯用箸(A)(B)は、図1〜図12に示す箸(A)(B)本来の使用状態と異なり、蓋体(20)側を上にして、上下逆向きにして使用される。
本発明の実施形態では、箸吊下げ部材(30)は、箸吊下げ用チェーン(箸吊下げ用長尺材)(31)と、レバー(42)付きフック(ホルダー具)(40)とを有していて、箸吊下げ用チェーン(31)の一端部(31a)に、レバー(42)付きフック(40)が取り付けられ、同箸吊下げ用チェーン(31)の他端部(31b)に、一対の箸(A)(B)の蓋体(20a)(20b)が連結されている。
具体的には、図1および図2、並びに図13〜図15に詳しく示すように、一対の箸(A)(B)の蓋体(20a)(20b)に、それぞれ孔あき突起(24)(24)が設けられていて、これらの孔あき突起(24)(24)の貫通孔にそれぞれ接続用小リング(35)(35)が挿通され、さらに、これらの接続用小リング(35)(35)の孔に、1つの接続用大リング(36)が通されている。そして、箸吊下げ用チェーン(箸吊下げ用長尺材)(31)の一端部(31a)に、レバー(42)付きフック(ホルダー具)(40)の孔あき突起(41)が接続され、同箸吊下げ用チェーン(31)の他端部(31b)には、上記接続用大リング(36)が接続されている。
また、箸吊下げ用チェーン(31)には、スライド式連結具(37)を介して箸保持用チェーン(箸保持用長尺材)(32)が連結されている。すなわち、スライド式連結具(37)は長円板状で、その一端部には、径大の貫通孔(38)が設けられ、この貫通孔(38)に箸吊下げ用チェーン(31)自体が挿通されていて、長円板状連結具(37)は箸吊下げ用チェーン(31)に対し、スライド自在となされている。また、同長円板状連結具(37)の他端部には、径小の貫通孔(39)が設けられていて、この径小の貫通孔(39)に箸保持用チェーン(32)の基端部(32a)が接続されている。箸保持用チェーン(32)の先端部(32b)には、箸まとめ用リング(33)に設けられた孔あき突起(34)が接続されている。なお、箸まとめ用リング(33)は、一対の箸(A)(B)の円筒状箸上半体(1)(1)に嵌め被せられるように、これらの外径の合計より若干大きい目の内径を有している。
箸(A)(B)の吊下げ時には、図15に示すように、箸吊下げ用チェーン(31)によって垂下状かつ互いに平行状に吊り下げられた箸(A)(B)に対して箸まとめ用リング(33)が嵌め被せられて、該箸まとめ用リング(33)が、箸(A)(B)の円筒状箸上半体(1)(1)の高さの中間部分に保持されるようになされている。
そして、同図から明らかなように、箸(A)(B)の吊下げ時には、箸吊下げ用チェーン(31)の長さは任意であるが、箸保持用チェーン(32)の長さは、箸(A)(B)に嵌め被せられた箸まとめ用リング(33)が、箸(A)(B)の円筒状箸上半体(1)(1)の高さの中間部分に保持されるような長さ、すなわち、箸(A)(B)の円筒状箸上半体(1)(1)の長さよりも短い長さであることが必要である。このとき、長円板状連結具(37)は箸吊下げ用チェーン(31)をスライドして、該チェーン(31)の接続用大リング(37)側の端部(31b)に位置している。
一方、箸(A)(B)の使用の際、箸まとめ用リング(33)を、箸(A)(B)の円筒状箸上半体(1)(1)から取り外すには、図14に示すように、箸保持用チェーン(32)を一対の円筒状箸上半体(1)(1)の方に近付け、長円板状連結具(37)を箸吊下げ用チェーン(31)に対してスライドさせて、該長円板状連結具(37)を、箸吊下げ用チェーン(31)のフック(ホルダー具)(40)側の端部(31a)に位置させる。これにより、箸吊下げ用チェーン(31)に対し、箸保持用チェーン(32)が連続した状態となって、箸まとめ用リング(33)を保持するチェーンの長さが、
箸吊下げ用チェーン(31)+箸保持用チェーン(32)の合計長さ
となり、一対の円筒状箸上半体(1)(1)の全長よりも長くなって、箸まとめ用リング(33)を、箸(A)(B)の円筒状箸上半体(1)(1)から簡単に取り外すことができる。
従って、箸吊下げ用チェーン(31)の長さは、箸吊下げ用チェーン(31)+箸保持用チェーン(32)の合計長さが、一対の円筒状箸上半体(1)(1)の全長よりも長くなるように設定する必要がある。
こうして、箸まとめ用リング(33)を、箸(A)(B)の円筒状箸上半体(1)(1)から取り外した後、前述のようにして、各箸(A)(B)の蓋体(20)を取り除いて、箸(A)(B)を使用することができる。
また、箸(A)(B)の使用後には、例えばテーパ状箸下半体(2)並びに円筒状箸上半体(1)をきれいに洗浄して、水分を拭き取り、各箸(A)(B)の円筒状箸上半体(1)に対し、箸下半体(2)を上方に向けて、これをその自重により下降させて、円筒状箸上半体(1)の内部に格納させる。ついで、箸下半体(2)が内部に納められた円筒状箸上半体(1)の下端部(1b)に、蓋体(20)の筒状差込み部(21)を差し込んで、円筒状箸上半体(1)の下端部(1b)に蓋体(20)を取り付ける。
そして、これらの箸(A)(B)をアクセサリーとして再び使用する際には、図14に示すように、箸吊下げ用チェーン(31)に対して箸保持用チェーン(32)が連続した長い状態となし、箸まとめ用リング(33)を箸(A)(B)の円筒状箸上半体(1)(1)に簡単に嵌め被せることができるものである。
本発明のアクセサリーによれば、一対の蓋体(20a)(20b)付き箸(A)(B)を、吊り下げ状態で、しっかりとまとめることができて、非常に斬新なアクセサリーとして使用することができる。しかも従来のような別の収納ケース(箸入れ)を必要とせず、また携帯時に、内側の箸部材が勝手に振り出されて外側に出てくるようなことは全くなく、携帯にも非常に便利である。
ここで、本発明による携帯用箸を用いたアクセサリーとしては、例えば、キーホルダー、ヘンダント・トップ、または携帯用ストラップなどが挙げられる。
また、本発明による携帯用箸を用いたアクセサリーにおいて、箸吊下げ用長尺材(31)および箸保持用長尺材(32)は、図示のものはチェーンであるが、その他、金属製ワイヤ、紐、糸、または金属製もしくは合成樹脂製の線材であってもよい。合成樹脂製の線材には、てぐすなども含まれる。
さらに、アクセサリーのホルダー具として、図示のものはレバー(42)付きフック(40)が用いられているが、これには、例えば二重環型のキーホルダーや、その他リング状の紐など、アクセサリーの用途によって、種々のものを使用することができる。
本発明の携帯用箸の実施形態に示すもので、円筒状箸上半体の内部にテーパ状箸下半体が納められかつ蓋体が被せ止められた状態の縦断面図である。 図1の携帯用箸の拡大分解斜視図である。 図1の携帯用箸の円筒状箸上半体の内部からテーパ状箸下半体を振り出す斜視図で、箸下半体を振り出し始めた段階を示している。 同斜視図で、箸下半体を振り出した最終段階において、箸上半体を左回りに回転させる状態を示している。 図4の携帯用箸の縦断面図で、箸上半体と箸下半体とが1本に結合された箸の使用状態を示している。 図5における箸上半体の内方凸起の先端が、箸下半体の螺旋溝の底壁に係り合っている部分を示す部分拡大縦断面図である。 箸下半体の螺旋溝の拡大展開図で、箸上半体と箸下半体とが1本に結合された際の箸上半体の内方凸起の位置が一緒に示されている。 図7のAーA線に沿う拡大縦断面図である。 図5における箸上半体の栓体取付け部分の拡大縦断面図である。 図1における箸上半体の内方凸起の先端が、蓋体の螺旋溝の底壁に係り合っている部分を示す部分拡大縦断面図である。 蓋体の螺旋溝の拡大展開図で、箸上半体の下端部に蓋体が結合された際の箸上半体の内方凸起の位置が一緒に示されている。 図11のBーB線に沿う拡大縦断面図である。 図1の携帯用箸を用いたアクセサリーであって、一対の携帯用箸の蓋体、並びに該蓋体に連結された箸吊下げ部材および箸まとめ用装飾リングを取り外し、各箸の円筒状箸上半体の内部からテーパ状箸下半体を振り出した状態を示す分解正面図である。 図1の携帯用箸を用いたアクセサリーであって、一対の携帯用箸に対し、箸まとめ用装飾リングが外れている状態を示す正面図である。 図1の携帯用箸を用いたアクセサリーであって、一対の携帯用箸が箸まとめ用装飾リングによりまとめられたアクセサリーの使用状態を示す正面図である。
符号の説明
A:携帯用箸
B:携帯用箸
1:円筒状箸上半体
1a:上端部
1b:下端部
2:テーパ状箸下半体
2a:上端部
2b:先細端部
3:栓体
4:接続用径大部
4a:段部
5:螺旋溝
5a:溝始端部
5b:溝終端部
6:底壁
7:下側壁部
10:内方凸起
11:雌ねじ部
13:差込み部
14:雄ねじ部
15:ローレット部
20:蓋体
20a:蓋体
20b:蓋体
21:筒状差込み部
21a:テーパ状箸下半体差込み孔
22:螺旋溝
22a:溝始端部
22b:溝終端部
23:ローレット部
24:接続用孔あき突起
26:底壁
30:箸吊下げ部材
31:箸吊下げ用チェーン(箸吊下げ用長尺材)
32:箸保持用チェーン(箸保持用長尺材)
33:箸まとめ用装飾リング
34:接続用孔あき突起
35:接続用小リング
36:接続用大リング
37:長円板状のスライド式連結具
38:径大の貫通孔
39:小さい貫通孔
40:ホルダー具(フック)
41:接続用孔あき突起
42:レバー

Claims (7)

  1. 携帯用の一対の箸(A)(B)であって、各箸(A)(B)は、所要長さを有する円筒状の箸上半体(1)と、これの内部に納められるテーパ状の箸下半体(2)と、円筒状箸上半体(1)の上端部(1a)に被せ止められる栓体(3)と、円筒状箸上半体(1)の下端部(1b)に被せ止められる蓋体(20)とよりなり、箸(A)(B)の使用時には、各箸(A)(B)の蓋体(20)が取り除かれ、円筒状箸上半体(1)より箸下半体(2)が振り出されて、両者が結合手段により一体に結合され、1本の長い箸が形成されるようになされていることを特徴とする、携帯用箸。
  2. 各箸(A)(B)のテーパ状箸下半体(2)とテーパ状の箸下半体(2)との結合手段が、テーパ状箸下半体(2)の上端部(2a)に設けられかつ円筒状箸上半体(1)の下端部(1b)の内径より若干小さい外径を有する接続用径大部(4)と、接続用径大部(4)の外周面に設けられた右ねじまたは左ねじ方向の螺旋溝(5)と、円筒状箸上半体(1)の下端寄り部分の内面に設けられかつ上記螺旋溝(5)に嵌まり合う内方凸起(10)とによって構成され、螺旋溝(5)の底壁(6)の深さは、接続用径大部(4)下縁より下方に向かって開口した始端部(5a)から終端部(5b)に至るほど漸次浅いものとなされており、箸(A)(B)の使用時には、円筒状箸上半体(1)に対して箸下半体(2)が下方に振り出されて、円筒状箸上半体(1)の下端寄り部分の内方凸起(10)が、箸下半体(2)上端部の接続用径大部(4)下縁の段部(4a)に当たり、ついで、箸上半体(1)および/または箸下半体(2)を右回りまたは左回りに回転させることにより、箸上半体(1)の内方凸起(10)が螺旋溝(5)内にその始端部(5a)より入り込み、さらに、箸上半体(1)および/または箸下半体(2)を同方向に回転させることにより、内方凸起(10)が螺旋溝(5)内を進んで、遂には内方凸起(10)の先端が溝終端部(5b)に近い底壁(6)に係り合って、箸上半体(1)と箸下半体(2)とが一体に結合され、箸(A)(B)の使用後には、箸上半体(1)および/または箸下半体(2)を上記とは逆方向に回転させることにより、内方凸起(10)の先端と螺旋溝(5)の底壁(6)との係合が外れ、内方凸起(10)が螺旋溝(5)内を上記とは逆方向に進んで、遂には内方凸起(10)が溝始端部(5a)より出て、箸下半体(2)が円筒状箸上半体(1)の内部に納められるようになされていることを特徴とする、請求項1に記載の携帯用箸。
  3. 各箸(A)(B)の蓋体(20)に、円筒状箸上半体(1)の下端部(1b)の内径より若干小さい外径を有する筒状差込み部(21)が設けられ、筒状差込み部(21)の外周面に右ねじまたは左ねじ方向の螺旋溝(22)が設けられ、螺旋溝(22)の底壁の深さは、筒状差込み部(21)下縁より下方に向かって開口した始端部(22a)から終端部(22b)に至るほど漸次浅いものとなされ、円筒状箸上半体(1)の下端寄り部分の内面に、螺旋溝(22)に嵌まり合う内方凸起(10)が設けられており、箸(A)(B)の不使用時には、箸下半体(2)が内部に納められた円筒状箸上半体(1)の下端部(1b)に蓋体(20)の筒状差込み部(21)が差し込まれて、蓋体(20)の筒状差込み部(21)の先端部が、円筒状箸上半体(1)の下端寄り部分の内方凸起(10)に当たり、ついで、蓋体(20)を右回りまたは左回りに回転させることにより、円筒状箸上半体(1)の内方凸起(10)が、筒状差込み部(21)外面の螺旋溝(22)内にその始端部(22a)より入り込み、さらに、蓋体(20)を同方向に回転させることにより、内方凸起(10)が螺旋溝(22)内を進んで、遂には内方凸起(10)の先端が溝終端部(22b)に近い底壁に係り合って、円筒状箸上半体(1)の下端部(1b)に蓋体(20)が取り付けられ、箸(A)(B)の使用の際には、蓋体(20)を上記とは逆方向に回転させることにより、円筒状箸上半体(1)下端寄り部分の内方凸起(10)の先端と、蓋体(20)の筒状差込み部(21)外面の螺旋溝(22)の底壁との係合が外れ、内方凸起(10)が筒状差込み部(21)外面の螺旋溝(22)内を上記とは逆方向に進んで、遂には内方凸起(10)が溝始端部(22a)より出て、蓋体(20)が取り外されるようになされていることを特徴とする、請求項1または2に記載の携帯用箸。
  4. 請求項1〜3のうちのいずれか一項に記載の携帯用の一対の箸(A)(B)と、これらを吊り下げるための箸吊下げ部材(30)とを具備し、箸吊下げ部材(30)は、箸吊下げ用長尺材(31)とホルダー具(40)とを有していて、箸吊下げ用長尺材(31)の一端部に、一対の箸(A)(B)の蓋体(20)(20)が連結され、同吊下げ用長尺材(31)の他端部に、ホルダー具(40)が取り付けられていることを特徴とする、携帯用箸を用いたアクセサリー。
  5. さらに、箸保持用長尺材(32)がスライド式連結具(36)を介して箸吊下げ用長尺材(31)に連結され、箸保持用長尺材(32)の先端部には、一対の箸(A)(B)の円筒状箸上半体(1)(1)の外径の合計より若干大きい目の内径を有する箸まとめ用リング(33)が取り付けられており、箸(A)(B)の吊下げ時には、箸吊下げ用長尺材(31)によって垂下状かつ互いに平行状に吊り下げられた箸(A)(B)に対して箸まとめ用リング(33)が嵌め被せられて、該箸まとめ用リング(33)が、箸(A)(B)の円筒状箸上半体(1)(1)の高さの中間部分に保持されるようになされていることを特徴とする、請求項4に記載の携帯用箸を用いたアクセサリー。
  6. アクセサリーが、キーホルダー、ヘンダント・トップ、または携帯用ストラップであることを特徴とする、請求項4または5に記載の携帯用箸を用いたアクセサリー。
  7. 箸吊下げ用長尺材(31)および箸保持用長尺材(32)が、チェーン、金属製ワイヤ、紐、糸、または金属製もしくは合成樹脂製の線材であることを特徴とする、請求項4〜6のうちのいずれか一項に記載の携帯用箸を用いたアクセサリー。
JP2008236248A 2008-09-16 2008-09-16 携帯用箸、およびこれを用いたアクセサリー Expired - Fee Related JP5322546B2 (ja)

Priority Applications (1)

Application Number Priority Date Filing Date Title
JP2008236248A JP5322546B2 (ja) 2008-09-16 2008-09-16 携帯用箸、およびこれを用いたアクセサリー

Applications Claiming Priority (1)

Application Number Priority Date Filing Date Title
JP2008236248A JP5322546B2 (ja) 2008-09-16 2008-09-16 携帯用箸、およびこれを用いたアクセサリー

Publications (2)

Publication Number Publication Date
JP2010068841A true JP2010068841A (ja) 2010-04-02
JP5322546B2 JP5322546B2 (ja) 2013-10-23

Family

ID=42201192

Family Applications (1)

Application Number Title Priority Date Filing Date
JP2008236248A Expired - Fee Related JP5322546B2 (ja) 2008-09-16 2008-09-16 携帯用箸、およびこれを用いたアクセサリー

Country Status (1)

Country Link
JP (1) JP5322546B2 (ja)

Cited By (2)

* Cited by examiner, † Cited by third party
Publication number Priority date Publication date Assignee Title
CN107518735A (zh) * 2017-10-25 2017-12-29 宁波科邦华诚技术转移服务有限公司 一种便于刷洗的抗菌组合筷子
JP2021025657A (ja) * 2019-08-01 2021-02-22 段 睿紘Ronald TUAN 半真空接合が可能な凹凸整合構造

Families Citing this family (3)

* Cited by examiner, † Cited by third party
Publication number Priority date Publication date Assignee Title
JP2922995B2 (ja) 1990-07-18 1999-07-26 三菱重工業株式会社 スケールの溶解除去組成物
JP2922996B2 (ja) 1990-07-18 1999-07-26 三菱重工業株式会社 スケールの溶解除去組成物
CN104433657A (zh) * 2014-12-24 2015-03-25 黄媛 一种筷子

Citations (2)

* Cited by examiner, † Cited by third party
Publication number Priority date Publication date Assignee Title
JP3136099U (ja) * 2006-08-02 2007-10-11 清丈 林 伸縮はし及びそのはしカバー
JP2008055084A (ja) * 2006-09-04 2008-03-13 Hiromasa Itakura 携帯可能な箸

Patent Citations (2)

* Cited by examiner, † Cited by third party
Publication number Priority date Publication date Assignee Title
JP3136099U (ja) * 2006-08-02 2007-10-11 清丈 林 伸縮はし及びそのはしカバー
JP2008055084A (ja) * 2006-09-04 2008-03-13 Hiromasa Itakura 携帯可能な箸

Cited By (2)

* Cited by examiner, † Cited by third party
Publication number Priority date Publication date Assignee Title
CN107518735A (zh) * 2017-10-25 2017-12-29 宁波科邦华诚技术转移服务有限公司 一种便于刷洗的抗菌组合筷子
JP2021025657A (ja) * 2019-08-01 2021-02-22 段 睿紘Ronald TUAN 半真空接合が可能な凹凸整合構造

Also Published As

Publication number Publication date
JP5322546B2 (ja) 2013-10-23

Similar Documents

Publication Publication Date Title
JP5322546B2 (ja) 携帯用箸、およびこれを用いたアクセサリー
USD514439S1 (en) Container and lid with recess
USD587970S1 (en) Children's dining set
USD513979S1 (en) Container and lid with recess
USD579730S1 (en) Cutlery set
USD505335S1 (en) Condiment container
USD514931S1 (en) Container and lid with recess
USD514441S1 (en) Container and lid with recess
USD514440S1 (en) Container and lid with recess
USD514929S1 (en) Container and lid with recess
USD535857S1 (en) Combination spoon and fork utensil
USD553902S1 (en) Holder for baked goods
USD530986S1 (en) Cutlery set
USD530987S1 (en) Fork
USD900463S1 (en) Parasol
USD517405S1 (en) Container and lid with recess
US20120159794A1 (en) Interchangeable Flatware Handles
KR20180076281A (ko) 일회용 접이식 식사도구
USD522858S1 (en) Lid with recess
USD514930S1 (en) Container and lid with recess
USD532513S1 (en) Handle for an introducer sheath
USD514438S1 (en) Container and lid with recess
JP3950814B2 (ja) 保温容器
USD496783S1 (en) Cafe and market umbrella
CN107105935B (zh) 具有吸附式把手的野营炊具盖

Legal Events

Date Code Title Description
A621 Written request for application examination

Free format text: JAPANESE INTERMEDIATE CODE: A621

Effective date: 20110805

A977 Report on retrieval

Free format text: JAPANESE INTERMEDIATE CODE: A971007

Effective date: 20130328

A131 Notification of reasons for refusal

Free format text: JAPANESE INTERMEDIATE CODE: A131

Effective date: 20130409

A521 Written amendment

Free format text: JAPANESE INTERMEDIATE CODE: A523

Effective date: 20130521

TRDD Decision of grant or rejection written
A01 Written decision to grant a patent or to grant a registration (utility model)

Free format text: JAPANESE INTERMEDIATE CODE: A01

Effective date: 20130618

A61 First payment of annual fees (during grant procedure)

Free format text: JAPANESE INTERMEDIATE CODE: A61

Effective date: 20130716

R150 Certificate of patent or registration of utility model

Ref document number: 5322546

Country of ref document: JP

Free format text: JAPANESE INTERMEDIATE CODE: R150

Free format text: JAPANESE INTERMEDIATE CODE: R150

R250 Receipt of annual fees

Free format text: JAPANESE INTERMEDIATE CODE: R250

R250 Receipt of annual fees

Free format text: JAPANESE INTERMEDIATE CODE: R250

R250 Receipt of annual fees

Free format text: JAPANESE INTERMEDIATE CODE: R250

R250 Receipt of annual fees

Free format text: JAPANESE INTERMEDIATE CODE: R250

LAPS Cancellation because of no payment of annual fees