JP2010061663A - 単一sasエクスパンダの機能性を提供するために複数のsasエクスパンダを組み合わせる方法、及び、単一sasエクスパンダ - Google Patents

単一sasエクスパンダの機能性を提供するために複数のsasエクスパンダを組み合わせる方法、及び、単一sasエクスパンダ Download PDF

Info

Publication number
JP2010061663A
JP2010061663A JP2009204925A JP2009204925A JP2010061663A JP 2010061663 A JP2010061663 A JP 2010061663A JP 2009204925 A JP2009204925 A JP 2009204925A JP 2009204925 A JP2009204925 A JP 2009204925A JP 2010061663 A JP2010061663 A JP 2010061663A
Authority
JP
Japan
Prior art keywords
sas
expander
sas expander
physical port
port
Prior art date
Legal status (The legal status is an assumption and is not a legal conclusion. Google has not performed a legal analysis and makes no representation as to the accuracy of the status listed.)
Granted
Application number
JP2009204925A
Other languages
English (en)
Other versions
JP5363924B2 (ja
JP2010061663A5 (ja
Inventor
Stephen B Johnson
スティーブン・ビー.・ジョンソン
Timothy E Hoglund
ティモシー・イー.・ホグランド
Louis H Odenwald Jr
ルイス・エイチ.・オーデンワルド・ジュニア
Current Assignee (The listed assignees may be inaccurate. Google has not performed a legal analysis and makes no representation or warranty as to the accuracy of the list.)
LSI Corp
Original Assignee
LSI Corp
Priority date (The priority date is an assumption and is not a legal conclusion. Google has not performed a legal analysis and makes no representation as to the accuracy of the date listed.)
Filing date
Publication date
Application filed by LSI Corp filed Critical LSI Corp
Publication of JP2010061663A publication Critical patent/JP2010061663A/ja
Publication of JP2010061663A5 publication Critical patent/JP2010061663A5/ja
Application granted granted Critical
Publication of JP5363924B2 publication Critical patent/JP5363924B2/ja
Expired - Fee Related legal-status Critical Current
Anticipated expiration legal-status Critical

Links

Images

Classifications

    • GPHYSICS
    • G06COMPUTING OR CALCULATING; COUNTING
    • G06FELECTRIC DIGITAL DATA PROCESSING
    • G06F13/00Interconnection of, or transfer of information or other signals between, memories, input/output devices or central processing units
    • G06F13/38Information transfer, e.g. on bus
    • G06F13/40Bus structure
    • G06F13/4004Coupling between buses
    • G06F13/4022Coupling between buses using switching circuits, e.g. switching matrix, connection or expansion network
    • GPHYSICS
    • G06COMPUTING OR CALCULATING; COUNTING
    • G06FELECTRIC DIGITAL DATA PROCESSING
    • G06F13/00Interconnection of, or transfer of information or other signals between, memories, input/output devices or central processing units
    • G06F13/14Handling requests for interconnection or transfer
    • GPHYSICS
    • G06COMPUTING OR CALCULATING; COUNTING
    • G06FELECTRIC DIGITAL DATA PROCESSING
    • G06F15/00Digital computers in general; Data processing equipment in general
    • G06F15/16Combinations of two or more digital computers each having at least an arithmetic unit, a program unit and a register, e.g. for a simultaneous processing of several programs
    • G06F15/163Interprocessor communication
    • G06F15/17Interprocessor communication using an input/output type connection, e.g. channel, I/O port
    • GPHYSICS
    • G06COMPUTING OR CALCULATING; COUNTING
    • G06FELECTRIC DIGITAL DATA PROCESSING
    • G06F9/00Arrangements for program control, e.g. control units
    • G06F9/06Arrangements for program control, e.g. control units using stored programs, i.e. using an internal store of processing equipment to receive or retain programs
    • G06F9/44Arrangements for executing specific programs
    • G06F9/448Execution paradigms, e.g. implementations of programming paradigms
    • GPHYSICS
    • G06COMPUTING OR CALCULATING; COUNTING
    • G06FELECTRIC DIGITAL DATA PROCESSING
    • G06F9/00Arrangements for program control, e.g. control units
    • G06F9/06Arrangements for program control, e.g. control units using stored programs, i.e. using an internal store of processing equipment to receive or retain programs
    • G06F9/44Arrangements for executing specific programs
    • G06F9/448Execution paradigms, e.g. implementations of programming paradigms
    • G06F9/4494Execution paradigms, e.g. implementations of programming paradigms data driven
    • GPHYSICS
    • G06COMPUTING OR CALCULATING; COUNTING
    • G06FELECTRIC DIGITAL DATA PROCESSING
    • G06F9/00Arrangements for program control, e.g. control units
    • G06F9/06Arrangements for program control, e.g. control units using stored programs, i.e. using an internal store of processing equipment to receive or retain programs
    • G06F9/44Arrangements for executing specific programs
    • G06F9/451Execution arrangements for user interfaces
    • G06F9/453Help systems

Landscapes

  • Engineering & Computer Science (AREA)
  • Theoretical Computer Science (AREA)
  • Physics & Mathematics (AREA)
  • General Engineering & Computer Science (AREA)
  • Software Systems (AREA)
  • General Physics & Mathematics (AREA)
  • Computer Hardware Design (AREA)
  • Mathematical Physics (AREA)
  • Human Computer Interaction (AREA)
  • Information Transfer Systems (AREA)
  • Bus Control (AREA)
  • Small-Scale Networks (AREA)

Abstract

【課題】単一SASエクスパンダの機能性を提供するために複数のSASエクスパンダを組み合わせること
【解決手段】第1のSASエクスパンダの少なくとも1つの第1番の物理ポートは、前記第1のSASエクスパンダと物理的に別個である第2のSASエクスパンダの少なくとも1つの第2番の物理ポートとともに、少なくとも1つの共通SASワイドポートにとりまとめられる。第1のSASエクスパンダと第2のSASエクスパンダとを単一の一体的SASエクスパンダとして挙動及び応答するように動作させるために、第1のSASエクスパンダ及び第2のSASエクスパンダに同一SASアドレスが割り当てられる。第1のSASエクスパンダは、エクスパンダ間通信のために、第2のSASエクスパンダに直接接続される。
【選択図】図1

Description

本出願は、米国特許法第119条(e)に基づいて、参照により本明細書に組み込まれる2008年9月5日出願の米国仮出願第61/191,037号の利益を主張する。本出願は、本出願と同日に出願された同時係属出願:Christopher McCarty及びStephen B. Johnsonによる「METHOD FOR PROVIDING PATH FAILOVER FOR MULTIPLE SAS EXPANDERS OPERATING AS A SINGLE SAS EXPANDER(単一のSASエクスパンダとして動作する複数のSASエクスパンダのためにパスフェールオーバーを提供するための方法)」(代理人整理番号08-1459、速達便番号EM 260723491 US)、Stephen B. Johnson及びChristopher McCartyによる「SPECIFYING LANES FOR SAS WIDE PORT CONNECTIONS(SASワイドポート接続のためのレーンを指定する)」(代理人整理番号08-1461、速達便番号EM 260723505 US)、並びにStephen B. Johnson、William Petty、及びOwen Parryによる「SAS PAIRED SUBTRACTIVE ROUTING(SASペアサブトラクティブルーティング)」(代理人整理番号08-1513、速達便番号EM 260723528 US)に関連している。これらの出願は、全て、参照により本明細書に組み込まれる。
本開示は、概して、シリアル接続SCSIの分野に関するものであり、より具体的には、複数のSASエクスパンダを組み合わせて単一のSASエクスパンダにするためのシステム、方法、及び製品に関するものである。
シリアル接続SCSI(SAS)は、コンピュータデバイス間のデータ転送を実現するように設計された様々な技術を指す用語である。SASプロトコルは、パラレル型の小型コンピュータシステムインターフェースに取って代わるシリアル型のものである。SASプロトコルでは、全てのSASデバイスは、イニシエータデバイス、ターゲットデバイス、またはエクスパンダデバイスのいずれかである。イニシエータデバイスが、SASデータ転送を開始するデバイスである一方で、ターゲットデバイスは、イニシエータデバイスによるデータ転送先のデバイスである。イニシエータデバイスとターゲットデバイスは、ともに、エンドデバイスとして知られる。
SASエクスパンダは、複数のイニシエータデバイスと複数のターゲットデバイスとの間のデータ転送を促進するデバイスである。SASプロトコルは、ポントツーポイントバス型トポロジを利用する。したがって、もしイニシエータデバイスが、複数のターゲットデバイスへの接続を必要とする場合は、イニシエータデバイスと個々のターゲットデバイスとの間の個々のデータ転送を促進するために、イニシエータデバイスと個々のターゲットデバイスとを直接接続しなければならない。複数のイニシエータデバイスと複数のターゲットデバイスとの間の接続およびデータ転送は、SASエクスパンダによって扱われる。SASエクスパンダは、SASデバイスを内包してよい。
複数のシリアル接続小型コンピュータシステムインターフェース(SAS)エクスパンダを組み合わせるための方法は、第1のSASエクスパンダの少なくとも1つの第1番の物理ポートを、第1のSASエクスパンダと物理的に別個である第2のSASエクスパンダの少なくとも1つの第2番の物理ポートとともに、少なくとも1つの共通SASワイドポートにとりまとめることと、第1のSASエクスパンダと第2のSASエクスパンダとを単一の一体的SASエクスパンダとして挙動及び応答するように動作させるために、第1のSASエクスパンダ及び第2のSASエクスパンダに同一SASアドレスを割り当てることと、エクスパンダ間通信のために、第1のSASエクスパンダを第2のSASエクスパンダに直接接続することと、を非限定的に含んでよい。
物理的に別個の複数のSASエクスパンダを含む単一の一体的SASエクスパンダは、少なくとも第1番の物理ポートを含む第1のSASエクスパンダと、少なくとも第2番の物理ポートを含む第2のSASエクスパンダであって、第2のSASエクスパンダは、第1のSASエクスパンダと物理的に別個であり、第1のSASエクスパンダ及び第2のSASエクスパンダは、第1のSASエクスパンダと第2のSASエクスパンダとを単一の一体的SASエクスパンダとして挙動及び応答するように動作させるために同一SASアドレスを共有する、第2のSASエクスパンダと、少なくとも第1番の物理ポートと第2番の物理ポートとを組み合わせるための少なくとも1つの共通SASワイドポートと、を非限定的に含んでよく、第1のSASエクスパンダは、エクスパンダ間通信のために、第2のSASエクスパンダに直接接続される。
以上の概要及び以下の詳細な説明は、いずれも例示及び説明を意図したものであり、必ずしも本開示を限定するものではないことがわかる。本明細書に組み込まれるとともに本明細書の一部を構成する添付の図面は、開示の内容を図示したものである。説明及び図面は、あわせて開示の原理を説明する働きをする。
当業者ならば、添付の図面を参照することによって、開示の数々の利点をより良く理解できるであろう。
SASトポロジを図示したブロック図であり、単一の一体的SASエクスパンダが示す図である。 単一の一体的SASエクスパンダの各種の構成を図示したブロック図である。 単一の一体的SASエクスパンダの各種の構成を図示したブロック図である。 単一の一体的SASエクスパンダの各種の構成を図示したブロック図である。 単一の一体的SASエクスパンダの各種の構成を図示したブロック図である。 単一の一体的SASエクスパンダの各種の構成を図示したブロック図である。 単一の一体的SASエクスパンダのブレードセンタスイッチ構成を図示したブロック図である。 単一の一体的SASエクスパンダのエクスパンダ間リンクを図示したブロック図である。 単一の一体的SASエクスパンダ内の障害内部リンクを図示したブロック図である。 複数のSASエクスパンダを組み合わせて単一の一体的SASエクスパンダとして動作させるための方法を示した流れ図である。 単一の一体的SASエクスパンダ内でリンク障害が生じたときにパスフェールオーバーを提供するための方法を示した流れ図である。 単一の一体的SASエクスパンダとのデータ接続のためのSASワイドポートのレーンを選択することを図示したブロック図である。 単一の一体的SASエクスパンダとのデータ接続のためのSASワイドポートのレーンを指定するための方法を示した流れ図である。 ペア・サブトラクティブルーティングを実施するように構成されるカスケード接続SASトポロジを図示したブロック図である。 ペア・サブトラクティブポートのベンダ固有機能、コマンド、及び記述子を示した表を示す図である。 ペア・サブトラクティブポートのベンダ固有機能、コマンド、及び記述子を示した表を示す図である。 ペア・サブトラクティブポートのベンダ固有機能、コマンド、及び記述子を示した表を示す図である。 ペア・サブトラクティブポートのベンダ固有機能、コマンド、及び記述子を示した表を示す図である。 カスケード接続SASトポロジ内でペアサブトラクティブルーティングを実施する方法を示した流れ図である。
次に、添付の図面に図示された開示の内容に詳細に言及する。いくつかの要素の参照符号として、参照数字の末尾に英文字が付加されたものが使用されているが、その要素を総称するときには付加的な英文字が省略した参照数字が使用される場合がある。
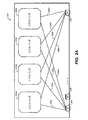
単一の一体的SASエクスパンダを特徴として備える本開示の代表的一実施形態にしたがったSASトポロジが示される。トポロジ100は、ナローポート115a...dを通じてエクスパンダ120に接続されるイニシエータ110を含んでよい。エクスパンダ120は、ナローポート125a...dを通じて単一の一体的SASエクスパンダ200に接続されてよい。単一の一体的SASエクスパンダ200は、物理的に別個の複数のSASエクスパンダ202a...dを内包してよい。SASエクスパンダ202a...dは、ナローポート125a...dを組み合わせて共通の単一ワイドポート150として挙動させるために、同一SASアドレスを共有するように構成されてよい。SASトポロジ100に示されるように、ナローポート125a...dは、組み合わさってx4ワイドポート150を構成してよい。SASエクスパンダ202a...dは、ナローポート135a...dを通じてエクスパンダ130に接続されてよい。エクスパンダ130は、ナローポート145a...dを通じてターゲット140に接続されてよい。SAS規格は、全ての接続がポイントツーポイントであることを要求する。しかしながら、SASトポロジ100は、ワイドポート150が真にSASワイドポートであるゆえに、SAS規格対応である。
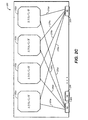
図2A〜2Eを参照すると、一体的SASエクスパンダ200は、物理的に別個の複数のSASエクスパンダ202を内包してよい。SASエクスパンダ202は、リンク255〜294を通じて出力ポート205〜244に接続されてよい。本開示では、SASエクスパンダ202の数、SASエクスパンダ202のポートの数、出力ポート205〜244の数、出力ポート205〜244の幅、及びリンク255〜294に使用されるSASエクスパンダポートの数に依存して、多種多様な構成の単一の一体的SASエクスパンダ200が考えられる。
出力ポート205〜244は、ワイドポートであってよい。出力ポート205〜244は、同一SASアドレスを共有するように構成されてよい。SAS規格下では、これは、出力ポート205〜244を、同じエクスパンダの単一のワイドポートとして定めるものである。各出力ポート205〜244は、全てのSASエクスパンダ202a...hに接続されてよい(不図示)。出力ポート205〜244の幅は、各出力ポート205〜244に接続するためにリンク255a...h〜294a...hにどれだけ多くのSASエクスパンダポートが使用されているかに依存してよい。各SASエクスパンダ202a...hは、各出力ポート205〜244に接続される複数のSASエクスパンダポートを有してよい。例えば、もし単一の一体的SASエクスパンダ200が、1つのSASエクスパンダポートを使用してリンク255a...b〜294a...bを通じて各出力ポート205〜244に接続される2つのSASエクスパンダ202a...bを有する場合は、出力ポート205〜244は、x2ワイドポートになる。更に、もし単一の一体的SASエクスパンダ200が、2つのSASエクスパンダポートを使用してリンクを通じて各出力ポート205〜244に接続される2つのSASエクスパンダ202a...bを有する場合は、出力ポート205〜244は、x4ワイドポートになる。これらの構成は、単一の一体的SASエクスパンダ200の任意のポートから任意の他のポートへの同時アクセスを全ポート帯域幅で可能にすることができる。
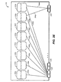
単一の一体的SASエクスパンダ300のブレードセンタスイッチ構成301が提供される。図3を参照すると、複数のCPUブレード302が、入力ポート305〜320に接続されてよい。入力ポート305〜320は、ワイドポートであってよい。入力ポート305〜320は、同一SASアドレスを共有するように構成されてよい。SAS規格下では、これは、入力ポート305〜320を、同じエクスパンダの単一ワイドポートとして定めるものである。各入力ポート305〜320は、リンク355a...b〜375a...bを通じて各SASエクスパンダ202a...bに接続されてよい。ブレードセンタスイッチ構成301に示されるように、入力ポート305〜320は、1つのSASエクスパンダポートを使用してリンク355a...b〜375a...bを通じて2つのSASエクスパンダ202a...bに接続されるx2ワイドポートであるが、これらの開示では、その他の構成も十分に考えられる。各SASエクスパンダ202a...bは、リンク255a1,a2...b1,b2〜268a1,a2...b1,b2を通じて各出力ポート205〜218に接続されてよい。ブレードセンタスイッチ構成301に示されるように、出力ポート205〜218は、2つのSASエクスパンダポートを使用してリンク255a1,a2...b1,b2〜268a1,a2...b1,b2を通じて2つのSASエクスパンダ202a...bに接続されるx4ワイドポートであるが、現在のこの開示では、その他の構成も十分に考えられる。出力ポート205〜218は、複数のデータストレージデバイス303に接続されてよい。
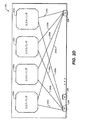
複数のSASエクスパンダ202は、同一SASアドレスを共有するように構成されてよい。SAS規格下では、これは、複数のSASエクスパンダ202を単一エクスパンダとして定めるものである。各SASエクスパンダ202では、複数のSASエクスパンダ202を単一エクスパンダとして挙動及び応答させるようにファームウェアが実行されてよい。図4に示されるように、各SASエクスパンダ202a...dは、エクスパンダ間リンク(IEL)430〜435を通じて202a...dの各自に接続されてよい。IEL430〜435は、SASエクスパンダ202a...dが通信及び協調によって単一のエクスパンダとして挙動及び応答することを可能にしてよい。IEL430〜435は、SASマネージメントプロトコル(SMP)、又は集積回路間バスプロトコル(I2C)、拡張パラレルポート(EPP)、イーサネット(登録商標)、共有メモリ等のその他の通信方法を通じて通信してよい。IEL430〜435は、IELドメイン420をプライマリスイッチドメイン410からゾーン分けすることを可能にしてよい。SAS規格非対応のあらゆるループ事象を排除するために、IEL430〜435では、ブロードキャストが無効にされてよい。IEL430〜435は、複数のSASエクスパンダポートを使用してよい。IEL430〜435に使用される物理ポートは、プライマリスイッチドメインから完全に隠されてよい。SASエクスパンダ202a...dのプライマリスイッチドメインで使用される物理ポートの番号は、単一の論理的番号に再マッピングされてよい。IEL430〜435は、任意の有効に動作しているSASエクスパンダ202a...d間で接続性を維持しつつ、任意の組み合わせのSASエクスパンダ202a...dで障害が生じることを許容してよい。更に、全部のSASエクスパンダ202a...dに障害が生じているのでなければ、いずれの入力ポート305〜320及び出力ポート205〜244も、低下した帯域幅で接続性を維持することができる。SMPターゲット処理は、単一の一体的SASエクスパンダ200の単一のマスタSASエクスパンダによって扱われてよい。単一の一体的SASエクスパンダ200への接続要求は、IEL430〜435を通じて単一のマスタSASエクスパンダにルーティングされてよい。SASエクスパンダ202a...dは、SMPターゲット処理を共有してよい。
概して図6を参照すると、複数のSASエクスパンダを組み合わせるための方法が示されている。例えば、方法は、後述のように(尚且つ図1、図2A〜2E、図3、及び図4に示されるように)SASエクスパンダを接続及び組み合わせるための技術を実現してよい。方法600は、第1のSASエクスパンダの少なくとも1つの第1番の物理ポートを、第1のSASエクスパンダと物理的に別個である第2のSASエクスパンダの少なくとも1つの第2番の物理ポートとともに、少なくとも1つの共通SASワイドポートにとりまとめるステップ602を含んでよい。例えば、少なくとも1つの共通SASワイドポート(205〜244)へのとりまとめは、少なくとも1つの共通ワイドポート(205〜244)に同一SASアドレスを割り当てることを含んでよい。
方法600は、更に、第1のSASエクスパンダ及び第2のSASエクスパンダに同一SASアドレスを割り当てるステップ604を含んでよい。第1のSASエクスパンダ及び第2のSASエクスパンダへの同一SASアドレスの割り当ては、第1のSASエクスパンダと第2のSASエクスパンダとを単一の一体的SASエクスパンダ200として挙動及び応答させることを可能にしてよい。割り当ては、第1のSASエクスパンダ及び第2のSASエクスパンダで実行されるファームウェアを通じて実施されてよい。更に、第1のSASエクスパンダ及び第2のSASエクスパンダの物理ポートの番号は、単一の一体的SASエクスパンダの単一の論理的順番の物理ポート番号として再マッピングされてよい。例えば、第1のSASエクスパンダの第1番の物理ポートは、単一の論理的順番の番号の第1の範囲に入るように再マッピングされてよく、第1のSASエクスパンダの第2番の物理ポートは、単一の論理的順番の番号の第2の範囲に入るように再マッピングされてよい。
方法600は、更に、エクスパンダ間通信のために、第1のSASエクスパンダを第2のSASエクスパンダに直接接続するステップ606を含んでよい。エクスパンダ間通信は、SMP通信、又は集積回路間バスプロトコル(I2C)、拡張パラレルポート(EPP)、イーサネット(登録商標)、共有メモリ等のその他の通信方法を利用してよい。更なる実施形態では、エクスパンダ間通信のための第1のSASエクスパンダと第2のSASエクスパンダとの間の接続(430〜435)は、第1のSASエクスパンダの物理ポート及び第2のSASエクスパンダの物理ポートを通じて実施されてよい。更に、エクスパンダ間通信のための第1のSASエクスパンダの物理ポート及びエクスパンダ間通信のための第2のSASエクスパンダの物理ポートは、単一の一体的SASエクスパンダのプライマリスイッチドメイン(410)から隠されてよい。第1のSASエクスパンダと第2のSASエクスパンダとの間のエクスパンダ間通信には、第1のSASエクスパンダの少なくとも2つの物理ポート及び第2のSASエクスパンダの少なくとも2つの物理ポートが使用されてよい。更に、もし単一の一体的SASエクスパンダ内で少なくとも1つのSASエクスパンダが(例えば、あるSASエクスパンダに障害が発生している最中等に)動作可能にとどまっていれば、どの共通SASワイドポートも、低下した小さい帯域幅で動作可能に維持される。
単一の一体的SASエクスパンダ500は、単一の一体的SASエクスパンダ内で内部リンクに障害生じたときにパスフェールオーバーを提供するように構成されてよい。図5を参照すると、上述のように、入力ポート502〜508は、リンク552a...d〜558a...dを通じて各エクスパンダ202a...dに接続されてよい。更に、入力ポート502〜508は、SASワイドポートであってよい。出力ポート510〜516は、リンク560a...d〜566a...dを通じて各エクスパンダ202a...dに接続されてよい。更に、出力ポート510〜516は、SASワイドポートであってよい。各エクスパンダ202a...dは、エクスパンダ間通信のために、SASエクスパンダポートを通じて互いに接続されてよい。単一の一体的SASエクスパンダ500に示されるように、SASエクスパンダ202cと出力ポート516との間のリンク566bは、障害を生じている可能性がある。リンク566bは、例えば物理的欠陥によって障害を生じているかもしれない。更なる例では、リンク566bは、論理的問題ゆえに障害を生じているかもしれない。
障害リンク566bを通じて伝送される予定のデータ転送は、出力ポート516に接続された別のSASエクスパンダへ再ルーティングされてよい。このデータ転送は、SASエクスパンダ間のエクスパンダ間通信に使用される物理ポートを通じて別のSASエクスパンダへ再ルーティングされてよい。単一の一体的SASエクスパンダ500に示されるように、障害リンク566bを通じたSASエクスパンダ202cと出力ポート516との間のデータ転送は、エクスパンダ間通信リンク434を通じてSASエクスパンダ202dを通るように再ルーティングされてよい。データ転送は、SASエクスパンダ202dからリンク566cを通じて出力ポート516に到るように再ルーティングされてよい。このため、出力ポート516は、当初の意図通りに、しかしながら異なる物理リンク伝いに、データ転送を受信するであろう。更に、もしSASエクスパンダ202dが、出力ポート516へのアクティブリンクを有している場合は、SASエクスパンダ202cは、SMPを通じて提供されるアービトレーション進行通知(AIP, Arbitration In Progress)によってSASイニシエータに応答してよい。SASイニシエータは、SASエクスパンダ202cからAIPまたはOPEN拒絶(再試行)SMP応答を受信した後、しばらく経ってからデータ転送を試みてよい。
本開示の更なる一態様では、障害リンクではなくエクスパンダ間通信リンク(430〜435)を通るように接続を再ルーティングするために、SASエクスパンダ上で実行されるファームウェアによって、SASエクスパンダルーティングテーブルを再設定することができる。更に、単一の一体的SASエクスパンダに接続されるSASイニシエータは、CHANGEプリミティブを受信することによって、リンク566bに障害が生じたことを学習してよい。例えば、CHANGEプリミティブは、SMPによって提供される。すると、SASイニシエータは、例えばSMPを通じて提供されるSASディスカバリを実施してよい。更に、SASイニシエータは、ターゲットへのアクティブ接続の残りの数に留意し、ターゲットへのアクティブ接続の残りの数に等しい数だけの同時データ転送を開始させてよい。
概して図7を参照すると、複数のSASエクスパンダを組み合わせて単一の一体的SASエクスパンダとして機能させつつパスフェイルオーバーを提供するための方法が示されている。例えば、方法は、図5に示されるような技術を実現してよい。本発明の本実施形態では、方法700は、第1のSASエクスパンダとデバイスとの間の障害リンクを検出するステップ702を含む。例えば、検出された障害リンクは、物理的問題ゆえに障害を生じているかもしれない。検出された障害リンクは、論理的問題ゆえに障害を生じているかもしれない。
方法700は、更に、障害リンクを通じてデバイスに接続される第1のSASエクスパンダによるデータ転送を、有効リンク(有効に動作しているリンク)を通じてデバイスに接続される第2のSASエクスパンダへ再ルーティングするステップ704を含んでよい。例えば、単一の一体的SASエクスパンダの障害リンクは、障害リンク内の物理的問題ゆえに障害を生じているかもしれない。別の一例では、障害リンクは、論理的問題ゆえに障害を生じているかもしれない。第1のSASエクスパンダは、エクスパンダ間通信のための第1のエクスパンダの物理ポート及び第2のSASエクスパンダの物理ポートを通じて第2のSASエクスパンダに接続されてよい。更なる実施形態では、障害リンクを通じてデバイスに接続される第1のSASエクスパンダによるデータ転送の、有効リンクを通じてデバイスに接続される第2のSASエクスパンダへの再ルーティングは、エクスパンダ間通信のための第1のエクスパンダの物理ポート及びエクスパンダ間通信のための第2のSASエクスパンダの物理ポートを通じて生じてよい。代表的な実施形態では、データ転送の再ルーティングは、データ転送を、障害内部リンクから、エクスパンダ間通信のための第1のエクスパンダの物理ポートとエクスパンダ間通信のための第2のSASエクスパンダの物理ポートとの間のリンクへ再ルーティングするために、第1のSASエクスパンダのルーティングテーブルを再設定することを含んでよい。例えば、第1のSASエクスパンダのルーティングテーブルの再設定は、第1のSASエクスパンダ上で実行されるファームウェアを通じて実施されてよい。
データ転送を、単一の一体的SASエクスパンダ内の障害リンクから、エクスパンダ間通信のためのリンクを通じて第2のSASエクスパンダへ再ルーティングするステップは、このような再ルーティングが生じていることを、単一の一体的SASエクスパンダに接続されたSASイニシエータ及びSASターゲットに示さなくてよい(通知しなくてよい)。しかしながら、もし第2のSASエクスパンダが現時点でデバイスへのアクティブリンクを有しており、尚且つデータが障害リンクから第2のSASエクスパンダへ再ルーティングされている場合は、障害リンクを通じてデバイスに接続される第1のSASエクスパンダは、AIP応答によって応答してよい。このような場合、AIP応答を受信したSASイニシエータは、しばらく経ってからデータ転送を再試行してよい。単一の一体的SASエクスパンダに接続されるSASイニシエータは、CHANGEプリミティブの受信を通じて障害リンクについて通知されてよい。CHANGEプリミティブの受信を受けて、SASイニシエータは、SASディスカバリを実施してよい。例えば、SMPは、SASディスカバリ及びSASディスカバリ応答を含むSASディスカバリを提供する。
SASイニシエータ指定のデータ接続構成800が提供される。図8を参照すると、SASイニシエータ810は、SASワイドポート880を通じてSASエクスパンダ820に接続されてよい。SASエクスパンダ830の少なくとも1つの物理ポートと、SASエクスパンダ840の少なくとも1つの物理ポートとが、共通SASワイドポート890にまとめられてよい。SASエクスパンダ830及びSASエクスパンダ840を単一の一体的SASエクスパンダとして動作させるために、SASエクスパンダ830は、SASエクスパンダ840と同一SASアドレスを共有してよい。SASエクスパンダ820は、共通SASワイドポート890を通じてSASエクスパンダ830及びSASエクスパンダ840に接続されてよい。SASエクスパンダ830は、また、SASエクスパンダ830の物理ポート及びSASエクスパンダ840の物理ポートを介したエクスパンダ間通信リンクを通じてSASエクスパンダ840に直接接続されてもよい。SASエクスパンダ830とSASエクスパンダ840とは、単一の一体的SASエクスパンダとして動作するのではなく、カスケード接続構成をとってもよい。SASエクスパンダ830及びSASエクスパンダ840には、SASナローポートを通じて複数のSASターゲット850〜875が接続されてよい。SASターゲット850〜875の数は、SASエクスパンダ830又はSASエクスパンダ840の物理ポートの数より多くてよい。例えば、SASターゲット850〜875は、単純ディスク束(JBOD,Just a Bunch Of Disks)SASアレイなどのハードディスクアレイであってよい。
SASイニシエータ810は、SASイニシエータ810からSASターゲット850〜875の1つへのデータ接続を形成するために使用されるワイドポート880,890のレーンを指定してよい。ワイドポート880,890のレーンの指定は、フェアネス制御のために使用されてよく、このような制御では、ワイドポート880,890の一部のレーンがSASターゲット850〜875にアクセスするために使用されるのに対し、ワイドポート880,890のその他のレーンはSAS構成のその他の部分への引き渡しのために使用されてよい。SASイニシエータ810は、更に、接続要求のOPENフレーム内でレーンを指定してよい。このようなOPENフレームは、SMP接続要求を通じて提供されてよい。SASイニシエータ810は、SASイニシエータ810からSASターゲット850〜875の1つへのデータ接続のための最適レーンを、標準的SASディスカバリプロセスの実施を通じて学習していてよい。SASエクスパンダ830及びSASエクスパンダ840は、SASターゲット850〜875とともに、SASイニシエータ810からSASターゲット850〜875の1つへのデータ接続のための最適レーンをともなうSMPディスカバリ応答を通じて応答するように構成されてよい。SASイニシエータ810とSASターゲット850〜875の1つとの間のデータ接続における各SASエクスパンダは、SASイニシエータ810からの接続要求のOPENフレームを、データ接続のための許容レーンについてチェックし、指定されたそれらのレーン伝いにのみデータ接続を行ってよい。
概して図9を参照すると、本開示の代表的一実施形態にしたがった、SASドメイン内でSASイニシエータとSASターゲットとの間のデータ接続のためのSASワイドポートの許容レーンを指定するための方法が示されている。本開示の本実施形態では、方法900は、データ接続のための少なくとも1つのSASワイドポートの最適レーンを発見するステップ902を含む。例えば、SASイニシエータ810は、標準的SASディスカバリプロセスの実施を通じてデータ接続のための最適レーンを発見してよい。更に、SMPディスカバリ応答は、データ接続のための最適レーンをSASイニシエータ810に伝えるために使用されてよい。
方法900は、更に、SASドメインの各レベルのSASワイドポート内でデータ接続のための許容レーンを指定するステップ904を含んでよい。例えば、データ接続のための許容レーンは、SASイニシエータ接続要求を通じて指定されてよい。データ接続のための許容レーンは、更に、SASイニシエータ接続要求のOPENフレーム内で指定されてよい。
方法900は、更に、データ接続のための指定された許容レーンについてチェックするステップ906を含んでよい。例えば、SASイニシエータ接続要求のOPENフレームの受信を受けて、SASエクスパンダ(820〜840)は、OPENフレームを、データ接続のための指定された許容レーンについてチェックしてよい。
方法900は、更に、指定された許容レーン伝いにデータ接続を形成するステップ908を含んでよい。例えば、SASエクスパンダは、指定された許容レーン伝いにデータ接続を形成してよい。更に、SASエクスパンダは、SASイニシエータ接続要求のOPENフレームを、指定された許容レーンについてチェックした後に、データ接続を形成してよい。
ペア・サブトラクティブルーティング(paired subtractive routing)を用いるSASカスケード接続トポロジが提供される。ペア・サブトラクティブルーティングを用いるために、SASトポロジ1000内のSASデバイスは、ベンダ固有SMP機能を参照してよい。SASイニシエータ1002〜1004は、ベンダ固有SMP機能がサポートされているかどうかを調べるために、SMPを通じて提供されるSMPメーカ情報報告応答(SMP REPORT MANUFACTURER INFORMATION response)をチェックしてよい。もしサポートされている場合は、SASイニシエータ1002〜1004は、そのベンダ固有SMP機能を、ペア・サブトラクティブルーティングを用いるためにルーティング属性を変更されたSASエクスパンダ1010〜1024の物理ポートのリストを要求するために使用してよい。例えば、SASイニシエータ1002〜1004は、SASトポロジ1000の各SASエクスパンダ1010〜1024に対し、SMPルーティング属性変更物理ポートリスト報告要求(SMP REPORT MODIFIED PHY ROUTING ATTRIBUTE LIST Request)1100を発行してよい。SMPルーティング属性変更物理ポートリスト報告要求1100を受信すると、各SASエクスパンダ1010〜1024は、ルーティング属性を変更された物理ポートのリストを、SMPルーティング属性変更物理ポートリスト報告応答1120を通じて応答してよい。動作時に、SMPルーティング属性変更物理ポートリスト報告応答1120は、変更された幾つかのルーティング記述子1140を内包してよい。各変更ルーティング記述子1140は、SASエクスパンダ1010〜1024の1つの物理ポートと、その1つの物理ポートの変更ルーティング属性1160とを示してよい。例えば、変更ルーティング属性1160は、物理ポートを、自己設定(SC,Self Configured)、テーブルイニシエータ専用IN(TIOI,Table Initiator Only In)、又はテーブルイニシエータ専用OUT(TIOO,Table Initiator Only Out)のいずれかに特定してよい。TIOIは、入力物理ポートを、そのポートのためのルーティングテーブル内に挙げられたSASイニシエータにのみ結びつけてよく、TIOOは、出力物理ポートを、そのポートのためのルーティングテーブル内に挙げられたSASイニシエータにのみ結び付けてよい。
もしSMPルーティング属性変更物理リポートリスト報告応答1120が、とある物理ポートの変更ルーティング属性1160を特定している場合は、SASイニシエータ1002〜1004は、SMPディスカバリ応答によって提供されるその物理ポートのルーティング属性を無視してよい。本開示の一実施形態では、ベンダ固有SMP機能は、変更後のルーティング属性即ちTIOI、TIOO、及びSCのみを報告してよい。SASエクスパンダ1010〜1024は、幾つかの処理標準ルーティング属性(D,S,T)及び幾つかの処理変更ルーティング属性(TIOI,TIOO,SC)をともなう複数のポートを有してよい。
SASエクスパンダ1010〜1024は、INとOUTとのペアとして定められるプライマリ・サブトラクティブポートを有するように構成されてよい。サブトラクティブポートの入力ポート及び出力ポートは、ともに、そのポートためののルーティングテーブル内にSASイニシエータ1002〜1004のアドレスを必要とするであろう。更に、SASエクスパンダは、直接接続デバイスのためのセカンダリ・サブトラクティブポートを追加されてよい。例えば、入力ポートにおいて受信されたOPENは、もしSMPを通じて提供されたOPENの宛先が直接接続デバイス(例えばルーティング属性がDのポートに結合されたデバイス)でない場合又はOPENの宛先が入力ポートのためのルーティングテーブル内にない場合は、そのサブトラクティブポートの出力ポートから送出されてよい。例えば、出力ポートにおいて受信されたOPENは、もしOPENの宛先が直接接続デバイス(例えばルーティング属性がDのポートに結合されたデバイス)でない場合またはOPENの宛先が出力ポートのためのルーティングテーブル内にない場合は、そのサブトラクティブポートの入力ポートから送出されてよい。変更ルーティング属性TIOIは、サブトラクティブポートの入力ポートを示してよい。変更ルーティング属性TIOOは、サブトラクティブポートの出力ポートを示してよい。OPENは、常に、デフォルトでプライマリ・サブトラクティブポートに設定されてよい。
SASイニシエータ1002〜1004は、カスケード接続SASトポロジ1000の頂部又は底部に位置してよい。SASイニシエータ1002〜1004は、自身のSASアドレスのみをカスケード接続SASトポロジ1000のSASエクスパンダ1010〜1024のTIOIポート1060のルーティングテーブル及びTIOOポート1050のルーティングテーブルに入れる設定をしてよい。更に、SASイニシエータ1002〜1004は、カスケード接続SASトポロジ1000内でのSASイニシエータ1002〜1004の位置に応じて、自身のSASアドレスのみをカスケード接続SASトポロジ1000のSASエクスパンダ1010〜1024のTIOIポート1060のルーティングテーブル又はTIOOポート1050のルーティングテーブルのみに入れる設定をしてよい。SASエクスパンダ1010〜1024は、SASエクスパンダルーティングテーブルにアドレスを入れる設定をする際にSASイニシエータ1002〜1004が互いの領域を侵害することのないように、ファームウェアを実行してよい(例えば、位置非依存性のルーティングテーブル設定)。
SASターゲット1070は、SASエクスパンダ1010〜1024の1つに対してOPENを発行してよい。SASエクスパンダ1010〜1024の1つは、OPENの宛先アドレスを、SASエクスパンダ1010〜1024のうちのその1つのエクスパンダのためのルーティングテーブル内で発見するかもしれない。すると、OPENは、宛先アドレスによって示されるSASイニシエータに送信されてよい。別の一実施形態では、SASイニシエータ1002〜1004の1つが、SASエクスパンダ1010〜1024の1つに対してOPENを発行してよい。SASエクスパンダ1010〜1024の1つは、先ず、あらゆる直接接続デバイスにおいてOPENの宛先アドレスを検索する。もし見つかった場合は、OPENは、適切な直接接続デバイスに送信される。もしどの直接接続デバイスでもOPENの宛先アドレスが見つからなかった場合は、SASエクスパンダ1010〜1024の1つは、SASエクスパンダルーティングテーブルにおいてOPENの宛先アドレスを検索してよい。もし見つかった場合は、OPENは、適切なSASイニシエータにルーティングされる。もしSASエクスパンダルーティングテーブルでOPENの宛先アドレスが見つからなかった場合は、SASエクスパンダ1010〜1024の1つは、そのペア・サブトラクティブポートからOPENを送出してよい。
更に、SASカスケード接続トポロジ1000内でSASのゾーン分けを実施するには、トポロジ内の端部のエクスパンダのみでチェックが必要になるであろう。端部のエクスパンダは、直接接続デバイスのための物理ポートの宛先を、OPENコマンド内のソースゾーングループと比較してよい。比較は、ゾーンの端部のデバイスエクスパンダに達するまでサブトラクティブに挙動する。
概して図12を参照すると、SASカスケード接続トポロジ内でペア・サブトラクティブルーティングを実施するための方法が示されている。方法1200は、SASエクスパンダデバイスに入力ポートを割り当てるステップ1210を含む。方法1200は、更に、SASエクスパンダデバイスに出力ポートを割り当てるステップ1220を含んでよい。代表的な実施形態では、方法1200は、更に、出力ポート及び入力ポートをペア・サブトラクティブポートとして動作させるように互いに組み合わせてペアに定めるステップ1230を含んでよい。また、方法1200は、SASエクスパンダデバイスに第2の入力ポート及び第2の出力ポートを追加することを含んでよい。第2の入力ポート及び第2の出力ポートは、セカンダリ・サブトラクティブポートとして互いに組み合わされてペアにされてよい。
代表的な実施形態では、方法1200は、入力ポートでOPENコマンドが受信されたときに、もしOPENコマンドの宛先がSASエクスパンダデバイスの直接接続デバイスではなく、尚且つ宛先がSASエクスパンダデバイスのルーティングテーブル内にない場合に、OPENコマンドを出力ポートから送出するステップ1250を、更に含んでよい。方法1200は、出力ポートでOPENコマンドが受信されたときに、もしOPENコマンドの宛先がSASエクスパンダデバイスの直接接続デバイスではなく、尚且つ宛先がSASエクスパンダデバイスのルーティングテーブル内にない場合に、OPENコマンドを入力ポートから送出するステップ1260を、更に含んでよい。方法1200は、第2の入力ポートでOPENコマンドが受信されたときに、もしOPENコマンドの宛先がSASエクスパンダデバイスの直接接続デバイスではなく、尚且つ宛先がSASエクスパンダデバイスのルーティングテーブル内にない場合に、OPENコマンドを第2の出力ポートから送出するステップを、更に含んでよい。方法1200は、第2の出力ポートでOPENコマンドが受信されたときに、もしOPENコマンドの宛先がSASエクスパンダデバイスの直接接続デバイスではなく尚且つ宛先がSASエクスパンダデバイスのルーティングテーブル内にない場合に、OPENコマンドを第2の入力ポートから送出するステップを、更に含んでよい。更に、セカンダリサブトラクティブポートは、SASエクスパンダデバイスの直接接続デバイスとの通信のために動作してよい。また、OPENコマンドは、デフォルトでプライマリサブトラクティブポートに設定されてよい。
代表的な実施形態では、方法1200は、ベンダ固有SMP機能の変更ルーティング属性を通じてSASエクスパンダのサブトラクティブポートを指定するステップを、更に含んでよい。更に、サブトラクティブポートの変更ルーティング属性が存在する場合は、SASイニシエータは、そのサブトラクティブポートのSMPディスカバリ応答属性を無視し、ベンダ固有SMPの変更ルーティング属性を使用してよい。
代表的実施形態では、方法1200は、SASイニシエータアドレスのみをSASエクスパンダのルーティングテーブルに入れる設定をするステップ1240を、更に含んでよい。例えば、SASイニシエータアドレスのみをSASエクスパンダのルーティングテーブルに入れる設定をするステップ1240は、SASエクスパンダによって実施されてよい。更に、SASエクスパンダによって設定されるSASエクスパンダのルーティングテーブルは、自己設定指定のポートのためのルーティングテーブルであってよい。SASイニシエータアドレスのみをSASエクスパンダのルーティングテーブルに入れる設定をするステップ1240は、SASルーティングトポロジ内の各SASイニシエータによって実施されてよく、どのSASイニシエータも、そのSASイニシエータのSASアドレスのみをSASエクスパンダのルーティングテーブルに入れる設定をする。更に、各SASイニシエータは、そのSASイニシエータのSASアドレスをSASエクスパンダの一タイプの変更ルーティング属性ポートのルーティングテーブルのみに入れる設定を行ってよい。SASエクスパンダの変更ルーティング属性ポートのタイプは、SASルーティングトポロジ内でのSASイニシエータの位置によって決定されてよい。SASイニシエータは、SASルーティングトポロジの頂部又は底部に位置してよい。
本開示では、開示された方法は、デバイスによって読み取り可能な命令セット即ちソフトウェアとして実現されてよい。このようなソフトウェアは、開示された本発明の機能及びプロセスをコンピュータに実施させるために使用される格納コンピュータコードを含むコンピュータ可読ストレージ媒体を用いるコンピュータプログラム製品であってよい。コンピュータ可読媒体は、フロッピィディスク、光ディスク、CD−ROM、磁気ディスク、ハードディスクドライブ、光磁気ディスク、ROM、RAM、EPROM、EEPROM、磁気カード若しくは光カード、又は電子命令を格納するのに適した任意のその他の媒体を非限定的に含む、任意の従来のタイプのものを含んでよい。更に、開示された方法のステップの具体的順序又は階層構造は、代表的アプローチの例であると理解される。方法のステップの具体的順序又は階層構造は、開示された内容の範囲内にとどまりつつ、設計の優先順位に基づいて再構成できると理解される。添付の方法クレームの範囲は、各種のステップ要素を例示的順序で提示しており、必ずしも提示された具体的順序又は階層構造に限定することを意味しない。
本開示及びそれらに付随する多くの利点は、以上の説明によって理解されると考えられ、開示内容から逸脱することなく又はそれらの要素の利点のいずれも犠牲にすることなく構成要素の形態、構成、及び配置に各種の変更を加えられることが明らかである。記載される形態は、説明的なものに過ぎず、以下のクレームは、このような変更を網羅及び内包することを意図している。

Claims (20)

  1. 複数のシリアル接続小型コンピュータシステムインターフェース(SAS)エクスパンダを組み合わせるための方法であって、
    第1のSASエクスパンダの少なくとも1つの第1番の物理ポートを、前記第1のSASエクスパンダと物理的に別個である第2のSASエクスパンダの少なくとも1つの第2番の物理ポートとともに、少なくとも1つの共通SASワイドポートにとりまとめることと、
    前記第1のSASエクスパンダ及び前記第2のSASエクスパンダに同一SASアドレスを割り当てることと、
    エクスパンダ間通信のために、前記第1のSASエクスパンダを前記第2のSASエクスパンダに直接接続することと、
    を備える方法。
  2. 請求項1に記載の方法であって、
    第1のSASエクスパンダの少なくとも1つの第1の物理ポートを、前記第1のSASエクスパンダと物理的に別個である第2のSASエクスパンダの少なくとも1つの第2の物理ポートとともに、少なくとも1つの共通SASワイドポートにとりまとめることは、更に、
    前記少なくとも1つの共通SASワイドポートに第2の同一SASアドレスを割り当てることを含む、方法。
  3. 請求項1に記載の方法であって、
    前記第1のSASエクスパンダ及び前記第2のSASエクスパンダに同一SASアドレスを割り当てることは、更に、
    前記第1のSASエクスパンダ及び前記第2のSASエクスパンダで実行されるファームウェアを通じて前記第1のSASエクスパンダ及び前記第2のSASエクスパンダに同一SASアドレスを割り当てることを含む、方法。
  4. 請求項1に記載の方法であって、
    前記第1のSASエクスパンダ及び前記第2のSASエクスパンダに同一SASアドレスを割り当てることは、更に、
    前記第1のSASエクスパンダ及び前記第2のSASエクスパンダの物理ポートの番号を、前記単一の一体的SASエクスパンダの単一の論理的順番の物理ポート番号として再マッピングすることを含む、方法。
  5. 請求項4に記載の方法であって、
    前記第1のSASエクスパンダ及び前記第2のSASエクスパンダの物理ポートの番号を、前記単一の一体的SASエクスパンダの単一の論理的順番の物理ポート番号として再マッピングすることは、更に、
    前記第1のSASエクスパンダ及び前記第2のSASエクスパンダの物理ポートの番号を、前記単一の一体的SASエクスパンダの単一の論理的順番の物理ポート番号として再マッピングすることであって、前記第1のSASエクスパンダの前記第1番の物理ポートは、前記単一の論理的順番の番号の第1の範囲に入るように再マッピングされ、前記第2のSASエクスパンダの前記第2番の物理ポートは、前記単一の論理的順番の番号の第2の範囲に入るように再マッピングされる、ことを含む、方法。
  6. 請求項1に記載の方法であって、
    前記エクスパンダ間通信は、SASマネージメントプロトコルを用いる、方法。
  7. 請求項1に記載の方法であって、
    エクスパンダ間通信のために、前記第1のSASエクスパンダを前記第2のSASエクスパンダに直接接続することは、前記第1のSASエクスパンダの物理ポート及び前記第2のSASエクスパンダの物理ポートを通じて実施される、方法。
  8. 請求項7に記載の方法であって、
    エクスパンダ間通信のために、前記第1のSASエクスパンダを前記第2のSASエクスパンダに直接接続することは、前記第1のSASエクスパンダの物理ポート及び前記第2のSASエクスパンダの物理ポートを通じて実施され、更に、
    エクスパンダ間通信のために、前記第1のSASエクスパンダを前記第1のSASエクスパンダの物理ポート及び前記第2のSASエクスパンダの物理ポートを通じて前記第2のSASエクスパンダに直接接続することであって、エクスパンダ間通信のための前記第1のSASエクスパンダの物理ポート及びエクスパンダ間通信のための前記第2のSASエクスパンダの物理ポートが、プライマリスイッチドメインから隠されることを含む、方法。
  9. 請求項7に記載の方法であって、
    エクスパンダ間通信のために、前記第1のSASエクスパンダを前記第2のSASエクスパンダに直接接続することは、前記第1のSASエクスパンダの物理ポート及び前記第2のSASエクスパンダの物理ポートを通じて実施され、更に、
    エクスパンダ間通信のために、前記第1のSASエクスパンダを前記第1のSASエクスパンダの物理ポート及び前記第2のSASエクスパンダの物理ポートを通じて前記第2のSASエクスパンダに直接接続することであって、前記第1のSASエクスパンダと前記第2のSASエクスパンダとの間のエクスパンダ間通信のために、前記第1のSASエクスパンダの少なくとも2つの物理ポート及び前記第2のSASエクスパンダの少なくとも2つの物理ポートが使用されることを含む、方法。
  10. 請求項1に記載の方法であって、
    第1のSASエクスパンダの少なくとも1つの第1番の物理ポートを、前記第1のSASエクスパンダと物理的に別個である第2のSASエクスパンダの少なくとも1つの第2番の物理ポートとともに、少なくとも1つの共通SASワイドポートにとりまとめることは、SASエクスパンダ障害時、少なくとも1つのSASエクスパンダが尚も動作していれば、全ての共通SASワイドポートを低下した帯域幅で動作させつつ接続性を継続させることを可能にする、方法。
  11. 物理的に別個の複数のSASエクスパンダを含む単一の一体的シリアル接続小型コンピュータシステムインターフェース(SAS)エクスパンダであって、
    少なくとも第1番の物理ポートを含む第1のSASエクスパンダと、
    少なくとも第2番の物理ポートを含む第2のSASエクスパンダであって、前記第2のSASエクスパンダは、前記第1のSASエクスパンダと物理的に別個であり、前記第1のSASエクスパンダ及び前記第2のSASエクスパンダは、前記第1のSASエクスパンダと前記第2のSASエクスパンダとを単一の一体的SASエクスパンダとして動作させるために同一SASアドレスを共有する、第2のSASエクスパンダと、
    少なくとも前記第1番の物理ポートと前記第2番の物理ポートとを組み合わせるための、少なくとも1つの共通SASワイドポートと、
    を備え、
    前記第1のSASエクスパンダは、エクスパンダ間通信のために、前記第2のSASエクスパンダに直接接続される、単一の一体的SASエクスパンダ。
  12. 請求項11に記載の単一の一体的SASエクスパンダであって、
    前記少なくとも1つの共通SASワイドポートは、更に、
    全ての共通SASワイドポートで共有される第2の同一SASアドレスを含む、単一の一体的SASエクスパンダ。
  13. 請求項11に記載の単一の一体的SASエクスパンダであって、
    前記第1のSASエクスパンダ及び前記第2のSASエクスパンダは、それぞれ、単一の一体的SASエクスパンダとして動作するためにファームウェアを実行する、単一の一体的SASエクスパンダ。
  14. 請求項11に記載の単一の一体的SASエクスパンダであって、
    前記第1のSASエクスパンダ及び前記第2のSASエクスパンダの物理ポートの番号は、前記単一の一体的SASエクスパンダの単一の論理的順番の物理ポート番号として再マッピングされる、単一の一体的SASエクスパンダ。
  15. 請求項14に記載の単一の一体的SASエクスパンダであって、
    前記第1のSASエクスパンダ及び前記第2のSASエクスパンダの物理ポートの番号は、前記単一の一体的SASエクスパンダの単一の論理的順番の物理ポート番号として再マッピングされ、
    前記第1のSASエクスパンダの前記第1番の物理ポートは、前記単一の論理的順番の番号の第1の範囲に入るように再マッピングされ、前記第2番の物理ポートは、前記単一の論理的順番の番号の第2の範囲に入るように再マッピングされる、単一の一体的SASエクスパンダ。
  16. 請求項11に記載の単一の一体的SASエクスパンダであって、
    前記エクスパンダ間通信は、SASマネージメントプロトコルを用いる、単一の一体的SASエクスパンダ。
  17. 請求項11に記載の単一の一体的SASエクスパンダであって、
    前記第1のSASエクスパンダは、エクスパンダ間通信のための前記第1のSASエクスパンダの物理ポート及び前記第2のSASエクスパンダの物理ポートを通じて前記第2のSASエクスパンダに直接接続される、単一の一体的SASエクスパンダ。
  18. 請求項17に記載の単一の一体的SASエクスパンダであって、
    エクスパンダ間通信のための前記第1のSASエクスパンダの物理ポート及び前記第2のSASエクスパンダの物理ポートは、プライマリスイッチドメインから隠される、単一の一体的SASエクスパンダ。
  19. 請求項17に記載の単一の一体的SASエクスパンダであって、
    前記第1のSASエクスパンダは、エクスパンダ間通信のための前記第1のSASエクスパンダの少なくとも2つの物理ポート及び前記第2のSASエクスパンダの少なくとも2つの物理ポートを通じて前記第2のSASエクスパンダに直接接続される、単一の一体的SASエクスパンダ。
  20. 請求項11に記載の単一の一体的SASエクスパンダであって、
    少なくとも前記第1番の物理ポートと前記第2番の物理ポートとを組み合わせるための前記少なくとも1つの共通SASワイドポートは、SASエクスパンダ障害時、もし少なくとも1つのSASエクスパンダが動作していれば、全ての共通SASワイドポートを低下した帯域幅で動作させつつ接続性を継続させることを可能にする、単一の一体的SASエクスパンダ。
JP2009204925A 2008-09-05 2009-09-04 単一sasエクスパンダの機能性を提供するために複数のsasエクスパンダを組み合わせる方法、及び、単一sasエクスパンダ Expired - Fee Related JP5363924B2 (ja)

Applications Claiming Priority (4)

Application Number Priority Date Filing Date Title
US19103708P 2008-09-05 2008-09-05
US61/191,037 2008-09-05
US12/384,289 2009-04-02
US12/384,289 US7849248B2 (en) 2008-09-05 2009-04-02 Method and system for combining multiple serial attached small computer system interface (SAS) expanders

Publications (3)

Publication Number Publication Date
JP2010061663A true JP2010061663A (ja) 2010-03-18
JP2010061663A5 JP2010061663A5 (ja) 2010-04-30
JP5363924B2 JP5363924B2 (ja) 2013-12-11

Family

ID=41279481

Family Applications (1)

Application Number Title Priority Date Filing Date
JP2009204925A Expired - Fee Related JP5363924B2 (ja) 2008-09-05 2009-09-04 単一sasエクスパンダの機能性を提供するために複数のsasエクスパンダを組み合わせる方法、及び、単一sasエクスパンダ

Country Status (6)

Country Link
US (1) US7849248B2 (ja)
EP (1) EP2163995B1 (ja)
JP (1) JP5363924B2 (ja)
KR (1) KR101121344B1 (ja)
CN (1) CN101719048B (ja)
TW (1) TWI456399B (ja)

Cited By (7)

* Cited by examiner, † Cited by third party
Publication number Priority date Publication date Assignee Title
US7913023B2 (en) * 2008-09-05 2011-03-22 Lsi Corporation Specifying lanes for SAS wide port connections
US8077605B2 (en) 2008-09-05 2011-12-13 Lsi Corporation Method for providing path failover for multiple SAS expanders operating as a single SAS expander
JP2012027680A (ja) * 2010-07-23 2012-02-09 Internatl Business Mach Corp <Ibm> マルチパスを制御するシステム及び方法
US8244948B2 (en) 2008-09-05 2012-08-14 Lsi Corporation Method and system for combining multiple SAS expanders into a SAS switch
JP2012194807A (ja) * 2011-03-16 2012-10-11 Fujitsu Ltd ストレージ装置、コントローラおよびアドレス管理方法
US8321596B2 (en) 2008-09-05 2012-11-27 Lsi Corporation SAS paired subtractive routing
US8656058B2 (en) 2008-09-05 2014-02-18 Lsi Corporation Back-off retry with priority routing

Families Citing this family (15)

* Cited by examiner, † Cited by third party
Publication number Priority date Publication date Assignee Title
US8527685B2 (en) 2011-06-10 2013-09-03 Lsi Corporation Firmware-driven multiple virtual SAS expanders on a single expander hardware component
US8918557B2 (en) 2012-03-16 2014-12-23 Lsi Corporation SAS expander and method to arbitrate traffic in a redundant expander system
US8745448B2 (en) * 2012-06-06 2014-06-03 Hitachi, Ltd. Storage system, storage control apparatus and method for failure recovery
US9032071B2 (en) 2012-07-24 2015-05-12 Hewlett-Packard Development Company, L.P. Systems and methods for representing a SAS fabric
US8924771B2 (en) * 2012-12-06 2014-12-30 Lsi Corporation Master-slave expander logging
US9026706B2 (en) 2012-12-14 2015-05-05 Lsi Corporation Method and system for detecting multiple expanders in an SAS topology having the same address
US9081910B2 (en) 2013-02-12 2015-07-14 Avago Technologies General Ip (Singapore) Pte Ltd Methods and structure for fast context switching among a plurality of expanders in a serial attached SCSI domain
US9092398B2 (en) 2013-02-14 2015-07-28 Avago Technologies General Ip (Singapore) Pte Ltd Restoring expander operations in a data storage switch
US8990448B2 (en) * 2013-03-08 2015-03-24 Lsi Corporation Smart discovery model in a serial attached small computer system topology
CN105808158B (zh) 2014-12-30 2020-03-24 美国美高森美存储方案有限公司 用于对多个sas扩展器进行分组以形成单个内聚sas扩展器的方法和装置
US20180165031A1 (en) * 2016-12-09 2018-06-14 Hewlett Packard Enterprise Development Lp Port modes for storage drives
CN106990920B (zh) * 2017-03-15 2019-11-12 杭州宏杉科技股份有限公司 存储设备扩容方法及装置
CN107315542B (zh) * 2017-06-29 2020-11-20 苏州浪潮智能科技有限公司 一种jbod级联系统
US10924253B2 (en) * 2017-12-18 2021-02-16 Arris Enterprises Llc Full duplex expander in a full duplex network
CN109614035A (zh) * 2018-11-01 2019-04-12 郑州云海信息技术有限公司 一种支持解决服务器存储介质序列灵活配置的方法与系统

Citations (4)

* Cited by examiner, † Cited by third party
Publication number Priority date Publication date Assignee Title
US20050193178A1 (en) * 2004-02-27 2005-09-01 William Voorhees Systems and methods for flexible extension of SAS expander ports
JP2007256993A (ja) * 2006-03-20 2007-10-04 Hitachi Ltd 物理リンクの割当てを制御するコンピュータシステム及び方法
JP2007280422A (ja) * 2007-06-28 2007-10-25 Hitachi Ltd ディスクアレイ装置
JP2008158799A (ja) * 2006-12-22 2008-07-10 Fujitsu Ltd ストレージ装置、ストレージ装置の制御方法、及びストレージ装置の制御プログラム

Family Cites Families (15)

* Cited by examiner, † Cited by third party
Publication number Priority date Publication date Assignee Title
US6598106B1 (en) * 1999-12-23 2003-07-22 Lsi Logic Corporation Dual-port SCSI sub-system with fail-over capabilities
US7039741B2 (en) * 2003-09-25 2006-05-02 International Business Machines Corporation Method and apparatus for implementing resilient connectivity in a serial attached SCSI (SAS) domain
US20050138221A1 (en) * 2003-12-23 2005-06-23 Intel Corporation Handling redundant paths among devices
US7644168B2 (en) * 2004-11-05 2010-01-05 Hewlett-Packard Development Company, L.P. SAS expander
US8301810B2 (en) * 2004-12-21 2012-10-30 Infortrend Technology, Inc. SAS storage virtualization controller, subsystem and system using the same, and method therefor
US20070094472A1 (en) * 2005-10-20 2007-04-26 Dell Products L.P. Method for persistent mapping of disk drive identifiers to server connection slots
US7480757B2 (en) * 2006-05-24 2009-01-20 International Business Machines Corporation Method for dynamically allocating lanes to a plurality of PCI Express connectors
WO2007146515A2 (en) 2006-06-08 2007-12-21 Dot Hill Systems Corporation Fault-isolating sas expander
US7673185B2 (en) * 2006-06-08 2010-03-02 Dot Hill Systems Corporation Adaptive SAS PHY configuration
US7958273B2 (en) 2006-10-10 2011-06-07 Lsi Corporation System and method for connecting SAS RAID controller device channels across redundant storage subsystems
US8447872B2 (en) * 2006-11-01 2013-05-21 Intel Corporation Load balancing in a storage system
US7721021B2 (en) * 2006-11-21 2010-05-18 Lsi Corporation SAS zone group permission table version identifiers
US8074105B2 (en) * 2007-10-08 2011-12-06 Dot Hill Systems Corporation High data availability SAS-based RAID system
US8930537B2 (en) * 2008-02-28 2015-01-06 International Business Machines Corporation Zoning of devices in a storage area network with LUN masking/mapping
US7730252B2 (en) * 2008-10-30 2010-06-01 Lsi Corporation Method, apparatus and system for serial attached SCSI (SAS) zoning management of a domain using connector grouping

Patent Citations (4)

* Cited by examiner, † Cited by third party
Publication number Priority date Publication date Assignee Title
US20050193178A1 (en) * 2004-02-27 2005-09-01 William Voorhees Systems and methods for flexible extension of SAS expander ports
JP2007256993A (ja) * 2006-03-20 2007-10-04 Hitachi Ltd 物理リンクの割当てを制御するコンピュータシステム及び方法
JP2008158799A (ja) * 2006-12-22 2008-07-10 Fujitsu Ltd ストレージ装置、ストレージ装置の制御方法、及びストレージ装置の制御プログラム
JP2007280422A (ja) * 2007-06-28 2007-10-25 Hitachi Ltd ディスクアレイ装置

Cited By (8)

* Cited by examiner, † Cited by third party
Publication number Priority date Publication date Assignee Title
US7913023B2 (en) * 2008-09-05 2011-03-22 Lsi Corporation Specifying lanes for SAS wide port connections
US8077605B2 (en) 2008-09-05 2011-12-13 Lsi Corporation Method for providing path failover for multiple SAS expanders operating as a single SAS expander
US8244948B2 (en) 2008-09-05 2012-08-14 Lsi Corporation Method and system for combining multiple SAS expanders into a SAS switch
US8321596B2 (en) 2008-09-05 2012-11-27 Lsi Corporation SAS paired subtractive routing
US8656058B2 (en) 2008-09-05 2014-02-18 Lsi Corporation Back-off retry with priority routing
JP2012027680A (ja) * 2010-07-23 2012-02-09 Internatl Business Mach Corp <Ibm> マルチパスを制御するシステム及び方法
US9250989B2 (en) 2010-07-23 2016-02-02 International Business Machines Corporation Expander to control multipaths in a storage network
JP2012194807A (ja) * 2011-03-16 2012-10-11 Fujitsu Ltd ストレージ装置、コントローラおよびアドレス管理方法

Also Published As

Publication number Publication date
CN101719048A (zh) 2010-06-02
KR101121344B1 (ko) 2012-03-09
US7849248B2 (en) 2010-12-07
TW201013412A (en) 2010-04-01
KR20100029014A (ko) 2010-03-15
US20100064085A1 (en) 2010-03-11
TWI456399B (zh) 2014-10-11
CN101719048B (zh) 2012-07-18
JP5363924B2 (ja) 2013-12-11
EP2163995A1 (en) 2010-03-17
EP2163995B1 (en) 2014-04-30

Similar Documents

Publication Publication Date Title
JP5363924B2 (ja) 単一sasエクスパンダの機能性を提供するために複数のsasエクスパンダを組み合わせる方法、及び、単一sasエクスパンダ
JP5351668B2 (ja) Sasペア・サブストラクティブルーティング
JP5297310B2 (ja) 単一のsasエクスパンダとして動作する複数のsasエクスパンダのためにパスフェールオーバーを提供するための方法、システム、及び、コンピュータ可読媒体
JP5460188B2 (ja) Sasワイドポート接続のためのレーンの指定
US9760455B2 (en) PCIe network system with fail-over capability and operation method thereof
US8244948B2 (en) Method and system for combining multiple SAS expanders into a SAS switch
US8074105B2 (en) High data availability SAS-based RAID system
EP3750059A1 (en) Server system
US20140095754A1 (en) Back-Off Retry with Priority Routing
Tu et al. Seamless fail-over for PCIe switched networks
JP2003196254A (ja) システム内の1つまたは複数のドメインの管理
TW201242271A (en) Keeping a communication path smooth in a storage area network

Legal Events

Date Code Title Description
A521 Written amendment

Free format text: JAPANESE INTERMEDIATE CODE: A523

Effective date: 20100127

A621 Written request for application examination

Free format text: JAPANESE INTERMEDIATE CODE: A621

Effective date: 20120625

A131 Notification of reasons for refusal

Free format text: JAPANESE INTERMEDIATE CODE: A131

Effective date: 20130416

A977 Report on retrieval

Free format text: JAPANESE INTERMEDIATE CODE: A971007

Effective date: 20130417

A521 Written amendment

Free format text: JAPANESE INTERMEDIATE CODE: A523

Effective date: 20130711

TRDD Decision of grant or rejection written
A01 Written decision to grant a patent or to grant a registration (utility model)

Free format text: JAPANESE INTERMEDIATE CODE: A01

Effective date: 20130820

A61 First payment of annual fees (during grant procedure)

Free format text: JAPANESE INTERMEDIATE CODE: A61

Effective date: 20130906

R150 Certificate of patent or registration of utility model

Free format text: JAPANESE INTERMEDIATE CODE: R150

S531 Written request for registration of change of domicile

Free format text: JAPANESE INTERMEDIATE CODE: R313531

R350 Written notification of registration of transfer

Free format text: JAPANESE INTERMEDIATE CODE: R350

RD02 Notification of acceptance of power of attorney

Free format text: JAPANESE INTERMEDIATE CODE: R3D02

S111 Request for change of ownership or part of ownership

Free format text: JAPANESE INTERMEDIATE CODE: R313113

R350 Written notification of registration of transfer

Free format text: JAPANESE INTERMEDIATE CODE: R350

R250 Receipt of annual fees

Free format text: JAPANESE INTERMEDIATE CODE: R250

R250 Receipt of annual fees

Free format text: JAPANESE INTERMEDIATE CODE: R250

LAPS Cancellation because of no payment of annual fees