JP2010055349A - 画像認識方法、画像認識装置、および画像入出力装置 - Google Patents

画像認識方法、画像認識装置、および画像入出力装置 Download PDF

Info

Publication number
JP2010055349A
JP2010055349A JP2008219198A JP2008219198A JP2010055349A JP 2010055349 A JP2010055349 A JP 2010055349A JP 2008219198 A JP2008219198 A JP 2008219198A JP 2008219198 A JP2008219198 A JP 2008219198A JP 2010055349 A JP2010055349 A JP 2010055349A
Authority
JP
Japan
Prior art keywords
data
light
light receiving
image
image recognition
Prior art date
Legal status (The legal status is an assumption and is not a legal conclusion. Google has not performed a legal analysis and makes no representation as to the accuracy of the status listed.)
Granted
Application number
JP2008219198A
Other languages
English (en)
Other versions
JP4849106B2 (ja
Inventor
Kazunori Yamaguchi
和範 山口
Michiru Senda
みちる 千田
Mitsuru Tateuchi
満 建内
Tsutomu Harada
勉 原田
Ryoichi Tsuzaki
亮一 津崎
Current Assignee (The listed assignees may be inaccurate. Google has not performed a legal analysis and makes no representation or warranty as to the accuracy of the list.)
Sony Corp
Original Assignee
Sony Corp
Priority date (The priority date is an assumption and is not a legal conclusion. Google has not performed a legal analysis and makes no representation as to the accuracy of the date listed.)
Filing date
Publication date
Application filed by Sony Corp filed Critical Sony Corp
Priority to JP2008219198A priority Critical patent/JP4849106B2/ja
Priority to TW098125083A priority patent/TWI399674B/zh
Priority to US12/461,172 priority patent/US8558854B2/en
Priority to KR1020090079161A priority patent/KR101613725B1/ko
Priority to CN2009101667007A priority patent/CN101661353B/zh
Publication of JP2010055349A publication Critical patent/JP2010055349A/ja
Application granted granted Critical
Publication of JP4849106B2 publication Critical patent/JP4849106B2/ja
Active legal-status Critical Current
Anticipated expiration legal-status Critical

Links

Images

Classifications

    • GPHYSICS
    • G06COMPUTING OR CALCULATING; COUNTING
    • G06VIMAGE OR VIDEO RECOGNITION OR UNDERSTANDING
    • G06V10/00Arrangements for image or video recognition or understanding
    • G06V10/20Image preprocessing
    • G06V10/28Quantising the image, e.g. histogram thresholding for discrimination between background and foreground patterns
    • GPHYSICS
    • G02OPTICS
    • G02FOPTICAL DEVICES OR ARRANGEMENTS FOR THE CONTROL OF LIGHT BY MODIFICATION OF THE OPTICAL PROPERTIES OF THE MEDIA OF THE ELEMENTS INVOLVED THEREIN; NON-LINEAR OPTICS; FREQUENCY-CHANGING OF LIGHT; OPTICAL LOGIC ELEMENTS; OPTICAL ANALOGUE/DIGITAL CONVERTERS
    • G02F1/00Devices or arrangements for the control of the intensity, colour, phase, polarisation or direction of light arriving from an independent light source, e.g. switching, gating or modulating; Non-linear optics
    • G02F1/01Devices or arrangements for the control of the intensity, colour, phase, polarisation or direction of light arriving from an independent light source, e.g. switching, gating or modulating; Non-linear optics for the control of the intensity, phase, polarisation or colour 
    • G02F1/13Devices or arrangements for the control of the intensity, colour, phase, polarisation or direction of light arriving from an independent light source, e.g. switching, gating or modulating; Non-linear optics for the control of the intensity, phase, polarisation or colour  based on liquid crystals, e.g. single liquid crystal display cells
    • G02F1/133Constructional arrangements; Operation of liquid crystal cells; Circuit arrangements
    • GPHYSICS
    • G09EDUCATION; CRYPTOGRAPHY; DISPLAY; ADVERTISING; SEALS
    • G09FDISPLAYING; ADVERTISING; SIGNS; LABELS OR NAME-PLATES; SEALS
    • G09F9/00Indicating arrangements for variable information in which the information is built-up on a support by selection or combination of individual elements
    • GPHYSICS
    • G09EDUCATION; CRYPTOGRAPHY; DISPLAY; ADVERTISING; SEALS
    • G09GARRANGEMENTS OR CIRCUITS FOR CONTROL OF INDICATING DEVICES USING STATIC MEANS TO PRESENT VARIABLE INFORMATION
    • G09G3/00Control arrangements or circuits, of interest only in connection with visual indicators other than cathode-ray tubes
    • G09G3/20Control arrangements or circuits, of interest only in connection with visual indicators other than cathode-ray tubes for presentation of an assembly of a number of characters, e.g. a page, by composing the assembly by combination of individual elements arranged in a matrix no fixed position being assigned to or needed to be assigned to the individual characters or partial characters
    • G09G3/34Control arrangements or circuits, of interest only in connection with visual indicators other than cathode-ray tubes for presentation of an assembly of a number of characters, e.g. a page, by composing the assembly by combination of individual elements arranged in a matrix no fixed position being assigned to or needed to be assigned to the individual characters or partial characters by control of light from an independent source
    • G09G3/36Control arrangements or circuits, of interest only in connection with visual indicators other than cathode-ray tubes for presentation of an assembly of a number of characters, e.g. a page, by composing the assembly by combination of individual elements arranged in a matrix no fixed position being assigned to or needed to be assigned to the individual characters or partial characters by control of light from an independent source using liquid crystals

Landscapes

  • Physics & Mathematics (AREA)
  • Engineering & Computer Science (AREA)
  • General Physics & Mathematics (AREA)
  • Theoretical Computer Science (AREA)
  • Multimedia (AREA)
  • Chemical & Material Sciences (AREA)
  • Crystallography & Structural Chemistry (AREA)
  • Nonlinear Science (AREA)
  • Mathematical Physics (AREA)
  • Optics & Photonics (AREA)
  • Computer Hardware Design (AREA)
  • Position Input By Displaying (AREA)
  • Image Analysis (AREA)
  • Length Measuring Devices By Optical Means (AREA)

Abstract

【課題】外部環境や装置の内部構成に起因するノイズの経時変化に依存せず、受光面内に近接または接触した対称物を精度良好に認識することが可能な画像認識方法を提供する。
【解決手段】受光面にマトリックス状に配置された受光素子においてn回目の受光データを取得する第1工程(ステップS1)と、前記受光素子においてn+1回目の受光データを取得する第2工程(ステップS2)と、前記n+1回目に取得した受光データから前記n回目に取得した受光データを差し引いた差分データを算出する第3工程(ステップS3)と、差分データに基づいて画像認識を行う第4工程(ステップS4〜)とを備えた画像認識方法。
【選択図】図1

Description

本発明は画像認識方法、画像認識装置、および画像入出力装置に関し、特には動画を認識するための方法およびこの方法を実施するための装置、さらにはこのような画像認識方法を行なう画像入力機能と共に表示機能を備えた画像入出力装置に関する。
表示面近傍における画像を認識するための画像入力機能付きの表示装置としては、例えば表示画素に隣接して受光素子を設けた構成が提案されている。このような構成の表示装置においては、外部環境の変化や装置の内部構成に起因するノイズが、入力される受光画像の認識精度に対して大きな影響を与える。
そこで、表示面を発光させた状態で測定した受光量と、発光していない状態で測定した受光量との差を、受光画像に固定的に発生するノイズとして算出し、これを初期値として記憶させておき、その後の受光画像から初期値を減算する方法が提案されている。この方法では、受光画像を得る際にも、表示面を発光させた状態で測定した受光量と、発光していない状態で測定した受光量との差を算出し、算出した値から上記のノイズ(初期値)を減算する。このような方法により、使用環境や内部構成に影響されず、表示面に対する接触もしくは近接の判定を良好に行なうことができるとしている(下記特許文献1参照)。
特開2007−25796号公報
しかしながら、このような方法では、ノイズ成分である初期値を設定する際、意図的に表示面近傍に検出対象物を置かない状態で受光画像を取得する必要がある。このため、表示装置を使用する環境の変化、経時変化に対応することが困難である。
また、上記特許文献1には、初期値の設定は、製品の出荷前の工程で行なうか、またはユーザ操作で初期値を随時更新しても良い記載がある。初期値を随時更新することにおり、ある程度の環境の変化や経時変化に対応可能にはなるが、ユーザ操作が必要となる点が煩雑である。
そこで本発明は、外部環境や装置の内部構成に起因するノイズの経時変化に依存せず、受光面内に近接または接触した対称物を精度良好に認識することが可能な画像認識方法を提供すること、およびこの画像認識方法を行なう画像認識装置および画像入出力装置を提供することを目的とする。
このような目的を達成するための本発明の画像認識方法は次の手順で行なわれる。先ず、第1工程においては、受光面にマトリックス状に配置された受光素子においてn回目の受光データを取得する。次の第2工程では、受光素子においてn+1回目の受光データを取得する。その後第3工程では、n+1回目に取得した受光データから、n回目に取得した受光データを差し引いた差分データを算出する。さらに第4工程では、算出した差分データに基づいて画像認識を行う。そして以上の第1工程から第4工程までを繰り返し行なう。
また本発明は、以上のような画像認識方法が行なわれる画像認識装置でもある。この画像認識装置は、マトリックス状に受光素子が配置された受光面と、受光素子においての受光データの取得を繰り返し行なう駆動部とを備えている。また、受光素子においてn+1回目に取得した受光データからn回目に取得した受光データを差し引いた差分データを算出し、当該差分データに基づいて画像認識を行う画像処理部を備えている。
さらに本発明は、以上のような画像認識方法が行なわれる画像入出力装置においては、上述した発光素子が、画像表示を行なう表示面に配置された構成である。
以上のような画像認識方法では、最新(n+1回目)の受光データから、その直前(n回目)に取得した受光データを差し引いた差分データを算出している。このため、この差分データは、受光面の外部環境(明るさや温度など)の変化や受光素子が設けられた装置の内部構成に起因して最新の受光データに生じる経時的なノイズが、直前の受光データによって除去されたものとなる。したがって、このような差分データに基づいて画像認識を行なうことにより、特別な操作を行なうことなく、上述した経時的なノイズを除去した画像認識を行なうことができる。
以上説明したように本発明によれば、特別な操作を必要とせずに、受光面の外部環境の変化や受光素子が設けられた装置の内部構成に起因して受光データに生じる経時的なノイズを除去した画像認識が可能である。この結果、受光面に対して近接または接触した検出対象分の画像認識を、使用者に特定の操作を要求することなく、かつ安定的に良好な精度で行なうことが可能になる。
以下、本発明の画像認識方法、画像認識装置、および画像入出力装置の実施の形態を図面に基づいて詳細に説明する。ここでは、先ず画像認識手段を備えた画像入出力装置の概略構成を説明し、次にこの画像入出力装置に特徴的な構成としてこの装置において行なわれる画像認識方法を説明する。
≪画像入出力装置の構成≫
図1には、画像入出力装置1の概略構成図を示す。この図に示す画像入出力装置1は、例えば表示機能と共に画像入力機能を有する携帯機器である。この画像入出力装置1は、表示機能と共に受光入力機能を有するI/O表示パネル11と、表示ドライブ回路13と、受光ドライブ回路15と、画像処理部17と、アプリケーションプログラムを実行部する機器コントローラ19と、データの通信部21とを備えている。
I/O表示パネル11は、以降で詳細に説明するように、画像表示を行なう表示面が受光面ともなっており、この表示/受光面Sに対してマトリックス状に受光素子が配列されている。これにより、表示/受光面Sに近接または接触した検出対象物での反射光や影が受光データとして検出される構成となっている。
このようなI/O表示パネル11を備えた画像入出力装置1では、機器コントローラ19から出力された表示データが、表示ドライブ回路13に入力されると、入力された表示データに基づいてI/O表示パネル11での表示が行われる。
一方、I/O表示パネル11から入力された受光データは、受光ドライブ回路15に出力され、受光ドライブ回路15に順次記憶され、その後画像処理部17に出力される。画像処理部17では、受光データに基づいて、表示/受光面Sに近接または接触した検出対象物の位置情報、面積情報、形状情報などが解析され、携帯機器の機器コントローラ19に出力される。機器コントローラ19では、I/O表示パネル11からの出力結果に基づいた処理を行い、I/O表示パネル11での表示画像に反映させたり、外部との通信を行う等々の機器の制御を行う。
また、この画像入出力装置1では、受光ドライブ部回路15を駆動部とし、I/O表示パネル11に設けられた受光素子においての受光データの取得が実行される。
本実施形態においては、上述した受光ドライブ回路(駆動部)15による受光素子の駆動、および画像処理部17においての受光データに基づく画像認識処理の手順が特徴的であり、この手順については以降に詳細に説明する。
図2には、I/O表示パネル11のブロック図を示す。この図に示すI/O表示パネル11は、例えば中央の表示領域11aに複数の画素が全面に渡ってマトリクス状に配置された液晶パネル(Liquid Crystal Display:LCD)からなり、線順次動作をしながら表示データに基づく所定の図形や文字などの画像を表示する機能(表示機能)を有する。このI/O表示パネル11には、バックライトが光源として備えられており、I/O表示パネル21の動作タイミングに同期した所定のタイミングで、オン・オフ動作を行うようになっている。また、後述するように、表示領域11aには、受光素子がマトリックス状に配置され、I/O表示パネル11の表示/受光面Sに近接または接触した物体を検知する受光機能(撮像機能)が設けられている。
また、表示領域11aの4辺側には、表示用Hドライバ11b、表示用Vドライバ11c、センサ用Hドライバ11d、センサ用Vドライバ11eが配置され、それぞれ表示領域11aにおける水平方向(H)および垂直方向(V)への駆動が制御される。このうち、表示用Hドライバ11bと表示用Vドライバ11cには、表示データとして表示信号と制御クロックとが供給されて、表示領域11aにマトリクス状に配置された表示画素の駆動が行われる。センサ用Hドライバ11dとセンサ用Vドライバ11eには、読み出し用のクロックが供給されて、そのクロックに同期して読み出された受光信号を受光データとして受光ドライブ回路(15)に供給する。
図3には、表示領域11a内に配置される表示画素回路31、および受光素子を含む受光回路32の例を示す。
このうち表示画素回路31は、例えば水平方向に表示選択線31aが配置され、垂直方向に表示信号線31bが配線され、これらの配線31a,31bの各交差部にスイッチング素子SW1が配置されている。スイッチング素子SW1には、画素電極31cとともに容量素子Csが接続され、表示選択線31aを介して得られる信号によりスイッチング素子SW1がオン・オフ動作し、オン状態のときに表示信号線31bを介して供給される信号に基づいて画素電極31cに画素電圧が印加されて液晶層が駆動される構成となっている。
一方、受光回路32は、表示領域11a内における所定部に配置され、各表示画素回路31に対応して設けられていても良く、複数の表示画素回路31に対して1つの割合で設けられても良い。この受光回路32は、例えば水平方向に電源線32aが配置され、電源線32aに受光素子32bが接続されている。各受光素子32bには、リセットスイッチSW2と容量素子Cdとが接続され、さらにアンプAmpを介して読み出しスイッチSW3が接続されている。そして、リセットスイッチSW2でリセットされた後、受光素子32bで光電変換された電荷に比例した電圧が、読み出しスイッチSW3がオンとなるタイミングで、アンプAmpを介して外部に出力される構成となっている。
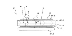
尚、図4には、I/O表示パネル11のパネル構成を示す。この図に示すように、液晶パネルを用いて構成されたI/O表示パネル11は、2枚の透明基板11-1,11-2間に液晶層(図示省略)が挟持され、さらに透明基板11-1,11-2の外側には偏光板11-4,11-5が設けられている。表示/受光面Sと反対側の透明基板11-1における液晶層に向かう面側には、図3を用いて説明した表示画素回路31および受光回路32が設けられており、この透明基板11-1の外側には偏光板11-3を介してバックライト11-5が設けられている。
このようなI/O表示パネル11においては、バックライト11-5をオンにして表示光hを点灯させた状態で画像の表示が行われる。この際、バックライト11-5から放出されて偏光板11-3を通過した表示光hのうち、表示回路に設けた画素電極の駆動によって所定の配向様態となった液晶層を透過した表示光hが、透明基板11-2および偏光板11-4を通過して表示/受光面Sから放出されて画像が表示される。
一方、表示/受光面Sに近接または接触した検出対象物Rにおいて反射した表示光hが、受光回路に設けた受光素子において検出される。さらに、表示/受光面S側から入射する外光Hが、検出対象物Rにおいて遮られた影が、受光回路に設けた受光素子において検出される。そして検出された受光データに基づいて、以下の手順にしたがって検出対象物Rの画像認識が行なわれる。
≪画像認識方法−1≫
図5は、上述した構成の画像入出力装置で行う画像認識方法の第1例を示すフローチャートである。以下、図5のフローチャートおよび先の図1,図4に基づき、必要に応じて他の図を参照しつつ、画像認識方法の第1例を説明する。尚ここでは、表示/受光面Sに近接または接触した検出対象物Rにおいて反射させた表示光hを検出することによって、検出対象物Rの画像を認識する場合を例示した説明を行なうこととする。
先ず、ステップS1では、n=1フレーム目(n=1回目)の受光データ[DataA]を取得する。ここでは、受光ドライブ回路(駆動部)15により、表示/受光面Sに対してマトリックス状に配置された受光素子において受光された1フレーム目の受光信号を、n=1回目の受光データとして取得する。この際、受光素子からの出力を表示/受光面Sの全面において走査して1枚の画像を取得する。
そして例えば、図6の[DataA]に示す1枚の画像が取得されたこととする。簡単の為にこの画像の中のA−A'の一列の信号(受光量)の受光データ[DataA]に注目する。この受光量から、受光素子のノイズが全体に存在し、検出対象物Rのある位置ではその信号レベルが更に加算されて高くなっている。このとき、n=1フレーム目(n=1回目)の画像では左中央付近に検出対象物Rが存在することが分かる。
以上のように取得した受光データ[DataA]は、受光ドライブ回路(駆動部)15の記憶部Aに記憶させる。
次のステップS2では、n+1フレーム目(n+1=2回目)の受光データ[DataB]を取得する。ここでは、受光ドライブ回路(駆動部)15により、表示/受光面Sに対してマトリックス状に配置された受光素子において受光された2フレーム目の受光信号を、n+1=2回目の受光データとして取得する。この際、受光素子からの出力を表示/受光面Sの全面において走査して1枚の画像を取得する。
そして例えば、図6の[DataB]に示す1枚の画像が取得されたこととする。簡単の為にこの画像の中のA−A'の一列の信号(受光量)の受光データ[DataB]に注目する。この受光量から、受光素子のノイズが全体に存在し、検出対象物Rのある位置ではその信号レベルが更に加算されて高くなっている。このとき、n+1フレーム目(n+1=2回目)の画像では右中央付近に検出対象物Rが移動していることが分かる。
取得した受光データ[DataB]は、受光ドライブ回路(駆動部)15の記憶部Bに記憶させる。
次いでステップS3では、n+1回目に取得した受光データ[DataB]から、n回目に取得した受光データ[DataA]を差し引いた差分データ[DataB−A]を算出する。図6の[DataB−A]にこの差分データ[DataB−A]を示す。この差分データ[DataB−A]は、連続して取得された受光データ[DataB]、[DataA]のノイズがキャンセルされたデータとなる。また、最新のn+1回目に取得した受光データ[DataB]はピークPとして現れ、その直前のn回目に取得した受光データ[DataB]はボトムBtとして現れる。
そして次のステップS4以降においては、差分データ[DataB−A]に基づいて画像認識を行う。
ここで、ステップS4以降の手順にしたがって画像認識を行なうに先立ち、画像認識に際して必要となるデータ換算用テーブルの作成について説明する。
<データ換算用テーブルの作成について>
先ず、第1の現象として、上述した差分データ[DataB−A]におけるピークPとボトムBtの絶対値の大きさは、表示/受光面S内においての検出対象物Rの移動距離が近い範囲では、この移動距離に依存して変化する。ここで、検出対象物Rの移動距離は、受光データ[DataA]のピーク位置と受光データ[DataB]のピーク位置との間隔であり、ピークPとボトムBtとの間の距離に相当する。
つまり、図6に示したように、受光データ[DataA],[DataB]における受光量のピーク位置がある程度の範囲内において十分に離れている場合、これらの差分データ[DataB−A]において、それぞれのピークが干渉し合うことはない。このため、差分データ[DataB−A]においてのピークPとボトムBtの絶対値は、ピークPとボトムBtとの距離[d]に依存することなく、受光データ[DataA],[DataB]におけるピークの値とほぼ等しくなる。
これに対して、受光データ[DataA],[DataB]のピーク位置の間隔が小さい場合には、図7に示すように、これらの差分データ[DataB−A]において、それぞれのピークが干渉し合う。これにより、差分データ[DataB−A]においてのピークPとボトムBtの絶対値は、ピークPとボトムBtとの距離[d]に依存して、受光データ[DataA],[DataB]におけるピークの値よりも小さくなる。
そして、図8に示すように、差分データ[DataB−A]におけるピークPとボトムBtの距離[d]がある程度の大きさになるまでの範囲では、この距離[d]に依存してピーク信号量の変化率[β(d)]が増加する。尚、図8においては、例えば図6に示したように、ピークPとボトムBtの距離[d](つまり受光データ[DataA],[DataB]のピーク位置の距離)に、ピークPとボトムBtの絶対値が依存しない領域においての、ピーク信号量を100%としている。
次に第2の現象として、表示/受光面S内において検出対象物Rが高速で移動している場合には、各受光素子上に検出対象物Rが滞在する時間が短くなる。このため、図9に示すように、1フレーム内における検出対象物Rの移動距離[D]に依存して、各受光素子においての受光量は減少する。尚、この移動距離[D]は、ピークPとボトムBtの距離[d]に対応する。また受光量は、受光量の変化率[β(d)]に対応する。
そこで、上記第1の現象と第2の現象とを合わせた、図10に示すデータ換算用テーブルを前もって作成しておく。このデータ換算用テーブルは、図8に示した差分データ[DataB−A]に生じるピーク信号量の変化率[β(d)]と、図9に示した検出対象物Rの移動距離Dに依存する受光素子においての受光量の変化とを合わせたものである。
そして、図5のフローチャートに示す次のステップS4では、ステップS3で算出した差分データ[DataB−A]から、ピークPとボトムBtとの距離[d]を計測する。例えば図7の差分データ[DataB−A]の場合は、距離[d]=0.2と計測される。
次いでステップS5では、予め取得しておいた図10のデータ換算用テーブルと、ステップS4で計測した距離[d](=0.2)とに基づいて、差分データ[DataB−A]におけるピーク信号量の変化率[β(d)](=27.5%)を取得する。
その後、ステップS6では、差分データ[DataB−A]を二値化するための標準閾値Tを、ステップS5で取得したピーク信号量の変化率[β(d)](=27.5%)に合わせた閾値T’=T×β(d)に変換する。ここで、標準閾値Tは、例えばピーク信号量の変化率[β(d)](=100%)の半値幅の位置などであり、標準閾値T=40とする。これにより、閾値T’=T×[β(d)]-1=40×0.275=11に変換される(図7参照)。
次に、ステップS7では、設定した閾値T’にて、差分データ[DataB−A]を二値化し、閾値T’以上のピーク信号量を1、閾値T’未満のピーク信号量を0とする。
そしてステップS8では、二値化したデータを画像情報として出力し、表示/受光面S内における検出対象物Rの位置、大きさ、形状を検出する。
その後ステップS9では、n+1フレーム目(n+1=2回目)の受光データ[DataB]を、受光データ[DataA]に置き換えて受光ドライブ回路15の記憶部Aに記憶させる。また、n+1をnに置き換える。
以降、ステップS2に戻り、ステップS2〜ステップS9の処理を順次繰り返し行う。この間、受光ドライブ回路(駆動部)15での駆動により、受光素子においての受光データの取得を繰り返し行なう。
以上ステップS1〜ステップS9の処理は、画像処理部17において行われる。
以上の第1例の方法によれば、最新(n+1回目)の受光データ[DataB]から、その直前(n回目)に取得した受光データ[DataA]を差し引いた差分データ[DataB−A]を算出している。このため、この差分データ[DataA]は、表示/受光面Sを備えた携帯用の画像入出力装置1の外部環境(明るさや温度など)の変化や画像入出力装置1の内部構成に起因して最新の受光データ[DataB]に生じる経時的なノイズが、直前の受光データ[DataA]によって除去されたものとなる。
したがって、このような差分データ[DataB−A]に基づいて画像認識を行なうことにより、特別な操作を行なうことなく、上述した経時的なノイズを安定的に除去した高精度な画像認識を行なうことが可能である。またこの方法は、特に表示/受光面S内においてX−Y方向に移動する検出対象物Rの画像検出に有効である。
≪画像認識方法−2≫
図11は、上述した構成の画像入出力装置で行う画像認識方法の第2例を示すフローチャートである。このフローチャートに示す第2例の手順が、図5のフローチャートを用いて説明した第1例の手順と異なるところは、差分データ[DataB−A]を二値化するためのステップS6’,S7’にあり、その他のステップS1〜S5、S8,S9は同様である。以下、図11のフローチャートに基づき、必要に応じて他の図を参照しつつ、画像認識方法の第2例を説明する。尚、図5のフローチャートと同様の処理には同一のステップ番号を付して説明を簡略化する。
先ず、ステップS1〜S5までを、上述した第1例と同様に行なう。
すなわち、ステップS1においてn回目の受光データ[DataA]を取得し、ステップS2においてn+1回目の受光データ[DataB]を取得し、さらにステップS3において差分データ[DataB−A]を算出する。次に、ステップS4においては、差分データ[DataB−A]からピークPとボトムBtとの距離[d](=0.2)を計測する。
その後、ステップS5においては、予め取得しておいた図10のデータ換算用テーブルとステップS4で計測した距離[d](=0.2)とに基づいて、差分データ[DataB−A]におけるピーク信号量の変化率[β(d)](=27.5%)を取得する。尚、図10のデータ換算用テーブルは、第1例と同様にして得る。
そして次のステップS6'では、ステップS5において取得した変化率[β(d)]に基づいて、図12に示すように差分データ[DataB−A]における受光量差[I]を増幅して増幅受光量差[I’]を得る。この際、例えば増幅受光量差[I’]=受光量差[I]×(1÷[β(d)])とする。
次に、ステップS7’では、増幅受光量差[I’]とした差分データ[DataB−A]を二値化し、標準閾値T以上のピーク信号量を1、標準閾値T未満のピーク信号量を0とする。
その後は、ステップS8,S9を第1例と同様に行なう。先ず、ステップS8では二値化したデータを画像情報として出力する。またステップS9では、n+1フレーム目(n+1=2回目)の受光データ[DataB]を、受光データ[DataA]に置き換えて受光ドライブ回路15の記憶部Aに記憶させる。また、n+1をnに置き換える。
以降、ステップS2に戻り、ステップS2〜ステップS9の処理を順次繰り返し行う。この間、受光ドライブ回路(駆動部)15での駆動により、受光素子においての受光デー
タの取得を繰り返し行なう。
以上ステップS1〜ステップS6’,S7’〜ステップS9の処理は、画像処理部17において行われる。
以上の第2例の方法であっても、最新(n+1回目)の受光データ[DataB]から、その直前(n回目)に取得した受光データ[DataA]を差し引いた差分データ[DataB−A]を算出している。したがって、第1例と同様に、このような差分データ[DataB−A]に基づいて画像認識を行なうことにより、特別な操作を行なうことなく、上述した経時的なノイズを安定的に除去した高精度な画像認識を行なうことが可能である。またこの方法は、特に表示/受光面S内においてX−Y方向に移動する検出対象物Rの画像検出に有効である。
≪画像認識方法−3≫
図13は、上述した構成の画像入出力装置で行う画像認識方法の第3例を示すフローチャートである。このフローチャートに示す第3例の手順が、図5のフローチャートを用いて説明した第1例の手順と異なるところは、ステップS4とステップS5との間に、距離[d]に関して判断するステップS4aを加えたところにある。以下、図13のフローチャートに基づき、必要に応じて他の図を参照しつつ、画像認識方法の第3例を説明する。尚、図5のフローチャートと同様の処理には同一のステップ番号を付して説明を簡略化する。
先ず、ステップS1〜S4までは、上述した第1例および第2例と同様に行なう。
すなわち、ステップS1においてn回目の受光データ[DataA]を取得し、ステップS2においてn+1回目の受光データ[DataB]を取得し、さらにステップS3において差分データ[DataB−A]を算出する。次に、ステップS4においては、差分データ[DataB−A]からピークPとボトムBtとの距離[d]を計測する。
その後、新たに加えたステップS4aにおいては、ステップS4で計測したピークPとボトムBtとの距離[d]が、所定の距離[d1]よりも大きいか否かを判断する。ここでは、表示/受光面S内においての検出対象物Rの移動距離、すなわち差分データ[DataB−A]におけるピークPとボトムBtとの間の距離[d]が極端に小さい場合、差分データ[DataB−A]におけるピークPの出力信号のレベルも小さくなり、検出が困難になる。
そこでステップS4aにおいて、ピークPとボトムBtとの距離[d]が、所定の距離[d1]よりも大きい(Yes)と判断された場合にのみ、ステップS5に進む。以降、ステップS5〜ステップS9は第1例と同様に行なう。
すなわち先ず、ステップS5では、予め取得しておいた図10のデータ換算用テーブルとステップS4で計測した距離[d]とに基づいて、差分データ[DataB−A]におけるピーク信号量の変化率[β(d)]を取得する。尚、図10のデータ換算用テーブルは、第1例と同様にして得る。
次のステップS6では、差分データ[DataB−A]を二値化するための標準閾値Tを、ステップS5で取得したピーク信号量の変化率[β(d)](=27.5%)に合わせた閾値T’=T×β(d)に変換する。
次に、ステップS7では、設定した閾値T’にて、差分データ[DataB−A]を二値化する。
そしてステップS8では、二値化したデータを画像情報として出力する。
さらにステップS9では、受光データ[DataB]を受光データ[DataA]に置き換えると共に、n+1をnに置き換え、ステップS2に戻る。
一方、ステップS4aにおいて、ピークPとボトムBtとの距離[d]が、所定の距離[d1]よりも大きくない(No)と判断された場合には、そのままステップS2に戻り、n+1回目の受光データ[DataB]を改めて取得しなおす。つまり、ステップS4aにおいて差分データ[DataB−A]に生じるピークとボトムとの距離[d]が所定値[d1]よりも大きいと判断されるまで、n+1回目の受光データ[DataB]を取得しなおす。そして、距離[d]が所定値[d1]よりも大きいと判断された場合にのみ、その際に取得した受光データ[DataB]を画像情報として採用するべく、以降のステップS5〜ステップS9に進むのである。
尚、ステップS4aにおいて、ピークPとボトムBtとの距離[d]が、所定の距離[d1]よりも大きくない(No)と判断された場合には、表示/受光面Sに対して検出対象物Rが移動していないと判断し、その前に出力した二値化データを出力し続けても良い。
以上ステップS1〜ステップS4a〜ステップS9の処理は、画像処理部17において行われる。
以上の第3例の方法であっても、最新(n+1回目)の受光データ[DataB]から、その直前(n回目)に取得した受光データ[DataA]を差し引いた差分データ[DataB−A]を算出している。したがって、第1例と同様に、このような差分データ[DataB−A]に基づいて画像認識を行なうことにより、特別な操作を行なうことなく、上述した経時的なノイズを安定的に除去した高精度な画像認識を行なうことが可能である。またこの方法は、特に表示/受光面S内においてX−Y方向に移動する検出対象物Rの画像検出に有効である。
さらに第3例の方法によれば、新たにステップS4aを加えて差分データ[DataB−A]に生じるピークとボトムとの距離[d]が所定値[d1]よりも大きいと判断された場合にのみ、その際に取得した受光データ[DataB]を画像情報として採用するようにした。これにより、表示/受光面S内においての検出対象物Rの移動距離、すなわち差分データ[DataB−A]におけるピークPとボトムBtとの間の距離[d]が極端に小さく、差分データ[DataB−A]におけるピークPの出力信号のレベルが十分でない場合には、その受光データ[DataB]を用いずに、その前に出力した二値化データを出力し続けることで、出力されるデータが消失することを防止した画像認識が可能になる。
≪画像認識方法−4≫
図14は、上述した構成の画像入出力装置で行う画像認識方法の第4例を示すフローチャートである。このフローチャートに示す第4例の手順は、先の第3例を第2例に応用した手順であり、図11のフローチャートを用いて説明した第2例の手順に対して、第3例で追加したステップS4aを加えた手順である。ステップS4a以外の他のステップS1〜ステップS6’,7’〜ステップS9は第2例と同様である。以下、図14のフローチャートに基づき、必要に応じて他の図を参照しつつ、画像認識方法の第4例を説明する。尚、先のフローチャートと同様の処理には同一のステップ番号を付して説明を簡略化する。
先ず、ステップS1〜S4までを、上述した第1例〜第3例と同様に行なう。
すなわち、ステップS1においてn回目の受光データ[DataA]を取得し、ステップS2においてn+1回目の受光データ[DataB]を取得し、さらにステップS3において差分データ[DataB−A]を算出する。次に、ステップS4においては、差分データ[DataB−A]からピークPとボトムBtとの距離[d]を計測する。
その後、新たに加えたステップS4aにおいては、ステップS4で計測したピークPとボトムBtとの距離[d]は、所定の距離[d1]よりも大きいか否かを判断する。ここでは、表示/受光面S内においての検出対象物Rの移動距離、すなわち差分データ[DataB−A]におけるピークPとボトムBtとの間の距離[d]が極端に小さい場合、差分データ[DataB−A]におけるピークPの出力信号のレベルも小さくなり、検出が困難になる。
そこでステップS4aにおいて、ピークPとボトムBtとの距離[d]が、所定の距離[d1]よりも大きい(Yes)と判断された場合にのみ、ステップS5に進む。
先ずステップS5は、第1例と同様に行なえば良く、予め取得しておいた図10のデータ換算用テーブルとステップS4で計測した距離[d]とに基づいて、差分データ[DataB−A]におけるピーク信号量の変化率[β(d)]を取得する。尚、図10のデータ換算用テーブルは、第1例と同様にして得る。
次のステップS6'では、ステップS5において取得した変化率[β(d)]に基づいて、図12に示すように差分データ[DataB−A]における受光量差[I]を増幅して増幅受光量[I’]を得る。増幅の手順は第2例のステップS6'と同様である。
次に、ステップS7’では、増幅受光量[I’]とした差分データ[DataB−A]を二値化し、標準閾値T以上のピーク信号量を1、標準閾値T未満のピーク信号量を0とする。
そしてステップS8では、二値化したデータを画像情報として出力する。
さらにステップS9では、受光データ[DataB]を受光データ[DataA]に置き換えると共に、n+1をnに置き換え、ステップS2に戻る。
一方、ステップS4aにおいて、ピークPとボトムBtとの距離[d]が、所定の距離[d1]よりも大きくない(No)と判断された場合には、そのままステップS2に戻り、n+1回目の受光データ[DataB]を改めて取得しなおす。つまり、ステップS4aにおいて差分データ[DataB−A]に生じるピークとボトムとの距離[d]が所定値[d1]よりも大きいと判断されるまで、n+1回目の受光データ[DataB]を取得しなおす。そして、距離[d]が所定値[d1]よりも大きいと判断された場合にのみ、その際に取得した受光データ[DataB]を画像情報として採用するべく、以降のステップS5〜ステップS9に進むのである。
尚、ステップS4aにおいて、ピークPとボトムBtとの距離[d]が、所定の距離[d1]よりも大きくない(No)と判断された場合には、表示/受光面Sに対して検出対象物Rが移動していないと判断し、その前に出力した二値化データを出力し続けても良いことも第3例と同様である。
以上ステップS1〜ステップS4a〜ステップS9の処理は、画像処理部17において行われる。
以上の第4例の方法であっても、第3例と同様に、特別な操作を行なうことなく経時的なノイズを安定的に除去した高精度な画像認識を行なうことが可能であり、また新たなステップS4aを加えたことにより、表示/受光面S内においての検出対象物Rの移動距離が小さい場合であっても、出力されるデータが消失することを防止した画像認識が可能になる。
≪画像認識方法−5≫
図15は、上述した構成の画像入出力装置で行う画像認識方法の第5例を示すフローチャートである。このフローチャートに示す第5例の手順は、図13のフローチャートを用いて説明した第3例の手順に対して、さらにステップS7a,S7b,S8’を加えたところにある。以下、図15のフローチャートに基づき、必要に応じて他の図を参照しつつ、画像認識方法の第5例を説明する。尚、先のフローチャートと同様の処理には同一のステップ番号を付して説明を簡略化する。
先ず、ステップS1〜S4までは、上述した第1例〜第4例と同様に行なう。
すなわち、ステップS1においてn回目の受光データ[DataA]を取得し、ステップS2においてn+1回目の受光データ[DataB]を取得し、さらにステップS3において差分データ[DataB−A]を算出する。次に、ステップS4においては、差分データ[DataB−A]からピークPとボトムBtとの距離[d]を計測する。
その後、ステップS4aにおいては、第3例と同様に、ステップS4で計測したピークPとボトムBtとの距離[d]は、所定の距離[d1]よりも大きいか否かを判断する。そして、このステップS4aにおいて、ピークPとボトムBtとの距離[d]が、所定の距離[d1]よりも大きい(Yes)と判断された場合にのみ、ステップS5に進む。
ステップS5では、予め取得しておいた図10のデータ換算用テーブルとステップS4で計測した距離[d]とに基づいて、差分データ[DataB−A]におけるピーク信号量の変化率[β(d)]を取得する。尚、図10のデータ換算用テーブルは、第1例と同様にして得る。
次のステップS6では、差分データ[DataB−A]を二値化するための標準閾値Tを、ステップS5で取得したピーク信号量の変化率[β(d)](=27.5%)に合わせた閾値T’=T×β(d)に変換する。
次に、ステップS7では、設定した閾値T’にて、差分データ[DataB−A]を二値化する。
その後、新たに加えたステップS7aでは、ステップS7で得た二値化データを二値化データ[DataC]として記憶する。先に二値化データ[DataC]が記憶されている場合には、ステップS7で得た二値化データを新たな二値化データ[DataC]として書き換える。
その後ステップS8では、ステップS7aで記憶されまたは書き換えられた新たな二値化データ[DataC]を画像情報として出力する。
さらにステップS9では、受光データ[DataB]を受光データ[DataA]に置き換えると共に、n+1をnに置き換え、ステップS2に戻る。
一方、ステップS4aにおいて、ピークPとボトムBtとの距離[d]が、所定の距離[d1]よりも大きくない(No)と判断された場合には、新たに加えたステップS7bに進む。
ステップS7bでは、既に記憶されている二値化データ[DataC]を読み出す。
そして次のステップS8’では、ステップS7bで読み出した二値化データ[DataC]を画像情報として出力する。その後は、ステップS2に戻り、n+1回目の受光データ[DataB]を改めて取得しなおす。これにより、ステップS4aにおいて差分データ[DataB−A]に生じるピークとボトムとの距離[d]が所定値よりも大きいと判断されるまで、n+1回目の受光データ[DataB]を取得しなおす。そして、距離[d]が所定値よりも大きいと判断された場合にのみ、その際に取得した受光データ[DataB]を画像情報として採用するべく、以降のステップS5以降に進むのである。
以上の第5例の方法であっても、第3例と同様に、特別な操作を行なうことなく経時的なノイズを安定的に除去した高精度な画像認識を行なうことが可能であり、またステップS4aを加えたことにより、表示/受光面S内においての検出対象物Rの移動距離が小さい場合であっても、出力されるデータが消失することを防止した画像認識が可能になる。また特に第5例では、ステップS7b、S8’を加えて最新に記憶された二値化データ[DataC]を読み出すことにより、より自然な画像認識を行なうことが可能になる。
尚、この第5例の手順は、先の第4例にも適用することができる。この場合、第4例の手順を示す図14のフローチャートにおけるステップ7’の後に、上述したステップS7aを追加する。また、図14のフローチャートにおけるステップS4aとステップS2との間に、ステップS4a側から順に上述したステップS7bとステップS8’とを追加すれば良く、本第5例と同様の効果を得ることができる。
≪画像認識方法−6≫
図16は、上述した構成の画像入出力装置で行う画像認識方法の第6例を示すフローチャートである。このフローチャートに示す第6例の手順は、図15のフローチャートを用いて説明した第5例の手順に対して、さらにステップS4bの判断を加えたところにある。以下、図16のフローチャートに基づき、必要に応じて他の図を参照しつつ、画像認識方法の第6例を説明する。尚、先のフローチャートと同様の処理には同一のステップ番号を付して説明を簡略化する。
先ず、ステップS1〜S4、さらに次のステップS4aにおいて距離ピークPとボトムBtとの距離[d]が、所定の距離[d1]よりも大きい(Yes)と判断された場合に進むステップ5〜ステップS9までは、第5例と同様に行なう。
一方、ステップS4aにおいて、ステップS4で計測したピークPとボトムBtとの距離[d]が、所定の距離[d1]よりも大きくない(No)と判断された場合、新たに加えたステップS4bに進む。
ステップS4bでは、二値化データ[DataC]の読み出し回数がk回以上か否かを判断する。ここで、二値化データ[DataC]の読み出し回数とは、次のステップS7bにおいての二値化データ[DataC]の読み出し回数であり、連続して同一の二値化データ[DataC]が読み出された回数であることとする。
このステップS4bにおいて、二値化データ[DataC]の読み出し回数がk回以上ではない(No)と判断された場合には、次のステップS7bに進み記憶されている二値化データ[DataC]を読み出す。
そして次のステップS8’では、ステップS7bで読み出した二値化データ[DataC]を画像情報として出力する。その後は、ステップS2に戻り、n+1回目の受光データ[DataB]を改めて取得しなおす。
一方、ステップ4bにおいて、二値化データ[DataC]の読み出し回数がk回以上である(Yes)と判断された場合には、ステップS5に進む。そして、先のステップS4で計測した距離[d]に基づいてピーク信号量の変化率[β(d)]を取得し、さらにステップS6以降を上述と同様に行なう。つまり、前回に得た画像情報である二値化データ[DataC]を連続して用いた回数が所定回kに達した場合は、その直前に取得した受光データ[DataB]に基づいて次の画像情報を得るのである。
以上の第6例の方法であっても、第3例と同様に、特別な操作を行なうことなく経時的なノイズを安定的に除去した高精度な画像認識を行なうことが可能であり、またステップS4aを加えたことにより、表示/受光面S内においての検出対象物Rの移動距離が小さい場合であっても、出力されるデータが消失することを防止した画像認識が可能になる。また特に第6例では、第5例と同様に、ステップS7b、S8’を加えて最新に記憶された二値化データ[DataC]を読み出すことにより、より自然な画像認識を行なうことが可能になる。しかも第6例では、ステップS4bを追加することにより、記憶されている二値化データ[DataC]を連続して用いた回数が所定回kに達した場合には、その直前に取得した受光データ[DataB]に基づいて次の画像情報を得るようにした。これにより、さらに自然な画像認識を行なうことが可能になる。
尚、この第6例の手順は、先の第4例にも適用することができる。この場合、第4例の手順を示す図14のフローチャートにおけるステップ7’の後に、上述したステップS7aを追加する。また、図14のフローチャートにおけるステップS4aとステップS2との間に、ステップS4a側から順に上述したステップS4bとステップS7bとステップS8’とを追加すれば良く、本第6例と同様の効果を得ることができる。
尚、以上説明した第1例〜第6例の手順においては、表示/受光面Sに近接または接触した検出対象物Rにおいて反射させた表示光hを検出することによって、検出対象物Rの画像を認識する場合を例示した。つまり、図17に示すように、表示光hを点灯させた状態で、1受光フレーム内において表示/受光面Sの全面で受光素子からの出力を走査することにより、検出対象物Rで反射した表示光hの検出を行なっている。
このため、ステップS6においては差分データ[DataB−A]を二値化するための標準閾値Tを、ステップS5で取得したピーク信号量の変化率[β(d)]に合わせた閾値T’に変換した。
しかしながら、第1例〜第6例の手順は、検出対象物Rで遮られた外光Hを検出することによって検出対象物Rの画像を認識する方法にも適用できる。
≪変形例1≫
第1例〜第6例の手順を、検出対象物Rで遮られた外光Hを検出することによって検出対象物Rの画像を認識する方法に適用する場合の変形例を説明する。ここでは、一例として図5のフローチャートおよび先の図1,図4に基づき、必要に応じて他の図を参照しつつ、画像認識方法の第1例の変形例1を説明する。
先ず、ステップS1では、n=1フレーム目(1回目)の受光データ[DataA]を取得する。ここでは、受光ドライブ回路(駆動部)15により、表示/受光面Sに対してマトリックス状に配置された受光素子において受光された1回目の受光信号を、n=1回目の受光データとして取得する。この際、受光素子からの出力を表示/受光面Sの全面において走査して1枚の画像を取得する。
そして例えば、図18の[DataA]に示す1枚の画像が取得されたこととする。簡単の為にこの画像の中のA−A'の一列の信号(受光量)の受光データ[DataA]に注目する。この受光量から、受光素子のノイズが全体に存在し、検出対象物Rのある位置ではその信号レベルが低くなっている。このとき、n=1回目の画像では左中央付近に検出対象物Rが存在することが分かる。
以上のように取得した受光データ[DataA]は、受光ドライブ回路(駆動部)15の記憶部Aに記憶させる。
次のステップS2では、n+1=2フレーム目(2回目)の受光データ[DataB]を取得する。ここでは、受光ドライブ回路(駆動部)15により、表示/受光面Sに対してマトリックス状に配置された受光素子において受光された2フレーム目の受光信号を、n+1=2回目の受光データとして取得する。この際、受光素子からの出力を表示/受光面Sの全面において走査して1枚の画像を取得する。
そして例えば、図18の[DataB]に示す1枚の画像が取得されたこととする。簡単の為にこの画像の中のA−A'の一列の信号(受光量)の受光データ[DataB]に注目する。この受光量から、受光素子のノイズが全体に存在し、検出対象物Rのある位置ではその信号レベルが低くなっている。このとき、n+1=2回目の画像では右中央付近に検出対象物Rが移動していることが分かる。
取得した受光データ[DataB]は、受光ドライブ回路(駆動部)15の記憶部Bに記憶させる。
次いでステップS3では、n+1回目に取得した受光データ[DataB]から、n回目に取得した受光データ[DataA]を差し引いた差分データ[DataB−A]を算出する。図18の[DataB−A]にこの差分データ[DataB−A]を示す。この差分データ[DataB−A]は、連続して取得された受光データ[DataB]、[DataA]のノイズがキャンセルされたデータとなる。また、最新のn+1回目に取得した受光データ[DataB]はボトムBtとして現れ、その直前の最新のn回目に取得した受光データ[DataA]はピークPとして現れる。
そして次のステップS4以降においては、差分データ[DataB−A]に基づいて画像認識を行う。
ここで、ステップS4以降の手順にしたがって画像認識を行なうに先立ち、先の変形例で説明したと同様にして、画像認識に際して必要となるデータ換算用テーブルを作成しておく。
そして、図5のフローチャートに示す次のステップS4では、ステップS3で算出した差分データ[DataB−A]から、ピークPとボトムBtとの距離[d]を計測する。例えば図18の差分データ[DataB−A]の場合は、距離[d]=1.0と計測される。
次いでステップS5では、予め取得しておいたデータ換算用テーブルと、ステップS4で計測した距離[d](=1.0)とに基づいて、差分データ[DataB−A]におけるピーク信号量の変化率[β(d)]を取得する。
その後、ステップS6では、差分データ[DataB−A]を二値化するための標準閾値Tを、ステップS5で取得したピーク光量の変化率[β(d)]に合わせた閾値T’=T×β(d)に変換する。ここでは、標準閾値Tをマイナス側に設定し、ステップS5で取得したボトム光量の変化率[β(d)]に合わせたマイナス側の閾値T’に変換する。これにより、上述した差分データ[DataB−A]に生じるボトムを画像情報として用いるようにする。この点が表示光hの反射を検出する第1例とは異なるところである。
以下、ステップS7以降は、第1例と同様の手順を行うことにより、最新(n+1回目)の受光データ[DataB]に基づいて、二値化したデータを画像情報として繰り返し出力させる。
以上のように、検出対象物Rで遮られた外光Hを検出することによっても、最新(n+1回目)の受光データ[DataB]から、その直前(n回目)に取得した受光データ[DataA]を差し引いた差分データ[DataB−A]を算出しているため、第1例と同様の効果を得ることが可能である。
尚、以上の変形例では、上述した差分データ[DataB−A]に生じるボトムを画像情報として用いるべく、差分データ[DataB−A]を二値化するための標準閾値Tをマイナス側に設定した場合を説明した。しかしながら、最新のn+1回目に取得した受光データ[DataB]がピークPtとして現れ、その直前のn回目に取得した受光データ[DataA]がボトムBとして現れるように、例えば差分データ[DataB−A]の符号(±)を逆にする処理を行っても良い。この場合、標準閾値Tは第1例と同様にプラス側で良い。
以上のような検出対象物Rで遮られた外光Hを検出することによって検出対象物Rの画像を認識する変形例は、第1例だけではなく、第2例〜第6例の変形例としても適用できる。それぞれの例においても、標準閾値Tをマイナス側に設定するか、または最新のn+1回目に取得した受光データ[DataB]がピークPとして現れ、その直前のn回目に取得した受光データ[DataA]がボトムBtとして現れるように処理を行えば良く、各例と同様の効果を得ることが可能である。
尚、以上説明した変形例の手順においては、表示/受光面Sに近接または接触した検出対象物Rで遮られた外光Hを検出することによって、検出対象物Rの画像を認識する場合を例示した。このため、図19に示すように、表示光hを点灯させることによって表示/受光面Sにおいて画像表示を行なう合間に、表示光hの点灯を停止させる。そして、表示光hの点灯を停止させた1受光フレーム内において、表示/受光面Sの全面で受光素子からの出力を走査することにより、検出対象物Rで遮られた外光Hの検出を行なう。
≪変形例2≫
次に、第1例〜第6例の手順の変形例2として、検出対象物Rにおいて反射させた表示光hと、検出対象物Rで遮られた外光Hとの両方を検出して検出対象物Rの画像を認識する方法を、図20に基づいて説明する。
この図に示すように、画像入出力装置においては表示光hを点滅させた画像表示が行われていることとする。
そして、先ず表示光hが点灯している状態で、検出対象物Rにおいて反射させた表示光hの受光データに関して、n(h)=1フレーム目[n(h)=1回目]の受光データ[DataA(h)]として取得する。この際、受光素子からの出力を表示/受光面Sの全面において走査して1枚の画像を取得する。
そして例えば、[DataA(h)]に示す1枚の画像が取得されたこととする。簡単の為にこの画像の中のA−A'の一列の信号(受光量)の受光データ[DataA(h)]に注目する。この受光量から、受光素子のノイズが全体に存在し、検出対象物Rのある位置ではその信号レベルが高くなっている。このとき、表示光hに関するn(h)=1回目の画像では左中央付近に検出対象物Rが存在することが分かる。
以上のように取得した受光データ[DataA(h)]は、受光ドライブ回路(駆動部)15の記憶部に記憶させる。
次に、表示光hが消灯した状態で、検出対象物Rで遮られた外光Hの受光データに関して、n(H)=1フレーム目[n(H)=1回目]の受光データ[DataA(H)]を取得する。この際、受光素子からの出力を表示/受光面Sの全面において走査して1枚の画像を取得する。
そして例えば、[DataA(H)]に示す1枚の画像が取得されたこととする。簡単の為にこの画像の中のA−A'の一列の信号(受光量)の受光データ[DataA(H)]に注目する。この受光量から、受光素子のノイズが全体に存在し、検出対象物Rのある位置ではその信号レベルが低くなっている。このとき、外光Hに関するn(H)=1回目の画像では画面中央付近に検出対象物Rが移動していることが分かる。
取得した受光データ[DataA(H)]は、受光ドライブ回路(駆動部)15の記憶部に記憶させる。
そして、後に取得した外光Hに関するn(H)=1回目の受光データ[DataA(H)]から、先に取得した表示光hに関するn(h)=1回目の受光データ[DataA(h)]を差し引いたn=1回目のn差分データ[DataA(H)−A(h)]を算出する。そして、n=1回目に算出したn差分データ[DataA(H)−A(h)]を、n差分データ[DataA]と置き換える。
また、次に表示光hが点灯した状態で、検出対象物Rにおいて反射させた表示光hの受光データに関して、n(h)+1=2フレーム目[n(h)+1=2回目]の受光データ[DataB(h)]として取得する。この際、受光素子からの出力を表示/受光面Sの全面において走査して1枚の画像を取得する。
以上のように取得した受光データ[DataB(h)]は、受光ドライブ回路(駆動部)15の記憶部に記憶させる。
次に、表示光hが消灯した状態で、検出対象物Rで遮られた外光Hの受光データに関して、n(H)+1=2フレーム目[n(H)+1=2回目]の受光データ[DataB(H)]を取得する。この際、受光素子からの出力を表示/受光面Sの全面において走査して1枚の画像を取得する。
取得した受光データ[DataB(H)]は、受光ドライブ回路(駆動部)15の記憶部に記憶させる。
そして、後に取得した外光Hに関するn(H)+1=2回目の受光データ[DataB(H)]から、先に取得した表示光hに関するn(h)+1=2回目の受光データ[DataB(h)]を差し引いたn+1=2回目のn+1差分データ[DataB(H)−B(h)]を算出する。そして、n+1=2回目に算出したn+1差分データ[DataB(H)−B(h)]を、n+1差分データ[DataB]と置き換える。
次に、n+1差分データ[DataB]から、n差分データ[DataA]を差し引いた、差分データ[DataB−A]を算出する。この差分データ[DataB−A]は、表示光hおよび外光Hに関してそれぞれ2回連続して取得された受光データのノイズがキャンセルされたデータとなる。また、最新のn+1差分データ[DataB]はピークPとして現れ、その直前のn差分データ[DataA]はボトムBtとして現れる。
以上の後、差分データ[DataB−A]に基づいて、第1例〜第6例におけるステップS4以降の手順と同様に画像認識を行う。この際、n+1差分データ[DataB]を、n差分データ[DataA]と置き換える。これにより、最新の受光データ[DataB]に基づいて、二値化したデータを画像情報として繰り返し出力させる。
以上のように、出対象物Rにおいて反射させた表示光hと、検出対象物Rで遮られた外光Hとの両方を検出することによっても、表示光hおよび外光Hに関して、それぞれの最新(n+1回目)の受光データ[DataB(h)]および[DataB(H)]から、その直前(n回目)に取得した受光データ[DataA(h)]および[DataA(H)]を差し引いて最新の差分データ[DataB−A]を算出して用いている。このため、第1例〜第6例のそれぞれと同様の効果を得ることが可能である。
尚、以上の変形例2には、変形例1を適用することも可能である。例えば、上述した変形例2では、n差分データ[DataA(H)−A(h)]およびn+1差分データ[DataB(H)−B(h)]の算出には、表示光hの受光データと、これに続いて検出される外光Hの受光データとを用いていた。しかしながらこれとは逆に、n回目の差分データの算出には、外光Hの受光データと、これに続いて検出される表示光hの受光データとを用いても良い。
この場合には、n差分データ[DataA(h)−A(H)]となり、n+1差分データ[DataB(h)−B(H)]となる。そして、変形例1で説明したように、二値化のための標準閾値Tをマイナス側に設定するか、または最新のn+1差分データ[DataB]がピークPとして現れ、その直前のn差分データ[DataA]がボトムBtとして現れるように処理を行えば良い。
さらに、この変形例2では、先ず図20を用いて説明したように画像認識を行った後、上述したように変形例1を適用した画像認識を行い、これらを交互に繰り返しても良い。
この場合、先ず、図20を用いて説明したように、n差分データ[DataA(H)−A(h)]およびn+1差分データ[DataB(H)−B(h)]から算出した差分データ[DataB−A]に基づいた画像認識を行う。次に、n差分データおよびn+1差分データに用いる受光フレームを1つづらし、変形例1を適用してn差分データ[DataA(h)−A(H)]およびn+1差分データ[DataB(h)−B(H)]から算出した差分データ[DataB−A]に基づいた画像認識を行う。そしれ、これらの画像認識を繰り返し行う。これにより、上述した変形例2の処理による画像認識と、変形例2に変形例1を適用した画像認識とが繰り返し行なわれることになる。
これにより、変形例2のみを適用した場合と比較して、動きの滑らかな画像認識が可能になる。
実施形態の画像入出力装置の概略構成図である。 実施形態の画像出力装置に設けられるI/O表示パネルのブロック図である。 I/O表示パネルの表示領域内に配置される画素回路および受光回路の一例を示す回路図である。 I/O表示パネルのパネル構成を示す図である。 画像入出力装置において行う画像認識方法の第1例を示すフローチャートである。 受光素子において取得した受光データと差部データとを示す図である。 差分データにおける閾値の設定を示す図である。 距離[d]とピーク信号量の変化率[β]との関係を示す図である。 1フレーム内における検出対象物Rの移動距離[D]と受光素子においての受光量との関係を示す図である。 図8と図9とを合わせたデータ換算用テーブルの図である。 画像入出力装置において行う画像認識方法の第2例を示すフローチャートである。 差分データ[DataB−A]における受光量差[I]を増幅して増幅受光量差[I’]とした例を説明する図である。 画像入出力装置において行う画像認識方法の第3例を示すフローチャートである。 画像入出力装置において行う画像認識方法の第4例を示すフローチャートである。 画像入出力装置において行う画像認識方法の第5例を示すフローチャートである。 画像入出力装置において行う画像認識方法の第6例を示すフローチャートである。 受光素子からの受光データの出力のタイミングの例を示す図である。 実施形態の変形例1を説明するための受光データと差部データとを示す図である。 変形例においての受光素子からの受光データの出力のタイミングの例を示す図である。 実施形態の変形例2を説明するための図である。
符号の説明
1…画像入出力装置(画像認識装置)、15…受光ドライブ部回路(駆動部)、19…画像処理部、32b…受光素子、[DataA],[DataB]…受光データ、[DataB−A]…差分データ、Bt…ボトム、[d]…ピークとボトムとの距離、h…表示に用いる光、H…外光、P…ピーク、S…表示/受光面

Claims (10)

  1. 受光面にマトリックス状に配置された受光素子においてn回目の受光データを取得する第1工程と、
    前記受光素子においてn+1回目の受光データを取得する第2工程と、
    前記n+1回目に取得した受光データから前記n回目に取得した受光データを差し引いた差分データを算出する第3工程と、
    前記差分データに基づいて画像認識を行う第4工程とを備えた
    画像認識方法。
  2. 前記第4工程では、
    前記差分データに生じるピークまたはボトムの何れか一方を画像情報とする
    請求項1記載の画像認識方法。
  3. 前記第4工程では、前記差分データに生じるピークとボトムとの距離に応じて、前記画像情報を二値化するための閾値を調整する
    請求項2記載の画像認識方法。
  4. 前記第4工程では、前記差分データに生じるピークとボトムとの距離に応じて、前記画像情報を増幅する
    請求項2記載の画像認識方法。
  5. 前記第4工程では、前記差分データに生じるピークとボトムとの距離が所定値よりも大きいと判断された場合にのみ、前記画像情報を得る
    請求項2〜4の何れかに記載の画像認識方法。
  6. 前記第4工程では、前記差分データに生じるピークとボトムとの距離が所定値よりも大きいと判断されなかった場合に、前回に得た画像情報を当該差分データに基づく画像情報として用いる
    請求項2〜5の何れかに記載の画像認識方法。
  7. 前記前回に得た画像情報を連続して用いた回数が所定回に達した場合には、前記差分データに基づいて画像情報を得る
    請求項6に記載の画像認識方法。
  8. 前記受光面においては、前記受光データの取得と共に当該受光面を表示面とした表示が行われ、
    前記表示に用いる光の反射光および前記受光面に入射する外光のうちの少なくとも一方を受光することにより、前記受光データを取得する
    請求項1〜7の何れかに記載の画像認識方法。
  9. マトリックス状に受光素子が配置された受光面と、
    前記受光素子においての受光データの取得を繰り返し行なう駆動部と、
    前記受光素子においてn+1回目に取得した受光データからn回目に取得した受光データを差し引いた差分データを算出し、当該差分データに基づいて画像認識を行う画像処理部とを備えた
    ことを特徴とする画像認識装置。
  10. 画像表示を行なう表示面と、
    前記表示面にマトリックス状に配置された受光素子と、
    前記表示面での画像表示を行なうと共に、前記受光素子においての受光データの取得を繰り返し行なう駆動部と、
    前記受光素子においてn+1回目に取得した受光データからn回目に取得した受光データを差し引いた差分データを算出し、当該差分データに基づいて画像認識を行う画像処理部とを備えた
    ことを特徴とする画像入出力装置。
JP2008219198A 2008-08-28 2008-08-28 画像認識方法、画像認識装置、および画像入出力装置 Active JP4849106B2 (ja)

Priority Applications (5)

Application Number Priority Date Filing Date Title
JP2008219198A JP4849106B2 (ja) 2008-08-28 2008-08-28 画像認識方法、画像認識装置、および画像入出力装置
TW098125083A TWI399674B (zh) 2008-08-28 2009-07-24 An image recognition method, an image recognition device, and an image input / output device
US12/461,172 US8558854B2 (en) 2008-08-28 2009-08-04 Image recognition method, image recognition apparatus and image input/output apparatus
KR1020090079161A KR101613725B1 (ko) 2008-08-28 2009-08-26 화상 인식 방법, 화상 인식 장치, 및 화상 입출력 장치
CN2009101667007A CN101661353B (zh) 2008-08-28 2009-08-28 图像识别方法、图像识别装置以及图像输入输出装置

Applications Claiming Priority (1)

Application Number Priority Date Filing Date Title
JP2008219198A JP4849106B2 (ja) 2008-08-28 2008-08-28 画像認識方法、画像認識装置、および画像入出力装置

Publications (2)

Publication Number Publication Date
JP2010055349A true JP2010055349A (ja) 2010-03-11
JP4849106B2 JP4849106B2 (ja) 2012-01-11

Family

ID=41724714

Family Applications (1)

Application Number Title Priority Date Filing Date
JP2008219198A Active JP4849106B2 (ja) 2008-08-28 2008-08-28 画像認識方法、画像認識装置、および画像入出力装置

Country Status (5)

Country Link
US (1) US8558854B2 (ja)
JP (1) JP4849106B2 (ja)
KR (1) KR101613725B1 (ja)
CN (1) CN101661353B (ja)
TW (1) TWI399674B (ja)

Cited By (2)

* Cited by examiner, † Cited by third party
Publication number Priority date Publication date Assignee Title
JP2017139017A (ja) * 2017-04-28 2017-08-10 シャープ株式会社 タッチパネル入力装置
WO2019059061A1 (ja) * 2017-09-25 2019-03-28 Kddi株式会社 タッチパネル装置

Citations (3)

* Cited by examiner, † Cited by third party
Publication number Priority date Publication date Assignee Title
JP2004318819A (ja) * 2003-03-31 2004-11-11 Toshiba Matsushita Display Technology Co Ltd 表示装置および情報端末装置
JP2006107243A (ja) * 2004-10-07 2006-04-20 Canon Inc 光学式座標入力装置
JP2008097172A (ja) * 2006-10-10 2008-04-24 Sony Corp 表示装置および表示方法

Family Cites Families (7)

* Cited by examiner, † Cited by third party
Publication number Priority date Publication date Assignee Title
US4707689A (en) * 1985-03-25 1987-11-17 AT&T Information Systems Inc. American Telephone & Telegraph Company Adaptive thresholding scheme for optically-based touch screens
GB2368492B (en) * 2000-10-23 2004-02-18 Nat Air Traffic Services Ltd audio communications system with co-channel transmitters
AU2002336341A1 (en) * 2002-02-20 2003-09-09 Planar Systems, Inc. Light sensitive display
CN1768322A (zh) * 2003-03-31 2006-05-03 东芝松下显示技术有限公司 显示装置及信息终端装置
JP4618026B2 (ja) * 2005-07-12 2011-01-26 ソニー株式会社 表示装置及び表示および受光を行う表示装置を用いた検出方法
JP4197019B2 (ja) * 2006-08-02 2008-12-17 ソニー株式会社 撮像装置および表情評価装置
TWI384879B (zh) * 2006-08-31 2013-02-01 Sony Corp 影像處理裝置,影像處理方法及影像處理程式

Patent Citations (3)

* Cited by examiner, † Cited by third party
Publication number Priority date Publication date Assignee Title
JP2004318819A (ja) * 2003-03-31 2004-11-11 Toshiba Matsushita Display Technology Co Ltd 表示装置および情報端末装置
JP2006107243A (ja) * 2004-10-07 2006-04-20 Canon Inc 光学式座標入力装置
JP2008097172A (ja) * 2006-10-10 2008-04-24 Sony Corp 表示装置および表示方法

Cited By (4)

* Cited by examiner, † Cited by third party
Publication number Priority date Publication date Assignee Title
JP2017139017A (ja) * 2017-04-28 2017-08-10 シャープ株式会社 タッチパネル入力装置
WO2019059061A1 (ja) * 2017-09-25 2019-03-28 Kddi株式会社 タッチパネル装置
JPWO2019059061A1 (ja) * 2017-09-25 2020-07-09 Kddi株式会社 タッチパネル装置
US11073947B2 (en) 2017-09-25 2021-07-27 Kddi Corporation Touch panel device

Also Published As

Publication number Publication date
KR101613725B1 (ko) 2016-04-19
TW201023008A (en) 2010-06-16
JP4849106B2 (ja) 2012-01-11
CN101661353B (zh) 2012-07-11
KR20100027010A (ko) 2010-03-10
US20100053227A1 (en) 2010-03-04
CN101661353A (zh) 2010-03-03
TWI399674B (zh) 2013-06-21
US8558854B2 (en) 2013-10-15

Similar Documents

Publication Publication Date Title
JP4623110B2 (ja) 表示装置および位置検出方法
CN100442217C (zh) 显示设备以及显示方法
EP2523077A1 (en) Display device with optical sensor
US8411117B2 (en) Display device having optical sensors
KR101313528B1 (ko) 표시장치
US20100289784A1 (en) Display device having optical sensors
US20100271335A1 (en) Display device having optical sensors
KR20060017750A (ko) 표시 장치 및 정보 단말 장치
JP4915367B2 (ja) 表示撮像装置および物体の検出方法
US8619020B2 (en) Display apparatus
KR20090029642A (ko) 전기 광학 장치, 전자 기기 및 지시 물체의 검출 방법
JP5217618B2 (ja) 電子機器の接触位置特定方法
JP4849106B2 (ja) 画像認識方法、画像認識装置、および画像入出力装置
WO2010150572A1 (ja) 光センサ付き表示装置
US8743090B2 (en) Display device with input unit, control method for same, control program and recording medium
JP5232924B2 (ja) 表示装置及び表示装置の制御方法
JP4788232B2 (ja) 表示装置及び表示方法
KR20230064719A (ko) 디스플레이 구동장치, 디스플레이 장치 및 디스플레이 장치의 구동 방법
US20100045622A1 (en) Electro-optical device, electronic apparatus, and method of detecting position of directing object
CN121232995A (zh) 一种基于柔性amoled显示屏的触控检测方法及系统

Legal Events

Date Code Title Description
A977 Report on retrieval

Free format text: JAPANESE INTERMEDIATE CODE: A971007

Effective date: 20100617

A131 Notification of reasons for refusal

Free format text: JAPANESE INTERMEDIATE CODE: A131

Effective date: 20100804

A521 Request for written amendment filed

Free format text: JAPANESE INTERMEDIATE CODE: A523

Effective date: 20100924

A131 Notification of reasons for refusal

Free format text: JAPANESE INTERMEDIATE CODE: A131

Effective date: 20110714

A521 Request for written amendment filed

Free format text: JAPANESE INTERMEDIATE CODE: A523

Effective date: 20110901

TRDD Decision of grant or rejection written
A01 Written decision to grant a patent or to grant a registration (utility model)

Free format text: JAPANESE INTERMEDIATE CODE: A01

Effective date: 20110920

A01 Written decision to grant a patent or to grant a registration (utility model)

Free format text: JAPANESE INTERMEDIATE CODE: A01

A61 First payment of annual fees (during grant procedure)

Free format text: JAPANESE INTERMEDIATE CODE: A61

Effective date: 20111003

R151 Written notification of patent or utility model registration

Ref document number: 4849106

Country of ref document: JP

Free format text: JAPANESE INTERMEDIATE CODE: R151

FPAY Renewal fee payment (event date is renewal date of database)

Free format text: PAYMENT UNTIL: 20141028

Year of fee payment: 3

FPAY Renewal fee payment (event date is renewal date of database)

Free format text: PAYMENT UNTIL: 20141028

Year of fee payment: 3

S111 Request for change of ownership or part of ownership

Free format text: JAPANESE INTERMEDIATE CODE: R313113

FPAY Renewal fee payment (event date is renewal date of database)

Free format text: PAYMENT UNTIL: 20141028

Year of fee payment: 3

R350 Written notification of registration of transfer

Free format text: JAPANESE INTERMEDIATE CODE: R350

R250 Receipt of annual fees

Free format text: JAPANESE INTERMEDIATE CODE: R250

R250 Receipt of annual fees

Free format text: JAPANESE INTERMEDIATE CODE: R250

R250 Receipt of annual fees

Free format text: JAPANESE INTERMEDIATE CODE: R250

R250 Receipt of annual fees

Free format text: JAPANESE INTERMEDIATE CODE: R250

R250 Receipt of annual fees

Free format text: JAPANESE INTERMEDIATE CODE: R250

R250 Receipt of annual fees

Free format text: JAPANESE INTERMEDIATE CODE: R250

R250 Receipt of annual fees

Free format text: JAPANESE INTERMEDIATE CODE: R250

S111 Request for change of ownership or part of ownership

Free format text: JAPANESE INTERMEDIATE CODE: R313111

R350 Written notification of registration of transfer

Free format text: JAPANESE INTERMEDIATE CODE: R350

R250 Receipt of annual fees

Free format text: JAPANESE INTERMEDIATE CODE: R250

R250 Receipt of annual fees

Free format text: JAPANESE INTERMEDIATE CODE: R250

R250 Receipt of annual fees

Free format text: JAPANESE INTERMEDIATE CODE: R250

R250 Receipt of annual fees

Free format text: JAPANESE INTERMEDIATE CODE: R250

S111 Request for change of ownership or part of ownership

Free format text: JAPANESE INTERMEDIATE CODE: R313113

R350 Written notification of registration of transfer

Free format text: JAPANESE INTERMEDIATE CODE: R350

R250 Receipt of annual fees

Free format text: JAPANESE INTERMEDIATE CODE: R250