JP2010054575A - 現像装置、プロセスカートリッジ及び画像形成装置 - Google Patents

現像装置、プロセスカートリッジ及び画像形成装置 Download PDF

Info

Publication number
JP2010054575A
JP2010054575A JP2008216521A JP2008216521A JP2010054575A JP 2010054575 A JP2010054575 A JP 2010054575A JP 2008216521 A JP2008216521 A JP 2008216521A JP 2008216521 A JP2008216521 A JP 2008216521A JP 2010054575 A JP2010054575 A JP 2010054575A
Authority
JP
Japan
Prior art keywords
developer
developing device
detection surface
toner
shaft portion
Prior art date
Legal status (The legal status is an assumption and is not a legal conclusion. Google has not performed a legal analysis and makes no representation as to the accuracy of the status listed.)
Granted
Application number
JP2008216521A
Other languages
English (en)
Other versions
JP5256937B2 (ja
Inventor
Tetsuya Muto
哲也 武藤
Shinji Kato
真治 加藤
Hideji Hirai
秀二 平井
Yasufumi Nakazato
保史 中里
Hitoshi Ishibashi
均 石橋
Makoto Hasegawa
真 長谷川
Kota Fujimori
仰太 藤森
Yoshiaki Miyashita
義明 宮下
Yuji Hirayama
裕士 平山
Nobutaka Takeuchi
信貴 竹内
Kayoko Tanaka
加余子 田中
Akira Yoshida
晃 吉田
Current Assignee (The listed assignees may be inaccurate. Google has not performed a legal analysis and makes no representation or warranty as to the accuracy of the list.)
Ricoh Co Ltd
Original Assignee
Ricoh Co Ltd
Priority date (The priority date is an assumption and is not a legal conclusion. Google has not performed a legal analysis and makes no representation as to the accuracy of the date listed.)
Filing date
Publication date
Application filed by Ricoh Co Ltd filed Critical Ricoh Co Ltd
Priority to JP2008216521A priority Critical patent/JP5256937B2/ja
Publication of JP2010054575A publication Critical patent/JP2010054575A/ja
Application granted granted Critical
Publication of JP5256937B2 publication Critical patent/JP5256937B2/ja
Expired - Fee Related legal-status Critical Current
Anticipated expiration legal-status Critical

Links

Images

Landscapes

  • Dry Development In Electrophotography (AREA)

Abstract

【課題】トナー濃度センサの検知面に現像剤が滞留することによる誤検知を防止しつつ、攪拌動作時の検知面での剤密度の差を低減することができる現像装置、及びこれを用いたプロセスカートリッジ並びに画像形成装置を提供する。
【解決手段】検知面攪拌部材70Yは、第二搬送スクリュー62Yの軸部62aYから径方向に突出し、軸部62aYと平行に配設された板状のフィン72Yと、フィン72Yの先端から軸部62aYの径方向に延出するように貼付けられた弾性体シート71Yとを備え、フィン72Yには、中央部に四角形状の開口部72aYが形成されている。第二搬送スクリュー62Yが回転すると、開口部72aYを現像剤が通過し、検知面80Yを弾性体シート71Yの先端部71aYが摺擦して検知面80Y近傍に現像剤Gが滞留することなく確実に攪拌され、現像剤Gの剤密度変化を抑制可能としている。
【選択図】図4

Description

本発明は、複写機、プリンタ、ファクシミリ等の電子写真方式の画像形成装置に使用される現像装置、及びこれを備えたプロセスカートリッジ並びに画像形成装置に関する。
従来、電子写真方式の画像形成装置においては、現像装置として、トナーと磁性キャリアからなる二成分現像剤を用いるものが広く使用されている。この現像装置では、現像剤を収容する現像剤収容部内で攪拌混合して摩擦帯電させた二成分現像剤(以下、現像剤という)を現像剤担持体に担持させ、この現像剤より像担持体上の静電潜像に選択的にトナーを付着させてトナー像を得ている。このような現像によりトナーは消費され、現像剤中のトナー濃度が低下すると高濃度な画像が得られない。
一方、現像剤中のトナー濃度が高すぎると地汚れ等が発生する。このように、高画質な画像を得るためには、現像剤担持体に供給される現像剤収容部内の現像剤のトナー濃度を一定範囲内に制御することが必要である。そこで、現像剤収容部内にトナーを補給するトナー補給装置を備えるものがある。このような現像装置では、現像剤収容部内のトナー濃度を検知する検知手段としてのトナー濃度検知装置(以下、トナー濃度センサという)と、現像剤収容部へのトナー補給量を制御するトナー補給量制御装置を設け、現像剤収容部内へのトナー補給を制御している。
トナー濃度センサとしては、現像剤収容部の内壁面の一部を検知面とし、この検知面周辺の現像剤中の透磁率変化を検知する磁気検知型が知られている。このトナー濃度センサでは検知面に現像剤が滞留すると正確なトナー濃度を検知することができなくなり、トナー補給量制御装置の誤作動を招く一因となる。
そこで、特許文献1においては、現像剤収容部内の現像剤を攪拌しながら搬送する搬送スクリューの軸部の検知面と対向する位置に平板部材を軸部に対して平行になるように固定し、この平板部材に弾性体シートが平行になるように固定されたものが提案されている。そして、平板部材及び弾性体シートが搬送スクリューとともに回転し、弾性体シートが検知面を摺擦することで検知面の現像剤を攪拌する。このように、検知面の現像剤を攪拌することによりトナー濃度センサの検知面に現像剤が滞留することによる誤検知を防止することができる。
特開平05−150650号公報
しかしながら、特許文献1に記載されているように弾性体シートよって検知面の現像剤を攪拌する構成の場合、攪拌動作時の弾性体シートが検知面を摺擦する周期に合わせてトナー濃度センサの検出値が周期的に変化する。これは、弾性体シートが検知面を摺擦する前後で、検知面での現像剤の剤密度が変化するためである。即ち、弾性体シートが検知面を摺擦する前は、弾性体シートが検知面に対して現像剤を押し付ける状態となって検知面での剤密度が上昇する。また、弾性体シートが検知面を摺擦するときに弾性体シートが検知面近傍の現像剤を跳ね上げるため、弾性体シートが検知面を摺擦した後は、検知面近傍に空隙が生じるような状態となり検知面での剤密度が低下する。
このような攪拌動作時の検知面での剤密度の差が大きいと、トナー濃度センサの検知精度が低下するため、検知面での剤密度の差を低減することが望まれる。また、攪拌動作時の検知面での剤密度の差は、搬送スクリューの回転数、設置環境、現像剤の経時劣化など使用条件の外乱によってばらつきが生じ、攪拌動作時の検知面での剤密度の差が大きいとユーザーの使用条件ごとのトナー濃度検知制度もばらつきも大きくなるため、検知面での剤密度の差を低減することが望まれる。
本発明は、以上の問題に鑑みなされたものであり、その目的とするところは、トナー濃度センサの検知面に現像剤が滞留することによる誤検知を防止しつつ、攪拌動作時の検知面での剤密度の差を低減することができる現像装置、及びこれを用いたプロセスカートリッジ並びに画像形成装置を提供することである。
上記課題を解決するために、請求項1の発明は、トナーとキャリアとを含む現像剤を担持し、現像に用いる現像剤担持体と、当該現像剤担持体に供給する現像剤を収容する現像剤収容部を形成するケーシングと、螺旋状の羽部を有する軸部を中心に回転することによって当該羽部で前記ケーシング内の現像剤を攪拌しながら軸部の軸線方向に搬送する搬送スクリューと、当該搬送スクリューの軸部と平行な前記ケーシングの内壁面の一部を検知面として前記現像剤中のトナー濃度を検知するトナー濃度検知手段とを備えた現像装置において、前記検知面と対向する位置の前記軸部に配設され、前記搬送スクリューの回転によって当該検知面上の現像剤を攪拌する検知面攪拌部材を有し、当該検知面撹拌部材は、前記軸部から径方向に突出して前記搬送スクリューの回転によって前記検知面に接触することなく回転する当該軸部と平行に配設される板状の支持部と、当該支持部の先端から軸部の径方向に延出して前記検知面と弾性的に摺接する攪拌部を有し、前記支持部は、前記搬送スクリューの回転によって前記現像剤の透過を許容する開口部を有していることを特徴とする。
また、請求項2の発明は、請求項1記載の現像装置において、前記支持部は、現像剤の撹拌動作によって変形しない剛性を有していることを特徴とする。
また、請求項3の発明は、請求項1又は2記載の現像装置において、前記支持部の開口部は、当該支持部の中央部に形成され、当該支持部の枠部で形成された四角形状の透孔であることを特徴とする。
また、請求項4の発明は、請求項1乃至3のいずれか1項記載の現像装置において、前記攪拌部は、前記搬送スクリューの回転によって弾性変形しながら前記検知面と摺接する弾性体シートであることを特徴とする。
また、請求項5の発明は、請求項1乃至4のいずれか1項記載の現像装置において、前記検知面は、前記ケーシングの底部内壁面の一部に形成されることを特徴とする。
また、請求項6の発明は、請求項1乃至5のいずれか1項記載の現像装置において、前記検知面攪拌部材は、前記軸部から径方向に複数突出されていることを特徴とする。
また、請求項7の発明は、請求項6記載の現像装置において、前記複数の検知面攪拌部材は、前記軸部上に前記搬送スクリューの現像剤の搬送方向に沿ってずれた位置にそれぞれ配設されていることを特徴とする。
また、請求項8の発明は、請求項1乃至7のいずれか1項記載の現像装置において、前記内壁面に囲まれて前記搬送スクリューによって前記現像剤を搬送する現像剤搬送路の前記軸部に直交する平面における断面積を、前記搬送スクリューの搬送方向の前記検知面に対して上流側の当該断面積に比べて、該検知面の方で小さくしたことを特徴とする。
また、請求項9の発明は、請求項8記載の現像装置において、前記ケーシングの上蓋部の前記検知面に対応する内壁面に、前記軸部に向かって突出する突部を形成したことを特徴とする。
また、請求項10の発明は、請求項1乃至9のいずれか1項記載の現像装置において、前記検知面に対応する前記羽部の螺旋ピッチ幅が、前記搬送スクリューの現像剤の搬送方向における前記検知面に対して上流側の螺旋ピッチ幅に比べて、狭く形成されていることを特徴とする。
また、請求項11の発明は、少なくとも、表面に静電潜像が形成される像担持体と、当該像担持体上の静電潜像にトナーを供給してトナー像化する現像装置とを一体的に連結したプロセスカートリッジにおいて、前記現像装置は、請求項1乃至10のいずれか1項記載の現像装置であることを特徴とする。
また、請求項12の発明は、表面に静電潜像が形成される像担持体と、当該像担持体上の静電潜像にトナーを供給してトナー像化する現像装置とを備えた画像形成装置において、前記現像装置は、請求項1乃至10のいずれか1項記載の現像装置であることを特徴とする。
また、請求項13の発明は、請求項12記載の画像形成装置において、前記像担持体と前記現像装置は、一体的に連結され、当該画像形成装置本体に対して着脱自在に構成されたプロセスカートリッジであること特徴とする。
本発明によれば、検知面と対向する位置の軸部に配設され、搬送スクリューの回転によって当該検知面上の現像剤を攪拌する検知面攪拌部材を有し、当該検知面撹拌部材は、前記軸部から径方向に突出して前記搬送スクリューの回転によって前記検知面に接触することなく回転する当該軸部と平行に配設される板状の支持部と、当該支持部の先端から軸部の径方向に延出して前記検知面と弾性的に摺接する攪拌部を有し、前記支持部は、前記搬送スクリューの回転によって前記現像剤の透過を許容する開口部を有していることによって、トナー濃度センサの検知面に現像剤が滞留することによる誤検知を防止しつつ、攪拌動作時の検知面での剤密度の差を低減することができる現像装置、及びこれを用いたプロセスカートリッジ並びに画像形成装置を提供することができる。
以下、図面を参照して、本発明の実施形態を詳細に説明する。
図1は、本発明による一実施形態に係る画像形成装置である電子写真方式のプリンタ(以下、単にプリンタ100という)の概略構成を示す図である。図1において、このプリンタ100は、イエロー(Y)、マゼンタ(M)、シアン(C)、ブラック(K)(以下、Y、M、C、Kと記す)のトナー像をそれぞれ生成するための4つの後述するプロセスカートリッジ6Y、6M、6C、6Kを備えている。これらは、画像形成物質として、互いに異なる色のY、M、C、Kトナーを用いるが、それ以外は同様の構成になっており、寿命到達時に交換される。
Yトナー像を生成するためのプロセスカートリッジ6Yを例にすると、図2に示すように、プロセスカートリッジ6Yは、ドラム状の感光体1Yを中心に、その周囲に、ドラムクリーニング装置2Y、除電装置(不図示)、帯電装置4Y、現像装置5Y等を感光体1Yと一体に連結されている。従って、このプロセスカートリッジ6Yは、プリンタ100本体に脱着可能であり、感光体1Yとドラムクリーニング装置2Y、除電装置(不図示)、帯電装置4Y、現像装置5Yとをプリンタ100本体から引き出して、保守、点検が可能となると共に、ドラムクリーニング装置2Y、除電装置(不図示)、帯電装置4Y、現像装置5Y等消耗部品を一度に交換できるようになっている。このプロセスカートリッジ6Yとしては、感光体1Yとドラムクリーニング装置2Y、除電装置(不図示)、帯電装置4Y、現像装置5Yの全てを必ずしも一体に連結する必要がなく、本発明においては、少なくとも、感光体1Yと現像装置4Yとが一体に連結されたプロセスカートリッジであれば良い。
帯電装置4Yは、図示しない駆動手段によって図中時計回りに回転せしめられる感光体1Yの表面を一様に帯電せしめる。一様に帯電せしめられた感光体1Yの表面は、レーザ光LYによって露光走査されてY用の静電潜像を担持する。このY用の静電潜像は、Yトナーを用いる現像装置5YによってYトナー像に現像される。
感光体1Y上に形成されたYトナー像は、一次転写バイアスローラ9Yによって中間転写ベルト8上に中間転写される。ドラムクリーニング装置2Yは、一次転写工程を経た後の感光体1Y表面に残留したトナーを除去する。また除電装置は、クリーニング後の感光体1Yの残留電荷を除電する。この除電により、感光体1Yの表面が初期化されて次の画像形成に備えられる。他のプロセスカートリッジ6M、6C、6Kにおいても、同様にして感光体1M、1C、1K上にM、C、Kのトナー像が形成され、中間転写ベルト8上に中間転写される。
先に示した図1においてプロセスカートリッジ6Y、6M、6C、6Kの図中下方には露光装置7が配設されている。静電潜像形成手段たる露光装置7は、画像情報に基づいて発したレーザ光LY、LM、LC、LKを、プロセスカートリッジ6Y、6M、6C、6Kにおけるそれぞれの感光体1Y、1M、1C、1Kに照射して露光する。この露光により、感光体1Y、1M、1C、1K上にそれぞれY、M、C、K用の静電潜像が形成される。なお露光装置7は、光源から発したレーザ光LY、LM、LC、LKを、それぞれ、モータによって回転駆動したポリゴンミラーで走査しながら、複数の光学レンズやミラーを介して感光体に照射するものである。
露光装置7の図1中下側には、紙収容カセット26、これらに組み込まれた給紙ローラ27、レジストローラ対28などを有する給紙手段が配設されている。紙収容カセット26は、記録体たる転写紙Pが複数枚重ねて収納しており、それぞれの一番上の転写紙Pには給紙ローラ27が当接している。
給紙ローラ27が図示しない駆動手段によって図中反時計回りに回転せしめられると、一番上の転写紙Pがレジストローラ対28のローラ間に向けて給紙される。レジストローラ対28は、転写紙Pを挟み込むべく両ローラを回転駆動するが、転写紙Pを挟み込んですぐに回転を一旦停止させる。そして、転写紙Pを適切なタイミングで後述の二次転写ニップに向けて送り出す。かかる構成の給紙手段においては、給紙ローラ27と、タイミングローラ対たるレジストローラ対28との組合せによって搬送手段が構成されている。この搬送手段は、転写紙Pを収容手段たる紙収容カセット26から後述の二次転写ニップまで搬送するものである。
プロセスカートリッジ6Y、6M、6C、6Kの図1中上方には、中間転写体たる無端状の中間転写ベルト8が二次転写バックアップローラ12、クリーニングバックアップローラ13及びテンションローラ14に張架されて二次転写バックアップローラ12の回転駆動によって矢印A方向に無端移動する中間転写ユニット15が配設されている。この中間転写ユニット15は、中間転写ベルト8の他、4つの一次転写バイアスローラ9Y、9M、9C、9K、及びクリーニング装置10などを備えている。
一次転写バイアスローラ9Y、9M、9C、9Kは、このように無端移動せしめられる中間転写ベルト8を感光体1Y、1M、1C、1Kとの間に挟み込んでそれぞれ一次転写ニップを形成している。これらの一次転写バイアスローラ9Y、9M、9C、9Kは、中間転写ベルト8の裏面(ループ内周面)にトナーとは逆極性(例えばプラス)の転写バイアスを印加する方式のものである。中間転写ベルト8の裏面(ループ内周面)に配置された一次転写バイアスローラ9Y、9M、9C、9Kを除くローラは、全て電気的に接地されている。
中間転写ベルト8は、その無端移動に伴ってY、M、C、K用の一次転写ニップを順次通過していく過程で、感光体1Y、1M、1C、1K上のY、M、C、Kトナー像が重ね合わせて一次転写される。これにより、中間転写ベルト8上に4色重ね合わせトナー像(以下、4色トナー像という)が形成される。
二次転写バックアップローラ12は、二次転写ローラ19との間に中間転写ベルト8を挟み込んで二次転写ニップを形成している。中間転写ベルト8上に形成された4色トナー像は、この二次転写ニップで転写紙Pに転写される。二次転写ニップを通過した後の中間転写ベルト8には、転写紙Pに転写されなかった転写残トナーが付着している。これは、クリーニング装置10によってクリーニングされる。
二次転写ニップにおいては、転写紙Pが互いに順方向に表面移動する中間転写ベルト8と二次転写ローラ19との間に挟まれて、レジストローラ対28側とは反対方向に搬送される。二次転写ニップから送り出された転写紙Pは、定着装置20のローラ間を通過する際に熱と圧力とにより、表面に転写された4色トナー像が定着される。その後、転写紙Pは、排紙ローラ対29のローラ間を経て機外へと排出される。そして、プリンタ100本体の上面には、スタック部30が形成されており、排紙ローラ対29によって機外に排出された転写紙Pは、このスタック部30に順次スタックされる。
中間転写ユニット15と、これよりも上方にあるスタック部30との間には、ボトル収容器31が配設されている。このボトル収容器31は、Y、M、C、Kトナーを収容する補給用トナー収容部としてのトナーボトル32Y、32M、32C、32Kを収容している。トナーボトル32Y、32M、32C、32Kは、ボトル収容器31上にトナー各色毎に上から置くようにして設置する。トナーボトル32Y、32M、32C、32K内のY、M、C、Kトナーは、後述するトナー搬送手段としてのトナー補給装置により、プロセスカートリッジ6Y、6M、6C、6Kの現像装置5Y、5M、5C、5Kにそれぞれ適宜補給される。これらのトナーボトル32Y、32M、32C、42Kは、プロセスカートリッジ6Y、6M、6C、6Kとは独立してプリンタ100本体に脱着可能である。
次に、プロセスカートリッジ6Yが備える現像装置5Yの構成について説明する。図2は、図1で示すプロセスカートリッジ6Yを感光体の回転軸6aYの軸線方向から見た概略断面図であり、後述する、制御部57Y及び駆動モータ41Yは模式的に示している。また、図3は図2で示す現像装置5Yの上部カバー67Yを取り外した状態の上面図である。
現像装置5Yは、内部に磁界発生手段を備え、磁性粒子とトナーを含む二成分系現像剤を表面に担持して搬送する現像剤担持体としての現像スリーブ51Yと、現像スリーブ51Y上に担持されて搬送される現像剤の層厚を規制する現像剤規制部材としての現像ドクタ52Yとを備えている。現像スリーブ51Yの下方には、ケーシング55Yに囲まれた現像剤収容部があり、仕切り壁59Yによって、現像スリーブ51に現像剤を供給する第一現像剤収容部53Yと、トナー補給部58Yからトナーの補給を受ける第二現像剤収容部54Yとに仕切られている。第一現像剤収容部53Y内にはトナーを撹拌搬送するための第一搬送スクリュー61Yを備えており、第二現像剤収容部54Y内には第二搬送スクリュー62Yを備えている。第二搬送スクリュー62Yは、螺旋状の羽部62bYを軸部62aYに固定した構造になっており(図3参照)、第一搬送スクリュー61Yも同様の構成となっている。
また、第一現像剤収容部53Y内の現像剤は、第一搬送スクリュー61Yの回転により、図3中の右から左(矢印B方向。また、図2中の手前側から奥側)へ搬送され、第二現像剤収容部54Y内の現像剤は第二搬送スクリュー62Yの回転により、図3中の左から右(矢印C方向。また図2中の奥側から手前側)へ搬送される。そして、搬送スクリューの軸線方向(図3中の左右方向)における仕切り壁59Yの両端部は開口部59aY及び59bYとなっており、これらの開口部59aY及び59bYを通じて現像剤Gは第一現像剤収容部53Yと第二現像剤収容部54Yとの間を循環するようになっている。
また、第二現像剤収容部54Yのケース55Yの下方外壁面55aYには、第二現像剤収容部54Y内の現像剤のトナー濃度を検知するトナー濃度センサ56Yが取り付けられている。外壁面にトナー濃度センサ56Yを取り付けた箇所のケース55Yの底部内壁面55bYは、トナー濃度センサ56Yのトナー濃度を検知する検知領域としての検知面80Yとなる。第二搬送スクリュー62の回転軸62aYの検知面80Yに対向する位置には、詳細は後述する検知面攪拌部材70Yが固定されている。
なお、トナー濃度センサ56Yは、センサの一部を現像剤と接触する位置に設けなくてもトナー濃度を検知することができる非接触型のトナー濃度センサである。このようなトナー濃度センサとしては、例えば、特開2004−139038に記載されているもの等を用いることができる。また、トナー濃度センサ56Yとしては、上記非接触のセンサに限るものではなく、例えば、ケーシング55Yの外側からセンサ面がケーシング55Yの内壁面55bYまで内側に突き出す形で取り付けられる接触型のセンサを用いてもよい。また、ケーシング55Yの内壁面に配置するものであっても良い。
また、検知面80Yとしては、現像剤収容部(本実施形態においては、第二現像剤収容部54Y)内のトナー濃度を検知する際のトナー濃度センサ56Yが検知する領域の現像剤収容部を形成するケーシング55Yの内壁面55bYであり、検知面として特別な部材を設けているわけではない。
次に、この現像装置の動作について説明する。現像装置5Yにおいては、現像剤収容部53Y、54Y内の現像剤Gにはキャリアとトナーが含まれており、トナーは現像剤に所定のトナー濃度範囲内になるように取り込まれる。トナーはトナーボトル32Yから不図示のトナー搬送装置のトナー搬送パイプ43Yを通過し、トナー補給部58Yより第二現像剤収容部54Yに補給される。その後、トナーは、第二搬送スクリュー62Y及び第一搬送スクリュー61Yにより攪拌され現像剤中に取り込まれ、キャリアとの摩擦帯電により帯電される。
第一現像剤収容部53Y内の帯電したトナーを含む現像剤Gは、内部に磁極を有する現像スリーブ51Yの表面に供給され、磁力により現像剤層を形成して担持される。現像スリーブ51Yに担持された現像剤層は、現像スリーブ51Yの回転に伴い矢印方向に搬送される。途中、現像ドクタ52Yで現像剤層の層厚を規制されたのち、感光体1Yと対向する現像領域まで搬送される。そして、現像領域では、感光体1Y上に形成された静電潜像にトナーが供給されて現像が行われる。
現像スリーブ51Y上に残った現像剤層は現像スリーブ51Yの回転に伴い第一現像剤収容部53Yの現像剤搬送方向上流部分に搬送される。現像によりトナーが消費され、現像装置5Y内のトナー濃度が低下すると、検知面80Y周辺の現像剤のトナー濃度も低下し、第二現像剤収容部54Yの下方底部のトナー濃度センサ56Yによりトナー濃度の低下を検知する。その検知結果に基づいて、制御部57Yは不図示のトナー補給装置の駆動モータ41Yを駆動し、トナー搬送パイプ43Yからトナーの補給がなされる。
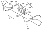
次に、本発明の特徴部分である第1実施形態の検知面攪拌部材70Yについて図4に基づいて説明する。図4は、本発明による実施形態に係る現像装置5Yで使用される第1実施形態の検知面攪拌部材70Yが固定された部分の拡大斜視図である。
図5は、トナー濃度センサ56Yを設けた位置での第二現像剤収容部54Yの拡大断面図である。図5中の破線で示す61cY及び62cYは、それぞれ第一搬送スクリュー61Yの羽部61bY及び第二搬送スクリュー62Yの羽部62bYの径方向外側端部(図5中の61eY及び62eY)が描く軌道を示している。
図4に示すように、第1実施形態に係る検知面攪拌部材70Yは、第二搬送スクリュー62Yが図中矢印D方向に回転することによって共に回転し、検知面80Y(図3参照)上の現像剤Gを除去し、攪拌するものである。そして、本実施形態の検知面攪拌部材70Yは、第二搬送スクリュー62Yの軸部62aYから径方向に突出し、軸部62aYと平行に配設された板状の平面部材としての支持部であるフィン72Yと、フィン72Yの先端から軸部62aYの径方向に延出するようにフィン72Yに貼付けられた弾性体シート71Yとを備えている。
フィン72Yには、中央部に四角形状の開口部72aYが形成されており、開口部72aYの外周には、枠部72bYが形成されている。従って、第二搬送スクリュー62Yが回転すると、フィン72Yの開口部72aYを現像剤が通過することが可能となっている。また、検知面80Yを弾性体シート71Yの先端部71aYが摺擦するので検知面80Y近傍に現像剤Gが滞留することなく確実に攪拌され、現像剤Gの剤密度変化を抑制可能としている。
又、弾性体シート71Yの先端71aYは、検知面80Yと弾性的に摺接して、検知面80Yのクリーニングを行うことが可能となっている。このような検知面攪拌部材70Yを使用することで、弾性体シート71Yで検知面80Yの現像剤を撹拌する際に、フィン72Yの開口部72aYから現像剤が通過できるので、撹拌時の現像剤の跳ね上げから生じる現像剤密度の差を抑制でき且つ、検知面80Y近傍に現像剤が滞留することを適切に抑制することが可能となる。
この場合、フィン72Yは、弾性体シート71Yによる現像材Gの攪拌を適切に行うために、現像剤Gの攪拌動作によって変形しない剛性を有することが好ましい。このような剛性を付与するために、フィン72Yに形成される開口部72aYの開口率(フィン72Yの平面面積に対する開口部72aYの面積比率)は、40%〜80%が好ましい。40%未満の開口率では、開口部72aYを通過する現像剤量が少なくなり、剤密度の変動を抑えることが困難になる。
一方、開効率が80%を越す場合には、フィン72Yの剛性が小さくなり、適切が開口部72aYの現像剤の通過が困難となる。また、開口部72aYの形状は、円形、楕円形、四角形等いずれの形状であっても良いが、中央部に四角形状の開口部72aYが形成され、開口部72aYの外周に、枠部72bYが形成されたフィン72Y形状とする場合には、フィン72Yの剛性及び現像剤Gの通過を適切に行うことが可能となるので好適である。
また、弾性体シート71Yは、ウレタンシート、ポリエステルシート等の合成樹脂シートを使用することができるが、検知面80Yとの摺接部分の長さは、検知面80Yの長さの半分以下となるようにすることが好ましい。この摺接部分の長さが検知面80Yを全て被覆する長さとすると現像剤Gの剤密度の変動が生じるので好ましくない。
なお、本実施形態に係る第一搬送スクリュー61Y及び第二搬送スクリュー62Yは合成樹脂からなり、軸部61aY、62aYに羽部61bY、62bYを取り付けた形状を一体成形により作成される。また、第二搬送スクリュー62Yはフィン72Yも一体成形により作成され、軸部62aYにフィン72Yが固定された形状となっている。弾性体シート71Yは接着剤等によってフィン72Yに貼り付けられて固定される。
図5に示すように、第1実施形態で示す検知面攪拌部材70Yは、第二搬送スクリュー62Yの軸部62aYに固定され、四角形状の開口部72aYを有するフィン72Yとフィン72Yに貼り付けられた弾性体シート71Yとを備えている。そして、第二搬送スクリュー62Yが図中矢印D方向に回転すると、弾性体シート71Yによって検知面80Y上の現像剤Gが攪拌されるようになっている。
図5中の破線で示す弾性体シート71Yは、弾性変形していない状態での弾性体シート71Yを仮想的に描いたものであり、実際には、弾性体シート71Yをフィン72Yに取り付け、現像装置5Y内に装填すると、図5中の実線で示すように弾性体シート71Yは弾性変形した状態で、検知面80Yを摺擦する。これにより、検知面上の現像剤を除去し、検知面上の現像剤を攪拌することができる。
また、図3中の符号Wで示す検知面攪拌部材70Yの軸線方向の幅は、検知面80Yよりも広く構成されており、第二搬送スクリュー62Yが回転することにより、検知面80Y全体上の現像剤Gを攪拌することができるようになっている。トナー濃度センサの検知面80Yの現像剤を除去する検知面攪拌部材として、弾性体シートを用いる従来の現像装置としては、上記特許文献1等に記載されているものがある。これらの現像装置でも、本実施形態の現像装置5Yと同様に、搬送スクリューの軸部に弾性体シートを設け、この弾性体シートをトナー検出部の検出面に接触させて付着した現像剤を拭き取るようにしている。
しかし、このような現像装置では、弾性体シートで検知面の現像剤を撹拌する際、弾性体シートの先端が検知面を通過する前後で生じる現像剤密度差が大きくなるという問題があった。これは、検知面攪拌部材である弾性体シートが一度に多くの現像剤を攪拌することに起因していると考えられる。また、現像剤密度差は、線速モード、環境、現像剤の流動性、などの外乱でばらつくため、ユーザーの使用条件ごとにトナー濃度検知精度もばらついてしまう。
一方、本実施形態の現像装置5Yでは、図4に示すようにフィン72Yに開口部72aYを持っている。このような構成とすると、弾性体シート71によって現像剤を跳ね上げるものの開口部72aYから現像剤が通過する。したがって、現像剤密度の急激な変動を抑えられる。つまりは、弾性体シート71によって確実に検知面の現像剤を清掃・撹拌でき、且つ、弾性体シート71が通過する前後で漸増剤密度の変動を減少出来る。
これにより、剤密度が最大となる弾性体シート71Yの先端が検知面80Yを通過する直前における検知面80Yの現像剤密度の上昇、及び、剤密度が最小となる弾性体シート71Yの先端が検知面80Yを通過した直後における検知面80Yの現像剤密度の低下を抑制することができる。剤密度の最大値の上昇、及び、最小値の低下を抑制することができるので、弾性体シート71Yの先端が検知面80Yを通過する前後で生じる現像剤密度差を抑制することができる。また、現像剤密度差を抑制できることにより、本実施形態の現像装置5Yでは、線速モード、環境、現像剤の流動性、などの外乱による現像剤密度差のばらつきを抑制することができる。
次に、本発明による現像装置5Yの第2の実施形態について、図6に基づいて説明する。図6は、本発明による実施形態に係る現像装置で使用される検知面80Y近傍の上部カバー67Yの内壁面を下げる構成の説明図である。図6(a)は、現像装置5Yの第二現像剤収容部54Yを図3中の矢印E方向から見た、第二現像剤収容部54Yの側方断面図であり、図6(b)は、上部カバー67Yの内壁面を上方に載置した平面図である。
このような現像装置では、トナー濃度センサ検知領域近傍の現像剤の嵩密度が変動すると、同じトナー濃度であっても現像剤の磁束密度が変化し、検知誤差の原因になる問題があった。このような問題を改善するために、本第2実施形態においては、トナー濃度センサの設置位置およびその近傍領域における現像搬送路の軸部に直交する平面における断面積を、現像装置の上部カバー67Yの内面位置を下げることにより、それ以外の現像剤搬送路の断面積に比べ小さくすることで、現像剤の嵩密度変動を低減するようにしている。
図6に示すように、第二現像剤収容部54Yの検知面攪拌部材70Yと対向する位置の上部カバー67Yの内壁面(天井)が他の部分の天井よりも低くなるように、上部カバー67Yに天井凸部67aYを設けている。この天井凸部67aYの断面形状は、図5に示すように、羽部62bYの径方向外側端部62eYが描く軌道に沿った形状となっている。このような天井凸部67aYを設けた位置では第二現像剤収容部54Yの他の位置よりも断面積が狭くなり、他の位置よりも現像剤が詰まった状態となり、現像剤の嵩密度の変動が生じにくくなる。
これにより、検知面80Yは、検知面攪拌部材70Yと対向する位置にあるため、上述のような天井凸部67aYを設けることにより、検知面80Y近傍の現像剤の嵩密度が変動することを抑制している。このように、嵩密度の変動を抑制する構成であっても、検知面攪拌部材70Yによって、検知面80Y上の現像剤Gを押し付け、及び、跳ね上げにより、嵩密度の変動を防止しきれない。
本実施形態においては、検知面攪拌部材70Yである弾性体シート71Yによって検知面80Y上の現像剤を攪拌する構成であって、フィン72は開口部72aYを持つ構成をとっている。このように開口部72aYを具備させることで、現像剤の攪拌を行う際に開口部72aYから現像剤Gが通過できるようになる。
つまりは、弾性体シート71によって現像剤Gを跳ね上げても、現像剤Gがフィン72の後方へ通過可能となっているため、検知面攪拌部材70Yに開口部72aYを有していない構成に比べて、検知面攪拌部材70Yの攪拌動作に起因する嵩密度の変動を防止することができる。
なお、以上の本実施形態については、イエロー(Y)トナーを用いるイエロー用の現像装置5Y及びプロセスカートリッジ6Yについて説明したが、他色のトナーを用いるトナーについても同様の構成を用いることができる。
次に、本発明による第3実施形態に係る現像装置5Yについて、図7に基づいて説明する。図7は、第3実施形態に係る現像装置5Yが備える第二搬送スクリュー62の検知面攪拌部材70Yが固定された部分の近傍の拡大説明図である。この第3実施形態においては、検知面攪拌部材70Yの構成のみが第1実施形態と異なり、他の構成は第1実施形態と共通するので、以下、相違する構成について説明し、共通する構成についての説明は省略する。
図7に示すように、第3実施形態においては、第二搬送スクリュー62Yに前述の第1実施形態において説明した検知面攪拌部材70Yを複数個取り付けた構成である。図7では具体例として二個の検知面攪拌部材70YA、70YBを取り付けた場合を図示するが、検知面攪拌部材70Yの個数はこれに限るものではない。第二搬送スクリュー62Yが図中矢印D方向に回転すると、弾性体シート71YA、71YBによって検知面80Y上の現像剤が攪拌されるようになっている。
トナー濃度センサ56Yは、前述の第1実施形態と同様に、ケーシング55の外壁面55aYに取り付けられ、トナー濃度センサ56Yを設けた箇所のケースシング55Yの内壁面55bYはトナー濃度センサ56Yの検知領域としての検知面80Yとなる。
そして、検知面攪拌部材70YA、70YBのそれぞれのフィン71YA、71YBは第二搬送スクリュー62Yの軸方向で互いにずらして取り付けられているが、完全にずらしているわけではなく一部分で重なっている部分がある。これは検知面80Yを確実に撹拌・清掃を行うためであり、画像形成装置組立時や駆動中に不意に弾性シートが意図しない方向に破損してしまい検知面80Y全面を清掃できなくなることを未然に防いでいる。
また、前述の第1実施形態で述べたように、フィン71YA、71YBに開口部71aYA、71aYBを設けることで、一度に弾性体シート71YA、71YBによって攪拌、清掃する検知面80Yの面積を少なくすることが可能となるので、現像剤密度の変動をより防止することができる。したがって、検知面攪拌部材70YA、70YBの攪拌動作に起因する嵩密度の変動を防止することができる。
このような第3実施形態の検知面攪拌部材70YA、70YBは、第1実施形態の場合と同様に、弾性体シート71YA、71YBの先端が検知面80を通過する前後で生じる現像剤密度差を抑制することが出来る。また、このようにして現像剤密度差を抑制することが出来るので、前述の第1実施形態と同様に、線速モード、環境、現像剤の流動性などの外乱による現像剤密度差のばらつきを抑制することが出来る。
また、この第3実施形態の現像装置5Yでは、前述の第1実施形態の場合と異なりフィン71が1個ではなく、2個取り付けられており、しかもこの2個のフィン71YA、71YBは第二搬送スクリュー62Yの軸方向にずらしている。これによって、一つの検知面攪拌部材70YA、70YBが撹拌、清掃する現像剤量を少なくすることが可能となるためにより一層現像剤密度差を抑制することが出来る。
以上のような構成にすることで、検知面攪拌部材70YA、70YBによる攪拌前後で起こる現像剤密度の変動を減少させつつ、流動性が低下した現像剤で起こりうる現像剤の滞留を解消することが可能となる。このような第3実施形態の検知面攪拌部材70YA、70YBは、第1実施形態の場合と同様に、弾性体シート71YA、71YBの先端が検知面80Yを通過する前後で生じる現像剤密度差を抑制することができる。また、現像剤密度差を抑制することができることにより、第1実施形態と同様に、線速モード、環境、現像剤の流動性、などの外乱による現像剤密度差のばらつきを抑制することができる。
前述の第2実施形態においては、検知面80Yでの現像剤の嵩密度の変動を抑制する構成として、天井凸部67aYを形成し、検知面80Y近傍を第二現像剤収容部54Yの他の位置よりも断面積が狭くしている。ここで、検知面80Yでの現像剤の嵩密度の変動を抑制する構成として第2実施形態の場合とは異なる構成を備えた第4実施形態について、図8に基づいて説明する。図8は、第4実施形態に係る現像装置5Yの上部カバー67Yを取り外した状態の上面図である。
図8に示すように、第4実施形態に係る現像装置5Yの第二搬送スクリュー62Yは、検知面80Y近傍の領域Wにおける羽部62bYのピッチ幅を他の位置よりも狭める羽部62cYを有する構成となっている。このようにピッチ幅を狭めた羽部62cYを形成することにより、領域Wにおいて現像剤Gを滞留させることができ、他の位置よりも現像剤が詰まった状態となり、現像剤の嵩密度の変動が生じにくくなる。そして、このピッチ幅を狭めた羽部62cYの間の軸部62aYに検知面攪拌部材70Yが形成されている。従って、検知面80Yは検知面攪拌部材70Yと対向する位置にあるため、上述第2実施形態における天井凸部67aYを設けた場合と同様に、この第4実施形態においても、検知面80Y近傍の現像剤の嵩密度が変動することを抑制可能としている。
なお、この第4実施形態における検知面攪拌部材70Yとしては、前述の第3実施形態のように、複数個形成しても良いし、第2実施形態で示すように、天井突部67aYを設けた構成としても良い。
また、上記実施形態においては、検知面攪拌部材70Yは、第2搬送スクリュー62Yに形成しているが、トナー濃度検知センサ56を第1現像剤収容部53Yの底部外壁部に取り付け、検知面攪拌部材70Yを第1搬送スクリュー61Yに取り付けても良い。
本発明による一実施形態に係る画像形成装置である電子写真方式のプリンタの概略構成を示す図である。 図1で示すプロセスカートリッジを感光体の回転軸の軸線方向から見た概略断面図である。 図2で示す現像装置の上部カバーを取り外した状態の上面図である。 本発明による実施形態に係る現像装置で使用される第1実施形態の検知面攪拌部材が固定された部分の拡大斜視図である。 図2で示す現像装置のトナー濃度センサを設けた位置での第二現像剤収容部の拡大断面図である。 本発明による実施形態に係る現像装置で使用される検知面近傍の上部カバーの内壁面を下げる構成の説明図で、(a)は、現像装置の第二現像剤収容部を図3中の矢印E方向から見た第二現像剤収容部の側方断面図であり、(b)は、上部カバーの内壁面を上方に載置した平面図である。 本発明による第3実施形態に係る現像装置が備える第二搬送スクリューの検知面攪拌部材が固定された部分の近傍の拡大説明図である。 本発明による第4実施形態に係る現像装置の上部カバーを取り外した状態の上面図である。
符号の説明
1Y、1M、1C、1K 感光体、2 クリーニング装置、4 帯電装置、5Y、5M、5C、5K 現像装置、6Y、6M、6C、6K プロセスカートリッジ、7 露光装置、8 中間転写ベルト、9Y、9M、9C、9K 一次転写バイアスローラ、19 二次転写ローラ、20 定着装置、51Y 現像スリーブ、52Y 現像ドクタ、53Y 第一現像剤収容部、54Y 第二現像剤収容部、55Y ケーシング、55aY 外壁部、55bY 内壁部、56Y トナー濃度センサ、57Y 制御部、58Y トナー補給部、59Y 仕切り壁、61Y 第1搬送スクリュー、62Y 第2搬送スクリュー、62aY 軸部、62bY、62cY 羽部、67Y 上部カバー、67aY 天井凸部、70Y、70YA、70YB 検知面攪拌部材、71Y、71YA、71YB 弾性体シート、72Y、72YA、72YB フィン、72aY、72aYA、72aYB 開口部、72bY 枠部、80Y 検知面

Claims (13)

  1. トナーとキャリアとを含む現像剤を担持し、現像に用いる現像剤担持体と、
    当該現像剤担持体に供給する現像剤を収容する現像剤収容部を形成するケーシングと、
    螺旋状の羽部を有する軸部を中心に回転することによって当該羽部で前記ケーシング内の現像剤を攪拌しながら軸部の軸線方向に搬送する搬送スクリューと、
    当該搬送スクリューの軸部と平行な前記ケーシングの内壁面の一部を検知面として前記現像剤中のトナー濃度を検知するトナー濃度検知手段と、を備えた現像装置において、
    前記検知面と対向する位置の前記軸部に配設され、前記搬送スクリューの回転によって当該検知面上の現像剤を攪拌する検知面攪拌部材を有し、
    当該検知面撹拌部材は、前記軸部から径方向に突出して前記搬送スクリューの回転によって前記検知面に接触することなく回転する当該軸部と平行に配設される板状の支持部と、当該支持部の先端から軸部の径方向に延出して前記検知面と弾性的に摺接する攪拌部を有し、
    前記支持部は、前記搬送スクリューの回転によって前記現像剤の透過を許容する開口部を有していることを特徴とする現像装置。
  2. 請求項1記載の現像装置において、
    前記支持部は、現像剤の撹拌動作によって変形しない剛性を有していることを特徴とする現像装置。
  3. 請求項1又は2記載の現像装置において、
    前記支持部の開口部は、当該支持部の中央部に形成され、当該支持部の枠部で形成された四角形状の透孔であることを特徴とする現像装置。
  4. 請求項1乃至3のいずれか1項記載の現像装置において
    前記攪拌部は、前記搬送スクリューの回転によって弾性変形しながら前記検知面と摺接する弾性体シートであることを特徴とする現像装置。
  5. 請求項1乃至4のいずれか1項記載の現像装置において、
    前記検知面は、前記ケーシングの底部内壁面の一部に形成されることを特徴とする現像装置。
  6. 請求項1乃至5のいずれか1項記載の現像装置において、
    前記検知面攪拌部材は、前記軸部から径方向に複数突出されていることを特徴とする現像装置。
  7. 請求項6記載の現像装置において、
    前記複数の検知面攪拌部材は、前記軸部上に前記搬送スクリューの現像剤の搬送方向に沿ってずれた位置にそれぞれ配設されていることを特徴とする現像装置。
  8. 請求項1乃至7のいずれか1項記載の現像装置において、
    前記内壁面に囲まれて前記搬送スクリューによって前記現像剤を搬送する現像剤搬送路の前記軸部に直交する平面における断面積を、前記搬送スクリューの搬送方向の前記検知面に対して上流側の当該断面積に比べて、該検知面の方で小さくしたことを特徴とする現像装置。
  9. 請求項8記載の現像装置において、
    前記ケーシングの上蓋部の前記検知面に対応する内壁面に、前記軸部に向かって突出する突部を形成したことを特徴とする現像装置。
  10. 請求項1乃至9のいずれか1項記載の現像装置において、
    前記検知面に対応する前記羽部の螺旋ピッチ幅が、前記搬送スクリューの現像剤の搬送方向における前記検知面に対して上流側の螺旋ピッチ幅に比べて、狭く形成されていることを特徴とする現像装置。
  11. 少なくとも、表面に静電潜像が形成される像担持体と、当該像担持体上の静電潜像にトナーを供給してトナー像化する現像装置とを一体的に連結したプロセスカートリッジにおいて、
    前記現像装置は、請求項1乃至10のいずれか1項記載の現像装置であることを特徴とするプロセスカートリッジ。
  12. 表面に静電潜像が形成される像担持体と、当該像担持体上の静電潜像にトナーを供給してトナー像化する現像装置とを備えた画像形成装置において、
    前記現像装置は、請求項1乃至10のいずれか1項記載の現像装置であることを特徴とする画像形成装置。
  13. 請求項12記載の画像形成装置において、
    前記像担持体と前記現像装置は、一体的に連結され、当該画像形成装置本体に対して着脱自在に構成されたプロセスカートリッジであること特徴とする画像形成装置。
JP2008216521A 2008-08-26 2008-08-26 現像装置、プロセスカートリッジ及び画像形成装置 Expired - Fee Related JP5256937B2 (ja)

Priority Applications (1)

Application Number Priority Date Filing Date Title
JP2008216521A JP5256937B2 (ja) 2008-08-26 2008-08-26 現像装置、プロセスカートリッジ及び画像形成装置

Applications Claiming Priority (1)

Application Number Priority Date Filing Date Title
JP2008216521A JP5256937B2 (ja) 2008-08-26 2008-08-26 現像装置、プロセスカートリッジ及び画像形成装置

Publications (2)

Publication Number Publication Date
JP2010054575A true JP2010054575A (ja) 2010-03-11
JP5256937B2 JP5256937B2 (ja) 2013-08-07

Family

ID=42070614

Family Applications (1)

Application Number Title Priority Date Filing Date
JP2008216521A Expired - Fee Related JP5256937B2 (ja) 2008-08-26 2008-08-26 現像装置、プロセスカートリッジ及び画像形成装置

Country Status (1)

Country Link
JP (1) JP5256937B2 (ja)

Cited By (2)

* Cited by examiner, † Cited by third party
Publication number Priority date Publication date Assignee Title
JP2014106396A (ja) * 2012-11-28 2014-06-09 Kyocera Document Solutions Inc 現像剤収容容器及びこれが適用された画像形成装置
JP2015060018A (ja) * 2013-09-18 2015-03-30 京セラドキュメントソリューションズ株式会社 現像装置およびそれを備えた画像形成装置

Citations (4)

* Cited by examiner, † Cited by third party
Publication number Priority date Publication date Assignee Title
JPH05150650A (ja) * 1991-11-27 1993-06-18 Mita Ind Co Ltd 現像装置のトナー濃度検出装置
JP2002268368A (ja) * 2001-03-14 2002-09-18 Kyocera Mita Corp 現像装置及び画像形成装置
JP2003307918A (ja) * 2002-04-12 2003-10-31 Canon Inc 現像装置および画像形成装置
JP2007286131A (ja) * 2006-04-12 2007-11-01 Sharp Corp 現像装置および画像形成装置

Patent Citations (4)

* Cited by examiner, † Cited by third party
Publication number Priority date Publication date Assignee Title
JPH05150650A (ja) * 1991-11-27 1993-06-18 Mita Ind Co Ltd 現像装置のトナー濃度検出装置
JP2002268368A (ja) * 2001-03-14 2002-09-18 Kyocera Mita Corp 現像装置及び画像形成装置
JP2003307918A (ja) * 2002-04-12 2003-10-31 Canon Inc 現像装置および画像形成装置
JP2007286131A (ja) * 2006-04-12 2007-11-01 Sharp Corp 現像装置および画像形成装置

Cited By (2)

* Cited by examiner, † Cited by third party
Publication number Priority date Publication date Assignee Title
JP2014106396A (ja) * 2012-11-28 2014-06-09 Kyocera Document Solutions Inc 現像剤収容容器及びこれが適用された画像形成装置
JP2015060018A (ja) * 2013-09-18 2015-03-30 京セラドキュメントソリューションズ株式会社 現像装置およびそれを備えた画像形成装置

Also Published As

Publication number Publication date
JP5256937B2 (ja) 2013-08-07

Similar Documents

Publication Publication Date Title
JP4755867B2 (ja) 現像装置、及びこれを備えたプロセスカートリッジ、画像形成装置
JP5124316B2 (ja) 現像装置、プロセスカートリッジ、及び画像形成装置
US8805246B2 (en) Toner replenishing device and image forming apparatus including toner replenishing device
JP5332336B2 (ja) トナー補給装置及び画像形成装置
US20110305485A1 (en) Powder container and image forming apparatus incorporating same
US20120141169A1 (en) Image forming apparatus and toner cartridge used therein
US20120189350A1 (en) Development device, developer container, and image forming apparatus
JP2017191182A (ja) 粉体補給装置及び画像形成装置
JP5277587B2 (ja) 画像形成装置
US10007212B2 (en) Developing apparatus having developer guiding portions
JP5476695B2 (ja) 現像装置、プロセスカートリッジ及び画像形成装置
KR101580841B1 (ko) 현상기 및 이를 채용한 전자사진방식 화상형성장치
JP5353317B2 (ja) 現像装置およびプロセスカートリッジおよび画像形成装置
US8488999B2 (en) Developing device and image forming apparatus having a developer conveying section with a spiral blade
JP5256937B2 (ja) 現像装置、プロセスカートリッジ及び画像形成装置
JP5957911B2 (ja) 現像剤補給装置及び画像形成装置
JP5989331B2 (ja) 現像装置およびこれを用いる画像形成装置
JP5852897B2 (ja) 画像形成装置
JP5612294B2 (ja) 画像形成装置
JP2011053477A (ja) 現像装置、プロセスカートリッジ、画像形成装置、現像剤交換方法
JP2010217328A (ja) 現像装置、画像形成装置、及びプロセスカートリッジ
JP2013214107A (ja) 現像装置、プロセスカートリッジ及び画像形成装置
JP4846240B2 (ja) 2つの画像形成装置、現像ユニットと画像形成装置との組み合わせを判定する方法
JP6033596B2 (ja) 画像形成装置およびトナー補給装置
JP2007286131A (ja) 現像装置および画像形成装置

Legal Events

Date Code Title Description
A621 Written request for application examination

Free format text: JAPANESE INTERMEDIATE CODE: A621

Effective date: 20110624

RD02 Notification of acceptance of power of attorney

Free format text: JAPANESE INTERMEDIATE CODE: A7422

Effective date: 20110708

A131 Notification of reasons for refusal

Free format text: JAPANESE INTERMEDIATE CODE: A131

Effective date: 20121030

A977 Report on retrieval

Free format text: JAPANESE INTERMEDIATE CODE: A971007

Effective date: 20121031

A521 Written amendment

Free format text: JAPANESE INTERMEDIATE CODE: A523

Effective date: 20121219

TRDD Decision of grant or rejection written
A01 Written decision to grant a patent or to grant a registration (utility model)

Free format text: JAPANESE INTERMEDIATE CODE: A01

Effective date: 20130326

A61 First payment of annual fees (during grant procedure)

Free format text: JAPANESE INTERMEDIATE CODE: A61

Effective date: 20130408

FPAY Renewal fee payment (event date is renewal date of database)

Free format text: PAYMENT UNTIL: 20160502

Year of fee payment: 3

LAPS Cancellation because of no payment of annual fees