JP2010051973A - 連続鋳造設備の鋳片案内ロールの軸受構造 - Google Patents

連続鋳造設備の鋳片案内ロールの軸受構造 Download PDF

Info

Publication number
JP2010051973A
JP2010051973A JP2008216498A JP2008216498A JP2010051973A JP 2010051973 A JP2010051973 A JP 2010051973A JP 2008216498 A JP2008216498 A JP 2008216498A JP 2008216498 A JP2008216498 A JP 2008216498A JP 2010051973 A JP2010051973 A JP 2010051973A
Authority
JP
Japan
Prior art keywords
bearing
guide roll
thrust
slab guide
continuous casting
Prior art date
Legal status (The legal status is an assumption and is not a legal conclusion. Google has not performed a legal analysis and makes no representation as to the accuracy of the status listed.)
Granted
Application number
JP2008216498A
Other languages
English (en)
Other versions
JP5187072B2 (ja
Inventor
Hidekazu Oda
英一 小田
Current Assignee (The listed assignees may be inaccurate. Google has not performed a legal analysis and makes no representation or warranty as to the accuracy of the list.)
JFE Steel Corp
Original Assignee
JFE Steel Corp
Priority date (The priority date is an assumption and is not a legal conclusion. Google has not performed a legal analysis and makes no representation as to the accuracy of the date listed.)
Filing date
Publication date
Application filed by JFE Steel Corp filed Critical JFE Steel Corp
Priority to JP2008216498A priority Critical patent/JP5187072B2/ja
Publication of JP2010051973A publication Critical patent/JP2010051973A/ja
Application granted granted Critical
Publication of JP5187072B2 publication Critical patent/JP5187072B2/ja
Active legal-status Critical Current
Anticipated expiration legal-status Critical

Links

Images

Landscapes

  • Sliding-Contact Bearings (AREA)
  • Rolls And Other Rotary Bodies (AREA)
  • Rolling Contact Bearings (AREA)

Abstract

【課題】連続鋳造設備の鋳片案内ロールの軸受構造として、充分なスラスト耐荷重を備えているとともに長寿命である軸受構造を提供する。
【解決手段】連続鋳造設備の鋳片案内ロール3の端面に開口する軸受孔10と、その軸受孔10に挿入される支持軸11との間に介装されて、鋳片案内ロール3を回転可能に支持する軸受の構造であり、軸受孔10と支持軸11との間にラジアル軸受である針状ころ軸受12が配置され、さらに、針状ころ軸受12の位置より軸受孔10の内部の位置にスラスト軸受であるスラストメタル軸受13が配置されている。
【選択図】図1

Description

本発明は、連続鋳造設備の鋳片案内ロールの軸受構造に関し、特に小径の鋳片案内ロールに好適な軸受構造に関する。
連続鋳造設備は、図5に概略図を示すように、タンディッシュ2内の溶湯をモールド1に注入して該モールド1内で外殻のみが凝固した鋳片7を冷却しつつ引き抜き、引き抜かれた鋳片7を複数の鋳片案内ロール3等によって搬送するようにしたものである。
この鋳片案内ロール3にはラジアル荷重とともにスラスト荷重も掛かる。比較的大径の鋳片案内ロールの場合は、スラスト荷重を受け持たすために自動調芯ころや円錐ころ軸受を組み込んで使用することができるが、小径の鋳片案内ロール(例えば、直径が200mm以下のロール)の場合には、自動調芯ころや円錐ころ軸受を組み込むスペースがなく、ラジアル荷重しか負荷できない針状ころ軸受を使用している。
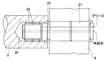
図2に、従来技術にかかる軸受構造の概略を示す。図2に示すように、鋳片案内ロール3の端面に軸受孔20が開口しており、後端部がフレーム8に固定された支持軸21の先端部がその軸受孔20に挿入されている。そして、その軸受孔20と支持軸21との間に二列の針状ころ軸受(ラジアル軸受)22が介装されて鋳片案内ロール3を回転可能に支持するようになっている。その際、スラスト荷重については、軸受孔20の開口部の位置にスラストメタル軸受23を取り付け、鋳片案内ロール3の端面とスラストメタル軸受23とを摺動させながらスラスト荷重を受け持たすようにしている。
しかし、このような従来の軸受構造においては、受け持つことが可能な最大スラスト荷重(スラスト耐荷重)は充分であるが、支持軸21の端面とスラストメタル軸受23との摺動部が水やスケールが侵入しやすい環境にあるため、スラストメタル軸受23が摩耗しやすく、寿命が短いという問題がある。
そこで、特許文献1においては、水やスケールの侵入が無く潤滑環境の良好な軸受孔内部にスラスト円筒ころ軸受を組み込み、そのスラスト円筒ころ軸受にスラスト荷重を受け持たせることにより、軸受寿命の延長を図っている。
すなわち、図3に示すように、鋳片案内ロール3の端面に開口した軸受孔30に支持軸31が挿入されており、軸受孔30と支持軸31との間にラジアル軸受である針状ころ軸受32とスラスト軸受であるスラスト円筒ころ軸受33とが軸方向に互いに離間して組み込まれている。
これにより、この軸受構造においては、小径の鋳片案内ロールの場合でも、スラスト荷重による軸受の損傷が防止されて軸受の寿命を従来に比べて大幅に延長することができるとしている。
特開2003−164950号公報
前述したように、従来の軸受構造においては、スラスト耐荷重は充分であるが、支持軸とスラストメタル軸受との摺動部が水やスケールの侵入しやすい部位にあるため、スラストメタル軸受の寿命が短いという問題がある。
一方、前記特許文献1に記載の軸受構造の場合、潤滑環境は良好であるが、充分なスラスト耐荷重を有するスラスト円筒ころ軸受を組み込むためのスペースを軸受孔内に確保するのが難しく、スラスト耐荷重が不足する可能性があるという問題がある。
本発明は、上記のような事情に鑑みてなされたものであり、連続鋳造設備の鋳片案内ロールの軸受構造として、充分なスラスト耐荷重を備えているとともに長寿命である軸受構造を提供することを目的とするものである。
上記課題を解決するために、本発明は以下の特徴を有する。
[1]連続鋳造設備の鋳片案内ロールの端面に開口する軸受孔と、該軸受孔に挿入される支持軸との間に介装されて、前記鋳片案内ロールを回転可能に支持する軸受の構造であって、
前記軸受孔と前記支持軸との間にラジアル軸受が配置され、さらに、前記ラジアル軸受の位置より軸受孔の内部の位置にスラストメタル軸受が配置されていることを特徴とする連続鋳造設備の鋳片案内ロールの軸受構造。
[2]前記ラジアル軸受が針状ころ軸受であることを特徴とする前記[1]に記載の連続鋳造設備の鋳片案内ロールの軸受構造。
本発明においては、連続鋳造設備の鋳片案内ロールの軸受構造として、充分なスラスト耐荷重を備え、かつ長寿命である軸受構造となっている。
本発明の一実施形態を図面に基づいて説明する。
図1は、本発明の一実施形態に係る連続鋳造設備の鋳片案内ロールの軸受構造を示すものである。
図1に示すように、この実施形態に係る軸受構造は、連続鋳造設備の鋳片案内ロール3の端面に開口する軸受孔10と、その軸受孔10に挿入される支持軸11との間に介装されて、鋳片案内ロール3を回転可能に支持する軸受の構造であり、軸受孔10と支持軸11との間にラジアル軸受である針状ころ軸受12が二列配置され、さらに、針状ころ軸受12の位置より軸受孔10の内部の位置にスラスト軸受であるスラストメタル軸受13が一個配置されている。そして、スラストメタル軸受13は、鋳片案内ロール3に取り付けられた摺動部材14との間で摺動しながらスラスト荷重を受け持つようになっている。
ここで、この実施形態においてスラストメタル軸受13を用いているのは、メタル軸受は円筒ころ軸受に比べて構造がシンプルなので、小スペースで大荷重を受けることができるからである。なお、メタル軸受は回転数が速いところでの使用は難しいが、極低速回転(数rpm)である鋳片案内ロール3に対しては好適である。
このようにして、この実施形態においては、スラストメタル軸受13にスラスト荷重を受け持たせることによって、充分なスラスト耐荷重を得ることができるとともに、そのスラストメタル軸受13を、水やスケールの侵入が無く、潤滑環境(摺動環境)の良好な軸受孔10の内部に配置することによって、軸受の長寿命化を達成している。
なお、この実施形態においては、軸受孔10の開口部の近傍とスラストメタル軸受13の近傍にシール部材16、17を配することによって、水やスケールが軸受孔10の内部に侵入してスラストメタル軸受13に損傷を与えることを確実に防止するようにしている。
ちなみに、上記の実施形態においては、針状ころ軸受12を二列配置し、スラストメタル軸受13を一個配置しているが、針状ころ軸受12の配置数およびスラストメタル軸受13の配置数はそれに限定されることはない。
本発明の実施例1として、図1に示した本発明の一実施形態に係る軸受構造(本発明例)と、図2に示した従来の軸受構造(従来例)と、図3に示した特許文献1に記載の軸受構造(比較例)について、スラスト耐荷重と軸受寿命の比較を行った。なお、負荷されたスラスト荷重は1.8tonであった。
まず、従来例においては、図4に示すように、スラスト耐荷重は23.8tonと非常に大きいが、潤滑環境が不良(×)であるため、軸受の摩耗による軸受破損トラブルが2回/年ほど発生した。軸受破損トラブルが発生すると、復旧に必要となるセグメントの交換作業により4時間程度の生産ライン稼動停止を要するため、約8時間/年の生産ライン稼動停止を余儀なくされた。
一方、比較例においては、潤滑環境が良好(○)であるため、軸受の損耗による軸受破損トラブルは防止されるが、図4に示すように、スラスト耐荷重は4.2tonと低く、負荷されたスラスト荷重1.8tonからみて、充分な安全率を備えているとは言い難い。
これに対して、本発明例においては、潤滑環境が良好(○)であるため、軸受の損耗による軸受破損トラブルが防止されるとともに、図4に示すように、スラスト耐荷重は14.7tonと高く、充分な安全率を備えているといえる。従来例と比べると、スラストメタル軸受の配置スペースが狭いため、受圧面積が小さくなって、スラスト耐荷重は減少するが、潤滑環境が同等である比較例に比べると、スラスト耐荷重は3.5倍に向上している。
以上のような結果から、本発明の有効性を確認することができた。
本発明の一実施形態に係る軸受構造を説明するための断面図である。 従来の軸受構造を説明するための断面図である。 特許文献1に記載の軸受構造を説明するための断面図である。 本発明の実施例の効果を示す図である。 連続鋳造設備の概略図である。
符号の説明
1 モールド
2 タンディッシュ
3 鋳片案内ロール
7 鋳片
8 フレーム
10 軸受孔
11 支持軸
12 針状ころ軸受(ラジアル軸受)
13 スラストメタル軸受(スラスト軸受)
14 摺動部材
16 シール
17 シール
20 軸受孔
21 支持軸
22 針状ころ軸受(ラジアル軸受)
23 スラストメタル軸受(スラスト軸受)
30 軸受孔
31 支持軸
32 針状ころ軸受(ラジアル軸受)
33 スラスト円筒ころ軸受(スラスト軸受)

Claims (2)

  1. 連続鋳造設備の鋳片案内ロールの端面に開口する軸受孔と、該軸受孔に挿入される支持軸との間に介装されて、前記鋳片案内ロールを回転可能に支持する軸受の構造であって、
    前記軸受孔と前記支持軸との間にラジアル軸受が配置され、さらに、前記ラジアル軸受の位置より軸受孔の内部の位置にスラストメタル軸受が配置されていることを特徴とする連続鋳造設備の鋳片案内ロールの軸受構造。
  2. 前記ラジアル軸受が針状ころ軸受であることを特徴とする請求項1に記載の連続鋳造設備の鋳片案内ロールの軸受構造。
JP2008216498A 2008-08-26 2008-08-26 連続鋳造設備の鋳片案内ロールの軸受構造 Active JP5187072B2 (ja)

Priority Applications (1)

Application Number Priority Date Filing Date Title
JP2008216498A JP5187072B2 (ja) 2008-08-26 2008-08-26 連続鋳造設備の鋳片案内ロールの軸受構造

Applications Claiming Priority (1)

Application Number Priority Date Filing Date Title
JP2008216498A JP5187072B2 (ja) 2008-08-26 2008-08-26 連続鋳造設備の鋳片案内ロールの軸受構造

Publications (2)

Publication Number Publication Date
JP2010051973A true JP2010051973A (ja) 2010-03-11
JP5187072B2 JP5187072B2 (ja) 2013-04-24

Family

ID=42068452

Family Applications (1)

Application Number Title Priority Date Filing Date
JP2008216498A Active JP5187072B2 (ja) 2008-08-26 2008-08-26 連続鋳造設備の鋳片案内ロールの軸受構造

Country Status (1)

Country Link
JP (1) JP5187072B2 (ja)

Cited By (2)

* Cited by examiner, † Cited by third party
Publication number Priority date Publication date Assignee Title
WO2011111677A1 (ja) 2010-03-09 2011-09-15 国立大学法人東北大学 ビス-リン酸化合物及びそれを用いる不斉反応
CN106567886A (zh) * 2015-10-13 2017-04-19 上海安莱德汽车零部件有限公司 一种四门滚轮轴结构

Citations (6)

* Cited by examiner, † Cited by third party
Publication number Priority date Publication date Assignee Title
JPH0624228U (ja) * 1991-02-14 1994-03-29 富士重工業株式会社 汎用エンジンの軸受構造
JP2002021843A (ja) * 2000-07-06 2002-01-23 Mitsubishi Heavy Ind Ltd スラスト軸受装置
JP2002301538A (ja) * 2001-04-03 2002-10-15 Michihiro Yokoyama ハスバ歯車素材加工方法
JP2003156087A (ja) * 2001-11-22 2003-05-30 Nisshinbo Ind Inc ブレーキシリンダ装置
JP2003164950A (ja) * 2001-11-28 2003-06-10 Kawasaki Steel Corp 連続鋳造設備の鋳片案内ロールの軸受構造
JP2003311382A (ja) * 2002-04-17 2003-11-05 Jfe Steel Kk 連続鋳造鋳片支持装置

Patent Citations (6)

* Cited by examiner, † Cited by third party
Publication number Priority date Publication date Assignee Title
JPH0624228U (ja) * 1991-02-14 1994-03-29 富士重工業株式会社 汎用エンジンの軸受構造
JP2002021843A (ja) * 2000-07-06 2002-01-23 Mitsubishi Heavy Ind Ltd スラスト軸受装置
JP2002301538A (ja) * 2001-04-03 2002-10-15 Michihiro Yokoyama ハスバ歯車素材加工方法
JP2003156087A (ja) * 2001-11-22 2003-05-30 Nisshinbo Ind Inc ブレーキシリンダ装置
JP2003164950A (ja) * 2001-11-28 2003-06-10 Kawasaki Steel Corp 連続鋳造設備の鋳片案内ロールの軸受構造
JP2003311382A (ja) * 2002-04-17 2003-11-05 Jfe Steel Kk 連続鋳造鋳片支持装置

Cited By (2)

* Cited by examiner, † Cited by third party
Publication number Priority date Publication date Assignee Title
WO2011111677A1 (ja) 2010-03-09 2011-09-15 国立大学法人東北大学 ビス-リン酸化合物及びそれを用いる不斉反応
CN106567886A (zh) * 2015-10-13 2017-04-19 上海安莱德汽车零部件有限公司 一种四门滚轮轴结构

Also Published As

Publication number Publication date
JP5187072B2 (ja) 2013-04-24

Similar Documents

Publication Publication Date Title
EP3048318B1 (en) Bearing structure
CN205132375U (zh) 一种小方坯连铸机铸坯导向装置支撑辊
US20040028305A1 (en) Bearing apparatus of sealing type
JP5187072B2 (ja) 連続鋳造設備の鋳片案内ロールの軸受構造
JP6329198B2 (ja) 円すいころ軸受
CN102425601A (zh) 一种内、外组件均为圆柱滚子的三环轴承
CN201747789U (zh) 一种改进的四列圆柱滚子轴承
CN101586605A (zh) 无挡边双列滚子轴承
CN203879926U (zh) 一种三列圆柱滚子轴承、轴承组件及轧机
CN202790095U (zh) 一种三环双列组合调心球轴承
JP2009063099A (ja) 転がり軸受用軌道輪および自動調心ころ軸受
CN204186793U (zh) 一种双列角接触球轴承
CN204851271U (zh) 一种免维护固体润滑盾构机滚刀组件
JP4127268B2 (ja) 圧延ロール支持構造
JP2009168106A (ja) ころ軸受及びころ軸受の固定構造
CN106151281B (zh) 与滚动体滚动接触的轴承保持架
CN119737382B (zh) 一种大直径掘进机主轴承及装配方法
CN110848247A (zh) 高端百米轨梁立辊圆锥滚子轴承
CN201747770U (zh) 四列圆柱滚子轴承
CN201196201Y (zh) 双列圆锥滚子轴承
CN101586616A (zh) 双列圆锥滚子轴承
JP2007255536A (ja) 円錐ころ軸受、間座および風力発電機の主軸支持構造
JP2008196648A (ja) 軸受用密封装置及び軸受ユニット
JP2007198464A (ja) 調心輪付き円筒ころ軸受
JP2009024833A (ja) 転がり軸受装置

Legal Events

Date Code Title Description
A621 Written request for application examination

Free format text: JAPANESE INTERMEDIATE CODE: A621

Effective date: 20110421

RD03 Notification of appointment of power of attorney

Free format text: JAPANESE INTERMEDIATE CODE: A7423

Effective date: 20120321

RD04 Notification of resignation of power of attorney

Free format text: JAPANESE INTERMEDIATE CODE: A7424

Effective date: 20120327

A977 Report on retrieval

Free format text: JAPANESE INTERMEDIATE CODE: A971007

Effective date: 20120905

A131 Notification of reasons for refusal

Free format text: JAPANESE INTERMEDIATE CODE: A131

Effective date: 20121002

A521 Request for written amendment filed

Free format text: JAPANESE INTERMEDIATE CODE: A523

Effective date: 20121127

TRDD Decision of grant or rejection written
A01 Written decision to grant a patent or to grant a registration (utility model)

Free format text: JAPANESE INTERMEDIATE CODE: A01

Effective date: 20121225

A61 First payment of annual fees (during grant procedure)

Free format text: JAPANESE INTERMEDIATE CODE: A61

Effective date: 20130107

FPAY Renewal fee payment (event date is renewal date of database)

Free format text: PAYMENT UNTIL: 20160201

Year of fee payment: 3

R150 Certificate of patent or registration of utility model

Ref document number: 5187072

Country of ref document: JP

Free format text: JAPANESE INTERMEDIATE CODE: R150

Free format text: JAPANESE INTERMEDIATE CODE: R150

R250 Receipt of annual fees

Free format text: JAPANESE INTERMEDIATE CODE: R250

R250 Receipt of annual fees

Free format text: JAPANESE INTERMEDIATE CODE: R250

R250 Receipt of annual fees

Free format text: JAPANESE INTERMEDIATE CODE: R250

R250 Receipt of annual fees

Free format text: JAPANESE INTERMEDIATE CODE: R250

R250 Receipt of annual fees

Free format text: JAPANESE INTERMEDIATE CODE: R250

R250 Receipt of annual fees

Free format text: JAPANESE INTERMEDIATE CODE: R250