JP2010051298A - 農業用培養液の構造制御装置 - Google Patents

農業用培養液の構造制御装置 Download PDF

Info

Publication number
JP2010051298A
JP2010051298A JP2008224424A JP2008224424A JP2010051298A JP 2010051298 A JP2010051298 A JP 2010051298A JP 2008224424 A JP2008224424 A JP 2008224424A JP 2008224424 A JP2008224424 A JP 2008224424A JP 2010051298 A JP2010051298 A JP 2010051298A
Authority
JP
Japan
Prior art keywords
tank
storage tank
culture solution
flow
water flow
Prior art date
Legal status (The legal status is an assumption and is not a legal conclusion. Google has not performed a legal analysis and makes no representation as to the accuracy of the status listed.)
Granted
Application number
JP2008224424A
Other languages
English (en)
Other versions
JP5228712B2 (ja
Inventor
Katsumi Ishikawa
勝美 石川
Current Assignee (The listed assignees may be inaccurate. Google has not performed a legal analysis and makes no representation or warranty as to the accuracy of the list.)
DAIEI ZOSEN KK
Kyushu University NUC
Kochi University NUC
Original Assignee
DAIEI ZOSEN KK
Kyushu University NUC
Kochi University NUC
Priority date (The priority date is an assumption and is not a legal conclusion. Google has not performed a legal analysis and makes no representation as to the accuracy of the date listed.)
Filing date
Publication date
Application filed by DAIEI ZOSEN KK, Kyushu University NUC, Kochi University NUC filed Critical DAIEI ZOSEN KK
Priority to JP2008224424A priority Critical patent/JP5228712B2/ja
Publication of JP2010051298A publication Critical patent/JP2010051298A/ja
Application granted granted Critical
Publication of JP5228712B2 publication Critical patent/JP5228712B2/ja
Expired - Fee Related legal-status Critical Current
Anticipated expiration legal-status Critical

Links

Images

Classifications

    • Y02P60/216

Landscapes

  • Hydroponics (AREA)

Abstract

【課題】
岩石の変異電荷を利用した培養液の界面動電処理により、水分子の構造状態に変化を起こし、培養液の吸収性を増加し、農作物の育成促進を図る。
【解決手段】
液体を貯留するためのタンク(1)と、前記タンク(1)内方に設置されると共に変異荷電性を有する石英斑岩等の岩石を流動可能に収容する収容槽(2)と、前記収容槽(2)内に水流を生ぜしめて前記岩石を流動させる水流生成手段(3)とを有する培養液の構造制御装置。
【選択図】図1

Description

本発明は、野菜等の農業作物の育成を促進させる培養液を生成する装置に関する。
岩石のミネラルを溶出させて野菜等の育成を促進させる培養液に関しては、例えば、石英斑岩や珪酸白土等の処理媒体をタンク内に投入して静置する方法や、散気管を設け、空気や酸素ガスを分散させミネラルの溶出効果を高める方式などがある。
特開昭59−179026
培養液を用いる栽培は、培養液の緩衝能が小さいため、イオン濃度、pH、温度、酸素濃度などの急変は野菜等の根に対するストレスとなって現れる。また、pHとEC(導電率)による培養液管理は培養液中のイオンバランスを乱す原因ともなっている。したがって、周年栽培における野菜生産の安定性と高品質性を図るためには、培養液の構造制御を図る装置が求められる。
しかしながら、従来技術では、岩石のミネラルの溶出やその効果について記載しているだけであって、野菜等の根が接触する培養液の物性変化や生体反応への影響に配慮し、植物の育成情報に基づく培養液の根圏環境の制御を積極的に行い、植物の成長促進を図る技術は記載されていない。
そこで本発明は、農業作物である野菜等の生産の安定性と高品質性を図るため、培養液の構造を制御できる装置の提供を目的とする。
本発明は、水又は培養液等の液体を貯留するためのタンク(1)と、前記タンク(1)内方に設置されると共に変異荷電性を有する岩石等の処理媒体を流動可能に収容する収容槽(2)と、前記収容槽(2)内に水流を生ぜしめて前記処理媒体を流動させる水流生成手段(3)とを有する培養液の構造制御装置である。
本発明における培養液の構造制御装置は、処理媒体として−10〜−30mVのゼータ電位を有する変異荷電性の石英斑岩あるいは石英斑岩を含んだセラミックスを用いるものである。また、処理時間、利用効率やコストの点で有利な、界面動電処理法を用いるものである。
すなわち、本発明の水流生成手段(3)は、石英斑岩等の処理媒体に物理的刺激を与えるべく、収容槽(2)−タンク(1)間を循環する循環流をタンク(1)内に形成するものであって、タンク(1)内の液体は収容槽(2)の内部に流入し、収容槽(2)の内部を通過する際に処理媒体を流動させた後、収容槽(2)の外部に流出されてタンク内(収容槽外)に戻り、再び収容槽(2)内に流入するような循環流を形成するものである。具体的には、図1に示すとおり、水流生成手段(3)は、タンク(1)内に貯留された液体を吸引する吸引口と、加圧された液体が吐出される吐出口を有する水中ポンプであり、水中ポンプはタンク(1)内方に設置され、水中ポンプの吐出口は、収容槽(2)の下部に形成された流入口と流通路(4)を介して連通される。流通路(4)を経由して流入口から収容槽(2)内に流入した加圧液体は、収容槽(2)内部を通過して処理媒体を流動させ、処理媒体同士を摩擦・衝突させた後、収容槽(2)の上部に形成された流出口(5)から流出されるものである。
なお、水流生成手段(3)としてのポンプは、マグネットポンプ、渦巻きポンプ、ダイヤフラムポンプ、スクリューポンプ、プランジャーポンプ、ピストンポンプを適宜用いることができる。
本発明に係る培養液の構造制御装置によれば、石英斑岩等の処理媒体を流動可能に収容した収容槽(2)に対してタンク(1)内に貯留された水を流入させ、この水流によって処理媒体を浮揚させて流動させることができ、構造制御された培養液を生成することができる。
すなわち、衝突・摩擦を繰り返す処理媒体は、処理媒体表面と液体界面にできる電気二重層が電気化学的反応種となり、液側は正電荷を帯び、この正電荷が液体の水分子の構造状態を水素結合性の強い構造状態に変化させる。具体的には、処理媒体同士の衝突による表面の局所発熱と、水流による表面の局所摩擦熱によって、処理媒体の中心と表面との温度差による熱電効果によって、処理媒体表面は正電荷で覆われ、この正電荷が液体をカチオン帯電した構造に制御するのである。
なお、この衝突・摩擦による処理(以下、単に「処理」という。)によって生じる水分子の構造の変化は、例えば、熱刺激・脱分極電流−温度測定法(TSDC)にて評価される。すなわち、処理水と非処理水のそれぞれにつき、液体に直流電場をかけて分極(双極子配向)させた状態で温度を下げ、分極を凍結させた後に等速で昇温させ、その過程で起こる脱分極時の緩和ピーク温度とその電流強度によって液体の構造状態を比較すると、処理水は未処理水に比べて緩和ピーク温度が高温側にシフトすることから、処理によって水分子は拘束され、構造単位が大きくなり、分子運動性が低下しているといえる。
そして、処理後の培養液を用いた農作物栽培と、未処理の培養液を用いた農作物栽培とを比較検証した結果、処理後の構造制御された培養液の方が吸収量が大きく、育成速度もが速いことから、農作物の根表面の電荷作用を受けて吸収されやすくなっているものと推察できる。
図7、8は、石英斑岩を処理媒体とした本発明によって構造制御された培養液による栽培区を石英斑岩区、セラミックスを処理媒体とした本発明によって構造制御された培養液による栽培区をセラミック区、また、比較対象として処理媒体を用いない培養液による栽培区である対照区として、培養液・イオン吸収量、育成状況を比較したものである。なお、培養液は大塚ハウスA処方を用いている。
まず、図7に示すように、低温環境下(最低水温5〜15℃、最高水温38℃)でのコマツナの湛液方式による培養液による栽培実験を行った結果、栽培期間中における培養液の吸収量は、対照区(5780g)<セラミック区(6770g)<石英斑岩区(8360g)であり、石英斑岩区は対照区に比べ1.45倍増加した。また、栽培期間中におけるNO 、K、Ca2+、Mg2+の各イオン吸収量も、対照区<セラミック区<石英斑岩区であった。また、図8に示すとおり、草丈、葉幅、新鮮重、SPAD(葉緑素含量を示す値)によって示される育成状況ついても、対照区<セラミック区<石英斑岩区であり、本発明の培養液による栽培は、対照区に比べて有意に育成促進を果している。
なお、本発明における水流生成手段(3)は、収容槽(2)に収容して封入された石英斑岩等を流動させることが可能な加圧水流を生ぜしめる能力を備える加圧水流生成手段であり、また、処理媒体の投入量は、水流によって浮揚して互いに衝突・摩擦を繰り返すことが可能な程度の投入量であって、収容槽(2)の容量との関係で相対的に設定される。例えば、処理媒体の投入量は、収容槽(2)の容量に対して40%〜80%程度とするのが良く、特に約50%〜60%とするのが好ましい。
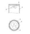
また、収容槽(2)は、その内部に処理媒体を封入して保持するものであり、例えば、筒状の収容槽(2)の側面を板状部材で構成すると共に天面及び底面を網状部材で構成し、底面の網状部材を流入口とし、天面の網状部材を流出口とすることができる。また、例えば、筒状の収容槽(2)の側面及び底面を板状部材とする一方、天面を網状部材で構成して流出口とすると共に、収容槽(2)を上槽および下槽に区切る網状中底部材(6)を設け、下槽に対応する側面部分に貫通孔を穿孔して流入口(7)とし、天面を網状部材を流出口(5)とする事もできる。
なお、上記した網状部材の網目(孔)の大きさは、処理媒体の粒径よりも小さく設定される。
また、収容槽(2)内に生じる水流に抗してその流れを乱して水流方向を変更する部材(C)を設けることにより、処理媒体を偏りなくほぼ均一に衝突・摩擦させることができる。例えば、図2〜6に記載された水流方向変更部材(C)を設けることにより、収容槽(2)内の処理媒体を攪拌等するような流れ、すなわち、(水流方向変更部材(C)を設けない場合よりも)相対的に大きな乱流を形成するようにして、処理媒体の流動即ち衝突・摩擦を促進するものである。特に、大きくとも直径30cm、高さ100cm程度の限られた筒状空間である収容槽(2)においては、大きな乱流が生じ難いため、流動を促進して収容された各処理媒体を均一に処理するためには、相対的に大きな乱流を生ぜしめることが重要である。
また、処理媒体の流動をより促進するためには、処理媒体に物理的刺激を与えるべく、収容槽(2)内にエアを送り込んで処理媒体を流動させるエア供給手段(8)を備えることもできる。例えば、エアが吐出される吐出口を有するエアポンプ(エア供給手段)をタンク外方に設置し、エアポンプ(8)の吐出口と収容槽(2)の下部に形成された流入口(9)とを流通路(10)を介して連通し、流通路(10)を経由して流入口(9)から流入したエアは収容槽(2)の内部を通過して処理媒体を流動させた後、収容槽(2)の上部に形成された流出口(5)から流出するものである。
また、タンク(1)の貯留された水、収容槽に投入された処理媒体、水中ポンプおよび/又はエアポンプの吐出能力の相関関係によって、水分子に構造変化を生ぜしめるために必要となる装置稼働時間を導き出し、当該時間が経過した後に水中ポンプおよび/又はエアポンプを停止するタイマー手段を備えることもできる。
本発明は、農業作物である野菜等の生産の安定性と高品質性を図るため、培養液の構造を制御することにより、培養液の利用効率を高め、野菜生産を安定性と高品質性を実現するものである。
本発明は、温度、光条件が調整された環境下であるグリーンハウスや植物工場において好適に利用されるものである。調整された環境を最大限生かすには、常に良質の培養液を利用できるシステムが重要となる。本実施例は、根圏の生理機能に着目し、同一の光・温度条件下において根圏周辺の培養液の分子構造状態に変化を与え、根圏の培養液環境を整えて培養液の利用効率を高めることができる。以下、本実施例の培養液制御装置の構造について説明する。
本実施例の培養液制御装置は、図1に示すように、培養液を貯留したタンク1と、タンク1内に設置・浸漬されると共に石英斑岩等を収容する収容槽2と、収容槽2内方下部に対して加圧水流を供給する水中ポンプ3と、収容槽2内方下部に対してエアを供給するエアポンプ8と、タンク内の培養液を栽培ベット(図示しない)へ供給する送液ポンプ11とを主な構成要素とする。
タンク1は、培養液を貯留するためのものであり、略立方形状に形成された容量300リットルの樹脂製タンクであり、回動操作によって取り外し可能な蓋部を備えている。
また、タンク1の上面には、流通路(10)であるチューブを挿入してタンク内部に導くための貫通孔が形成されている。
また、タンク1の側面下端付近には、図示しない栽培ベットへ培養液を供給する送液ポンプ11への流通路と連通された貫通孔が形成されている。
タンク1内側底面に設置される収容槽2は、直径約6mm〜約9.5mmの石英斑岩を収容すると共に石英斑岩が収容槽2の外部に出ないように保持するためのものである。収容槽2は略円筒状に形成され、側面及び底面は板状部材で構成される一方、天面は液体が挿通可能な部材である網目を有する網状部材5によって構成される。また、収容槽2は網状の中底部材6によって上下2槽に形成され、下槽の側面にはエアポンプ8に流通路10を介して連通する流入口9と、水中ポンプ3に流通路4を介して連通する流入口7とが形成される一方、上槽には石英斑岩が流動可能に収容されている。本実施例において収容された石英斑岩の量は、収容槽2上槽の容量の約50%である。なお、収容槽2の網状部材5は石英斑岩の出し入れ可能とするために開閉可能なものである。
収容槽2内に加圧水流を供給する水中ポンプ3は、タンク1内側底面に設置されるものであり、収容槽2を除くタンク1内と、収容槽2内の間を循環する循環流を形成するものである。水中ポンプ3の作用により、タンク1内の液体は収容槽2の内部に流入し、収容槽2の内部を通過した後、収容槽2の外部であるタンク1内に流出され、再び収容槽2内に流入するような循環流を形成するものである。
水中ポンプ3はタンク1内に貯留された液体を吸引する吸引口と、加圧された液体が吐出される吐出口を有し、水中ポンプ3の吐出口は、収容槽2の下槽に形成された流入口7に対して流通路4を介して連通されている。
なお、水中ポンプは200リットル水量に対して4リットル/分以上の能力を備えるものが好ましい。
収容槽2内にエアを供給するエアポンプ8は、タンク1外側に設置されるものであり、エアを吐出する吐出口を有し、吐出口は収容槽2の下槽に形成された流入口9に対して流通路10を介して連通されている。
タンク1の側面下側に形成された貫通孔と流通路を介して連通する送液ポンプ11は、タンク内で構造制御された培養液を図示しない栽培ベッド(植物等が栽植される培地を供えた栽培ベッド)へ供給するためのものである。
以下、本発明を用いた制御方法を説明する。
まず、所定量の石英斑岩を収容槽2に投入して収容する。なお、収容槽2の限界容量に近似する量の石英斑岩を投入すると、流動による石英斑岩同士の衝突・摩擦が不十分となって所望の流動が実現できないことから適切な量に制限するのが肝要である。
この状態において水中ポンプ3とエアポンプ8を駆動する。水中ポンプ3の吸引口から吸引された液体は吐出口から流通路4を通って収容槽2の流入口7から下槽に流入し、液体が挿通可能な部材である中底部材6を通って収容槽2の上槽に流入し、上槽に収容された石英斑岩同士を衝突・摩擦させた後、液体が挿通可能な部材である流出口5を通って収容槽2外方に流出し、その後、吸引口から吸引されて、上記流れを繰り返す。
他方、エアポンプ8によって生成されるエアも、収容槽2下槽内部に流入し、網状中底部材6を通って上槽に至り、上槽に収容された石英斑岩同士を衝突・摩擦させながら、流出口5から収容槽2外に流出するものであり、この動作を継続的に繰り返す。
各ポンプ3、8を所定時間駆動させることにより、タンク1内方の水はカチオン帯電した培養液に構造制御され、植物の根表面の電荷作用を受けて吸収されやすいものとなる。
また、収容槽2における石英斑岩の摩擦・衝突が生じやすいように、収容槽2内の水流方向を変更する水流方向変更部材Cを設けることもできる。水流方向変更部材Cは、収容槽2内に流入した液体と接触して乱流を形成する乱流生成部材として機能する。これにより、収容槽2内の流れを乱す即ち相対的に大きな乱流を意図的に生ぜしめ、処理媒体同士の衝突・摩擦を促進することができる。なお、水流方向変更部材Cは、収容槽2の内方、収容槽2の外方、タンク1の内方に形成することもできる。
例えば、収容槽2の内面に凹凸を形成して、水流方向変更部材Cないし乱流生成部材とすることができる。また、例えば、流出口5方向への流れを阻害する阻流壁である部材Cを、流出口5の下方に配置することができる。具体的には、円筒状の収容槽2に対して、網状部材である流出口5の下方にフック等で係止等された板状部材を設置することができる。なお、この板状部材は流出口5への流通路を確保できる配置若しくは形状とする。
具体的には、図2に示すように、網状部材である流出口5の下方に平面視円形の円形板を配置し、円形板の外周端面と収容槽2の内周面との間を流出口5への流通路としたり、図3のように、円形板の一面から下方に向いて垂下すると共に先細り形状の垂壁を形成した形状としたり、図4のように、円形板の一面から下方に向いて垂下すると共に三角形状の垂壁を形成した形状としたり、図5のように、円形板の一面の中心部から軸を介して吊持された複数枚の羽を有するプロペラ形状としたり、図6のように、円形板の一面に下方の向けた円錐体を形成した形状とすれば、収容槽2内に(水流方向変更部材Cを設けない場合と比較して)相対的に大きな乱流を意図的に生ぜしめることができ、処理媒体同士の衝突・摩擦を促進することができる。
本発明は、岩石の変異電荷を利用した培養液の界面動電処理により、水分子の構造状態に変化を起こし、培養液の吸収性を増加し、農作物の育成促進を図るものである。
なお、タンクに貯留される液体は特に限定されるものではなく、井戸水、河川水、雨水、水道水、室戸海洋深層水や、肥料成分等を所望の量だけ添加し含有させた培養液など、通常の栽培に使用されるものを適宜利用することもでき。
また、本発明は、土を使わずに肥料成分を溶かした培養液を用いる溶液栽培に限らず、灌水や葉面散布にも適用できる。
本発明の一実施態様を示す図 本発明の水流方向変更部材(C)の一実施態様示す図 本発明の水流方向変更部材(C)の一実施態様示す図 本発明の水流方向変更部材(C)の一実施態様示す図 本発明の水流方向変更部材(C)の一実施態様示す図 本発明の水流方向変更部材(C)の一実施態様示す図 本発明と比較例との培養液・イオン吸収量を比較した図 本発明の培養液と比較例によって栽培された植物との育成状況を比較した図
符号の説明
1 タンク
2 収容槽
3 水中ポンプ
4 流通路
5 流出口
6 中底部材
7 流入口
8 エアポンプ
9 流入口
10 流通路
11 送水ポンプ

Claims (3)

  1. 液体を貯留するためのタンク(1)と、前記タンク(1)内方に設置されると共に変異荷電性を有する処理媒体を流動可能に収容する収容槽(2)と、前記収容槽(2)内に水流を生ぜしめて前記処理媒体を流動させる水流生成手段(3)とを有する培養液の構造制御装置。
  2. 収容槽(2)内にエアを送り込んで処理媒体を流動させるエア供給手段(8)を備えることを特徴とする請求項1に記載の培養液の構造制御装置。
  3. 収容槽(2)に流入した水流の方向を変更する水流方向変更部材(C)を設けたことを特徴とする請求項1又は2に記載の培養液の構造制御装置。
JP2008224424A 2008-07-31 2008-09-02 農業用培養液の構造制御装置 Expired - Fee Related JP5228712B2 (ja)

Priority Applications (1)

Application Number Priority Date Filing Date Title
JP2008224424A JP5228712B2 (ja) 2008-07-31 2008-09-02 農業用培養液の構造制御装置

Applications Claiming Priority (3)

Application Number Priority Date Filing Date Title
JP2008197861 2008-07-31
JP2008197861 2008-07-31
JP2008224424A JP5228712B2 (ja) 2008-07-31 2008-09-02 農業用培養液の構造制御装置

Publications (2)

Publication Number Publication Date
JP2010051298A true JP2010051298A (ja) 2010-03-11
JP5228712B2 JP5228712B2 (ja) 2013-07-03

Family

ID=42067880

Family Applications (1)

Application Number Title Priority Date Filing Date
JP2008224424A Expired - Fee Related JP5228712B2 (ja) 2008-07-31 2008-09-02 農業用培養液の構造制御装置

Country Status (1)

Country Link
JP (1) JP5228712B2 (ja)

Citations (3)

* Cited by examiner, † Cited by third party
Publication number Priority date Publication date Assignee Title
JPH0653031B2 (ja) * 1987-04-30 1994-07-20 大成建設株式会社 植物の水耕栽培に於ける液体肥料供給方法
JP2859569B2 (ja) * 1995-09-25 1999-02-17 福助工業株式会社 育苗方法及び装置
JP2007136433A (ja) * 2005-11-23 2007-06-07 Kira Shoten:Kk 水改質装置及び水改質方法

Patent Citations (3)

* Cited by examiner, † Cited by third party
Publication number Priority date Publication date Assignee Title
JPH0653031B2 (ja) * 1987-04-30 1994-07-20 大成建設株式会社 植物の水耕栽培に於ける液体肥料供給方法
JP2859569B2 (ja) * 1995-09-25 1999-02-17 福助工業株式会社 育苗方法及び装置
JP2007136433A (ja) * 2005-11-23 2007-06-07 Kira Shoten:Kk 水改質装置及び水改質方法

Also Published As

Publication number Publication date
JP5228712B2 (ja) 2013-07-03

Similar Documents

Publication Publication Date Title
ES2711981B2 (es) Aparato y procedimiento para la eliminacion del soporte
JP4758932B2 (ja) バイオガスシステム
JP2014516550A (ja) V形トラフ光バイオリアクターシステムおよび使用方法
US9561975B2 (en) Low energy vortex liquid treatment systems and methods
CN104938322A (zh) 一种温室营养液循环利用装置
JP2019537505A (ja) 水からの硝酸塩の除去
JP2009195163A (ja) 藻類培養装置
KR20120029262A (ko) 극미세 버블 함유 농업용수의 공급장치
WO2020085366A1 (ja) 気体溶解装置及び藻類培養装置
CN203399622U (zh) 一种自控式循环水养殖系统
CN104115781A (zh) 水族箱循环水净化装置
JP2018171020A (ja) ナノバブル含有水供給装置、植物栽培システム、培養液供給装置及び水耕栽培システム
KR101401559B1 (ko) 써모코커스속 균을 이용한 수소생산장치 및 수소생산방법
JP5228712B2 (ja) 農業用培養液の構造制御装置
JP2020065996A (ja) 回転式水質浄化装置
KR101830276B1 (ko) 양액재배용 산소용해장치
JP4993672B2 (ja) 藻類栽培装置及び藻類栽培方法
JP7135341B2 (ja) 植物生育システム及び植物生育方法
KR20160076383A (ko) 가두리 양식장
CN203985601U (zh) 水族箱循环水净化装置
JP3280087B2 (ja) 種子の浸漬・催芽方法及びその装置
JP7178008B2 (ja) ユーグレナの養殖プラント
KR101650163B1 (ko) 동물성플랑크톤 배양장치
KR101640003B1 (ko) 고농도 오존수 제조장치
CN105900913A (zh) 一种作用于耗氧的水生动物密度养殖的生态平衡系统

Legal Events

Date Code Title Description
A711 Notification of change in applicant

Free format text: JAPANESE INTERMEDIATE CODE: A711

Effective date: 20110809

A621 Written request for application examination

Free format text: JAPANESE INTERMEDIATE CODE: A621

Effective date: 20110812

A521 Written amendment

Free format text: JAPANESE INTERMEDIATE CODE: A821

Effective date: 20110809

A977 Report on retrieval

Free format text: JAPANESE INTERMEDIATE CODE: A971007

Effective date: 20121109

A131 Notification of reasons for refusal

Free format text: JAPANESE INTERMEDIATE CODE: A131

Effective date: 20121120

A521 Written amendment

Free format text: JAPANESE INTERMEDIATE CODE: A523

Effective date: 20121220

TRDD Decision of grant or rejection written
A01 Written decision to grant a patent or to grant a registration (utility model)

Free format text: JAPANESE INTERMEDIATE CODE: A01

Effective date: 20130111

R155 Notification before disposition of declining of application

Free format text: JAPANESE INTERMEDIATE CODE: R155

A61 First payment of annual fees (during grant procedure)

Free format text: JAPANESE INTERMEDIATE CODE: A61

Effective date: 20130304

FPAY Renewal fee payment (event date is renewal date of database)

Free format text: PAYMENT UNTIL: 20160329

Year of fee payment: 3

R150 Certificate of patent or registration of utility model

Free format text: JAPANESE INTERMEDIATE CODE: R150

R250 Receipt of annual fees

Free format text: JAPANESE INTERMEDIATE CODE: R250

R250 Receipt of annual fees

Free format text: JAPANESE INTERMEDIATE CODE: R250

LAPS Cancellation because of no payment of annual fees