JP2010050957A - イーサネット接続ビデオ - Google Patents

イーサネット接続ビデオ Download PDF

Info

Publication number
JP2010050957A
JP2010050957A JP2009163223A JP2009163223A JP2010050957A JP 2010050957 A JP2010050957 A JP 2010050957A JP 2009163223 A JP2009163223 A JP 2009163223A JP 2009163223 A JP2009163223 A JP 2009163223A JP 2010050957 A JP2010050957 A JP 2010050957A
Authority
JP
Japan
Prior art keywords
digital
network
analog video
port
input
Prior art date
Legal status (The legal status is an assumption and is not a legal conclusion. Google has not performed a legal analysis and makes no representation as to the accuracy of the status listed.)
Granted
Application number
JP2009163223A
Other languages
English (en)
Other versions
JP4814360B2 (ja
Inventor
Stefan Lundberg
ルンドベリ ステファン
Jon Hansson
ハンソン ヨン
Current Assignee (The listed assignees may be inaccurate. Google has not performed a legal analysis and makes no representation or warranty as to the accuracy of the list.)
Axis AB
Original Assignee
Axis AB
Priority date (The priority date is an assumption and is not a legal conclusion. Google has not performed a legal analysis and makes no representation as to the accuracy of the date listed.)
Filing date
Publication date
Application filed by Axis AB filed Critical Axis AB
Publication of JP2010050957A publication Critical patent/JP2010050957A/ja
Application granted granted Critical
Publication of JP4814360B2 publication Critical patent/JP4814360B2/ja
Expired - Fee Related legal-status Critical Current
Anticipated expiration legal-status Critical

Links

Images

Classifications

    • HELECTRICITY
    • H04ELECTRIC COMMUNICATION TECHNIQUE
    • H04NPICTORIAL COMMUNICATION, e.g. TELEVISION
    • H04N7/00Television systems
    • H04N7/18Closed-circuit television [CCTV] systems, i.e. systems in which the video signal is not broadcast
    • H04N7/183Closed-circuit television [CCTV] systems, i.e. systems in which the video signal is not broadcast for receiving images from a single remote source
    • GPHYSICS
    • G08SIGNALLING
    • G08BSIGNALLING OR CALLING SYSTEMS; ORDER TELEGRAPHS; ALARM SYSTEMS
    • G08B13/00Burglar, theft or intruder alarms
    • G08B13/18Actuation by interference with heat, light, or radiation of shorter wavelength; Actuation by intruding sources of heat, light, or radiation of shorter wavelength
    • G08B13/189Actuation by interference with heat, light, or radiation of shorter wavelength; Actuation by intruding sources of heat, light, or radiation of shorter wavelength using passive radiation detection systems
    • G08B13/194Actuation by interference with heat, light, or radiation of shorter wavelength; Actuation by intruding sources of heat, light, or radiation of shorter wavelength using passive radiation detection systems using image scanning and comparing systems
    • G08B13/196Actuation by interference with heat, light, or radiation of shorter wavelength; Actuation by intruding sources of heat, light, or radiation of shorter wavelength using passive radiation detection systems using image scanning and comparing systems using television cameras
    • G08B13/19654Details concerning communication with a camera
    • G08B13/19656Network used to communicate with a camera, e.g. WAN, LAN, Internet
    • HELECTRICITY
    • H04ELECTRIC COMMUNICATION TECHNIQUE
    • H04NPICTORIAL COMMUNICATION, e.g. TELEVISION
    • H04N23/00Cameras or camera modules comprising electronic image sensors; Control thereof
    • H04N23/60Control of cameras or camera modules
    • H04N23/65Control of camera operation in relation to power supply
    • HELECTRICITY
    • H04ELECTRIC COMMUNICATION TECHNIQUE
    • H04NPICTORIAL COMMUNICATION, e.g. TELEVISION
    • H04N23/00Cameras or camera modules comprising electronic image sensors; Control thereof
    • H04N23/60Control of cameras or camera modules
    • H04N23/66Remote control of cameras or camera parts, e.g. by remote control devices
    • H04N23/661Transmitting camera control signals through networks, e.g. control via the Internet

Landscapes

  • Engineering & Computer Science (AREA)
  • Multimedia (AREA)
  • Signal Processing (AREA)
  • Physics & Mathematics (AREA)
  • General Physics & Mathematics (AREA)
  • Studio Devices (AREA)
  • Closed-Circuit Television Systems (AREA)
  • Small-Scale Networks (AREA)

Abstract

【課題】小さなカメラ本体を使用することを可能としつつ、カメラで撮影した画像の試写を、カメラの設置現場で容易に行えるようにすることであり、デジタルネットワークに接続されるように構成されたネットワーク使用可能デジタルビデオカメラを、市販のビデオ試写装置に簡単にかつ融通性を持って接続する手段を提供する。
【解決手段】デジタル信号を送受信するように構成されたデジタルネットワークモジュールと、アナログビデオ信号を出力するように構成されたアナログビデオ発生機とに接続されたI/Oポートを用意し、このI/Oポートとデジタルネットワークおよび市販のビデオ試写装置の間にアダプタを挿入して、デジタル信号とアナログビデオ信号とを分離する。
【選択図】図2

Description

本発明はデジタルネットワークに接続されるように構成された、ネットワーク使用可能デジタルビデオカメラに関する。前記ネットワーク使用可能デジタルビデオカメラは、デジタル信号を送受信するように構成された1つのデジタルネットワークモジュール、電気的接続器であってデジタルネットワークモジュールに接続された1つの入出力ポート、およびアナログビデオ信号を出力するように構成された1台のアナログビデオ発生機を含む。本発明はまた、ネットワーク使用可能デジタルビデオカメラを市販のビデオ試写装置に接続するために使用されるアダプタにも関する。
ネットワーク使用可能デジタルビデオカメラは今日種々の応用分野で使われている。例えば警備監視および遠隔監視用途で使用されている。
ネットワーク使用可能デジタルビデオカメラからの映像を試写できるようにするために、それは一般的に試写用表示器に接続するためのアナログ出力を具備している。これは現場に設置する際に、カメラ設定、例えば画像の視野および焦点をチェックするために、ネットワーク使用可能デジタルビデオカメラからの画像を観るための簡単で丈夫な方法を可能とする。アナログコネクタはアナログビデオ信号をビデオ試写装置に、追加機器を必要とすることなく、例えば同軸ケーブルを介して送信することを可能とする。もっともアナログコネクタを、例えば同軸ケーブルと一緒に使用することの1つの欠点は、カメラの位置を調整することなく同軸ケーブルをアナログコネクタから取り外すことが困難な点である。
しかしながら、内部画像圧縮、画像処理およびイーサネット(登録商標)互換性を具備した最新のデジタルネットワークカメラでは、撮影されたビデオをカメラ側で、アナログ表示器を用いて試写可能とすることを除けば、アナログビデオ出力コネクタを持つ直接的な必要は無い。実際今日のカメラはより小型化されてきているため、カメラに装備されるポート数が制約されている。従って、コネクタを追加することは結果としてかさばった設計の非分離型設備となる。別の問題はコネクタ数が増えると防水性が低下することであり、コネクタを耐水性とすることは困難である。しかしながら、アナログ出力を取り除くことでネットワーク化デジタルビデオカメラの画像を簡単な方法で試写する可能性もまた取り除かれる。
ネットワーク使用可能デジタルビデオカメラからの画像の試写は、カメラとネットワークを介して通信している、ビデオ試写装置により提供される。ビデオ試写装置をカメラの設置現場近くに配置し、設置時の修正を監視することができる。ネットワーク経由での通信は、通常通信プロトコル、例えばTCP/IP通信プロトコルを用いて実行される。しかしながら、TCP/IP通信プロトコルは多くの長所を有するが、これは複雑さを増すと同時に追加機器を必要とする。従って、データ受信機、デコーダおよびカメラ設置現場近くのネットワークソケットが、設置途中にカメラからのビデオを観るために、ビデオ試写装置上に必要となる。
従って、今日のアナログ出力コネクタを具備しないネットワークカメラのひとつの問題は、カメラ設置作業中に、例えば視野および焦点を調整するための簡単な道具を欠くことである。
本発明のひとつの目的は、小さなカメラ本体を使用することを可能としつつ、カメラで撮影した画像の試写を、カメラの設置現場で容易に行えるようにすることである。
上記の目的は、独立の請求項1記載のネットワーク使用可能デジタルビデオカメラで実現され、独立の請求項9記載のアナログビデオコネクタで可能化される。本発明の更に別の実施例が従属の請求項に記載されている。
特に、本発明の1つの特徴によれば、デジタルネットワークに接続されるように構成されたネットワーク使用可能デジタルビデオカメラは、デジタル信号を送受信するように構成されたひとつのデジタルネットワークモジュールと、電気的コネクタであってデジタルネットワークモジュールに接続されるひとつの入出力ポートと、そしてアナログビデオ信号を出力するように構成されたひとつのアナログビデオ発生機とを含む。ネットワーク使用可能デジタルビデオカメラは、デジタルネットワークモジュールとアナログビデオ発生機とに接続された前記入出力ポートで特徴付けられる。
1つの実施例において、ビデオ発生機は搬送波で付加的に変調されていない基本アナログビデオ信号を生成し、この搬送波で付加的に変調されていない基本アナログビデオ信号を、入出力ポートを経由して送信するように構成される。基本アナログ信号はVHFまたはUHF周波数を含む搬送波で付加的に変調されていない任意のアナログビデオ信号、例えばコンポーネントビデオ(Component video)、コンポジットビデオ(Composite video)、S−VIDEO、YPbPr等が可能である。PAL,SECAMおよびNTSC信号は、信号に付加されたVHFまたはUHF周波数を含む、搬送波を具備しないその様な基本アナログ信号の例である。搬送周波数で送信するための搬送波で信号を変調することなくアナログビデオ信号を送信することにより、ビデオ試写装置はこの信号を受信してチューナーを必要とすることなくその表示器上に表示することができる。
別の実施例において、入出力ポートは入出力ポートを経由して電力を受電するように構成されている受電ユニットにも接続できる。受電ユニットはネットワーク使用可能デジタルビデオカメラに電力を供給するように構成されている。従って、ネットワーク使用可能デジタルビデオカメラに電力を供給し、ネットワーク使用可能デジタルビデオカメラから送られたビデオを試写し、そしてネットワーク使用可能デジタルビデオカメラとの間でデジタルデータ(すなわちデジタルビデオ)を送受信するために、ただ1つの入出力(I/O)ポートのみが必要である。
更に別の実施例において、デジタルネットワークモジュールからの入力および/または出力線をアナログビデオ発生機からの出力線に接続することが可能であり、これによってアナログビデオ信号およびデジタル信号が同一信号線上に伝送される。
別の実施例において、ネットワーク使用可能デジタルビデオカメラは更に、有効化/無効化ユニットを含み、該有効化/無効化ユニットはアナログビデオ発生機からの信号の送信を有効化/無効化するように構成されている。ネットワーク使用可能デジタルビデオカメラの設置期間中のみビデオ信号の送信を有効化することにより、信号干渉障害の危険が回避できる。有効化/無効化ユニットはデジタル信号が入出力ポートを通して送信される際には、自動的にアナログビデオ発生機を無効化できる。加えてまたはこれに代わって、有効化/無効化ユニットはデジタル信号が入出力ポートを通って送信されていない時には、アナログビデオ発生機を自動的に有効化できる。
別の実施例によれば、アナログビデオ信号とデジタルデータ信号の両方をネットワーク内に共存させることが有益であり、従って有効化/無効化ユニットをデジタルネットワークを介して受信した信号に応答して、有効化/無効化するように構成できる。これはアナログビデオとデジタルネットワーク信号の両方を同時に送信することを可能とする。
別の実施例によれば、入出力ポートはネットワークポートである。ネットワークポートは10/100/1000Mbpsデータトラヒックのいずれかを搬送するのに適合したものである。ネットワークポートのいくつかの例はイーサネットポート、モジュラーコネクタ、例えばRJ45コネクタまたはM12コネクタを受け入れるように構成されたモジュラーポートである。
更に別の実施例によれば、デジタルネットワークモジュールは、搬送波で付加的に変調されていない基本デジタル信号を送受信し、この搬送波で付加的に変調されていない基本デジタル信号を入出力ポートを経由して送受信するように構成される。基本デジタル信号は任意のイーサネット互換デジタル信号である。デジタル信号を搬送波で信号変調することなく送信することにより、搬送周波数での送信または変調されていないデジタル信号を受信するために、デジタル信号をイーサネット規格に変換するための余分の電子機器または復変調機は必要ない。
本発明の別の特徴によれば、アダプタはデジタルネットワークトラヒックを搬送するように構成された第1入出力ポート、デジタルネットワークトラヒックを搬送するように構成され第1入出力ポートに接続された第2入出力ポート、および第1入出力ポートに接続されアナログビデオ信号を搬送するように構成された第3出力ポートを含む。
この様なアダプタはネットワーク使用可能デジタルビデオカメラの入出力ポートを市販のアナログビデオ視聴装置に接続するために使用できる。ネットワーク使用可能デジタルビデオカメラの入出力ポートは通常、10/100/1000Mbpsデータトラヒックに適合したネットワークポートであり、例えばイーサネットポート、モジュラーコネクタ、例えばRJ45コネクタまたはM12コネクタを受け入れるように構成されたモジュラーポートであり、一方市販のアナログビデオ試写装置は通常アナログビデオポート、例えばBNC,RCAまたはミニDINコネクタが装備されている。従って、市販のビデオ試写装置をI/Oポートに接続するように構成されたアダプタが必要である。アダプタの第1および第2入出力ポートはRJ45コネクタまたはM12コネクタが考えられる。アダプタの第3出力ポートは従ってアナログビデオ出力ポート、例えばBNC,RCAまたはミニDINコネクタである。第1および第2入出力ポートは、デジタルネットワークトラヒックおよび/またはPoE IEEE802.3規格に基づいて供給される電力を通過させるように構成されている。加えてアダプタの第1入出力ポートはアナログビデオ信号を通過させるように構成されている。
本発明の1つの実施例によれば、アダプタは更に分離ユニットを含むことが可能であり、第1入出力ポートは第3出力ポートにこの分離ユニットを介して接続され、分離ユニットはデジタルネットワークトラヒックとアナログビデオ信号を分離するように構成されている。従って、デジタルネットワークに接続された異なる機器間での電位差に起因する問題を回避している。それ故、第1入出力ポートを通過する全てのデジタルネットワークトラヒックは、ビデオ試写装置には到達しない。もしもデジタルネットワークトラヒックがビデオ試写装置に達すると、これはアナログビデオ信号と干渉しビデオ試写装置上の画像が乱れるはずである。分離ユニットはアナログビデオコネクタをデジタルネットワークから電気的に絶縁するように構成される。分離ユニットは、例えば変圧器またはキャパシタを基本として構成される。
別の実施例によれば、第3出力ポートはアナログビデオ出力ポートである。ネットワークポートは任意の型式のアナログビデオ信号、例えばPAL、NTSC、SECAM、コンポーネントビデオ(Component video)、コンポジットビデオ(Composite video)、S−VIDEO、YPbPrを搬送するように適合されている。いくつかの標準アナログビデオポートはBNC,RCAまたはミニDINコネクタである。
本発明の更に別の実施例によれば、アダプタは更に第1入出力ポートに接続され該第1入出力ポートを通して電力を供給するように構成された電池を含む。電池を含むこの型式のアダプタは、ネットワーク使用可能デジタルビデオカメラの設置作業中に電力を供給するために使用できる。電池を具備したアダプタが使用される場合、設置作業中にイーサネット経由の外部電源は不要である。
本発明の更に別の適用範囲は以下の詳細な説明から明らかとなろう。しかしながら、詳細な説明および本発明の好適な実施例を示す特定事例は、図示を目的として提示されているのみであって、本発明の精神および範囲内での種々の変更および修正は、当業者には本詳細な説明から明らかとなることは理解されよう。
本発明を、添付図を参照した例に基づき更に詳細に説明する、これらの図は本発明の現在の好適な実施例を示す。
図1は本発明に基づくネットワーク使用可能デジタルビデオカメラの1つの実施例を示す。 図2はアダプタを介して図1のネットワーク使用可能デジタルビデオカメラに接続されたビデオ試写装置を図示する。 図3はデジタルネットワークモジュール、アナログビデオ発生機、および受電ユニットの、図1に示すネットワーク使用可能デジタルビデオカメラのI/Oポートへの接続の第1の実施例を示す。 図3に基づく実施例を実現するネットワーク使用可能デジタルビデオカメラをビデオ試写装置に接続するために使用されるアダプタの第1実施例を示す。 図3に基づく実施例を実現するネットワーク使用可能デジタルビデオカメラをビデオ試写装置に接続するために使用されるアダプタの第2実施例を示す。 図5は前記デジタルネットワークモジュール、前記アナログビデオ発生機、および前記受電ユニットの、図1に示すネットワーク使用可能デジタルビデオカメラのI/Oポートへの接続の第2の実施例を示す。 図6は図5に基づく実施例を実現するネットワーク使用可能デジタルビデオカメラをビデオ試写装置に接続するために使用されるアダプタの1つの実施例を示す。 図7は前記デジタルネットワークモジュール、前記アナログビデオ発生機、および前記受電ユニットの、図1に示すネットワーク使用可能デジタルビデオカメラのI/Oポートへの接続の第3の実施例を示す。 図8は前記デジタルネットワークモジュール、前記アナログビデオ発生機、および前記受電ユニットの、図1に示すネットワーク使用可能デジタルビデオカメラのI/Oポートへの接続の第4の実施例を示す。 図9は図7または図8に基づく実施例を実現するネットワーク使用可能デジタルビデオカメラをビデオ試写装置に接続するために使用されるアダプタの1つの実施例を示す。 図10は前記デジタルネットワークモジュール、前記アナログビデオ発生機、および前記受電ユニットの、図1に示すネットワーク使用可能デジタルビデオカメラのI/Oポートへの接続の第5の実施例を示す。 図11は図10に基づく実施例をビデオ試写装置に接続するために使用されるアダプタの1つの実施例を示す。
以下の説明の中で、類似の機器/機能に対して同一の参照番号が用いられている。
図1は本発明の1つの実施例に基づくネットワーク使用可能デジタルビデオカメラ20を図示する。このネットワーク使用可能デジタルビデオカメラはデジタルネットワークに接続するように構成されている。ネットワーク使用可能デジタルビデオカメラ20は画像センサ21、画像処理装置22、圧縮ユニット23、デジタルネットワークモジュール24、CPU25、フラッシュメモリ26、DRAM27、入出力ポート(I/Oポート)28、アナログビデオ発生機29および受電ユニット30を含む。
I/Oポート28は単一の電気的コネクタである。更に詳細にはイーサネットポートの様な、10/100/1000Mbpsデータトラヒックに適合したネットワークポート、モジュラーコネクタ、例えばRJ45コネクタを受け入れるように構成されたモジュラーポートである。通常I/Oポート28はネットワークケーブル、例えばツイストペアケーブル(例えばcat5,cat5eまたはcat6)を受け入れるように構成されている。
ネットワーク使用可能デジタルビデオカメラ20はまたビデオ信号増幅器31を含むことも可能である。その場合、アナログビデオ発生機29はI/Oポート28にビデオ信号増幅器31を介して接続される。変圧器、抵抗器、キャパシタまたは類似物を通過するとアナログビデオ信号は減衰する。この損失を補償するためにアナログビデオ信号はビデオ信号増幅器31で増幅される。ビデオ信号増幅器31内での利得は、変圧器、抵抗器、キャパシタまたは類似物を通過するアナログビデオ信号の挿入損失を補償するように設定される。
更にネットワーク使用可能デジタルビデオカメラ20は有効化/無効化ユニット45を含むことが可能である。その場合、アナログビデオ発生機29はI/Oポート28に有効化/無効化ユニット45を介して接続される。有効化/無効化ユニットはまたCPU25に接続できる。有効化/無効化ユニット45はアナログビデオ発生機29を有効化/無効化するように構成されている、下記参照。
ネットワーク使用可能デジタルビデオカメラ20内でのデジタルビデオ画像の生成とI/Oポート28への供給は下記のように説明される。画像センサ21、例えばCCDまたはCMOSはデジタル画像をキャプチャする。キャプチャされたデジタル画像は画像処理装置22に送られ、此処でデジタルビデオ画像は精製処理される。精製処理されたデジタルビデオ画像は圧縮ユニット23に送られ、此処でデジタルビデオ画像は予め定められた企画、例えばJPEG,M−JPEGまたはMPEGに基づいて圧縮される。その後、圧縮されたデジタルビデオ信号はデジタル信号を送受信するように構成されたデジタルネットワークモジュール24に送られ、此処でデジタルビデオ信号は処理されてI/Oポート28を介してデジタルネットワークを通して送信するために準備される。CPU25はカメラ機能を制御する。CPU25はデジタルデータをフラッシュメモリ26およびDRAM27の中に格納することが可能である。
デジタルネットワークモジュール24は、搬送波で付加的に変調されていない基本デジタル信号を送受信するように構成されており、搬送波で付加的に変調されていない基本デジタル信号をI/Oポート28経由で送受信する。デジタル信号をそれらの信号を送信するために搬送周波数で変調せずに送信したり、変調されていないデジタル信号を受信することで、デジタル信号をイーサネット規格に変換するための余分の電子機器または復変調機は不要である。
加えて、アナログビデオ信号をネットワーク使用可能デジタルビデオカメラ20内で生成することが可能である。アナログビデオ信号はアナログビデオ発生機29を介して生成される。アナログビデオ発生機29は画像処理装置22に接続されている。従って、アナログビデオ発生機29には画像処理装置22から処理済み画像情報が供給され、その画像情報を基本アナログビデオ信号に変換する。基本アナログビデオ信号はVHFまたはUHF周波数を有する搬送波で付加的に変調されていない任意のアナログビデオ信号であって、例えばコンポーネントビデオ、コンポジットビデオ、S−VIDEO、YPbPrなどである。PAL,SECAMおよびNTSC信号は、VHFまたはUHFを有する搬送波が信号に追加されていない、その様な基本アナログビデオ信号の例である。アナログビデオ発生機29はまたI/Oポート28に、オプションとしてビデオ信号増幅器31を介して接続されている。従って、アナログビデオ発生機29は基本アナログビデオ信号をI/Oポート28を経由して送信するように構成されている。アナログビデオ信号をそれらの信号を搬送周波数で送信するために搬送で変調せずに送信することにより、ビデオ試写装置はチューナーを必要とすることなくその信号を受信しその表示器上にビデオを表示することが可能である。
ネットワーク使用可能デジタルビデオカメラ20は受電ユニット30から電源を供給されている。受電ユニット30はまたI/Oポート28に接続されている。従って、受電ユニット30は電力をI/Oポート28経由で受電し、ネットワーク使用可能デジタルビデオカメラ20に給電する。電力は通常イーサネット上電力(Power over Ethernet(登録商標))規格、IEEE 802.3に基づき供給される。
従って、デジタルネットワーク通信、例えばイーサネットを用いた通信、アナログビデオ信号および、ネットワーク使用可能デジタルビデオカメラ20に給電する電力、は同一I/Oポート28を通過する。上述のごとくI/Oポート28は通常、ネットワークケーブルに取り付けられたコネクタ、例えばツイストペアケーブル(例えばcat5,cat5eまたはcat6)を受け入れるように構成されている。ツイストペアケーブルは通常、4対に分割された8本の線を有する。
1つの実施例において、アナログビデオ発生機29からの出力はデジタルネットワークモジュール24の入力および/または出力に接続されており、これによってアナログビデオ信号およびデジタル信号が同一信号線上で送信される。
ツイストペアネットワークケーブル内でデジタル信号は、ネットワークケーブルの複数ある線のひとつの対の間での電位差として定義される。アナログビデオ信号をネットワークケーブルの複数ある線の2対の間の電位差として定義するように構成することにより、アナログビデオ信号とデジタル信号を同一信号線を通して、デジタル信号に対してまたその逆に対しても影響を与えることなく送信できる。これは以下の点で非常に大きな利点を意味しており、すなわちアナログビデオ信号がネットワークトラヒックに干渉せず、またアナログビデオ信号をネットワークトラヒックから分離するために周波数領域で信号をシフトする必要が無いことである。
別個のアナログビデオ出力を具備したネットワーク使用可能デジタルビデオカメラと同様、アナログビデオ信号をネットワーク使用可能デジタルビデオカメラ20からの画像を試写するために使用できる。これはカメラ設置現場で設置作業中にカメラ20の設定、例えば画像視野および焦点を確認するために、カメラからのビデオを観るための簡単で強力な方法を可能とする。
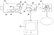
次に図2を参照すると、ネットワーク使用可能デジタルビデオカメラ20に接続された、ビデオ試写装置32(例えば、携帯型現場ビデオモニタ)を図示する。従ってネットワーク使用可能デジタルビデオカメラ20からの画像の試写は前記I/Oポート28に接続されたビデオ試写装置32により提供される。ネットワーク使用可能デジタルビデオカメラ20を設置する際に、ビデオ試写装置はカメラ20の設置現場近くに置かれ、設置作業中のカメラの修正を監視することができる。
ビデオ試写装置32は好適な型式のアナログビデオ信号を受信するように適合されている。その様な型式は:PAL,NTSC,SECAM,コンポーネントビデオ、S−VIDEOまたはYPbPrである。
I/Oポート28にはアナログビデオ信号が具備されているが、市販のビデオ試写装置32は、例えばイーサネットポート、例えばRJ45コネクタなどのモジュラーコネクタを受け入れるように構成されたモジュラーポートの様な、10/100/1000Mbpsデータトラヒックに適合するネットワークポートであるI/Oポート28に接続できるようにはなっていない。従って市販のビデオ試写装置32をI/Oポート28に接続するように構成されたアダプタ33が必要である。アダプタ33は第1入出力ポート34、第1入出力ポート34に接続された第2入出力ポート35および第1入出力ポート34に接続された第3出力ポート36を含む。第1および第2入出力ポート34,35はデジタルネットワークトラヒックを通過させるように構成されている。第1入出力ポート34と第3出力ポート36はアナログビデオ信号を通過させるように構成されている。
第1および第2入出力ポート34,35は例えばイーサネットポート、例えばRJ45コネクタなどのモジュラーコネクタを受け入れるように構成された、10/100/1000Mbpsデータトラヒックに適合するネットワークポートである。第3出力ポート36はBNC,RCAまたはミニDINコネクタのようなアナログビデオ出力ポートである。
アダプタ33はまた、アナログビデオ信号をデジタルネットワークトラヒックから分離するように構成された、分離ユニット43を含む。第1入出力ポート34は第3出力ポート36に分離ユニット43を介して接続されている。分離ユニット43を使用することにより、第1入出力ポート34を通過するデジタルネットワークトラヒックは第3出力ポート36、アナログビデオ出力ポートに通過することは無い。それ故、第1入出力ポート34を通過する全てのデジタルネットワークトラヒックがビデオ試写装置32に到達することは無い。仮にデジタルネットワークトラヒックがビデオ試写装置32に到達したとすると、アナログビデオ信号と干渉を起こしビデオ試写装置32上の画像が乱れるであろう。アナログビデオ信号をデジタルネットワークトラヒックから分離するように構成された分離ユニット43は、例えば変圧器37またはキャパシタ41に基づく。分離ユニット43はまた、アナログビデオコネクタをデジタルネットワークから電気的に絶縁するように構成できる。
分離ユニット43はまた第1入出力ポート34を通過するアナログビデオ信号が第2入出力ポート35へ通過しないようにも構成できる。これはアナログビデオ信号がネットワーク上の如何なる場所でも捕捉されないことを意味する。加えて、これはまたアナログビデオ信号がアダプタ33下流に接続されているネットワーク上の如何なる他の機器とも干渉しないことを意味する。
先に述べたようにネットワーク使用可能デジタルビデオカメラ20は受電ユニット30を経由して給電されている。受電ユニット30がI/Oポート28に接続されている際には、ネットワーク使用可能デジタルビデオカメラ20に給電している電力は、前記I/Oポート29を通して供給されている。この電力は通常PoE(IEEE 802.3 規格)を用いて提供されている。従って、アダプタ33の第1および第2入出力ポート34,35もまた、IEEE 802.3 規格に基づき提供される電力を通過させるように構成されている。PoEの源は、例えば組み込み型PoE電源を具備したネットワークスイッチ38である。オプションとしてPoEの源はアダプタ33に組み込まれた電池48が考えられる。その場合、電池48は第1入出力ポート34に接続されており、この電池48はネットワーク使用可能デジタルビデオカメラ20に給電するために前記第1入出力ポート34を通して電力を供給するように構成されている。
第1入出力ポート34は入力および出力デジタルネットワークトラヒックの両方を通過させるように構成されている。第1入出力ポート34はまた入力アナログビデオ信号を通過させるようにも構成されている。更に第1入出力ポート34はまた出力PoEを通過させるようにも構成されている。
第2入出力ポート35は入力および出力デジタルネットワークトラヒックの両方を通過させるように構成されている。第2入出力ポート35はまた入力アナログビデオ信号を通過させるようにも構成されている。
第3出力ポート36は出力アナログビデオ信号を通過させるように構成されている。
更に、デジタルネットワークモジュール24は、デジタルネットワーク通信を実施するための、ネットワークMAC(Media Access Control:メディア接続制御)46、ネットワークPHY(physical layer:物理層)47を含む、図1参照。ネットワーク使用可能デジタルビデオカメラ20からデータを送信する際、ネットワークMAC46はパケット化されたデータをイーサネットパケットに変換し、これはネットワークPHY47に送られる。ネットワークPHYは続いてパケットをI/Oポート28の出力線上に送信する。当直したパケットは逆方向に処理される。パケットはI/Oポート28の入力線からネットワークPHY47で受信され、続いてネットワークMAC46に転送され、これはサムチェックを実施してパケット化されたデータを抽出する。
デジタルデータを送受信することに加えて、ネットワークPHY47はデータを送信および受信するために使用される異なるネットワークリンクを管理する責任がある。ネットワークケーブルの反対側終端に互換機器が検出される場合、ショートハンドシェイク(short handshake)プロトコルを用いてリンクを確保し、例えばどの伝速度が使用されるかを決定する。全てが決着すると「リンク検出」(link detect)と呼ばれるメッセージがCPU25に送られる。互換機器が切断されると、これはネットワークPHY47で検出され、「リンク切断」(link disconnect)と呼ばれるメッセージがCPU25に送られる。
デジタルネットワークトラヒックとアナログビデオ信号間での信号干渉の危険を低減するために、ビデオ信号の送信は設置作業中のみに制限し、カメラ設定、例えば画像の視野および焦点のチェックの後は無効とすることが可能である。従って先に述べたように、ネットワーク使用可能デジタルビデオカメラ20はまた前記有効化/無効化ユニット45を含むことができる。該有効化/無効化ユニット45はアナログビデオ発生機からの信号の送信を有効化/無効化するように構成されている。CPU25が「リンク検出」メッセージを受け取ると、アナログビデオ発生機29は有効化/無効化ユニット45を介して無効化される。従ってまた、CPUが「リンク切断」メッセージを受け取ると、アナログビデオ発生機29は有効化/無効化ユニット45を介して有効化される。
従って、有効化/無効化ユニット45はデジタル信号がI/Oポート28を通って送信される際にはアナログビデオ発生機29を自動的に無効化し、また有効化/無効化ユニット45はデジタル信号がI/Oポート28を通って送信されていない時にはアナログビデオ発生機29を自動的に有効化できる。それ故、リンクが検出された時にはアナログビデオ信号を自動的に無効化し、リンクが検出されていない時にはビデオ出力を有効化することが可能となる。いくつかの事例では、アナログビデオ信号とデジタルデータ信号の両方をネットワーク内に共存させることが有用であり、従って有効化/無効化ユニット45およびアナログビデオ発生機29は、デジタルネットワークを介して受け取る信号に応答して有効化/無効化されるように構成できる。これはアナログビデオとデジタルネットワーク信号の両方が同時に送信される可能性を与える。
以下にデジタルネットワークモジュール24、アナログビデオ発生機29および受電ユニット30のI/Oポート28への接続の、異なる5つの実施例が提示されている。これらの5つの実施例は本発明の特定の実現例と見なされるが、添付の特許請求項で定義される本発明の範囲内でこれらの実施例の多数の修正変更が存在する。例えば、アナログビデオ信号を複数のコンポーネントに分割し、異なる信号として送信することも可能である。これらの異なる信号は異なる対線を通して送信される。これはS−VIDEOまたはコンポーネントビデオとして実現される。
第1の実施例が図3に示されている。この実施例は好適に100Mbpsデータトラヒック(100Base−T 規格、此処ではデータトラヒックをデジタルネットワーク上に送信する際に、コネクタおよびケーブルの4対の内の2対のみを用いる)に適合したイーサネットシステムで使用される。この実施例において、電力はネットワーク使用可能デジタルビデオカメラ20にPoEを介して供給される。デジタル信号は1対の線内の2本の線の間の電位差として定義される。100Base−T 規格では出力信号はI/Oポート28の線1と2を通過し、入力信号はI/Oポート28の線3と6を通過する。イーサネット絶縁変圧器37は受信/送信データ信号を、絶縁境界40を介して転送する。例えば、10/100 BASE−TX 変圧器が使用できる。絶縁境界40は1500VRMS 絶縁、例えば最少2.5ミリメートルの空隙である。PoE電力は2つの個別対の線間の電位差として供給される。IEEE 802.3 PoE規格によれば、2つの異なる選択肢が存在し、電位差は1と2の対と3と6の対の線間に供給されるか、または電位差は4と5の対と7と8の対の線間に供給される。図3に示す実施例はこれらのPoE選択肢のいずれでも動作するように適合されている。この実施例において、アナログビデオ信号は1対の2本の線間、この実施例ではI/Oポート28内の線7および8、の電位差として定義される。アナログビデオ信号は別のイーサネット絶縁変圧器37を介して絶縁境界40を超えて送信される。また、この変圧器37は10/100 BASE−TX 変圧器である。変圧器、抵抗器、キャパシタまたは類似物を通過すると、アナログビデオ信号は減衰される。この損失を補償するためにアナログビデオ信号はビデオ信号増幅器31で増幅される。ビデオ信号増幅器31内の利得は、変圧器、抵抗器、キャパシタまたは類似物を通してアナログビデオ信号を通過させる際の挿入損失を補償するように設定される。
図2に関連して先に述べたように、市販のビデオ試写装置32をI/Oポート28に接続するためにアダプタ33が使用される。図4aおよび4bに、図3に示す実施例の市販のビデオ試写装置32をI/Oポート28に接続するためのその様なアダプタ33の2つの考えられる2つの実施例を、アダプタ33aとアダプタ33bとしてそれぞれ示している。
アダプタ33a,33bにおいて、第2入出力ポート35が入力PoEを通過させるように構成されている。第2入出力ポート35は先に述べた2つの考えられるPoE規格(電位差は1と2の対と3と6の対の線間に供給されるか、または電位差は4と5の対と7と8の対の線間に供給される)のいずれかからの入力を通過させるように構成されている。
図4aおよび4bに示す2つのアダプタ33a,33bの共通する特徴は、PoE電力を対1,2および対3,6の線間電位差としてのみ通過させるように構成されており、従って電力をネットワーク使用可能デジタルビデオカメラ20のI/Oポート28へ対1,2および対3,6の線間電位差として供給し、これは第2入出力ポート35がPoE電力を対1,2および対3,6の線間電位差または対4,5および対7,8の線間電位差として受け取るように構成されているか否かに関係なく行われる。
図4aの実施例において、2つのPoE規格採用の切換は、アダプタ33a内のスイッチ39と1つの変圧器37によって実施される。変圧器37は10/100 BASE−TX 変圧器である。従ってスイッチが第1位置にあるとき、第2入出力ポート35は電力を対1,2および対3,6の線間電位差として通過させるように構成され、スイッチが第2位置にあるとき、第2入出力ポート35は電力を対4,5および対7,8の線間電位差として通過させるように構成されている。
図4bの実施例において、2つのPoE規格の切換は、アダプタ33bに2つのRJ45コネクタを含む入出力ポート35を具備させることで実施される。従って、ネットワークケーブルがアダプタ33bに電力を、対1,2および対3,6の線間電位差として提供する場合、2つのRJ45ポートの第1番目が使用され、ネットワークケーブルがアダプタ33bに電力を、対4,5および対7,8の線間電位差として提供する場合、2つのRJ45ポートの第2番目が使用される。
図4aおよび4bの2つのアダプタ33a,33bのいずれに対しても、アナログビデオ信号はI/Oポート28から対7,8の2本の線間の電位差として送られる、図3のI/Oポート28回路参照。従って、アダプタ33の第1入出力ポート34はアナログビデオ信号を対7,8の2本の線間の電位差として受け取るように構成されている。変圧器37はコンピュータネットワーク回路をアナログビデオ信号回路から分離し、これによってビデオ信号をネットワークから第3出力ポート36へ、2つの回路間の異なる電位から生じる問題を回避するために挿入されている。変圧器37は10/100 BASE−TX 変圧器である。
図4aの実施例のみが、アナログビデオ、デジタルネットワークトラヒックおよびPoEを同時に送信するために使用することが可能であり、それも電力を対4,5および対7,8の線間電位差として供給するPoE規格を使用する場合であることに注意されたい。
第2実施例が図5に示されている。この実施例は好適に1000Mbpsデータトラヒック(1000Base−T 規格、此処では4対全てを用いて、データトラヒックをデジタルネットワーク上に送信する)に適合したイーサネットシステムで使用される。またこの実施例において、電力はネットワーク使用可能デジタルビデオカメラ20にPoEを介して供給される。デジタル信号は1対の線内の2本の線の間の電位差として定義される。I/Oポート28の中で複数の対は以下のように組み合わされる:1と2、3と6、4と5、そして7と8。PoE電力は2つの個別対の線間の電位差として供給される。この実施例では対1,2および対3,6の間である。イーサネット絶縁変圧器37は、受信/送信データ信号を絶縁境界40を超えて転送する。例えば1000 BASE−TX 変圧器が使用できる。絶縁境界40は1500VRMS 絶縁、例えば最少2.5ミリメートルの空隙である。この実施例において、アナログビデオ信号はI/Oポート28内の対4,5および対7,8の電位差として定義される。イーサネット絶縁変圧器37、例えば10/100 BASE−TX 変圧器が、ビデオ信号をアナログビデオ発生機からネットワークへ送信する一方で、2つの回路間の電位差から生じる問題を回避することを可能とするために挿入されている。アナログビデオ信号は抵抗器を介してツイスト対7,8に接続された信号伝送変圧器の2つの中心に接続され、その信号の戻り経路は抵抗器を介してツイスト対4,5に接続された信号伝送変圧器の2つの中心に接続されている。変圧器、抵抗器、キャパシタまたは類似物を通過すると、アナログビデオ信号は減衰される。この損失を補償するためにアナログビデオ信号はビデオ信号増幅器31で増幅される。ビデオ信号増幅器31内の利得は、変圧器、抵抗器、キャパシタまたは類似物を通してアナログビデオ信号を通過させる際の挿入損失を補償するように設定される。
先に述べたように、市販のビデオ試写装置32をI/Oポート28に接続するためにアダプタ33が使用される。図6に、図5に示す実施例の市販のビデオ試写装置32をI/Oポート28に接続するためのその様なアダプタ33の実施例が、アダプタ33cとして示されている。
アダプタ33cの第2入出力ポート35は入力PoEを通過させるように構成されている。2つの異なるPoE規格に適合するために、電位差が対1,2および対3,6の間に供給されるかまたは、電圧差が対4と5および対7と8の間に供給されるかのいずれかであり、第2入出力ポート35は2つの考えられるPoE規格のいずれかに対応するように構成されている。
第1入出力ポート34は電力を具備したPoEを、対1,2および対3,6の線間電位差として通過させるように適合されている。従って、図6のアダプタ33cはPoE電力を対1,2および対3,6の線間電位差としてのみ通過させるように構成されており、従って電力をネットワーク使用可能デジタルビデオカメラ20のI/Oポート28へ対1,2および対3,6の線間電位差として供給し、これは第2入出力ポート35がPoE電力を対1,2および対3,6の線間電位差または対4,5および対7,8の線間電位差として受け取るように構成されているか否かに関係なく行われる。
図6のアダプタ33cにおいて、2つのPoE規格採用の切換は、アダプタ33cにスイッチ39と1つの変圧器37を具備することで実施される。例えば10/100 BASE−TX 変圧器が使用できる。従ってスイッチ39が第1位置にあるとき、第2入出力ポート35は電力を対1,2および対3,6の線間電位差として通過させるように構成され、スイッチ39が第2位置にあるとき、第2入出力ポート35は電力を対4,5および対7,8の線間電位差として通過させるように構成されている。
図5の実施例において、アナログビデオ信号はI/Oポート28から対4,5および対7,8の2本の線間の電位差として送られる。従って、アダプタ33cの第1入出力ポート34はアナログビデオ信号を対4,5および対7,8の2本の線間の電位差として受け取るように構成されている。変圧器37はコンピュータネットワーク回路をアナログビデオ信号回路から分離し、これによってビデオ信号をネットワークから第3出力ポート36へ、2つの回路間の異なる電位から生じる問題を回避するために挿入されている。変圧器37は10/100 BASE−TX 変圧器である。アナログビデオ信号は抵抗器を介して線対7,8に接続された2つの信号伝送変圧器の中心に接続され、アナログビデオ信号の基準は抵抗器を介して線対4,5に接続された2つの信号伝送変圧器の中心に接続されている。
図5の実施例によれば、PoEが線対4,5および対7,8の間の電位差として供給される場合、ネットワーク使用可能デジタルビデオカメラ20は、それがPoE供給ユニット、例えば組み込みPoE電源を具備したネットワークスイッチ38に図5に示すアダプタ33cに接続されている場合にのみ、電力が供給される。
図7にはデジタルネットワークモジュール24、アナログビデオ発生機29および受電ユニット30のI/Oポート28への接続の第3実施例が提示されており、また図8にはデジタルネットワークモジュール24、アナログビデオ発生機29および受電ユニット30のI/Oポート28への接続の第4実施例が提示されている。第3実施例、図7、は好適に100Mbpsデータトラヒック(100Base−T 規格、此処でデータトラヒックをデジタルネットワーク上に送信する際、4対の内2対のみを使用する)に適合したイーサネットシステムで使用され、一方第4実施例、図8、は好適に1000Mbpsデータトラヒック(1000Base−T 規格、此処でデータトラヒックをデジタルネットワーク上に送信する際、4対全てを使用する)に適合したイーサネットシステムで使用される。これらの実施例の両方で、電力はネットワーク使用可能デジタルビデオカメラ20にPoEを介して供給され、両実施例は先に提示したPoE規格のいずれに対しても動作するように適合されている。従って、PoEは対1,2および対3,6の線間電位差としてまたは、対5および対7,8の線間電位差のいずれとしても供給可能である。
これら4つの実施例の共通の特徴は、アナログビデオ発生機回路をPoEから分離するために絶縁キャパシタ41が挿入されていることであり、これは2つの回路間の電位差から生じる問題を回避しながら、ビデオ信号をビデオ発生機からネットワークへ転送できるようにするためである。好適に、絶縁キャパシタ41は2250VDC以上の仕様を有する。
図7および7の実施例の両方において、アナログビデオ信号は線7または線8、いずれかと接地電位との間の電位差として定義される。抵抗器、キャパシタまたは類似物を通過するとき、アナログビデオ信号は減衰する。この損失を補償するために、アナログビデオ信号はビデオ信号増幅器31で増幅される。ビデオ信号増幅器31の利得はアナログビデオ信号が抵抗器、キャパシタまたは類似物を通って通過する挿入損失を補償するように設定される。
先に述べたようにアダプタ33は市販のビデオ試写装置32をI/Oポート28に接続するために使用される。図9の中でアダプタ33dは、市販のビデオ試写装置32を図7および8に示される実施例のI/Oポート28に接続するために使用される。
アダプタ33dにおいて、アナログビデオ信号はPoE回路から絶縁キャパシタ41で分離されている。好適に、絶縁キャパシタ41は2250VDC以上の仕様を有する。従って、アダプタ33dはPoEから直流成分を除去するように構成されている。アダプタ33dはまた増幅器42を含む。増幅器42は絶縁キャパシタ41で誘導された減衰によるアナログビデオ信号の強度を増幅するように構成されている。
図8に示されるアダプタ33dはデジタル100Mbpsデータトラヒック(100Base−T 規格、此処でデータトラヒックをデジタルネットワーク上で伝送する際に4対の内の2つのみが使用される)のみを通過させることが出来ることを注意されたい。
図10に第5実施例が示されている。この実施例は図7に示す実施例と、絶縁境界が無い点を除いて類似している。従って、DCブロックキャパシタ44がアナログビデオ発生機回路をPoE回路から分離するために挿入されており、これは異なる仕様を有する必要がある2つの回路間の電位差から生じる問題を回避しながら、ビデオ信号をビデオ発生機からネットワークへ転送できるようにするためである。好適に、DCブロックキャパシタ44は60VDC以上の仕様を有する。
先に述べたようにアダプタ33は市販のビデオ試写装置32をI/Oポート28に接続するために使用されている。図11において、アダプタ33eは市販のビデオ試写装置32を、図10に示す実施例のI/Oポート28に接続するために使用されている。
アダプタ33eにおいて、アナログビデオ信号はPoE回路からDCブロックキャパシタ44によって分離されている。好適に、DCブロックキャパシタ44は60VDC以上の仕様を有する。従って、アダプタ33dはPoEから直流成分を除去するように構成されている。
20 ネットワーク使用可能デジタルビデオカメラ
21 画像センサ
22 画像処理装置
23 圧縮ユニット
24 デジタルネットワークモジュール
25 CPU
26 フラッシュメモリ
27 DRAM
28 入出力ポート(I/Oポート)28
29 アナログビデオ発生機
30 受電ユニット
31 ビデオ信号増幅器
32 ビデオ試写装置
33a,33b,33c,33d,33e アダプタ
34 第1入出力ポート
35 第2入出力ポート
36 第3出力ポート
37 変圧器
38 ネットワークスイッチ
39 スイッチ
40 絶縁境界
41 絶縁キャパシタ
42 増幅器
43 分離ユニット
44 DCブロックキャパシタ
45 有効化/無効化ユニット
46 ネットワークMAC(Media Access Control:メディア接続制御)
47 ネットワークPHY(physical layer:物理層)
48 電池

Claims (5)

  1. デジタル信号を送受信するように構成されたデジタルネットワークモジュール(24)と、
    電気的コネクタであって、デジタルネットワークモジュール(28)に接続されるI/Oポート(28)と、
    アナログビデオ信号を出力するように構成されたアナログビデオ発生機(29)とを含む、デジタルネットワークに接続されるように構成された、ネットワーク使用可能デジタルビデオカメラであって、
    デジタルネットワークモジュール(24)に接続された前記I/Oポート(28)がまた、アナログビデオ発生機(29)に接続されていることを特徴とする、前記ネットワーク使用可能デジタルビデオカメラ。
  2. 請求項1記載のネットワーク使用可能デジタルビデオカメラにおいて、アナログビデオ発生機(29)が、搬送波で付加的に変調されていない基本アナログビデオ信号を生成し、搬送波で付加的に変調されていないこのアナログビデオ信号をI/Oポート(28)を介して送信するように構成されている、前記ネットワーク使用可能デジタルビデオカメラ。
  3. 請求項1−2記載のネットワーク使用可能デジタルビデオカメラにおいて、デジタルネットワークモジュール(24)からの入力および/または出力線がアナログビデオ発生機(29)からの出力線に接続され、これによってアナログビデオ信号とデジタル信号が同一の信号線上で伝送される、前記ネットワーク使用可能デジタルビデオカメラ。
  4. デジタルネットワークトラヒックとアナログビデオ信号を搬送するように構成された第1入出力ポート(34)と、
    第1入出力ポート(34)に接続され、第1入出力ポート(34)との間でデジタルネットワークトラヒックを搬送するように構成された第2入出力ポート(35)と、
    第1入出力ポート(34)に接続され、第1入出力ポート(34)からアナログビデオ信号を新装するように構成された第3出力ポート(36)を含む、アダプタ。
  5. 請求項4記載のアダプタが更に、分離ユニット(43)を含み、第1入出力ポート(34)が第3出力ポート(36)に分離ユニット(43)を介して接続され、分離ユニット(43)がデジタルネットワークトラヒックをアナログビデオ信号から分離するように構成されている、前記アダプタ。
JP2009163223A 2008-07-11 2009-07-10 イーサネット接続ビデオ Expired - Fee Related JP4814360B2 (ja)

Applications Claiming Priority (4)

Application Number Priority Date Filing Date Title
EP08160224.5A EP2144443B1 (en) 2008-07-11 2008-07-11 Video over ethernet
EP08160224.5 2008-07-11
US8185408P 2008-07-18 2008-07-18
US61/081,854 2008-07-18

Publications (2)

Publication Number Publication Date
JP2010050957A true JP2010050957A (ja) 2010-03-04
JP4814360B2 JP4814360B2 (ja) 2011-11-16

Family

ID=40122374

Family Applications (1)

Application Number Title Priority Date Filing Date
JP2009163223A Expired - Fee Related JP4814360B2 (ja) 2008-07-11 2009-07-10 イーサネット接続ビデオ

Country Status (6)

Country Link
US (1) US8208033B2 (ja)
EP (1) EP2144443B1 (ja)
JP (1) JP4814360B2 (ja)
KR (1) KR101620102B1 (ja)
CN (1) CN101626495B (ja)
TW (1) TWI516109B (ja)

Families Citing this family (11)

* Cited by examiner, † Cited by third party
Publication number Priority date Publication date Assignee Title
US20110216191A1 (en) * 2010-03-02 2011-09-08 Davis Alan W System and methods for efficient installation of surveillance systems and focus tool system
EP2760193B1 (en) 2010-12-09 2017-03-01 Axis AB Method for assisting installation of a stationary monitoring camera
EP2538672B1 (en) * 2011-06-21 2020-08-12 Axis AB Method for configuring networked cameras
GB2499261B (en) * 2012-02-10 2016-05-04 British Broadcasting Corp Method and apparatus for converting audio, video and control signals
JP5162719B1 (ja) * 2012-07-30 2013-03-13 株式会社日本ビデオシステム 光伝送システム
TW201713106A (zh) * 2015-09-24 2017-04-01 晶睿通訊股份有限公司 網路攝影機系統及其照明裝置
SE541593C2 (en) * 2016-09-15 2019-11-12 Innspire Intelligent Hotels Ab Cable for connecting an image displaying device to a digital computer network
US10762755B2 (en) * 2018-06-04 2020-09-01 Apple Inc. Data-secure sensor system
US20230086558A1 (en) * 2018-06-08 2023-03-23 Storevision North America, Inc. Panoptes Device or Image Acquisition System Having Multiple Independent Sensors
US11240061B2 (en) * 2019-06-03 2022-02-01 Progress Rail Locomotive Inc. Methods and systems for controlling locomotives
WO2022150689A1 (en) * 2021-01-11 2022-07-14 Action-CS Camera adaptor

Citations (4)

* Cited by examiner, † Cited by third party
Publication number Priority date Publication date Assignee Title
JP2003338971A (ja) * 2002-03-13 2003-11-28 Pentax Corp カメラ用アダプタ装置
US20060098638A1 (en) * 2001-10-11 2006-05-11 Serconet Ltd. Outlet with analog signal adapter, a method for use thereof and a network using said outlet
JP2006293440A (ja) * 2005-04-05 2006-10-26 Sharp Corp 電気機器、電気機器システム及び接続制御方法
JP2007523457A (ja) * 2004-02-16 2007-08-16 セルコネット リミテッド アウトレットアドオンモジュール

Family Cites Families (21)

* Cited by examiner, † Cited by third party
Publication number Priority date Publication date Assignee Title
US5642151A (en) 1993-11-12 1997-06-24 International Business Machines Corporation Distribution of television signals to workstations
US6212238B1 (en) * 1997-12-19 2001-04-03 Philips Electronics North America Corporation Selective by-pass of analog mode in communication between digital devices
AU2564999A (en) * 1998-01-27 1999-08-09 Collaboration Properties, Inc. Multifunction video communication service device
WO2002045424A1 (en) 2000-11-29 2002-06-06 Telefonaktiebolaget Lm Ericsson (Publ) A portable communications device
US8117252B2 (en) * 2002-12-26 2012-02-14 Schaff Glen D Video-monitor/recording/playback system
CN1479462A (zh) * 2003-06-04 2004-03-03 威海克劳斯数码通迅有限公司 全景远程网络安全监控系统
US7269670B2 (en) 2003-06-05 2007-09-11 Texas Instruments Incorporated Analog ethernet detector having first logic circuit and second logic circuit coupled to output signal detectors to determine ethernet and non-ethernet signals
US20050066210A1 (en) * 2003-09-22 2005-03-24 Hsien-Ping Chen Digital network video and audio monitoring system
TWI236844B (en) 2004-06-04 2005-07-21 Rite Technology Co Ltd O Method for communication port configuration for use in remote surveillance camera
WO2006026054A1 (en) * 2004-08-27 2006-03-09 Thomson Licensing Apparatus and method for enabling digital and analog data communication over a data bus
KR100490948B1 (ko) * 2004-10-26 2005-05-24 (주)유디피 영상 전송 방법 및 상기 방법을 이용하는 네트워크 카메라시스템
WO2006055948A1 (en) 2004-11-18 2006-05-26 Panduit Corp. Ethernet-to-analog controller
JP4776975B2 (ja) * 2005-05-11 2011-09-21 キヤノン株式会社 撮像装置
GB2426650B (en) * 2005-05-25 2011-01-05 Adder Tech Ltd Audio and video signal transmission
US20060282872A1 (en) * 2005-06-08 2006-12-14 Cirstea Madalin C Component-type video and digital audio extender
JP5142459B2 (ja) * 2005-07-25 2013-02-13 キヤノン株式会社 機器取付装置、調整冶具、及び調整機構付撮像装置
EP1762994B1 (de) 2005-09-07 2008-12-10 Siemens Building Technologies Fire & Security Products GmbH & Co. oHG Intelligente Überwachungskamera
DE102005046086A1 (de) 2005-09-26 2007-04-05 Leutron Vision Gmbh Elektronisches Bildaufnahmesystem
WO2007118062A2 (en) * 2006-04-03 2007-10-18 Global Communications, Inc, System and method for dynamic allocation of spectrum
US8345705B2 (en) * 2007-09-28 2013-01-01 Centurylink Intellectual Property Llc Method and apparatus for conducting analog communication over a data cable
US20090185792A1 (en) * 2008-01-18 2009-07-23 Rutan & Tucker, LLP Digital video camcorder with wireless transmission built-in

Patent Citations (4)

* Cited by examiner, † Cited by third party
Publication number Priority date Publication date Assignee Title
US20060098638A1 (en) * 2001-10-11 2006-05-11 Serconet Ltd. Outlet with analog signal adapter, a method for use thereof and a network using said outlet
JP2003338971A (ja) * 2002-03-13 2003-11-28 Pentax Corp カメラ用アダプタ装置
JP2007523457A (ja) * 2004-02-16 2007-08-16 セルコネット リミテッド アウトレットアドオンモジュール
JP2006293440A (ja) * 2005-04-05 2006-10-26 Sharp Corp 電気機器、電気機器システム及び接続制御方法

Also Published As

Publication number Publication date
US8208033B2 (en) 2012-06-26
JP4814360B2 (ja) 2011-11-16
CN101626495A (zh) 2010-01-13
TW201008257A (en) 2010-02-16
KR101620102B1 (ko) 2016-05-12
CN101626495B (zh) 2013-08-07
EP2144443A1 (en) 2010-01-13
US20100007750A1 (en) 2010-01-14
KR20100007789A (ko) 2010-01-22
EP2144443B1 (en) 2017-08-23
TWI516109B (zh) 2016-01-01

Similar Documents

Publication Publication Date Title
JP4814360B2 (ja) イーサネット接続ビデオ
CN104702879B (zh) 一种后端、前端的处理电路、及同轴供电电路
US20010053207A1 (en) Network infrastructure integrated system
CN102801445B (zh) 高性能电力线通信群系统
US20090154594A1 (en) Power line communication device with dc power output and network signal transmission abilities
CN101102404B (zh) 摄像设备和在所述摄像设备之间无线发送和/或接收数据的方法
TW200910797A (en) Power mains data transfer system
CN204425367U (zh) 一种以太网供电分离器
CN102109895B (zh) 图像服务器装置
TWM530496U (zh) 網路供電裝置及系統
TWM609645U (zh) 具有網路調變器及解調變器的系統
GB2475279A (en) Transmitting a camera signal over a power line and a peer-to-peer internet connection
KR20130042086A (ko) Plc통신에서 아날로그 신호와 디지털 신호를 동시 전송하는 방법
US7810125B2 (en) Method and system for a low cost wireless telephone link for a set top box
JP6860119B2 (ja) モデム
JP2006352396A (ja) 通信システムおよび電気機器
JP3655739B2 (ja) 家庭内データ通信方法
KR200326673Y1 (ko) 네트워크 카메라 시스템의 전원 공급 장치
TWI625058B (zh) Power line image recording device
CN206497359U (zh) 电力线影像纪录装置
KR100257268B1 (ko) 입출력 공용단자의 분리 적용회로
TWM608181U (zh) 具有網路調變器及解調變器之系統
KR101217626B1 (ko) 전구 소켓을 이용하는 전력선 통신 보안 카메라, 전력선통신 디코더 박스, 및 이들을 포함하는 전력선 통신 보안시스템
JP2003078457A (ja) 電灯線通信装置
JP2008061005A (ja) 集合住宅インターホンシステム

Legal Events

Date Code Title Description
A977 Report on retrieval

Free format text: JAPANESE INTERMEDIATE CODE: A971007

Effective date: 20100708

A131 Notification of reasons for refusal

Free format text: JAPANESE INTERMEDIATE CODE: A131

Effective date: 20100713

A521 Request for written amendment filed

Free format text: JAPANESE INTERMEDIATE CODE: A523

Effective date: 20101008

A131 Notification of reasons for refusal

Free format text: JAPANESE INTERMEDIATE CODE: A131

Effective date: 20110415

A521 Request for written amendment filed

Free format text: JAPANESE INTERMEDIATE CODE: A523

Effective date: 20110510

TRDD Decision of grant or rejection written
A01 Written decision to grant a patent or to grant a registration (utility model)

Free format text: JAPANESE INTERMEDIATE CODE: A01

Effective date: 20110812

A01 Written decision to grant a patent or to grant a registration (utility model)

Free format text: JAPANESE INTERMEDIATE CODE: A01

A61 First payment of annual fees (during grant procedure)

Free format text: JAPANESE INTERMEDIATE CODE: A61

Effective date: 20110825

R150 Certificate of patent or registration of utility model

Ref document number: 4814360

Country of ref document: JP

Free format text: JAPANESE INTERMEDIATE CODE: R150

Free format text: JAPANESE INTERMEDIATE CODE: R150

FPAY Renewal fee payment (event date is renewal date of database)

Free format text: PAYMENT UNTIL: 20140902

Year of fee payment: 3

R250 Receipt of annual fees

Free format text: JAPANESE INTERMEDIATE CODE: R250

R250 Receipt of annual fees

Free format text: JAPANESE INTERMEDIATE CODE: R250

R250 Receipt of annual fees

Free format text: JAPANESE INTERMEDIATE CODE: R250

R250 Receipt of annual fees

Free format text: JAPANESE INTERMEDIATE CODE: R250

R250 Receipt of annual fees

Free format text: JAPANESE INTERMEDIATE CODE: R250

R250 Receipt of annual fees

Free format text: JAPANESE INTERMEDIATE CODE: R250

R250 Receipt of annual fees

Free format text: JAPANESE INTERMEDIATE CODE: R250

R250 Receipt of annual fees

Free format text: JAPANESE INTERMEDIATE CODE: R250

LAPS Cancellation because of no payment of annual fees