JP2010046695A - 差動装置の接合方法、及び接合補助具 - Google Patents

差動装置の接合方法、及び接合補助具 Download PDF

Info

Publication number
JP2010046695A
JP2010046695A JP2008214218A JP2008214218A JP2010046695A JP 2010046695 A JP2010046695 A JP 2010046695A JP 2008214218 A JP2008214218 A JP 2008214218A JP 2008214218 A JP2008214218 A JP 2008214218A JP 2010046695 A JP2010046695 A JP 2010046695A
Authority
JP
Japan
Prior art keywords
differential case
ring gear
jig
differential
welding
Prior art date
Legal status (The legal status is an assumption and is not a legal conclusion. Google has not performed a legal analysis and makes no representation as to the accuracy of the status listed.)
Granted
Application number
JP2008214218A
Other languages
English (en)
Other versions
JP4858513B2 (ja
Inventor
Mitsuharu Ishibashi
光治 石橋
Yoshisada Wada
義定 和田
Shinichi Iwasaki
進一 岩▲崎▼
Akio Harada
彰夫 原田
Katsuaki Nakatani
勝昭 仲谷
Hideo Miyata
英雄 宮田
Current Assignee (The listed assignees may be inaccurate. Google has not performed a legal analysis and makes no representation or warranty as to the accuracy of the list.)
Toyota Motor Corp
Original Assignee
Toyota Motor Corp
Priority date (The priority date is an assumption and is not a legal conclusion. Google has not performed a legal analysis and makes no representation as to the accuracy of the date listed.)
Filing date
Publication date
Application filed by Toyota Motor Corp filed Critical Toyota Motor Corp
Priority to JP2008214218A priority Critical patent/JP4858513B2/ja
Publication of JP2010046695A publication Critical patent/JP2010046695A/ja
Application granted granted Critical
Publication of JP4858513B2 publication Critical patent/JP4858513B2/ja
Expired - Fee Related legal-status Critical Current
Anticipated expiration legal-status Critical

Links

Images

Landscapes

  • Retarders (AREA)
  • Laser Beam Processing (AREA)

Abstract

【課題】デフケースとリングギアの溶接において溶接精度を向上させることが可能な差動装置の接合方法、及び接合補助治具の提供。
【解決手段】デフケース10のフランジ部10cの位置まで圧入されたリングギア11を、フランジ部10cの反対側から挿入したリングギアガイド24とフランジ部10cとで挟持した状態で、それらをスラストベアリング41及びラジアルベアリング42を介してデフケース10の軸方向両側から一対の挟持部材(押圧治具21及び保持治具23を含む溶接治具20)で挟持し、一対の挟持部材の一方を所定の加工設備に固定すると共に、一対の挟持部材の他方側から軸方向に加圧し、リングギア11とデフケース10とを一定速度で回転させながら溶接する。
【選択図】図3

Description

本発明は、リングギアをデフケースに溶接して接合する技術に関する。
自動車の駆動機構に用いられるデフギア(differential gear)は、自動車の駆動輪を繋ぐシャフトに用いられ、自動車がカーブを曲がるときに内輪と外輪の速度差を吸収する差動装置の1つである。
簡単に構造を説明すると、デフギアは、デフケースの外側に保持されるリングギアと、デフケース内部に設けられ、デフケースに取り付けられたピニオンギア、そしてピニオンギアと噛み合う車軸に取り付けられたギアよりなる。
そして、自動車のエンジン等が発生する駆動力はデフケースに接合されるリングギアに伝達され、デフケースに取り付けられたピニオンギアにより車軸に取り付けられたギアを回転することで車軸に動力を伝える。
この他、自動車に用いられる差動装置としてはLSDと呼ばれる一方の車輪が無負荷状体の時に車軸を空転させてしまうデフギアの欠点を補った物も存在するが、デフケースの外側にリングギアを用いるという点では同じ構造となる。
そして、この差動装置に備えるデフケースにリングギアを接合する方法は、従来ではボルトを用いて締結する方法が採られてきた。
しかし、このボルトでの締結方法を用いると、ボルトの重量やボルトで締結する為に必要な肉厚等を必要とするので、重量が増加する問題がある。
そこで、デフケースとデフギアの接合をボルトによる締結によらない方法も検討されている。
特許文献1には、摩擦圧接部材およびこれを備えた差動装置の発明が開示されている。
デフケースとリングギアとにそれぞれ面で接触する圧接部を備え、デフケースに対してリングギアをこの圧接部同士が当接するように回転を発生させることで、摩擦熱により圧接部が加熱され、圧接部同士が摩擦圧接される。こうして、デフケースとリングギアが一体化されるため、ボルトで締結する必要がなくなり、軽量化を図ることができる。
また、特許文献2には、トルク伝達部材の接合構造及びトルク伝達部材の接合方法及びこれらを用いた動力伝達装置についての発明が開示されている。
浸炭鋼製のリングギアとFCD製のデフケースとを溶接ワイヤを用いてCMT溶接を行うことで接合する構成となっている。こうすることで、リングギアに伝わった動力をデフケースに伝達することが可能となる。また、溶接することで、ボルトで締結する必要がなくなり、軽量化を図ることができる。
特開2005−81351号公報 特開2007−170622号公報
しかしながら、特許文献1及び特許文献2には以下に説明する課題があると考えられる。
特許文献1及び特許文献2では、何れもデフケースにリングギアを溶接する手法を用いている。しかし、特許文献1では摩擦圧接する際に強度を確保するために圧接部の表面加工を必要とする。このため、摩擦圧接する際にリングギアをデフケースに対して均等に力を加えて精度良く回転させないと、均等に摩擦圧接させることが難しいと考えられる。
また、特許文献2ではCMT溶接を行うことでリングギアとデフケースを接合しているが、溶接精度を高める手法については具体的に言及されていない。
デフケースとリングギアとを溶接した場合、溶接後のデフケースが振れなく回転する必要がある。デフケースの振れは自動車の静粛性や振動、及びデフギア等の寿命などに影響するため、極力振れが少なくなることが望ましい。
そこで、本発明はこのような課題を解決するために、デフケースとリングギアの溶接において溶接精度を向上させることが可能な差動装置の接合方法、及び接合補助具を提供することを目的とする。
前記目的を達成するために、本発明による差動装置の接合方法は以下のような特徴を有する。
(1)デフケースのフランジ部の位置まで圧入されたリングギアを、前記フランジ部の反対側から挿入したリングギアガイドと前記フランジ部とで挟持した状態で、それらをスラストベアリング及びラジアルベアリングを介して前記デフケースの軸方向両側から一対の挟持部材で挟持し、前記一対の挟持部材の一方を所定の加工設備に固定すると共に、前記一対の挟持部材の他方側から軸方向に加圧し、前記リングギアと前記デフケースとを一定速度で回転させながら溶接することを特徴とする。
(2)(1)に記載の差動装置の接合方法において、
前記一対の挟持部材は押圧治具と保持治具と、前記押圧治具と前記保持治具を接続する接続部材と、を備え、前記一対の挟持部材で、前記デフケース及び前記リングギアを挟持した後、前記押圧治具に備える加圧手段によって、前記デフケースの前記フランジ部を加圧しながら、前記リングギアと前記デフケースとを溶接することを特徴とする。
また、前記目的を達成するために、本発明による接合補助具は以下のような特徴を有する。
(3)デフケースを保持する一対の挟持部材は、押圧治具と保持治具とを備え、
前記押圧治具は、前記デフケースを加圧する為の加圧手段と、前記加圧手段の押圧力を前記デフケースのフランジ部に均等に伝える為のケース押さえ部材と、を有し、
前記保持治具は、前記デフケースを受けるリングギアガイドを有し、
前記デフケースと前記デフケースの外周に前記フランジ部と接するように挿入されたリングギアとを、前記一対の挟持部材でスラストベアリング及びラジアルベアリングを介して前記デフケースの軸方向両側から挟持することを特徴とする。
このような特徴を有する本発明による差動装置の接合方法により、以下のような作用、効果が得られる。
まず、(1)に記載される発明は、デフケースのフランジ部の位置まで圧入されたリングギアを、フランジ部の反対側から挿入したリングギアガイドとフランジ部とで挟持した状態で、それらをスラストベアリング及びラジアルベアリングを介してデフケースの軸方向両側から一対の挟持部材で挟持し、一対の挟持部材の一方を所定の加工設備に固定すると共に、一対の挟持部材の他方側から軸方向に加圧し、リングギアとデフケースとを一定速度で回転させながら溶接するものである。
デフケースのフランジ部の位置まで圧入されたリングギアを溶接する際には、一対の挟持部材でリングギアガイドとフランジ部とを挟持した状態で行う。
一対の挟持部材にはスラストベアリングとラジアルベアリングとを備えているので、デフケースとリングギアは同軸度を保ちながら一定速度で回転され、精密に溶接することが可能となる。
加工設備で溶接するにあたり、例えばビーム溶接を用いた場合には、焦点距離が重要になる。したがって、デフケースのフランジ部とリングギアの当接面の外周部が同軸度を保ちながら回転することで、溶接精度を高めて溶接不良の低減に貢献することが可能となる。
次に、(2)に記載される発明は、(1)に記載の差動装置の接合方法において、一対の挟持部材は押圧治具と保持治具と、押圧治具と保持治具を接続する接続部材と、を備え、一対の挟持部材で、デフケース及びリングギアを挟持した後、押圧治具に備える加圧手段によって、デフケースのフランジ部を加圧しながら、リングギアとデフケースとを溶接するものである。
リングギアをリングギアガイドで受け、デフケースのフランジ部を加圧手段にて加圧しながら溶接することで、溶接精度を高めることが可能となる。
また、このような特徴を有する本発明による接合補助具により、以下のような作用、効果が得られる。
まず、(3)に記載される発明は、デフケースを保持する一対の挟持部材は、押圧治具と保持治具とを備え、押圧治具は、デフケースを加圧する為の加圧手段と、加圧手段の押圧力をデフケースのフランジ部に均等に伝える為のケース押さえ部材と、を有し、保持治具は、デフケースを受けるリングギアガイドを有し、デフケースとデフケースの外周にフランジ部と接するように挿入されたリングギアとを、一対の挟持部材でスラストベアリング及びラジアルベアリングを介してデフケースの軸方向両側から挟持するものである。
このような接合治具を用いてデフケースとリングギアを挟持し溶接することで、デフケースとリングギアとの溶接精度を高めることができ、溶接浮浪の低減に貢献することが可能となる。
まず、本発明の実施形態の構成について説明する。
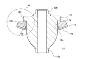
図1に、本実施形態のデフケースとリングギアの略式断面図を示す。
デフケース10は、自動車に用いられる差動装置15のケースであり、アルミニウムや鉄を材料として鋳造して作られる。デフケース10の端部には第1ベアリング接続部10aと第2ベアリング接続部10bが形成され、デフケース10の外周部にはフランジ部10cが形成されている。第1ベアリング接続部10a及び第2ベアリング接続部10bはデフケース10を支える為のベアリングが嵌め込まれるため、同軸度が取れるように精密に機械加工され、この外周部分がデフケース10の基準面とされている。
デフケース10に形成されるフランジ部10cに当接するようにリングギア11が取り付けられている。リングギア11は傘歯歯車であり、リングギア11の当接面11aがフランジ部当接面10dに当接した状態で、溶接されてデフケース10とリングギア11は接合される。リングギア11には歯部11bが形成されており、自動車の動力が伝達される。
なお、図1に示す差動装置15は簡略化して示す目的で差動装置15の内部のギアを省略している。よって、デフケース10の断面は実際には図1とは異なるが、本実施形態ではデフケース10とリングギア11の関係さえ分かれば良いので、このような表現となっている。
図2に、デフケースとリングギアの接合部分の拡大図を示す。図1に示す部分Aの拡大図である。
デフケース10とリングギア11は、フランジ部当接面10dと当接面11aとが当接し、ケース嵌合部10eとギア嵌合部11cが勘合した状態で、レーザー溶接によって接合される。したがってフランジ部当接面10dと当接面11aとの当接面を跨いだ状態で溶接部12が形成される。
このようにデフケース10とリングギア11が溶接されることで、ボルトで結合している場合に比べて、差動装置15の軽量化を図ることが可能となる。デフケース10とリングギア11の締結にボルトを用いる場合は、ボルトを止めるネジ穴を形成する必要があるため、デフケース10もリングギア11も肉厚にする必要があるが、そういった肉厚にする部分を削ることができ、ボルトを用いる必要もない為、軽量化に繋がる。
図3に、溶接治具の断面図を示す。
図4に、溶接治具とデフケースを分解した様子を表す断面図を示す。
接合補助具となる溶接治具20は、押圧治具21と接続ポスト22と保持治具23を備えている。押圧治具21と保持治具23を接続する接続部材である接続ポスト22は、両側にネジ穴が設けられており、ボルトで押圧治具21と保持治具23とに固定されている。
保持治具23には回転保持部材25がスラストベアリング41とラジアルベアリング42を介して取り付けられている。スラストベアリング41とラジアルベアリング42については予圧がかけられた精度の良いものを使用している。
保持治具23は接続ボス28に取り付けられ、接続ボス28を介して溶接治具20は回転テーブル51に接続される。回転テーブル51は回転装置50に設けられており、一定速度で回転可能な構成となっている。回転保持部材25と接続ボス28はピン29が打ち込まれて一緒に回転するように構成されている。
回転保持部材25にはリングギアガイド24が取り付けられている。そして、回転保持部材25には第1保持穴25aが設けられている。第1保持穴25aはデフケース10の第1ベアリング接続部10aが挿入される穴である。第1ベアリング接続部10aと第1保持穴25aは嵌合可能な寸法となっている。
リングギアガイド24は円筒状の部材であり、リングギア11を面で受けるような形状となっている。
押圧治具21には、押圧ボルト30が挿入されている。押圧ボルト30は、押圧治具21にネジ溝が切られていることで、ケース上部押圧治具26及び受圧部材27を加圧することができる。
ケース上部押圧治具26と受圧部材27はスラストベアリング41及びスラストベアリング41を介して固定されており、ケース上部押圧治具26に設けられる第2保持穴26aによって、デフケース10の第2ベアリング接続部10bを保持する機構となっている。
また、ケース上部押圧治具26には加圧ボルト31が複数本備えられており、押圧ボルト30の加圧力は主に加圧ボルト31によりデフケース10に伝えられる設計となっている。この加圧ボルト31は、デフケース10のフランジ部10cを押圧し、リングギアガイド24の延長線上に配置されている。
溶接治具20の設計上で重要な点は、溶接治具20の回転中心CLに対して、デフケース10の回転中心が一致することである。したがって、回転保持部材25の第1保持穴25a、及びケース上部押圧治具26の第2保持穴26aの中心は回転中心CLに一致するように設計されている。
図5に、溶接装置の模式図を示す。
溶接装置60は、回転装置50とそれに取り付けられた溶接治具20、及びレーザー溶接装置52よりなる。
回転装置50は回転テーブル51を一定速度で回転させる機能を有しており、溶接治具20を取り付けた状態で、デフケース10及びリングギア11を一定速度で回転させることができる。回転速度は設定を変更可能なものを用意しておくことが好ましい。
レーザー溶接装置52はレーザー溶接のヘッドであり、詳細は省略している。本発明の実験にあたってはYAGレーザーを使用したが、特にこれに限定されるものではない。必要に応じて別の方式のレーザーを用いても良いし、電子ビーム溶接を採用しても良い。
なお、出願人はレーザー溶接の他に、電子ビーム溶接、アーク溶接、FSW、ロウ付けなどの接合方法を試しているが、レーザー溶接が最も良い結果が得られたので、実施例ではレーザー溶接を用いた例を紹介している。
本実施形態は上記構成であるので、以下に説明するような作用を示す。
まずデフケース10にリングギア11が組み付けられる。リングギア11はギア嵌合部11cの内径がデフケース10のケース嵌合部10eの外径よりも小さく形成されることで、締まり嵌め状態でデフケース10にリングギア11が嵌合する。
その後、デフケース10は図4に示すように溶接治具20に固定される。デフケース10が溶接治具20に固定された状態で、押圧ボルト30を締め付け、加圧ボルト31によってデフケース10のフランジ部10cを均等に加圧する。この結果、フランジ部10cとリングギア11は加圧ボルト31とリングギアガイド24とで挟まれた状態となる。
加圧ボルト31によるフランジ部10cへの加圧力は2t程度に設定されている。なお、押圧ボルト30で加圧できる加圧力は0〜10t程度としているが、適宜変更して構わない。
デフケース10の第1ベアリング接続部10a及び第2ベアリング接続部10bの先端部分は、それぞれケース上部押圧治具26の第2保持穴26aと回転保持部材25の第1保持穴25aとは当接しないように数mm程度のクリアランスが設けられているので、フランジ部当接面10dと当接面11aは加圧された状態で当接することになる。
したがって、一対の挟持部材は押圧治具21に備えられるケース上部押圧治具26及びそれに備えられた加圧ボルト31と、保持治具23に備えられた回転保持部材25及びリングギアガイド24とよりなり、デフケース10及びリングギア11を支持している。
このように10及びリングギア11が溶接治具20に保持され、回転装置50によって一定速度で回転させられる。そしてその状態で、レーザー溶接装置52によりデフケース10とリングギア11は溶接される。
回転テーブル51は回転装置50によって数rpm程度の低速で、一定速度で回転すると、回転テーブル51に接続される回転保持部材25と、回転保持部材25に接続されるリングギアガイド24、及び受圧部材27に回転可能に保持されるケース上部押圧治具26が回転し、デフケース10とリングギア11もそれに連れて回転する。
一方、押圧治具21、接続ポスト22、及び保持治具23には直接的に回転力は伝わらず、スラストベアリング41及びラジアルベアリング42を介して若干力が伝達される。しかし、固定されたレーザー溶接装置52で一点にレーザーを照射している為、接続ポスト22がレーザー溶接装置52を横切ることがないように押圧治具21又は保持治具23には図示しないステーが取り付けられて回転しないように固定されている。
このようにして、デフケース10とリングギア11はレーザー溶接されて一体化する。
本実施形態は上記構成で上記作用を示すので、以下に説明するような効果を奏する。
まず、第1の効果としてリングギア11とデフケース10の溶接精度を向上可能である点が挙げられる。
本実施形態の差動装置15の接合方法は、デフケース10のフランジ部10cの位置まで圧入されたリングギア11を、フランジ部10cの反対側から挿入したリングギアガイド24とフランジ部10cとで挟持した状態で、それらをスラストベアリング41及びラジアルベアリング42を介してデフケース10の軸方向両側から一対の挟持部材(押圧治具21及び保持治具23を含む溶接治具20)で挟持し、一対の挟持部材の一方を所定の加工設備に固定すると共に、一対の挟持部材の他方側から軸方向に加圧し、リングギア11とデフケース10とを一定速度で回転させながら溶接するものである。
溶接治具20にはスラストベアリング41とラジアルベアリング42を用いて、ケース上部押圧治具26及び回転保持部材25の回転を支持しているので、溶接治具20の加工精度が高ければ、デフケース10を触れないように回転させることが可能となる。
出願人はスラストベアリング41とラジアルベアリング42の代わりにアンギュラベアリングを用いた実験も行った。しかし、アンギュラベアリングを用いて差動装置15を溶接した場合には差動装置15の溶接後にリングギア11の外周の振れが大きくなり好ましくないことが分かっている。これは、アンギュラベアリングがスラストベアリング41及びラジアルベアリング42を用いた場合と比べてデフケース10とリングギア11との同軸度を出す事が容易でない事を意味する。
レーザー溶接装置52で溶接する場合、レーザーの焦点距離は重要である。デフケース10及びリングギア11の当接面の外周上をレーザー溶接装置52の焦点が移動していくことが理想であり、ブレが発生すると溶接深さが確保できずに溶接不良を発生させる虞がある。
デフケース10とリングギア11を接合する上で、車載された後に振動や熱が加わる部品である為、接合の確実性は要求される。更に溶接する際に歪みを偏って発生させると接合不良を引き起こす原因となる他、偏心の要因となることも考えられる。
しかし、スラストベアリング41及びラジアルベアリング42を用いてデフケース10及びリングギア11を回転させているので、360°同軸度を確保しながらデフケース10及びリングギア11を回転させることができる。また、回転テーブル51を用いて一定速度で回転させることで、フランジ部当接面10dと当接面11aの当接面の外周側から均一に熱を受けることとなり、溶接後の差動装置15の振れの要因を押さえることが可能となる。
また、本実施形態の差動装置の接合方法は、溶接精度を高める為に、一対の挟持部材は押圧治具21と保持治具23と、押圧治具21と保持治具23を接続する接続ポスト22と、を備え、一対の挟持部材で、デフケース10及びリングギア11を挟持した後、押圧治具21に備える押圧ボルト30によって、デフケース10のフランジ部10cを加圧しながら、リングギア11とデフケース10とを溶接する構成を採っている。
このため、リングギアガイド24とフランジ部10cでリングギア11を挟持した状態、すなわち、加圧ボルト31でリングギア11を圧入した状態のデフケース10のフランジ部10cをリングギアガイド24の方向に加圧している状態で、レーザー溶接装置52によって溶接するため、フランジ部10cのフランジ部当接面10dとリングギア11の当接面11aが当接した状態で溶接される。
フランジ部当接面10dと当接面11aが加圧された状態で当接していることで、レーザー溶接装置52で溶接する際に不要な隙間ができることを防ぐことができ、溶接精度を向上させることが可能となる。
また、ボルトでデフケース10とリングギア11とを締結した状態と、同様の状態を作り出すことができる為、差動装置15の製作精度を向上させることができる。
以上、本実施形態に則して発明を説明したが、この発明は前記実施形態に限定されるものではなく、発明の趣旨を逸脱することのない範囲で構成の一部を適宜変更することにより実施することもできる。
例えば、溶接治具20の形状など細かい部分の変更は設計事項であるので、適宜変更することを妨げない。
また、溶接方法についても特にレーザー溶接に限るものではない。出願人はレーザー溶接の他に、電子ビーム溶接、アーク溶接、FSW、ロウ付けなどの接合方法を試し、評価した。その結果、レーザー溶接がコスト面を除いて良好であった。この他アーク溶接も比較的良好な結果を示している。本発明の溶接治具20は、レーザー溶接に限らず他の溶接方法にも流用できるので、それを妨げるものではない。
また、本実施形態では、押圧ボルト30によりデフケース10のフランジ部10cを押さえる例を示したが、油圧、エア圧、モータ駆動等によるボールネジ機構等を利用して加圧することも考えられる。このようなデフケース10及びリングギア11への加圧機構の変更も妨げない。
本実施形態の、デフケースとリングギアの略式断面図である。 本実施形態の、デフケースとリングギアの接合部分の拡大断面図である。 本実施形態の、溶接治具の断面図である。 本実施形態の、溶接治具とデフケースを分解した様子を表す断面図である。 本実施形態の、溶接装置の模式図である。
符号の説明
10 デフケース
10a 第1ベアリング接続部
10b 第2ベアリング接続部
10c フランジ部
10d フランジ部当接面
10e ケース嵌合部
11 リングギア
11a 当接面
11b 歯部
11c ギア嵌合部
12 溶接部
15 差動装置
20 溶接治具
21 押圧治具
22 接続ポスト
23 保持治具
24 リングギアガイド
25 回転保持部材
25a 第1保持穴
26 ケース上部押圧治具
26a 第2保持穴
27 受圧部材
28 接続ボス
29 ピン
30 押圧ボルト
31 加圧ボルト
41 スラストベアリング
42 ラジアルベアリング
50 回転装置
51 回転テーブル
52 レーザー溶接装置
60 溶接装置
CL 回転中心

Claims (3)

  1. デフケースのフランジ部の位置まで圧入されたリングギアを、前記フランジ部の反対側から挿入したリングギアガイドと前記フランジ部とで挟持した状態で、
    それらをスラストベアリング及びラジアルベアリングを介して前記デフケースの軸方向両側から一対の挟持部材で挟持し、
    前記一対の挟持部材の一方を所定の加工設備に固定すると共に、前記一対の挟持部材の他方側から軸方向に加圧し、
    前記リングギアと前記デフケースとを一定速度で回転させながら溶接することを特徴とする差動装置の接合方法。
  2. 請求項1に記載の差動装置の接合方法において、
    前記一対の挟持部材は押圧治具と保持治具と、前記押圧治具と前記保持治具を接続する接続部材と、を備え、
    前記一対の挟持部材で、前記デフケース及び前記リングギアを挟持した後、
    前記押圧治具に備える加圧手段によって、前記デフケースの前記フランジ部を加圧しながら、前記リングギアと前記デフケースとを溶接することを特徴とする差動装置の接合方法。
  3. デフケースを保持する一対の挟持部材は、押圧治具と保持治具とを備え、
    前記押圧治具は、前記デフケースを加圧する為の加圧手段と、前記加圧手段の押圧力を前記デフケースのフランジ部に均等に伝える為のケース押さえ部材と、を有し、
    前記保持治具は、前記デフケースを受けるリングギアガイドを有し、
    前記デフケースと前記デフケースの外周に前記フランジ部と接するように挿入されたリングギアとを、前記一対の挟持部材でスラストベアリング及びラジアルベアリングを介して前記デフケースの軸方向両側から挟持することを特徴とする接合補助具。
JP2008214218A 2008-08-22 2008-08-22 差動装置の接合方法、及び接合補助具 Expired - Fee Related JP4858513B2 (ja)

Priority Applications (1)

Application Number Priority Date Filing Date Title
JP2008214218A JP4858513B2 (ja) 2008-08-22 2008-08-22 差動装置の接合方法、及び接合補助具

Applications Claiming Priority (1)

Application Number Priority Date Filing Date Title
JP2008214218A JP4858513B2 (ja) 2008-08-22 2008-08-22 差動装置の接合方法、及び接合補助具

Publications (2)

Publication Number Publication Date
JP2010046695A true JP2010046695A (ja) 2010-03-04
JP4858513B2 JP4858513B2 (ja) 2012-01-18

Family

ID=42064240

Family Applications (1)

Application Number Title Priority Date Filing Date
JP2008214218A Expired - Fee Related JP4858513B2 (ja) 2008-08-22 2008-08-22 差動装置の接合方法、及び接合補助具

Country Status (1)

Country Link
JP (1) JP4858513B2 (ja)

Cited By (11)

* Cited by examiner, † Cited by third party
Publication number Priority date Publication date Assignee Title
CN101885112A (zh) * 2010-07-09 2010-11-17 中国第一汽车集团公司 汽车驱动桥差速器壳体与从动锥齿激光焊接连接方法
JP2012067889A (ja) * 2010-09-27 2012-04-05 Toyota Motor Corp リングギヤの溶接方法及び溶接構造
JP2013104516A (ja) * 2011-11-16 2013-05-30 Asano Gear Co Ltd ディファレンシャル装置
CN103561901A (zh) * 2011-04-28 2014-02-05 丰田自动车株式会社 焊接接头的对接位置检测方法、焊接接头的对接位置检测装置和焊接接头的制造方法
CN103659077A (zh) * 2013-12-04 2014-03-26 马鞍山马钢设备安装工程有限公司 一种通过温差控制大型转炉托圈耳轴同轴度修正的方法
JP2014140853A (ja) * 2013-01-22 2014-08-07 Nissan Motor Co Ltd 溶接方法および溶接品
JP2015124874A (ja) * 2013-12-27 2015-07-06 武蔵精密工業株式会社 差動装置及びその製造方法
JP2016061782A (ja) * 2014-09-16 2016-04-25 アービンメリトール・テクノロジー,エルエルシー 溶接アセンブリを製作するシステムおよび方法
US9546725B2 (en) 2011-06-29 2017-01-17 Toyota Jidosha Kabushiki Kaisha Press-fit structure and press-fit method
CN111001935A (zh) * 2020-01-03 2020-04-14 神龙汽车有限公司 汽车变速箱齿轮总成全自动压装焊接装备
JP2020523201A (ja) * 2018-03-30 2020-08-06 重慶聯豪科技有限公司Chongqing Lianhao Technology Co.,Ltd. 差動アセンブリの溶接プロセス

Citations (2)

* Cited by examiner, † Cited by third party
Publication number Priority date Publication date Assignee Title
JPS5166630A (ja) * 1974-12-02 1976-06-09 Toyota Motor Co Ltd Sharyoyodeifuarensharusochi
JP2002514511A (ja) * 1998-05-12 2002-05-21 シユタイル−ダイムレル−プーフ・フアールツオイクテヒニク・アクチエンゲゼルシヤフト・ウント・コンパニー・コマンデイトゲゼルシヤフト 鋳造部品と肌焼き鋼から成る部品とを結合する方法及びこの方法により製造された部材

Patent Citations (2)

* Cited by examiner, † Cited by third party
Publication number Priority date Publication date Assignee Title
JPS5166630A (ja) * 1974-12-02 1976-06-09 Toyota Motor Co Ltd Sharyoyodeifuarensharusochi
JP2002514511A (ja) * 1998-05-12 2002-05-21 シユタイル−ダイムレル−プーフ・フアールツオイクテヒニク・アクチエンゲゼルシヤフト・ウント・コンパニー・コマンデイトゲゼルシヤフト 鋳造部品と肌焼き鋼から成る部品とを結合する方法及びこの方法により製造された部材

Cited By (13)

* Cited by examiner, † Cited by third party
Publication number Priority date Publication date Assignee Title
CN101885112A (zh) * 2010-07-09 2010-11-17 中国第一汽车集团公司 汽车驱动桥差速器壳体与从动锥齿激光焊接连接方法
JP2012067889A (ja) * 2010-09-27 2012-04-05 Toyota Motor Corp リングギヤの溶接方法及び溶接構造
EP2703113A4 (en) * 2011-04-28 2014-11-19 Toyota Motor Co Ltd METHOD FOR DETECTING THE WELDING POSITION OF A WELDING COMPOUND, DEVICE FOR DETECTING THE WELDING POSITION OF A WELDING COMPOUND AND METHOD FOR PRODUCING A WELDING COMPOUND
CN103561901A (zh) * 2011-04-28 2014-02-05 丰田自动车株式会社 焊接接头的对接位置检测方法、焊接接头的对接位置检测装置和焊接接头的制造方法
US10006759B2 (en) 2011-04-28 2018-06-26 Toyota Jidosha Kabushiki Kaisha Method for detecting butt position of weld joint, device for detecting butt position of weld joint, and method for manufacturing weld joint
US9546725B2 (en) 2011-06-29 2017-01-17 Toyota Jidosha Kabushiki Kaisha Press-fit structure and press-fit method
JP2013104516A (ja) * 2011-11-16 2013-05-30 Asano Gear Co Ltd ディファレンシャル装置
JP2014140853A (ja) * 2013-01-22 2014-08-07 Nissan Motor Co Ltd 溶接方法および溶接品
CN103659077A (zh) * 2013-12-04 2014-03-26 马鞍山马钢设备安装工程有限公司 一种通过温差控制大型转炉托圈耳轴同轴度修正的方法
JP2015124874A (ja) * 2013-12-27 2015-07-06 武蔵精密工業株式会社 差動装置及びその製造方法
JP2016061782A (ja) * 2014-09-16 2016-04-25 アービンメリトール・テクノロジー,エルエルシー 溶接アセンブリを製作するシステムおよび方法
JP2020523201A (ja) * 2018-03-30 2020-08-06 重慶聯豪科技有限公司Chongqing Lianhao Technology Co.,Ltd. 差動アセンブリの溶接プロセス
CN111001935A (zh) * 2020-01-03 2020-04-14 神龙汽车有限公司 汽车变速箱齿轮总成全自动压装焊接装备

Also Published As

Publication number Publication date
JP4858513B2 (ja) 2012-01-18

Similar Documents

Publication Publication Date Title
JP4858513B2 (ja) 差動装置の接合方法、及び接合補助具
CN103917795B (zh) 等速万向联轴器的外侧联轴器构件的焊接方法及外侧联轴器构件
JP5023606B2 (ja) 電動式駆動装置
CN103661570B (zh) 齿条的制造方法、齿条及电动助力转向装置
JP5614054B2 (ja) ビーム溶接部材およびこれを備えた差動装置
US6656079B2 (en) Differential gear and method of making same
EP2882983B1 (en) Differential case assembly with drive ring gear
JP2011167746A (ja) ビーム溶接部材およびこれを備えた差動装置
KR20120080592A (ko) 편심 요동형 기어 장치 및 편심 요동형 기어 장치의 제조 방법
CN109654193B (zh) 车辆差速装置及其焊接方法
US10830327B2 (en) Drive unit pinion and method of installation
JP2010281419A (ja) ドライブプレート
CN114080292A (zh) 金属部件的接合方法及接合构造
JP5234505B2 (ja) 金属部材の接合方法及びその接合装置
JP6124583B2 (ja) 偏心揺動型歯車装置
CN113167366B (zh) 用于机动车的差速传动机构
JP5009232B2 (ja) 偏心揺動型歯車装置
JP2015137706A (ja) 差動歯車装置及びその製造方法
JP6154757B2 (ja) 動力伝達装置及び動力伝達装置の製造方法
JP6095435B2 (ja) 割出しテーブル
JP2006144888A (ja) 偏心揺動型歯車装置
JP4931373B2 (ja) トルクコンバータの溶接方法および該溶接方法により製造されたトルクコンバータ
JP2008309254A (ja) トロイダル型無段変速機の組み立て方法およびトロイダル型無段変速機
JP3722795B2 (ja) 車両用ドライブプレート
JP2007136499A (ja) インサートドライブ式摩擦圧接法及び装置

Legal Events

Date Code Title Description
TRDD Decision of grant or rejection written
A977 Report on retrieval

Free format text: JAPANESE INTERMEDIATE CODE: A971007

Effective date: 20110930

A01 Written decision to grant a patent or to grant a registration (utility model)

Free format text: JAPANESE INTERMEDIATE CODE: A01

Effective date: 20111004

A01 Written decision to grant a patent or to grant a registration (utility model)

Free format text: JAPANESE INTERMEDIATE CODE: A01

A61 First payment of annual fees (during grant procedure)

Free format text: JAPANESE INTERMEDIATE CODE: A61

Effective date: 20111017

R151 Written notification of patent or utility model registration

Ref document number: 4858513

Country of ref document: JP

Free format text: JAPANESE INTERMEDIATE CODE: R151

FPAY Renewal fee payment (event date is renewal date of database)

Free format text: PAYMENT UNTIL: 20141111

Year of fee payment: 3

LAPS Cancellation because of no payment of annual fees