JP2010034968A - 無線移動局装置および無線基地局装置 - Google Patents

無線移動局装置および無線基地局装置 Download PDF

Info

Publication number
JP2010034968A
JP2010034968A JP2008196376A JP2008196376A JP2010034968A JP 2010034968 A JP2010034968 A JP 2010034968A JP 2008196376 A JP2008196376 A JP 2008196376A JP 2008196376 A JP2008196376 A JP 2008196376A JP 2010034968 A JP2010034968 A JP 2010034968A
Authority
JP
Japan
Prior art keywords
transmission power
mobile station
power value
transmission
base station
Prior art date
Legal status (The legal status is an assumption and is not a legal conclusion. Google has not performed a legal analysis and makes no representation as to the accuracy of the status listed.)
Granted
Application number
JP2008196376A
Other languages
English (en)
Other versions
JP5109856B2 (ja
Inventor
Shoichi Miyamoto
昌一 宮本
Current Assignee (The listed assignees may be inaccurate. Google has not performed a legal analysis and makes no representation or warranty as to the accuracy of the list.)
Fujitsu Ltd
Original Assignee
Fujitsu Ltd
Priority date (The priority date is an assumption and is not a legal conclusion. Google has not performed a legal analysis and makes no representation as to the accuracy of the date listed.)
Filing date
Publication date
Application filed by Fujitsu Ltd filed Critical Fujitsu Ltd
Priority to JP2008196376A priority Critical patent/JP5109856B2/ja
Priority to US12/504,816 priority patent/US8914056B2/en
Priority to EP09166258.5A priority patent/EP2150083B1/en
Publication of JP2010034968A publication Critical patent/JP2010034968A/ja
Application granted granted Critical
Publication of JP5109856B2 publication Critical patent/JP5109856B2/ja
Expired - Fee Related legal-status Critical Current
Anticipated expiration legal-status Critical

Links

Images

Classifications

    • HELECTRICITY
    • H04ELECTRIC COMMUNICATION TECHNIQUE
    • H04WWIRELESS COMMUNICATION NETWORKS
    • H04W52/00Power management, e.g. Transmission Power Control [TPC] or power classes
    • H04W52/04Transmission power control [TPC]
    • H04W52/30Transmission power control [TPC] using constraints in the total amount of available transmission power
    • H04W52/36Transmission power control [TPC] using constraints in the total amount of available transmission power with a discrete range or set of values, e.g. step size, ramping or offsets
    • H04W52/362Aspects of the step size
    • HELECTRICITY
    • H04ELECTRIC COMMUNICATION TECHNIQUE
    • H04WWIRELESS COMMUNICATION NETWORKS
    • H04W52/00Power management, e.g. Transmission Power Control [TPC] or power classes
    • H04W52/04Transmission power control [TPC]
    • H04W52/30Transmission power control [TPC] using constraints in the total amount of available transmission power
    • H04W52/36Transmission power control [TPC] using constraints in the total amount of available transmission power with a discrete range or set of values, e.g. step size, ramping or offsets
    • H04W52/365Power headroom reporting
    • HELECTRICITY
    • H04ELECTRIC COMMUNICATION TECHNIQUE
    • H04WWIRELESS COMMUNICATION NETWORKS
    • H04W52/00Power management, e.g. Transmission Power Control [TPC] or power classes
    • H04W52/04Transmission power control [TPC]
    • H04W52/38TPC being performed in particular situations
    • H04W52/44TPC being performed in particular situations in connection with interruption of transmission
    • HELECTRICITY
    • H04ELECTRIC COMMUNICATION TECHNIQUE
    • H04WWIRELESS COMMUNICATION NETWORKS
    • H04W52/00Power management, e.g. Transmission Power Control [TPC] or power classes
    • H04W52/04Transmission power control [TPC]
    • H04W52/18TPC being performed according to specific parameters
    • H04W52/28TPC being performed according to specific parameters using user profile, e.g. mobile speed, priority or network state, e.g. standby, idle or non-transmission
    • H04W52/282TPC being performed according to specific parameters using user profile, e.g. mobile speed, priority or network state, e.g. standby, idle or non-transmission taking into account the speed of the mobile

Landscapes

  • Engineering & Computer Science (AREA)
  • Computer Networks & Wireless Communication (AREA)
  • Signal Processing (AREA)
  • Mobile Radio Communication Systems (AREA)

Abstract

【課題】送信電力制御において送信電力の変動による無線特性への影響を小さくすることを課題とする。
【解決手段】自装置と無線接続される無線基地局装置から自装置の送信電力値の上昇または下降を指示する送信電力制御信号を受信する受信部と、前記送信電力制御信号を受信したとき、自装置の送信電力値が所定の閾値以上の場合、送信電力値の変更幅を所定の変更幅として送信電力値を変更し、自装置の送信電力値が所定の閾値未満の場合、送信電力値の変更幅を前記所定の変更幅よりも小さくして送信電力値を変更する制御部と、を備える無線移動局装置とした。
【選択図】図1

Description

本件は、送信電力制御を行う無線移動局装置および無線基地局装置に関する。
移動体通信システムにおける送信電力制御(Transmission Power Control:TPC)は、自セル及び他セルへの干渉の低減及び端末のバッテリ消費の抑制、つまり、通信品質の維持及び送信電力の抑制を両立させることを目的とする。送信電力制御の種類として、送信開始直後の初期送信電力を決定する開ループ(Open Loop)送信電力制御、通信中において伝播環境の変化に応じて電力を変化させる閉ループ(Closed Loop)送信電力制御、通信品質を監視し閉ループに用いる電力制御閾値を可変させるOuter Loop送信電力制御等が、挙げられる。
一般的にClosed Loop送信電力制御において、無線区間におけるFrame(フレーム)単位で電力が可変となる。電力の差分が生じるFrameとFrameとの境界の前後においては、過渡応答的な影響がある。そのため、Closed Loop送信電力制御では、Frameの先頭部分(あるいは終端部分)にデータ送信に関わりの無い区間(以下、緩衝区間と称する)を設ける方法が使用される。但し、多くのシステムにおいて、緩衝区間は、過渡応答的な影響だけではなく、Multi-Path model(Delay Path lengthや数)と特性・伝送効率への影響などの複合的な要因で決定される。
特開2003−324385号公報 特開2003−324382号公報
移動体通信における移動局装置(端末)は一般的にバッテリ駆動であるため、電力消費を抑えることが望ましい。また、通信品質を維持するために高送信電力に対応することが望ましい。そのため、送信電力のダイナミックレンジは、60−70dB以上設けられていることが多い。その中で移動局装置の送信電力が低い状態又は送信電力を送信していない状態から送信電力を上昇させる場合と、ある程度の送信電力を送信している状態から送信電力を上昇(あるいは変化)させる場合とでは、過渡応答の振る舞いが異なる。一般的には、送信電力が低い又は送信電力を送信していない状態から送信電力を上昇させる場合の方が、ある程度の送信電力を送信している状態から送信電力を上昇(あるいは変化)させる場合よりも、応答波形及びスペクトラムへの影響が大きい。
従来の送信電力制御では送信電力の違いによる応答の変化を考慮していないケースがあり、この場合は送信電力の高低により無線特性に影響が生じる。送信電力の違いによる応答の変化を考慮した場合、従来、無線Frameの緩衝区間は一定量となっているため、余裕を持たせる等の処理を行う。この場合は、データ効率という面で不利となる。このように送信電力の高低による無線応答の変化に応じた特性・伝送効率への影響を最小限に留めるための施策を行う。
本件は、送信電力制御において、送信電力の変動による無線特性への影響を小さくすることを課題とする。
上記課題を解決するために、開示の無線移動局装置および無線基地局装置が提供される。
即ち、第1の態様は、
自装置と無線接続される無線基地局装置から自装置の送信電力値の上昇または下降を指示する送信電力制御信号を受信する受信部と、
前記送信電力制御信号を受信したとき、自装置の送信電力値が所定の閾値以上の場合、送信電力値の変更幅を所定の変更幅として送信電力値を変更し、自装置の送信電力値が所定の閾値未満の場合、送信電力値の変更幅を前記所定の変更幅よりも小さくして送信電力値を変更する制御部と、
を備える無線移動局装置とした。
第1の態様によると、無線移動局装置の送信電力値に応じて、送信電力値を変更する際の変更幅を調整することができる。
第2の態様は、
自装置と無線接続される無線基地局装置から自装置の送信電力値の上昇または下降を指示する送信電力制御信号を受信する受信部と、
前記送信電力制御信号を受信したとき、自装置の送信電力値が所定の閾値未満の場合、上り通信における所定の長さのデータ非送信区間を前記無線基地局装置に要求する制御部と、を備え、
前記受信部は、前記要求に対する、上り通信におけるデータ非送信区間の長さの指示を含む応答を受信し、
前記制御部は、前記応答に従って上り通信におけるデータ非送信区間を設定する、
無線移動局装置とした。
第2の態様によると、無線移動局装置の送信電力値に応じて、上り通信におけるデータ非送信区間の長さを調整することができる。
第3の態様は、
自装置と無線接続される無線移動局装置から、上り通信における所定の長さのデータ非送信区間の要求を受信する受信部と、
前記無線移動局装置から要求された上り通信におけるデータ非送信区間を設定する制御部と、
前記要求に対する応答を前記無線移動局装置に送信する送信部と、
を備える無線基地局装置とした。
第3の態様によると、無線移動局装置からの要求に応じて上り通信におけるデータ非送信区間を設定することができる。
第4の態様は、
自装置と無線接続される無線移動局装置から、前記無線移動局装置の送信電力値を受信する受信部と、
前記送信電力値が所定の閾値未満の場合、上り通信におけるデータ非送信区間の長さを所定の長さに設定し、前記送信電力値が所定の閾値以上の場合、上り通信におけるデータ非送信区間の長さを前記所定の長さより短く設定する制御部と、
前記制御部が設定した上り通信におけるデータ非送信区間の長さをデータ非送信区間制御信号として前記無線移動局装置に送信する送信部と、
を備える無線基地局装置とした。
第4の態様によると、無線移動局装置から送信電力値を受信して、送信電力値に応じて、上り通信におけるデータ非送信区間の長さを設定することができる。
開示の態様によれば、送信電力制御において、送信電力の変動による無線特性への影響を小さくすることができる。
以下、図面を参照して実施形態について説明する。実施形態の構成は例示であり、開示の実施形態の構成に限定されない。
〔実施形態〕
(構成)
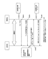
図1は、基地局および移動局の構成の例を示す図である。
基地局(eNB: evolved Node B)200は、受信電力測定部202、復号・CRC(Cyclic Redundancy Check)判定部204、Up/Down Bit生成部206、BLER(Block Error Rate)部212、目標電力閾値制御部214、制御部222を有する。また、移動局(UE: User Equipment)300は、送信電力制御部302、復号・CRC判定部304、制御部322を有する。これらの処理部のうち、任意の複数を1つの処理部としてもよい。また、これらの処理部のうち任意の1つが、複数の処理部としての処理を行ってもよい。これらの各処理部は、ハードウェアとしても、ソフトウェアとしても実現され得る。
基地局は、上位のネットワークに接続される。基地局と移動局とは、互いに無線通信する。
〈基地局〉
受信電力測定部202は、移動局300から送信されたパイロットチャネル(Pilot CH: Pilot Channel)の信号を受信する。受信電力測定部202は、受信したパイロットチャネルの受信電力を測定し、Up/Down Bit生成部206に通知する。
復号・CRC判定部204は、UL−SCH(Uplink Shared Channel)の信号、UL−L1L2CCH(Uplink L1 L2 Control Channel、制御チャネル)の信号を受信する。UL−L1L2CCHは、緩衝区間(Transition Duration)、アップリンク送信電力(UL-POW: Uplink Power)、DL−ACK/NACK(Downlink Acknowledge/Negative Acknowledge、確認応答/否定応答)等の情報を含む。復号・CRC判定部204は、移動局300から受信した信号を復号する。復号・CRC判定部204は、復号したデータのCRC(Cyclic Redundancy Check)をフレーム毎に検査し、フレーム内の通信データに誤りがあるか否かを判定する。復号・CRC判定部204は、緩衝区間(Transition Duration)の信号を復号の対象に含めないことができる。
Up/Down Bit生成部206は、移動局300からの受信電力値に関する目標電力閾値を、目標電力閾値制御部214から受信する。また、Up/Down Bit生成部206は、移動局300からのパイロットチャネルの受信電力値を、受信電力測定部202から受信する。Up/Down Bit生成部206は、該目標電力閾値と該受信電力値とを比較し、該受信電力値が該目標電力閾値に近づくように、TPC Bitとしての、Up(上げ、上昇) BitまたはDown(下げ、下降) Bitを、生成する。該TPC Bitは、移動局300に通知される。TPC Bitは、移動局300の送信電力値を制御する。移動局300がUp Bitを受信すると、移動局300は自身の送信電力値を上げる。また、移動局300がDown Bitを受信すると、移動局300は自身の送信電力値を下げる。Up/Down Bit生成部206は、受信電力値の代わりに受信SIR(Signal-to-Interference power Ratio)の情報等を判断材料として使用し
て、Up BitまたはDown Bitを生成してもよい。
BLER部212は、移動局300から受信信号のブロックエラーレート(BLER:
Block Error Rate)を測定し、目標電力閾値制御部214に通知する。
目標電力閾値制御部214は、BLER部212から通知されたBLERを基に、移動局300からの受信電力値等の目標電力閾値を設定する。例えば、BLERが高い場合は目標電力閾値を現在より高く設定し、BLERが低い場合は目標電力閾値を現在より低く設定する。
制御部222は、移動局300からの緩衝区間(Transition Duration)の情報およびアップリンク送信電力等の情報を受信する。制御部222は、緩衝区間の有無、緩衝区間の追加等を判定することが可能である。判定結果等の情報は、制御チャネルによって、移動局300に通知され得る。
〈移動局〉
送信電力制御部302は、基地局200に対するアップリンク送信電力を制御する。送信電力制御部302は、基地局200に、緩衝区間、アップリンク送信電力、UL−ACK/NACK(Uplink Acknowledge/Negative Acknowledge)の各情報を送信する。送信電力制御部302は、制御部322から通知された情報を基に、アップリンク送信電力、緩衝区間を制御する。送信電力制御部302は、アップリンク送信電力値(UL POW: Uplink Power)を制御部322に通知する。
復号・CRC判定部304は、DL−SCH(Downlink Shared Channel)の信号、DL−L1L2CCH(Downlink L1 L2 Control Channel、制御チャネル)の信号を受信する。DL−L1L2CCH(Download L1 L2 Control Channel)は、緩衝区間、アップリンク送信電力、UL−ACK/NACKの各情報を含む。
制御部322は、基地局200からのUp BitまたはDown Bitを含むTPC Bitを受信する。制御部322は、送信電力制御部302からアップリンク送信電力を受信する。制御部322は、自装置(移動局300)の速度情報を取得し得る。当該速度情報は、例えば、自装置のGPS(Global Positioning System)機能による位置情報の時間微分、自装置の加速度センサによる自装置の加速度の測定値の時間積分、受信電力(受信電波強度)の変化量などによって、取得され得る。また、当該速度情報は、基地局200から、取得されてもよい。制御部322は、得られた情報から、アップリンク送信電力の上げまたは下げ、アップリンク送信電力の上げ幅または下げ幅(変化幅)、緩衝区間の長さ、等を判定する。制御部322は、判定結果を送信電力制御部302に通知する。
移動局300は、位置情報を取得するGPS機能、自装置の移動加速度を測定する加速度センサを有し得る。移動局300の制御部322は、GPS機能による位置情報、加速度センサによる加速度情報等を、処理することができる。
(送信電力制御)
送信電力制御(Transmission Power Control:TPC)の中で、Closed Loop送信電力制御は、一般的にTPC更新周期毎に送信電力を上下させることが可能な方式である。
一般的なClosed Loop送信電力制御では、Up linkの場合、基地局200は移動局300からのUp Link送信データを受信する。
基地局200は、当該Up link送信データ内に含まれるPilot Channel(Pilot CH)等か
らSIR(Signal-to-Interference power Ratio)を測定する。基地局200は、Closed
Loop送信電力制御に用いる所定の閾値との比較を行う。当該所定の閾値は、目標電力閾値制御部214によって設定される。比較の結果、例えば、受信SIRが閾値以上である場合、基地局200はTPC Bitとして『Down』Bitを移動局300に通知する。また、例えば、受信SIRが閾値未満である場合、基地局200はTPC Bitとして『Up』Bitを移動局に通知する。また、基地局200は、受信SIRの代わりに、受信電力値等を目標電力閾値として使用することもできる。
Down Bit又はUp BitであるTPC Bitを受信した移動局300は、指示通りに送信電力のDown(下げ)又はUp(上げ)を行う。Closed Loop送信電力制御には、伝播環境の急激な変動に追従しながら受信SIRの品質を維持する目的がある。そのため、Closed Loop送信電力制御では、通常は、無線フレーム(サブフレーム)単位での送信電力変化が可能となっている。
(緩衝区間)
図2は、無線フレームと送信電力とTransition Duration(緩衝区間)との関係の例を示す図である。横軸は時間を示し、縦軸は、移動局の送信電力を示す。送信電力制御(TPC)は、無線フレーム(Sub-frame)単位で行われる。
図2に示すように、時刻Tまでは、移動局300の送信電力設定値と実際の送信電力値は、一致している。時刻Tで移動局300の送信電力設定値が上げられたとする。しかし、送信電力設定値が上げられた直後の実際の送信電力値は、過渡応答の影響により、すぐに追随できない。過渡応答の影響が発生すると、無線フレームの受信品質に影響を与える。そのため、無線フレーム(Sub-frame)の先頭に緩衝区間(Transition Duration)が設けられる。
緩衝区間には、送信側ではユーザデータを組み込まないようにし、受信側では復調に含めないように処理することができる。この緩衝区間にユーザデータを組み込むと、ユーザデータの品質が劣化する恐れがあるからである。緩衝区間は、Sub-frameの最後に設けられてもよい。緩衝区間は、電力の急激な変化に対応するために設けられる。送信電力値の絶対値が大きい場合は、移動局300のRF(Radio Frequency)ユニットは安定しやすい。RFユニットは、移動局300の無線による通信に関する構成部分である。
図3は、無線フレームと送信電力制御とTransition Duration(緩衝区間)との関係の別の例を示す図である。横軸は時間を示し、縦軸は、移動局の送信電力を示す。
図3の例では、図2の例に比べて、送信電力が低い。この場合において、時刻Tで送信電力が上げられたとき、送信電力が緩衝区間内でも追随できないことが起こり得る。このとき、緩衝区間直後のユーザデータが劣化する。そこで、移動局は、送信電力の変化量及び緩衝区間の長さを調整することにより、過渡応答の影響をユーザデータに与えないようにすることができる。緩衝区間を長くすると、有効な信号を送る領域が減るため伝送効率が低下する。一方、緩衝区間を短くしすぎると、過渡応答の影響により、通信品質が低下する。
(送信電力の変化量および緩衝区間の調整方法の例)
送信電力制御において無線特性への影響を小さくする方法として、送信電力の変化量(変更幅)の調整、緩衝区間の調整が挙げられる。
〈送信電力の変化量の調整例〉
図4は、移動局側にて送信電力に応じて送信電力の変化量を任意に変化させる場合のシ
ーケンスの例を示す図である。
ここでは、移動局300の送信電力の高低により、移動局300が自律して、送信電力の変化量を任意に変更・選択可能であるとする。通信中において、基地局200は、移動局300からのUp Link送信データの受信を行い、SIR(又は、CQI(Channel Quality Indication))測定を行う(SQ1002)。
基地局200は、Closed Loop送信電力制御にて、受信電力とClosed Loopの送信電力閾値とを比較し、Up Bit又はDown Bitを生成してDown Linkにて移動局300にTPC Bitを通知する(SQ1004)。
移動局300はTPC Bitを受信したあとに、自身(移動局)の送信電力値(絶対値)を確認する。図4の例では、送信電力値はαである。該送信電力値が一定の送信電力値以下である場合は小さい変化量β2(図4の例では、0.5dB)で自身の送信電力値を変化させ、該送信電力値が一定の送信電力値以上では大きな変化量β1(図4の例では、1.0dB)で自身の送信電力値を変化させる。移動局300は、変化させた送信電力値でUp
Linkの送信を行う(SQ1006)。送信電力値の閾値を2つ以上設定し、送信電力変化量を3つ以上設定することも可能である。
これによると、移動局300の送信電力値が低い場合に過渡応答の影響を軽減させることができる。
〈緩衝区間の調整例1〉
図5及び図6は、移動局側の送信電力に応じてTransition Duration長の追加の有無を基地局主導にて選択する例を示す図である。
図5は、この場合におけるアップリンクのチャネルマッピングの例を示す図である。図5の、横方向は時間を示し、縦方向はシステム帯域幅を示す。図5の例では、システム帯域は、第1移動局(UE1)に対するPUSCH(Physical Uplink Shared Channel)、第2移動局(UE2)に対するPUSCH、第3移動局(UE3)に対するPUSCH、PUCCH(Physical Uplink Control Channel)に割り当てられている。ここで、第1移動局および第2移動局の送信電力値は、低いとする。また、第3移動局の送信電力は、高く安定しているとする。第1移動局および第2移動局のPUSCHには、緩衝区間(Transition Duration)が配置されている。
図6は、移動局側の送信電力に応じてTransition Duration長の追加の有無を基地局主導にて選択する場合におけるシーケンスの例を示す図である。
ここでは、基地局200が、移動局300の送信電力の高低により、Transition Duration長の追加の有無を選択する。基地局200と移動局300とは通信中であり、移動局300からユーザデータが基地局200に送信されている(SQ2102)。移動局300は、移動局300の送信電力情報を基地局200に通知する(SQ2104)。当該送信電力情報は、移動局300の送信電力値を含む。
基地局200は、受信した移動局300の送信電力情報とパラメータとして所持している閾値との比較を行う。移動局300の送信電力値が閾値未満の場合、基地局200は、Transition Duration長を追加するフォーマットを選択し、移動局300にTPC Bitと共に通知する。移動局300の送信電力値が閾値以上の場合又は送信電力値が変化しない場合、基地局200は、通常の長さのTransition Durationのフォーマットを選択し、移動局300に通知する(SQ2106)。当該通知は、制御チャネルによってされ得る。
移動局300は、指定されたTransition Durationのフォーマットに基づいてUp Linkの送信フレームの生成および送信を行う(SQ2108)。
〈緩衝区間の調整例2〉
図7および図8は、移動局側の送信電力に応じてTransition Duration長の追加の有無を移動局主導にて選択する例を示す図である。
図7は、この場合におけるアップリンクのチャネルマッピングの例を示す図である。図7の、横方向は時間を示し、縦方向はシステム帯域幅を示す。図7の例では、システム帯域は、第1移動局(UE1)に対するPUSCH(Physical Uplink Shared Channel)、第2移動局(UE2)に対するPUSCH、第3移動局(UE3)に対するPUSCH、PUCCH(Physical Uplink Control Channel)に割り当てられている。ここで、第1移動局および第2移動局は、送信電力値が低いとする。また、第3移動局は、送信電力が高く安定しているとする。第1移動局および第2移動局のPUSCHには、緩衝区間(Transition Duration)が配置されている。
図8は、移動局側の送信電力に応じてTransition Duration長の追加の有無を移動局主導にて選択する場合におけるシーケンスの例を示す図である。
ここでは、移動局300が、移動局300自身の送信電力の情報を基に、基地局200に対してTransition Duration長の追加の有無を要求する。基地局200と移動局300とは通信中であり、移動局300からユーザデータが基地局200に送信されている(SQ2202)。
移動局300の送信電力値がパラメータとして所持する閾値未満の場合、移動局300は、Transition Duration長を追加するフォーマットの選択を基地局200に対して通知する。また、移動局300の送信電力値が閾値以上の場合又は送信電力値が変化しない場合、移動局300は、通常のTransition Durationフォーマットを選択し、基地局200に通知する(SQ2204)。通常のTransition Durationフォーマットは、Transition Duration(緩衝区間)を含まない場合もある。
基地局200は、受信電力と送信電力閾値とを比較し、Up Bit又はDown Bitを生成してDown Linkにて移動局300にTPC Bitを通知する。基地局200は、移動局300からのTransition Duration要求に対する応答(ACK)をTPC Bitと合わせて通知する(SQ2206)。当該通知は、制御チャネルによってされ得る。
移動局300は、指定されたフォーマットに基づいてUp Linkの送信フレームの生成・送信を行う(SQ2208)。
〈緩衝区間の調整例3〉
図9および図10は、移動局側の送信電力に応じてTransition Durationを基地局主導にて選択する例を示す図である。
図9は、この場合におけるアップリンクのチャネルマッピングの例を示す図である。図9の、横方向は時間を示し、縦方向はシステム帯域幅を示す。図9の例では、システム帯域は、第1移動局(UE1)に対するPUSCH(Physical Uplink Shared Channel)、第2移動局(UE2)に対するPUSCH、第3移動局(UE3)に対するPUSCH、PUCCH(Physical Uplink Control Channel)に割り当てられている。ここで、第1移動局の送信電力は、低いとする。第2移動局の送信電力値は、第1移動局より高く中程
度であるとする。また、第3移動局の送信電力値は、第2移動局より高く安定しているとする。第1移動局および第2移動局のPUSCHには、緩衝区間(Transition Duration)が配置されている。
図10は、移動局側の送信電力に応じてTransition Durationを基地局主導にて選択する場合におけるシーケンスの例を示す図である。
ここでは、基地局200が、移動局300の送信電力の高低により、Transition Duration長を選択する。基地局200と移動局300とは通信中であり、移動局300からユーザデータが基地局200に送信されている(SQ2302)。移動局300は、移動局300の送信電力情報を基地局200に通知する(SQ2304)。当該送信電力情報は、移動局300の送信電力値を含む。
基地局200は、受信した移動局300の送信電力情報とパラメータとして所持している閾値との比較を行う。移動局300の送信電力値が閾値未満の場合(図9の第1移動局の場合)、基地局200は、例えばTransition Duration長が3Slotとなるフォーマットを選択し、移動局にTPC Bitと共に通知する。移動局の送信電力が閾値以上の場合又は送信電力が変化しない場合(図9の第2移動局の場合)、基地局200は、例えばTransition Duration長が1Slotとなるフォーマットを選択し、移動局300に通知する(SQ2306)。
移動局300は、指定されたフォーマットに基づいてUp Linkの送信フレームの生成・送信を行う(SQ2308)。
ここでは、Transition Duration長が2種類(3slotまたは1slot)の例を記載したが、送信電力値と比較する閾値を複数設けることによりTransition Duration長をきめ細かく可変させることも可能である。
〈緩衝区間の調整例4〉
図11および図12は、移動局側の送信電力に応じてTransition Durationを移動局主導にて選択する例を示す図である。
図11は、この場合におけるアップリンクのチャネルマッピングの例を示す図である。図11の、横方向は時間を示し、縦方向はシステム帯域幅を示す。図11の例では、システム帯域は、第1移動局(UE1)に対するPUSCH(Physical Uplink Shared Channel)、第2移動局(UE2)に対するPUSCH、第3移動局(UE3)に対するPUSCH、PUCCH(Physical Uplink Control Channel)に割り当てられている。ここで、第1移動局の送信電力は、低いとする。第2移動局の送信電力値は、第1移動局より高く中程度であるとする。また、第3移動局の送信電力値は、第2移動局より高く安定しているとする。第1移動局および第2移動局のPUSCHには、緩衝区間(Transition Duration)が配置されている。
図12は、移動局側の送信電力に応じてTransition Durationを移動局主導にて選択する場合のシーケンスの例を示す図である。
ここでは、移動局300が、移動局自身の送信電力の情報を基に、基地局200に対してTransition Duration長を要求する。基地局200と移動局300とは通信中であり、移動局300からユーザデータが基地局200に送信されている(SQ2402)。
移動局300の送信電力値がパラメータとして所持する閾値未満の場合(図11の第1
移動局の場合)、例えばTransition Duration長が3slotとなるフォーマットを選択し、基地局200に対して通知する。移動局300の送信電力が閾値以上の場合及び送信電力が変化しない場合(図11の第2移動局の場合)、例えばTransition Duration長が1slotとなるフォーマットを選択し、基地局200に対して通知する(SQ2406)。
基地局200は、移動局300からのTransition Duration要求に対する応答(ACK)をTPC Bitと合わせて通知する(SQ2406)。
移動局300は、指定されたフォーマットに基づいてUp Linkの送信フレームの生成・送信を行う(SQ2408)。
ここでは、Transition Duration長が2種類(3slotまたは1slot)の例を記載したが、送信電力値と比較する閾値を複数設けることによりTransition Duration長をきめ細かく可変させることも可能である。
(送信電力の変化量および緩衝区間の調整方法の選択方法の例)
以下に、上記の送信電力の変化量および緩衝区間の調整方法の選択方法の例を示す。
〈UL−NACK監視による選択フロー例〉
図13は、移動局のUL−NACK監視による選択フローの例を示す図である。
移動局300は、自装置の送信電力値とあらかじめ設定された閾値とを比較する(S102)。移動局300は、自装置の送信電力値が所定の閾値未満である場合(S102;低い)、基地局200から送信されたTPCビット(TPC Bit)を確認する(S104)。移動局300は、TPCビットがUp(上げ)である場合(S104;Up)、UL−NACKを、あらかじめ設定された所定回数、連続して受信しているか否かを確認する(SQ108)。
UL−NACK(Uplink Negative Acknowledge)は、移動局300から基地局200への信号が、基地局200で正常に受信されなかったことを示す応答である。移動局300でUL−NACKが連続して受信される場合、送信電力の変化量は大きいまま緩衝区間を調整することが望ましい。送信電力の変化量を小さくすると、基地局200で信号がより受信されにくくなることがあるからである。
移動局300は、UL−NACKをあらかじめ設定された所定回数連続して受信している場合(S108;YES)、緩衝区間の調整を行う(S112)。緩衝区間の調整は、上記の緩衝区間の調整例1乃至4のいずれかによって行うことができる。
移動局300は、UL−NACKをあらかじめ設定された所定回数連続して受信していない場合(S108;NO)、送信電力の変化量の調整を行う(S114)。送信電力の変化量の調整は、上記の送信電力の変化量の調整例によって行うことができる。
ステップS102およびステップS104は、それぞれ省略することができる。
〈移動局の移動速度の監視による選択フロー例〉
図14は、移動局の移動速度の監視による選択フローの例を示す図である。
移動局300は、自装置の送信電力値とあらかじめ設定された閾値とを比較する(S202)。移動局300は、自装置の送信電力値が所定の閾値未満である場合(S202;低い)、基地局200から送信されたTPCビット(TPC Bit)を確認する(S204)
。移動局300は、TPCビットがUp(上げ、上昇)である場合(S204;Up)、自装置の移動速度を確認する(S206)。
移動局300の移動速度は、例えば、自装置のGPS(Global Positioning System)機能による位置情報の時間微分、自装置の加速度センサによる自装置の加速度の測定値の時間積分、受信電力(受信電波強度)の変化量などによって、取得され得る。また、当該移動速度は、基地局200から、取得されてもよい。
移動局300は、自装置の移動速度があらかじめ設定された閾値以上の場合(S206;YES)、緩衝区間の調整を行う(S212)。緩衝区間の調整は、上記の緩衝区間の調整例1乃至4のいずれかによって行うことができる。
移動局の移動速度が高速の場合、伝搬路の変動が大きいので、送信電力の変化量は大きいまま緩衝区間を調整することが望ましい。送信電力の変化量を小さくすると、基地局200で信号がより受信されにくくなることがあるからである。
移動局300は、装置の移動速度があらかじめ設定された閾値未満の場合(S208;NO)、送信電力の変化量の調整を行う(S214)。送信電力の変化量の調整は、上記の送信電力の変化量の調整例によって行うことができる。
ステップS202およびステップS204は、それぞれ省略することができる。
〈UL−NACK監視及び移動局の移動速度の監視による選択フロー例〉
図15は、UL−NACK監視及び移動局の移動速度の監視による選択フローの例を示す図である。
移動局300は、自装置の送信電力値とあらかじめ設定された閾値とを比較する(S302)。移動局300は、自装置の送信電力値が所定の閾値未満である場合(S302;低い)、基地局200から送信されたTPCビット(TPC Bit)を確認する(S304)。移動局300は、TPCビットがUp(上げ)である場合(S304;Up)、自装置の移動速度を確認する(S306)。
移動局300は、自装置の移動速度があらかじめ設定された閾値以上の場合(S306;YES)、緩衝区間の調整を行う(S312)。緩衝区間の調整は、上記の緩衝区間の調整例1乃至4のいずれかによって行うことができる。
移動局300は、装置の移動速度があらかじめ設定された閾値未満の場合(S308;NO)、送信電力の変化量の調整を行う(S314)。送信電力の変化量の調整は、上記の送信電力の変化量の調整例によって行うことができる。さらに、移動局300は、UL−NACKを、あらかじめ設定された所定回数、連続して受信しているか否かを確認する(SQ308)。移動局300は、UL−NACKをあらかじめ設定された所定回数連続して受信している場合(S308;YES)、緩衝区間の調整を行う(S312)。緩衝区間の調整は、上記の緩衝区間の調整例1乃至4のいずれかによって行うことができる。
移動局300の移動速度の判定を先にする理由は、移動局の移動速度は伝播の状態を推定する情報として最も判断しやすい情報だからである。本例では、移動速度が一定の速度以下において、伝播の変動が大きくなることがあるため、この場合を救済できるようにする目的で、移動局の移動速度の判定とUL−NACKの連続受信の判定を組み合わせている。また、高速移動時においては、伝播の変動が緩やかになることはない。また、移動速度が高速であるとき、Transition Durationが連続してNACKとなる可能性は低いため
、移動速度の判定を先に行っている。
ステップS302およびステップS304は、それぞれ省略することができる。
(本実施形態の作用、効果)
本実施形態によると、移動局の送信電力値の高低により送信電力制御における電力遷移量を可変させることで、送信電力値の大小による過渡応答への変化の追従および伝送効率の向上が可能となる。
本実施形態によると、送信電力値の大小により緩衝区間(Transition Duration)長を可変させることで、過渡応答への変化の追従および伝送効率の向上が可能となる。
本実施形態によれば、過渡応答に対する無線周波数(RF:Radio Frequency)ユニットへの要求仕様が緩和されることにより、RFユニットに関するコンポネント類のコストダウンが可能となる。
〔付記〕
以上の実施形態に関し、更に以下の付記を開示する。
(付記1)
自装置と無線接続される無線基地局装置から自装置の送信電力値の上昇または下降を指示する送信電力制御信号を受信する受信部と、
前記送信電力制御信号を受信したとき、自装置の送信電力値が所定の閾値以上の場合、送信電力値の変更幅を所定の変更幅として送信電力値を変更し、自装置の送信電力値が所定の閾値未満の場合、送信電力値の変更幅を前記所定の変更幅よりも小さくして送信電力値を変更する制御部と、
を備える無線移動局装置。
(付記2)
自装置と無線接続される無線基地局装置から自装置の送信電力値の上昇または下降を指示する送信電力制御信号を受信する受信部と、
前記送信電力制御信号を受信したとき、自装置の送信電力値が所定の閾値未満の場合、上り通信における所定の長さのデータ非送信区間を前記無線基地局装置に要求する制御部と、を備え、
前記受信部は、前記要求に対する、上り通信におけるデータ非送信区間の長さの指示を含む応答を受信し、
前記制御部は、前記応答に従って上り通信におけるデータ非送信区間を設定する、
無線移動局装置。
(付記3)
前記制御部は、前記信号を受信したとき、自装置の送信電力値が所定の閾値以上の場合、前記所定の長さよりも短い長さの上り通信におけるデータ非送信区間を前記無線基地局に要求する、
付記2に記載の無線移動局装置。
(付記4)
自装置と無線接続される無線基地局装置に自装置の送信電力値を送信する送信部と、
前記無線基地局装置から、自装置の送信電力値の上昇または下降を指示する送信電力制御信号および上り通信におけるデータ非送信区間の長さを指示するデータ非送信区間制御信号を受信する受信部と、
前記送信電力制御信号に従って自装置の送信電力値を上昇または下降させ、前記データ非送信区間制御信号に従ってデータ非送信区間を設定する制御部と、
を備える無線移動局装置。
(付記5)
自装置と無線接続される無線基地局装置から自装置の送信電力値の上昇または下降を指示する送信電力制御信号を受信し、自装置と前記無線基地局装置との間の上り通信についての確認応答及び否定応答を受信する受信部と、
前記受信部が前記送信電力制御信号を受信し前記否定応答を所定回数連続して受信したとき、自装置の送信電力値が所定の閾値未満の場合、上り通信における所定の長さのデータ非送信区間を前記無線基地局装置に要求する制御部と、を備え、
前記受信部は、前記要求に対する、上り通信におけるデータ非送信区間の長さの指示を含む応答を受信し、
前記制御部は、前記応答に従って上り通信におけるデータ非送信区間を設定する、
無線移動局装置。
(付記6)
前記制御部は、前記受信部が前記送信電力制御信号を受信し前記否定応答を所定回数連続して受信したとき、自装置の送信電力値が所定の閾値以上の場合、前記所定の長さよりも短い長さの上り通信におけるデータ非送信区間を前記無線基地局に要求する、
付記5に記載の無線移動局装置。
(付記7)
前記制御部は、前記受信部が前記送信電力制御信号を受信し前記否定応答を所定回数連続して受信していないとき、自装置の送信電力値が所定の閾値以上の場合、送信電力値の変更幅を所定の変更幅として送信電力値を変更し、自装置の送信電力値が所定の閾値未満の場合、送信電力値の変更幅を前記所定の変更幅よりも小さくして送信電力値を変更する、
付記5または6に記載の無線移動局装置。
(付記8)
自装置と無線接続される無線基地局装置から自装置の送信電力値の上昇または下降を指示する送信電力制御信号を受信する受信部と、
前記受信部が前記送信電力制御信号を受信し自装置の移動速度が所定の速度以上のとき、自装置の送信電力値が所定の閾値未満の場合、上り通信における所定の長さのデータ非送信区間を前記無線基地局装置に要求する制御部と、を備え、
前記受信部は、前記要求に対する、上り通信におけるデータ非送信区間の長さの指示を含む応答を受信し、
前記制御部は、前記応答に従って上り通信におけるデータ非送信区間を設定する、
無線移動局装置。
(付記9)
前記制御部は、前記受信部が前記送信電力制御信号を受信し自装置の移動速度が所定の速度以上のとき、自装置の送信電力値が所定の閾値以上の場合、前記所定の長さよりも短い長さの上り通信におけるデータ非送信区間を前記無線基地局に要求する、
付記8に記載の無線移動局装置。
(付記10)
前記制御部は、前記受信部が前記送信電力制御信号を受信し自装置の移動速度が所定の速度未満のとき、自装置の送信電力値が所定の閾値以上の場合、送信電力値の変更幅を所定の変更幅として送信電力値を変更し、自装置の送信電力値が所定の閾値未満の場合、送信電力値の変更幅を前記所定の変更幅よりも小さくして送信電力値を変更する、
付記8または9に記載の無線移動局装置。
(付記11)
前記受信部は、自装置と前記無線基地局装置との間の上り通信についての確認応答及び否定応答を受信し、
前記制御部は、前記受信部が前記送信電力制御信号を受信し自装置の移動速度が所定の速度未満であり前記否定応答を所定回数連続して受信したとき、自装置の送信電力値が所定の閾値以上の場合、前記所定の長さよりも短い長さの上り通信におけるデータ非送信区
間を前記無線基地局に要求する、
付記10に記載の無線移動局装置。
(付記12)
自装置と無線接続される無線移動局装置から、上り通信における所定の長さのデータ非送信区間の要求を受信する受信部と、
前記無線移動局装置から要求された上り通信におけるデータ非送信区間を設定する制御部と、
前記要求に対する応答を前記無線移動局装置に送信する送信部と、
を備える無線基地局装置。
(付記13)
自装置と無線接続される無線移動局装置から、前記無線移動局装置の送信電力値を受信する受信部と、
前記送信電力値が所定の閾値未満の場合、上り通信におけるデータ非送信区間の長さを所定の長さに設定し、前記送信電力値が所定の閾値以上の場合、上り通信におけるデータ非送信区間の長さを前記所定の長さより短く設定する制御部と、
前記制御部が設定した上り通信におけるデータ非送信区間の長さをデータ非送信区間制御信号として前記無線移動局装置に送信する送信部と、
を備える無線基地局装置。
基地局および移動局の構成の例を示す図である。 無線フレームと送信電力とTransition Duration(緩衝区間)との関係の例を示す図である。 無線フレームと送信電力とTransition Duration(緩衝区間)との関係の別の例を示す図である。 移動局側にて送信電力に応じて送信電力の変化量を任意に変化させる場合のシーケンスの例を示す図である。 移動局側の送信電力に応じてTransition Duration長の追加の有無を基地局主導にて選択する場合のチャネルマッピングの例を示す図である。 移動局側の送信電力に応じてTransition Duration長の追加の有無を基地局主導にて選択する場合のシーケンスの例を示す図である。 移動局側の送信電力に応じてTransition Duration長の追加の有無を移動局主導にて選択する場合のチャネルマッピングの例を示す図である。 移動局側の送信電力に応じてTransition Duration長の追加の有無を移動局主導にて選択する場合のシーケンスの例を示す図である。 移動局側の送信電力に応じてTransition Durationを基地局主導にて選択する場合のチャネルマッピングの例を示す図である。 移動局側の送信電力に応じてTransition Durationを基地局主導にて選択する場合のシーケンスの例を示す図である。 移動局側の送信電力に応じてTransition Durationを移動局主導にて選択する場合のチャネルマッピングの例を示す図である。 移動局側の送信電力に応じてTransition Durationを移動局主導にて選択する場合のシーケンスの例を示す図である。 移動局のUL−NACK監視による選択フローの例を示す図である。 移動局の移動速度の監視による選択フローの例を示す図である。 UL−NACK監視及び移動局の移動速度の監視による選択フローの例を示す図である。
符号の説明
200 基地局(eNB)
202 受信電力測定部
204 復号・CRC判定部
206 Up/Down Bit生成部
212 BLER部
214 目標電力閾値制御部
222 制御部
300 移動局(UE)
302 送信電力制御部
304 復号・CRC判定部
322 制御部

Claims (10)

  1. 自装置と無線接続される無線基地局装置から自装置の送信電力値の上昇または下降を指示する送信電力制御信号を受信する受信部と、
    前記送信電力制御信号を受信したとき、自装置の送信電力値が所定の閾値以上の場合、送信電力値の変更幅を所定の変更幅として送信電力値を変更し、自装置の送信電力値が所定の閾値未満の場合、送信電力値の変更幅を前記所定の変更幅よりも小さくして送信電力値を変更する制御部と、
    を備える無線移動局装置。
  2. 自装置と無線接続される無線基地局装置から自装置の送信電力値の上昇または下降を指示する送信電力制御信号を受信する受信部と、
    前記送信電力制御信号を受信したとき、自装置の送信電力値が所定の閾値未満の場合、上り通信における所定の長さのデータ非送信区間を前記無線基地局装置に要求する制御部と、を備え、
    前記受信部は、前記要求に対する、上り通信におけるデータ非送信区間の長さの指示を含む応答を受信し、
    前記制御部は、前記応答に従って上り通信におけるデータ非送信区間を設定する、
    無線移動局装置。
  3. 自装置と無線接続される無線基地局装置に自装置の送信電力値を送信する送信部と、
    前記無線基地局装置から、自装置の送信電力値の上昇または下降を指示する送信電力制御信号および上り通信におけるデータ非送信区間の長さを指示するデータ非送信区間制御信号を受信する受信部と、
    前記送信電力制御信号に従って自装置の送信電力値を上昇または下降させ、前記データ非送信区間制御信号に従ってデータ非送信区間を設定する制御部と、
    を備える無線移動局装置。
  4. 自装置と無線接続される無線基地局装置から自装置の送信電力値の上昇または下降を指示する送信電力制御信号を受信し、自装置と前記無線基地局装置との間の上り通信についての確認応答及び否定応答を受信する受信部と、
    前記受信部が前記送信電力制御信号を受信し前記否定応答を所定回数連続して受信したとき、自装置の送信電力値が所定の閾値未満の場合、上り通信における所定の長さのデータ非送信区間を前記無線基地局装置に要求する制御部と、を備え、
    前記受信部は、前記要求に対する、上り通信におけるデータ非送信区間の長さの指示を含む応答を受信し、
    前記制御部は、前記応答に従って上り通信におけるデータ非送信区間を設定する、
    無線移動局装置。
  5. 前記制御部は、前記受信部が前記送信電力制御信号を受信し前記否定応答を所定回数連続して受信していないとき、自装置の送信電力値が所定の閾値以上の場合、送信電力値の変更幅を所定の変更幅として送信電力値を変更し、自装置の送信電力値が所定の閾値未満の場合、送信電力値の変更幅を前記所定の変更幅よりも小さくして送信電力値を変更する、
    請求項4に記載の無線移動局装置。
  6. 自装置と無線接続される無線基地局装置から自装置の送信電力値の上昇または下降を指示する送信電力制御信号を受信する受信部と、
    前記受信部が前記送信電力制御信号を受信し自装置の移動速度が所定の速度以上のとき、自装置の送信電力値が所定の閾値未満の場合、上り通信における所定の長さのデータ非
    送信区間を前記無線基地局装置に要求する制御部と、を備え、
    前記受信部は、前記要求に対する、上り通信におけるデータ非送信区間の長さの指示を含む応答を受信し、
    前記制御部は、前記応答に従って上り通信におけるデータ非送信区間を設定する、
    無線移動局装置。
  7. 前記制御部は、前記受信部が前記送信電力制御信号を受信し自装置の移動速度が所定の速度未満のとき、自装置の送信電力値が所定の閾値以上の場合、送信電力値の変更幅を所定の変更幅として送信電力値を変更し、自装置の送信電力値が所定の閾値未満の場合、送信電力値の変更幅を前記所定の変更幅よりも小さくして送信電力値を変更する、
    請求項6に記載の無線移動局装置。
  8. 前記受信部は、自装置と前記無線基地局装置との間の上り通信についての確認応答及び否定応答を受信し、
    前記制御部は、前記受信部が前記送信電力制御信号を受信し自装置の移動速度が所定の速度未満であり前記否定応答を所定回数連続して受信したとき、自装置の送信電力値が所定の閾値以上の場合、前記所定の長さよりも短い長さの上り通信におけるデータ非送信区間を前記無線基地局に要求する、
    請求項7に記載の無線移動局装置。
  9. 自装置と無線接続される無線移動局装置から、上り通信における所定の長さのデータ非送信区間の要求を受信する受信部と、
    前記無線移動局装置から要求された上り通信におけるデータ非送信区間を設定する制御部と、
    前記要求に対する応答を前記無線移動局装置に送信する送信部と、
    を備える無線基地局装置。
  10. 自装置と無線接続される無線移動局装置から、前記無線移動局装置の送信電力値を受信する受信部と、
    前記送信電力値が所定の閾値未満の場合、上り通信におけるデータ非送信区間の長さを所定の長さに設定し、前記送信電力値が所定の閾値以上の場合、上り通信におけるデータ非送信区間の長さを前記所定の長さより短く設定する制御部と、
    前記制御部が設定した上り通信におけるデータ非送信区間の長さをデータ非送信区間制御信号として前記無線移動局装置に送信する送信部と、
    を備える無線基地局装置。
JP2008196376A 2008-07-30 2008-07-30 無線移動局装置および無線基地局装置 Expired - Fee Related JP5109856B2 (ja)

Priority Applications (3)

Application Number Priority Date Filing Date Title
JP2008196376A JP5109856B2 (ja) 2008-07-30 2008-07-30 無線移動局装置および無線基地局装置
US12/504,816 US8914056B2 (en) 2008-07-30 2009-07-17 Mobile station device and base station device for radio communication
EP09166258.5A EP2150083B1 (en) 2008-07-30 2009-07-23 Mobile station device and base station device for transmission power control

Applications Claiming Priority (1)

Application Number Priority Date Filing Date Title
JP2008196376A JP5109856B2 (ja) 2008-07-30 2008-07-30 無線移動局装置および無線基地局装置

Publications (2)

Publication Number Publication Date
JP2010034968A true JP2010034968A (ja) 2010-02-12
JP5109856B2 JP5109856B2 (ja) 2012-12-26

Family

ID=41268182

Family Applications (1)

Application Number Title Priority Date Filing Date
JP2008196376A Expired - Fee Related JP5109856B2 (ja) 2008-07-30 2008-07-30 無線移動局装置および無線基地局装置

Country Status (3)

Country Link
US (1) US8914056B2 (ja)
EP (1) EP2150083B1 (ja)
JP (1) JP5109856B2 (ja)

Cited By (1)

* Cited by examiner, † Cited by third party
Publication number Priority date Publication date Assignee Title
WO2013054536A1 (ja) * 2011-10-13 2013-04-18 パナソニックモバイルコミュニケーションズ株式会社 無線送信装置及び無線送信方法

Families Citing this family (4)

* Cited by examiner, † Cited by third party
Publication number Priority date Publication date Assignee Title
JP5239677B2 (ja) * 2008-09-18 2013-07-17 富士通株式会社 通信装置、基地局装置及び通信方法
US9119178B2 (en) * 2013-02-08 2015-08-25 Telefonaktiebolaget L M Ericsson (Publ) Efficient transmission parameter selection
CN104619001B (zh) * 2014-12-29 2018-11-02 京信通信系统(中国)有限公司 基站上行功率控制方法和系统
CN111954286B (zh) 2020-08-06 2022-04-22 捷开通讯(深圳)有限公司 一种功率调节方法、装置、存储介质及终端

Citations (2)

* Cited by examiner, † Cited by third party
Publication number Priority date Publication date Assignee Title
JP2003534706A (ja) * 2000-05-20 2003-11-18 ローベルト ボツシユ ゲゼルシヤフト ミツト ベシユレンクテル ハフツング 送信局の送信電力制御方法および送信局
WO2006117663A2 (en) * 2005-05-04 2006-11-09 Nokia Corporation Variable power control step sizes for high speed uplink packet access (hsupa)

Family Cites Families (17)

* Cited by examiner, † Cited by third party
Publication number Priority date Publication date Assignee Title
GB0107746D0 (en) * 2001-03-28 2001-05-16 Nokia Networks Oy Transmissions in a communication system
JP2980156B2 (ja) 1994-05-12 1999-11-22 エヌ・ティ・ティ移動通信網株式会社 送信電力制御方法および該制御方法を用いたスペクトル拡散通信装置
JP3657726B2 (ja) 1997-02-26 2005-06-08 株式会社日立国際電気 段階型送信電力制御回路
DE69933654T2 (de) 1999-01-16 2007-08-23 Koninklijke Philips Electronics N.V. Funkkommunikationssystem
ES2212840T3 (es) 1999-04-12 2004-08-01 Alcatel Un metodo para mejorar las prestaciones de un sistema de radiocomunicacion movil que usa un algoritmo de control de potencia.
JP4387001B2 (ja) 1999-08-27 2009-12-16 三菱電機株式会社 移動局および通信方法
JP3758967B2 (ja) 2000-11-10 2006-03-22 富士通テン株式会社 無線送信機における送信電力制御回路
KR100911138B1 (ko) 2002-04-25 2009-08-06 삼성전자주식회사 전력이 조절되는 적응 변조 및 코딩 방식의 이동통신시스템 및 그 방법
US7177658B2 (en) * 2002-05-06 2007-02-13 Qualcomm, Incorporated Multi-media broadcast and multicast service (MBMS) in a wireless communications system
JP4009133B2 (ja) 2002-05-07 2007-11-14 松下電器産業株式会社 無線通信装置および無線通信方法
US7808944B2 (en) * 2003-11-21 2010-10-05 Interdigital Technology Corporation Wireless communication method and apparatus for controlling the transmission power of downlink and uplink coded composite transport channels based on discontinuous transmission state values
US7363010B2 (en) * 2004-04-15 2008-04-22 Qualcomm Incorporated Power control for intermittently active data channels in a wireless communication system
WO2007029067A2 (en) * 2005-08-05 2007-03-15 Nokia Corporation Preamble length for discontinuous control channel transmission
US8416745B2 (en) * 2005-08-22 2013-04-09 Qualcomm Incorporated Open-loop power adjustment for CQI repointing based on RL quality indicators
JP2007097055A (ja) 2005-09-30 2007-04-12 Matsushita Electric Ind Co Ltd 送受信装置
FI20065614A7 (fi) * 2006-09-29 2008-03-30 Nokia Corp Lähetysaikavälin allokointi pakettiradiopalvelua varten
JP4876953B2 (ja) 2007-02-13 2012-02-15 トヨタ自動車株式会社 車両およびその制御方法

Patent Citations (3)

* Cited by examiner, † Cited by third party
Publication number Priority date Publication date Assignee Title
JP2003534706A (ja) * 2000-05-20 2003-11-18 ローベルト ボツシユ ゲゼルシヤフト ミツト ベシユレンクテル ハフツング 送信局の送信電力制御方法および送信局
WO2006117663A2 (en) * 2005-05-04 2006-11-09 Nokia Corporation Variable power control step sizes for high speed uplink packet access (hsupa)
JP2008541535A (ja) * 2005-05-04 2008-11-20 ノキア コーポレイション 高速アップリンク・パケット・アクセス(hsupa)における可変電力制御ステップサイズ

Cited By (1)

* Cited by examiner, † Cited by third party
Publication number Priority date Publication date Assignee Title
WO2013054536A1 (ja) * 2011-10-13 2013-04-18 パナソニックモバイルコミュニケーションズ株式会社 無線送信装置及び無線送信方法

Also Published As

Publication number Publication date
EP2150083A2 (en) 2010-02-03
EP2150083B1 (en) 2018-01-03
US20100029321A1 (en) 2010-02-04
EP2150083A3 (en) 2013-08-21
JP5109856B2 (ja) 2012-12-26
US8914056B2 (en) 2014-12-16

Similar Documents

Publication Publication Date Title
US10548094B2 (en) Combined open loop/closed loop (CQI-based) uplink transmit power control with interference mitigation for E-UTRA
JP5014820B2 (ja) 移動通信システム、ユーザ装置及び通信方法
JP5864626B2 (ja) 移動局のアップリンク電力を制御するためのオープンループ/クローズドループを組み合わせた方法
US7787430B2 (en) Power control for gated uplink control channel
EP2220779B1 (en) Method and arrangement for separate channel power control
US20130095869A1 (en) Uplink Switched Antenna Transmit Diversity Method and Apparatus
JP5109856B2 (ja) 無線移動局装置および無線基地局装置
JP4709229B2 (ja) F−dpch用のアウターループ送信電力制御方法
KR20060026899A (ko) 이동국, 무선 통신 시스템 및 무선 통신 시스템의 동작방법
US20150358921A1 (en) Fast Fading Power Restriction
US9030954B2 (en) Reducing load in a communications network
CN107690157A (zh) 一种上报功率余量的方法及装置
CN102340858B (zh) 一种pusch功率控制中目标sinr设置方法及装置
WO2009091304A1 (en) System and method for resuming power control after interruption
CN107197511B (zh) 一种功率调整方法和系统
WO2014178774A1 (en) Adapting uplink transmissions in a wireless telecommunications network
CN109819455A (zh) 一种上行选阶方法、用户终端和基站
CN109391351B (zh) 一种物理上行控制信道pucch的功率控制方法和基站
CN104581913A (zh) 控制上行发送功率的方法及装置
CN103404207B (zh) 确定外环功控目标信干比的方法
CN105519201B (zh) 异构网络的不平衡区域的软切换区的信号发送方法及装置

Legal Events

Date Code Title Description
A621 Written request for application examination

Free format text: JAPANESE INTERMEDIATE CODE: A621

Effective date: 20110418

A977 Report on retrieval

Free format text: JAPANESE INTERMEDIATE CODE: A971007

Effective date: 20120611

A131 Notification of reasons for refusal

Free format text: JAPANESE INTERMEDIATE CODE: A131

Effective date: 20120619

A521 Request for written amendment filed

Free format text: JAPANESE INTERMEDIATE CODE: A523

Effective date: 20120820

TRDD Decision of grant or rejection written
A01 Written decision to grant a patent or to grant a registration (utility model)

Free format text: JAPANESE INTERMEDIATE CODE: A01

Effective date: 20120911

A01 Written decision to grant a patent or to grant a registration (utility model)

Free format text: JAPANESE INTERMEDIATE CODE: A01

A61 First payment of annual fees (during grant procedure)

Free format text: JAPANESE INTERMEDIATE CODE: A61

Effective date: 20120924

FPAY Renewal fee payment (event date is renewal date of database)

Free format text: PAYMENT UNTIL: 20151019

Year of fee payment: 3

R150 Certificate of patent or registration of utility model

Ref document number: 5109856

Country of ref document: JP

Free format text: JAPANESE INTERMEDIATE CODE: R150

Free format text: JAPANESE INTERMEDIATE CODE: R150

LAPS Cancellation because of no payment of annual fees