JP2010034875A - 画像品質管理システム、方法及びプログラム - Google Patents

画像品質管理システム、方法及びプログラム Download PDF

Info

Publication number
JP2010034875A
JP2010034875A JP2008195248A JP2008195248A JP2010034875A JP 2010034875 A JP2010034875 A JP 2010034875A JP 2008195248 A JP2008195248 A JP 2008195248A JP 2008195248 A JP2008195248 A JP 2008195248A JP 2010034875 A JP2010034875 A JP 2010034875A
Authority
JP
Japan
Prior art keywords
image
image quality
packet
frame
management system
Prior art date
Legal status (The legal status is an assumption and is not a legal conclusion. Google has not performed a legal analysis and makes no representation as to the accuracy of the status listed.)
Granted
Application number
JP2008195248A
Other languages
English (en)
Other versions
JP4935776B2 (ja
Inventor
Takahisa Kabe
隆久 加部
Current Assignee (The listed assignees may be inaccurate. Google has not performed a legal analysis and makes no representation or warranty as to the accuracy of the list.)
Oki Electric Industry Co Ltd
Original Assignee
Oki Electric Industry Co Ltd
Priority date (The priority date is an assumption and is not a legal conclusion. Google has not performed a legal analysis and makes no representation as to the accuracy of the date listed.)
Filing date
Publication date
Application filed by Oki Electric Industry Co Ltd filed Critical Oki Electric Industry Co Ltd
Priority to JP2008195248A priority Critical patent/JP4935776B2/ja
Publication of JP2010034875A publication Critical patent/JP2010034875A/ja
Application granted granted Critical
Publication of JP4935776B2 publication Critical patent/JP4935776B2/ja
Active legal-status Critical Current
Anticipated expiration legal-status Critical

Links

Images

Landscapes

  • Testing, Inspecting, Measuring Of Stereoscopic Televisions And Televisions (AREA)
  • Time-Division Multiplex Systems (AREA)

Abstract

【課題】実際のフレーム自体の劣化状況に応じた映像品質を求めることができる画像品質管理システム、方法及びプログラムを提供する。
【解決手段】本発明の画像品質管理システムは、クライアント端末に配信される画像品質を管理する画像品質管理システムにおいて、クライアント端末に配信される画像データを有するパケットを受信する受信手段と、受信パケットに基づいて画像の構成を示す画像構成情報を取得する画像構成情報取得手段と、画像構成情報に基づく構成順にしたフレームと、シーケンス番号に基づいて時系列に並べたパケットとを対応させ、各フレームとパケットとを関連付けて画像品質を測定する画像品質測定手段と、画像品質測定手段により測定された画像品質測定結果を蓄積する蓄積手段とを備えることを特徴とする。
【選択図】 図1

Description

本発明は、画像品質管理システム、方法及びプログラムに関し、例えば、パケット損失による映像フレームの影響を管理する画像品質管理システム、方法及びプログラムに適用し得るものである。
例えば、音声、静止画、動画像などのメディア情報を通信や放送する場合に、その情報量が多いため、例えばMPEG方式などの圧縮符号化が行われるが、メディア情報の品質を維持するために、そのサービス品質を測定することが必要となる。
特許文献1は、ネットワーク通信や放送するメディア情報の通信品質を測定する技術が記載されている。具体的には、メディア用パケットで送受信した各フレームのうち、メディア用パケットの損失による影響を受けた無効フレームの割合に基づいて無効フレーム率を求め、この無効フレーム率をユーザが体感するサービス品質の推定値とみなす技術である。
特開2007−060475号公報
ところで、ユーザが体感する主観的な映像品質に影響を与える要素として「ブロックノイズ」がある。このブロックノイズとは、映像フレームの一部のブロックがモザイク状態となり、映像の欠落を引き起こす現象をいい、通信又は放送されるパケットの損失が原因であると考えられる。
フレーム内でのTSパケット損失をエンコード側での負荷軽減を目的としてしまうと、以下のような点から実際のフレームの劣化状況を特定することが困難であり、またユーザが体感する映像品質も異なってしまうおそれもある。
(1)コーデックによって各フレームに対して重み付けを行なっているが、その映像フレームをパケット化する際のTSパケットの損失状況を考慮していないため、フレーム内に生じる「ブロックノイズ」そのものを検知できていない。
(2)また、そのTSパケットの損失によって、ユーザに与える体感品質の影響度まで考慮していないため、実際に体感する品質との間に差異が生じる。
(3)コーデックの特性上、各フレームそのものは損失していないが、各フレーム内のブロック(TSパケット)が損失するといった現象を考慮していない。
そのため、実際のフレーム自体の劣化状況に応じた映像品質を求めることができる画像品質管理システム、方法及びプログラムが求められている。
かかる課題を解決するために、第1の本発明の画像品質管理システムは、クライアント端末に配信される画像品質を管理する画像品質管理システムにおいて、(1)クライアント端末に配信される画像データを有するパケットを受信する受信手段と、(2)受信パケットに基づいて画像の構成を示す画像構成情報を取得する画像構成情報取得手段と、(3)画像構成情報に基づく構成順にしたフレームと、シーケンス番号に基づいて時系列に並べたパケットとを対応させ、各フレームとパケットとを関連付けて画像品質を測定する画像品質測定手段と、(4)画像品質測定手段により測定された画像品質測定結果を蓄積する蓄積手段とを備えることを特徴とする。
第2の本発明の画像品質管理方法は、クライアント端末に配信される画像品質を管理する画像品質管理システムでの画像品質管理方法において、画像品質管理システムが、受信手段、画像構成情報取得手段、画像品質測定手段及び蓄積手段を備え、(1)受信手段が、クライアント端末に配信される画像データを有するパケットを受信する受信工程と、(2)画像構成情報取得手段が、受信パケットに基づいて画像の構成を示す画像構成情報を取得する画像構成情報取得工程と、(3)画像品質測定手段が、画像構成情報に基づく構成順にしたフレームと、シーケンス番号に基づいて時系列に並べたパケットとを対応させ、各フレームとパケットとを関連付けて画像品質を測定する画像品質測定工程と、(4)蓄積手段が、画像品質測定手段により測定された画像品質測定結果を蓄積する蓄積工程とを有することを特徴とする。
第3の本発明の画像品質管理プログラムは、クライアント端末に配信される画像品質を管理する画像品質管理システムでの画像品質管理プログラムにおいて、コンピュータを、(1)クライアント端末に配信される画像データを有するパケットを受信する受信手段、(2)受信パケットに基づいて画像の構成を示す画像構成情報を取得する画像構成情報取得手段、(3)画像構成情報に基づく構成順にしたフレームと、シーケンス番号に基づいて時系列に並べたパケットとを対応させ、各フレームとパケットとの関連付けて画像品質を測定する画像品質測定手段、(4)画像品質測定手段により測定された画像品質測定結果を蓄積する蓄積手段として機能させることを特徴とする。
本発明によれば、実際のフレーム自体の劣化状況に応じた映像品質を求めることができる。
(A)第1の実施形態
以下では、本発明の画像品質管理システム、方法及びプログラムの第1の実施形態について図面を参照しながら説明する。
第1の実施形態は、マルチキャストにより、配信サーバが提供する配信映像をクライアント端末に配信する映像配信システムに、本発明の画像品質管理システム、方法及びプログラムを適用する実施形態を例示して説明する。
(A−1)第1の実施形態の構成
図1は、第1の実施形態のメディア情報品質管理システムの構成を示す構成図である。図1に示すように、第1の実施形態のメディア情報品質管理システム9Aは、管理システム1、クライアント端末2、ノード3〜5、配信サーバ6、収集DB7を少なくとも有して構成される。
図1において例示する映像配信システムは、配信サーバ6が、ノード5、4及び3を介して、クライアント端末2に向けて配信映像を配信するシステムである。
この映像配信システムの配信形態としては、種々の形態を広く採用することができるが、例えば、有線回線を用いて配信する形態や、無線回線を用いて配信する形態や、有線回線と無線回線を結合させた形態や、放送により配信する形態などを適用することができる。
また、この映像配信システムは、マルチキャストを用いて映像を配信しているため、図1では1台のクライアント端末2のみを示しているが、そのマルチキャストに参加するクライアント端末2が複数ある場合には、複数のクライアント端末2に対して映像を配信する。
配信サーバ6は、1又は複数種類の映像を配信する画像送信装置である。配信サーバ6は、既存の配信サーバを用いることができるので、その構成の詳細な説明は省略するが、例えば、映像ストリームデータに対して圧縮符号化処理を行なう圧縮符号化処理部(エンコーダ部)、圧縮符号化データを有するTS(Transport Stream)パケットを変調する変調部、変調したパケットを送信する送信部を少なくとも有するものである。
また、配信サーバ6が配信映像を符号化する圧縮符号化方式は、特に限定されず広く適用することができるが、一般にMPEG方式(MPEG1、MPEG2、MPEG4、MPEG7など)を採用する。
配信サーバ6のエンコーダ部は、配信すべき入力画像データを受け取ると、GOP(Group Of Picture)構成の設定情報に従って、その画像データをMPEG符号化してES(Elementary Stream)を生成し、生成したESをパケット化してPES(Packetized Elementary Stream)パケットにする。そして、エンコーダ部は、このPESパケットを分割して、固定長のTSパケットのペイロードに挿入してTSパケットを生成して変調部に与える。
ここで、GOP(Group Of Picture)構成とは、複数の画像(フレーム)を有して構成する1グループをいう。例えば、画像の種類には、Iフレーム(Intra Frame)、Pフレーム(Predictive Frame)、Bフレーム(Bi-Directional Frame)があるが、これらIフレーム、Pフレーム、Bフレームの組み合わせをGOP構成という。
例えば、GOPの構成態様としては、(1)Iフレーム、Pフレーム、Bフレームのそれぞれを有するIPB構成、(2)IフレームとPフレームとを有するIP構成、(3)複数のIフレームを有するI構成がある。
また、GOPを構成するフレーム数やフレーム周期は特に制限がないので、提供する画像ストリームの種類やサービス種類に応じてフレーム数やフレーム周期は異なり得る。
ノード3〜5は、配信サーバ6とクライアント端末2との間に介在する転送装置であり、配信サーバ6からの映像パケットをクライアント端末2に転送するものである。
クライアント端末2は、配信サーバ6からの配信映像を受信する画像受信装置を有するものであり、受信映像を出力するユーザ端末である。
また、クライアント端末2は、受信した映像パケットを管理システム1に送信するものである。このようにクライアント端末2が受信パケットを管理システム1に送信することにより、管理システム1による映像品質を測定管理させることができる。
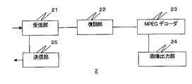
図2は、クライアント端末2の内部構成を示す内部構成図である。図2に示すように、クライアント端末2は、受信部21、復調部22、MPEGデコーダ23、画像出力部24、送信部25を少なくとも有するものである。
受信部21は、配信された映像信号を受信し、受信信号を復調部22に与えるものである。また、受信部21は、受信した映像信号を送信部25に与えるものである。これにより、管理システム1に対して、受信した配信映像のパケットを与えることができる。
復調部22は、受信部21が受信した受信信号を復調し、MPEGデコーダ23に与えるものである。つまり、受信した映像信号からTSパケットを復調するものである。
送信部25は、受信部21から受け取った映像信号を管理システム1に与えるものである。ここで、送信部25には、予め管理システム1の送信先情報(例えば、IPアドレス等)が設定されており、受信した映像信号に送信先情報を付与して送信することで、管理システム1に与えることができる。
MPEGデコーダ23は、復調部22により復調されたTSパケットからPESパケットを分離し、PESパケットからESパケットを復号して画像データを生成するものである。
画像出力部24は、MPEGデコーダ23により復元された画像データに基づいて画像を出力するものである。
管理システム1は、クライアント端末2から受信した映像パケットに基づいて、配信映像の品質を測定して、その測定結果を収集DB7に蓄積して管理するものである。
ここで、管理システム1は、GOP構成を認識した後、各フレームにシーケンス番号を割り当て、各フレームのシーケンス番号とIPパケットのシーケンス番号とを対応付けてGOP構成テーブルを作成し、各フレームとTSパケット損失との対応関係を明確にする。
これにより、実際のフレーム画像の劣化とTSパケット損失との関係に基づいてフレーム毎の映像品質を測定することができる。
図3は、管理システム1の内部構成を示す機能ブロック図である。図3に示すように、管理システム1は、受信部11、時刻情報取得部12、TSパケット損失検出部13、画像情報取得部14、画像品質測定部15を少なくとも有するものである。
受信部11は、映像パケットを受信するものであり、クライアント端末2が受信した映像パケットを受信するものである。
ここで、映像パケットは、RTPパケットである。図4は、映像信号のパケット構成を示すパケット構成図であり、映像パケットは、IPヘッダ、UDPヘッダ、RTPヘッダを有し、RTPパケットのペイロードに複数のTSパケットが含まれている。また、TSパケットは、GOP構成の順に従って、各フレームのヘッダ情報及び映像データが含まれている。
時刻情報取得部12は、受信パケットのIPヘッダに基づいてIPパケットの時刻情報を取得するものである。また、時刻情報取得部12は、受信したIPパケットのシーケンス番号を時刻情報に対応付けするものである。これにより、受信したIPパケットを時系列で管理するものである。
TSパケット損失検出部13は、受信パケットのRTPパケットペイロードに含まれている各TSパケットのTSヘッダに基づいて、TSパケットのロス又はエラーを検出し、パケット損失数をカウントするものである。
TSパケット損失数のカウント方法としては、TSパケット損失検出部13は、TSヘッダに含まれているヘッダ情報に基づいてTSパケットの損失を検出し、その損失数をカウントする方法を適用できる。
例えば、図5及び図6は、ETSI(European Telecommunications Standards Institute)の測定ガイドラインTR 101 290を示す。TSパケット損失検出部13は、図5及び図6に示す測定パラメータを測定し、図5及び図6に示す「内容」に設定される条件に従って、TSパケットの損失をカウントする。
画像情報取得部14は、受信パケットのRTPパケットペイロードに含まれている各TSパケットのTSペイロードをデコードして、GOP構成や各フレーム情報を取得するものである。
画像情報取得部14は、図3に示すように、各TSペイロードに含まれている各ESに付与されているGOP毎のシーケンス番号に基づいて、GOP構成のパターンを取得するGOP構成取得部141と、各フレーム情報を取得するフレーム情報取得部142とを有する。
画像品質測定部15は、時刻情報取得部12、TSパケット損失検出部13及び画像情報取得部14により得られた各種情報に基づいて、各フレームとIPパケットとを対応付けたGOP構成テーブルを形成するものである。
また、画像品質測定部15は、フレーム内でのGOP構成(Intra Period)内を割り出し、フレーム内でのスライス損失を検知するものである。
画像品質測定部15は、図3に示すように、スライス損失検知部151と、フレーム損失検知部152とを有して構成される。
スライス損失検知部151は、I−Slice内におけるGOP(Intra Period)構成パターンを割り出し、そのGOP構成内のSlice数を出し、GOP構成(Intra Period)の長さを求めるものである。
また、スライス損失検知部151は、GOP構成の長さを測定周期とし、この測定周期内の各Sliceのロス数を求めるものである。
さらに、スライス損失検知部151は、受信した画像(Picture)数、各Sliceのロス数を用いて、画像(Picture)のロス率を求める。また、スライス損失検知部151は、イントラ内(画面内)の空間圧縮(TSパケット)の損失最大値やその事象が起きた回数を求める。
図7は、第1の実施形態のスライス損失検知方法を説明する説明図と各GOP構成のスライス損失の測定結果を示す図である。
図7(A)は、I−Slice内のGOP(Intra Period)構成パターンを例示する図である。図7(A)に示すように、スライス損失検知部151は、I−Slice内のIntra Periodを構成するSliceに対するロスを検知する。
ここで、スライス損失検知部151は、各フレーム情報に基づいてSlice種別を認識しており、Slice種別毎のロス数を検知する。
図7(B)は、スライス損失検知部151が測定した測定結果を示すテーブルである。図7(B)に示すテーブルは、例えば、「Time Stamp」、「Intra Period Pattern」、「Intra Periodの長さ」、「I−Sliceロス数」、「P−Sliceロス数」、「B−Sliceロス数」、「Pictureロス率」、「受信Picture数」を項目にもつ。
「Time Stamp」は、受信したIPパケットの時刻情報を管理する項目であり、時刻情報取得部12が取得した時刻情報に基づいて時刻を管理する。
「Intra Period Pattern」は、GOP(Intra Period)の構成パターンを管理する項目であり、画像情報取得部14から受け取ったGOP(Intra Period)構成を管理する。また、「Intra Periodの長さ」は、GOP(Intra Period)の長さを管理する項目である。
「I−Sliceロス数」、「P−Sliceロス数」及び「B−Sliceロス数」は、測定周期内でカウントしたSliceロス数をSlice種別毎に管理する項目である。
「受信Picture数」は、受信した画像(Picture)の総数を管理する項目である。
「Pictureロス率」は、画像(Picture)の総数に対するロスした画像(Picture)の比率を管理する項目である。例えば、図7(B)の第1行目の場合、画像(Picture)総数は、282+3+5+4=294であり、総ロス数は、3+5+4=12であるから、(12/294)×100≒4となる。
フレーム損失検知部152は、パケット損失が発生した際のTSパケットのロス数及び損失したフレーム種別、並びに、パケット損失フレームのGOP内での位置関係を時系列にてテーブル化するものである。
また、フレーム損失検知部152は、スライス損失検知部151が検知した各フレームのロス数を各フレームに対応付けるようにする。
図8(A)は、GOP構成を例示する図であり、図8(B)は、フレーム損失検知部152が測定するフレーム損失の測定結果を示す図である。
フレーム損失検知部152は、受信パケットの時刻情報を基準にして、GOP構成、フレーム構成、TSパケット損失の位置関係を管理する。また、フレーム損失検知部152は、受信パケットの時刻情報を基にして所定の測定時間内で測定する。
フレーム損失検知部152は、測定時間内で受信した各受信パケットの各フレームのGOP構成に基づいて、図8(B)に示すようにテーブル化を行なう。
このとき、フレーム損失検知部152は、GOPを構成する各フレームに対してシーケンス番号を付与する。また、フレーム損失検知部152は、各フレームのフレーム種別も認識する。
また、フレーム損失検知部152は、図8(B)に示すように、受信パケットの時刻情報に基づいて、IPパケットのシーケンス番号と各フレームのシーケンス番号とのマッピングを行なう。
このように、各フレームとTSパケットとの対応付けを行なうことができるので、フレームの画像劣化とTSパケットの損失との関係を認識させることができる。
(A−2)第1の実施形態の動作
次に、第1の実施形態のメディア情報品質管理システム9における処理の動作を説明する。
まず、クライアント端末2は、配信サーバ6が提供する映像配信に係るマルチキャストにJoinして配信サーバ6から映像信号を取得する。
クライアント端末2は、配信サーバ6から映像信号を受信すると、受信した映像信号をデコードして配信映像を出力すると共に、その受信した映像信号を管理システム1に向けて送信する。
管理システム1において、受信部11がクライアント端末2からの映像パケットを受信すると、時刻情報取得部12が、受信パケットのIPヘッダから時刻情報を取得し、当該IPパケットのシーケンス番号と対応付けて管理する。
次に、TSパケット損失検出部13は、受信パケットのRTPパケットペイロードに含まれている各TSパケットのTSヘッダに基づいて、TSパケットの損失の有無を検出し、TSパケットの損失数をカウントする。
次に、画像情報取得部14は、各TSパケットのペイロードに含まれている各フレーム情報に基づいてGOP構成を認識する。また、画像情報取得部14は、各フレーム情報に基づいてフレームをデコードする。
このとき、画像情報取得部14は、TSペイロードに含まれているタイムスタンプ情報(DTS/PTS)に基づいて、IPパケットに含まれているTSパケット数を管理する。
画像品質測定部15は、画像情報取得部14によりGOP構成が認識されると、そのGOPの構成パターンと、そのGOP構成の測定範囲内での各Sliceのロス数とを測定する。
このとき、図7(B)に示すように、画像品質測定部15は、各GOP構成内でのSlice種別毎のロス数や、画像(Picture)の総数に対するPictureロス率を求める。
このようにして、各GOP(Intra Period)構成におけるSliceロスを測定することができる。
また、画像品質測定部15は、時刻情報取得部12からの時刻情報を用いて、所定の測定期間内に受信した受信パケットに含まれるフレームと、TSパケットの損失との対応関係をテーブル化する。
例えば、図8(B)では、時刻情報(Timestamp)に基づいて測定期間「12:42:00−12:42:10」での画像品質の測定結果である。
まず、画像品質測定部15は、この測定期間内のフレームに対してシーケンス番号を付与する。また、画像品質測定部15は、各フレームヘッダに基づいてフレーム種別を認識し、各シーケンス番号にフレーム種別を対応付ける。
次に、画像品質測定部15は、時刻情報取得部12が管理するIPパケットの時刻情報とシーケンス番号との対応関係を利用して、IPパケットのシーケンス番号と各フレームのシーケンス番号との対応関係をとる。そして、各フレーム毎に求めたTSパケット損失数を図8(B)のテーブルに載せる。
画像品質測定部15は、次の測定期間内でのGOP構成及びフレーム構成とTSパケット損失情報との関連付けを継続的に行い、その測定結果を収集DB7に蓄積する。
(A−3)第1の実施形態の効果
以上のように、第1の実施形態によれば、管理システム1は、各フレームとTSパケット損失情報とを対応付けた情報を収集し、これらの統計情報に基づいて、各フレームにおける画像劣化(ノイズブロック)の度合を精度良く把握することができる。
なお、1UDPパケット内には、最大7TSパケットが格納されているため、フレーム種別及びその時のパケット損失の位置関係が分かれば、どのフレームにおける画像劣化(ブロックノイズ)が生じているのかが分かる。
(B)第2の実施形態
次に、本発明のメディア情報品質管理システムの第2の実施形態について図面を参照しながら説明する。
(B−1)第2の実施形態の構成及び動作
図9は、第2の実施形態のメディア情報品質管理システムの構成を示す構成図である。図9に示すように、第2の実施形態のメディア情報品質管理システム9Bは、管理システム1、クライアント端末2、ノード3〜5、配信サーバ6、収集DB7を少なくとも有して構成される。
第2の実施形態が第1の実施形態と異なる点は、管理システム1がクライアント端末2に配信される映像パケットの取得方法である。
つまり、第1の実施形態では、クライアント端末2が受信した配信パケットを管理システム1に向けて送信するものとした。
これに対して、第2の実施形態は、クライアント端末2に映像パケットを転送するノードが、管理システム1に対してパケットログをアップロードするようにする。
従って、以下では、管理システム1に対してパケットログをアップロードするまでの処理について説明するが、第1の実施形態で既に説明した構成の説明については省略する。
図9において、配信サーバ6は、クライアント端末2に向けて映像パケットを配信する。このとき、配信サーバ6が配信する映像パケットはノード5→ノード4→ノード3→クライアント端末2の経路で配信されるものとする。
クライアント端末2に映像パケットを転送するノード3は、クライアント端末2に転送するパケットのパケットログを蓄積しており、このパケットログを管理システム1に向けて送信する。
ここで、ノード3による管理システム1へのパケットログのアップロードの仕方としては、例えば、映像品質を管理する管理対象のクライアント端末2の識別情報を指定しておき、当該クライアント端末2の識別情報宛の映像パケットのパケット情報を蓄積するように設定しておく。また、ノード3は、クライアント端末2の識別情報宛のパケットログを周期的に管理システム1に送信する。
管理システム1は、ノード3からクライアント端末2に転送したパケットログを受け取ると、このノード3からの情報に基づいて、各GOP構成の各フレームとIPパケットとのマッピングを行い、その結果を収集DB7に蓄積するものである。
管理システム1の内部構成は、第1の実施形態で説明した図3に示す内部構成を適用できるので、図3を参照して管理システム1の処理の動作を説明する。
つまり、管理システム1では、第1の実施形態と同様に、リンク103にて接続しているノード3からクライアント端末2宛のIPパケットを取得すると、そのIPパケットのIPヘッダに含まれるシーケンス番号及び時刻情報を取得し、IPパケットのシーケンス番号と時刻情報を対応付けて管理する。
次に、IPパケットに含まれているGOP構成を取得すると、図8(B)に示すように、各フレームに対してシーケンス番号を付与して、GOP構成をテーブル化する。
そして、IPパケットの時刻情報を基準にして、IPパケットのシーケンス番号と各フレームのシーケンス番号との対応付けを行い、GOP構成テーブルのマッピングを行う。
管理システム1では、上記の第1の実施形態と同様の一連処理を継続的に行い、その結果を収集DB7に蓄積するという処理を繰り返し行なう。
(B−2)第2の実施形態の効果
以上のように、第2の実施形態によれば、第1の実施形態と同様の効果に加えて、中継ノードが保持するクライアント端末宛のパケットログを取得して、映像パケットの品質を管理することにより、クライアント端末の受信パケットだけでなく、未受信パケットにつても各フレームに対するTSパケット(ブロックノイズの元となる)の損失状況を正確に把握すること可能となる。
(C)他の実施形態
第1及び第2の実施形態で説明した管理システムの各種機能は、ソフトウェア処理により実現されるものである。つまり、例えば、CPU、ROM、RAM、EEPROM等のハードウェア構成を備え、CPUが、ROMに格納される処理プログラムを実行することにより実現されるものである。
また、第1及び第2の実施形態で説明した管理システムの各種機能部は、物理的に同一のサーバ上で実現されるものであってもよいし、分散配置されたサーバ上で分散処理により実現されるものであってよい。
第1の実施形態の画像品質管理システムの構成を示す構成図である。 第1の実施形態のクライアント端末の内部構成を示す内部構成図である。 第1の実施形態の管理システムの内部構成を示す内部構成図である。 パケットの構成と測定レベルを示す構成図である。 ETSIの測定ガイドラインTR 101 290を示す図である(その1)。 ETSIの測定ガイドラインTR 101 290を示す図である(その2)。 第1の実施形態のスライス損失検知方法を説明する説明図と各GOP構成のスライス損失の測定結果を示す図である。 第1の実施形態のGOP構成を例示する図とフレーム損失検知部が測定するフレーム損失の測定結果を示す図である。 第2の実施形態の画像品質管理システムの構成を示す構成図である。
符号の説明
1…管理システム、2…クライアント端末、3〜5…ノード、6…配信サーバ、9A及び9B…映像配信システム、11…受信部、12…時刻情報取得部、13…TSパケット損失検出部、14…画像情報取得部、141…GOP構成取得部、142…フレーム情報取得部、15…画像品質測定部、151…スライス損失検知部、152…フレーム損失検知部。

Claims (4)

  1. クライアント端末に配信される画像品質を管理する画像品質管理システムにおいて、
    上記クライアント端末に配信される画像データを有するパケットを受信する受信手段と、
    受信パケットに基づいて画像の構成を示す画像構成情報を取得する画像構成情報取得手段と、
    上記画像構成情報に基づく構成順にしたフレームと、シーケンス番号に基づいて時系列に並べた上記パケットとを対応させ、各フレームと上記パケットとを関連付けて画像品質を測定する画像品質測定手段と、
    上記画像品質測定手段により測定された画像品質測定結果を蓄積する蓄積手段と
    を備えることを特徴とする画像品質管理システム。
  2. 上記画像品質測定手段が、
    受信パケットに含まれる画像データに基づいて、各フレーム内における処理単位の構成パターンを割り出し、フレーム内での各処理単位のロス数をカウントする処理単位損失検知部と、
    上記画像構成情報に基づいて各フレームに対してシーケンス番号を付与し、各フレームのシーケンス番号と上記パケットのシーケンス番号とを対応付けて画像構成テーブルを形成し、上記処理単位損失検知部が求めたロス数を上記画像構成テーブルに対応させるフレーム損失検知部と
    を有することを特徴とする請求項1に記載の画像品質管理システム。
  3. クライアント端末に配信される画像品質を管理する画像品質管理システムでの画像品質管理方法において、
    上記画像品質管理システムが、受信手段、画像構成情報取得手段、画像品質測定手段及び蓄積手段を備え、
    上記受信手段が、上記クライアント端末に配信される画像データを有するパケットを受信する受信工程と、
    上記画像構成情報取得手段が、受信パケットに基づいて画像の構成を示す画像構成情報を取得する画像構成情報取得工程と、
    画像品質測定手段が、上記画像構成情報に基づく構成順にしたフレームと、シーケンス番号に基づいて時系列に並べた上記パケットとを対応させ、各フレームと上記パケットとを関連付けて画像品質を測定する画像品質測定工程と、
    蓄積手段が、上記画像品質測定手段により測定された画像品質測定結果を蓄積する蓄積工程と
    を有することを特徴とする画像品質管理方法。
  4. クライアント端末に配信される画像品質を管理する画像品質管理システムでの画像品質管理プログラムにおいて、
    コンピュータを、
    上記クライアント端末に配信される画像データを有するパケットを受信する受信手段、
    受信パケットに基づいて画像の構成を示す画像構成情報を取得する画像構成情報取得手段、
    上記画像構成情報に基づく構成順にしたフレームと、シーケンス番号に基づいて時系列に並べた上記パケットとを対応させ、各フレームと上記パケットとを関連付けて画像品質を測定する画像品質測定手段、
    上記画像品質測定手段により測定された画像品質測定結果を蓄積する蓄積手段
    として機能させることを特徴とする画像品質管理プログラム。
JP2008195248A 2008-07-29 2008-07-29 画像品質管理システム、方法及びプログラム Active JP4935776B2 (ja)

Priority Applications (1)

Application Number Priority Date Filing Date Title
JP2008195248A JP4935776B2 (ja) 2008-07-29 2008-07-29 画像品質管理システム、方法及びプログラム

Applications Claiming Priority (1)

Application Number Priority Date Filing Date Title
JP2008195248A JP4935776B2 (ja) 2008-07-29 2008-07-29 画像品質管理システム、方法及びプログラム

Publications (2)

Publication Number Publication Date
JP2010034875A true JP2010034875A (ja) 2010-02-12
JP4935776B2 JP4935776B2 (ja) 2012-05-23

Family

ID=41738856

Family Applications (1)

Application Number Title Priority Date Filing Date
JP2008195248A Active JP4935776B2 (ja) 2008-07-29 2008-07-29 画像品質管理システム、方法及びプログラム

Country Status (1)

Country Link
JP (1) JP4935776B2 (ja)

Cited By (1)

* Cited by examiner, † Cited by third party
Publication number Priority date Publication date Assignee Title
CN103167313A (zh) * 2011-12-08 2013-06-19 中国电信股份有限公司 视频监控业务质量测试方法和系统、质量测试服务器

Citations (4)

* Cited by examiner, † Cited by third party
Publication number Priority date Publication date Assignee Title
JP2003199062A (ja) * 1997-03-17 2003-07-11 Matsushita Electric Ind Co Ltd 送信装置及び受信装置
JP2004187025A (ja) * 2002-12-04 2004-07-02 Shibasoku:Kk 信号評価装置
JP2006217470A (ja) * 2005-02-07 2006-08-17 Nippon Telegr & Teleph Corp <Ntt> 大規模ストリーム配信の品質管理方法,視聴品質の管理装置及び視聴品質の管理プログラム
JP2007135040A (ja) * 2005-11-11 2007-05-31 Nippon Telegr & Teleph Corp <Ntt> ユーザ体感品質推定装置、方法、およびプログラム

Patent Citations (4)

* Cited by examiner, † Cited by third party
Publication number Priority date Publication date Assignee Title
JP2003199062A (ja) * 1997-03-17 2003-07-11 Matsushita Electric Ind Co Ltd 送信装置及び受信装置
JP2004187025A (ja) * 2002-12-04 2004-07-02 Shibasoku:Kk 信号評価装置
JP2006217470A (ja) * 2005-02-07 2006-08-17 Nippon Telegr & Teleph Corp <Ntt> 大規模ストリーム配信の品質管理方法,視聴品質の管理装置及び視聴品質の管理プログラム
JP2007135040A (ja) * 2005-11-11 2007-05-31 Nippon Telegr & Teleph Corp <Ntt> ユーザ体感品質推定装置、方法、およびプログラム

Cited By (1)

* Cited by examiner, † Cited by third party
Publication number Priority date Publication date Assignee Title
CN103167313A (zh) * 2011-12-08 2013-06-19 中国电信股份有限公司 视频监控业务质量测试方法和系统、质量测试服务器

Also Published As

Publication number Publication date
JP4935776B2 (ja) 2012-05-23

Similar Documents

Publication Publication Date Title
Yang et al. End-to-end TCP-friendly streaming protocol and bit allocation for scalable video over wireless Internet
US8576909B2 (en) System and method for monitoring video packets for quantifying video quality
US9241197B2 (en) System and method for video delivery over heterogeneous networks with scalable video coding for multiple subscriber tiers
Greengrass et al. Not all packets are equal, part i: Streaming video coding and sla requirements
JP2014535196A (ja) ハイブリッドネットワークにおけるマルチメディアデータを伝送する装置及び方法
US8782481B2 (en) Receiving terminal and receiving method
Usman et al. Performance evaluation of high definition video streaming over mobile ad hoc networks
US20080137667A1 (en) Spatial and temporal loss determination in packet based video broadcast system in an encrypted environment
EP2404451B1 (en) Processing of multimedia data
KR20060096044A (ko) 미디어 신호의 송신 방법 및 수신 방법과 송수신 방법 및장치
WO2009155871A1 (zh) 一种数据包处理方法、装置和系统
JP5877960B2 (ja) 伝送ビットレートに基づいて映像フレームレートを制御させる受信装置、システム、プログラム及び方法
KR102056438B1 (ko) 복합 멀티미디어 데이터를 전송하기 위한 데이터 패킷을 송수신하는 방법 및 장치
EP2649794B1 (en) Method and apparatus for managing content distribution over multiple terminal devices in collaborative media system
JP4935776B2 (ja) 画像品質管理システム、方法及びプログラム
JP2014093584A (ja) 送信装置、送信方法、受信装置、受信方法およびコンピュータプログラム
CN103716640B (zh) 帧类型的检测方法和装置
CN101741752A (zh) 视频流传输的方法、装置和系统
KR102093408B1 (ko) 동일 포트에 멀티플렉싱 된 다중 패킷 스트림의 패킷오류 구분을 선택적으로 수행하는 방법 및 그 장치
JP2010063004A (ja) 映像データ送信装置、映像配信システム、映像品質評価方法及びプログラム
KR102330416B1 (ko) 패킷 손실 탐지 방법 및 장치
KR20200015655A (ko) 데이터 패킷을 송수신하는 방법 및 장치
KR102074226B1 (ko) 데이터 패킷을 수신하는 방법 및 장치
Son et al. Fast required bandwidth estimation technique for network adaptive streaming
KR101855327B1 (ko) 복합 네트워크에서 멀티미디어 데이터를 전송하기 위한 장치 및 그 방법

Legal Events

Date Code Title Description
A621 Written request for application examination

Free format text: JAPANESE INTERMEDIATE CODE: A621

Effective date: 20110322

A977 Report on retrieval

Free format text: JAPANESE INTERMEDIATE CODE: A971007

Effective date: 20110706

A131 Notification of reasons for refusal

Free format text: JAPANESE INTERMEDIATE CODE: A131

Effective date: 20110809

A521 Written amendment

Free format text: JAPANESE INTERMEDIATE CODE: A523

Effective date: 20110930

TRDD Decision of grant or rejection written
A01 Written decision to grant a patent or to grant a registration (utility model)

Free format text: JAPANESE INTERMEDIATE CODE: A01

Effective date: 20120124

A01 Written decision to grant a patent or to grant a registration (utility model)

Free format text: JAPANESE INTERMEDIATE CODE: A01

A61 First payment of annual fees (during grant procedure)

Free format text: JAPANESE INTERMEDIATE CODE: A61

Effective date: 20120206

FPAY Renewal fee payment (event date is renewal date of database)

Free format text: PAYMENT UNTIL: 20150302

Year of fee payment: 3

R150 Certificate of patent or registration of utility model

Ref document number: 4935776

Country of ref document: JP

Free format text: JAPANESE INTERMEDIATE CODE: R150

Free format text: JAPANESE INTERMEDIATE CODE: R150