JP2010027274A - 照明装置 - Google Patents

照明装置 Download PDF

Info

Publication number
JP2010027274A
JP2010027274A JP2008184754A JP2008184754A JP2010027274A JP 2010027274 A JP2010027274 A JP 2010027274A JP 2008184754 A JP2008184754 A JP 2008184754A JP 2008184754 A JP2008184754 A JP 2008184754A JP 2010027274 A JP2010027274 A JP 2010027274A
Authority
JP
Japan
Prior art keywords
air
light source
air supply
supply chamber
lighting device
Prior art date
Legal status (The legal status is an assumption and is not a legal conclusion. Google has not performed a legal analysis and makes no representation as to the accuracy of the status listed.)
Granted
Application number
JP2008184754A
Other languages
English (en)
Other versions
JP5222644B2 (ja
Inventor
Toshio Hayashi
利雄 林
Current Assignee (The listed assignees may be inaccurate. Google has not performed a legal analysis and makes no representation or warranty as to the accuracy of the list.)
Takasago Thermal Engineering Co Ltd
Original Assignee
Takasago Thermal Engineering Co Ltd
Priority date (The priority date is an assumption and is not a legal conclusion. Google has not performed a legal analysis and makes no representation as to the accuracy of the date listed.)
Filing date
Publication date
Application filed by Takasago Thermal Engineering Co Ltd filed Critical Takasago Thermal Engineering Co Ltd
Priority to JP2008184754A priority Critical patent/JP5222644B2/ja
Publication of JP2010027274A publication Critical patent/JP2010027274A/ja
Application granted granted Critical
Publication of JP5222644B2 publication Critical patent/JP5222644B2/ja
Expired - Fee Related legal-status Critical Current
Anticipated expiration legal-status Critical

Links

Images

Classifications

    • FMECHANICAL ENGINEERING; LIGHTING; HEATING; WEAPONS; BLASTING
    • F21LIGHTING
    • F21VFUNCTIONAL FEATURES OR DETAILS OF LIGHTING DEVICES OR SYSTEMS THEREOF; STRUCTURAL COMBINATIONS OF LIGHTING DEVICES WITH OTHER ARTICLES, NOT OTHERWISE PROVIDED FOR
    • F21V29/00Protecting lighting devices from thermal damage; Cooling or heating arrangements specially adapted for lighting devices or systems
    • F21V29/50Cooling arrangements
    • F21V29/60Cooling arrangements characterised by the use of a forced flow of gas, e.g. air
    • F21V29/67Cooling arrangements characterised by the use of a forced flow of gas, e.g. air characterised by the arrangement of fans
    • FMECHANICAL ENGINEERING; LIGHTING; HEATING; WEAPONS; BLASTING
    • F21LIGHTING
    • F21VFUNCTIONAL FEATURES OR DETAILS OF LIGHTING DEVICES OR SYSTEMS THEREOF; STRUCTURAL COMBINATIONS OF LIGHTING DEVICES WITH OTHER ARTICLES, NOT OTHERWISE PROVIDED FOR
    • F21V29/00Protecting lighting devices from thermal damage; Cooling or heating arrangements specially adapted for lighting devices or systems
    • F21V29/50Cooling arrangements
    • F21V29/502Cooling arrangements characterised by the adaptation for cooling of specific components
    • F21V29/505Cooling arrangements characterised by the adaptation for cooling of specific components of reflectors
    • FMECHANICAL ENGINEERING; LIGHTING; HEATING; WEAPONS; BLASTING
    • F21LIGHTING
    • F21VFUNCTIONAL FEATURES OR DETAILS OF LIGHTING DEVICES OR SYSTEMS THEREOF; STRUCTURAL COMBINATIONS OF LIGHTING DEVICES WITH OTHER ARTICLES, NOT OTHERWISE PROVIDED FOR
    • F21V7/00Reflectors for light sources
    • F21V7/0083Array of reflectors for a cluster of light sources, e.g. arrangement of multiple light sources in one plane
    • FMECHANICAL ENGINEERING; LIGHTING; HEATING; WEAPONS; BLASTING
    • F21LIGHTING
    • F21VFUNCTIONAL FEATURES OR DETAILS OF LIGHTING DEVICES OR SYSTEMS THEREOF; STRUCTURAL COMBINATIONS OF LIGHTING DEVICES WITH OTHER ARTICLES, NOT OTHERWISE PROVIDED FOR
    • F21V29/00Protecting lighting devices from thermal damage; Cooling or heating arrangements specially adapted for lighting devices or systems
    • F21V29/50Cooling arrangements
    • F21V29/70Cooling arrangements characterised by passive heat-dissipating elements, e.g. heat-sinks
    • F21V29/83Cooling arrangements characterised by passive heat-dissipating elements, e.g. heat-sinks the elements having apertures, ducts or channels, e.g. heat radiation holes
    • FMECHANICAL ENGINEERING; LIGHTING; HEATING; WEAPONS; BLASTING
    • F21LIGHTING
    • F21WINDEXING SCHEME ASSOCIATED WITH SUBCLASSES F21K, F21L, F21S and F21V, RELATING TO USES OR APPLICATIONS OF LIGHTING DEVICES OR SYSTEMS
    • F21W2131/00Use or application of lighting devices or systems not provided for in codes F21W2102/00-F21W2121/00
    • F21W2131/20Lighting for medical use
    • F21W2131/205Lighting for medical use for operating theatres
    • FMECHANICAL ENGINEERING; LIGHTING; HEATING; WEAPONS; BLASTING
    • F21LIGHTING
    • F21YINDEXING SCHEME ASSOCIATED WITH SUBCLASSES F21K, F21L, F21S and F21V, RELATING TO THE FORM OR THE KIND OF THE LIGHT SOURCES OR OF THE COLOUR OF THE LIGHT EMITTED
    • F21Y2105/00Planar light sources
    • F21Y2105/10Planar light sources comprising a two-dimensional array of point-like light-generating elements
    • FMECHANICAL ENGINEERING; LIGHTING; HEATING; WEAPONS; BLASTING
    • F21LIGHTING
    • F21YINDEXING SCHEME ASSOCIATED WITH SUBCLASSES F21K, F21L, F21S and F21V, RELATING TO THE FORM OR THE KIND OF THE LIGHT SOURCES OR OF THE COLOUR OF THE LIGHT EMITTED
    • F21Y2115/00Light-generating elements of semiconductor light sources
    • F21Y2115/10Light-emitting diodes [LED]

Landscapes

  • Engineering & Computer Science (AREA)
  • General Engineering & Computer Science (AREA)
  • Arrangement Of Elements, Cooling, Sealing, Or The Like Of Lighting Devices (AREA)

Abstract

【課題】照明機能と空調空気の吹き出し機能の両方を有効に備えた照明装置を提供する。
【解決手段】空調空気の吹き出し機能を兼ね備えた照明装置1であって、空調空気が供給される給気チャンバ25の底面に、空調空気の吹き出し口30が複数開口し、複数の吹き出し口30には、光源33と通気性のある反射部材32を供える光源装置31がそれぞれ設けられ、給気チャンバ25の底面は、複数の吹き出し口30の周囲において閉塞されている。
【選択図】図2

Description

本発明は、空調空気の吹き出し機能を兼ね備えた照明装置に関する。
例えば、医療設備に設けられた手術室などでは、手術台上を多方向から照射するいわゆる無影灯が利用されている。また一方、手術室などでは、天井面等から手術台に向けて下向きに清浄な空気を吐出し、壁面下部等に設けた排気口から排気することにより、手術台の周囲の清浄度を常に高い状態に維持している。
このように無影灯と清浄な空気の供給機能を兼ね備えたものとして、天井面に設けられた無影灯の支柱の周りに、ファンフィルタユニットに連結された層流ユニットを設けたものが知られている(例えば特許文献1参照)。また、無影灯の下面に光源装置とフィルタを装着し、光源装置の周りにおいてフィルタを通過させた清浄な空気を下向きに吐出させるようにしたものも知られている(例えば特許文献2参照)。
特開2004−245562号公報 特開2006−147482号公報
ところが、上記特許文献1のように、無影灯上方の天井面等から清浄な空気を吐出した場合、清浄な空気の流れに対して無影灯が障害物となる。その結果、手術台の周囲の清浄度を高く維持することが困難になってしまう。また、上記特許文献2では、フィルタの面積を多くするためには、光源装置の設置個数を少なくしなければならず、照明機能が阻害されてしまう。また一方で、十分な照明機能を確保するために光源装置の設置個数を増やすと、フィルタの面積が小さくなり、空調空気の吹き出し機能が阻害されてしまう。
本発明の目的は、照明機能と空調空気の吹き出し機能の両方を有効に備えた照明装置を提供することにある。より具体的には、照明により供給空気の流れを乱すことなく、術野等の目的空間により少ない照明器具の数で照度を維持する装置を提供することを目的とする。
かかる目的を達成するために、本発明によれば、空調空気の吹き出し機能を兼ね備えた照明装置であって、空調空気が供給される給気チャンバの底面に、空調空気の吹き出し口が複数開口し、前記複数の吹き出し口には、光源と通気性のある反射部材を供える光源装置がそれぞれ設けられ、前記給気チャンバの底面は、前記複数の吹き出し口の周囲において閉塞されている、照明装置が提供される。
この照明装置によれば、給気チャンバ内に供給された空調空気を、光源装置の反射部材を通じて吹き出すことができる。この照明装置において、前記光源は例えばLEDである。また、前記給気チャンバの底面を閉塞している閉塞部材を伸縮性を有するものとし、前記光源装置の角度を可変としても良い。また、前記光源は、前記給気チャンバの底面よりも上方であって、前記給気チャンバの内部に設けられ、前記給気チャンバの底面と前記光源との間に、前記反射部材が設けられていても良い。
本発明によれば、光源装置の反射部材を通じて空調空気を吹き出すことができるので、光源装置の設置個数を増やしても、空調空気の吹き出し機能が阻害されない。このため、照明機能と空調空気の吹き出し機能の両方を有効に備えた照明装置が提供される。
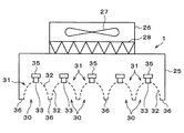
以下、本発明の実施の形態の一例を、図面を参照にして説明する。図1は、本発明の実施の形態にかかる照明装置1を備えた手術室2の説明図である。図2は、本発明の実施の形態にかかる照明装置1の内部構造を示す説明図である。図3は、照明装置1の底面図である。なお、本明細書及び図面において、実質的に同一の機能構成を有する構成要素については、同一の符号を付することにより重複説明を省略する。
手術室2の床面上には、手術台10が設置されている。手術室2の天井面には、室全体に調和空気を供給する給気口11が手術台10や後述するファンフィルタユニット26や支持部材35から平面的に距離をおいて開口しており、手術室2の側壁面には、排気口12が開口している。手術室2の外部には、フィルタ15、熱交換器16、ファン17を備える空調機18が設けられている。この空調機18の吸い込み側には、排気口12から排気された室内空気RAを戻す還気ダクト20と、外気OAを導入する外気ダクト21が接続されている。また、空調機18の吐き出し側18bには、空調機18で調整した空調空気SAを給気口11に送風する給気ダクト22が接続されている。
手術室2の内部において、手術台10の上方に照明装置1が配置されている。照明装置1は、手術室2の天井に取り付けられた支持部材としての多関節アーム23で支持され、照明装置1の位置は、任意に移動させることができる。
図2に示すように、照明装置1は、直方体形状を有する給気チャンバ25の上面にファンフィルタユニット26を取り付けた構成になっている。ファンフィルタユニット26は、ファン27とフィルタ28を内蔵しており、ファン27の稼動によって手術室2の内部の空気を取り込み、フィルタ28を介して、給気チャンバ25の内部に手術室2内の空調空気が給気されている。
図2に示すように、照明装置1の給気チャンバ25の底面には、空調空気の吹き出し口30が複数個所に分布して開口している。なお、吹き出し口30は、給気チャンバ25の底面に開口している。各吹き出し口30には、光源装置31がそれぞれ設けられている。
光源装置31は、略半球形状をした反射部材32の中央上部に光源33を取り付けた構成を有している。光源33は、例えばLEDであり、熱をほとんど発生させずに光を放射することができる。反射部材32は、光源33から放射された光を反射し、吹き出し口30を通じて手術室2の内部に向けて下向きに光を照射させる。反射部材32は、通気性を有しており、反射部材32は、例えば、セラミックス、焼結金属等の通気性を有する母材に反射性物質を塗布した構成、ステンレス製の金網等からなる。反射部材32は、素材そのものに通気性がある場合と、素材自身に通気性はないが、パンチングや網構造、空隙のある織り方をした構造など、構造的に通気性を有する構成を含む。光源33は、給気チャンバ25の底面よりも上方であって、給気チャンバ25の内部に設けられ、給気チャンバ25の底面と光源33との間に、反射部材32が設けられている。
光源装置31は、フレキシブル継ぎ手等の支持部材35を介して、照明装置1の給気チャンバ25に取り付けられており、光源装置31は、角度が可変になっている。給気チャンバ25の底面は、各吹き出し口30の周囲において、通気性のない閉塞部材36によって閉塞されている。このため、ファン27の稼動によって給気チャンバ25内に供給された空調空気は、通気性を有する反射部材32を通過して手術室2の内部に給気されるようになっている。給気チャンバ25の底面において各吹き出し口30の周囲を閉塞している閉塞部材36は、例えばゴムシートなどの伸縮性を有する材料からなる。
以上のような手術室2において、空調機18のファン17の稼動により、外気OAと手術室2内から排気された室内空気RAが空調機18に取り込まれ、フィルタ15および熱交換器16で調整された空調空気SAが、給気ダクト22を経て手術室2内に供給される。手術室2内では、照明装置1下面の各吹き出し口30に設けられた複数の光源装置31により、手術台10上を多方向から照射することができる。また一方で、照明装置1に取り付けられたファンフィルタユニット26のファン27の稼動により、手術室2内の空調空気SAが一旦給気チャンバ25内に供給された後、通気性を有する反射部材32を通過して、手術台10上に下向きに給気される。こうして、手術台の周囲の清浄度が常に高い状態に維持される。
なお、給気チャンバ25の底面において各吹き出し口30の周囲を閉塞している閉塞部材36は、例えばゴムシートなどの通気性のない材料からなっている。このため、ファン27によって給気チャンバ25内に供給された空調空気SAは、反射部材32の部分のみを通過して手術室2の内部に給気されることとなる。このように、空調空気SAを反射部材32の部分のみに通過させることにより、手術台10上に向けて所望の流速で給気させることができる。
また、照明装置1は手術室2の天井に取り付けられた多関節アーム23で支持されているので、手術台10上を照射するのに好ましい位置に照明装置1を任意に移動させることができる。加えて、照明装置1に設けられた各光源装置31は、フレキシブル継ぎ手等の支持部材35で支持されて、角度が可変になっている。そのため、照明装置1のみならず、各光源装置31の角度を調節することにより、手術台10上を最適な状態で照射することが可能となる。なお、各光源装置31の向きの調整は、吹出口30に室内側から手を差し込むかまたは給気チャンバ25に点検口を設けそこから行うことができる。
なお、給気チャンバ25の底面において各吹き出し口30の周囲はゴムシートなどの伸縮性を有する閉塞部材36で閉塞されている。このため、図4に示すように、各光源装置31の角度を調節した場合でも、各吹き出し口30の間において閉塞部材36が任意に変形することにより、各吹き出し口30の周囲は閉塞された状態が維持される。その結果、空調空気SAを反射部材32の部分のみに通過させる状態が維持される。
以上、本発明の好ましい実施の形態の一例を説明したが、本発明は図示の形態に限定されない。当業者であれば、特許請求の範囲に記載された思想の範疇内において、各種の変更例または修正例に相到し得ることは明らかであり、それらについても当然に本発明の技術的範囲に属するものと了解される。
例えば、図5に示すように、照明装置1の給気チャンバ25に給気ダクト22を直接接続しても良い。この場合、ファンフィルタユニット26は省略することができる。なお、このように給気チャンバ25に給気ダクト22を接続する場合は、照明装置1の移動を妨げないように、給気ダクト22にはフレキシブルダクト等を使用するのが良い。
また、光源装置31の光源33は、LEDに限らず、任意の光源を用いることができる。なお、発熱量がなるべく少ない光源を用いることが望ましい。また、図3では、照明装置1の給気チャンバ25の底面に設けられる吹き出し口30が円形の例を示したが、吹き出し口30の形状は任意であり、多角形であっても良い。例えば吹き出し口30を四角形とすると、閉塞部材36は格子状に構成され、均一な吹出しとなり、製作も容易になる。
本発明は、例えば医療設備で用いられる無影灯に適用できる。
本発明の実施の形態にかかる照明装置を備えた手術室の説明図である。 本発明の実施の形態にかかる照明装置1の内部構造を示す説明図である。 照明装置の底面図である。 各光源装置の角度を調節する場合の説明図である。 給気チャンバに給気ダクトを直接接続した実施の形態の説明図である。
符号の説明
1 照明装置
2 手術室
10 手術台
11 給気口
12 排気口
18 空調機
20 還気ダクト
21 外気ダクト
22 給気ダクト
23 多関節アーム
25 給気チャンバ
26 ファンフィルタユニット
30 吹き出し口
31 光源装置
32 反射部材
33 光源
36 閉塞部材

Claims (4)

  1. 空調空気の吹き出し機能を兼ね備えた照明装置であって、
    空調空気が供給される給気チャンバの底面に、空調空気の吹き出し口が複数開口し、
    前記複数の吹き出し口には、光源と通気性のある反射部材を供える光源装置がそれぞれ設けられ、
    前記給気チャンバの底面は、前記複数の吹き出し口の周囲において閉塞されている、照明装置。
  2. 前記光源はLEDである、請求項1に記載の照明装置。
  3. 前記給気チャンバの底面を閉塞している閉塞部材は伸縮性を有し、
    前記光源装置は、角度が可変である、請求項1または2に記載の照明装置。
  4. 前記光源は、前記給気チャンバの底面よりも上方であって、前記給気チャンバの内部に設けられ、
    前記給気チャンバの底面と前記光源との間に、前記反射部材が設けられている、請求項1〜3のいずれかに記載の照明装置。
JP2008184754A 2008-07-16 2008-07-16 照明装置 Expired - Fee Related JP5222644B2 (ja)

Priority Applications (1)

Application Number Priority Date Filing Date Title
JP2008184754A JP5222644B2 (ja) 2008-07-16 2008-07-16 照明装置

Applications Claiming Priority (1)

Application Number Priority Date Filing Date Title
JP2008184754A JP5222644B2 (ja) 2008-07-16 2008-07-16 照明装置

Publications (2)

Publication Number Publication Date
JP2010027274A true JP2010027274A (ja) 2010-02-04
JP5222644B2 JP5222644B2 (ja) 2013-06-26

Family

ID=41732924

Family Applications (1)

Application Number Title Priority Date Filing Date
JP2008184754A Expired - Fee Related JP5222644B2 (ja) 2008-07-16 2008-07-16 照明装置

Country Status (1)

Country Link
JP (1) JP5222644B2 (ja)

Cited By (3)

* Cited by examiner, † Cited by third party
Publication number Priority date Publication date Assignee Title
JP2014210091A (ja) * 2013-04-19 2014-11-13 清水建設株式会社 手術室用照明装置及びこれを備えた手術室
CN109724010A (zh) * 2018-12-28 2019-05-07 宁波凯勒电气有限公司 一种用于动物手术的冷光卤素光纤灯
CN119216944A (zh) * 2024-10-31 2024-12-31 中国二十二冶集团有限公司 多功能焊接台

Families Citing this family (2)

* Cited by examiner, † Cited by third party
Publication number Priority date Publication date Assignee Title
KR102369664B1 (ko) * 2021-09-13 2022-03-03 주식회사 제이니스 원격지 이석관리대상자 이석관리방법
KR20230048743A (ko) * 2021-10-05 2023-04-12 의료법인 명지의료재단 에어 분사 기능이 구비된 무영수술등

Citations (3)

* Cited by examiner, † Cited by third party
Publication number Priority date Publication date Assignee Title
JPS58178221U (ja) * 1982-05-24 1983-11-29 三菱電機株式会社 螢光灯
JPH02150610U (ja) * 1989-05-23 1990-12-27
JP2008103195A (ja) * 2006-10-19 2008-05-01 Matsushita Electric Works Ltd Led照明装置

Patent Citations (3)

* Cited by examiner, † Cited by third party
Publication number Priority date Publication date Assignee Title
JPS58178221U (ja) * 1982-05-24 1983-11-29 三菱電機株式会社 螢光灯
JPH02150610U (ja) * 1989-05-23 1990-12-27
JP2008103195A (ja) * 2006-10-19 2008-05-01 Matsushita Electric Works Ltd Led照明装置

Cited By (3)

* Cited by examiner, † Cited by third party
Publication number Priority date Publication date Assignee Title
JP2014210091A (ja) * 2013-04-19 2014-11-13 清水建設株式会社 手術室用照明装置及びこれを備えた手術室
CN109724010A (zh) * 2018-12-28 2019-05-07 宁波凯勒电气有限公司 一种用于动物手术的冷光卤素光纤灯
CN119216944A (zh) * 2024-10-31 2024-12-31 中国二十二冶集团有限公司 多功能焊接台

Also Published As

Publication number Publication date
JP5222644B2 (ja) 2013-06-26

Similar Documents

Publication Publication Date Title
US12152596B2 (en) Combination irradiation chamber and LED light source
EP2413018B1 (en) Lamp
US7815327B2 (en) Integrated light fixture and ventilation means
US9310096B2 (en) Overhead support system having adjustable lighting elements
JP5222644B2 (ja) 照明装置
CA2913472C (en) Illuminating airflow panel assembly
JP5626588B2 (ja) 空調システム
US20110122603A1 (en) Integrated laboratory light fixture
JP6481283B2 (ja) 手術室
WO2016156581A1 (en) Improved system and method for ventilation and illumination of an operating room
JP2013072626A (ja) 照明器具付き空気調和装置
JP2020134027A (ja) 室内ユニット
JP2015121383A (ja) 斜流式空気清浄装置、及び開口型手術室用照明器具を備えた手術室
JP6279890B2 (ja) 給気ユニットおよび手術室の空調システム、手術室の空調方法
JP4721736B2 (ja) 天井埋込型空気調和装置
JP4502851B2 (ja) 天井埋込型空気調和装置
JP5991570B2 (ja) 空調システム
JP2018194258A (ja) 空調システム
JP2009250551A (ja) 換気システム
JP2019188054A (ja) 手術室空調システム
CN117928021A (zh) 空调机的室内机及空调机
JP2023167485A (ja) 空気処理装置
KR20230071221A (ko) 공기 조화기
KR20230071222A (ko) 공기 조화기
JP2013164945A (ja) 照明器具

Legal Events

Date Code Title Description
A621 Written request for application examination

Free format text: JAPANESE INTERMEDIATE CODE: A621

Effective date: 20110516

A977 Report on retrieval

Free format text: JAPANESE INTERMEDIATE CODE: A971007

Effective date: 20120913

A131 Notification of reasons for refusal

Free format text: JAPANESE INTERMEDIATE CODE: A131

Effective date: 20121002

A521 Request for written amendment filed

Free format text: JAPANESE INTERMEDIATE CODE: A523

Effective date: 20121130

TRDD Decision of grant or rejection written
A01 Written decision to grant a patent or to grant a registration (utility model)

Free format text: JAPANESE INTERMEDIATE CODE: A01

Effective date: 20130305

A61 First payment of annual fees (during grant procedure)

Free format text: JAPANESE INTERMEDIATE CODE: A61

Effective date: 20130311

FPAY Renewal fee payment (event date is renewal date of database)

Free format text: PAYMENT UNTIL: 20160315

Year of fee payment: 3

R150 Certificate of patent or registration of utility model

Ref document number: 5222644

Country of ref document: JP

Free format text: JAPANESE INTERMEDIATE CODE: R150

Free format text: JAPANESE INTERMEDIATE CODE: R150

LAPS Cancellation because of no payment of annual fees