JP2010024451A - 粒状床と粒状床中を流れる本質的に液体の相および本質的に気体の相とを含む処理または水素化処理反応器 - Google Patents

粒状床と粒状床中を流れる本質的に液体の相および本質的に気体の相とを含む処理または水素化処理反応器 Download PDF

Info

Publication number
JP2010024451A
JP2010024451A JP2009164689A JP2009164689A JP2010024451A JP 2010024451 A JP2010024451 A JP 2010024451A JP 2009164689 A JP2009164689 A JP 2009164689A JP 2009164689 A JP2009164689 A JP 2009164689A JP 2010024451 A JP2010024451 A JP 2010024451A
Authority
JP
Japan
Prior art keywords
chimney
reactor
bed
gas
liquid phase
Prior art date
Legal status (The legal status is an assumption and is not a legal conclusion. Google has not performed a legal analysis and makes no representation as to the accuracy of the status listed.)
Granted
Application number
JP2009164689A
Other languages
English (en)
Other versions
JP5528021B2 (ja
Inventor
Frederic Augier
フレデリク オジエ
Christophe Boyer
クリストフ ボイエ
Current Assignee (The listed assignees may be inaccurate. Google has not performed a legal analysis and makes no representation or warranty as to the accuracy of the list.)
IFP Energies Nouvelles IFPEN
Original Assignee
IFP Energies Nouvelles IFPEN
Priority date (The priority date is an assumption and is not a legal conclusion. Google has not performed a legal analysis and makes no representation as to the accuracy of the date listed.)
Filing date
Publication date
Application filed by IFP Energies Nouvelles IFPEN filed Critical IFP Energies Nouvelles IFPEN
Publication of JP2010024451A publication Critical patent/JP2010024451A/ja
Application granted granted Critical
Publication of JP5528021B2 publication Critical patent/JP5528021B2/ja
Expired - Fee Related legal-status Critical Current
Anticipated expiration legal-status Critical

Links

Images

Classifications

    • BPERFORMING OPERATIONS; TRANSPORTING
    • B01PHYSICAL OR CHEMICAL PROCESSES OR APPARATUS IN GENERAL
    • B01JCHEMICAL OR PHYSICAL PROCESSES, e.g. CATALYSIS OR COLLOID CHEMISTRY; THEIR RELEVANT APPARATUS
    • B01J8/00Chemical or physical processes in general, conducted in the presence of fluids and solid particles; Apparatus for such processes
    • B01J8/02Chemical or physical processes in general, conducted in the presence of fluids and solid particles; Apparatus for such processes with stationary particles, e.g. in fixed beds
    • B01J8/0278Feeding reactive fluids
    • BPERFORMING OPERATIONS; TRANSPORTING
    • B01PHYSICAL OR CHEMICAL PROCESSES OR APPARATUS IN GENERAL
    • B01JCHEMICAL OR PHYSICAL PROCESSES, e.g. CATALYSIS OR COLLOID CHEMISTRY; THEIR RELEVANT APPARATUS
    • B01J8/00Chemical or physical processes in general, conducted in the presence of fluids and solid particles; Apparatus for such processes
    • B01J8/02Chemical or physical processes in general, conducted in the presence of fluids and solid particles; Apparatus for such processes with stationary particles, e.g. in fixed beds
    • B01J8/04Chemical or physical processes in general, conducted in the presence of fluids and solid particles; Apparatus for such processes with stationary particles, e.g. in fixed beds the fluid passing successively through two or more beds
    • B01J8/0492Feeding reactive fluids
    • BPERFORMING OPERATIONS; TRANSPORTING
    • B01PHYSICAL OR CHEMICAL PROCESSES OR APPARATUS IN GENERAL
    • B01JCHEMICAL OR PHYSICAL PROCESSES, e.g. CATALYSIS OR COLLOID CHEMISTRY; THEIR RELEVANT APPARATUS
    • B01J8/00Chemical or physical processes in general, conducted in the presence of fluids and solid particles; Apparatus for such processes
    • B01J8/18Chemical or physical processes in general, conducted in the presence of fluids and solid particles; Apparatus for such processes with fluidised particles
    • B01J8/1818Feeding of the fluidising gas
    • B01J8/1827Feeding of the fluidising gas the fluidising gas being a reactant
    • BPERFORMING OPERATIONS; TRANSPORTING
    • B01PHYSICAL OR CHEMICAL PROCESSES OR APPARATUS IN GENERAL
    • B01JCHEMICAL OR PHYSICAL PROCESSES, e.g. CATALYSIS OR COLLOID CHEMISTRY; THEIR RELEVANT APPARATUS
    • B01J8/00Chemical or physical processes in general, conducted in the presence of fluids and solid particles; Apparatus for such processes
    • B01J8/18Chemical or physical processes in general, conducted in the presence of fluids and solid particles; Apparatus for such processes with fluidised particles
    • B01J8/20Chemical or physical processes in general, conducted in the presence of fluids and solid particles; Apparatus for such processes with fluidised particles with liquid as a fluidising medium
    • B01J8/22Chemical or physical processes in general, conducted in the presence of fluids and solid particles; Apparatus for such processes with fluidised particles with liquid as a fluidising medium gas being introduced into the liquid
    • CCHEMISTRY; METALLURGY
    • C10PETROLEUM, GAS OR COKE INDUSTRIES; TECHNICAL GASES CONTAINING CARBON MONOXIDE; FUELS; LUBRICANTS; PEAT
    • C10GCRACKING HYDROCARBON OILS; PRODUCTION OF LIQUID HYDROCARBON MIXTURES, e.g. BY DESTRUCTIVE HYDROGENATION, OLIGOMERISATION, POLYMERISATION; RECOVERY OF HYDROCARBON OILS FROM OIL-SHALE, OIL-SAND, OR GASES; REFINING MIXTURES MAINLY CONSISTING OF HYDROCARBONS; REFORMING OF NAPHTHA; MINERAL WAXES
    • C10G49/00Treatment of hydrocarbon oils, in the presence of hydrogen or hydrogen-generating compounds, not provided for in a single one of groups C10G45/02, C10G45/32, C10G45/44, C10G45/58 or C10G47/00
    • C10G49/002Apparatus for fixed bed hydrotreatment processes

Landscapes

  • Chemical & Material Sciences (AREA)
  • Organic Chemistry (AREA)
  • Chemical Kinetics & Catalysis (AREA)
  • Engineering & Computer Science (AREA)
  • Combustion & Propulsion (AREA)
  • Oil, Petroleum & Natural Gas (AREA)
  • General Chemical & Material Sciences (AREA)
  • Devices And Processes Conducted In The Presence Of Fluids And Solid Particles (AREA)
  • Catalysts (AREA)
  • Production Of Liquid Hydrocarbon Mixture For Refining Petroleum (AREA)
  • Cleaning By Liquid Or Steam (AREA)
  • Cleaning In General (AREA)

Abstract

【課題】気相と液相を分散させる装置を含む反応器において気相と液相を均質に分散させる。
【解決手段】本発明は、少なくとも1つの粒状床(12)と、反応器の底部に存在し界面(38)によって分けられた本質的に液体の相(L)および本質的に気体の相(G)と、液相(L)を該床に向かって流通させることを可能にする少なくとも1つの主チムニー(32)および気相(G)を前記床中に供給する少なくとも1つの通路(30)を有する分散板(20)とを含む処理または水素化処理反応器に関する。本発明によれば、板(20)はさらに、液相を該床に向かって流通させ、または気相を前記床中へ供給する少なくとも1つの混合チムニー(34)を含む。
【選択図】図1

Description

発明の分野
本発明は、反応器内を上昇並流(ascending co−current flow)として流通する(circulate)少なくとも1つの気相および少なくとも1つの液相を分散させる装置を含む反応器に関する。
本発明は特に、そのような装置が、固体粒子、場合によっては触媒粒子の粒状床(granular bed)からなることができる反応ゾーンまたは気/液接触ゾーンの上流に配置された反応器に関する。
本発明は特に、重質原油(heavy crude)からの留分の触媒処理など、流体供給原料の処理(treatment)または水素化処理(hydrotreatment)用に意図された反応器に関する。
発明の背景
固定触媒床を有するタイプの反応器では、気相および液相を可能な限り均質に分散させる必要があることは広く知られている。
反応器内での気−液接触を最適化し、この反応器のさまざまなゾーンをほぼ同様に操作するため、これら2相を、この反応器の正前断面(frontal section)全体に沿って可能な限り均等かつ均一に分散させることも必要である。
米国特許第3441418号によって既に知られているように、この分散は、垂直チムニー(chimney)および貫通孔(perforation)を備えた分散板(distribution plate)によって達成することができる。分散板の目的は、ほとんどの場合に円筒形である反応器の断面全体にわたって実質的に均一な気相および液相の分散を達成することである。
このタイプの分散板はさらに、板の貫通孔を通して気相を分散させ、チムニーを通して液相を分散させることを可能にする。
米国特許第6123323号は、液体と気体の混合物が供給された反応器内の上昇流中で使用することができる分散装置を記載している。
この装置は、反応器の断面全体の全部または一部を占め、気体と液体が分けられている容積の範囲を画定する分散板からなる。気体は次いで、前記板の断面全体にわたって分布したオリフィスを通って流れる。これとは別に、液体は、前記板を貫通し、液/気界面の下に延びる垂直チムニーを通って、または反応器断面の前記板によって覆われていない部分を通って流れる。
密閉容器(enclosure)の底部に位置するラインを通して気体および液体が供給されるこの反応器は技術的に興味深いが、かなりの欠点を含む。
実際、反応器の断面全体への気体の分散が良好でなく、気体柱(gas column)が一般に反応器の中心に立ち昇るため、操作が最適化されない。これは、分散板の下方にある気−液界面を乱し、この板の下方における気体の分散が良好でなくなる。
さらに、場合によっては、望まれない形態として気体がチムニーに入りうる。気体柱の場合、その結果、気体の分散が良好でなくなり、この気体のより大きな割合が前記板の中心ゾーンに存在するようになる。
したがってさらに、この気体の離脱(gas disengagement)は、流れの脈動を引き起こし気体の分散を局所的に不均衡にする恐れのある相当な乱れを生み出す。
米国特許第3441418号公報 米国特許第6123323号公報
本発明は、気−液界面が乱れた場合であっても、液相の分散を乱すことなく、反応器の断面全体に沿って気相を均等に分散させることを可能にする分散板を含む触媒床反応器によって、上記の欠点を克服することを目指す。
発明の概要
したがって本発明は、少なくとも1つの充填床と、反応器の底部に存在し、界面によって分けられた本質的に液体の相および本質的に気体の相と、液相を前記床に向かって流通させることを可能にする少なくとも1つの主チムニーおよび気相を前記床中に供給する少なくとも1つの通路を有する分散板とを含む処理または水素化処理反応器において、前記板がさらに、液相を前記床に向かって流通させ、または気相を前記床中へ供給する少なくとも1つの混合チムニーを含むことを特徴とする処理または水素化処理反応器に関する。
混合チムニーは、主チムニーの高さより小さく、前記通路の高さより大きい高さを含むことができる。
混合チムニーは、主チムニーの流動断面積(cross−sectional flow area)より小さい流体流動断面積(cross−sectional area of fluid flow)を含むことができる。
混合チムニーは、両端が開いた管とすることができ、その流体流動断面積をこの管の直径断面(diametral section)とすることができる。
混合チムニーは、両端が開いた管とすることができ、その流体流動断面積を、この混合チムニーの直径断面に対する制限物(restriction of the diametral section)とすることができる。
該制限物は、混合チムニーの一端に配置された中空ワッシャとすることができる。
混合チムニーは、下端が閉じた管とすることができ、このチムニーの流動断面積を、このチムニーの周囲壁に設けられた少なくとも1つのオリフィスとすることができる。
主チムニーを、前記板に設けられた、そのチムニーより大きな直径寸法の穴の中に同軸に収容することができる。
混合チムニーを、主チムニーと前記穴の間に、それらと同軸に配置することができる。
図の簡単な説明
本発明の他の特徴および利点は、添付図面を参照し、非限定的な例として示された以下の説明を読むことにより明らかとなろう。
分散板を含む本発明による反応器の部分軸方向断面図である。 本発明による反応器の一変形形態の拡大部分図である。 本発明による反応器の別の変形形態の別の拡大部分図である。 (a)は本発明による反応器の第3の変形形態の別の拡大部分図であり、(b)はそのチムニーおよび通路部の下面図である。
詳細な説明
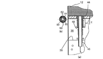
図1において、細長い垂直管の形状を有することが好ましい密閉型反応器(closed reactor)10は一般に、その上部に、少なくとも1つの粒状床12を形成することを可能にする生成物供給手段(means for supplying products)(図示せず)を含む。
粒状床と呼ばれるものは、寸法が数ミリメートル程度の粒(grains)形状を有する一群の固体粒子であり、有利には、これらの固体粒子が、未使用触媒や再生触媒からなる触媒床を形成することを可能にする触媒活性を有する。
同様に、上で使用された反応器という用語が、密閉容器(enclosures)および塔(columns)に関することは明白である。
この反応器は、反応器の底部14の領域、好ましくは反応器の底部14の中央のゾーンに、気相と液相の供給混合物18(または供給原料)を送るライン16を含む。
有利には、気相が、純粋な水素を含む混合物、または純粋な水素、残留水素および気化した炭化水素を含む混合物を含み、液相が本質的に炭化水素を含む。
場合によっては、供給混合物が、水と空気または酸素、1種以上の炭化水素と空気または酸素など、他の相を含むことができる。
粒状床は、この反応器の下部において、反応器の底部14からある距離を置いて配置され、反応器の周囲壁(peripheral wall)22まで延びる横断多孔板20によって仕切られている。横断多孔板20の目的については後に説明する。
広く知られているとおり、このような反応器は、上昇流動条件下で操作されているこの反応器内で気体および液体の流れを分散させ、混合することを可能にする。したがって、所望の触媒反応を得るためには、気/液/固体反応接触を達成する必要がある。したがって、粒状床の触媒は、反応器内で動かないように維持するか、または気体/液体流によって泡で隆起される(ebullated)。
図1から分かるとおり、分散板20は粒状床12の境界を画定し、配送ライン16および反応器の底部14の下流に配置される。
この板は、反応器の周囲壁22まで反応器の断面全体を占める平板24からなる。
この板24は、板24を貫通する多数の穴26、28、30を含む。穴26は、供給混合物の本質的に液体の相Lによって通り抜けられる(traversed)ことが意図された、両端が開いた垂直中空管32(以下の説明では「主チムニー(main chimney)」と呼ぶ)を隙間がないように受け入れる。穴28は、「混合チムニー(mixed chimney)」と呼ぶやはり両端が開いた垂直中空管34を隙間がないように受け入れる。これらの混合チムニーは、供給混合物の本質的に液体の相Lまたは供給混合物の本質的に気体の相Gによって通り抜けられる。板24の穴30はそのまま、好ましくは中空管なしで使用され、混合物の本質的に気体の相Gによって通り抜けられる通路(passage)を形成する。
分散板はしたがって、一連の主チムニー32、一連の混合チムニー34および一連の通路30からなる。
この板はしたがって、反応器の底部から粒状床への気体および液体の連通を可能にする。
主チムニー32の軸方向の高さHは混合チムニー34の軸方向の高さH’より大きく、混合チムニー34の軸方向の高さH’は、ここでは板24の厚さEと一致する(merge)通路30の高さより大きい。高さHおよびH’はそれぞれ、板24の下面と流体が導入される主チムニーおよび混合チムニーの開いた下端との間とみなされる。
半径方向に考える主チムニー32の流動断面積S1は、混合チムニー34の流動断面積S2および通路30の流動断面積S3より大きいことが好ましい。断面積S2とS3が互いに等しいことが有利であるが、断面積S1より小さい限り、これらが異なってもよい。
ここで、断面積S1からS3は、流体(気体または液体)がそこを通って床12に向かって流通する開口の断面積に対応する。断面積S1およびS2は、主チムニー32および混合チムニー34を形成する管の内直径断面(diametral section)のレベルとみなされ、断面積S3は、通路30の直径断面に対応する。
もちろん、通路、チムニーおよびこれらのチムニーに備わる穴は、円形、楕円形または他の形状の互いに同一のまたは互いに異なる任意の形状の断面幾何形状を有することができる。
同様に、板24上のチムニー32、34および通路30の数、レイアウトおよびサイズも、当業者に知られている任意の技法に従い、気体流量の所望の最小および最大操作値に応じて選択される。
より正確には、いかなる気体流量の操作範囲であっても、それは、板20の下方の気体オーバヘッド(gas overhead)36および主チムニー32の下端より上に位置する液/気界面38の形成を可能にするべきである。
好ましくは、図1に例示されているように、主チムニー32は、混合物の液相Lによって通り抜けられ、混合チムニーおよび通路30はこの混合物の気相Gによって通り抜けられる。したがって、主チムニー32の下端は、反応器の底部14に収容される供給混合物18中にあり、主チムニーの上端は粒状床12と連通する。
同様に、混合チムニー34の下端は気体オーバヘッド36中にあり、その上端は粒状床12と連通する。
通路30は、気体オーバヘッド36を粒状床12と連通させることを可能にする。
有利には、既に知られているように、板20と粒状床を支持する格子(grate)との間に空間を設けることが可能である。
これは、液相および/または気相が高速で流通する場合に、板の圧力降下を制限することを可能にする。
本明細書で使用される用語「より大きい」および「より小さい」は、図1に示された反応器の図に関連して考慮されるべきである。
この反応器の操作中に、ライン16を通して反応器の底部14に供給混合物が供給される。この混合物が分散板20に向かって上昇するにつれて、混合物中に含まれる気相が混合物から離脱する。この離脱した気相は板20の下まで達し、気体オーバヘッド36を形成し、この気体オーバヘッドと供給混合物から脱気された液相との間に気/液界面38が生じる。
もちろん、既に述べたとおり、気体オーバヘッド36は、各種チムニーおよび通路によって達成される圧力降下の結果生じ、これらのチムニーおよび通路の数、寸法および構成は、界面38が、最適には、主チムニー32の下端より上、かつ混合チムニーの下端より下に位置し、最悪の場合でも、混合チムニーの下端より上に位置するが、板20の下面には達しないように決定される。
したがって、図1の構成では、脱気された液相Lは主チムニー32を通って床12に達し、一方、オーバヘッド36の離脱した気相Gは、混合チムニー34と通路30の両方を通って流通した後、やはり床12に達する。
有利には板20の全体に沿って一様に分散されたこれらの液相および気相は、上昇しながら床の中を流れて所望の化学反応を達成し、最終的に、当業者に知られている任意の手段によって床を出る。
もちろん、界面38が混合チムニー34の下端より上に位置する反応器構成では、オーバヘッド36の気相が通路30だけを通り、脱気された液相が、主チムニー32と混合チムニー34の両方を通って流れ、床12に達する。
したがって、この板は、2タイプのチムニーが存在することにより、気体および液体流量に関してより高い使用柔軟性を可能にする。
さらに、この板は、高さの低いチムニーを使用することにより、反応器をコンパクトにする要求を満たすことを可能にする。
その上、この反応器は、特に気体流量が増大するときに、多数の気体流通チャネル(channel)を使用し、同時に気体の合体(gas coalescence)を防ぐことを可能にする。
図2の変形形態は、混合チムニー34’が、主チムニーの直径断面と同一の直径断面を含み、主チムニー32の流動断面積S1より小さい流動断面積S2を有する点が図1とは異なる。
このより小さな流動断面積は、混合チムニー34’が制限物(restriction)40を持つことによって得られる。有利には、この断面制限物が、好ましくは中心が空洞のワッシャからなり、そのワッシャの外直径が、このチムニーを形成する管の内直径と一致し、そのワッシャの内直径が、流動断面積S2を画定することを可能にする。
この制限物は、混合チムニーの一端または他端に配置されることが好ましいが、この制限物を、混合チムニーの二つの端の間の任意の位置に配置することもできる。
図3の変形形態では、反応器の底部の方向の混合チムニー34’’の下端が閉じられ、上端は依然として粒状床12と連通する。気体オーバヘッド36を床12と連通させるため、混合チムニーの周囲壁が少なくとも1つのオリフィス(orifice)42を備える。ここでは円形であるこのオリフィスは、大きさが図1または2の流動断面積S2と一致する流動断面積S2を含む。
したがって、混合チムニー34を通って床12に達する前にオーバヘッド36の気相が導入されるのはこのオリフィスを通してであり、このオリフィスの最下点が、板24の下面とともに、このチムニーの高さH’を決定する。
もちろん、円周方向に互いに隣り合って配置された多数のオリフィス42、または軸方向に互いに上下に並べて配置された多数のオリフィス42、あるいはこれらの2つのオリフィスレイアウトを組み合わせた多数のオリフィス42を提供することができる。
同様に、このオリフィスは、スロット(slot)など、円形以外の形状を有することができる。
図4の変形形態では、板24が、主チムニーと混合チムニーの両方を同軸に収容し、前述の通路を形成する好ましくは円形の穴44を備える。
この図から分かるとおり、主チムニー46と混合チムニー48は互いに同軸に収容され、同時に穴44と同軸に配置される。したがって、これらの穴44は、混合チムニー48の半径より大きな半径を有し、混合チムニー48は主チムニー46より大きな半径を有する。
同様に、主チムニーの高さHは混合チムニーの高さH’より大きく、混合チムニーの高さH’は、ここでは板24の厚さEと一致する穴44の高さより大きい。
有利には、図4により明らかに示されているように、主および混合チムニーの上端が穴44の中に収容され、これらの上端が同じ水平面に配置される。
もちろん、当業者は、例えば主チムニーの外周(periphery)と混合チムニーの内周との間に溶接された放射状ブレース(brace)50、および混合チムニーの外周と穴44の内周との間に溶接されたブレース52など、これらの各種チムニーおよび穴の組立てを可能にする任意の手段を検討することができる。
この構成では、流動断面積S1が主チムニーの直径断面に対応し、流動断面積S2が、主チムニーの外周と混合チムニーの内周との間の横断面積に対応し、流動断面積S3が、混合チムニーの外周と穴44の周との間の横断面積に対応する。
図1から3に関して上で述べたとおり、流動面積S1は流動面積S2より大きく、流動面積S2は、流動面積S3より大きいか、または流動面積S3に等しい。
したがって、主チムニー46の下端は、脱気された液相中にあり、上端は粒状床12中に開き、したがって、液相が、この粒状床に向かって流れることを可能にする。主チムニーと混合チムニーの間の流動断面S2、および混合チムニーと穴44の間の流動断面S3は、気相が流通し、気体オーバヘッド36から床12へ流れることを可能にする。
本発明は、記載された実施形態例に限定されず、任意の変形実施形態および等価実施形態を包含する。
特に、気体オーバヘッドおよび液/気界面を形成するため、上述の供給混合物の代わりに、第1の供給手段によって反応器の底部に液相Lを供給し、別の供給手段によって分散板の下に気相Gを注入することを検討することが可能である。
10 反応器
12 粒状床
14 反応器底部
18 供給混合物
20 分散板
30 通路
32 主チムニー
34 混合チムニー
36 気体オーバヘッド
38 界面
40 制限物
42 オリフィス
44 穴
46 主チムニー
48 混合チムニー

Claims (9)

  1. 少なくとも1つの充填床(12)と、反応器の底部に存在し、界面(38)によって分けられた本質的に液体の相(L)および本質的に気体の相(G)と、前記液相(L)を前記床に向かって流通させることを可能にする少なくとも1つの主チムニー(32)および前記気相(G)を前記床中に供給する少なくとも1つの通路(30)を有する分散板(20)とを含む処理または水素化処理反応器において、板(20)がさらに、前記液相を前記床に向かって流通させ、または前記気相を前記床中へ供給する少なくとも1つの混合チムニー(34)を含むことを特徴とする処理または水素化処理反応器。
  2. 混合チムニー(34)が、主チムニー(32)の高さ(H)より小さく、通路(30)の高さ(E)より大きい高さ(H’)を含むことを特徴とする、請求項1に記載の処理または水素化処理反応器。
  3. 混合チムニー(34)が、主チムニー(32)の流動断面積(S1)より小さい流体流動断面積(S2)を含むことを特徴とする、請求項1または2に記載の処理または水素化処理反応器。
  4. 混合チムニー(34)が両端が開いた管であり、その流体流動断面積(S2)がこの管の直径断面であることを特徴とする、請求項3に記載の処理または水素化処理反応器。
  5. 混合チムニー(34)が両端が開いた管であり、その流体流動断面積(S2)が、この混合チムニーの直径断面に対する制限物(40)であることを特徴とする、請求項3に記載の処理または水素化処理反応器。
  6. 前記制限物が、混合チムニー(34)の一端に配置された中空ワッシャ(40)であることを特徴とする、請求項5に記載の処理または水素化処理反応器。
  7. 前記混合チムニーが下端が閉じた管であり、前記混合チムニーの流動断面積(S2)が、このチムニーの周囲壁に設けられた少なくとも1つのオリフィス(42)であることを特徴とする、請求項3に記載の処理または水素化処理反応器。
  8. 主チムニー(46)が、前記板に設けられ、該チムニーより大きな直径寸法の穴(44)の中に同軸に収容されていることを特徴とする、請求項1から3のいずれかに記載の処理または水素化処理反応器。
  9. 混合チムニー(48)が、主チムニー(46)と穴(44)の間に、それらと同軸に配置されていることを特徴とする、請求項8に記載の処理または水素化処理反応器。
JP2009164689A 2008-07-15 2009-07-13 粒状床と粒状床中を流れる本質的に液体の相および本質的に気体の相とを含む処理または水素化処理反応器 Expired - Fee Related JP5528021B2 (ja)

Applications Claiming Priority (2)

Application Number Priority Date Filing Date Title
FR0804057 2008-07-15
FR0804057A FR2933877B1 (fr) 2008-07-15 2008-07-15 Reacteur de traitement ou d'hydrotraitement avec un lit granulaire ainsi qu'une phase essentiellement liquide et une phase essentiellement gazeuse traversant le lit

Publications (2)

Publication Number Publication Date
JP2010024451A true JP2010024451A (ja) 2010-02-04
JP5528021B2 JP5528021B2 (ja) 2014-06-25

Family

ID=40417154

Family Applications (1)

Application Number Title Priority Date Filing Date
JP2009164689A Expired - Fee Related JP5528021B2 (ja) 2008-07-15 2009-07-13 粒状床と粒状床中を流れる本質的に液体の相および本質的に気体の相とを含む処理または水素化処理反応器

Country Status (11)

Country Link
US (1) US7988928B2 (ja)
EP (1) EP2151277B1 (ja)
JP (1) JP5528021B2 (ja)
KR (1) KR101608988B1 (ja)
CN (1) CN101628216B (ja)
BR (1) BRPI0902190A2 (ja)
ES (1) ES2716830T3 (ja)
FR (1) FR2933877B1 (ja)
RU (1) RU2500451C2 (ja)
SA (1) SA109300454B1 (ja)
SG (1) SG158812A1 (ja)

Cited By (1)

* Cited by examiner, † Cited by third party
Publication number Priority date Publication date Assignee Title
US11406911B2 (en) 2017-07-07 2022-08-09 Lg Chem, Ltd. Dispersion plate and purification column including the same

Families Citing this family (9)

* Cited by examiner, † Cited by third party
Publication number Priority date Publication date Assignee Title
CN102443410B (zh) * 2010-10-13 2013-12-04 中国石油化工股份有限公司 一种延长加氢装置运转周期的方法
CN102443411B (zh) * 2010-10-13 2013-12-04 中国石油化工股份有限公司 一种延长加氢装置运转周期的工艺方法
CN102441349B (zh) * 2010-10-13 2013-11-20 中国石油化工股份有限公司 一种减少催化剂撇头的加氢工艺方法
CA2823332A1 (en) * 2010-12-29 2012-07-05 Ivanhoe Energy Inc. Method, system, and apparatus for lift gas distribution
CN103102939B (zh) * 2011-11-10 2015-02-18 中国石油化工股份有限公司 一种减少催化剂撇头的加氢工艺方法
US10441932B2 (en) 2017-06-28 2019-10-15 Uop Llc Apparatus for vapor-liquid distribution
US11154793B2 (en) * 2018-03-28 2021-10-26 Uop Llc Apparatus for gas-liquid contacting
CN111229142B (zh) * 2020-02-04 2021-07-20 湖北能泰科技有限公司 一种用于有机物和无机物反应的控制装置以及控制方法
CN114682171A (zh) * 2022-04-15 2022-07-01 北京海望氢能科技有限公司 有机液体高效脱氢或加氢反应器及脱氢或加氢工艺系统

Citations (3)

* Cited by examiner, † Cited by third party
Publication number Priority date Publication date Assignee Title
US3197286A (en) * 1963-02-18 1965-07-27 Hydrocarbon Research Inc Liquid phase reactor
US3441498A (en) * 1967-03-15 1969-04-29 Atlantic Richfield Co Hydrogenation method and apparatus
JP2000506924A (ja) * 1996-03-18 2000-06-06 シェブロン ユー.エス.エー.インコーポレイテッド 炭化水素供給物流を水素化処理するためのガス・ポケット分配器及び方法

Family Cites Families (16)

* Cited by examiner, † Cited by third party
Publication number Priority date Publication date Assignee Title
US3441418A (en) * 1964-08-01 1969-04-29 Yozo Nishikiori Production of instant-type cream puffs
US3414386A (en) * 1965-07-15 1968-12-03 Cities Service Res & Dev Co Reaction vessel for improved temperature regulation in exothermic reactions
SU559712A1 (ru) * 1974-06-04 1977-05-30 Проектно-конструкторское бюро по проектированию оборудования для производства пластических масс и синтетических смол Способ взаимодействи потоков газа (пара) и жидкости
US4526757A (en) * 1982-11-01 1985-07-02 Exxon Research And Engineering Co. Pulsed flow vapor-liquid reactor
US4707340A (en) * 1983-10-14 1987-11-17 Milligan John D Staged guide plate and vessel assembly
ZA847002B (en) * 1983-10-14 1985-05-29 Hri Inc Staged flow distribution grid assembly and method for ebullated bed reactor
FR2633196B2 (fr) * 1987-11-30 1991-05-31 Inst Francais Du Petrole Appareil pour injecter une charge d'hydrocarbures dans un reacteur
CA2155969C (en) * 1993-02-17 2002-12-17 Shiyi Jin A multiple stage suspended reactive stripping process and apparatus
KR100298855B1 (ko) * 1996-08-07 2001-11-14 다나카 쇼소 기-액분산장치및기-액접촉장치및폐수처리장치
US5942197A (en) * 1996-08-23 1999-08-24 Exxon Research And Engineering Co Countercurrent reactor
US6960325B2 (en) * 2002-08-22 2005-11-01 Hydrocarbon Technologies Apparatus for hydrocracking and/or hydrogenating fossil fuels
RU2259859C2 (ru) * 2003-04-02 2005-09-10 Ковалев Игорь Сергеевич Контактное устройство для разделения компонентов смеси в ректификационной установке
DE60336317D1 (de) * 2003-09-19 2011-04-21 Urea Casale Sa Karbamatkondensationsverfahren
DE102005050284A1 (de) * 2005-10-20 2007-05-10 Basf Ag Verteilervorrichtung für ein Gas-Flüssigphasengemisch für Apparate
CN100427198C (zh) * 2006-09-01 2008-10-22 清华大学 一种多级反应器
FR2917306B1 (fr) * 2007-06-12 2011-04-15 Inst Francais Du Petrole Enceinte contenant un lit granulaire et une distribution d'une phase gazeuse et d'une phase liquide circulant en un ecoulement ascendant dans cette enceinte

Patent Citations (3)

* Cited by examiner, † Cited by third party
Publication number Priority date Publication date Assignee Title
US3197286A (en) * 1963-02-18 1965-07-27 Hydrocarbon Research Inc Liquid phase reactor
US3441498A (en) * 1967-03-15 1969-04-29 Atlantic Richfield Co Hydrogenation method and apparatus
JP2000506924A (ja) * 1996-03-18 2000-06-06 シェブロン ユー.エス.エー.インコーポレイテッド 炭化水素供給物流を水素化処理するためのガス・ポケット分配器及び方法

Cited By (1)

* Cited by examiner, † Cited by third party
Publication number Priority date Publication date Assignee Title
US11406911B2 (en) 2017-07-07 2022-08-09 Lg Chem, Ltd. Dispersion plate and purification column including the same

Also Published As

Publication number Publication date
FR2933877A1 (fr) 2010-01-22
EP2151277B1 (fr) 2019-01-23
US20100015018A1 (en) 2010-01-21
ES2716830T3 (es) 2019-06-17
SG158812A1 (en) 2010-02-26
JP5528021B2 (ja) 2014-06-25
RU2500451C2 (ru) 2013-12-10
CN101628216A (zh) 2010-01-20
CN101628216B (zh) 2013-09-04
US7988928B2 (en) 2011-08-02
RU2009127161A (ru) 2011-01-20
FR2933877B1 (fr) 2011-04-15
KR101608988B1 (ko) 2016-04-04
SA109300454B1 (ar) 2013-10-23
EP2151277A1 (fr) 2010-02-10
KR20100008339A (ko) 2010-01-25
BRPI0902190A2 (pt) 2010-04-13

Similar Documents

Publication Publication Date Title
JP5528021B2 (ja) 粒状床と粒状床中を流れる本質的に液体の相および本質的に気体の相とを含む処理または水素化処理反応器
KR100833826B1 (ko) 액체 혼합용 교반실을 갖는 혼합 장치
US5232283A (en) Apparatus for mixing concurrently, downwardly flowing fluids
US7473405B2 (en) Fluid distribution apparatus for downflow multibed poly-phase catalytic reactor
US3502445A (en) Apparatus for mixing fluids in concurrent downflow relationship
US9833759B2 (en) Fluid distribution device
EP1846150B1 (en) Distribution device for two-phase concurrent downflow vessels and method of distribution
KR20000064761A (ko) 탄화수소공급스트림의수소화공정방법및기체-포켓분배장치
JPH09225290A (ja) 触媒床を通過する多相混合物を分配するための板
CA2649327A1 (en) A fluid distribution tray and method for the distribution of a highly dispersed fluid across a bed of contact material
KR101574356B1 (ko) 입상 베드를 포함하는 엔클로져 및 이 엔클로져에서 상승류로 순환하는 기상 및 액상 분배 방법
US5534233A (en) Liquid flow control device, reactor using same and liquid flow control method
JP7158412B2 (ja) 流動媒体を含むチャンバ内の多相混合物を分配するための新規な装置
JPH09225289A (ja) 触媒床を通過する多相混合物を分配するための装置
KR101123590B1 (ko) 분배 장치
CN115942989A (zh) 用于在下流式反应器中分配流体的装置
JPH04166223A (ja) 並流型気液接触装置および気液反応装置
JP2007514514A (ja) 上昇流で流通する気相および液相を混合および分配するための封入スペース
PHASE et al. AUGIER et al.(43) Pub. Date: Jan. 21, 2010
CN115738915A (zh) 一种防偏流固定床反应器

Legal Events

Date Code Title Description
A621 Written request for application examination

Free format text: JAPANESE INTERMEDIATE CODE: A621

Effective date: 20120627

A977 Report on retrieval

Free format text: JAPANESE INTERMEDIATE CODE: A971007

Effective date: 20130927

A131 Notification of reasons for refusal

Free format text: JAPANESE INTERMEDIATE CODE: A131

Effective date: 20131015

A521 Request for written amendment filed

Free format text: JAPANESE INTERMEDIATE CODE: A523

Effective date: 20131227

TRDD Decision of grant or rejection written
A01 Written decision to grant a patent or to grant a registration (utility model)

Free format text: JAPANESE INTERMEDIATE CODE: A01

Effective date: 20140401

A61 First payment of annual fees (during grant procedure)

Free format text: JAPANESE INTERMEDIATE CODE: A61

Effective date: 20140415

R150 Certificate of patent or registration of utility model

Ref document number: 5528021

Country of ref document: JP

Free format text: JAPANESE INTERMEDIATE CODE: R150

R250 Receipt of annual fees

Free format text: JAPANESE INTERMEDIATE CODE: R250

R250 Receipt of annual fees

Free format text: JAPANESE INTERMEDIATE CODE: R250

R250 Receipt of annual fees

Free format text: JAPANESE INTERMEDIATE CODE: R250

R250 Receipt of annual fees

Free format text: JAPANESE INTERMEDIATE CODE: R250

R250 Receipt of annual fees

Free format text: JAPANESE INTERMEDIATE CODE: R250

R250 Receipt of annual fees

Free format text: JAPANESE INTERMEDIATE CODE: R250

LAPS Cancellation because of no payment of annual fees