JP2010017618A - 圧縮エア除湿システム - Google Patents
圧縮エア除湿システム Download PDFInfo
- Publication number
- JP2010017618A JP2010017618A JP2008178337A JP2008178337A JP2010017618A JP 2010017618 A JP2010017618 A JP 2010017618A JP 2008178337 A JP2008178337 A JP 2008178337A JP 2008178337 A JP2008178337 A JP 2008178337A JP 2010017618 A JP2010017618 A JP 2010017618A
- Authority
- JP
- Japan
- Prior art keywords
- air
- dehumidification
- tank
- moisture
- compressed air
- Prior art date
- Legal status (The legal status is an assumption and is not a legal conclusion. Google has not performed a legal analysis and makes no representation as to the accuracy of the status listed.)
- Pending
Links
- 238000007791 dehumidification Methods 0.000 title claims abstract description 95
- 239000002250 absorbent Substances 0.000 claims abstract description 47
- 230000002745 absorbent Effects 0.000 claims abstract description 47
- 238000003756 stirring Methods 0.000 claims abstract description 13
- 239000003230 hygroscopic agent Substances 0.000 claims description 59
- 238000001035 drying Methods 0.000 claims description 10
- 238000007664 blowing Methods 0.000 abstract 3
- 238000004519 manufacturing process Methods 0.000 description 17
- 238000010438 heat treatment Methods 0.000 description 10
- 239000002184 metal Substances 0.000 description 9
- XLYOFNOQVPJJNP-UHFFFAOYSA-N water Substances O XLYOFNOQVPJJNP-UHFFFAOYSA-N 0.000 description 7
- 238000001704 evaporation Methods 0.000 description 6
- 238000005265 energy consumption Methods 0.000 description 4
- 230000008020 evaporation Effects 0.000 description 4
- 238000010521 absorption reaction Methods 0.000 description 3
- 238000010586 diagram Methods 0.000 description 3
- 230000000694 effects Effects 0.000 description 3
- 239000000463 material Substances 0.000 description 2
- 230000001172 regenerating effect Effects 0.000 description 2
- 239000006096 absorbing agent Substances 0.000 description 1
- 238000013019 agitation Methods 0.000 description 1
- 239000003795 chemical substances by application Substances 0.000 description 1
- 230000006835 compression Effects 0.000 description 1
- 238000007906 compression Methods 0.000 description 1
- 238000007599 discharging Methods 0.000 description 1
- 230000005611 electricity Effects 0.000 description 1
- 230000007774 longterm Effects 0.000 description 1
- 230000008929 regeneration Effects 0.000 description 1
- 238000011069 regeneration method Methods 0.000 description 1
- 229920006395 saturated elastomer Polymers 0.000 description 1
Images
Landscapes
- Drying Of Gases (AREA)
Abstract
【課題】圧縮エア中に含む水分を除去する吸湿剤の再生に要するエネルギーを少なくすることを課題とする。
【解決手段】エアコンプレッサーACから除湿タンク2に供給される圧縮エアを、吸湿剤5が吸湿して後エア回路へ供給させる圧縮エア除湿システム1で、
除湿タンク2に吸湿剤5の一方側へ送気ファンFを接続し、吸湿剤5のこれとは異なる側に除湿二次側管路7を設け、除湿タンク2内にマイクロウェーブ発振器8を備え、発生したマイクロ波を除湿タンク2内で攪拌するマイクロウェーブ攪拌翼9とを備える。
そして、吸湿剤5の乾燥時、送気ファンFの送気エアがマイクロ波によって蒸発された吸湿剤5に吸湿された水分を除湿二次側管路7から排出させる。
【選択図】 図1
【解決手段】エアコンプレッサーACから除湿タンク2に供給される圧縮エアを、吸湿剤5が吸湿して後エア回路へ供給させる圧縮エア除湿システム1で、
除湿タンク2に吸湿剤5の一方側へ送気ファンFを接続し、吸湿剤5のこれとは異なる側に除湿二次側管路7を設け、除湿タンク2内にマイクロウェーブ発振器8を備え、発生したマイクロ波を除湿タンク2内で攪拌するマイクロウェーブ攪拌翼9とを備える。
そして、吸湿剤5の乾燥時、送気ファンFの送気エアがマイクロ波によって蒸発された吸湿剤5に吸湿された水分を除湿二次側管路7から排出させる。
【選択図】 図1
Description
この発明は、エア圧縮時に発生するエア内の湿気を乾燥させる圧縮エア除湿システムに係り、詳細には、コンプレッサーによりエアを圧縮する際に同様に圧縮されるエア中の水分を除去する圧縮エア除湿システムに関する。
自動車製造工場等の製造工場では、動力源として圧縮エアを多用している。そして、この圧縮エアは、エアコンプレッサーにより圧縮し、所定のタンクに貯留しておくこととなる。そして、圧縮エア使用時には、必要な箇所に該タンクからエア管路を施し、端末ではエアホース等によって所望の装置や工具に圧縮エアを供給している。
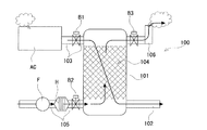
以下に、図面に基づき、従来のエアコンプレッサーにより圧縮した圧縮エアから水分を除去する除湿システムを説明する。
図3は、従来の圧縮エア除湿システム100である。圧縮エア除湿システム100は、エアコンプレッサーACから圧縮エアの供給を受けて除湿するための除湿タンク101が、エアコンプレッサーACと除湿タンク101の一次側となる一次側管路103によって接続され圧縮エアの供給を受けるように形成されている。この一次側管路103の途中には、エアバルブB1が設置され、除湿タンク101への圧縮エア供給量の調節や一次側管路103を完全に閉状態にすることが可能となっている。
除湿タンク101は中空な略円筒形状の金属製タンクであり、上部に一次側管路103が接続されており、下部側には製造工程で利用するために供給するための二次側供給管102が接続されており、内部中央に吸湿剤104が封入されている。この吸湿剤104は、上部に接続する一次側管路103から供給された圧縮エアが下部に接続する二次側管路102から供給される際に必ず吸湿剤104を通過するように設置されており、圧縮エア通過時に圧縮エアに含まれる水分を吸着除去可能である。
そして、二次側管路102からは、水分を除去した圧縮エアが生産工程へ供給されることとなる。
そして、二次側管路102からは、水分を除去した圧縮エアが生産工程へ供給されることとなる。
上記のように、製造工程への圧縮エアの供給では、一次側管路103から除湿タンク101内へ送られ吸湿剤104を通過して二次側管路102から製造工程へ供給する際に、吸湿剤104によって圧縮エア中の水分が除去されるが、吸湿剤104の除湿能力には限界があり、水分が飽和状態となると除湿が出来なくなる。
そこで除湿タンク101には、吸湿剤104に溜まった水分を外部に排出させて再び吸湿剤104に水分吸着を可能とさせるため、吸湿剤104を乾燥させる装置を備える。即ち、除湿タンク101には、送気ファンFを除湿一次側管路105により吸湿剤104の何れか一方の側(図3では吸湿剤104の下側)へ接続し、除湿二次側管路106を吸湿剤104の他方の側へ接続し、除湿二次側管路106は大気中へ開放する等して圧縮エア供給回路の外部へ排出可能にする。この除湿二次側管路106には、大気中と除湿タンク101との間に制御バルブB3を設ける。この制御バルブB3は、エアコンプレッサーACから除湿タンク101を経由させて圧縮エアを製造工程へ供給しているときには閉状態とさせ、吸湿剤104を乾燥させるときには、開状態とさせる。
この時、送気ファンFと除湿タンク101との間には、加熱器Hを設け、送気ファンFから除湿タンク101への送気を加熱可能に形成する。加熱器Hは、送気ファンFから送気されるエアを140℃程度まで加熱可能な加熱能力を有しており、吸湿剤104を通過する際に吸湿剤104に含まれる水分を蒸発温度以上に加熱可能である。
更に加熱器Hと除湿タンク101との間には、乾燥時バルブB2を設ける。この乾燥時バルブB2は、エアコンプレッサーACから除湿タンク101を経由させて圧縮エアを製造工程へ供給しているときには閉状態とさせ、吸湿剤104を乾燥させるときには、開状態とさせる。
この時、送気ファンFと除湿タンク101との間には、加熱器Hを設け、送気ファンFから除湿タンク101への送気を加熱可能に形成する。加熱器Hは、送気ファンFから送気されるエアを140℃程度まで加熱可能な加熱能力を有しており、吸湿剤104を通過する際に吸湿剤104に含まれる水分を蒸発温度以上に加熱可能である。
更に加熱器Hと除湿タンク101との間には、乾燥時バルブB2を設ける。この乾燥時バルブB2は、エアコンプレッサーACから除湿タンク101を経由させて圧縮エアを製造工程へ供給しているときには閉状態とさせ、吸湿剤104を乾燥させるときには、開状態とさせる。
そして、吸湿剤104を乾燥させる際には、エアコンプレッサーACの作動が止まっている状態でエアバルブB1を閉じ、除湿タンク101への圧縮エアの供給を停止させる。この時、図示しないが、二次側供給管102にバルブや逆止弁が取付けられており、且つ除湿タンク101の圧力を低下させるためのエア抜き弁が設けられており、除湿タンク101内の圧力を外気圧同様にしておき再び閉じる。
次いで、除湿一次側管路105を開状態とした後、送気ファンFを作動させると共に、加熱器Hを作動させる。
すると、送気ファンFから送気されるエアが加熱器Hによって加熱され、除湿タンク101に加熱エアとして供給されることとなる。除湿タンク101に供給された加熱エアは、吸湿剤104を通過して除湿二次側管路106から外部に開放される。
次いで、除湿一次側管路105を開状態とした後、送気ファンFを作動させると共に、加熱器Hを作動させる。
すると、送気ファンFから送気されるエアが加熱器Hによって加熱され、除湿タンク101に加熱エアとして供給されることとなる。除湿タンク101に供給された加熱エアは、吸湿剤104を通過して除湿二次側管路106から外部に開放される。
加熱器Hによって加熱された加熱エアが吸湿剤104を通過する際に、加熱エアの温度が水分の蒸発温度以上に加熱して通過していくので、この時に蒸発した蒸気が加熱エアと共に除湿二次側管路106から外部へ開放されることとなり、吸湿剤104の吸湿作用を回復させる。
そして、吸湿剤104からの水分の除去により吸湿剤104の再生が終了すると、再びエアコンプレッサーACによる圧縮エアの供給が行えるようになる。
そして、吸湿剤104からの水分の除去により吸湿剤104の再生が終了すると、再びエアコンプレッサーACによる圧縮エアの供給が行えるようになる。
しかしながら、上記のように送気ファンFにて送気するエアを加熱するために加熱器Hを用いると、加熱器の熱源が電気あるいは蒸気等によって送気されるエアとの間で熱交換を行い送気エアが加熱されることとなるが、加熱された送気エアは、除湿タンク101に送られると、吸湿剤104に貯留された水分を加熱させる他に、除湿タンク101や除湿タンク101に種々設けられている周辺のエア管路等の風袋の熱容量に見合って、加熱器Hによって加熱された加熱エアの熱量が費やされてしまうこととなるので、吸湿剤104に貯留された水分を蒸発させる以上に多くの熱量を必要としてしまい、エネルギー効率が悪いという問題点を有した。
また、吸湿剤104に貯留された水分を蒸発させるために費やされるエネルギーも、蒸発温度である100℃より充分に上の温度で加熱エアを供給しなければ、吸湿剤104に到達した加熱エアが確実に吸湿剤104貯留水分を蒸発させることが出来ないので、充分上の温度とさせるために余剰エネルギーが費やされることとなり、やはりエネルギー効率が悪いという問題点を有した。
また、吸湿剤104に貯留された水分を蒸発させるために費やされるエネルギーも、蒸発温度である100℃より充分に上の温度で加熱エアを供給しなければ、吸湿剤104に到達した加熱エアが確実に吸湿剤104貯留水分を蒸発させることが出来ないので、充分上の温度とさせるために余剰エネルギーが費やされることとなり、やはりエネルギー効率が悪いという問題点を有した。
更に、吸湿剤以外のものも吸湿剤と同様に加熱されることとなるので、吸湿剤以外の管路や除湿タンクそのものの痛みの発生が早くなってしまうという問題点を有した
この発明は、上記問題点に鑑み、吸湿剤に貯留した水分を効率的に蒸発させ、消費エネルギーの少ない乾燥が可能な圧縮エア除湿システムを提供する。
そこでこの発明では、吸湿剤に含まれた水分の蒸発を行う手段に改良を加え、中空な除湿タンク内に吸湿剤を設け、エアコンプレッサーから除湿タンクに供給される圧縮エアを、吸湿剤を通過させた後エア回路へ供給させる圧縮エア除湿システムにおいて、除湿タンクに接続され吸湿剤の一方側へエアを送気可能な送気ファンと、送気ファンの送気する側とは異なる吸湿剤の他方側で除湿タンクと接続される除湿二次側管路と、除湿タンク内に設置され、除湿タンク内にマイクロ波を発生させるマイクロウェーブ発振器とを備え、吸湿剤を乾燥させる際に、送気ファンが送気すると共にマイクロウェーブ発振器がマイクロ波を発生させて吸湿剤に吸湿された水分を蒸発させて除湿二次側管路から排出可能なことを特徴とする圧縮エア除湿システムを提供する。
また、更にこの発明では、中空な除湿タンク内に吸湿剤を設け、エアコンプレッサーから除湿タンクに供給される圧縮エアを、吸湿剤を通過させた後エア回路へ供給させる圧縮エア除湿システムにおいて、除湿タンクに接続され吸湿剤の一方側へエアを送気可能な送気ファンと、送気ファンの送気する側とは異なる吸湿剤の他方側で除湿タンクと接続される除湿二次側管路と、除湿タンク内に設置され、除湿タンク内にマイクロ波を発生させるマイクロウェーブ発振器と、マイクロウェーブ発振器の発生したマイクロ波を除湿タンク内で攪拌可能なマイクロウェーブ攪拌翼とを備え、吸湿剤を乾燥させる際に、送気ファンが送気すると共にマイクロウェーブ発振器がマイクロ波を発生させ、マイクロウェーブ攪拌翼が発生されたマイクロ波を攪拌して吸湿剤に吸湿された水分を蒸発させて除湿二次側管路から排出可能なことを特徴とする圧縮エア除湿システムを提供する。
従ってこの発明では、送気ファンがエアを除湿タンク内へ送気する。送気されたエアは、吸湿剤を通過して除湿タンクの吸湿剤とは反対側に設ける二次側管路106から除湿タンク外へ排出させる。
この時、除湿タンク内では、マイクロウェーブ発振器がマイクロ波を発生し、吸湿剤に貯留された水分を加熱して蒸発させる。また、マイクロウェーブ攪拌翼を備える場合には、発生されたマイクロ波を除湿タンク内で攪拌し、除湿タンク内にマイクロ波が広く行き渡るようにするので、吸湿剤に含まれた水分を効率よく加熱する。
除湿タンク、エアコンプレッサー、送気ファン、除湿二次側管路はそれぞれマイクロ波を透過させず且つマイクロ波により加温されない金属製からなるので、マイクロ波は外部へ出ることはない。
この時、除湿タンク内では、マイクロウェーブ発振器がマイクロ波を発生し、吸湿剤に貯留された水分を加熱して蒸発させる。また、マイクロウェーブ攪拌翼を備える場合には、発生されたマイクロ波を除湿タンク内で攪拌し、除湿タンク内にマイクロ波が広く行き渡るようにするので、吸湿剤に含まれた水分を効率よく加熱する。
除湿タンク、エアコンプレッサー、送気ファン、除湿二次側管路はそれぞれマイクロ波を透過させず且つマイクロ波により加温されない金属製からなるので、マイクロ波は外部へ出ることはない。
従ってこの発明では、吸湿剤の水分の加熱にマイクロウェーブ発振器で発生させたマイクロ波を利用するので、除湿タンクや管路等の風袋には加熱した水分が触れることによる二次的な熱伝導は有るもののマイクロ波が直接作用しての加熱がなく、従来例に比し吸湿剤の乾燥に必要なエネルギーが少なくて済むという効果を有する。
また、熱風による吸湿剤の加熱では熱風からの熱伝導による加熱であるのに対し、マイクロ波による加熱では、直接水分子を振動させて加熱させ蒸発させるので、除湿タンクや管路等の風袋を加熱するエネルギーを要せず省エネルギーによる吸湿剤の再生が可能であるのに加え、加熱時間が少なく吸湿剤の再生時間を短縮可能であるという効果を有する。
また、熱風による吸湿剤の加熱では熱風からの熱伝導による加熱であるのに対し、マイクロ波による加熱では、直接水分子を振動させて加熱させ蒸発させるので、除湿タンクや管路等の風袋を加熱するエネルギーを要せず省エネルギーによる吸湿剤の再生が可能であるのに加え、加熱時間が少なく吸湿剤の再生時間を短縮可能であるという効果を有する。
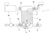
圧縮エア除湿システム1は、エアコンプレッサーACから圧縮エアの供給を受けて除湿するための除湿タンク2が、エアコンプレッサーACと除湿タンク2の一次側となる一次側管路3によって接続され圧縮エアの供給を受けるように形成されている。この一次側管路3の途中には、エアバルブB1が設置され、除湿タンク2への圧縮エア供給量の調節や一次側管路3を完全に閉状態にすることが可能となっている。
除湿タンク2は中空な略円筒形状の金属製タンクであり、上部に一次側管路3が接続される。下部側には製造工程で利用するために供給するための二次側供給管4が接続されており、内部中央に吸湿剤5が封入されている。
従って吸湿剤5は、水分を吸着可能な素材からなり、除湿タンク2内に封入されている。そして吸湿剤5は、一次側管路3と二次側管路4との間に設けられる。
この吸湿剤5は、上部に接続する一次側管路3から供給された圧縮エアが下部に接続する二次側管路4から供給される際に必ず吸湿剤5を通過するように設置されているので、圧縮エア通過時に圧縮エアに含まれる水分を吸着除去可能である。
二次側管路4からは、吸湿剤5により水分が除去された圧縮エアが生産工程へ供給されることとなる。
従って吸湿剤5は、水分を吸着可能な素材からなり、除湿タンク2内に封入されている。そして吸湿剤5は、一次側管路3と二次側管路4との間に設けられる。
この吸湿剤5は、上部に接続する一次側管路3から供給された圧縮エアが下部に接続する二次側管路4から供給される際に必ず吸湿剤5を通過するように設置されているので、圧縮エア通過時に圧縮エアに含まれる水分を吸着除去可能である。
二次側管路4からは、吸湿剤5により水分が除去された圧縮エアが生産工程へ供給されることとなる。
また、除湿タンク2には、吸湿剤5に溜まった水分を外部に排出させて再び吸湿剤5に水分吸着を可能とさせるため、送気ファンFを除湿一次側管路6により吸湿剤5の何れか一方の側へ接続し、除湿二次側管路7を吸湿剤5の他方の側へ接続し、除湿二次側管路7は大気中へ開放する等して圧縮エア供給回路の外部へエアを排出可能にする。
除湿二次側管路7には、大気中と除湿タンク2との間に制御バルブB3を設ける。この制御バルブB3は、エアコンプレッサーACから除湿タンク2を経由させて圧縮エアを製造工程へ供給しているときには閉状態とさせ、吸湿剤5を乾燥させるときには、開状態とさせる。
除湿二次側管路7には、大気中と除湿タンク2との間に制御バルブB3を設ける。この制御バルブB3は、エアコンプレッサーACから除湿タンク2を経由させて圧縮エアを製造工程へ供給しているときには閉状態とさせ、吸湿剤5を乾燥させるときには、開状態とさせる。
また、吸湿剤5の送気ファンF側となる除湿タンク2内には、マイクロウェーブ発振器8を備える。マイクロウェーブ発振器8は、外部電源と接続されマイクロ波を発生可能である。マイクロウェーブ発振器によりこの発生されるマイクロ波は、吸湿剤5に吸湿貯蔵された水分の分子を振動させて発熱させ蒸発させる。
更に、マイクロウェーブ発振器8の近傍には、マイクロウェーブ攪拌翼9を備える。マイクロウェーブ攪拌翼9は、マイクロウェーブ発振器8で発生したマイクロ波を攪拌して吸湿剤5へ均等に当たるように作用する。
以下に、この発明を図面に基づき説明する。図1はこの発明の実施例である中央断面説明図であり、図2は従来例との比較を表す説明グラフである。
1は圧縮エア除湿システムである。圧縮エア除湿システム1は、中空な除湿タンク2を備え、除湿タンク2には別途設けるエアコンプレッサーACとを一次側管路3によって接続され圧縮エアの供給を受けるように形成されている。また、一次側管路3のエアコンプレッサーACと除湿タンク2との間にはエアバルブB1が設置される。エアバルブB1は、除湿タンク2への圧縮エア供給量の調節や一次側管路3を完全に閉状態にすることが可能となっている。
除湿タンク2は中空な略円筒形状を成す金属製タンクであり、この実施例では上部に一次側管路3が接続される。そして下部側には製造工程で利用するために供給するための二次側供給管4が接続されており、除湿タンク2内部中央には吸湿剤5が一次側管路3から二次側管路4へとエアが通過可能に封入されている。
この吸湿剤5は、水分を吸着して貯留可能な素材で形成する。従って、吸湿剤5が一次側管路3と二次側管路4との間となるように除湿タンク2内に封入されているので、吸湿剤5を通過していく圧縮エアに含まれる水分は、吸湿剤5によって吸着貯留される。
そして、通常使用時には、二次側管路4からエア回路へ吸湿剤5により水分が除去された圧縮エアが流れ生産工程へ供給されることとなる。
尚、二次側管路4には、図示しないが逆止弁やエア抜きバルブ等が備えられており、除湿タンク2の整備等の場合に使用される。更に、二次側管路4には、一次側管路3同様にエアバルブB4が備えられ、二次側管路4を開閉可能である。
この吸湿剤5は、水分を吸着して貯留可能な素材で形成する。従って、吸湿剤5が一次側管路3と二次側管路4との間となるように除湿タンク2内に封入されているので、吸湿剤5を通過していく圧縮エアに含まれる水分は、吸湿剤5によって吸着貯留される。
そして、通常使用時には、二次側管路4からエア回路へ吸湿剤5により水分が除去された圧縮エアが流れ生産工程へ供給されることとなる。
尚、二次側管路4には、図示しないが逆止弁やエア抜きバルブ等が備えられており、除湿タンク2の整備等の場合に使用される。更に、二次側管路4には、一次側管路3同様にエアバルブB4が備えられ、二次側管路4を開閉可能である。
除湿タンク2内に設けた吸湿剤5は、長期使用により吸湿能力の限界が訪れ、圧縮エアから吸湿できなくなるので、除湿タンク2には、吸湿剤5の再生手段を備える。
即ち除湿タンク2には、送気ファンFを備える。送気ファンFは、吸湿剤5に溜まった水分を外部に排出させて再び吸湿剤5に水分吸着を可能とさせるために、除湿一次側管路6により吸湿剤5の何れか一方の側へ接続する。この実施例では、送気ファンFからの送気は、図1中下方である吸湿剤5の圧縮エア供給側とは異なる側へ設ける。また、送気ファンFにより送気されたエアが吸湿剤5を通過して外部へ抜けられるように、除湿二次側管路7を吸湿剤5の他方の側へ接続する。この除湿二次側管路7は大気中へ開放する等して圧縮エア供給回路の外部へ排出可能である。
更に除湿二次側管路7には、大気中と除湿タンク2との間に制御バルブB3を設ける。この制御バルブB3は、エアコンプレッサーACから除湿タンク2を経由させて圧縮エアを製造工程へ供給しているときには閉状態とさせ、吸湿剤5を乾燥させるときには、開状態とさせる。
即ち除湿タンク2には、送気ファンFを備える。送気ファンFは、吸湿剤5に溜まった水分を外部に排出させて再び吸湿剤5に水分吸着を可能とさせるために、除湿一次側管路6により吸湿剤5の何れか一方の側へ接続する。この実施例では、送気ファンFからの送気は、図1中下方である吸湿剤5の圧縮エア供給側とは異なる側へ設ける。また、送気ファンFにより送気されたエアが吸湿剤5を通過して外部へ抜けられるように、除湿二次側管路7を吸湿剤5の他方の側へ接続する。この除湿二次側管路7は大気中へ開放する等して圧縮エア供給回路の外部へ排出可能である。
更に除湿二次側管路7には、大気中と除湿タンク2との間に制御バルブB3を設ける。この制御バルブB3は、エアコンプレッサーACから除湿タンク2を経由させて圧縮エアを製造工程へ供給しているときには閉状態とさせ、吸湿剤5を乾燥させるときには、開状態とさせる。
また、吸湿剤5の送気ファンF側となる図1中上部側である除湿タンク2内には、マイクロウェーブ発振器8を備える。マイクロウェーブ発振器8は、外部電源と接続されマイクロ波を発生可能である。マイクロウェーブ発振器8は電子レンジ等で使用されるマグネトロンなどの作用によりマイクロ波を発生させれば良く、マイクロ波の発生量は、除湿タンク2の容量や吸湿剤5の量等により適宜定めれば足りる。また、マイクロウェーブ発振器8は外部から電源供給を受けて動作可能であり、図示しない制御部やスイッチなどと接続され、動作される。マイクロウェーブ発振器によりこの発生されるマイクロ波は、金属製の筒状からなる除湿タンク2から外部へは漏れでないが、各管路や送気ファンF等からの漏出を防ぐために一次側管路3、二次側管路4、除湿一次側管路6、および、除湿二次側管路7それぞれと除湿タンク2との間にマイクロ波の漏出を防止するための金属製ネット(図示せず)を設ける。
尚、この金属製ネットは、特にネット状でなくても径小な孔が複数空いたパンチングメタルの薄板等でも良く、エアが通り抜け可能なように従来から用いられているものを利用すれば足りる。
尚、この金属製ネットは、特にネット状でなくても径小な孔が複数空いたパンチングメタルの薄板等でも良く、エアが通り抜け可能なように従来から用いられているものを利用すれば足りる。
更に、マイクロウェーブ発振器8の近傍には、マイクロウェーブ攪拌翼9を備える。マイクロウェーブ攪拌翼9は、マイクロウェーブ発振器8で発生したマイクロ波を攪拌して吸湿剤5へ均等に当たるように作用する。マイクロウェーブ攪拌翼9もマイクロウェーブ発振器8同様、図示しないが外部電源と接続されると共に制御部やスイッチなどと接続され、動作される。
従って、圧縮エア除湿システム1は、通常使用時には一次側管路3に設けたエアバルブB1および二次側管路4に設けたエアバルブB4が開状態であり、エアコンプレッサーACが作動して圧縮エアを一次側管路3から吸湿剤5を通過させて二次側管路4へと送る。この時、エアコンプレッサーACの送出する圧縮エアは、吸湿剤5を通過する際に圧縮エアに含まれている水分を吸着されてエア回路へと供給されることになる。
尚、通常使用時には、除湿一次側管路6に設ける乾燥時バルブB2および除湿二次側管路7に設ける制御バルブB3が閉状態であると共に送気ファンF、マイクロウェーブ発振器8およびマイクロウェーブ攪拌翼9が作動していない。
尚、通常使用時には、除湿一次側管路6に設ける乾燥時バルブB2および除湿二次側管路7に設ける制御バルブB3が閉状態であると共に送気ファンF、マイクロウェーブ発振器8およびマイクロウェーブ攪拌翼9が作動していない。
吸湿剤5の吸湿能力が低下し、吸湿剤5を再生する場合には、エアコンプレッサーACを停止させ、二次側管路4に設けるエアバルブB4を閉状態にすると共に、制御バルブB3を開状態とさせる。すると、除湿タンク2内の圧縮エアは除湿二次側管路7から外部へ放出されることとなり、除湿タンク2内が大気圧と平衡状態となる。
この状態で、乾燥時バルブB2を開状態とさせると共に送気ファンFを作動させ、除湿タンク2内にエアを送気する。そして、マイクロウェーブ発振器8およびマイクロウェーブ攪拌翼9も作動させる。
この状態で、乾燥時バルブB2を開状態とさせると共に送気ファンFを作動させ、除湿タンク2内にエアを送気する。そして、マイクロウェーブ発振器8およびマイクロウェーブ攪拌翼9も作動させる。
すると、マイクロウェーブ発振器8はマイクロ波を発生し、マイクロウェーブ攪拌翼9がそのマイクロ波を除湿タンク2内が均一となるように攪拌することとなる。
この発生されたマイクロ波は、吸湿剤5に吸着されて貯留されている水分に作用し、該水分の温度を上昇させて蒸発させる。
この発生されたマイクロ波は、吸湿剤5に吸着されて貯留されている水分に作用し、該水分の温度を上昇させて蒸発させる。
すると、蒸発した蒸気は、送気ファンFから送風されるエアと共に吸湿剤5の除湿二次側管路7側へと抜け、除湿二次側管路7を通過して除湿タンク2の外部へと排出されることとなる。
この時、除湿タンク2内部では、マイクロ波が水分にのみ作用して温度上昇させるため、除湿タンク2やその他管路などの温度を上昇させるのに寄与しないので、水分を蒸発させるに足りるエネルギー以外の余分なエネルギーが消費されずに済む。
この時、除湿タンク2内部では、マイクロ波が水分にのみ作用して温度上昇させるため、除湿タンク2やその他管路などの温度を上昇させるのに寄与しないので、水分を蒸発させるに足りるエネルギー以外の余分なエネルギーが消費されずに済む。
図2には、従来の加熱ヒーターによる加熱式の場合と、この実施例の場合とのエネルギー消費を比較したグラフを示す。図2(a)は、従来によるエネルギー消費であり、同(b)はこの実施例によるエネルギー消費である。そして、図中aは吸湿剤5に含まれている水分の蒸発に必要なエネルギー量を表し、bは吸湿剤5自身が加熱されてしまうために消費されるエネルギー量であり、cは金属製の管路や除湿タンク2等の風袋が加熱されてしまうために費やされるエネルギー量であり、dは送気ファンFによって送気されるエアの温度上昇に伴い消費されるエネルギー量を表し、eは従来の加熱器本体が暖まるために消費されるエネルギー量を表している。
図2(a)および同(b)を比較すると、aおよびbは双方共に略同量の消費であるのに対し、cおよびdはそれぞれ従来による方が略2倍に多くなっている。更に、eに至っては、この実施例では加熱器を用いないため全く消費されていない。このように、この実施例では、従来に比し、大幅なエネルギー消費量の削減が可能となっている。
図2(a)および同(b)を比較すると、aおよびbは双方共に略同量の消費であるのに対し、cおよびdはそれぞれ従来による方が略2倍に多くなっている。更に、eに至っては、この実施例では加熱器を用いないため全く消費されていない。このように、この実施例では、従来に比し、大幅なエネルギー消費量の削減が可能となっている。
この発明は、エア回路に圧縮エアを供給するシステムに利用可能であり、特に生産工場など常に圧縮エアによって種々の動力源を得ている自動車生産工程や大型家電製品生産工程等に利用できる。
AC エアコンプレッサー
F 送気ファン
B1 エアバルブ
B2 乾燥時バルブ
B3 制御バルブ
B4 エアバルブ
1 圧縮エア除湿システム
2 除湿タンク
3 一次側管路
4 二次側管路
5 吸湿剤
6 除湿一次側管路
7 除湿二次側管路
8 マイクロウェーブ発振器
9 マイクロウェーブ攪拌翼
F 送気ファン
B1 エアバルブ
B2 乾燥時バルブ
B3 制御バルブ
B4 エアバルブ
1 圧縮エア除湿システム
2 除湿タンク
3 一次側管路
4 二次側管路
5 吸湿剤
6 除湿一次側管路
7 除湿二次側管路
8 マイクロウェーブ発振器
9 マイクロウェーブ攪拌翼
Claims (2)
- 中空な除湿タンク内に吸湿剤を設け、エアコンプレッサーから除湿タンクに供給される圧縮エアを、吸湿剤を通過させた後エア回路へ供給させる圧縮エア除湿システムにおいて、
除湿タンクに接続され吸湿剤の一方側へエアを送気可能な送気ファンと、送気ファンの送気する側とは異なる吸湿剤の他方側で除湿タンクと接続される除湿二次側管路と、除湿タンク内に設置され、除湿タンク内にマイクロ波を発生させるマイクロウェーブ発振器とを備え、
吸湿剤を乾燥させる際に、送気ファンが送気すると共にマイクロウェーブ発振器がマイクロ波を発生させて吸湿剤に吸湿された水分を蒸発させて除湿二次側管路から排出可能なことを特徴とする圧縮エア除湿システム。 - 中空な除湿タンク内に吸湿剤を設け、エアコンプレッサーから除湿タンクに供給される圧縮エアを、吸湿剤を通過させた後エア回路へ供給させる圧縮エア除湿システムにおいて、
除湿タンクに接続され吸湿剤の一方側へエアを送気可能な送気ファンと、送気ファンの送気する側とは異なる吸湿剤の他方側で除湿タンクと接続される除湿二次側管路と、除湿タンク内に設置され、除湿タンク内にマイクロ波を発生させるマイクロウェーブ発振器と、マイクロウェーブ発振器の発生したマイクロ波を除湿タンク内で攪拌可能なマイクロウェーブ攪拌翼とを備え、
吸湿剤を乾燥させる際に、送気ファンが送気すると共にマイクロウェーブ発振器がマイクロ波を発生させ、マイクロウェーブ攪拌翼が発生されたマイクロ波を攪拌して吸湿剤に吸湿された水分を蒸発させて除湿二次側管路から排出可能なことを特徴とする圧縮エア除湿システム。
Priority Applications (1)
| Application Number | Priority Date | Filing Date | Title |
|---|---|---|---|
| JP2008178337A JP2010017618A (ja) | 2008-07-08 | 2008-07-08 | 圧縮エア除湿システム |
Applications Claiming Priority (1)
| Application Number | Priority Date | Filing Date | Title |
|---|---|---|---|
| JP2008178337A JP2010017618A (ja) | 2008-07-08 | 2008-07-08 | 圧縮エア除湿システム |
Publications (1)
| Publication Number | Publication Date |
|---|---|
| JP2010017618A true JP2010017618A (ja) | 2010-01-28 |
Family
ID=41703025
Family Applications (1)
| Application Number | Title | Priority Date | Filing Date |
|---|---|---|---|
| JP2008178337A Pending JP2010017618A (ja) | 2008-07-08 | 2008-07-08 | 圧縮エア除湿システム |
Country Status (1)
| Country | Link |
|---|---|
| JP (1) | JP2010017618A (ja) |
Cited By (4)
| Publication number | Priority date | Publication date | Assignee | Title |
|---|---|---|---|---|
| WO2014133596A1 (en) * | 2013-02-27 | 2014-09-04 | Graham-White Manufacturing Company | Air dryer |
| CN107452473A (zh) * | 2017-08-25 | 2017-12-08 | 杭州柯林电气股份有限公司 | 一种变压器呼吸器 |
| US10080990B2 (en) | 2015-10-04 | 2018-09-25 | Graham-White Manufacturing Company | Air dryer |
| CN115507464A (zh) * | 2022-10-13 | 2022-12-23 | 江西农业大学 | 一种封闭式微波辅助除湿转轮装置以及除湿转轮控制方法 |
Citations (4)
| Publication number | Priority date | Publication date | Assignee | Title |
|---|---|---|---|---|
| JPS51146552A (en) * | 1975-06-10 | 1976-12-16 | Mitsubishi Heavy Ind Ltd | Vent gas treating device |
| JPS57184435A (en) * | 1981-05-07 | 1982-11-13 | Mitsubishi Heavy Ind Ltd | Adsorbent for adsorbing and desorbing gas |
| JPS61271032A (ja) * | 1985-05-24 | 1986-12-01 | Matsui Seisakusho:Kk | 吸着剤の脱湿再生方法とその装置 |
| JPS62163725A (ja) * | 1979-05-25 | 1987-07-20 | ポ−ル・コ−ポレ−シヨン | 加熱再生可能の吸着剤によるガス分離装置および方法 |
-
2008
- 2008-07-08 JP JP2008178337A patent/JP2010017618A/ja active Pending
Patent Citations (4)
| Publication number | Priority date | Publication date | Assignee | Title |
|---|---|---|---|---|
| JPS51146552A (en) * | 1975-06-10 | 1976-12-16 | Mitsubishi Heavy Ind Ltd | Vent gas treating device |
| JPS62163725A (ja) * | 1979-05-25 | 1987-07-20 | ポ−ル・コ−ポレ−シヨン | 加熱再生可能の吸着剤によるガス分離装置および方法 |
| JPS57184435A (en) * | 1981-05-07 | 1982-11-13 | Mitsubishi Heavy Ind Ltd | Adsorbent for adsorbing and desorbing gas |
| JPS61271032A (ja) * | 1985-05-24 | 1986-12-01 | Matsui Seisakusho:Kk | 吸着剤の脱湿再生方法とその装置 |
Cited By (7)
| Publication number | Priority date | Publication date | Assignee | Title |
|---|---|---|---|---|
| WO2014133596A1 (en) * | 2013-02-27 | 2014-09-04 | Graham-White Manufacturing Company | Air dryer |
| US8894752B2 (en) | 2013-02-27 | 2014-11-25 | Graham-White Manufacturing Company | Air dryer |
| RU2635245C2 (ru) * | 2013-02-27 | 2017-11-09 | Грэхэм-Уайт Мэньюфэкчуринг Компани | Осушитель воздуха |
| US10080990B2 (en) | 2015-10-04 | 2018-09-25 | Graham-White Manufacturing Company | Air dryer |
| CN107452473A (zh) * | 2017-08-25 | 2017-12-08 | 杭州柯林电气股份有限公司 | 一种变压器呼吸器 |
| CN107452473B (zh) * | 2017-08-25 | 2024-04-12 | 杭州柯林电气股份有限公司 | 一种变压器呼吸器 |
| CN115507464A (zh) * | 2022-10-13 | 2022-12-23 | 江西农业大学 | 一种封闭式微波辅助除湿转轮装置以及除湿转轮控制方法 |
Similar Documents
| Publication | Publication Date | Title |
|---|---|---|
| JP4386950B2 (ja) | 生ごみ処理装置及び生ごみ処理方法 | |
| CN101755088B (zh) | 吸附式干燥机 | |
| KR101509152B1 (ko) | 냉각단계 중 압축습공기 냉각 후 제습탱크로 순환시키는 압축공기 건조방법 및 장치 | |
| JP2010017618A (ja) | 圧縮エア除湿システム | |
| KR20170105660A (ko) | 건조기 내의 노점온도 조절에 의한 직렬연결식 응축기의 스위치기능을 갖는 공기열원 히트펌프 건조기의 제어방법 | |
| KR101509153B1 (ko) | 냉각단계 중 압축습공기 일부로 냉각후 쿨러를 거쳐 합류토록 한 압축공기 건조방법 및 장치 | |
| KR101518297B1 (ko) | 압축 건조공기를 이용한 재생탱크 쿨링형 압축공기 건조방법 및 장치 | |
| JP4138716B2 (ja) | 乾燥装置及び乾燥方法 | |
| JP5433969B2 (ja) | 脱臭装置 | |
| KR101295381B1 (ko) | 의류처리장치 | |
| JP3237880U (ja) | 乾燥機 | |
| JPH01286806A (ja) | プラスチック成形における原料乾燥方法およびその装置 | |
| CN110777519A (zh) | 具有用于洗涤物的平整和翻新功能的烘干箱及其运行方法 | |
| KR20240064605A (ko) | 의류처리장치 | |
| JP3136596U (ja) | 湿り空気を用いた処理装置 | |
| US10041731B1 (en) | HVAC grain dryer | |
| KR20130125453A (ko) | 히트펌프와 진공고주파를 이용한 건조기 | |
| CN204579837U (zh) | 一种果蔬在线实时烘干系统 | |
| KR20240075357A (ko) | 히트펌프 연계형 마이크로웨이브 흡착제습 건조 장치 및 흡착제습 건조 방법 | |
| JP2008106959A (ja) | 木材乾燥装置及び木材乾燥方法 | |
| JP2004101130A (ja) | 真空乾燥装置 | |
| JP2005052544A (ja) | 洗濯乾燥機 | |
| JP2007301010A5 (ja) | ||
| CN210988526U (zh) | 一种鞋厂出厂用除味烘鞋机 | |
| JP3770470B2 (ja) | 冷凍システム、及び冷凍方法 |
Legal Events
| Date | Code | Title | Description |
|---|---|---|---|
| A977 | Report on retrieval |
Free format text: JAPANESE INTERMEDIATE CODE: A971007 Effective date: 20101214 |
|
| A131 | Notification of reasons for refusal |
Free format text: JAPANESE INTERMEDIATE CODE: A131 Effective date: 20110104 |
|
| A02 | Decision of refusal |
Free format text: JAPANESE INTERMEDIATE CODE: A02 Effective date: 20110426 |