JP2010015758A - ガス希釈装置 - Google Patents

ガス希釈装置 Download PDF

Info

Publication number
JP2010015758A
JP2010015758A JP2008173259A JP2008173259A JP2010015758A JP 2010015758 A JP2010015758 A JP 2010015758A JP 2008173259 A JP2008173259 A JP 2008173259A JP 2008173259 A JP2008173259 A JP 2008173259A JP 2010015758 A JP2010015758 A JP 2010015758A
Authority
JP
Japan
Prior art keywords
gas
container
plate
partition plate
fuel cell
Prior art date
Legal status (The legal status is an assumption and is not a legal conclusion. Google has not performed a legal analysis and makes no representation as to the accuracy of the status listed.)
Granted
Application number
JP2008173259A
Other languages
English (en)
Other versions
JP5393069B2 (ja
Inventor
Mitsuyoshi Niimura
光義 新村
Akira Uchiyama
晃 内山
Takashi Sawada
崇 澤田
Current Assignee (The listed assignees may be inaccurate. Google has not performed a legal analysis and makes no representation or warranty as to the accuracy of the list.)
Yutaka Giken Co Ltd
Original Assignee
Yutaka Giken Co Ltd
Priority date (The priority date is an assumption and is not a legal conclusion. Google has not performed a legal analysis and makes no representation as to the accuracy of the date listed.)
Filing date
Publication date
Application filed by Yutaka Giken Co Ltd filed Critical Yutaka Giken Co Ltd
Priority to JP2008173259A priority Critical patent/JP5393069B2/ja
Publication of JP2010015758A publication Critical patent/JP2010015758A/ja
Application granted granted Critical
Publication of JP5393069B2 publication Critical patent/JP5393069B2/ja
Expired - Fee Related legal-status Critical Current
Anticipated expiration legal-status Critical

Links

Images

Classifications

    • YGENERAL TAGGING OF NEW TECHNOLOGICAL DEVELOPMENTS; GENERAL TAGGING OF CROSS-SECTIONAL TECHNOLOGIES SPANNING OVER SEVERAL SECTIONS OF THE IPC; TECHNICAL SUBJECTS COVERED BY FORMER USPC CROSS-REFERENCE ART COLLECTIONS [XRACs] AND DIGESTS
    • Y02TECHNOLOGIES OR APPLICATIONS FOR MITIGATION OR ADAPTATION AGAINST CLIMATE CHANGE
    • Y02EREDUCTION OF GREENHOUSE GAS [GHG] EMISSIONS, RELATED TO ENERGY GENERATION, TRANSMISSION OR DISTRIBUTION
    • Y02E60/00Enabling technologies; Technologies with a potential or indirect contribution to GHG emissions mitigation
    • Y02E60/30Hydrogen technology
    • Y02E60/50Fuel cells

Landscapes

  • Fuel Cell (AREA)
  • Electric Propulsion And Braking For Vehicles (AREA)

Abstract

【解決手段】仕切板30は、この実施例では矩形を呈し、一端部にガスを通過させる矩形窓31が開けられている。仕切板30は、第1板33に第2板34を重ねてなる合わせ板構造体である。2枚以上の薄板を重ね、一括してプレス成形することで突条部35を一体形成することができる。第1板33の厚さをt1、第2板34の厚さをt2とした場合、t1とt2は異なる値に設定する。
【効果】薄板は厚さに対応した固有振動数を有する。固有振動数の異なる薄板を合わせると、薄板同士が振動を打ち消しあい、結果として振動しにくくなり、容器が振動する心配がなくなる。音も振動の一種であり、壁が振動し難くなることで遮音性が高まる。結果として、吸音材が不要となる。したがって、本発明によれば、振動に強く且つコンパクトなガス希釈装置を提供することができる。
【選択図】図2

Description

本発明は、燃料電池自動車に好適なガス希釈装置に関する。
地球環境の観点から、燃料電池自動車(燃料電池を駆動源とする自動車)が好まれる。燃料電池は水素と酸素とを反応させて電気を得ることを基本原理とする。 反応を円滑にするために、燃料電池をパージ(ガスでクリーニング)することが行われ、このパージにより水素成分が排出ガスに含まれる。このような排出ガスを外へ排出するには、水素濃度が排出基準以下であることが求められる。そこで、ガス希釈装置が必要となる。
従来、燃料電池のガス希釈装置が提案されている(例えば、特許文献1参照。)。
特開2007−234387公報(図1、図2)
特許文献1を次図及び次々図に基づいて説明する。
図7は従来の燃料電池とガス希釈装置を搭載した車両の基本構成を説明する図であり、車両100には、燃料電池101と、水素タンク102と、エアコンプレッサ103と、ガス希釈装置104とが搭載されている。
水素供給管105を介して水素ガスを燃料電池101へ供給し、エア供給管106を介して酸素を含む空気を燃料電池101へ供給する。燃料電池101の内部では電解質膜107を介して水素と酸素とを反応させ、水及び電気を得る。電気は電解質膜107を介して外へ取り出される。水は電解質膜107に付着した後、付近を通過するガスに水蒸気の形態で排出される。
未反応の水素ガスは、エジェクター108で吸引される。すなわち、戻り通路109を介して水素供給管105へ戻され、再度、燃料電池101へ供給される。一方、酸素が消費された空気は、余剰空気と水蒸気とからなる、カソードオフガスの形態でエア排出管111により、燃料電池101から排出される。
電解質膜107には反応により生成された水が付着し、空気中の窒素が水素側へ透過するなどして、水素濃度が低下し、発電性能が低下する。そこで、定期的又は適宜、パージと称する処理(ガスでクリーニングする処理)を行う。パージ弁112を開けると、水素供給管105から供給された水素ガスが燃料電池101の水素側をクリーニングした後、水素ガス排出管113を介して排出される。この排出ガスは、水素、水蒸気、窒素ガス、その他の不純物からなり、アノードオフガスと呼ばれる。
水素を含むアノードオフガスは、ガス希釈装置104で、ドライエアにより希釈される。
ドライエアは、エアコンプレッサ103で発生した高圧エアの一部で賄われる。
すなわち、ガス希釈装置104には、希釈対象ガスとしてのアノードオフガスと、希釈剤としてのドライエアと、空気及び水蒸気からなるカソードオフガスとが供給される。
図8は従来のガス希釈装置の構造を説明する図であり、ガス希釈装置104は、箱体115と、内部を仕切る仕切板116、116と、箱体115の上部に設けられた希釈対象ガス吹き込み管117及びドライエア吹き込み管118と、箱体115の底に配置された排出パイプ119と、この排出パイプ119の上部に開けられたガス取入れ穴121と、排出パイプ119の底に開けられた水取入れ穴122、122とからなる。
先ず、排出パイプ119には、矢印(1)のようにカソードオフガスが流れている。排出パイプ119の内圧が、箱体115の内圧より低く設定されているので、ガス取入れ穴121や水取入れ穴122、122からカソードオフガスが流出する心配はない。
次に、箱体115の上部に、希釈対象ガスを矢印(2)のように吹き込み、ドライエアを矢印(3)のように吹き込む。すると、希釈対象ガスにドライエアが混じり始める。矢印(4)のように蛇行しながら流れることで混合が進行する。蛇行は混合時間を稼ぐことと、乱流、撹拌を促して混合を促進する役割を果たす。
混合ガスは、ガス取入れ穴121から排出パイプ119に進入し、カソードオフガスで更に希釈され、希釈済みガスの形態で矢印(5)のように外へ排出される。
ところで、希釈対象ガスには水蒸気が含まれており、この水蒸気が結露して箱体115の底に溜まる。溜まった水は水取入れ穴122、122を通じてカソードオフガスに吸引され、外へ排出される。
ところで、希釈対象ガス吹き込み管117から高圧の希釈対象ガスが箱体115の内部空間に高速で吹き込まれると、急激な速度変化及び圧力変化に伴って大きな音(いわゆるジェット音)が発生する。圧力変動により、箱体115が振動する。
振動対策として、箱体115の壁厚を増加することが知られている。しかし、壁厚を増加すると、箱体115が重くなる。
また、騒音対策として、箱体115を吸音材で覆うことが知られている。しかし、吸音材で覆うと、ガス希釈装置が大型になる。
重量及び体積に、厳しい制限が課せられる車両に搭載することを考えると、振動に強く且つコンパクトなガス希釈装置が必要となる。
本発明は、振動に強く且つコンパクトなガス希釈装置を提供することを課題とする。
請求項1に係る発明は、水素及び水蒸気を含む希釈対象ガスに、空気を混ぜて希釈させるガス希釈装置において、
このガス希釈装置は、気密性の容器と、この容器の中に蛇行流路を形成するために前記容器内に渡した複数枚の仕切板と、前記容器に外から差し込まれ前記蛇行流路の入口へ前記希釈対象ガスを吹き込むガス吹き込み管と、前記容器に外から差し込まれ前記蛇行流路の入口へ前記空気を吹き込むエア吹き込み管と、前記蛇行流路の出口に設けられ希釈されたガスを外へ排出する排出パイプとからなり、
前記容器及び前記仕切板は、厚さが互いに異なる複数の薄板が重ね合わされた合わせ板構造体であることを特徴とする。
請求項2に係る発明では、容器は、縁曲げにより両端又は片端にフランジを一体に備えている筒体を複数個含み、仕切板の上と下にフランジを重ね、上のフランジの外端面と仕切板の外端面と下のフランジの外端面とを、一括して溶接することで、筒体と仕切板とが結合されていることを特徴とする。
請求項3に係る発明では、容器は、燃料電池を駆動源とする車両に搭載され、希釈対象ガスは、燃料電池をパージ(ガスでクリーニング)する際に排出されるガスであることを特徴とする。
請求項1に係る発明では、容器及び仕切板は、厚さが互いに異なる複数の薄板が重ね合わされた合わせ板構造体で構成した。薄板は厚さに対応した固有振動数を有する。固有振動数の異なる薄板を合わせると、薄板同士が振動を打ち消しあい、結果として振動しにくくなり、容器が振動する心配がなくなる。
音も振動の一種であり、壁が振動し難くなることで遮音性が高まる。結果として、吸音材が不要となる。
したがって、本発明によれば、振動に強く且つコンパクトなガス希釈装置を提供することができる。
請求項2に係る発明では、上のフランジの外端面と仕切板の外端面と下のフランジの外端面とを、一括して溶接する。いわゆる、エッジ継手溶接法による。
エッジを溶接するため、上のフランジ、仕切板、下のフランジの合計枚数が6枚やそれ以上であっても、容易に結合することができる。そのため、製造コストを低減することができる。
請求項3に係る発明では、ガス希釈装置を燃料電池自動車に搭載する。本発明のガス希釈装置は、振動に強く且つコンパクトであるため、静粛性、軽量化、コンパクト化が厳しく求められる自動車に好適である。
本発明を実施するための最良の形態を添付図に基づいて以下に説明する。なお、図面は符号の向きに見るものとする。
図1は本発明に係るガス希釈装置の断面図であり、ガス希釈装置10は、容器20と、この容器20の中に蛇行流路を形成するために容器20内に渡した複数枚(この例では3枚)の仕切板30と、容器20に外から差し込まれ蛇行流路の入口へ希釈対象ガスを吹き込むガス吹き込み管41と、容器20に外から差し込まれ蛇行流路の入口へ空気(従来技術のドライエアに相当)を吹き込むエア吹き込み管42と、蛇行流路の出口に設けられ希釈されたガスを外へ排出する排出パイプ43とからなる。
容器20は、縁曲げにより上端にフランジ21を備え、底22に液溜め凹部23が一体形成されている第1筒体24と、縁曲げにより両端にフランジ21を備えている第2筒体25と、縁曲げにより両端にフランジ21を備えている第3筒体26と、縁曲げにより下端にフランジ21を備え、底27が一体形成されている第4筒体28とを、下から上に重ねて構成される密閉容器である。
第1筒体24と第2筒体25で仕切板30が挟まれ、第2筒体25と第3筒体26で仕切板30が挟まれ、第3筒体26と第4筒体28で仕切板30が挟まれている。仕切板30の上に水が溜まることを防止するために、仕切板30は傾けて配置する。そのことが可能なように、第1〜第4筒体24〜26、28は、テーパ形状にする。
排水パイプ43は第1筒体24を水平に貫通し、第1筒体24内において、上部にガス取入れ穴44を有し、底に水取入れ穴45、45を有している。
容器20内におけるガスの流れや水の流れは、従来の技術で説明済みであるから、ここでは、説明を省略する。
以下、仕切板30と第2筒体25の詳細な構造を説明する。
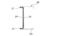
図2は仕切板の斜視図であり、仕切板30は、この実施例では矩形を呈し、一端部にガスを通過させる矩形窓31が開けられている。矩形窓31を囲う窓枠部32は一定の幅で確保されている。
図3は図2の3線断面図であり、仕切板30は、第1板33に第2板34を重ねてなる合わせ板構造体である。2枚以上の薄板を重ね、一括してプレス成形することで突条部35を一体形成することができる。この突条部35は仕切板30の剛性を高める役割と、仕切板30の上を流れる水の流れ方向を規定して流れを円滑にする役割とを果たす。
第1板33の厚さをt1、第2板34の厚さをt2とした場合、t1とt2は異なる値に設定する。t1:t2=1:(1.3〜1.7)とする。例えば、t1=0.25mm、t2=0.36mmにすれば、t1:t2=1:1.44となる。
仕切板30は図1に示すように、周辺が固定されている平板であり、振動の点からは中央に最大振幅が発生する。すなわち、仕切板30は振動しやすい。
平板は固有振動数を有し、この固有振動数は板厚に依存する。一般に、振動対策としては、板厚を増加して振動しにくくする。
この点、本発明は、互いに固有振動数の異なる第1板33と第2板34とを組み合わせた。第1板33が振動するときには、第2板34は振動しないため、第2板34が第1板33の振動を減衰する役割を果たす。第2板34が振動するときも同様である。板厚を増加することなく、振動に強い仕切板30が提供される。
なお、第1板33と第2板34との間に、接着剤を介在させることは差し支えない。この場合には、粘性に富み軟らかいフィルムが好ましい。
軟らかいフィルムであれば、第1板33と第2板34との相互の移動、振動が可能となる。
粘性に富むフィルムであれば、第1板33と第2板34との間に大きな隙間が開く心配はない。加えて、第1板33に第2板34を機械的に連結し、剛性を高める役割を果たす。
図4は筒体の斜視図であり、第2筒体25は、角筒29の両端に縁曲げによって形成したフランジ21、21を一体的に備えている。
図5は図4の5−5線断面図であり、第2筒体25は、第1板33に第2板34を重ねてなる合わせ板構造体である。合わせ板構造体の作用、効果は、先に説明したので省略するが、第2筒体25も振動に強い。図1に示す他の筒体24、26、28も合わせ板構造体である。
以上に説明した仕切板30に筒体を連結する溶接法を以下に説明する。
図6は本発明で採用した溶接法の説明図であり、(a)に示すように、仕切板30の上と下にフランジ21、21を重ね、クランプ治具47、47で強く挟む。
次に、(b)に示すように、上のフランジ21の外端面と仕切板30の外端面と下のフランジ21の外端面とを、TIG(タングステン・イナートガス・アーク)溶接トーチ48により一括して溶接する。
2つ以上のほぼ平行に重なっている母材の端面間の溶接継手は、エッジ継手やへり継手と呼ばれる。この例では6枚の端面間を一括して溶接したことになる。
このようなエッジ継手溶接法によれば、6枚やそれ以上の母材を容易に結合することができる。そのため、製造コストを低減することができる。
以上の工程を経て、図1に示すガス希釈装置10が得られた。
ガス希釈装置10は、異なる板厚の薄板を複数枚重ねて構成されるため、振動に強く且つコンパクトである。
一方、乗用車では、静粛性や軽量化やコンパクト化が厳しく要求される。
本発明のガス希釈装置10は、振動に強く、遮音性能に優れており、且つ小型であるため、自動車に好適である。
尚、本発明のガス希釈装置は、燃料電池自動車に搭載することのほか、住宅に据付けられる汎用燃料電池に付設してもよく、用途を格別に限定するものではない。
本発明のガス希釈装置は、燃料電池自動車に好適である。
本発明に係るガス希釈装置の断面図である。 仕切板の斜視図である。 図2の3線断面図である。 筒体の斜視図である。 図4の5−5線断面図である。 本発明で採用した溶接法の説明図である。 従来の燃料電池とガス希釈装置を搭載した車両の基本構成を説明する図である。 従来のガス希釈装置の構造を説明する図である。
符号の説明
10…ガス希釈装置、20…容器、21…フランジ、24〜26、28…筒体、30…仕切板、33…厚さが異なる薄板(第1板)、34…厚さが異なる薄板(第2板)、41…ガス吹き込み管、42…エア吹き込み管、43…排出パイプ、100…燃料電池を駆動源とする車両。

Claims (3)

  1. 水素及び水蒸気を含む希釈対象ガスに、空気を混ぜて希釈させるガス希釈装置において、
    このガス希釈装置は、気密性の容器と、この容器の中に蛇行流路を形成するために前記容器内に渡した複数枚の仕切板と、前記容器に外から差し込まれ前記蛇行流路の入口へ前記希釈対象ガスを吹き込むガス吹き込み管と、前記容器に外から差し込まれ前記蛇行流路の入口へ前記空気を吹き込むエア吹き込み管と、前記蛇行流路の出口に設けられ希釈されたガスを外へ排出する排出パイプとからなり、
    前記容器及び前記仕切板は、厚さが互いに異なる複数の薄板が重ね合わされた合わせ板構造体であることを特徴とするガス希釈装置。
  2. 前記容器は、縁曲げにより両端又は片端にフランジを一体に備えている筒体を複数個含み、前記仕切板の上と下に前記フランジを重ね、前記上のフランジの外端面と前記仕切板の外端面と前記下のフランジの外端面とを、一括して溶接することで、前記筒体と前記仕切板とが結合されていることを特徴とする請求項1記載のガス希釈装置。
  3. 前記容器は、燃料電池を駆動源とする車両に搭載され、前記希釈対象ガスは、前記燃料電池をパージする際に排出されるガスであることを特徴とする請求項1又は請求項2記載のガス希釈装置。
JP2008173259A 2008-07-02 2008-07-02 ガス希釈装置 Expired - Fee Related JP5393069B2 (ja)

Priority Applications (1)

Application Number Priority Date Filing Date Title
JP2008173259A JP5393069B2 (ja) 2008-07-02 2008-07-02 ガス希釈装置

Applications Claiming Priority (1)

Application Number Priority Date Filing Date Title
JP2008173259A JP5393069B2 (ja) 2008-07-02 2008-07-02 ガス希釈装置

Publications (2)

Publication Number Publication Date
JP2010015758A true JP2010015758A (ja) 2010-01-21
JP5393069B2 JP5393069B2 (ja) 2014-01-22

Family

ID=41701700

Family Applications (1)

Application Number Title Priority Date Filing Date
JP2008173259A Expired - Fee Related JP5393069B2 (ja) 2008-07-02 2008-07-02 ガス希釈装置

Country Status (1)

Country Link
JP (1) JP5393069B2 (ja)

Citations (4)

* Cited by examiner, † Cited by third party
Publication number Priority date Publication date Assignee Title
JPS6181034U (ja) * 1984-10-31 1986-05-29
JPH0378965U (ja) * 1989-11-30 1991-08-12
JP2007234387A (ja) * 2006-03-01 2007-09-13 Honda Motor Co Ltd 燃料電池の希釈装置
JP2007261932A (ja) * 2006-03-03 2007-10-11 Chofu Seisakusho Co Ltd 改質器のエレメントケース及び改質器のエレメントの製造方法並びに触媒充填装置

Patent Citations (4)

* Cited by examiner, † Cited by third party
Publication number Priority date Publication date Assignee Title
JPS6181034U (ja) * 1984-10-31 1986-05-29
JPH0378965U (ja) * 1989-11-30 1991-08-12
JP2007234387A (ja) * 2006-03-01 2007-09-13 Honda Motor Co Ltd 燃料電池の希釈装置
JP2007261932A (ja) * 2006-03-03 2007-10-11 Chofu Seisakusho Co Ltd 改質器のエレメントケース及び改質器のエレメントの製造方法並びに触媒充填装置

Also Published As

Publication number Publication date
JP5393069B2 (ja) 2014-01-22

Similar Documents

Publication Publication Date Title
CN103262325B (zh) 燃料电池堆
US9941495B2 (en) Vehicle mount structure for fuel cell stack
JP4403563B2 (ja) 燃料電池の車載構造
JP5090070B2 (ja) 電池パック
WO2005068241A1 (ja) 燃料電池システムの車両搭載構造
US10454125B2 (en) Vehicle fuel cell stack
CN104066609A (zh) 燃料电池车辆
US10686206B2 (en) Exhaust apparatus
JP7155364B2 (ja) 燃料電池用気液分離器
CN108569126B (zh) 燃料电池搭载车辆
EP1903208A2 (en) Silencer
CN111313062B (zh) 燃料电池系统
US10396380B2 (en) On-vehicle fuel cell system
JP5393069B2 (ja) ガス希釈装置
JP2011129333A (ja) 燃料電池筐体ユニット及びその製造方法
JP6229641B2 (ja) 燃料電池システム
CN111710885B (zh) 燃料电池堆
CN111799493A (zh) 燃料电池系统
JP5132996B2 (ja) 排ガス処理装置
CN101636869B (zh) 燃料电池的分离器和燃料电池
US20090242474A1 (en) Hollow fiber membrane module
JP5189889B2 (ja) 希釈器
JP2018081843A (ja) 車載用燃料電池スタック
US11855313B2 (en) Separator assembly for fuel cell and fuel cell stack including same
JP5802066B2 (ja) 燃料電池スタック

Legal Events

Date Code Title Description
A621 Written request for application examination

Free format text: JAPANESE INTERMEDIATE CODE: A621

Effective date: 20110308

A131 Notification of reasons for refusal

Free format text: JAPANESE INTERMEDIATE CODE: A131

Effective date: 20130305

A521 Written amendment

Free format text: JAPANESE INTERMEDIATE CODE: A523

Effective date: 20130411

TRDD Decision of grant or rejection written
A01 Written decision to grant a patent or to grant a registration (utility model)

Free format text: JAPANESE INTERMEDIATE CODE: A01

Effective date: 20131008

A61 First payment of annual fees (during grant procedure)

Free format text: JAPANESE INTERMEDIATE CODE: A61

Effective date: 20131015

R150 Certificate of patent or registration of utility model

Ref document number: 5393069

Country of ref document: JP

Free format text: JAPANESE INTERMEDIATE CODE: R150

Free format text: JAPANESE INTERMEDIATE CODE: R150

R250 Receipt of annual fees

Free format text: JAPANESE INTERMEDIATE CODE: R250

R250 Receipt of annual fees

Free format text: JAPANESE INTERMEDIATE CODE: R250

R250 Receipt of annual fees

Free format text: JAPANESE INTERMEDIATE CODE: R250

R250 Receipt of annual fees

Free format text: JAPANESE INTERMEDIATE CODE: R250

LAPS Cancellation because of no payment of annual fees