JP2010014440A - リーダライタ、及び物品位置検出システム - Google Patents

リーダライタ、及び物品位置検出システム Download PDF

Info

Publication number
JP2010014440A
JP2010014440A JP2008172636A JP2008172636A JP2010014440A JP 2010014440 A JP2010014440 A JP 2010014440A JP 2008172636 A JP2008172636 A JP 2008172636A JP 2008172636 A JP2008172636 A JP 2008172636A JP 2010014440 A JP2010014440 A JP 2010014440A
Authority
JP
Japan
Prior art keywords
profile
article
contact information
recording medium
information recording
Prior art date
Legal status (The legal status is an assumption and is not a legal conclusion. Google has not performed a legal analysis and makes no representation as to the accuracy of the status listed.)
Granted
Application number
JP2008172636A
Other languages
English (en)
Other versions
JP5442965B2 (ja
Inventor
Haruo Watabe
晴夫 渡部
Katsuhiko Ando
勝彦 安藤
Yoji Shimizu
清水  洋二
Masatoshi Namita
正俊 波多
Takaaki Hasegawa
孝明 長谷川
Junichiro Moriya
潤一郎 森谷
Current Assignee (The listed assignees may be inaccurate. Google has not performed a legal analysis and makes no representation or warranty as to the accuracy of the list.)
Nippon Signal Co Ltd
Saitama University NUC
Original Assignee
Nippon Signal Co Ltd
Saitama University NUC
Priority date (The priority date is an assumption and is not a legal conclusion. Google has not performed a legal analysis and makes no representation as to the accuracy of the date listed.)
Filing date
Publication date
Application filed by Nippon Signal Co Ltd, Saitama University NUC filed Critical Nippon Signal Co Ltd
Priority to JP2008172636A priority Critical patent/JP5442965B2/ja
Publication of JP2010014440A publication Critical patent/JP2010014440A/ja
Application granted granted Critical
Publication of JP5442965B2 publication Critical patent/JP5442965B2/ja
Active legal-status Critical Current
Anticipated expiration legal-status Critical

Links

Images

Landscapes

  • Radar Systems Or Details Thereof (AREA)
  • Near-Field Transmission Systems (AREA)

Abstract

【課題】ある時刻tにおけるタグの位置(x,y)を高精度に推定することができるリーダライタ、及び物品位置検出システムを提供する。
【解決手段】このPC(制御手段)9は、リーダライタ1と情報の授受を行なう通信部10と、リーダライタ1から得られたプロファイル7を記憶するプロファイル記憶部(プロファイル記憶手段)11と、プロファイル記憶部11に記憶された基準となるタグに係る基準プロファイルと物品の情報を記録したタグに係る物品プロファイルとを比較するプロファイル比較部(プロファイル比較手段)13と、ベルトコンベア10に係る基準位置を算出する基準位置算出部14と、制御部12と、を備えて構成されている。
【選択図】図2

Description

本発明は、リーダライタ、及び物品位置検出システムに関し、さらに詳しくは、マイクロ波方式により非接触情報記録媒体に対する情報の読み書きを行なうリーダライタであって、移動する複数の非接触情報記録媒体の記録情報を一括して読み取る際の情報識別技術に関するものである。
電波を利用したRFIDシステムは、電源を持たないパッシブ型の非接触ICタグ(以下、単にICタグと呼ぶ)に対しても、数十cm〜数mという長い交信可能距離を持つ。しかし、ICタグとの交信可能距離は、ICタグに搭載されたアンテナの向きなどの諸要因により容易に変化するため一定ではなく、また、電波の反射等の影響により、非連続的な分布(情報が読める部分と読めない部分)を持つという特性がある。このため、実際の交信可能エリアも、大きな広がりを持ちながらも境界を定義することができない、曖昧なものとなる傾向がある。
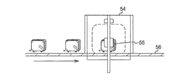
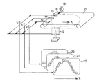
例えば、図11のようなコンベアシステムでは、ICタグを認識する電波範囲が広いため、遠い位置の荷物50を近い位置の荷物51より先に認識してしまうケースが発生する。また、この交信可能エリアの曖昧さから、ベルトコンベア上で荷物につけられたICタグを順に読み取るといった、ICタグの順序や移動状態を正確に識別することが要求されるシステムにおいては、対象外のICタグと交信することを避けるために、ICタグ間隔の制限、アンテナ出力の制限、電波の物理的遮蔽(読み取る物品55毎に電波遮蔽カーテン54により囲う(図12参照))等、多くの制限・対策が必要となり、運用上に難があった。これを改善するために、同一出願人より、図13に示すように、アンテナ57とICタグ58〜60間を往復する電波の遅延時間の変化を測定することにより、順序・状態を識別する手法が出願されている。本手法では、ICタグ58がアンテナ57に近づいてくることを検出しており、ICタグ59がアンテナ57に最も接近したことを検出しており、ICタグ60がアンテナ57から離れていくことを検出している。この結果、図14(a)に示すように遅延時間からICタグ59がアンテナ57に最も接近したこと(位置0のa点)を検知することができる。しかし、実際にはアンテナ57の設置箇所の周辺環境により電波の反射が発生して、多数の異なる往復経路と遅延時間を持つ電波(マルチパス波)が重畳されるため、図14(b)のようにプロファイル62のように誤差が生じて、実際のアンテナ通過点aと従来手法で検知したアンテナ通過点bとがズレてしまうといった問題がある。
特許文献1には、指向性の強い少数のアンテナで、通信不能部分の無い広い通信領域をカバーできるタグ通信用アンテナについて開示されている。
特開2006−20083公報
しかしながら、特許文献1に開示されている従来技術では、RFIDリーダ/ライタに用いられるタグ通信用アンテナは、送信する電波のビームをスキャンできるビームスキャンアンテナであること、ビームはスキャン方向に指向性の強いビームであること、ビームのスキャンはスキャン方向を含む面が最も強い反射波の生じる反射面である床面と交わるように行われること、等の制約条件が多いため、場所によっては、アンテナを最適な位置に設置できないといった問題がある。
本発明は、かかる課題に鑑みてなされたものであり、使用環境に特有のマルチパス波が加わった状態におけるアンテナと基準ICタグ間を往復する電波の遅延時間の変化(以下、プロファイルと呼ぶ)を記憶しておき、実際のICタグの読取りプロファイルと比較処理することにより、ある時刻tにおけるタグの位置(x,y)を高精度に推定することができるリーダライタ、及び物品位置検出システムを提供することを目的とする。
本発明はかかる課題を解決するために、請求項1は、電波を利用して非接触情報記録媒体に対する情報の読み書きを行うリーダライタであって、電波の送受信を仲介するアンテナと、前記非接触情報記録媒体に電波を送信する送信手段と、前記非接触情報記録媒体が変調した電波の一部の反射波を復調する復調手段と、前記反射波の遅延時間を求める演算手段と、リーダライタ制御部と、を備え、前記リーダライタ制御部は、前記演算手段により演算された遅延時間の差分を測定して前記アンテナと前記非接触情報記録媒体との距離の変化をプロファイルとして出力することを特徴とする。
本発明のリーダライタは、アンテナにより受信した反射波の遅延時間を演算手段により演算し、演算された遅延時間の差分を測定することにより、アンテナと非接触情報記録媒体との距離の変化をプロファイルとして出力することができる。これにより、アンテナの周辺環境の違いによるプロファイルの変化をリアルタイムに取得することができる。
請求項2は、請求項1に記載のリーダライタと、物品に係る情報を記録した非接触情報記録媒体を取り付けた物品と、該物品を搬送する搬送手段と、制御手段と、を備え、前記搬送手段の適所に基準となる非接触情報記録媒体を複数備え、前記制御手段は、前記リーダライタから得られた前記プロファイルを記憶するプロファイル記憶手段と、該プロファイル記憶手段に記憶された前記基準となる非接触情報記録媒体に係る基準プロファイルと前記物品の情報を記録した非接触情報記録媒体に係る物品プロファイルとを比較するプロファイル比較手段と、前記搬送手段に係る基準位置を算出する基準位置算出部と、を備えたことを特徴とする。
本発明の物品位置検出システムでは、搬送手段に基準となる非接触情報記録媒体を複数備えておき、制御手段には、リーダライタから得られたプロファイルを記憶するプロファイル記憶手段と、基準プロファイルと物品プロファイルとを比較するプロファイル比較手段と、搬送手段に係る基準位置を算出する基準位置算出部と、を有している。従って、リーダライタは搬送手段に備えられた非接触情報記録媒体から複数の基準プロファイルを出力し、物品に備えられた非接触情報記録媒体から物品プロファイルを出力する。そして、制御手段は、これらのプロファイルを取得して比較する。これにより、基準プロファイルが実際の環境でのプロファイルとなるので、環境変化に順応したプロファイルを取得することができる。
請求項3は、前記制御手段は、前記基準位置算出部により算出された前記搬送手段の既知の位置にある基準となる非接触情報記録媒体に係る基準プロファイルを取得して前記プロファイル記憶手段に記憶し、前記搬送手段上の位置が未知の前記物品の情報を記録した非接触情報記録媒体に係る物品プロファイルを取得し、前記基準プロファイルと前記物品プロファイルを前記プロファイル比較手段により比較した結果、該当する基準プロファイルが存在する場合、前記物品プロファイルに係るy軸方向の位置を推定すると共に、前記該当する基準プロファイルのx軸位置から前記物品プロファイルのある時刻tにおけるx軸方向の位置を推定することを特徴とする。
本発明では、搬送手段の移動方向をx軸、搬送手段の奥行き方向をy軸とし、x軸の基準位置を定めることにより、移動する搬送手段の既知の位置を基準位置算出部により算出する。また、y軸方向の位置は搬送手段の奥行き方向に複数の非接触情報記録媒体を配置して、各非接触情報記録媒体から得られるプロファイルを比較することにより判定することができる。ここである時刻tにおけるx軸方向の位置を算出するには、搬送手段の速度が既知であれば、基準位置からの時間を計測することにより容易に位置を算出することができる。例えば、搬送手段の一箇所に基準マークを備え、そのマークを検出してから時間を計測することにより可能である。また、搬送手段の回転軸にエンコーダを取りつけ、そのパルス数をカウントすることでも可能である。これにより、プロファイルを比較することでx、y軸方向の位置を同時に推定することができる。
請求項4は、前記制御手段は、前記搬送手段により先行して搬送された物品に取り付けた非接触情報記録媒体に係る物品プロファイルを前記基準プロファイルとして前記プロファイル記憶手段に記憶することを特徴とする。
基準プロファイルを得るには、非接触情報記録媒体を取り付けた物品を搬送手段に載置して、学習モードにおいて、ベルトコンベア上に載置された位置が既知の物品のプロファイルであっても構わない。これにより、搬送手段に専用の非接触情報記録媒体を取り付ける必要がなくなり、装置コストを低減することができる。
請求項5は、前記基準となる非接触情報記録媒体を少なくとも1つ備えた搬送手段が複数同時に稼働している場合、前記制御手段は、各基準となる非接触情報記録媒体に係る基準プロファイルを各搬送手段と対応付けて前記プロファイル記憶手段に記憶しておき、前記プロファイル比較手段により比較した結果に基づいて、物品が載置されている搬送手段の位置を判定することを特徴とする。
1つのアンテナにより複数の搬送手段上に載置された物品を識別するために、本発明では、各搬送手段に非接触情報記録媒体を少なくとも1つ備え、それらの基準プロファイルを各搬送手段と対応付けてプロファイル記憶手段に記憶しておく。物品を搬送中は、各物品から取得した物品プロファイルと各基準プロファイルとを比較して、一致した基準プロファイルから搬送手段の位置を判別する。これにより、1つのアンテナで複数の搬送手段上の物品の位置を容易に判別することができる。
請求項6は、前記制御手段は、前記リーダライタから前記基準プロファイルが得られた場合、前記プロファイル記憶手段に記憶されている基準プロファイルを更新するように記憶することを特徴とする。
例えば、ベルトコンベア上に取り付けられた非接触情報記録媒体は、周期的に基準プロファイルを発生する。そこで本発明では、周期的に発生する基準プロファイルにより、古い基準プロファイルに上書きして、常に最新の基準プロファイルがプロファイル記憶手段に記憶されるようにする。これにより、アンテナ周辺の環境が変化しても、最新の環境下における基準プロファイルを取得することができる。
本発明によれば、アンテナにより受信した反射波の遅延時間を演算手段により演算し、演算された遅延時間の差分を測定することにより、アンテナと非接触情報記録媒体との距離の変化をプロファイルとして出力することができるので、アンテナの周辺環境の違いによるプロファイルの変化をリアルタイムに取得することができる。
また、リーダライタは搬送手段に備えられた非接触情報記録媒体から取得した複数の基準プロファイルと、物品に備えられた非接触情報記録媒体から物品プロファイルを取得して比較することにより、実際の環境でのマルチパス波の影響が加味された環境変化に順応した基準プロファイルの中から、該当プロファイルを取得することができる。
また、搬送手段の移動方向をx軸、搬送手段の奥行き方向をy軸とし、x軸の基準位置を定めることにより、移動する搬送手段の既知の位置を基準位置算出部により算出し、y軸は搬送手段の奥行き方向に複数の非接触情報記録媒体を配置して、各非接触情報記録媒体から得られるプロファイルを比較することにより判定するので、x、y軸方向の位置を同時に推定することができる。
また、基準プロファイルを学習モードにおいて、ベルトコンベア上に載置された位置が既知の物品のプロファイルとすることにより、搬送手段に専用の非接触情報記録媒体を取り付ける必要がなくなり、装置コストを低減することができる。
また、各搬送手段に非接触情報記録媒体を少なくとも1つ備え、それらの基準プロファイルを各搬送手段と対応付けてプロファイル記憶手段に記憶しておき、物品を搬送中は、各物品から取得した物品プロファイルと各基準プロファイルとを比較して、一致した基準プロファイルから搬送手段の位置を判定するので、1つのアンテナで複数の搬送手段上の物品の位置を容易に判定することができる。
また、周期的に発生する基準プロファイルにより、古い基準プロファイルに上書きして、常に最新の基準プロファイルがプロファイル記憶手段に記憶されるようにするので、アンテナ周辺の環境が変化しても、最新の環境下における基準プロファイルを取得することができる。
以下、本発明を図に示した実施形態を用いて詳細に説明する。但し、この実施形態に記載される構成要素、種類、組み合わせ、形状、その相対配置などは特定的な記載がない限り、この発明の範囲をそれのみに限定する主旨ではなく単なる説明例に過ぎない。
図1は、本発明の一実施形態に係るリーダライタのブロック図である。このリーダライタ1は、電波を利用してタグ(非接触情報記録媒体)8に情報を読み書きするリーダライタ1であって、電波の送受信を仲介するアンテナ2と、タグ8に電波を送信する送信手段3と、電波の一部をタグ8が変調した反射波を復調する復調手段5と、反射波の遅延時間を求める演算手段6と、リーダライタ制御部4と、を備え、リーダライタ制御部4は、演算手段6により演算された遅延時間の差分を測定してアンテナ2とタグ8との距離の変化をプロファイル7として出力する。
即ち、本実施形態のリーダライタ1は、アンテナ2により受信した反射波の遅延時間を演算手段6により演算し、演算された遅延時間の差分を測定することにより、アンテナ2とタグ8との距離の変化をプロファイル7として出力することができる。これにより、アンテナ2の周辺環境の違いによるプロファイル7の変化をリアルタイムに取得することができる。
図2はPCの機能を説明するための機能ブロック図である。このPC(制御手段)9は、リーダライタ1と情報の授受を行なう通信部10と、リーダライタ1から得られたプロファイル7を記憶するプロファイル記憶部(プロファイル記憶手段)11と、プロファイル記憶部11に記憶された基準となるタグに係る基準プロファイルと物品の情報を記録したタグに係る物品プロファイルとを比較するプロファイル比較部(プロファイル比較手段)13と、ベルトコンベア10(後述)に係る基準位置を算出する基準位置算出部14と、制御部12と、を備えて構成されている。尚、基準位置算出部14にはベルトコンベア10に備えた基準マーク16(後述)を読取る基準マーク読取部15に接続されている。
PC9には、リーダライタ1から得られたプロファイルを記憶するプロファイル記憶部11と、基準プロファイルと物品プロファイルとを比較するプロファイル比較部13と、ベルトコンベア10に係る基準位置を算出する基準位置算出部14と、を有している。従って、リーダライタ1はベルトコンベア10に備えられた基準タグ17〜19から複数の基準プロファイル20〜22を出力し、物品に備えられた物品タグ23から物品プロファイル24を出力する。そして、PC9は、これらのプロファイルを取得して比較する。これにより、基準プロファイル20〜22が実際の環境でのプロファイルとなるので、環境変化に順応したプロファイルを取得することができる。
図3は本発明の基本動作における学習モードを説明するための模式図である。学習モードでは、事前に位置が既知である基準タグ17、18、19の基準プロファイル20〜22をリーダライタ1により取得してプロファイル記憶部11に記憶しておく。ここで、基準タグ17〜19は、ベルトコンベア10に備えられた基準マーク16と同じx軸の位置に取りつけ、ベルトコンベア10の奥行き方向(y軸方向)の位置を予め測定しておき、それらをy1、y2、y3とする。
図4は本発明の基本動作における測定・評価モードを説明するための模式図である。図4(a)のベルトコンベア10に未知のタグ(物品タグ)23が載置された場合について説明する。測定・評価モードは、図4(b)のように、未知のタグのプロファイル24が、どの基準タグのプロファイル20〜22と一致するかをプロファイル比較部13により比較する。その結果、図4(c)のように未知のタグのプロファイル24が基準プロファイル22と一致したとすると、y軸方向の位置は図3よりy3と推定されるので、一致した基準プロファイル22から、この未知のタグ23のある時刻tにおけるx軸方向の位置が推定できる。
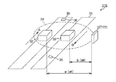
図5は本発明の第1の実施形態に係る物品位置検出システムの概略の構成を模式化した図である。同じ構成要素には図1及び図2と同じ参照番号を付して説明する。この物品位置検出システム100は、図1のアンテナ2を備えたリーダライタ1と、物品に係る情報を記録したタグ22を取り付けた物品23と、物品23を搬送するベルトコンベア(搬送手段)10と、図2のPC9と、を備えて構成されている。また、ベルトコンベア10の適所に基準となるタグ17、18、19と、位置の基準を示す基準マーク16とを備えている。本発明の物品位置検出システム100では、アンテナ2は、ベルトコンベア10の中心に備えられ、アンテナ中心から夫々Lの距離に配置されている。
リーダライタ1はベルトコンベア10に備えられたタグ17、18、19の情報に基づいて基準プロファイルを出力し、物品23に備えられたタグ22の情報に基づいて物品プロファイルを出力する。そして、PC9は、これらのプロファイルを取得して比較することにより、実際の環境でのマルチパス波の影響が加味された環境変化に順応した基準プロファイルの中から、該当プロファイルを取得することができる。
図6は図5の物品位置検出システムの概略動作を説明するフローチャートである。まず、ベルトコンベア10上の既知の位置にある基準タグ17〜19をリーダライタ1により読取り、基準プロファイルを取得して、プロファイル記憶部11に記憶する(S1)。次に、ベルトコンベア10上の位置が未知の物品23のタグ22をリーダライタ1により読取り、その物品プロファイルを取得する(S2)。次に、PC9は基準プロファイルと物品プロファイルをプロファイル比較部13により比較する(S3)。その結果、該当する基準プロファイルが存在するか否かを検証して(S4)、存在しなければ(S4でNO)エラーとして処理する(S7)。ステップS4で該当する基準プロファイルが存在すると(S4でYES)、物品タグのy軸方向の位置が推定される(S5)。即ち、該当する基準プロファイルのy軸方向の位置は予め決定されているので、そのy軸方向の位置を物品プロファイルのy軸方向の位置と推定できる。そして、該当した基準プロファイルのx軸位置から物品プロファイルのある時刻tにおけるx軸方向の位置を推定する(S6)。即ち、該当する基準プロファイルのx軸方向の位置は、基準位置算出部14により算出されているので、そのx軸方向の位置を物品プロファイルのある時刻tにおけるx軸方向の位置と推定できる。
尚、通常、プロファイルの判定はオフセットが重要な判定要素の一つとなるが、Y軸上の位置(ベルトコンベアの幅方向)に対し、オフセットの大きさの上下が繰り返し、Y軸上で一定距離離れたタグに繰り返し同じレベルのオフセットが発生する。このため、オフセットを含めた基準プロファイルとの誤差と、オフセットを除いた(例えば、図8の広がりのみを比べる)誤差の両方の誤差情報を利用することで、ベルトコンベア上で精度の良いマッチングを可能とする。具体的には、図6を基準として、1)図6と同様の手法により各基準プロファイル20,21,22の誤差を計算する。2)各基準プロファイルと物品プロファイルのオフセットをなくし、1)と同様に各基準プロファイルとの誤差を計算する。3)1)と2)で求めた各基準プロファイルとの誤差を乗算し、その結果が一番小さい基準プロファイルを該当する基準プロファイルとする。このように、演算することにより、更に精度良く基準プロファイルとのマッチングを行なうことができる。
即ち、本発明では、ベルトコンベア10の移動方向(矢印A)をx軸、ベルトコンベア10の奥行き方向をy軸とし、x軸の基準位置を定めることにより、移動するベルトコンベア10の既知の位置を基準位置算出部14により算出する。また、y軸はベルトコンベア10の奥行き方向に複数の基準タグ17〜19を配置して、各基準タグ17〜19から得られる基準プロファイルを比較することにより、どの基準プロファイルに該当するかを判定することができる。ここである時刻tにおけるx軸方向の位置を算出するには、ベルトコンベア10の速度が既知であれば、基準位置からの時間を計測することにより容易に位置を算出することができる。例えば、ベルトコンベア10の一箇所に基準マーク16を備え、そのマークを基準マーク読取部15で検出してから時間を計測することにより可能である。また、ベルトコンベア10の回転軸にエンコーダを取りつけ、そのパルス数をカウントすることでも可能である。これにより、プロファイルを比較することでx軸、y軸方向の位置を同時に推定することができる。
また、ベルトコンベア10により最初に搬送された物品に取り付けたタグに係る物品プロファイルを基準プロファイルとしてプロファイル記憶部11に記憶してもよい。即ち、基準プロファイルを得るには、タグ22を取り付けた物品23をベルトコンベア10に載置して、学習モードにより取得した位置が既知の物品のプロファイルであっても構わない。これにより、ベルトコンベア10に専用の基準タグ17〜19を取り付ける必要がなくなり、装置コストを低減することができる。
また、PC9は、リーダライタ1から基準プロファイルが得られた場合、プロファイル記憶部11に記憶されている基準プロファイルを更新するように記憶してもよい。例えば、ベルトコンベア10上に取り付けられた基準タグ17〜19からは、周期的に基準プロファイルを発生する。そこで本実施形態では、周期的に発生する基準プロファイルにより、古い基準プロファイルに上書きして、常に最新の基準プロファイルがプロファイル記憶部11に記憶されるようにする。これにより、アンテナ周辺の環境が変化しても、最新の環境下における基準プロファイルを取得することができる。
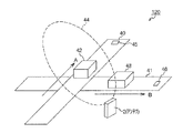
図7は本発明の第2の実施形態に係る物品位置検出システムの概略の構成を模式化した図である。この物品位置検出システム110は、基準となるタグ35、36を少なくとも1つ備えたベルトコンベア30、31が複数同時に並行に稼働している場合、PC9は、各基準となるタグ35、36に係る基準プロファイルを各ベルトコンベア30、31と対応付けてプロファイル記憶部11に記憶しておき、プロファイル比較部13により比較した結果に基づいて、物品32、33が載置されているベルトコンベア30、31の位置を判定する。図7では、アンテナ2とベルトコンベア30との距離がa(cm)、アンテナ2とベルトコンベア31との距離がb(cm)とし、ベルトコンベア30が矢印Aの方向に物品32を移動し、ベルトコンベア31が矢印Bの方向に物品33を移動しているものとする。
図8は図7で示した各ベルトコンベアの基準プロファイルを示す図である。符号47はベルトコンベア31の基準プロファイルを示し、符号48はベルトコンベア30の基準プロファイルを示す。図8から明らかな通り、アンテナ2と基準タグ35、36間の距離が異なることにより、プロファイルも異なるので、これらのプロファイルをプロファイル記憶部11に記憶しておき、物品プロファイルを取得したときに、プロファイル比較部13により比較することにより、どちらのベルトコンベアに載置された物品かを判別することができる。
即ち、1つのアンテナ2により複数のベルトコンベア30、31上に載置された物品32、33を識別するために、本実施形態では、各ベルトコンベア30、31にタグ35、36を少なくとも1つ備え、それらの基準プロファイルを各ベルトコンベア30、31と対応付けてプロファイル記憶部11に記憶しておく。物品を搬送中は、各物品から取得した物品プロファイルと各基準プロファイルとを比較して、一致した基準プロファイルからベルトコンベア30、31の何れかを判別する。これにより、1つのアンテナ2で複数のベルトコンベア30、31上の物品の位置を容易に判別することができる。
図9は本発明の第3の実施形態に係る物品位置検出システムの概略の構成を模式化した図である。この物品位置検出システム120は、基準となるタグ45、46を少なくとも1つ備えたベルトコンベア40、41が複数同時に交差して稼働している場合、PC9は、各基準となるタグ45、46に係る基準プロファイルを各ベルトコンベア40、41と対応付けてプロファイル記憶部11に記憶しておき、プロファイル比較部13により比較した結果に基づいて、物品42、43が載置されているベルトコンベア40、41の位置を判別する。図9では、ベルトコンベア40が矢印Aの方向に物品42を移動し、ベルトコンベア41が矢印Bの方向に物品43を移動しているものとして、ベルトコンベア40がベルトコンベア41の上に位置する。
図10は図9で示した各ベルトコンベアの基準プロファイルを示す図である。符号65はベルトコンベア40の基準プロファイルを示し、符号66はベルトコンベア41の基準プロファイルを示す。図9から明らかな通り、アンテナ2と基準タグ45、46間の距離が異なることにより、プロファイルも異なるので、これらのプロファイルをプロファイル記憶部11に記憶しておき、物品プロファイルを取得したときに、プロファイル比較部13により比較することにより、どちらのベルトコンベアに載置された物品かを判別することができる。
本発明の一実施形態に係るリーダライタのブロック図である。 PCの機能を説明するための機能ブロック図である。 本発明の基本動作における学習モードを説明するための模式図である。 (a)はベルトコンベアに未知のタグが載置された図、(b)は基準タグのプロファイルと未知のタグのプロファイルを比較する図、(c)は一致した基準タグのプロファイルからx軸位置を推定する図である。 本発明の第1の実施形態に係る物品位置検出システムの概略の構成を模式化した図である。 図5の物品位置検出システムの概略動作を説明するフローチャートである。 本発明の第2の実施形態に係る物品位置検出システムの概略の構成を模式化した図である。 図7で示した各ベルトコンベアの基準プロファイルを示す図である。 本発明の第3の実施形態に係る物品位置検出システムの概略の構成を模式化した図である。 図9で示した各ベルトコンベアの基準プロファイルを示す図である。 従来のベルトコンベアシステムの問題点を説明するための図である。 従来のベルトコンベアシステムを説明するための図である。 同一出願人による物品の位置を検出する方式を説明する図である。 (a)は理想的なタグのプロファイルを示す図、(b)は実際の環境におけるプロファイルを示す図である。
符号の説明
1 リーダライタ、2 アンテナ、3 送信手段、4 制御部、5 復調手段、6 演算手段、7 プロファイル、8 タグ、9 PC、10 通信部、11 プロファイル記憶部、12 制御部、13 プロファイル比較部、14 基準位置算出部、100、110、120 物品位置検出システム

Claims (6)

  1. 電波を利用して非接触情報記録媒体に対する情報の読み書きを行うリーダライタであって、電波の送受信を仲介するアンテナと、前記非接触情報記録媒体に電波を送信する送信手段と、前記非接触情報記録媒体が変調した電波の一部の反射波を復調する復調手段と、前記反射波の遅延時間を求める演算手段と、リーダライタ制御部と、を備え、
    前記リーダライタ制御部は、前記演算手段により演算された遅延時間の差分を測定して前記アンテナと前記非接触情報記録媒体との距離の変化をプロファイルとして出力することを特徴とするリーダライタ。
  2. 請求項1に記載のリーダライタと、物品に係る情報を記録した非接触情報記録媒体を取り付けた物品と、該物品を搬送する搬送手段と、制御手段と、を備え、
    前記搬送手段の適所に基準となる非接触情報記録媒体を複数備え、
    前記制御手段は、前記リーダライタから得られた前記プロファイルを記憶するプロファイル記憶手段と、該プロファイル記憶手段に記憶された前記基準となる非接触情報記録媒体に係る基準プロファイルと前記物品の情報を記録した非接触情報記録媒体に係る物品プロファイルとを比較するプロファイル比較手段と、前記搬送手段に係る基準位置を算出する基準位置算出部と、を備えたことを特徴とする物品位置検出システム。
  3. 前記制御手段は、前記基準位置算出部により算出された前記搬送手段の既知の位置にある基準となる非接触情報記録媒体に係る基準プロファイルを取得して前記プロファイル記憶手段に記憶し、前記搬送手段上の位置が未知の前記物品の情報を記録した非接触情報記録媒体に係る物品プロファイルを取得し、前記基準プロファイルと前記物品プロファイルを前記プロファイル比較手段により比較した結果、該当する基準プロファイルが存在する場合、前記物品プロファイルに係るy軸方向の位置を推定すると共に、前記該当する基準プロファイルのx軸位置から前記物品プロファイルのある時刻tにおけるx軸方向の位置を推定することを特徴とする請求項2に記載の物品位置検出システム。
  4. 前記制御手段は、前記搬送手段により先行して搬送された物品に取り付けた非接触情報記録媒体に係る物品プロファイルを前記基準プロファイルとして前記プロファイル記憶手段に記憶することを特徴とする請求項2又は3に記載の物品位置検出システム。
  5. 前記基準となる非接触情報記録媒体を少なくとも1つ備えた搬送手段が複数同時に稼働している場合、前記制御手段は、各基準となる非接触情報記録媒体に係る基準プロファイルを各搬送手段と対応付けて前記プロファイル記憶手段に記憶しておき、前記プロファイル比較手段により比較した結果に基づいて、物品が載置されている搬送手段の位置を判定することを特徴とする請求項2乃至4の何れか一項に記載の物品位置検出システム。
  6. 前記制御手段は、前記リーダライタから前記基準プロファイルが得られた場合、前記プロファイル記憶手段に記憶されている基準プロファイルを更新するように記憶することを特徴とする請求項2乃至5の何れか一項に記載の物品位置検出システム。
JP2008172636A 2008-07-01 2008-07-01 物品位置検出システム Active JP5442965B2 (ja)

Priority Applications (1)

Application Number Priority Date Filing Date Title
JP2008172636A JP5442965B2 (ja) 2008-07-01 2008-07-01 物品位置検出システム

Applications Claiming Priority (1)

Application Number Priority Date Filing Date Title
JP2008172636A JP5442965B2 (ja) 2008-07-01 2008-07-01 物品位置検出システム

Publications (2)

Publication Number Publication Date
JP2010014440A true JP2010014440A (ja) 2010-01-21
JP5442965B2 JP5442965B2 (ja) 2014-03-19

Family

ID=41700693

Family Applications (1)

Application Number Title Priority Date Filing Date
JP2008172636A Active JP5442965B2 (ja) 2008-07-01 2008-07-01 物品位置検出システム

Country Status (1)

Country Link
JP (1) JP5442965B2 (ja)

Cited By (5)

* Cited by examiner, † Cited by third party
Publication number Priority date Publication date Assignee Title
JP2010108148A (ja) * 2008-10-29 2010-05-13 Nippon Signal Co Ltd:The リーダライタシステム
JP2018146452A (ja) * 2017-03-07 2018-09-20 株式会社デンソーウェーブ タグリーダ
CN109978125A (zh) * 2019-03-29 2019-07-05 上海宜链物联网有限公司 一种可提高多标签读取能力的rfid天线、读写器及方法
JP2021043793A (ja) * 2019-09-12 2021-03-18 東芝テック株式会社 無線タグ読取装置
JP2024110189A (ja) * 2023-02-02 2024-08-15 東芝テック株式会社 通信装置及び情報処理プログラム

Citations (7)

* Cited by examiner, † Cited by third party
Publication number Priority date Publication date Assignee Title
JP2002525640A (ja) * 1998-09-28 2002-08-13 タグテック リミテッド Rfid検出システム
JP2006260062A (ja) * 2005-03-16 2006-09-28 Omron Corp 情報処理装置、管理システム、情報処理装置の制御プログラム、および情報処理装置の制御プログラムを記録した記録媒体
JP2006284557A (ja) * 2005-03-09 2006-10-19 Omron Corp 情報処理装置、情報処理方法、反射体、および通信システム
JP2006297172A (ja) * 2005-04-15 2006-11-02 Omron Corp 情報処理装置および方法
JP2008153715A (ja) * 2005-03-18 2008-07-03 Omron Corp タグ通信装置、タグ通信方法、およびタグ通信システム
JP2009031267A (ja) * 2007-06-28 2009-02-12 Nippon Signal Co Ltd:The リーダライタ、及び物品仕分システム
JP2009076048A (ja) * 2007-08-28 2009-04-09 Nippon Signal Co Ltd:The リーダライタ、及び物品仕分システム

Patent Citations (7)

* Cited by examiner, † Cited by third party
Publication number Priority date Publication date Assignee Title
JP2002525640A (ja) * 1998-09-28 2002-08-13 タグテック リミテッド Rfid検出システム
JP2006284557A (ja) * 2005-03-09 2006-10-19 Omron Corp 情報処理装置、情報処理方法、反射体、および通信システム
JP2006260062A (ja) * 2005-03-16 2006-09-28 Omron Corp 情報処理装置、管理システム、情報処理装置の制御プログラム、および情報処理装置の制御プログラムを記録した記録媒体
JP2008153715A (ja) * 2005-03-18 2008-07-03 Omron Corp タグ通信装置、タグ通信方法、およびタグ通信システム
JP2006297172A (ja) * 2005-04-15 2006-11-02 Omron Corp 情報処理装置および方法
JP2009031267A (ja) * 2007-06-28 2009-02-12 Nippon Signal Co Ltd:The リーダライタ、及び物品仕分システム
JP2009076048A (ja) * 2007-08-28 2009-04-09 Nippon Signal Co Ltd:The リーダライタ、及び物品仕分システム

Non-Patent Citations (2)

* Cited by examiner, † Cited by third party
Title
CSNH200800048005; 金子愼一、外5名: '"UHF帯RFIDシステムの開発"' 日本信号技報 Vol.32,No.1, 200803, p.35-46, 日本信号株式会社 *
JPN6012053874; '"「ICタグ通過検知機能搭載UHF帯高出力型リーダライタ」新発売"' [online] , 20080512, 日本信号株式会社 *

Cited By (7)

* Cited by examiner, † Cited by third party
Publication number Priority date Publication date Assignee Title
JP2010108148A (ja) * 2008-10-29 2010-05-13 Nippon Signal Co Ltd:The リーダライタシステム
JP2018146452A (ja) * 2017-03-07 2018-09-20 株式会社デンソーウェーブ タグリーダ
CN109978125A (zh) * 2019-03-29 2019-07-05 上海宜链物联网有限公司 一种可提高多标签读取能力的rfid天线、读写器及方法
CN109978125B (zh) * 2019-03-29 2022-04-05 上海宜链物联网有限公司 一种可提高多标签读取能力的rfid天线、读写器及方法
JP2021043793A (ja) * 2019-09-12 2021-03-18 東芝テック株式会社 無線タグ読取装置
JP7297612B2 (ja) 2019-09-12 2023-06-26 東芝テック株式会社 無線タグ読取装置
JP2024110189A (ja) * 2023-02-02 2024-08-15 東芝テック株式会社 通信装置及び情報処理プログラム

Also Published As

Publication number Publication date
JP5442965B2 (ja) 2014-03-19

Similar Documents

Publication Publication Date Title
JP5355936B2 (ja) リーダライタ、及び物品仕分システム
US8446253B2 (en) Localization using virtual antenna arrays in modulated backscatter RFID systems
KR102593435B1 (ko) 공간 내의 태그들을 로케이팅하기 위한 시스템들 및 방법들
EP3289517B1 (en) Method and system for determining the position and movement of items using radio frequency data
CN101604021B (zh) 一种无线射频识别系统的定位方法与装置
US8994504B1 (en) Utilization of motion and spatial identification in mobile RFID interrogator
EP3245610B1 (en) A system for and a method of identification of a tag on a moving item
JP5802097B2 (ja) 対象物の位置を検出するシステムおよび装置
JP5442965B2 (ja) 物品位置検出システム
US10401488B2 (en) Real-time RFID localization using uniform, high-performance tags and related method thereof
JP5611511B2 (ja) リーダライタ、及び物品仕分システム
US11493644B2 (en) Identification of selected items through radiolocation and movement detection
US9047522B1 (en) Utilization of motion and spatial identification in mobile RFID interrogator
CN111199258A (zh) 商品定位系统及方法、带rfid读头的pda设备
JP2007114003A (ja) 非接触icタグ位置検出システム
CN112364672A (zh) 基于rfid的倾斜货物的检测方法
US20180039802A1 (en) RFID Apparatus for Communicating with RFID Transponders and Method of Associating RFID Transponders
JP5518320B2 (ja) リーダライタシステム、及び物品仕分システム
TWI502514B (zh) 電子裝置、位置測量方法及系統
US11763108B2 (en) Radio frequency identification discontinuity correction
Hammad et al. Estimation of RFID Tag's Direction Based on LANDMARC Algorithm
Moeeni et al. Passive RFID-based localization, algorithms and estimation accuracy
Moeeni A passive RFID location sensing
BILIC et al. THE USE OF RFID INDOOR POSĠTĠONĠNG METHOD FOR FAULT DETECTĠON ĠN POWER TRANSMĠSSĠON BELTS
KR20180029987A (ko) 특정 공간 내의 위치 추정 시스템

Legal Events

Date Code Title Description
A621 Written request for application examination

Free format text: JAPANESE INTERMEDIATE CODE: A621

Effective date: 20110610

A977 Report on retrieval

Free format text: JAPANESE INTERMEDIATE CODE: A971007

Effective date: 20120925

A131 Notification of reasons for refusal

Free format text: JAPANESE INTERMEDIATE CODE: A131

Effective date: 20121016

A521 Request for written amendment filed

Free format text: JAPANESE INTERMEDIATE CODE: A523

Effective date: 20121217

A131 Notification of reasons for refusal

Free format text: JAPANESE INTERMEDIATE CODE: A131

Effective date: 20131001

A521 Request for written amendment filed

Free format text: JAPANESE INTERMEDIATE CODE: A523

Effective date: 20131125

TRDD Decision of grant or rejection written
A01 Written decision to grant a patent or to grant a registration (utility model)

Free format text: JAPANESE INTERMEDIATE CODE: A01

Effective date: 20131217

A61 First payment of annual fees (during grant procedure)

Free format text: JAPANESE INTERMEDIATE CODE: A61

Effective date: 20131219

R150 Certificate of patent or registration of utility model

Ref document number: 5442965

Country of ref document: JP

Free format text: JAPANESE INTERMEDIATE CODE: R150

Free format text: JAPANESE INTERMEDIATE CODE: R150

R250 Receipt of annual fees

Free format text: JAPANESE INTERMEDIATE CODE: R250

R250 Receipt of annual fees

Free format text: JAPANESE INTERMEDIATE CODE: R250

R250 Receipt of annual fees

Free format text: JAPANESE INTERMEDIATE CODE: R250

R250 Receipt of annual fees

Free format text: JAPANESE INTERMEDIATE CODE: R250

R250 Receipt of annual fees

Free format text: JAPANESE INTERMEDIATE CODE: R250

R250 Receipt of annual fees

Free format text: JAPANESE INTERMEDIATE CODE: R250

R250 Receipt of annual fees

Free format text: JAPANESE INTERMEDIATE CODE: R250

R250 Receipt of annual fees

Free format text: JAPANESE INTERMEDIATE CODE: R250

R250 Receipt of annual fees

Free format text: JAPANESE INTERMEDIATE CODE: R250

R250 Receipt of annual fees

Free format text: JAPANESE INTERMEDIATE CODE: R250